EP0352402A2 - Fingernagel-Bestrahlungsgerät - Google Patents

Fingernagel-Bestrahlungsgerät Download PDF

Info

Publication number
EP0352402A2
EP0352402A2 EP89104347A EP89104347A EP0352402A2 EP 0352402 A2 EP0352402 A2 EP 0352402A2 EP 89104347 A EP89104347 A EP 89104347A EP 89104347 A EP89104347 A EP 89104347A EP 0352402 A2 EP0352402 A2 EP 0352402A2
Authority
EP
European Patent Office
Prior art keywords
support body
radiation device
fingernail
grooves
axis
Prior art date
Legal status (The legal status is an assumption and is not a legal conclusion. Google has not performed a legal analysis and makes no representation as to the accuracy of the status listed.)
Withdrawn
Application number
EP89104347A
Other languages
English (en)
French (fr)
Other versions
EP0352402A3 (de
Inventor
Steffen Oppawsky
Current Assignee (The listed assignees may be inaccurate. Google has not performed a legal analysis and makes no representation or warranty as to the accuracy of the list.)
Kulzer GmbH
Original Assignee
Kulzer and Co GmbH
Heraeus Kulzer GmbH
Priority date (The priority date is an assumption and is not a legal conclusion. Google has not performed a legal analysis and makes no representation as to the accuracy of the date listed.)
Filing date
Publication date
Application filed by Kulzer and Co GmbH, Heraeus Kulzer GmbH filed Critical Kulzer and Co GmbH
Publication of EP0352402A2 publication Critical patent/EP0352402A2/de
Publication of EP0352402A3 publication Critical patent/EP0352402A3/de
Withdrawn legal-status Critical Current

Links

Images

Classifications

    • AHUMAN NECESSITIES
    • A45HAND OR TRAVELLING ARTICLES
    • A45DHAIRDRESSING OR SHAVING EQUIPMENT; EQUIPMENT FOR COSMETICS OR COSMETIC TREATMENTS, e.g. FOR MANICURING OR PEDICURING
    • A45D29/00Manicuring or pedicuring implements
    • A45D29/18Manicure or pedicure sets, e.g. combinations without case, etui, or the like

Definitions

  • the invention relates to a fingernail radiation device for curing photopolymerizable plastics on fingernails with a housing which has a base plate in which a support body with grooves on the outer contour for positioning the fingers of the hand to be irradiated is arranged, and with at least one irradiation lamp at least partially encloses the support body in the irradiation position at a distance, the support body being accessible in the irradiation position via a housing opening.
  • Such a fingernail radiation device is known from US Pat. No. 4,731,541.
  • This device has, for example, a column-like support which can be fastened to a table top with a clamping screw, at the end of which a housing with a circular outer contour is arranged.
  • This housing has, on its underside, the side assigned to the table top or the base plate of the support arm, an insertion opening into which a plate-shaped support body can be moved in and out centrally fastened to a telescopic rod.
  • a ring-shaped irradiation lamp forming a closed circle is attached in the center of the telescopic rod.
  • the support body which is very flat in the form of a plate, has grooves on its outer edge which serve to position a hand clasping the plate.
  • the support body is gripped by hand from below in such a way that the fingers rest with the last limbs on the top of the support body.
  • the fingernails are in this position aligned horizontally and point in the direction of the support arm arranged in the center of the plate. Depending on the length of the fingernails, they reach up to the support arm.
  • the plate clasped in this way is then, guided on the support arm, moved into the housing in an upper position.
  • the radiation emitted by the radiation lamp which runs slightly with its axis above the top of the support plate, is reflected by the upper housing area and an additional reflector on the fingers and the fingernails to be hardened. After the end of the irradiation, the plate can be pulled out of the housing again.
  • DE-GM 85 13 789 Another concept for a fingernail radiation device is known from DE-GM 85 13 789.
  • This device has a support plate with a plurality of low-pressure fluorescent tubes which are arranged parallel to one another in the direction of the longitudinal axis of the housing and form a tunnel.
  • DE-GM 86 09 293 Another device for curing light-curing plastics on fingernails is known from DE-GM 86 09 293.
  • This device is equipped with several, in a specific embodiment four, elongated UV radiation sources, which are arranged to form a tunnel; the structure of this device is the same as that known from DE-GM 85 13 789.
  • the housing of this device can be swiveled upwards around a rear axis.
  • tips attached to short or broken fingernails which are worked with UV-curing plastics. Tips with a length of up to 5 cm are used to attach an artificial fingernail. The attached tip, which runs out on the top of the natural fingernail, must then be worked on to even out the heels. Here, a plastic mass is repeatedly applied and repeatedly cured. Only after the attached fingernails have been worked on, are they shortened to the desired length and normally painted.
  • the present invention is based on the object of an irradiation device, as described at the outset, to provide a device which meets the requirements which ensures uniform irradiation of all fingernails of both the left and right hand, the of radiation emanating from the irradiation lamp essentially strikes the fingernails to be hardened, in which fingernails can also be irradiated of great length and during the irradiation there is a comfortable hand position, even over a longer period in the range of half a minute.
  • the support body has an approximately cylindrical or frustoconical outer contour at least in the area of the grooves, the grooves being in the form of grooves which run essentially in the direction of the axis of the support body and the axis of the support body being one Includes angles in the range 0 to 90 ° with the surface normal of the base plate. Because the fingers of the hand to be irradiated are placed on the outside of the cylindrical or frustoconical support body, the surface normals of the fingernails to be irradiated are aligned approximately radially to the axis of the support body. There is therefore sufficient space to position even very long fingernails in such a way that they do not touch any part of the housing or other parts, since they are aligned parallel to the axis.
  • stops are provided in a preferred embodiment for the fingertips in order to position the individual fingers in the correct position on the contact body.
  • Such stops at the bottom i.e. arranged the bottom plate facing end of the support body so that the fingernails to be irradiated protrude freely over the end of the support body, which can be held for example by a telescopic rod.
  • the support body is accessible through a housing opening on the top of the housing, the hand to be irradiated can be placed on the support body in an extremely comfortable and relaxed position.
  • the individual fingernails of both the left and the right hand are at the same distance from the radiation lamp and thus a uniform curing of the plastics to be polymerized achieved.
  • the axis of the support body should either be aligned perpendicular to the base plate or at most form an angle of 90 ° to the surface normal standing on the base plate, the choice of the angle u. a. depends on the height of the table on which the device is placed.
  • the preferred angle, which the axis of the support body includes to the surface normal of the base plate, is 0 to 60 °, so that the hand can be placed vertically on the support body from above or at an angle from above.
  • the grooves of the support body are arranged symmetrically to a first plane running through the axis of the support body and in the direction of an arm of a hand to be placed on the support body, so that an equal radiation of the fingernails of a left and placed on the support body right hand is guaranteed.
  • only one channel is provided for the middle fingers of the left and right hand, which runs in the area of the first level, ie from the point of view of the person who places the hand on the support body at the sitting position of the corresponding person is arranged opposite side of the support body.
  • the grooves for the little fingers of the left or right hand are preferably positioned approximately along the second plane running through the axis of the support body and perpendicular to the first plane, ie they are offset from one another by an angle of 180 °.
  • the channels for the little fingers lie on an elevation of the support body in such a way that the fingernails of the little fingers lie outside the shadows of the ring fingers.
  • Such a measure may be necessary insofar as the fingernails of the little fingers, in contrast to the fingernails of the thumb, the index finger, the middle finger and the ring finger, are oriented slightly rotated and, depending on the diameter of the support body, are only irradiated sufficiently if the positioning - channels lie on a rise.
  • the support body, seen in cross-section deviates from a circular outer contour at the points at which the channels for the little fingers lie, and is curved outwards.
  • the channels should be distributed over a maximum of an angular range of 320 ° to 360 ° over the circumference of the support body, so that in the zone of the remaining angular range from 40 ° to 60 ° the base of the radiation lamp or the base of several radiation lamps, for example if an annular radiation lamp divided into two arc-shaped lamps, can be arranged.
  • the support body In order to enable simple and precise positioning of the hand on the support body, the support body should be arranged so that it can be moved in and out in the axial direction.
  • the support body is preferably held from its upper position, that is to say moved out of the housing, by springs, which are selected such that the weight of the rest on it placed hand the support body can be pushed into the housing. After the irradiation process has ended, the support body is moved out of the housing again with a slight lifting of the hand.
  • the edge of the housing opening can change into a support on which the forearm of the hand to be irradiated rests.
  • the housing opening can be partially covered by a hinged glare protection flap.
  • a limit switch which is actuated in a lower position of the support body inserted into the housing, can switch the device on and off.
  • the circle or the segment of the circle over which the radiation lamps are to extend can be approximated by three to four radiation lamps with a straight lamp axis.
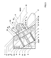
  • the fingernail radiation device has a housing 1, in the center of which a telescopic arm 2 with a vertically aligned axis 3 is arranged.
  • a support body 4 is attached, on which a hand 5, indicated by the dash-dotted lines, is placed in such a way that it encompasses the support body 4 from above.
  • a support frame 6 is further fastened, on the underside of which two spiral springs 8 are arranged, which act on the base plate 7 of the housing 1 and whose axes 9 run parallel to the axis 3 of the telescopic arm 2. While the spring 8 on the left in FIG.
  • FIG. 1 is shown in a position in which the support body 4 is moved out of the housing 1 via an upper housing opening 10 via the telescopic arm 2, the right-hand spiral spring 8 is shown compressed in a position in FIG which the support body 4 is inserted into the housing 1.
  • An annular radiation lamp 12, which is surrounded by a reflector 13, is located below the upper housing cover 11.
  • the lamp axis 14 of the radiation lamp 12 runs horizontally or at right angles to the axis 3 of the telescopic arm 2.
  • the radiation lamp 12 and the reflector 10, as also shown in FIG. 2 run concentrically to the axis 3 of the telescopic arm 2, which at the same time also the axis of the support body 4 forms.
  • the support body 4 In the upper position of the support body 4, the latter is easily accessible, while the lower position represented by the dash-dotted line is selected such that the fingernails 15 in the irradiation area of the irradiation lamp 12, which is limited to a narrow, annular sector by means of the reflectors 13, are positioned.
  • the forearm 16 On a support 17 which adjoins the edge of the housing opening 10, so that a relaxed hand position when irradiating the fingernails 15 in the housing 1 is ensured.
  • the support body 4 which has an approximately cylindrical outer contour in FIGS. 1 to 3, has a plurality of grooves 18 which run axially and have a depth in the region of their groove bottom of approximately 2 to 5 mm.
  • a total of seven channels are distributed around the outer circumference of the support body 4, as shown in FIG. 2, the middle channel, which coincides with the first level 19, being used for the positioning of the middle finger 20 of both a left and a right hand 5.
  • This groove 18 for the middle finger 20 lies exactly opposite the sitting position of the person to be irradiated.
  • Two further grooves 18 are offset by approximately 45 ° to the groove 18 for the middle finger 20 and serve to hold the ring finger 21 and the index finger 22, for example a right hand as in FIG.
  • the groove 18 for the ring finger 21 when the fingernails of a left hand are irradiated, the groove 18 for the ring finger 21 then serves as the index finger, while the groove 18 is used for the index finger to receive the ring finger.
  • Two further grooves 18 are offset from the groove for the index fingers / ring fingers 21, 22 by 90 °, which serve to hold the little fingers 23 of a hand to be irradiated.
  • a channel 18 is permanently assigned to the little finger of a right hand and the little finger of a left hand.
  • the housing opening 10 is surrounded by a peripheral glare protection edge 25.
  • a limit switch 26 in order to put the radiation lamp 12 and further units, such as a fan 27 arranged laterally in the housing 1, into operation.
  • the power supply units 28 and ballasts 29 there is still sufficient space in the lower part of the housing 1 for the power supply units 28 and ballasts 29.
  • the axis 3 of the telescopic arm 2 and the support body 4 extends at an angle 30 to the surface normal 31, indicated by the broken line, on the base plate 7, which is approximately 45 ° is.
  • the entire irradiation arrangement in the form of the irradiation lamp 12, the reflector 13 surrounding the irradiation lamp 12 and the spiral springs 8 are inclined accordingly.
  • the lamp axis 14 of the irradiation lamp 12 is again oriented at an angle of 90 ° to the axis 3 of the telescopic arm 2 and the support body 4 in accordance with the embodiment according to FIG. 1.
  • the housing opening 10 is located in a front housing plate 32 so that the hand 5 can be placed on the support body 4 from the front and the fingers can be positioned in the grooves 18.
  • the support 17 for the forearm 16 extends in the extension of the lower edge of the housing opening 10, which at the same time forms the anti-glare edge 25.
  • a hinged anti-glare hood 33 is additionally attached to the upper part of the anti-glare edge 25. This anti-glare hood 33 can be folded over the back of the hand after the hand 5 together with the support body 4 has moved into the housing 1.
  • FIG. 4 is designed as a truncated cone.
  • This support body 4 is also rounded on the top to form a support for the inner surface of the hand 5.
  • the fingernails 15 of the fingers inserted into the grooves 18 protrude beyond the lower edge of the support body 4, so that they do not come into contact with any part of the radiation device and can be irradiated freely from all sides.
  • a positioning means in the form of stops or a circumferential bead 34 can also serve, against which the fingertips of the hand 5 placed on the support body 4 come to rest.
  • FIG. 5 shows the radiation device according to FIGS. 1 and 2 with the axis 3 of the support body 4 standing vertically on the base plate 7.
  • the support body 4 is surrounded by four individual radiation lamps 12 with a linear lamp axis 14. These straight radiation lamps 12 are strung together so that they form an approximate circle around the support body 4, at least over the circumference over which the individual grooves 18 are distributed for the fingers. This circle does not have to be closed, since the radiation area begins with the groove 18 for one thumb 24 and ends with the groove 18 for the other thumb 24, so that an radiation area of 300 ° to approximately 320 ° is required.
  • the radiation lamps 12 shown in FIG. 5 are also surrounded by reflectors 13, which direct the radiation onto the support body 4, in particular its lower region.

Landscapes

  • Radiation-Therapy Devices (AREA)
  • Finger-Pressure Massage (AREA)
  • Coating Apparatus (AREA)

Abstract

Es sind Fingernagel-Bestrahlungsgeräte zur Aushärtung von photopolymerisierbaren Kunststoffen auf Fingernägeln mit einem Gehäuse bekannt, das eine Bodenplatte aufweist, in dem ein Auflagekörper mit Rillen an der Außenkontur zur Positionierung der Finger der zu bestrahlenden Hand angeordnet ist, und mit mindestens einer Bestrahlungslampe, die den Auflagekörper in der Bestrahlungsstellung mit Abstand zumindest teilweise umschließt, wobei der Auflagekörper in Bestrahlungsstellung über eine Gehäuseöffnung zugänglich ist. Um ein Gerät zu schaffen, das den aufgezeigten Anforderungen gerecht wird, das eine gleichmäßige Bestrahlung aller Fingernägel sowohl der linken als auch der rechten Hand gewährleistet, wobei die von der Bestrahlungslampe (12) ausgehende Strahlung im wesentlichen auf die auszuhärtenden Fingernägel auftrifft, bei dem Fingernägel auch großer Länge bestrahlt werden können und während der Bestrahlung eine bequeme Handhaltung, auch über eine längere Zeit im Bereich von einer halben Minute, gegeben ist, weist der Auflagekörper (4) eine annähernd zylinderförmige oder kegelstumpfförmige Außenkontur zumindest im Bereich der Rillen (18) auf, wobei die Rillen in Form von Rinnen (18) ausgebildet sind, die im wesentlichen in Richtung der Achse (3) des Auflagekörpers (4) verlaufen, und wobei die Achse (3) des Auflagekörpers (4) einen Winkel im Bereich 0 bis 90° mit der Flächennormalen der Bodenplatte einschließt.

Description

  • Die Erfindung betrifft ein Fingernagel-Bestrahlungsgerät zur Aushärtung von photopolymerisierbaren Kunststoffen auf Fingernägeln mit einem Gehäuse, das eine Bodenplatte aufweist, in dem ein Auflagekörper mit Rillen an der Außen­kontur zur Positionierung der Finger der zu bestrahlenden Hand angeordnet ist, und mit mindestens einer Bestrahlungslampe, die den Auflagekörper in der Be­strahlungsstellung mit Abstand zumindest teilweise umschließt, wobei der Auf­lagekörper in Bestrahlungsstellung über eine Gehäuseöffnung zugänglich ist.
  • Ein derartiges Fingernagel-Bestrahlungsgerät ist aus der US-PS 4,731,541 bekannt. Dieses Gerät weist einen beispielsweise an einer Tischplatte mit einer Spannschraube befestigbaren säulenartigen Träger auf, an dessen Ende ein Gehäuse mit kreisförmiger Außenkontur angeordnet ist. Dieses Gehäuse weist an seiner Unterseite, der Tischplatte bzw. der Bodenplatte des Tragearmes zuge­ordneten Seite eine Einführöffnung auf, in die ein tellerförmiger Auflage­körper an einer Teleskopstange zentrisch befestigt hinein- und herausfahrbar ist. Im Gehäuse ist zentrisch zu der Teleskopstange eine ringförmige, einen geschlossenen Kreis bildende Bestrahlungslampe befestigt. Der Auflagekörper, der sehr flach in Form einer Platte ausgebildet ist, weist an seinem Außenrand Rillen auf, die zur Positionierung einer die Platte umklammernden Hand dienen. Zum Bestrahlen der Fingernägel wird mit der Hand der Auflagekörper von unten umgriffen derart, daß die Finger mit den letzten Gliedern auf der Oberseite des Auflagekörpers aufliegen. In dieser Stellung sind die Fingernägel horizontal ausgerichtet und weisen in Richtung des im Zentrum der Platte ange­ordneten Tragearmes. Je nach Länge der Fingernägel reichen diese bis an den Tragearm heran. Die so umklammerte Platte wird dann, an dem Tragearm geführt, in das Gehäuse in eine obere Stellung eingefahren. Die von der Bestrahlungs­lampe, die geringfügig mit ihrer Achse oberhalb der Oberseite der Auflage­platte verläuft, abgegebene Strahlung wird vom oberen Gehäusebereich sowie einem zusätzlichen Reflektor auf die Finger sowie die auszuhärtenden Finger­nägel reflektiert. Nach Abschluß der Bestrahlung kann die Platte wieder aus dem Gehäuse nach unten herausgezogen werden.
  • Ein weiteres Konzept für ein Fingernagel-Bestrahlungsgerät ist aus dem DE-GM 85 13 789 bekannt. Dieses Gerät weist eine Auflageplatte auf mit mehreren Niederdruckleuchtstoffröhren, die parallel zueinander in Richtung der Gehäuse-Längsachse verlaufend angeordnet sind und einen Tunnel bilden.
  • Aus dem TECHNICAL BULLETIN No. 7070 der Lee pharmaceuticals, St. Anita, California, USA, das auf das Jahr 1975 zurückgeht, wird unter der Überschrift "LEE UV NAILS" ebenfalls ein Bestrahlungsgerät zur Aushärtung von künstlichem Nagelersatz beschrieben das vom Grundkonzept ähnlich dem Gerät nach dem DE-GM 85 13 789 aufgebaut ist. Bei diesem Gerät wird die zu bestrahlende Hand durch einen Schlitz in der Gehäusewand unter die Strahlenquelle geschoben.
  • Ein weiteres Gerät zur Aushärtung von lichthärtenden Kunststoffen an Finger­nägeln ist aus dem DE-GM 86 09 293 bekannt. Dieses Gerät ist mit mehreren, in einer konkreten Ausgestaltung vier, länglichen UV-Strahlenquellen bestückt, die einen Tunnel bildend angeordnet sind; dieses Gerät ist in seinem Aufbau dem aus dem DE-GM 85 13 789 bekannten Gerät gleich. Das Gehäuse dieses Gerätes kann um eine hintere Achse nach oben geschwenkt werden.
  • Schließlich ist in der Werbeschrift "TAMI NAIL LIGHT SYSTEM Lichthärtendes Gel-System für die Fingernagelkosmetik" der Firma TAMARA KOSMETIK, 8000 München, ein Lichtgerät gezeigt, das von seinem äußeren Aufbau dem Gerät nach dem DE-GM 86 09 293 entspricht.
  • Die vorstehend angeführten Geräte werden benötigt, um die an kurzen oder abge­brochenen Fingernägeln angesetzten, sogenannten Tips, die mit UV-härtenden Kunststoffen beigearbeitet werden, auszuhärten. Zum Ansetzen eines künstlichen Fingernagels werden Tips verwendet, die eine Länge von bis zu 5 cm aufweisen. Der angesetzte Tip, der auf der Oberseite des natürlichen Fingernagels aus­läuft, muß anschließend beigearbeitet werden, um die Absätze auszugleichen. Hierbei wird eine Kunststoffmasse wiederholt aufgetragen und wiederholt ausge­härtet. Erst nachdem die angesetzten Fingernägel beigearbeitet sind, werden Sie auf die gewünschte Länge gekürzt und normalerweise lackiert.
  • Der vorliegenden Erfindung liegt nun die Aufgabe zugrunde ausgehend von einem Bestrahlungsgerät, wie es eingangs beschrieben ist, ein Gerät zu schaffen, das den aufgezeigten Anforderungen gerecht wird, das eine gleichmäßige Bestrahlung aller Fingernägel sowohl der linken als auch der rechten Hand gewährleistet, wobei die von der Bestrahlungslampe ausgehende Strahlungs im wesentlichen auf die auszuhärtenden Fingernägel auftrifft, bei dem Fingernägel auch großer Länge bestrahlt werden können und während der Bestrahlung eine bequeme Hand­haltung, auch über eine längere Zeit im Bereich von einer halben Minute, gegeben ist.
  • Gelöst wird diese Aufgabe dadurch, daß der Auflagekörper eine annähernd zylinderförmige oder kegelstumpfförmige Außenkontur zumindest im Bereich der Rillen aufweist, wobei die Rillen in Form von Rinnen ausgebildet sind, die im wesentlichen in Richtung der Achse des Auflagekörpers verlaufen, und wobei die Achse des Auflagekörpers einen Winkel im Bereich 0 bis 90° mit der Flächen­normalen der Bodenplatte einschließt. Dadurch, daß die Finger der zu bestrah­lenden Hand auf der Außenseite des zylinderförmigen oder kegelstumpfförmigen Auflagekörpers aufgelegt werden, sind die Flächennormalen der zu bestrahlenden Fingernägel in etwa radial zur Achse des Auflagekörpers ausgerichtet. Somit ist ausreichend Platz vorhanden, um auch sehr lange Fingernägel derart zu positionieren, daß sie an keinem Teil des Gehäuses oder sonstiger Teile anstoßen, da sie parallel zur Achse ausgerichtet sind.
  • Neben den Rillen in Form von langgestreckten Rinnen, die einen großen Auflage­bereich für die jeweiligen Finger bilden, sind in einer bevorzugten Aus­führungsform Anschläge für die Fingerkuppen vorgesehen, um die einzelnen Finger an der richtigen Stelle auf dem Auflagekörper zu positionieren. Bevorzugt sind solche Anschläge am unteren, d.h. der Bodenplatte zugewandten Ende des Auflagekörpers angeordnet, so daß die zu bestrahlenden Fingernägel frei über das Ende des Auflagekörpers, der beispielsweise durch eine Teleskop­stange gehalten werden kann, vorstehen.
  • Da der Auflagekörper über eine Gehäuseöffnung an der Oberseite des Gehäuses zugänglich ist, kann die zu bestrahlende Hand in einer äußerst bequemen und entspannten Haltung auf den Auflagekörper aufgelegt werden.
  • In einer einfachen geometrischen Ausgestaltung des Auflagekörpers in Form eines Zylinders oder Kegelstumpfes und einer ringförmigen Bestrahlungslampe, die den Auflagekörper umgibt, wird ein gleicher Abstand der einzelnen Finger­nägel sowohl der linken als auch der rechten Hand zu der Bestrahlungslampe und damit eine gleichmäßige Aushärtung der zu polymerisierenden Kunststoffe er­zielt.
  • Die Achse des Auflagekörpers sollte entweder senkrecht zur Bodenplatte ausge­richtet sein oder maximal einen Winkel zu der auf der Bodenplatte stehenden Flächennormalen von 90° bilden, wobei die Wahl des Winkels u. a. von der Höhe des Tisches, auf dem das Gerät aufgestellt wird, abhängig ist. Der bevorzugte Winkel, den die Achse des Auflagekörpers zur Flächennormalen der Bodenplatte einschließt, liegt bei 0 bis 60°, so daß die Hand senkrecht von oben oder schräg von oben auf den Auflagekörper aufgelegt werden kann.
  • Die Rinnen des Auflagekörpers sind symmetrisch zu einer durch die Achse des Auflagekörpers und in Richtung eines Armes einer auf den Auflagekörper aufzu­legenden Hand verlaufenden ersten Ebene angeordnet, so daß eine gleiche Be­strahlung der Fingernägel einer auf den Auflagekörper aufgelegten linken und rechten Hand gewährleistet ist. Um die Anzahl der erforderlichen Rinnen zu beschränken, wird für die Mittelfinger der linken und rechten Hand nur eine Rinne vorgesehen, die im Bereich der ersten Ebene verläuft, d.h. aus der Sicht der Person, die die Hand auf den Auflagekörper auflegt, an der Sitzposition der entsprechenden Person gegenüberliegenden Seite des Auflagekörpers angeord­net ist. Die Rinnen für die kleinen Finger der linken bzw. rechten Hand sind bevorzugt in etwa entlang der durch die Achse des Auflagekörpers verlaufenden und senkrecht auf der ersten Ebene stehenden zweiten Ebene positioniert, d. h. sie sind gegeneinander um einen Winkel von 180° versetzt.
  • Die Rinnen für die kleinen Finger liegen in einer vorteilhaften Weiterbildung auf einer Erhöhung des Auflagekörpers derart, daß die Fingernägel der kleinen Finger außerhalb der Schatten der Ringfinger liegen. Eine derartige Maßnahme kann insofern erforderlich sein, als die Fingernägel der kleinen Finger, im Gegensatz zu den Fingernägeln der Daumen, der Zeigefinger, der Mittelfinger und der Ringfinger geringfügig verdreht ausgerichtet sind und je nach Durch­messer des Auflagekörpers nur dann ausreichend bestrahlt werden, wenn die Positionierungs-Rinnen auf einer Erhöhung liegen. Dies bedeutet, daß der Auf­lagekörper im Querschnitt gesehen abweichend von einer kreisförmigen Außen­kontur an den Stellen, an denen die Rinnen für die kleinen Finger liegen, nach außen gewölbt ist.
  • Die Rinnen sollten maximal über einen Winkelbereich von 320° bis 360° über den Umfang des Auflagekörpers verteilt sein, so daß in der Zone des verbleibenden Winkelbereiches von 40° bis 60° der Sockel der Bestrahlungslampe oder die Sockel mehrerer Bestrahlungslampen, falls beispielsweise eine ringförmige Bestrahlungslampe in zwei bogenförmige Lampen unterteilt wird, angeordnet werden können. Um ein einfaches und genaues Positionieren der Hand auf dem Auflagekörper zu ermöglichen, sollte der Auflagekörper in Achsrichtung hinein- und herausfahrbar angeordnet werden. Bevorzugt wird hierbei der Auf­lagekörper aus seiner oberen, d.h. aus dem Gehäuse herausgefahrenen Stellung durch Federn gehalten, die so gewählt sind, daß mit dem Gewicht der darauf aufgelegten Hand der Auflagekörper in das Gehäuse hineinverschoben werden kann. Nach Beendigung des Bestrahlungsvorganges wird der Auflagekörper wieder unter leichtem Anheben der Hand aus dem Gehäuse herausgefahren.
  • Zur zusätzlichen Abstützung der Hand kann der Rand der Gehäuseöffnung in eine Auflage übergehen, auf der der Unterarm der jeweils zu bestrahlenden Hand auf­liegt.
  • Als zusätzlicher Blendschutz kann die Gehäuseöffnung teilweise durch eine auf­klappbare Blendschutzklappe abgedeckt werden.
  • Ein Endschalter, der in einer unteren Stellung des in das Gehäuse einfahrenen Auflagekörpers betätigt wird, kann das Gerät ein- und ausgeschalten.
  • Um eine einfache Lampengeoemetrie zu erhalten, insbesondere mit handels­üblichen Lampen mit geradliniger Achse, kann der Kreis oder das Kreissegment, über das sich die Bestrahlungslampen erstrecken sollen, durch drei bis vier Bestrahlungslampen mit geradliniger Lampenachse angenähert werden.
  • Ausführungsbeispiele der Erfindung werden nachfolgend anhand der Zeichnung näher erläutert. In der Zeichnung zeigt
    • Figur 1 einen Längsschnitt durch ein Bestrahlungsgerät mit vertikal ver­laufender Achse des Auflagekörpers in einer aus dem Gerät heraus­gefahrenen Stellung,
    • Figur 2 eine Draufsicht auf das Bestrahlungsgerät nach Figur 1,
    • Figur 3 eine von ihrem Aufbau her der Ausführungsform nach Figur 1 ähnliche Ausführungsform eines Bestrahlungsgerätes mit schräg verlaufender Achse des Auflagekörpers,
    • Figur 4 einen Auflagekörper in Form eines Kegelstumpfes und
    • Figur 5 eine der Figur 2 entsprechende Draufsicht, wobei gegenüber Figur 2 die ringförmige Bestrahlungslampe durch vier einzelne Bestrahlungslampen, die sichtbar gezeichnet sind, ersetzt ist.
  • Das Fingernagel-Bestrahlungsgerät weist ein Gehäuse 1 auf, in dessen Zentrum ein Teleskoparm 2 mit vertikal ausgerichteter Achse 3 angeordnet ist. Am oberen Ende des Teleskoparmes ist ein Auflagekörper 4 befestigt, auf den eine Hand 5, durch die strichpunktierten Linien angedeutet, derart aufgelegt wird, daß sie den Auflagekörper 4 von oben umgreift. Am oberen Ende des Teleskop­armes 2 ist weiterhin ein Trägerrahmen 6 befestigt, an dessen Unterseite zwei an der Bodenplatte 7 des Gehäuses 1 angreifende Spiralfedern 8 angeordnet sind, deren Achsen 9 parallel zu der Achse 3 des Teleskoparmes 2 verlaufen. Während die in der Figur 1 linke Feder 8 in einer Stellung gezeigt ist, in der der Auflagekörper 4 über den Teleskoparm 2 aus dem Gehäuse 1 über eine obere Gehäuseöffnung 10 herausgefahren ist, ist die rechte Spiral-Feder 8 zusammen­gedrückt in einer Stellung gezeigt, in der der Auflagekörper 4 in das Gehäuses 1 eingeschoben ist. Unterhalb der oberen Gehäuseabdeckung 11 befindet sich eine ringförmige Bestrahlungslampe 12, die von einem Reflektor 13 umgeben ist. Die Lampenachse 14 der Bestrahlungslampe 12 verläuft horizontal bzw. im rechten Winkel zu der Achse 3 des Teleskoparmes 2. Die Bestrahlungslampe 12 sowie der Reflektor 10 verlaufen, wie auch Figur 2 zeigt, konzentrisch zu der Achse 3 des Teleskoparmes 2, die gleichzeitig auch die Achse des Auflage­körpers 4 bildet.
  • In der oberen Stellung des Auflagekörpers 4 ist dieser leicht zugänglich, während die untere, durch die strichpunktierte Linie dargestellte Position derart gewählt ist, daß die Fingernägel 15 im Bestrahlungsbereich der Bestrah­lungslampe 12, der mittels der Reflektoren 13 auf einen schmalen, ringförmigen Sektor begrenzt ist, positioniert sind. In der unteren Stellung liegt hierbei der Unterarm 16 auf einer Auflage 17 auf, die sich an den Rand der Gehäuse­öffnung 10 anschließt, so daß eine entspannte Handhaltung beim Bestrahlen der Fingernägel 15 im Gehäuse 1 gewährleistet ist.
  • Der Auflagekörper 4, der in den Figuren 1 bis 3 eine annähernd zylinderförmige Außenkontur besitzt, weist mehrere Rinnen 18 auf, die axial verlaufen und eine Tiefe im Bereich ihres Rinnenbodens von etwa 2 bis 5 mm haben. Insgesamt sind um den Außenumfang des Auflagekörpers 4 herum sieben Rinnen, wie die Figur 2 verdeutlicht, verteilt, wobei die mittlere Rinne, die mit der ersten Ebene 19 zusammenfällt, für die Positionierung des Mittelfingers 20 sowohl einer linken als auch einer rechten Hand 5 dient. Diese Rinne 18 für den Mittelfinger 20 liegt der Sitzposition der zu bestrahlenden Person aus gesehen exakt gegen­über. Zwei weitere Rinnen 18 sind etwa um 45° zu der Rinne 18 für den Mittel­finger 20 versetzt und dienen zur Aufnahme des Ringfingers 21 und des Zeige­fingers 22, beispielsweise einer rechten Hand wie in Figur 2; bei der Bestrah­lung der Fingernägel einer linken Hand dient die Rinne 18 für den Ring­finger 21 dann den Zeigefinger, während die Rinne 18 für den Zeigefinger zur Aufnahme des Ringfingers dient. Zwei weitere Rinnen 18 sind zu der Rinne für die Zeigefinger/Ringfinger 21, 22 um 90° versetzt angeordnet, die zur Aufnahme der kleinen Finger 23 einer zu bestrahlenden Hand dienen. Von diesen Rinnen 18 ist dem kleinen Finger einer rechten Hand und dem kleinen Finger einer linken Hand jeweils eine Rinne 18 fest zugeordnet. Schließlich sind zwei Rinnen 18 für die Daumen 24 einer linken und einer rechten Hand vorhanden, die zu der Rinne 18 für den Zeigefinger 22 um etwa einen Winkel von 135° nach beiden Seiten versetzt sind.
  • Um ein Blenden der Person, die behandelt wird, zu vermeiden, ist die Gehäuse­öffnung 10 von einem umlaufenden Blendschutz-Rand 25 umgeben. In der unteren Stellung des Auflagekörpers 4 betätigt dessen Unterseite einen Endschalter 26 (siehe Figur 1), um die Bestrahlungslampe 12 sowie weitere Aggregate, wie beispielsweise einen seitlich im Gehäuse 1 angeordneten Lüfter 27 in Betrieb zu setzen. Im unteren Teil des Gehäuses 1 ist neben dem Lüfter 27 weiterhin ausreichend Raum für Netzteile 28 und Vorschaltgeräte 29.
  • In der Ausführungsform des Bestrahlungsgerätes nach Figur 3 verläuft, gegen­über der Ausführungsform nach Figur 1, die Achse 3 des Teleskoparmes 2 und des Auflagekörpers 4 unter einem Winkel 30 zu der durch die unterbrochene Linie angedeuteten, auf der Bodenplatte 7 stehenden Flächennormalen 31, der etwa 45° beträgt. Entsprechend ist die gesamte Bestrahlungsanordnung in Form der Be­strahlungslampe 12, des die Bestrahlungslampe 12 umgebenden Reflektors 13 sowie der Spiralfedern 8 geneigt. Die Lampenachse 14 der Bestrahlungslampe 12 ist wiederum im Winkel von 90° zur Achse 3 des Teleskoparmes 2 und des Auflagekörpers 4 entsprechend der Ausführung nach Figur 1 ausgerichtet. Die Gehäuseöffnung 10 befindet sich in einer frontseitigen Gehäuseplatte 32, so daß die Hand 5 von der Frontseite auf den Auflagekörper 4 aufgelegt und die Finger in den Rinnen 18 positioniert werden können. Die Auflage 17 für den Unterarm 16 verläuft in Verlängerung des unteren Randes der Gehäuseöffnung 10, der gleichzeitig den Blendschutz-Rand 25 bildet. Am oberen Teil des Blend­schutz-Randes 25 ist zusätzlich eine aufklappbare Blendschutzhaube 33 befestigt. Diese Blendschutzhaube 33 kann über den Handrücken, nachdem die Hand 5 zusammen mit dem Auflagekörper 4 in das Gehäuse 1 hineingefahren ist, geklappt werden.
  • Während in den Figuren 1 bis 3 ein Auflagekörper 4 mit annähernd zylindrischer Außenkontur eingesetzt ist, ist in Figur 4 ein Auflagekörper 4 gezeigt, der als Kegelstumpf ausgebildet ist. An der Oberseite ist dieser Auflagekörper 4 ebenfalls abgerundet, um eine Auflage für die Innenfläche der Hand 5 zu bilden. Die Fingernägel 15 der in die Rinnen 18 eingelegten Finger stehen über den unteren Rand des Auflagekörpers 4 hervor, so daß sie mit keinem Teil des Bestrahlungsgerätes in Berührung kommen und frei von allen Seiten bestrahlt werden können. Neben den Rinnen 18 als Positionierungsmittel für die einzelnen Finger kann zusätzlich ein Positionierungsmittel in Form von Anschlägen oder einem umlaufenden Wulst 34 dienen, gegen den die Fingerkuppen der auf den Auf­lagekörper 4 aufgelegten Hand 5 zur Anlage kommen.
  • Figur 5 zeigt das Bestrahlungsgerät nach den Figuren 1 und 2 mit senkrecht auf der Bodenplatte 7 stehender Achse 3 des Auflagekörpers 4. Der Auflagekörper 4 ist jedoch von vier einzelnen Bestrahlungslampen 12 mit geradliniger Lampen­achse 14 umgeben. Diese geraden Bestrahlungslampen 12 sind so aneinander­gereiht, daß sie einen angenäherten Kreis um den Auflagekörper 4 herum bilden, zumindest über den Umfang, über den die einzelnen Rinnen 18 für die Finger verteilt sind. Dieser Kreis muß nicht geschlossen sein, da der Bestrahlungs­bereich mit der Rinne 18 für den einen Daumen 24 beginnt und mit der Rinne 18 für den anderen Daumen 24 endet, so daß ein Bestrahlungsbereich von 300° bis etwa 320° erforderlich ist. Die in Figur 5 gezeigten Bestrahlungslampen 12 werden ebenfalls von Reflektoren 13, die die Strahlung auf den Auflage­körper 4, insbesondere dessen unteren Bereich richten, umgeben.

Claims (17)

1. Fingernagel-Bestrahlungsgerät zur Aushärtung von photopolymerisierbaren Kunststoffen auf Fingernägeln mit einem Gehäuse, das eine Bodenplatte aufweist, in dem ein Auflagekörper mit Rillen an der Außenkontur zur Positionierung der Finger der zu bestrahlenden Hand angeordnet ist, und mit mindestens einer Bestrahlungslampe, die den Auflagekörper in der Bestrahlungsstellung mit Abstand zumindest teilweise umschließt, wobei der Auflagekörper in Bestrahlungsstellung über eine Gehäuseöffnung zugänglich ist, dadurch gekennzeichnet, daß der Auflagekörper (4) eine annähernd zylinderförmige oder kegelstumpfförmige Außenkontur zumindest im Bereich der Rillen aufweist, wobei die Rillen in Form von Rinnen (18) ausgebildet sind, die im wesentlichen in Richtung der Achse (3) des Auflagekörpers (4) verlaufen, und wobei die Achse (3) des Auflagekörpers (4) einen Winkel (30) im Bereich 0 bis 90° mit der Flächennormalen (31) der Bodenplatte (7) einschließt.
2. Fingernagel-Bestrahlungsgerät nach Anspruch 1, dadurch gekennzeichnet, daß die Achse (3) des Auflagekörpers (4) einen Winkel (30) im Bereich 0 bis 60° mit der Flächennormalen (31) der Bodenplatte (7) einschließt.
3. Fingernagel-Bestrahlungsgerät nach Anspruch 1 oder 2, dadurch gekennzeichnet, daß die Rinnen (18) des Auflagekörpers (4) symmetrisch zu einer durch die Achse (3) des Auflagekörpers (4) und in Richtung des Armes (16) einer auf den Auflagekörper (4) aufzulegenden Hand (5) verlaufenden ersten Ebene (19) angeordnet sind.
4. Fingernagel-Bestrahlungsgerät nach Anspruch 3, dadurch gekennzeichnet, daß die dem Mittelfinger (20) zugeordnete Rinne (18) im Bereich der ersten Ebene (19) verläuft.
5. Fingernagel-Bestrahlungsgerät nach Anspruch 3 oder 4, dadurch gekennzeichnet, daß der Auflagekörper (4) jeweils eine Rinne (18) für den kleinen Finger (23) der linken bzw. rechten Hand aufweist, die in etwa entlang einer durch die Achse (3) des Auflagekörpers (4) und senkrecht auf der ersten Ebene (19) stehenden zweiten Ebene verlaufen.
6. Fingernagel-Bestrahlungsgerät nach einem der Ansprüche 1 bis 5, dadurch gekennzeichnet, daß die Rinnen (18) für die kleinen Finger (23) auf einer Erhöhung liegen derart, daß die Fingernägel (15) der kleinen Finger (23) außerhalb des Schattens der Ringfinger positioniert sind.
7. Fingernagel-Bestrahlungsgerät nach einem der Ansprüche 1 bis 6, dadurch gekennzeichnet, daß zwei Rinnen (18) für Daumen (24), zwei Rinnen (18) für Ringfinger (21) und zwei Rinnen (18) für Zeigefinger (22) vorgesehen sind.
8. Fingernagel-Bestrahlungsgerät nach Anspruch 7, dadurch gekennzeichnet, daß die Rinnen (18) über einen Winkelbereich von etwa 300 bis 320° um den Umfang des Auflagekörpers (4) verteilt sind.
9. Fingernagel-Bestrahlungsgerät nach einem der Anspüche 1 bis 8, dadurch gekennzeichnet, daß der Auflagekörper (4) in Richtung seiner Achse (3) in das Gehäuse (1) hinein- und herausbewegbar angeordnet ist.
10. Fingernagel-Bestrahlungsgerät nach Anspruch 9, dadurch gekennzeichnet, daß der Auflagekörper (4) gegen die Kraft einer oder mehrerer Federn (8) verschiebbar angeordnet ist.
11. Fingernagel-Bestrahlungsgerät nach Anspruch 9 und 10, dadurch gekennzeichnet, daß der Rand der Gehäuseöffnung (10) in eine Auflage (17) übergeht, die der Rinne (18) für den Zeigefinger (22) des Auflagekörpers (4) gegenüberliegend am Gehäuse (1) angeordnet ist.
12. Fingernagel-Bestrahlungsgerät nach einem der Ansprüche 1 bis 11, dadurch gekennzeichnet, daß die Gehäuseöffnung (10) wenigstens teilweise durch eine aufklappbare Blendschutzhaube (33) verschließbar ist.
13. Fingernagel-Bestrahlungsgerät nach einem der Ansprüche 1 bis 12, dadurch gekennzeichnet, daß der Auflagekörper (4) mindestens im Bereich der Rinnen (18) Positionierungsmittel in Form von Anschlägen (34) aufweist, gegen die die Fingerkuppen der zu bestrahlenden Hand (5) anliegen.
14. Fingernagel-Bestrahlungsgerät nach Anspruch 13, dadurch gekennzeichnet, daß die Anschläge (34) am unteren, der Bodenplatte (7) zugewandten Rand des Auflagekörpers (4) angeordnet sind.
15. Fingernagel-Bestrahlungsgerät nach einem der Ansprüche 9 oder 10, dadurch gekennzeichnet, daß ein Endschalter (26) vorgesehen ist, der in der in das Gehäuse (1) hineingefahrenen Stellung des Auflagekörpers (4) zum Betrieb des Gerätes betätigt wird.
16. Fingernagel-Bestrahlungsgerät nach einem der Ansprüche 1 bis 15, dadurch gekennzeichnet, daß die mindestens eine Bestrahlungslampe (12) in etwa einen Kreis oder ein Kreissegment beschreibt.
17. Fingernagel-Bestrahlungsgerät nach Anspruch 16, dadurch gekennzeichnet, daß der Kreis oder das Kreissegment durch mehrere längliche Bestrahlungslampen (12) mit geradliniger Lampenachse (14) angenähert ist.
EP19890104347 1988-07-26 1989-03-11 Fingernagel-Bestrahlungsgerät Withdrawn EP0352402A3 (de)

Applications Claiming Priority (2)

Application Number Priority Date Filing Date Title
DE3825324A DE3825324A1 (de) 1988-07-26 1988-07-26 Fingernagel-bestrahlungsgeraet
DE3825324 1988-07-26

Publications (2)

Publication Number Publication Date
EP0352402A2 true EP0352402A2 (de) 1990-01-31
EP0352402A3 EP0352402A3 (de) 1992-10-14

Family

ID=6359557

Family Applications (1)

Application Number Title Priority Date Filing Date
EP19890104347 Withdrawn EP0352402A3 (de) 1988-07-26 1989-03-11 Fingernagel-Bestrahlungsgerät

Country Status (5)

Country Link
US (1) US4988883A (de)
EP (1) EP0352402A3 (de)
JP (1) JPH0274209A (de)
AU (1) AU615092B2 (de)
DE (1) DE3825324A1 (de)

Cited By (3)

* Cited by examiner, † Cited by third party
Publication number Priority date Publication date Assignee Title
US5130553A (en) * 1990-09-13 1992-07-14 Ushio Denki Kabushiki Kaisha Apparatus for forming aesthetic artificial nails
WO2005120286A1 (de) * 2004-06-05 2005-12-22 Costrade Beauty Consulting Gmbh Bestrahlungsgerät für finger- oder fussnägel
FR3013191A1 (fr) * 2013-11-19 2015-05-22 Oreal Dispositif de durcissement de vernis a ongles par rayonnement, a dimensions reduites

Families Citing this family (21)

* Cited by examiner, † Cited by third party
Publication number Priority date Publication date Assignee Title
WO1998007347A2 (en) * 1996-08-20 1998-02-26 Patrick Njauwa Mulaisho Device for facilitating manicuring and method of use thereof
DE20004094U1 (de) 2000-03-03 2000-05-31 European Nail Factory GmbH, 56332 Dieblich Tunnel-Härtungsgerät
US20020183810A1 (en) * 2001-06-04 2002-12-05 Vlahos George J. Light therapy equipment
US7041174B2 (en) * 2003-02-19 2006-05-09 Sunmodics,Inc. Grafting apparatus and method of using
US6762425B1 (en) 2003-09-25 2004-07-13 Gloria Strait Portable device for curing gel nail preparations
US7678321B2 (en) * 2004-11-15 2010-03-16 Opi Products, Inc. Clear and resilient artificial fingernail tip
TW201119605A (en) * 2009-12-11 2011-06-16 Genesis Photonics Inc Nail care device.
US8993983B2 (en) 2010-05-13 2015-03-31 Nail Alliance Llc UV LED curing apparatus with improved housing and switch controller
US8835886B2 (en) 2011-01-24 2014-09-16 Revlon Consumer Products Corporation UV nail lamp
USD662259S1 (en) 2011-01-25 2012-06-19 Creative Nail Design, Inc. Nail product curing lamp
MX388762B (es) 2012-06-01 2025-03-20 Surmodics Inc Aparato y método para recubrir catéteres con globo.
US9827401B2 (en) 2012-06-01 2017-11-28 Surmodics, Inc. Apparatus and methods for coating medical devices
JP5435092B1 (ja) * 2012-08-24 2014-03-05 パナソニック株式会社 樹脂硬化装置及び光硬化樹脂を硬化する方法
US11090468B2 (en) 2012-10-25 2021-08-17 Surmodics, Inc. Apparatus and methods for coating medical devices
JP2015070977A (ja) * 2013-10-04 2015-04-16 パナソニックIpマネジメント株式会社 樹脂硬化装置
JP6808936B2 (ja) * 2015-12-28 2021-01-06 カシオ計算機株式会社 描画装置及び描画装置の制御方法
US11896106B2 (en) * 2018-07-06 2024-02-13 Codi N Codi, Inc. LED nail dryer
WO2020112816A1 (en) 2018-11-29 2020-06-04 Surmodics, Inc. Apparatus and methods for coating medical devices
US11819590B2 (en) 2019-05-13 2023-11-21 Surmodics, Inc. Apparatus and methods for coating medical devices
US12496612B2 (en) 2021-01-08 2025-12-16 Surmodics, Inc. Coating application system and methods for coating rotatable medical devices
JP1810433S (ja) 2024-06-17 2025-10-10 自動ネイルマシン

Family Cites Families (13)

* Cited by examiner, † Cited by third party
Publication number Priority date Publication date Assignee Title
FR1000606A (fr) * 1946-03-08 1952-02-14 Poignée pour vernissage des ongles
FR1005277A (fr) * 1947-06-26 1952-04-08 Scient De Neuilly Lab Séchoir pour les ongles
DE2161330A1 (de) * 1971-12-10 1973-06-20 Philips Patentverwaltung Vorrichtung zum trocknen von nagellack
US4148934A (en) * 1977-12-02 1979-04-10 W. R. Grace Ltd. Secondary photocuring of photocured printing plate, apparatus and method
US4255871A (en) * 1979-03-28 1981-03-17 Sigman John J Nail polish dryer
US4754769A (en) * 1985-03-12 1988-07-05 Salon Pro, Inc. Nail dryer
DE8513789U1 (de) * 1985-05-09 1985-12-19 Nk-Optik Gesellschaft Fuer Elektro-Optische Geraete Mbh, 8 Vorrichtung zum Aushärten von lichthärtendem Fingernagel- oder Fußnagelersatz
AU5934986A (en) * 1985-06-28 1987-02-12 Pamela Robin Cummins Nail polish dryer
US4612444A (en) * 1985-07-31 1986-09-16 Ragusa Vincent J Apparatus for curing bonding material of artificial nail tips
DE8609293U1 (de) * 1986-04-05 1986-07-31 Desonic - Kunststoff GmbH, 61130 Nidderau Gerät zur Aushärtung von lichthärtenden Kunststoffen an Fingernägeln
US4731541A (en) * 1986-07-25 1988-03-15 Conair Corporation Ultraviolet light for use in setting gels for artificial fingernails
US4864145A (en) * 1986-10-31 1989-09-05 Burgio Joseph T Jr Apparatus and method for curing photosensitive coatings
DE8816682U1 (de) * 1988-08-29 1990-04-26 Heraeus Kulzer GmbH, 63450 Hanau Bestrahlungsgerät

Cited By (3)

* Cited by examiner, † Cited by third party
Publication number Priority date Publication date Assignee Title
US5130553A (en) * 1990-09-13 1992-07-14 Ushio Denki Kabushiki Kaisha Apparatus for forming aesthetic artificial nails
WO2005120286A1 (de) * 2004-06-05 2005-12-22 Costrade Beauty Consulting Gmbh Bestrahlungsgerät für finger- oder fussnägel
FR3013191A1 (fr) * 2013-11-19 2015-05-22 Oreal Dispositif de durcissement de vernis a ongles par rayonnement, a dimensions reduites

Also Published As

Publication number Publication date
DE3825324A1 (de) 1990-02-01
AU615092B2 (en) 1991-09-19
US4988883A (en) 1991-01-29
DE3825324C2 (de) 1992-10-22
JPH0274209A (ja) 1990-03-14
AU3891089A (en) 1990-02-01
EP0352402A3 (de) 1992-10-14

Similar Documents

Publication Publication Date Title
DE3825324C2 (de)
EP0303794B1 (de) Fingernagel-Bestrahlungsgerät
DE19901589C1 (de) Bestrahlungsvorrichtung, insbesondere UV-Tischlampe, zur Verfestigung von lichtaushärtendem Gel im Zuge einer Fingernagelbehandlung
DE2150087C2 (de) Beleuchtungsvorrichtung für zahnärztliche
DE20013335U1 (de) Vorrichtung zur dynamischen Bestrahlung mit Ultraviolettstrahlen
DE202004008982U1 (de) Bestrahlungsgerät für Finger- oder Fußnägel
EP0356611B1 (de) Bestrahlungsgerät
EP0201107B1 (de) Vorrichtung zum Aushärten von lichthärtendem Fingernagel- und Fussnagelersatz
DE2355720A1 (de) Dentalstuhl mit instrumenteneinheit
EP1955336B1 (de) Bestrahlungsgerät für finger- oder fussnägel und verfahren zum bestrahlen von fotopolymerisierbaren verbindungen auf finger- oder fussnägeln
DE2936054A1 (de) Arbeitsplatzleuchte
DE8804442U1 (de) Gerät für die Farbpunktur
EP0139278A1 (de) UV-Bestrahlungsgerät
DE202007005765U1 (de) Handauflage zur Nagelbehandlung
DE3215664C2 (de) Bestrahlungsgerät für Zahnersatzteile
EP0962574A1 (de) Beleuchtungsvorrichtung für eine Nähmaschine
EP1055873A2 (de) Lampe
EP0560216B1 (de) Brennpunktverstellung eines Leuchtmittels in einem Gehäuse
DE202005018015U1 (de) Bestrahlungsgerät für Finger- oder Fußnägel
DE9112619U1 (de) Leuchte, insbesondere Wand- oder Deckenstrahler
EP0004370B1 (de) Bestrahlungsvorrichtung, insbesondere Heimsolarium
DE7615371U1 (de) Vorrichtung für eine Bestrahlungsliege
DE2203786A1 (de) Reflektor fuer eine leuchte, insbesondere eine belichtungsvorrichtung
DE19912156A1 (de) Fahrzeugleuchte
DE3343913A1 (de) Tragbare leuchte

Legal Events

Date Code Title Description
PUAI Public reference made under article 153(3) epc to a published international application that has entered the european phase

Free format text: ORIGINAL CODE: 0009012

17P Request for examination filed

Effective date: 19890323

AK Designated contracting states

Kind code of ref document: A2

Designated state(s): CH DE ES FR IT LI

RAP1 Party data changed (applicant data changed or rights of an application transferred)

Owner name: HERAEUS KULZER GMBH

PUAL Search report despatched

Free format text: ORIGINAL CODE: 0009013

AK Designated contracting states

Kind code of ref document: A3

Designated state(s): CH DE ES FR IT LI

17Q First examination report despatched

Effective date: 19931004

STAA Information on the status of an ep patent application or granted ep patent

Free format text: STATUS: THE APPLICATION IS DEEMED TO BE WITHDRAWN

18D Application deemed to be withdrawn

Effective date: 19940906