EP0321525B1 - Eine auf einer integrierten druckplatte durch löten befestigte nadel - Google Patents
Eine auf einer integrierten druckplatte durch löten befestigte nadel Download PDFInfo
- Publication number
- EP0321525B1 EP0321525B1 EP88905456A EP88905456A EP0321525B1 EP 0321525 B1 EP0321525 B1 EP 0321525B1 EP 88905456 A EP88905456 A EP 88905456A EP 88905456 A EP88905456 A EP 88905456A EP 0321525 B1 EP0321525 B1 EP 0321525B1
- Authority
- EP
- European Patent Office
- Prior art keywords
- pin
- pcb
- flux
- soldering
- shoulder
- Prior art date
- Legal status (The legal status is an assumption and is not a legal conclusion. Google has not performed a legal analysis and makes no representation as to the accuracy of the status listed.)
- Expired - Lifetime
Links
Images
Classifications
-
- H—ELECTRICITY
- H01—ELECTRIC ELEMENTS
- H01R—ELECTRICALLY-CONDUCTIVE CONNECTIONS; STRUCTURAL ASSOCIATIONS OF A PLURALITY OF MUTUALLY-INSULATED ELECTRICAL CONNECTING ELEMENTS; COUPLING DEVICES; CURRENT COLLECTORS
- H01R13/00—Details of coupling devices of the kinds covered by groups H01R12/70 or H01R24/00 - H01R33/00
- H01R13/02—Contact members
- H01R13/04—Pins or blades for co-operation with sockets
-
- H—ELECTRICITY
- H01—ELECTRIC ELEMENTS
- H01R—ELECTRICALLY-CONDUCTIVE CONNECTIONS; STRUCTURAL ASSOCIATIONS OF A PLURALITY OF MUTUALLY-INSULATED ELECTRICAL CONNECTING ELEMENTS; COUPLING DEVICES; CURRENT COLLECTORS
- H01R12/00—Structural associations of a plurality of mutually-insulated electrical connecting elements, specially adapted for printed circuits, e.g. printed circuit boards [PCB], flat or ribbon cables, or like generally planar structures, e.g. terminal strips, terminal blocks; Coupling devices specially adapted for printed circuits, flat or ribbon cables, or like generally planar structures; Terminals specially adapted for contact with, or insertion into, printed circuits, flat or ribbon cables, or like generally planar structures
- H01R12/50—Fixed connections
- H01R12/51—Fixed connections for rigid printed circuits or like structures
- H01R12/55—Fixed connections for rigid printed circuits or like structures characterised by the terminals
- H01R12/58—Fixed connections for rigid printed circuits or like structures characterised by the terminals terminals for insertion into holes
-
- H—ELECTRICITY
- H05—ELECTRIC TECHNIQUES NOT OTHERWISE PROVIDED FOR
- H05K—PRINTED CIRCUITS; CASINGS OR CONSTRUCTIONAL DETAILS OF ELECTRIC APPARATUS; MANUFACTURE OF ASSEMBLAGES OF ELECTRICAL COMPONENTS
- H05K3/00—Apparatus or processes for manufacturing printed circuits
- H05K3/30—Assembling printed circuits with electric components, e.g. with resistor
- H05K3/32—Assembling printed circuits with electric components, e.g. with resistor electrically connecting electric components or wires to printed circuits
- H05K3/34—Assembling printed circuits with electric components, e.g. with resistor electrically connecting electric components or wires to printed circuits by soldering
- H05K3/3447—Lead-in-hole components
-
- H—ELECTRICITY
- H05—ELECTRIC TECHNIQUES NOT OTHERWISE PROVIDED FOR
- H05K—PRINTED CIRCUITS; CASINGS OR CONSTRUCTIONAL DETAILS OF ELECTRIC APPARATUS; MANUFACTURE OF ASSEMBLAGES OF ELECTRICAL COMPONENTS
- H05K2201/00—Indexing scheme relating to printed circuits covered by H05K1/00
- H05K2201/10—Details of components or other objects attached to or integrated in a printed circuit board
- H05K2201/10227—Other objects, e.g. metallic pieces
- H05K2201/10295—Metallic connector elements partly mounted in a hole of the PCB
- H05K2201/10303—Pin-in-hole mounted pins
-
- H—ELECTRICITY
- H05—ELECTRIC TECHNIQUES NOT OTHERWISE PROVIDED FOR
- H05K—PRINTED CIRCUITS; CASINGS OR CONSTRUCTIONAL DETAILS OF ELECTRIC APPARATUS; MANUFACTURE OF ASSEMBLAGES OF ELECTRICAL COMPONENTS
- H05K2201/00—Indexing scheme relating to printed circuits covered by H05K1/00
- H05K2201/10—Details of components or other objects attached to or integrated in a printed circuit board
- H05K2201/10613—Details of electrical connections of non-printed components, e.g. special leads
- H05K2201/10742—Details of leads
- H05K2201/1075—Shape details
- H05K2201/10871—Leads having an integral insert stop
-
- H—ELECTRICITY
- H05—ELECTRIC TECHNIQUES NOT OTHERWISE PROVIDED FOR
- H05K—PRINTED CIRCUITS; CASINGS OR CONSTRUCTIONAL DETAILS OF ELECTRIC APPARATUS; MANUFACTURE OF ASSEMBLAGES OF ELECTRICAL COMPONENTS
- H05K2203/00—Indexing scheme relating to apparatus or processes for manufacturing printed circuits covered by H05K3/00
- H05K2203/11—Treatments characterised by their effect, e.g. heating, cooling, roughening
- H05K2203/1147—Sealing or impregnating, e.g. of pores
-
- H—ELECTRICITY
- H05—ELECTRIC TECHNIQUES NOT OTHERWISE PROVIDED FOR
- H05K—PRINTED CIRCUITS; CASINGS OR CONSTRUCTIONAL DETAILS OF ELECTRIC APPARATUS; MANUFACTURE OF ASSEMBLAGES OF ELECTRICAL COMPONENTS
- H05K2203/00—Indexing scheme relating to apparatus or processes for manufacturing printed circuits covered by H05K3/00
- H05K2203/30—Details of processes not otherwise provided for in H05K2203/01 - H05K2203/17
- H05K2203/304—Protecting a component during manufacturing
-
- H—ELECTRICITY
- H05—ELECTRIC TECHNIQUES NOT OTHERWISE PROVIDED FOR
- H05K—PRINTED CIRCUITS; CASINGS OR CONSTRUCTIONAL DETAILS OF ELECTRIC APPARATUS; MANUFACTURE OF ASSEMBLAGES OF ELECTRICAL COMPONENTS
- H05K3/00—Apparatus or processes for manufacturing printed circuits
- H05K3/30—Assembling printed circuits with electric components, e.g. with resistor
- H05K3/32—Assembling printed circuits with electric components, e.g. with resistor electrically connecting electric components or wires to printed circuits
- H05K3/34—Assembling printed circuits with electric components, e.g. with resistor electrically connecting electric components or wires to printed circuits by soldering
- H05K3/3457—Solder materials or compositions; Methods of application thereof
- H05K3/3468—Applying molten solder
Definitions
- the invention relates to a pin attached to a printed circuit board (PCB) by soldering for connecting electrical conductors to the PCB, the pin having a first part soldered to a metal coating on the PCB, and a second part with which said electrical conductors can make contact, and where flux is used in soldering the pin, the flux wetting the surface of the pin and creeping away from the soldering location and the cross-sectional dimension of the second part of the pin is greater than the cross-sectional dimension of the fist part of the pin, whereby a shoulder is formed between the two parts.
- PCB printed circuit board
- Pins are used in many applications for connecting electrical conductors to PCBs, the pins being soldered to the PCB.
- soldering a flux is used, which wets the pin and creeps along its surface.
- the flux can there act chemically on an integrated circuit which is connected via the pin, for example, or constitute a contact resistance between the pin and a gliding contact thrust on to it.
- it has been proposed to provide a tight closure round the pin e.g. as described in the German patent application DE-A-3414343.
- Figure 1 is a cross section illustrating a PCB and a pin of known embodiment
- Figure 2 in cross section illustrates the PCB with the inventive pin
- Figure 3 in cross section illustrates a detail of the inventive pin
- Figure 4 is a side view of a further embodiment of a pin in accordance with the invention.
- FIG. 1 there is illustrated a known pin 1, by which an electrical conductor 2 is connected to electrical conductors 3 in a PCB 4.
- the latter is conventionally built up of insulating material layers 5 on which the conductors 3 are situated.
- the conductors 3 of the different layers 5 are connected to metal tabs 6 connected to each other via a metal tube 7 through the circuit board.
- This tube is achieved by a hole being drilled in the PCB 4 through the metal tabs 6, whereafter the inside of the hole is coated with metal.
- the electrical conductor 2 is connected to the pin 1 with the aid of a sliding contact 8, engaging against the pin 1 with the aid of spring bias.
- the pin 1 is retained in a holder 9 of plastic material, which also retains a plurality of unillustrated pins connected to the circuit board 4.
- the pin 1 is thrust into the tube 7, and to obtain good electrical and mechanical connection between the pin 1 and the tube 7 the pin is soldered in the tube by soldering metal 10.
- soldering metal 10 For soldering, the pin 1 is inserted in the tube, subsequent to which the inside of the tube 7 and the pin 1 are coated with flux, then the underside of the PCB 4 is lowered into a bath of molten soldering metal. During soldering the flux is heated and is forced away by the soldering metal 10 to creep along the surface of the pin 1 as indicated by arrows P in the figure. At the place of attachment of the pin in the holder 9, there are narrow gaps 12 between the pin 1 and the holder 9 through which the flux can creep.
- the flux can thus reach the surface 11, against which the gliding contact 8 is to engage, and cause contact resistance between the pin 1 and the contact 8. It has been found very difficult to form the holder 9 such that a completely sealed connection between the pin and holder is obtained, which would prevent the flux reaching the upper part of the pin.
- the PCB 4 with pin 21 in accordance with the invention are illustrated in Figure 2, and are formed such that they counteract the movement of the flux along the pin.
- the electrical conductors 2 are connected to the conductors 3 in the circuit board 4 via the pin 21, which is retained by the holder 9.
- the conductors 3 of the PCB are connected to metal tabs 22, which are mutually connnected right through the PCB 4 by metal tube 23.
- the pin 21 has a first elongate, uniformly thick part 24 which is thrust into the metal tube 23 and attached to it via soldering metal 25.
- the electrical conductors 2 are connected by gliding contacts 8, engaging against surfaces 29 of a second elongate, uniformly thick part 26 of the pin 21.
- the cross-sectional dimension d2 of the second part 26 is greater than the cross-sectional dimension d1 of the first part 24.
- the second part 26 projects out past the first part 24 round the entire periphery of the pin 21 so that a shoulder 27 is formed.
- the relationship between the cross-sectional dimensions d1 and d2 is less than 3:4 and the shoulder 27 has an extension in the longitudinal direction of the pin which is less than the difference between the cross-sectional dimensions.
- the shoulder 27 has sharp edges 30 which prevent the flux creeping, as will be explained below.
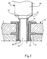
- FIG. 3 A fragmentary section of the pin 21 and PCB 4 is illustrated in Figure 3.
- the inside of the tube 23 and the first part 24 of the pin are coated with flux 28, which wets the surface of the first part 24 during soldering and creeps upwards as illustrated by the arrows P1. It has been found by trials that the creep of the flux is made more difficult by the edges 30 of the shoulder 27. During soldering there is a accumulation of flux at the lower one of the edges. When the amount of accumulated flux has reached a certain size the flux begins to creep along the surface of the shoulder 27 and a new accumulation of flux is formed at the upper one of the edges.
- the build-up of these accumulations of flux takes such a long time that there is time for soldering to be terminated and the termperature of the pin 21 to fall, so that the flux has time to solidify.
- the shoulder thus counteracts the creep of flux up around the second part 26 of the pin to the engaging surfaces 29 for the gliding contact 8.
- the shoulder 27 is situated spaced from the uppermost metal tab 22 and has no sealing function in co-action with it.
- a pin 31 has a first elongate, uniformly thick part 32 and a second elongate part 33 with a protuberance 34 extending round the entire periphery of the pin 31.
- the first part 32 is intended for thrusting into, and soldering to the hole in the PCB 4.
- the protuberance 34 forms a shoulder 35, which counteracts that the flux heated during soldering can creep up along the second part 33 of the pin 31, as described in connection with Figure 3.
- the spacing d3 between the pins is also standardized.
- this embodiment has the advantage that the diameter of the tab 22 is less than the diamter of the tab 6 for the known pin 1 according to Figure 1.
- pins have been thrust into holes in the PCB. It will be obvious to one skilled in the art that the invention can also be applied to pins which are soldered at the surface of a PCB.
Landscapes
- Engineering & Computer Science (AREA)
- Manufacturing & Machinery (AREA)
- Microelectronics & Electronic Packaging (AREA)
- Coupling Device And Connection With Printed Circuit (AREA)
- Multi-Conductor Connections (AREA)
- Electric Connection Of Electric Components To Printed Circuits (AREA)
Claims (4)
- Durch einen Lötvorgang an einer gedruckten Leiterplatte PCB (4) befestigter Stift zum Anschließen elektrischer Leiter an der PCB (4), wobei der Stift einen ersten Teil (24, 32) hat, der an einer Metallbeschichtung (22) auf der PCB angelötet ist sowie eine zweiten Teil (26, 34), mit dem die elektrischen Leiter in Kontakt kommen können, wobei zum Verlöten des Stiftes ein Lötmittel verwendet wird, das die Oberfläche des Stiftes benetzt und von der Lötstelle wegkriecht, wobei der Querschnittsdurchmesser des zweiten Teiles (26, 34) des Stiftes (21, 31) größer ist als der Querschnitts-Durchmesser des ersten Teiles (24, 32) des Stiftes (21, 31) und wobei zwischen den beiden Teilen (26, 34; 24, 32) eine Schulter (27, 35) gebildet wird, wobei der Stift (21, 31) ferner zwischen der Schulter (27, 35) und wenigstens einem der ersten (24, 32) oder zweiten (26, 34) Teile des Stiftes einen Übergang mit einer scharfen Kante (30) hat, die ihrerseits dem Kriechen des Flußmittels (28) längs der Oberfläche des zweiten Teiles (26, 34) des Stiftes (21, 31) entgegenwirkt.
- Durch einen Lötvorgang an einer gedruckten Leiterplatte befestigter Stift nach Anspruch 1, wobei die Schulter (27, 35) von der Metallbeschichtung (22, 23) auf der PCB (4) entfernt ist.
- Durch einen Lötvorgang an einer gedruckten Leiterplatte befestigter Stift nach einem der Ansprüche 1 oder 2, wobei die Schulter (27, 35) sich um den gesamten Umfang des Stiftes (21, 31) herum erstreckt.
- Durch einen Lötvorgang an einer gedruckten Leiterplatte befestigter Stift nach einem der Ansprüche 1, 2 oder 3, wobei die Metallbeschichtung (22, 23) ein Rohr (23) umfaßt, das durch die PCB (4) hindurchgeht, wobei der erste Teil (24, 32) des Stiftes (21, 31) länglich und gleichförmig dick ist und sich in das Rohr (23) hinein erstreckt.
Priority Applications (1)
| Application Number | Priority Date | Filing Date | Title |
|---|---|---|---|
| AT88905456T ATE103112T1 (de) | 1987-06-11 | 1988-05-18 | Eine auf einer integrierten druckplatte durch loeten befestigte nadel. |
Applications Claiming Priority (2)
| Application Number | Priority Date | Filing Date | Title |
|---|---|---|---|
| SE8702441 | 1987-06-11 | ||
| SE8702441A SE457838B (sv) | 1987-06-11 | 1987-06-11 | Stift vilket aer fastsatt vid ett kretskort genom loedning |
Publications (2)
| Publication Number | Publication Date |
|---|---|
| EP0321525A1 EP0321525A1 (de) | 1989-06-28 |
| EP0321525B1 true EP0321525B1 (de) | 1994-03-16 |
Family
ID=20368829
Family Applications (1)
| Application Number | Title | Priority Date | Filing Date |
|---|---|---|---|
| EP88905456A Expired - Lifetime EP0321525B1 (de) | 1987-06-11 | 1988-05-18 | Eine auf einer integrierten druckplatte durch löten befestigte nadel |
Country Status (19)
| Country | Link |
|---|---|
| US (1) | US5000691A (de) |
| EP (1) | EP0321525B1 (de) |
| KR (1) | KR890702281A (de) |
| AU (1) | AU601060B2 (de) |
| BR (1) | BR8807087A (de) |
| DE (1) | DE3888488T2 (de) |
| DK (1) | DK163851C (de) |
| EG (1) | EG18423A (de) |
| ES (1) | ES2008536A6 (de) |
| FI (1) | FI93911C (de) |
| GR (1) | GR880100378A (de) |
| IE (1) | IE63145B1 (de) |
| MA (1) | MA21299A1 (de) |
| MX (1) | MX169273B (de) |
| MY (1) | MY103092A (de) |
| SE (1) | SE457838B (de) |
| TN (1) | TNSN88054A1 (de) |
| TR (1) | TR26976A (de) |
| WO (1) | WO1988010015A1 (de) |
Cited By (1)
| Publication number | Priority date | Publication date | Assignee | Title |
|---|---|---|---|---|
| US10798856B2 (en) * | 2015-12-03 | 2020-10-06 | Protosonic Limited | Apparatus for holding a printed circuit board |
Families Citing this family (11)
| Publication number | Priority date | Publication date | Assignee | Title |
|---|---|---|---|---|
| JP3426801B2 (ja) * | 1995-08-15 | 2003-07-14 | 株式会社ミツバ | 電子部品 |
| ES2140340B1 (es) * | 1998-03-13 | 2000-10-16 | Mecanismos Aux Es Ind S A M A | Procedimiento de soldadura laser aplicable a la union de pines sobre circuitos impresos. |
| KR100319291B1 (ko) | 1999-03-13 | 2002-01-09 | 윤종용 | 회로 기판 및 회로 기판의 솔더링 방법 |
| US6798191B1 (en) | 1999-08-09 | 2004-09-28 | Power Measurement Ltd. | Revenue meter with a graphic user interface being operative to display scalable objects |
| US6186842B1 (en) * | 1999-08-09 | 2001-02-13 | Power Measurement Ltd. | Revenue meter bayonet assembly and method of attachment |
| CN100484371C (zh) * | 2004-06-21 | 2009-04-29 | 鸿富锦精密工业(深圳)有限公司 | 防止主机板短路的焊盘 |
| CN1735321A (zh) * | 2004-08-11 | 2006-02-15 | 鸿富锦精密工业(深圳)有限公司 | 具有改良焊盘的电路板 |
| US9674943B2 (en) * | 2012-12-06 | 2017-06-06 | Intel Corporation | Actuation mechanisms for electrical interconnections |
| TW201517716A (zh) * | 2013-10-18 | 2015-05-01 | Delta Electronics Inc | 電路板總成及其導線固定裝置與方法 |
| US10886685B2 (en) * | 2019-03-08 | 2021-01-05 | Onanon, Inc. | Preformed solder-in-pin system |
| US20240237228A9 (en) * | 2022-10-19 | 2024-07-11 | International Business Machines Corporation | Reworking solder component without part removal |
Family Cites Families (7)
| Publication number | Priority date | Publication date | Assignee | Title |
|---|---|---|---|---|
| US3268653A (en) * | 1964-04-29 | 1966-08-23 | Ibm | Printed circuit board with solder resistant coating in the through-hole connectors |
| US3428934A (en) * | 1967-02-28 | 1969-02-18 | Amp Inc | Electrical connector for printed circuit board |
| US4236776A (en) * | 1978-08-24 | 1980-12-02 | Augat Inc. | Electrical contact with improved means for solder wicking and degassing |
| US4421368A (en) * | 1981-07-31 | 1983-12-20 | Western Electric Company, Inc. | Lead-receiving socket, multi-socket assembly incorporating same and method of effecting circuit interconnections therewith |
| US4577923A (en) * | 1983-03-24 | 1986-03-25 | Nec Corporation | Microwave integrated circuit and mounting device therefor |
| DE3414343A1 (de) * | 1984-04-16 | 1985-10-17 | Siemens AG, 1000 Berlin und 8000 München | Elektrischer steckverbinder |
| US4723925A (en) * | 1987-03-02 | 1988-02-09 | Woven Electronics Corporation | Crimp contact for a printed circuit board and method |
-
1987
- 1987-06-11 SE SE8702441A patent/SE457838B/sv not_active IP Right Cessation
-
1988
- 1988-05-18 KR KR1019890700195A patent/KR890702281A/ko not_active Ceased
- 1988-05-18 BR BR888807087A patent/BR8807087A/pt not_active IP Right Cessation
- 1988-05-18 WO PCT/SE1988/000253 patent/WO1988010015A1/en not_active Ceased
- 1988-05-18 AU AU19468/88A patent/AU601060B2/en not_active Ceased
- 1988-05-18 EP EP88905456A patent/EP0321525B1/de not_active Expired - Lifetime
- 1988-05-18 DE DE3888488T patent/DE3888488T2/de not_active Expired - Fee Related
- 1988-05-25 MX MX011633A patent/MX169273B/es unknown
- 1988-05-25 EG EG280/88A patent/EG18423A/xx active
- 1988-05-30 IE IE161988A patent/IE63145B1/en not_active IP Right Cessation
- 1988-06-02 MY MYPI88000578A patent/MY103092A/en unknown
- 1988-06-03 TN TNTNSN88054A patent/TNSN88054A1/fr unknown
- 1988-06-03 TR TR00392/88A patent/TR26976A/xx unknown
- 1988-06-09 MA MA21542A patent/MA21299A1/fr unknown
- 1988-06-10 ES ES8801803A patent/ES2008536A6/es not_active Expired
- 1988-06-13 GR GR880100378A patent/GR880100378A/el unknown
-
1989
- 1989-01-24 FI FI890345A patent/FI93911C/sv not_active IP Right Cessation
- 1989-02-10 DK DK062789A patent/DK163851C/da not_active IP Right Cessation
-
1990
- 1990-03-12 US US07/492,326 patent/US5000691A/en not_active Expired - Lifetime
Cited By (1)
| Publication number | Priority date | Publication date | Assignee | Title |
|---|---|---|---|---|
| US10798856B2 (en) * | 2015-12-03 | 2020-10-06 | Protosonic Limited | Apparatus for holding a printed circuit board |
Also Published As
| Publication number | Publication date |
|---|---|
| WO1988010015A1 (en) | 1988-12-15 |
| FI93911C (sv) | 1995-06-12 |
| DK62789A (da) | 1989-02-10 |
| ES2008536A6 (es) | 1989-07-16 |
| SE457838B (sv) | 1989-01-30 |
| DE3888488D1 (de) | 1994-04-21 |
| TNSN88054A1 (fr) | 1990-07-10 |
| AU601060B2 (en) | 1990-08-30 |
| DE3888488T2 (de) | 1994-06-23 |
| DK62789D0 (da) | 1989-02-10 |
| KR890702281A (ko) | 1989-12-23 |
| FI890345A7 (fi) | 1989-01-24 |
| BR8807087A (pt) | 1989-10-31 |
| EP0321525A1 (de) | 1989-06-28 |
| FI890345A0 (fi) | 1989-01-24 |
| EG18423A (en) | 1993-04-30 |
| AU1946888A (en) | 1989-01-04 |
| FI93911B (sv) | 1995-02-28 |
| MA21299A1 (fr) | 1988-12-31 |
| MY103092A (en) | 1993-04-30 |
| IE881619L (en) | 1988-12-11 |
| DK163851B (da) | 1992-04-06 |
| DK163851C (da) | 1992-09-07 |
| TR26976A (tr) | 1994-09-12 |
| US5000691A (en) | 1991-03-19 |
| IE63145B1 (en) | 1995-03-22 |
| GR880100378A (el) | 1989-03-08 |
| SE8702441D0 (sv) | 1987-06-11 |
| MX169273B (es) | 1993-06-28 |
| SE8702441L (sv) | 1988-12-12 |
Similar Documents
| Publication | Publication Date | Title |
|---|---|---|
| EP0321525B1 (de) | Eine auf einer integrierten druckplatte durch löten befestigte nadel | |
| US4230385A (en) | Printed circuit board, electrical connector and method of assembly | |
| US4109295A (en) | Solderless circuit board component | |
| EP0797379B1 (de) | Leiterplatte und Verfahren zum lagegegenauen Bestücken und Löten von elektronischen Bauelementen auf der Oberfläche der Leiterplatte | |
| US3754324A (en) | Solder resist | |
| US4216576A (en) | Printed circuit board, electrical connector and method of assembly | |
| US4900279A (en) | Solder terminal | |
| US3184532A (en) | Electrical component and method of assembly | |
| US4797110A (en) | Printed circuit board with integral electrical connector and method for making it using wave soldering | |
| US4723923A (en) | Low insertion, stamped and formed contact sleeve | |
| US4592137A (en) | Method of circuit connection across both surfaces of substrate | |
| US6146212A (en) | Terminal connector assembly | |
| US5589669A (en) | Electrical contact for printed circuit boards | |
| US4347552A (en) | Assembly of electrical components with substrates | |
| US5090926A (en) | Solderable lead | |
| GB2204740A (en) | Housings for electrical components | |
| US3780211A (en) | Insulating printed-circuit board having pin-shaped connecting members | |
| US4679870A (en) | Manufacture of low profile clip connector | |
| CA1052475A (en) | Double faced printed circuit board interconnection | |
| JPH07254775A (ja) | 回路基板 | |
| JPH0439878A (ja) | コネクタ | |
| JPH0897530A (ja) | 電子部品搭載用基板及びその製造方法 | |
| JP3153109B2 (ja) | 電子部品 | |
| US2872625A (en) | Terminal connections for printed wiring assemblies | |
| JPH0529108U (ja) | 表面実装部品用端子 |
Legal Events
| Date | Code | Title | Description |
|---|---|---|---|
| PUAI | Public reference made under article 153(3) epc to a published international application that has entered the european phase |
Free format text: ORIGINAL CODE: 0009012 |
|
| 17P | Request for examination filed |
Effective date: 19890113 |
|
| AK | Designated contracting states |
Kind code of ref document: A1 Designated state(s): AT CH DE FR GB IT LI NL |
|
| 17Q | First examination report despatched |
Effective date: 19920316 |
|
| GRAA | (expected) grant |
Free format text: ORIGINAL CODE: 0009210 |
|
| AK | Designated contracting states |
Kind code of ref document: B1 Designated state(s): AT CH DE FR GB IT LI NL |
|
| REF | Corresponds to: |
Ref document number: 103112 Country of ref document: AT Date of ref document: 19940415 Kind code of ref document: T |
|
| ITF | It: translation for a ep patent filed | ||
| REF | Corresponds to: |
Ref document number: 3888488 Country of ref document: DE Date of ref document: 19940421 |
|
| ET | Fr: translation filed | ||
| PLBE | No opposition filed within time limit |
Free format text: ORIGINAL CODE: 0009261 |
|
| STAA | Information on the status of an ep patent application or granted ep patent |
Free format text: STATUS: NO OPPOSITION FILED WITHIN TIME LIMIT |
|
| 26N | No opposition filed | ||
| PGFP | Annual fee paid to national office [announced via postgrant information from national office to epo] |
Ref country code: FR Payment date: 19990430 Year of fee payment: 12 |
|
| PGFP | Annual fee paid to national office [announced via postgrant information from national office to epo] |
Ref country code: DE Payment date: 19990503 Year of fee payment: 12 Ref country code: AT Payment date: 19990503 Year of fee payment: 12 |
|
| PGFP | Annual fee paid to national office [announced via postgrant information from national office to epo] |
Ref country code: GB Payment date: 19990504 Year of fee payment: 12 |
|
| PGFP | Annual fee paid to national office [announced via postgrant information from national office to epo] |
Ref country code: CH Payment date: 19990505 Year of fee payment: 12 |
|
| PGFP | Annual fee paid to national office [announced via postgrant information from national office to epo] |
Ref country code: NL Payment date: 19990510 Year of fee payment: 12 |
|
| PG25 | Lapsed in a contracting state [announced via postgrant information from national office to epo] |
Ref country code: GB Free format text: LAPSE BECAUSE OF NON-PAYMENT OF DUE FEES Effective date: 20000518 Ref country code: AT Free format text: LAPSE BECAUSE OF NON-PAYMENT OF DUE FEES Effective date: 20000518 |
|
| PG25 | Lapsed in a contracting state [announced via postgrant information from national office to epo] |
Ref country code: LI Free format text: LAPSE BECAUSE OF NON-PAYMENT OF DUE FEES Effective date: 20000531 Ref country code: CH Free format text: LAPSE BECAUSE OF NON-PAYMENT OF DUE FEES Effective date: 20000531 |
|
| PG25 | Lapsed in a contracting state [announced via postgrant information from national office to epo] |
Ref country code: NL Free format text: LAPSE BECAUSE OF NON-PAYMENT OF DUE FEES Effective date: 20001201 |
|
| GBPC | Gb: european patent ceased through non-payment of renewal fee |
Effective date: 20000518 |
|
| REG | Reference to a national code |
Ref country code: CH Ref legal event code: PL |
|
| PG25 | Lapsed in a contracting state [announced via postgrant information from national office to epo] |
Ref country code: FR Free format text: LAPSE BECAUSE OF NON-PAYMENT OF DUE FEES Effective date: 20010131 |
|
| NLV4 | Nl: lapsed or anulled due to non-payment of the annual fee |
Effective date: 20001201 |
|
| PG25 | Lapsed in a contracting state [announced via postgrant information from national office to epo] |
Ref country code: DE Free format text: LAPSE BECAUSE OF NON-PAYMENT OF DUE FEES Effective date: 20010301 |
|
| REG | Reference to a national code |
Ref country code: FR Ref legal event code: ST |
|
| PG25 | Lapsed in a contracting state [announced via postgrant information from national office to epo] |
Ref country code: IT Free format text: LAPSE BECAUSE OF NON-PAYMENT OF DUE FEES;WARNING: LAPSES OF ITALIAN PATENTS WITH EFFECTIVE DATE BEFORE 2007 MAY HAVE OCCURRED AT ANY TIME BEFORE 2007. THE CORRECT EFFECTIVE DATE MAY BE DIFFERENT FROM THE ONE RECORDED. Effective date: 20050518 |