EP0279186A2 - Armbanduhr - Google Patents

Armbanduhr Download PDF

Info

Publication number
EP0279186A2
EP0279186A2 EP88100656A EP88100656A EP0279186A2 EP 0279186 A2 EP0279186 A2 EP 0279186A2 EP 88100656 A EP88100656 A EP 88100656A EP 88100656 A EP88100656 A EP 88100656A EP 0279186 A2 EP0279186 A2 EP 0279186A2
Authority
EP
European Patent Office
Prior art keywords
watch glass
wristwatch according
wooden
sealing ring
watch
Prior art date
Legal status (The legal status is an assumption and is not a legal conclusion. Google has not performed a legal analysis and makes no representation as to the accuracy of the status listed.)
Withdrawn
Application number
EP88100656A
Other languages
English (en)
French (fr)
Other versions
EP0279186A3 (de
Inventor
Günther Ing. Horst
Current Assignee (The listed assignees may be inaccurate. Google has not performed a legal analysis and makes no representation or warranty as to the accuracy of the list.)
Erich Lacher Uhrenfabrik GmbH and Co KG
Original Assignee
Erich Lacher Uhrenfabrik GmbH and Co KG
Priority date (The priority date is an assumption and is not a legal conclusion. Google has not performed a legal analysis and makes no representation as to the accuracy of the date listed.)
Filing date
Publication date
Application filed by Erich Lacher Uhrenfabrik GmbH and Co KG filed Critical Erich Lacher Uhrenfabrik GmbH and Co KG
Publication of EP0279186A2 publication Critical patent/EP0279186A2/de
Publication of EP0279186A3 publication Critical patent/EP0279186A3/de
Withdrawn legal-status Critical Current

Links

Images

Classifications

    • GPHYSICS
    • G04HOROLOGY
    • G04BMECHANICALLY-DRIVEN CLOCKS OR WATCHES; MECHANICAL PARTS OF CLOCKS OR WATCHES IN GENERAL; TIME PIECES USING THE POSITION OF THE SUN, MOON OR STARS
    • G04B39/00Watch crystals; Fastening or sealing of crystals; Clock glasses
    • G04B39/02Sealing crystals or glasses
    • GPHYSICS
    • G04HOROLOGY
    • G04BMECHANICALLY-DRIVEN CLOCKS OR WATCHES; MECHANICAL PARTS OF CLOCKS OR WATCHES IN GENERAL; TIME PIECES USING THE POSITION OF THE SUN, MOON OR STARS
    • G04B37/00Cases
    • G04B37/22Materials or processes of manufacturing pocket watch or wrist watch cases
    • G04B37/225Non-metallic cases
    • G04B37/228Wooden cases

Definitions

  • the invention relates to a wristwatch with a watch glass inserted into a wooden case.
  • Such a wristwatch is known from DE-GM 8604295.
  • a wooden case Compared to metallic watch cases, a wooden case has the peculiarity that the wooden surface cannot be smoothed to the same extent as is possible with a metal surface; rather, cracks, pores and burrs remain inevitably in the wooden case, which, as is known, from the respective cutting direction to the grain direction of the respective wood depend.
  • the object of the invention is therefore to provide a simple seal that corresponds to the material combination glass / wood.
  • the object is achieved in that the contact surface between the wooden case and watch glass is at least partially provided with an elastic sealing material, the Shore hardness of which is selected so that it can largely follow the natural porosity and roughness of the wooden surface.
  • the sealing material is a sealing ring which is inserted into a circumferential groove on the watch glass.
  • the sealing ring used here is very much which and more elastic, with the result that it can adapt to the locally changing surface properties of the wooden housing, that is to say in particular fills the depressions in the wooden surface. This can be achieved in particular if this sealing ring is a rubber ring with a Shore A hardness of approximately 75.
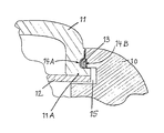
  • the wooden case 10 has on its inner edge a circumferential groove 15 which is dimensioned such that the watch glass 11 and the dial 12 can engage in it, the watch glass 11 having a circumferential collar 11A seated flush on the dial 12.
  • the watch glass 11 has a circumferential groove 14A with an approximately semicircular cross-section, into which a soft, elastic sealing ring 13 is inserted.
  • a flat groove 14B in the wooden housing 10.
  • the assembly is now carried out so that the sealing ring 13 is first inserted into the groove 14A of the watch glass and this is then clamped or blown into the groove 15 of the wooden housing 10 using its elasticity.
  • the material of the elastic sealing ring 13 is then compressed to such an extent that it practically completely fills the cross section of the two opposite grooves 14A, 14B and can therefore complement the respective nature of the wooden surface of the housing 10.
  • an elastic sealing material for example a silicone coating, can alternatively be applied to the contact surface between the wooden housing 10 and the watch glass 11, which in individual cases, however, is associated with higher processing costs.

Landscapes

  • Physics & Mathematics (AREA)
  • General Physics & Mathematics (AREA)
  • Engineering & Computer Science (AREA)
  • Manufacturing & Machinery (AREA)
  • Chemical & Material Sciences (AREA)
  • Crystallography & Structural Chemistry (AREA)
  • Gasket Seals (AREA)
  • Electric Clocks (AREA)
  • Mushroom Cultivation (AREA)

Abstract

Eine Armbanduhr weist ein Holzgehäuse (10) auf, in das ein Uhrglas (11) eingesetzt ist. Zur optimalen Abdichtung der zwangsläufig unebenen Holz­oberfläche im Kontaktbereich zum Uhrglas (11) ist ein elastisches Dicht­material, vorzugsweise in Form eines Dichtringes (13), verwendet, das der natürlichen Porösität des Holzmaterials folgen kann. Dies kann insbesondere erreicht werden, wenn der Dichtring (13) ein Gummiring mit einer Shore-­A-Härte von etwa 75 ist.

Description

  • Die Erfindung betrifft eine Armbanduhr mit in ein Holzgehäuse ein­gesetztem Uhrglas.
  • Eine derartige Armbanduhr ist aus dem DE-GM 8604295 bekannt.
  • Gegenüber metallischen Uhrgehäusen besitzt ein Holzgehäuse die Eigenart, daß die Holzoberfläche nicht in demselben Ausmaß zu glätten ist, wie dies bei einer Metalloberfläche möglich ist, vielmehr verbleiben im Holzgehäuse unvermeidbar Risse, Poren und Grate, die bekanntlich von der jeweiligen Schnittrichtung zur Maserungsrichtung des jeweiligen Holzes abhängen.
  • Auch bei kleinen Abmessungen, wie sie bei einem Uhrgehäuse gegeben sind, ist nicht auszuschließen, daß diese Oberflächen-Unebenheiten auch gewissen zeitlichen Schwankungen unterliegen, die im "Arbeiten" des Holzes bedingt sind.
  • An den Kontaktflächen zwischen dem Holzgehäuse und dem einzusetzenden Uhrglas bringt dies die Schwierigkeit mit sich, daß zur Erzeugung einer gewissen Wasserdichtheit eine Abdichtung zwischen der glatt bearbeitbaren Uhrglasoberfläche einerseits und der mit unterschied­licher Rauhigkeit und Porosität behafteten Oberfläche des Holzgehäuses erreicht werden muß.
  • Aufgabe der Erfindung ist es daher, eine einfache Abdichtung zu schaffen, die der Materialkombination Glas/Holz entspricht.
  • Erfindungsgemäß wird die Aufgabe dadurch gelöst, daß die Kontakt­fläche zwischen Holzgehäuse und Uhrglas zumindest teilweise mit einem elastischen Dichtmaterial versehen ist, dessen Shore-Härte so gewählt ist, daß es der natürlichen Porosität und Rauheit der Holzoberfläche weitgehend folgen kann.
  • Insbesondere ist das Dichtmaterial ein Dichtring, der in eine um­laufende Nut am Uhrglas eingelegt ist.
  • Im Gegensatz zu konventionellen derartigen Dichtringen ist der hier verwendete Dichtring sehr viel welcher und elastischer, mit der Folge, daß er sich den lokal veränderlichen Oberflächenbeschaffen­heiten des Holzgehäuses anpassen kann, also insbesondere die Ver­tiefungen in der Holzoberfläche ausfüllt. Dies kann insbesondere dann erreicht werden, wenn dieser Dichtring ein Gummiring mit einer Shore A-Härte von etwa 75 ist.
  • Weitere Einzelheiten sind den Unteransprüchen zu entnehmen.
  • Ein Ausführungbeispiel der erfindungsgemäßen Armbanduhr wird anhand der Zeichnung kurz erläutert:
    Das Holzgehäuse 10 weist an seinem Innenrand eine umlaufende Nut 15 auf, die so bemessen ist, daß das Uhrglas 11 und das Zifferblatt 12 in diese eingreifen können, wobei das Uhrglas 11 mit einem um­laufenden Kragen 11A auf dem Zifferblatt 12 randbündig aufsitzt.
  • Oberhalb dieser Nut 15 weist das Uhrglas 11 eine umlaufende Nut 14A mit etwa halbkreisförmigem Quershnitt auf, in die ein weicher, elastischer Dichtring 13 eingelegt ist. Im zusammengebauten Zustand gegenüber dieser Nut 14A liegt eine flache Nut 14B im Holzgehäuse 10.
  • Der Zusammenbau geht nun so vonstatten, daß der Dichtring 13 zu­nächst in die Nut 14A des Uhrglases eingelegt wird und dieses dann unter Ausnutzung seiner Elastizität in die Nut 15 des Holzgehäuses 10 eingeklemmt bzw. eingesprengt wird. Hierbei wird dann das Material des elastischen Dichtringes 13 so weit komprimiert, daß es den Quer­schnitt der beiden gegenüerliegenden Nuten 14A,14B praktisch voll­ständig ausfüllt und somit der jeweiligen Beschaffenheit der Holz­oberfläche des Gehäuses 10 komplementär folgen kann.
  • Anstelle eines vorgefertigten Dichtringes 13 kann alternativ auch ein elastisches Dichtmaterial, beispielsweise ein Silikonüberzug, auf der Kontaktfläche zwischen Holzgehäuse 10 und Uhrglas 11 aufge­bracht werden, was im Einzelfall jedoch mit höherem Bearbeitungs­aufwand verbunden ist.

Claims (8)

1. Armbanduhr mit in ein Holzgehäuse eingesetzten Uhrglas, dadurch gekennzeichnet, daß die Kontaktfläche zwischen Holzgehäuse (10) und Uhrglas (11) zumindest teilweise mit einem elastischen Dichtmaterial versehen ist, dessen Shore-Härte so gewählt ist, daß es der natürlichen Porosität und Rauhheit der Holzoberfläche weitgehend folgen kann.
2. Armbanduhr nach Anspruch 1, dadurch gekennzeichnet, daß das Dicht­material ein Dichtring (13) ist, der in eine umlaufende Nut (14A) am Uhrglas (10) eingelegt ist.
3. Armbanduhr nach Anspruch 2, dadurch gekennzeichnet, daß die um­laufende Nut (14A) des Uhrglases (11) etwa halbkreisförmigen Querschnitt hat.
4. Armbanduhr nach Anspruch 2, dadurch gekennzeichnet, daß der um­laufenden Nut (14A) des Uhrglases (11) eine Nut (14B) geringer Tiefe dem Holzgehäuse (10) gegenüberliegt.
5. Armbanduhr nach Anspruch 2, dadurch gekennzeichnet, daß das Uhr­glas (11) mit einem umlaufenden Kragen (11A) auf dem Rand des Zifferblatts (12) aufsitzt und beide in eine Ringnut (15) des Holzgehäuses (10) unterhalb des Dichtringes (13) eingreifen.
6. Armbanduhr nach Anspruch 1, dadurch gekennzeichnet, daß der Dicht­ring (13) ein Gummiring mit einer Shore-A-Härte von etwa 75 ist.
7. Armbanduhr nach Anspruch 1, dadurch gekennzeichnet, daß das elastische Dichtmaterial ein Silikonüberzug auf der Kontaktfläche ist, der dort die Porosität der Holzoberfläche ausgleicht.
8. Armbanduhr nach Anspruch 1 bis 4, dadurch gekennzeichnet, daß der Querschnitt und die Shore-Härte des Dichtrings (13) so gewählt sind, daß er in komprimierten Zustand die beiden gegenüberliegenden Nuten (14A,14B) im wesentlichen vollständig ausfüllt.
EP88100656A 1987-02-11 1988-01-19 Armbanduhr Withdrawn EP0279186A3 (de)

Applications Claiming Priority (2)

Application Number Priority Date Filing Date Title
DE8702062U DE8702062U1 (de) 1987-02-11 1987-02-11 Armbanduhr
DE8702062U 1987-02-11

Publications (2)

Publication Number Publication Date
EP0279186A2 true EP0279186A2 (de) 1988-08-24
EP0279186A3 EP0279186A3 (de) 1989-05-24

Family

ID=6804591

Family Applications (1)

Application Number Title Priority Date Filing Date
EP88100656A Withdrawn EP0279186A3 (de) 1987-02-11 1988-01-19 Armbanduhr

Country Status (4)

Country Link
EP (1) EP0279186A3 (de)
DE (1) DE8702062U1 (de)
DK (1) DK69588A (de)
NO (1) NO880583L (de)

Cited By (1)

* Cited by examiner, † Cited by third party
Publication number Priority date Publication date Assignee Title
EP1742119A1 (de) * 2005-07-08 2007-01-10 Bruno Affolter S.A. Uhr und Vorrichtung zum Fixieren von einem Uhrwerk in dem Uhrgehäuse

Families Citing this family (1)

* Cited by examiner, † Cited by third party
Publication number Priority date Publication date Assignee Title
DE102007003606A1 (de) * 2007-01-18 2008-07-31 Mci Gmbh & Co. Kg Dichtungsanordnung für ein Gehäuse

Family Cites Families (4)

* Cited by examiner, † Cited by third party
Publication number Priority date Publication date Assignee Title
DE424532C (de) * 1925-07-25 1926-01-27 Gustav Boessenroth Fa Uhrgehaeuse aus keramischer Masse
CH321189A (fr) * 1955-04-20 1957-04-30 Mobiliers Modernes S A Boîte de montre
JPS5023826B1 (de) * 1970-08-20 1975-08-11
DE8106636U1 (de) * 1981-03-09 1981-10-29 Otto Trottner GmbH, 7530 Pforzheim Uhrglasverschluß

Cited By (1)

* Cited by examiner, † Cited by third party
Publication number Priority date Publication date Assignee Title
EP1742119A1 (de) * 2005-07-08 2007-01-10 Bruno Affolter S.A. Uhr und Vorrichtung zum Fixieren von einem Uhrwerk in dem Uhrgehäuse

Also Published As

Publication number Publication date
DK69588A (da) 1988-08-12
NO880583L (no) 1988-08-12
DK69588D0 (da) 1988-02-10
NO880583D0 (no) 1988-02-10
DE8702062U1 (de) 1987-03-26
EP0279186A3 (de) 1989-05-24

Similar Documents

Publication Publication Date Title
DE69106336T2 (de) Wälzlager mit Messaufnehmer.
DE2166874A1 (de) Wahlweise zur abdeckung oder abdichtung zwischen laufringen insbesondere von waelzlagern dienender lagerschutzring
EP0173371A1 (de) Hörgerät
DE10227113B4 (de) Abdichtungsvorrichtung für Lager
EP0279186A2 (de) Armbanduhr
EP1061395B1 (de) Lösbare und spannungsfreie Halterung für optische Bauelemente
DE3426185A1 (de) Zylinderrollenlager
DE10352674B4 (de) Dichtung
EP0305626A1 (de) Armbanduhr
DE3118137A1 (de) Gasentladungs-ueberspannungsableiter mit parallel geschalteter luftfunkenstrecke
EP0968508A2 (de) Drucktaste
DE8236146U1 (de) Armbanduhr
DE3837772C1 (en) RF-proof (HF-proof) protective cap for plug connectors
DE8618939U1 (de) Fassung für einen Edelstein
DE3014995A1 (de) Kunststoff-uhrgehaeuse mit uhrglas- einbauabschnitt
DE3709495A1 (de) Dichtungsanordnung fuer rotationsmaschinen
DE19955859B4 (de) Gleitringdichtung
DE1269435B (de) Dichtungsring
DE3045829A1 (de) Gelenkgleitlager
DE1946755B2 (de) Uhrglas fuer ein dichtes uhrgehaeuse
DE4039234C1 (en) Waterproof housing for wrist-watch - has base with edge engaging inner wall of housing and forming holding ring for watch mechanism
DE9103613U1 (de) Koronales intramobiles Element
DE3316409C2 (de) Radialwälzlagerung für eine Welle
DE102014201517A1 (de) Rastvorrichtung für ein rotatorisch oder translatorisch bewegbares Bedienelement
DE3811443A1 (de) Dichtungsring

Legal Events

Date Code Title Description
PUAI Public reference made under article 153(3) epc to a published international application that has entered the european phase

Free format text: ORIGINAL CODE: 0009012

AK Designated contracting states

Kind code of ref document: A2

Designated state(s): AT CH DE FR IT LI SE

PUAL Search report despatched

Free format text: ORIGINAL CODE: 0009013

AK Designated contracting states

Kind code of ref document: A3

Designated state(s): AT CH DE FR IT LI SE

STAA Information on the status of an ep patent application or granted ep patent

Free format text: STATUS: THE APPLICATION IS DEEMED TO BE WITHDRAWN

18D Application deemed to be withdrawn

Effective date: 19891125