EP0244732A2 - Müllsammelfahrzeug - Google Patents

Müllsammelfahrzeug Download PDF

Info

Publication number
EP0244732A2
EP0244732A2 EP87106110A EP87106110A EP0244732A2 EP 0244732 A2 EP0244732 A2 EP 0244732A2 EP 87106110 A EP87106110 A EP 87106110A EP 87106110 A EP87106110 A EP 87106110A EP 0244732 A2 EP0244732 A2 EP 0244732A2
Authority
EP
European Patent Office
Prior art keywords
carrier
handlebar
lever
articulated
arm
Prior art date
Legal status (The legal status is an assumption and is not a legal conclusion. Google has not performed a legal analysis and makes no representation as to the accuracy of the status listed.)
Granted
Application number
EP87106110A
Other languages
English (en)
French (fr)
Other versions
EP0244732B1 (de
EP0244732A3 (en
Inventor
Gustav-Dieter Edelhoff
Current Assignee (The listed assignees may be inaccurate. Google has not performed a legal analysis and makes no representation or warranty as to the accuracy of the list.)
Edelhoff Polytechnik GmbH and Co
Original Assignee
Edelhoff Polytechnik GmbH and Co
Priority date (The priority date is an assumption and is not a legal conclusion. Google has not performed a legal analysis and makes no representation as to the accuracy of the date listed.)
Filing date
Publication date
Application filed by Edelhoff Polytechnik GmbH and Co filed Critical Edelhoff Polytechnik GmbH and Co
Priority to AT87106110T priority Critical patent/ATE60021T1/de
Publication of EP0244732A2 publication Critical patent/EP0244732A2/de
Publication of EP0244732A3 publication Critical patent/EP0244732A3/de
Application granted granted Critical
Publication of EP0244732B1 publication Critical patent/EP0244732B1/de
Anticipated expiration legal-status Critical
Expired - Lifetime legal-status Critical Current

Links

Images

Classifications

    • BPERFORMING OPERATIONS; TRANSPORTING
    • B65CONVEYING; PACKING; STORING; HANDLING THIN OR FILAMENTARY MATERIAL
    • B65FGATHERING OR REMOVAL OF DOMESTIC OR LIKE REFUSE
    • B65F3/00Vehicles particularly adapted for collecting refuse
    • B65F3/02Vehicles particularly adapted for collecting refuse with means for discharging refuse receptacles thereinto
    • B65F3/04Linkages, pivoted arms, or pivoted carriers for raising and subsequently tipping receptacles
    • BPERFORMING OPERATIONS; TRANSPORTING
    • B65CONVEYING; PACKING; STORING; HANDLING THIN OR FILAMENTARY MATERIAL
    • B65FGATHERING OR REMOVAL OF DOMESTIC OR LIKE REFUSE
    • B65F3/00Vehicles particularly adapted for collecting refuse
    • B65F3/02Vehicles particularly adapted for collecting refuse with means for discharging refuse receptacles thereinto
    • B65F3/04Linkages, pivoted arms, or pivoted carriers for raising and subsequently tipping receptacles
    • B65F3/06Arrangement and disposition of fluid actuators
    • BPERFORMING OPERATIONS; TRANSPORTING
    • B65CONVEYING; PACKING; STORING; HANDLING THIN OR FILAMENTARY MATERIAL
    • B65FGATHERING OR REMOVAL OF DOMESTIC OR LIKE REFUSE
    • B65F3/00Vehicles particularly adapted for collecting refuse
    • B65F3/02Vehicles particularly adapted for collecting refuse with means for discharging refuse receptacles thereinto
    • B65F2003/0223Vehicles particularly adapted for collecting refuse with means for discharging refuse receptacles thereinto the discharging means comprising elements for holding the receptacle
    • B65F2003/024Means for locking the rim

Definitions

  • the invention relates to a refuse collection vehicle with a pouring unit, consisting of a pouring opening arranged in the front area of the vehicle and a lifting and tipping device for receiving and emptying garbage containers into the pouring opening of a receiving space, the lifting and tilting device pivoting at least one about a transverse axis of the pouring unit or the chassis Lift arm which carries at its free end a base rail parallel to the transverse axis, which can be pivoted between its receiving area in front of the driver's cab and its dumping area behind the driver's cab and on which a carrier can be displaceably supported by at least one end thereof by means of a pressure-piston-cylinder unit is and wherein a pivot arm is mounted on the carrier, which can be pivoted via a handlebar and a pressure-piston-cylinder unit between its folded position on the carrier and its position approximately at right angles to it, and a coupling piece at its free end for coupling and / or gripping Bins.
  • the swivel arm forms, together with an auxiliary link articulated at a distance from it on the carrier, with the coupling piece articulated at its outer ends as a coupling member, a four-bar system which is operated by a hydraulic piston-cylinder unit , one end of which is articulated on the support and the other end of which is articulated on the swivel arm, and can be swiveled out and in.
  • a pressure medium-piston-cylinder unit is provided, by means of which the carrier is displaced relative to the base rail on which it is guided.
  • the object of the invention is therefore to provide a device which is simpler than the known device for extending and pivoting out the coupling piece.
  • this object is achieved in a refuse collection vehicle of the generic type in that a link or lever is articulated on the carrier in its front region in the direction of extension, which carries a sliding block or a roller at its free ends, which is connected in a curve guide firmly connected to the base rail run and that with the handlebars or Lever a transmission rod is connected as a gear member, which is directly or indirectly articulated to the swivel arm and this pivots according to the rotation of the handlebar or lever.
  • a coupling rod is connected to the handlebar at a distance from its pivot axis, the other end of which is articulated on the pivot arm at a distance from its pivot point on the carrier.
  • the pivoting of the swivel arm carrying the coupling piece takes place depending on the displacement of the carrier on the base rail only by the handlebar provided with the roller, which is connected to the swivel arm like a toggle lever by a coupling rod.
  • no special drive in the form of a hydraulic cylinder therefore needs to be provided for pivoting the swivel arm carrying the coupling piece. Since the pivoting movement of the pivot arm is derived from the extension movement of the carrier, only a hydraulic cylinder displacing the carrier need be provided.
  • the coupling piece expediently consists of a triangular receiving claw with wedge-shaped or spherically curved gripping edges, which can be inserted centering into a complementary receiving pocket of the refuse containers to be gripped, and is preferably rigidly connected to the gripping arm. Since the receiving claw is provided with a substantially flat front surface, this aligns the waste container to be grasped with a slight displacement by pivoting the gripping arm relative to the latter.
  • the spring acts as a damping element and prevents the swivel arm from being struck into its swiveled-in end position by the hydraulic cylinder displacing the carrier with excessive force.
  • the carrier consists of two telescopically pushed and guided profiled carrier pieces and that two hydraulic piston-cylinder units are arranged in parallel in the inner carrier piece, both of which cylinders are connected to a base plate of the outer carrier piece and one piston rod each is connected to the base rail and an end plate of the inner support piece.
  • the lever is designed as a crank mounted in the carrier and that a lever is connected to the crankshaft, the free end of which is articulated to a coupling rod, the other end of which is attached to the swivel arm at a distance from its articulation point is articulated to the carrier.
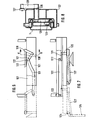
  • the base rail 1 is pivoted about axes 4, 5 parallel to it. Furthermore, the base rail 1 is articulated in the manner known from EP-OS 163 859 with an auxiliary linkage which pivots the base rail 1 in accordance with the respective pivot position of the lifting arms 2, 3.
  • the carrier piece 6 which has a rectangular box profile, is guided in a longitudinally displaceable manner.
  • the carrier piece 7 is telescopically guided, which has a correspondingly smaller box profile.
  • the outer Carrier piece 6 is closed on the right side by a bottom 7.
  • the cylinders 8, 9 of the hydraulic piston-cylinder units 10, 11, which extend into the profile of the inner support piece 7, are fastened to the base 7.
  • the lower cylinder 9 is fastened with its piston end to the base plate 7, while the piston rod 12 passes through the base plate 7 and is fastened to the base rail 1 by the abutment part 13.
  • the upper cylinder 8 is fastened to the base plate 7 with its end opposite the piston rod 14.
  • the front end of the piston rod 14 is attached to an end plate 15 which closes the front end of the profile of the inner carrier piece 7 at its front end.
  • the longitudinally displaceable guidance of the outer carrier piece 6 in the base rail 1 is shown schematically by the tabs 16, 17 fastened to the outer carrier piece 6, which engage behind the base rail 1 with guide rollers 18, 19.
  • the link 21 is pivotally articulated about a vertical axis 20 and carries a freely rotatable roller 22 at its free end.
  • the pivot arm 25 is furthermore pivotably mounted at a distance from the pivot axis 20 about a vertical axis 24 parallel to this.
  • the coupling rod 27 is pivotally mounted thereon, the other end of which is articulated in the joint 28 on the pivot arm 25.
  • the pivot arm 25 carries the approximately triangular receiving claw 30 at its outer end.
  • the roller 22 mounted on the free end of the handlebar 21 runs in the channel-shaped curve guide 31, which is fixed to the bottom rail 1 is connected. If the carrier pieces 6, 7 are extended to the left by the piston-cylinder units 10, 11, the pivot arm 25 is pivoted clockwise by the link 21 and the coupling rod 27 into its approximately rectangular position with respect to the carrier pieces 8, 9. 1, 2, the support arm 25 is shown in its pivoted-in position, in which the receiving claw 30 is located centrally between the lifting arms 2, 3. In the pivoted-out position (not shown), the area of the inner support piece 7 which carries the joints 20, 21 is extended to the left beyond the lifting arm 2.
  • the pivot points 20, 24, 26, 28 of the handlebar 21, the lifting arm 25 and the coupling rod 27 and the curvature of the curve 31 are selected so that the lifting arm 25 is pivoted out in the desired manner by extending the carrier pieces 8, 9.
  • the rod 41 is pivotally mounted about the axis 40, which slides through the plate 42, which is fixedly connected to the front region of the pivot arm 25, in a bore.
  • the rear end of the rod 41 is connected to an abutment plate 43.
  • a helical compression spring 44 is clamped between the abutment plate 43 and the slide plate 42.
  • the pivot point 40 of the rod 41 and the bore in the slide plate 42 are selected so that the spring 44 is increasingly tensioned when the lifting arm 25 is pivoted into the pivoted-in end position.
  • the spring thus has a damping effect on the piston-cylinder units, so that undesired beating of the swivel arm with high kinetic energy into the swiveled-in end position is avoided.
  • Bearing plate 48 is provided, which is supported on the top of the upper edge of the waste container to be emptied.
  • This holding plate is pivotally mounted against spring force by a small angle and the end positions of the holding plate are secured by abutments forming stops.
  • FIGS. 6 to 8 Another embodiment of the control for the swivel arm 1-25 is described with reference to FIGS. 6 to 8.
  • the curve guide 131 is provided in the front end face of the base rail 1.
  • a roller 122 runs, which is mounted on the free end of the lever 121, which is fastened to the inner end of the shaft 120 mounted on the telescopic support 107 and thus forms a crank.
  • a lever 128 is attached to the outer end of the shaft or crankshaft 120 projecting beyond the telescopic support 7, the free end of which is articulated to a coupling rod 127, the other end of which is articulated to the swivel arm 125 at a distance from its articulation point 124 on the telescopic support 107 is.
  • the crank When the supports 106, 107 are extended, the crank thus transmits a connecting rod-like movement to the coupling rod 127, which thus swivels the pivot arm 125 between the end positions of the crank roller 122 in the cam guide 131.

Landscapes

  • Engineering & Computer Science (AREA)
  • Mechanical Engineering (AREA)
  • Refuse-Collection Vehicles (AREA)
  • Processing Of Solid Wastes (AREA)
  • Filters For Electric Vacuum Cleaners (AREA)
  • Treatment Of Sludge (AREA)
  • Braking Arrangements (AREA)
  • Refuse Collection And Transfer (AREA)

Abstract

Die Schütteinheit eines Müllsammelfahrzeuges besteht aus einer im vorderen Bereich des Fahrzeugs angeordneten Einschüttöffnung und aus einer Hubkippvorrichtung zur Aufnahme und zum Entleeren von Müllbehältern in die Einschüttöffnung eines Aufnahmeraums. Die Hubkippvorrichtung weist mindestens einen um eine Querachse der Schütteinheit oder des Chassis schwenkbaren Hubarm auf, der an seinem freien Ende eine zu der Querachse parallele Grundschiene trägt, die zwischen ihrem Aufnahmebereich vor dem Führerhaus und ihrem Schüttbereich hinter dem Führerhaus schwenkbar ist und an der ein Träger über mindestens ein Ende durch eine Druckmittel-Kolben-Zylindereinheit ausfahrbar verschieblich gelagert ist. Auf dem Träger ist ein Schwenkarm gelagert, der über Lenker und eine Druckmittel-Kolben-Zylindereinheit zwischen seiner an den Träger angeklappten und seiner zu diesem etwa rechtwinkligen ausgefahrenen Stellung verschwenkbar ist und der an seinem freien Ende ein Kupplungsstück zum Ankuppeln und/oder Ergreifen von Müllbehältern trägt. Um die Einrichtung zum Ausfahren und Ausschwenken des Kupplungsstükkes zu vereinfachen, ist an dem Träger (6, 7) in dessen in Ausschubrichtung vorderen Ende ein Lenker (21) oder Hebel angelenkt, die an ihren freien Enden einen Gleitstein oder eine Rolle (22) tragen, die in einer mit der Grundschiene (1) fest verbundenen Kurvenführung (31) laufen. Mit dem Lenker (21) oder Hebel ist eine Übertragungsstange (27) als Getriebeglied verbunden, die unmittelbar oder mittelbar mit dem Schwenkarm (25) gelenkig verbunden ist und diesem entsprechend der Drehung des Lenkers (21) oder Hebels eine Schwenkbewegung erteilt (Fig. 2).

Description

  • Die Erfindung betrifft ein Müllsammelfahrzeug mit einer Schütteinheit, bestehend aus einer im vorderen Bereich des Fahrzeugs angeordneten Einschüttöffnung und aus einer Hubkippvorrichtung zur Aufnahme und zum Entleeren von Müllbehältern in die Einschüttöffnung eines Aufnahmeraums, wobei die Hubkippvorrichtung mindestens einen um eine Querachse der Schütteinheit oder des Chassis schwenkbaren Hubarm aufweist, der an seinem freien Ende eine zu der Querachse parallele Grundschiene trägt, die zwischen ihrem Aufnahmebereich vor dem Führerhaus und ihrem Schüttbereich hinter dem Führerhaus schwenkbar und an der ein Träger über mindestens ein Ende derselben durch eine Druckmittel-Kolben-Zylindereinheit ausfahrbar verschieblich gelagert ist, und wobei auf dem Träger ein Schwenkarm gelagert ist, der über Lenker und eine Druckmittel-Kolben-Zylindereinheit zwischen seiner an den Träger angeklappten und seiner zu diesem etwa rechtwinkelig ausgeklappten Stellung verschwenkbar ist und der an seinem freien Ende ein Kupplungsstück zum Ankuppeln und/oder Ergreifen von Müllbehältern trägt.
  • Bei einem aus der EP-OS 163 859 bekannten Müllsammelfahrzeug dieser Art bildet der Schwenkarm zusammen mit einem im Abstand von diesem auf dem Träger angelenkten Hilfslenker mit dem an deren äußeren Enden als Koppelglied angelenktem Kupplungsstück ein Viergelenksystem, das durch eine hydraulische Kolben-Zylinder-Einheit, deren eines Ende an dem Träger und deren anderes Ende an dem Schwenkarm angelenkt ist, aus- und einschwenkbar ist. Zusätzlich ist eine Druckmittel-Kolben-Zylindereinheit vorgesehen, durch die der Träger relativ zu der Grundschiene verschoben wird, auf der dieser geführt ist. Durch das das Kupplungsstück relativ zu dem Träger verschwenkende Viergelenksystem und die beiden Druckmittel-Kolben-Zylindereinheiten, von denen eine dem Verschwenken des Kupplungsstücks und die andere dem Verschieben des Trägers dient, ist die Kinematik und Konstruktion der bekannten, das Kupplungsstück verfahrenden und verschwenkenden Einrichtung relativ kompliziert und aufwendig.
  • Aufgabe der Erfindung ist es daher, eine gegenüber der bekannten Vorrichtung einfachere Einrichtung zum Ausfahren und Ausschwenken des Kupplungsstücks zu schaffen.
  • Erfindungsgemäß wird diese Aufgabe bei einem Müllsammelfahrzeug der gattungsgemäßen Art dadurch gelöst, daß an dem Träger in dessen in Ausschubrichtung vorderem Bereich ein Lenker oder Hebel angelenkt ist, die an ihren freien Enden einen Gleitstein oder eine Rolle tragen, die in einer mit der Grundschiene festverbundenen Kurvenführung laufen und daß mit dem Lenker oder Hebel eine Ubertragungsstange als Getriebeglied verbunden ist, die unmittelbar oder mittelbar mit dem Schwenkarm gelenkig verbunden ist und diesem entsprechend der Drehung des Lenkers oder Hebels eine Schwenkbewegung erteilt.
  • Nach einer vorteilhaften Ausgestaltung ist vorgesehen, daß mit dem Lenker im Abstand von dessen Schwenkachse kniehebelartig eine Koppelstange verbunden ist, deren anderes Ende an dem Schwenkarm im Abstand von dessen Anlenkpunkt auf dem Träger angelenkt ist. Bei der bekannten Vorrichtung erfolgt das Ausschwenken des das Kupplungsstück tragenden Schwenkarms in Abhängigkeit von der Verschiebung des Trägers auf der Grundschiene nur durch den mit der Rolle versehenen Lenker, der kniehebelartig durch eine Koppelstange mit dem Schwenkarm verbunden ist. Bei dem erfindungsgemäßen Müllsammelfahrzeug braucht daher zum Verschwenken des das Kupplungsstück tragenden Schwenkarms kein besonderer Antrieb in Form eines hydraulischen Zylinders vorgesehen zu werden. Da die Schwenkbewegung des Schwenkarms von der Ausschubbewegung des Trägers abgeleitet wird, braucht lediglich ein den Träger verschiebender Hydraulikzylinder vorgesehen zu werden.
  • Das Kupplungsstück besteht zweckmäßigerweise aus einer dreieckigen Aufnahmeklaue mit keilförmig oder sphärisch gekrümmten Greifkanten, die zentrierend in eine komplementäre Aufnahmetasche der zu ergreifenden Müllbehälter einführbar sind, und ist vorzugsweise starr mit dem Greifarm verbunden. Da die Aufnahmeklaue mit einer im wesentlichen ebenen Vorderfläche versehen ist, richtet diese den zu erfassenden Müllbehälter bei einem geringfügigen Verschieben durch Ausschwenken des Greifarms relativ zu dieser aus.
  • Nach einer vorteilhaften Ausgestaltung ist vorgesehen, daß auf dem Träger im Abstand von der Schwenkachse des Lenkers eine Führungsstange, die eine Bohrung einer an dem Schwenkarm befestigten Gleitplatte durchsetzt und auf die eine zwischen einer in deren Schwenkbereich vorgesehenen Widerlagerplatte und der Gleitplatte eingespannte gewendelte Druckfeder aufgeschoben ist, derart gelagert ist, daß die Druckfeder am Ende der Einschwenkbewegung des Schwenkarms zunehmend gespannt wird. Die Feder wirkt als Dämpfungselement und verhindert, daß der Schwenkarm durch den den Träger verschiebenden Hydraulikzylinder mit zu großer Wucht in seine eingeschwenkte Endlage geschlagen wird.
  • Nach einer vorteilhaften Ausgestaltung ist vorgesehen, daß der Träger aus zwei teleskopartig ineinandergeschobenen und ineinander geführten profilierten Trägerstücken besteht und daß in dem inneren Trägerstück parallel zueinander zwei hydraulische Kolben-Zylinder-Einheiten angeordnet sind, von denen beide Zylinder mit einer Bodenplatte des äußeren Trägerstücks verbunden und je eine Kolbenstange mit der Grundschiene und einer Stirnplatte des inneren Trägerstücks verbunden sind. Mit dieser Ausgestaltung läßt sich mit nur zwei kleinen hydraulischen Zylindern ein großer Ausschubweg des den Schwenkarm tragenden inneren Trägerstücks relativ zu der Grundschiene erreichen.
  • Nach einer weiteren vorteilhaften Ausgestaltung ist vorgesehen, daß der Hebel als in dem Träger gelagerte Kurbel ausgebildet ist und daß mit der Kurbelwelle ein Hebel verbunden ist, dessen freies Ende an eine Koppelstange angelenkt ist, deren anderes Ende an dem Schwenkarm im Abstand von dessen Anlenkpunkt auf dem Träger angelenkt ist.
  • Ein Ausführungsbeispiel der Erfindung wird nachstehend anhand der Zeichnung näher erläutert. In dieser zeigen
    • Fig. 1 eine Vorderansicht der Aufnahmeeinrichtung der Hubkippvorrichtung eines Müllfahrzeugs, teilweise im- Schnitt,
    • Fig. 2 eine Draufsicht auf die Aufnahmeeinrichtung nach Fig. 1,
    • Fig. 3 eine der Fig. 2 entsprechende Draufsicht auf die Aufnahmeeinrichtung mit Dämpfungseinrichtung,
    • Fig. 4 eine Vorderansicht der Aufnahmeeinrichtung nach Fig. 3 und
    • Fig. 5 eine Seitenansicht der Aufnahmeeinrichtung nach den Fig. 3 und 4.
    • Fig. 6 ein weiteres Ausführungsbeispiel der Steuerung für den Schwenkarm in Vorderansicht
    • Fig. 7 die Steuerung nach Fig.6 in Draufsicht.
    • Fig. 8 zeigt einen Querschnitt nach der Linie a - b in Fig.6, in Pfeilrichtung gesehen.
  • An den vorderen Enden der beidseits des nicht dargestellten Führerhauses des Müllsammelfahrzeugs in vertikalen Ebenen schwenkbaren Hubarme 2, 3 ist die Grundschiene 1 um zu dieser parallele Achsen 4, 5 schwenkbar angelenkt. Weiterhin ist die Grundschiene 1 gelenkig in der aus der EP-OS 163 859 bekannten Weise mit einem Hilfsgestänge verbunden, das die Grundschiene 1 entsprechend der jeweiligen Schwenklage der Hubarme 2, 3 verschwenkt.
  • In nicht dargestellten Führungen der Grundschiene 1 ist das Trägerstück 6, das ein rechteckiges Kastenprofil aufweist, längsverschieblich geführt. In dem Trägerstück 6 ist teleskopartig das Trägerstück 7 längsverschieblich geführt, das ein entsprechend kleineres Kastenpro- fil aufweist. Das äußere Trägerstück 6 ist auf der rechten Seite durch einen Boden 7 geschlossen.
  • An dem Boden 7 sind die Zylinder 8, 9 der hydraulischen Kolben-Zylinder-Einheiten 10, 11 befestigt, die sich in das Profil des inneren Trägerstücks 7 hineinerstrecken. Der untere Zylinder 9 ist mit seinem kolbenseitigen Ende an der Bodenplatte 7 befestigt, während die Kolbenstange 12 die Bodenplatte 7 durchsetzt und durch das Widerlagerteil 13 an der Grundschiene 1 befestigt ist. Der obere Zylinder 8 ist mit seinem der Kolbenstange 14 gegenüberliegenden Ende an der Bodenplatte 7 befestigt. Das vordere Ende der Kolbenstange 14 ist an einer das vordere Ende des Profils des inneren Trägerstücks 7 an seinem vorderen Ende verschließenden Stirnplatte 15 befestigt.
  • Die längsverschiebliche Führung des äußeren Trägerstücks 6 in der Grundschiene 1 ist schematisch durch die an dem äußeren Trägerstück 6 befestigten Laschen 16, 17 dargestellt, die die Grundschiene 1 mit Führungsrollen 18, 19 hintergreifen.
  • Im Bereich des vorderen Endes des Trägerstücks 7 ist um eine vertikale Achse 20 der Lenker 21 schwenkbar angelenkt, der an seinem freien Ende eine frei drehbar gelagerte Rolle 22 trägt. Im Bereich des vorderen Endes des inneren Trägerstücks 7 ist weiterhin im Abstand von der Schwenkachse 20 um eine zu dieser parallele vertikale Achse 24 der Schwenkarm 25 schwenkbar gelagert. Im äußeren Bereich des Lenkers 21 ist an diesem um die Achse 26 schwenkbar die Koppelstange 27 gelagert, deren anderes Ende im Gelenk 28 an dem Schwenkarm 25 angelenkt ist. Der Schwenkarm 25 trägt an seinem äußeren Ende die etwa dreieckförmige Aufnahmeklaue 30.
  • Die an dem freien Ende des Lenkers 21 gelagerte Rolle 22 läuft in der kanalförmigen Kurvenführung 31, die fest mit der Grundschiene 1 verbunden ist. Werden die Trägerstücke 6, 7 durch die Kolben-Zylinder-Einheiten 10, 11 nach links hin ausgefahren, wird der Schwenkarm 25 durch den Lenker 21 und die Koppelstange 27 im Uhrzeigersinn bis in seine etwa zu den Trägerstücken 8, 9 rechtwinkelige Stellung ausgeschwenkt. In den Fig. 1, 2 ist der Tragarm 25 in seiner eingeschwenkten Stellung dargestellt, in der sich die Aufnahmeklaue 30 mittig zwischen den Hubarmen 2, 3 befindet. In der nicht dargestellten ausgeschwenkten Stellung ist der die Gelenke 20, 21 tragende Bereich des inneren Trägerstücks 7 nach links bis über den Hubarm 2 hinaus ausgefahren.
  • Die Anlenkpunkte 20, 24, 26, 28 des Lenkers 21, des Hubarms 25 und der Koppelstange 27 sowie die Krümmung der Kurve 31 sind so gewählt, daß der Hubarm 25 durch Ausfahren der Trägerstücke 8, 9 in der gewünschten Weise ausgeschwenkt wird.
  • Wie in Fig. 3 dargestellt, ist im Bereich des linken Endes des inneren Trägerstücks 7 um die Achse 40 die Stange 41 schwenkbar gelagert, die die Platte 42, die fest mit dem vorderen Bereich des Schwenkarms 25 verbunden ist, in einer Bohrung gleitend durchsetzt. Das hintere Ende der Stange 41 ist mit einer Widerlagerplatte 43 verbunden. Zwischen der Widerlagerplatte 43 und der Gleitplatte 42 ist eine gewendelte Schraubendruckfeder 44 eingespannt. Der Anlenkpunkt 40 der Stange 41 sowie die Bohrung in der Gleitplatte 42 sind so gewählt, daß die Feder 44 beim Einschwenken des Hubarms 25 in die eingeschwenkte Endstellung zunehmend gespannt wird. Damit wirkt die Feder auf die Kolben-Zylinder-Einheiten dämpfend ein, so daß ein unerwünschtes Schlagen des Schwenkarms mit hoher kinetischer Energie in die eingeschwenkte Endstellung vermieden wird.
  • Zur Verriegelung der an die Aufnahmeklaue 30 angekuppelten Behälter während des Hebens und Kippens ist oberhalb der Aufnahmeklaue 30 in deren eingeschwenkter Endstellung ein Widerlagerblech 48 vorgesehen, das sich stützend auf die Oberseite des oberen Randes des zu entleerenden Müllbehälters legt. Dieses Halteblech ist gegen Federkraft um einen kleinen Winkel schwenkbar gelagert und die Endlagen des Halteblechs sind durch Anschläge bildende Widerlager gesichert.
  • Anhand der Fig. 6 bis 8 wird ein weiteres Ausführungsbeispiel der Steuerung für den Schwenkarm 1-25 beschrieben.
  • Die Kurvenführung 131 ist in der vorderen Stirnseite der Grundschiene 1 vorgesehen. In dieser aus einer Führungsnut bestehenden Kurvenführung 131 läuft eine Rolle 122, die an dem freien Ende des Hebels 121 gelagert ist, der an dem inneren Ende der an dem austeleskopierbaren Trägerstück 107 gelagerten Welle 120 befestigt ist und somit eine Kurbel bildet. An dem äußeren den teleskopierbaren Träger 7 überragenden Ende der Welle bzw. Kurbelwelle 120 ist ein Hebel 128 befestigt, dessen freies Ende an eine Koppelstange 127 angelenkt ist, deren anderes Ende an den Schwenkarm 125 im Abstand von dessen Anlenkpunkt 124 auf dem austeleskopierbaren Träger 107 angelenkt ist. Die Kurbel überträgt somit bei dem Ausfahren der Träger 106, 107 eine pleuelstangenartige Bewegung auf die Koppelstange 127, die somit den Schwenkarm 125 zwischen den Endstellungen der Kurbelrolle 122 in der Kurvenführung 131 aus- und einschwenkt.

Claims (5)

1. Müllsammelfahrzeug mit einer Schütteinheit, bestehend aus einer im vorderen Bereich des Fahrzeugs angeordneten Einschüttöffnung und aus einer Hubkippvorrichtung zur Aufnahme und zum Entleeren von Müllbehältern in die Einschüttöffnung eines Aufnahmeraums, wobei die Hubkippvorrichtung mindestens einen um eine Querachse der Schütteinheit oder des Chassis schwenkbaren Hubarm aufweist, der an seinem freien Ende eine zu der Querachse parallele Grundschiene trägt, die zwischen ihrem Aufnahmebereich vor dem Führerhaus und ihrem Schüttbereich hinter dem Führerhaus schwenkbar und an der ein Träger über mindestens ein Ende derselben durch eine Druckmittel-Kolben-Zylindereinheit ausfahrbar verschieblich gelagert ist, und wobei auf dem Träger ein Schwenkarm gelagert ist, der über Lenker und eine Druckmittel-Kolben-Zylindereinheit zwischen seiner an den Träger angeklappten und seiner zu diesem etwa rechtwinkeligen ausgefahrenen Stellung verschwenkbar ist und der an seinem freien Ende ein Kupplungsstück zum Ankuppeln und/oder Ergreifen von Müllbehältern trägt,
dadurch gekennzeichnet, daß an den Träger (6, 7, 106, 107) in dessen in Ausschubrichtung vorderem Bereich ein Lenker (21) oder Hebel (121) angelenkt ist, die an ihren freien Enden einen Gleitstein oder eine Rolle (22, 122) tragen, die in einer mit der Grundschiene (1, 101) fest verbundenen Kurvenführung (31, 131) laufen, und daß mit dem Lenker (21) oder Hebel (121) eine Übertragungsstange (27, 128) als Getriebeglied verbunden ist, die unmittelbar oder mittelbar mit dem Schwenkarm (25, 125) gelenkig verbunden ist und diesem entsprechend der Drehung des Lenkers (21) oder Hebels (121) eine Schwenkbewegung erteilt.
2. Müllsammelfahrzeug nach Anspruch 1, dadurch gekennzeichnet, daß mit dem Lenker (21) im Abstand von dessen Schwenkachse (20) kniehebelartig eine Koppelstange (27) verbunden ist, deren anderes Ende an dem Schwenkarm (25) im Abstand von dessen Anlenkpunkt (24) auf dem Träger (7) angelenkt ist.
3. Müllsammelfahrzeug nach Anspruch 1 oder 2, dadurch gekennzeichnet, daß auf dem Träger (7) im Abstand von der Schwenkachse (20) des Lenkers (21) eine Führungsstange (41), die eine Bohrung einer an dem Schwenkarm (25) befestigten Gleitplatte (42) durchsetzt und auf die eine zwischen einer in deren Schwenkbereich vorgesehenen Widerlagerplatte (43) und der Gleitplatte (42) eingespannte gewendelte Druckfeder (44) aufgeschoben ist, derart gelagert ist, daß die Druckfeder (44) am Ende der Einschwenkbewegung des Schwenkarms (25) zunehmend gespannt wird.
4. Müllsammelfahrzeug nach einem der Ansprüche 1 bis 3, dadurch gekennzeichnet, daß der Träger aus zwei teleskopartig ineinandergeschobenen und ineinander geführten profilierten Trägerstücken (6, 7) besteht und daß innerhalb des Profils des inneren Trägerstücks (7) parallel zueinander zwei hydraulische Kolben-Zylinder-Einheiten (10, 11) angeordnet sind, von denen beide Zylinder (8, 9) mit einer Bodenplatte (7') des äußeren Trägerstücks (6) verbunden und je eine Kolbenstange (12, 14) mit der Grundschiene (1) und einer Stirnplatte (15) des inneren Trägerstücks (7) verbunden sind.
5. Müllsammelfahrzeug nach Anspruch 1, dadurch gekennzeichnet, daß der Hebel (121) als in dem Träger (106, 107) gelagerte Kurbel ausgebildet ist und daß mit der Kurbelwelle (120) ein Hebel (128) verbunden ist, dessen freies Ende an eine Koppelstange (127) angelenkt ist, deren anderes Ende an dem Schwenkarm (125) im Abstand von dessen Anlenkpunkt (124) auf dem Träger (107) angelenkt ist.
EP87106110A 1986-05-06 1987-04-28 Müllsammelfahrzeug Expired - Lifetime EP0244732B1 (de)

Priority Applications (1)

Application Number Priority Date Filing Date Title
AT87106110T ATE60021T1 (de) 1986-05-06 1987-04-28 Muellsammelfahrzeug.

Applications Claiming Priority (4)

Application Number Priority Date Filing Date Title
DE3615353 1986-05-06
DE3615353 1986-05-06
DE3631914A DE3631914C1 (de) 1986-05-06 1986-09-19 Muellsammelfahrzeug
DE3631914 1986-09-19

Publications (3)

Publication Number Publication Date
EP0244732A2 true EP0244732A2 (de) 1987-11-11
EP0244732A3 EP0244732A3 (en) 1989-11-15
EP0244732B1 EP0244732B1 (de) 1991-01-16

Family

ID=25843533

Family Applications (1)

Application Number Title Priority Date Filing Date
EP87106110A Expired - Lifetime EP0244732B1 (de) 1986-05-06 1987-04-28 Müllsammelfahrzeug

Country Status (5)

Country Link
US (1) US4844682A (de)
EP (1) EP0244732B1 (de)
AT (1) ATE60021T1 (de)
DE (2) DE3631914C1 (de)
ES (1) ES2019597B3 (de)

Families Citing this family (22)

* Cited by examiner, † Cited by third party
Publication number Priority date Publication date Assignee Title
DE3841171A1 (de) * 1988-12-07 1990-06-13 Tetra Pak Gmbh Vorrichtung zum wenden einer packung
US5266000A (en) * 1992-02-07 1993-11-30 Kartlift Systems Adapter apparatus for refuse hauling vehicle
US5601392A (en) * 1993-09-09 1997-02-11 Galion Solid Waste Eqt., Inc. Front-side lifting and loading apparatus
US5954470A (en) * 1993-09-09 1999-09-21 Galion Solid Waste Equipment Co, Inc. Compacting system and refuse vehicle
US5890865A (en) * 1993-09-09 1999-04-06 Mcclain E-Z Pack Automated low profile refuse vehicle
US5863086A (en) * 1994-11-21 1999-01-26 Mcneilus Truck And Manufacturing, Inc. Container holding and lifting device
US5931628A (en) * 1995-03-28 1999-08-03 Mcneilus Truck And Manufacturing, Inc. Manual/automated side loader
CA2170215C (en) * 1995-03-28 2001-12-04 Ronald E. Christenson Tilting bin handler
DE19512853C2 (de) * 1995-04-06 1997-08-21 Zoeller Kipper Hubkipp- oder Kippvorrichtung zum Entleeren von Behältern
US5797715A (en) * 1995-06-08 1998-08-25 Mcneilus Truck And Manufacturing, Inc. Collection apparatus
US6474928B1 (en) 1996-06-17 2002-11-05 Mcneilus Truck And Manufacturing, Inc. Linearly adjustable container holding and lifting device
US6264528B1 (en) 1998-03-17 2001-07-24 Steve Doan Remote-controlled toy trash truck
US6884017B2 (en) * 1999-12-10 2005-04-26 Perkins Manufacturing Company Retractable lifter for refuse container
AU1955701A (en) * 1999-12-10 2001-06-18 Perkins Manufacturing Company Refuse container lifter
US6921239B2 (en) 2001-03-30 2005-07-26 Perkins Manufacturing Company Damage-resistant refuse receptacle lifter
US6988864B2 (en) * 2001-04-02 2006-01-24 Perkins Manufacturing Company Refuse receptacle lifter
US7390159B2 (en) * 2003-11-20 2008-06-24 Perkins Manufacturing Company Front mounted lifter for front load vehicle
US7273340B2 (en) * 2004-01-29 2007-09-25 Perkins Manufacturing Company Heavy duty cart lifter
US7806645B2 (en) * 2006-02-09 2010-10-05 Perkins Manufacturing Company Adaptable cart lifter
US7871233B2 (en) 2006-04-17 2011-01-18 Perkins Manufacturing Company Front load container lifter
US20110038697A1 (en) * 2009-08-17 2011-02-17 Carlos Arrez Side loading refuse collection system
US10597265B2 (en) 2015-11-06 2020-03-24 High Concrete Group, Llc Slider for use with a crane

Family Cites Families (9)

* Cited by examiner, † Cited by third party
Publication number Priority date Publication date Assignee Title
DE644432C (de) * 1937-05-03 Heinrich Ruffler Einschuettvorrichtung an Muellfahrzeugen oder aehnlichen Schuettgutbehaeltern
US2592324A (en) * 1950-09-05 1952-04-08 William O Matthews Garbage loading assembly for trucks
US3016157A (en) * 1957-12-19 1962-01-09 Lodal Inc Loader apparatus
US3458071A (en) * 1966-11-04 1969-07-29 R N Acceptance Ltd Apparatus for divesting a receptacle of its contents
US3894642A (en) * 1974-04-26 1975-07-15 Rubbermaid Ind Products Corp Waste receptacle dumping mechanism
US4349305A (en) * 1977-11-01 1982-09-14 Dempster Systems Inc. Lifting and dumping apparatus
DE2750479A1 (de) * 1977-11-11 1979-05-17 Dieterle Maschbau Gmbh Otto Muellwagen
DE3420058A1 (de) * 1984-05-29 1985-12-05 Edelhoff Polytechnik GmbH & Co, 5860 Iserlohn Motorgetriebenes muellsammelfahrzeug mit als wechselbehaelter ausgebildeten containern
US4580940A (en) * 1984-08-15 1986-04-08 American Refuse Systems, Inc. Refuse container lift/dump apparatus

Also Published As

Publication number Publication date
ATE60021T1 (de) 1991-02-15
EP0244732B1 (de) 1991-01-16
EP0244732A3 (en) 1989-11-15
ES2019597B3 (es) 1991-07-01
US4844682A (en) 1989-07-04
DE3767355D1 (de) 1991-02-21
DE3631914C1 (de) 1987-09-10

Similar Documents

Publication Publication Date Title
EP0244732B1 (de) Müllsammelfahrzeug
EP0235784B1 (de) Kippvorrichtung für motorgetriebene Müllsammelfahrzeuge
DE69618789T2 (de) Schwenkbare vorrichtung zum greifen,heben und kippen von behältern
EP1197368B1 (de) Mehrteilige Abdeckung für Fahrzeuge
DE3830227A1 (de) Hubkippvorrichtung zum entleeren von behaeltern in die einschuettoeffnung eines sammelbehaelters, insbesondere zum entleeren von muellbehaeltern in den sammelbehaelter eines muellfahrzeuges
DE2654542C3 (de) Hub-Kipp-Vorrichtung für Behälter, insbesondere zum Entleeren von Müllgefäßen in Müllsammelbehälter.
DE3313282C2 (de) Hub- und Kippvorrichtung zum Entleeren von größeren Müllgefäßen
DE10225630A1 (de) Verdeckkastenabdeckung für Fahrzeuge, insbesondere Personenkraftwagen
DE2444771B2 (de) Fördervorrichtung zur Förderung von Schüttgut in einen Sammelbehälter, insbesondere Müllbehälter
CH630033A5 (de) Hub-kippvorrichtung zum entleeren von behaeltern in sammelbehaelter, insbesondere von muellbehaeltern in muellsammelfahrzeuge.
EP0700840B1 (de) Hubvorrichtung für ein in ein Entsorgungsfahrzeug zu entleerendes Müll- und/oder Wertstoff-Gefäss
DE19936099A1 (de) Verriegelungsmechanismus für ein Klappverdeck
DE19746401C2 (de) Müllsammelfahrzeug mit seitlich angeordneter Hub-/Kippvorrichtung
EP4119469A1 (de) Hub-kipp-vorrichtung
DE8811472U1 (de) Lkw-Kastenaufbau mit einer Müllbehälter-Umladevorrichtung
AT509550B1 (de) Vorrichtung zum überführen einer wand eines transportbehälters
EP0106260B1 (de) Hubkippvorrichtung für grossvolumige Klappdeckel-Müllbehälter
DE2552020A1 (de) Muellgrossbehaelter
DE19919879C2 (de) Hubkippvorrichtung
DE19753587C1 (de) Vorrichtung zum Entleeren von Müllbehältern
CH687386A5 (de) Hub-Kippvorrichtung fuer geteilte Kammschuettung bei Muellfahrzeugen.
DE3527935A1 (de) Ladevorrichtung fuer lastfahrzeugaufbauten
DE1856975U (de) Muelltonnen-hubkipper an muellwagen.
DE2709141A1 (de) Beschickungseinrichtung fuer muellsammelfahrzeuge
DE2145908A1 (de) Vorrichtung zum Umfüllen desjnhaltes von Behältnissen in einen feststehenden oder beweglichen Behälter, insbesondere in einen Sammelbehälter für Haushaltsoder städtische Abfalle

Legal Events

Date Code Title Description
PUAI Public reference made under article 153(3) epc to a published international application that has entered the european phase

Free format text: ORIGINAL CODE: 0009012

AK Designated contracting states

Kind code of ref document: A2

Designated state(s): AT BE CH DE ES FR GB IT LI LU NL SE

PUAL Search report despatched

Free format text: ORIGINAL CODE: 0009013

AK Designated contracting states

Kind code of ref document: A3

Designated state(s): AT BE CH DE ES FR GB IT LI LU NL SE

17P Request for examination filed

Effective date: 19891017

17Q First examination report despatched

Effective date: 19900523

GRAA (expected) grant

Free format text: ORIGINAL CODE: 0009210

AK Designated contracting states

Kind code of ref document: B1

Designated state(s): AT BE CH DE ES FR GB IT LI LU NL SE

REF Corresponds to:

Ref document number: 60021

Country of ref document: AT

Date of ref document: 19910215

Kind code of ref document: T

GBT Gb: translation of ep patent filed (gb section 77(6)(a)/1977)
REF Corresponds to:

Ref document number: 3767355

Country of ref document: DE

Date of ref document: 19910221

ET Fr: translation filed
ITF It: translation for a ep patent filed
PLBE No opposition filed within time limit

Free format text: ORIGINAL CODE: 0009261

STAA Information on the status of an ep patent application or granted ep patent

Free format text: STATUS: NO OPPOSITION FILED WITHIN TIME LIMIT

26N No opposition filed
PGFP Annual fee paid to national office [announced via postgrant information from national office to epo]

Ref country code: GB

Payment date: 19930325

Year of fee payment: 7

PGFP Annual fee paid to national office [announced via postgrant information from national office to epo]

Ref country code: FR

Payment date: 19930406

Year of fee payment: 7

PGFP Annual fee paid to national office [announced via postgrant information from national office to epo]

Ref country code: LU

Payment date: 19930414

Year of fee payment: 7

PGFP Annual fee paid to national office [announced via postgrant information from national office to epo]

Ref country code: SE

Payment date: 19930415

Year of fee payment: 7

Ref country code: AT

Payment date: 19930415

Year of fee payment: 7

PGFP Annual fee paid to national office [announced via postgrant information from national office to epo]

Ref country code: ES

Payment date: 19930419

Year of fee payment: 7

Ref country code: BE

Payment date: 19930419

Year of fee payment: 7

PGFP Annual fee paid to national office [announced via postgrant information from national office to epo]

Ref country code: DE

Payment date: 19930427

Year of fee payment: 7

PGFP Annual fee paid to national office [announced via postgrant information from national office to epo]

Ref country code: NL

Payment date: 19930430

Year of fee payment: 7

PGFP Annual fee paid to national office [announced via postgrant information from national office to epo]

Ref country code: CH

Payment date: 19930625

Year of fee payment: 7

EPTA Lu: last paid annual fee
PG25 Lapsed in a contracting state [announced via postgrant information from national office to epo]

Ref country code: LU

Free format text: LAPSE BECAUSE OF NON-PAYMENT OF DUE FEES

Effective date: 19940428

Ref country code: GB

Effective date: 19940428

Ref country code: AT

Effective date: 19940428

PG25 Lapsed in a contracting state [announced via postgrant information from national office to epo]

Ref country code: SE

Effective date: 19940429

Ref country code: ES

Free format text: LAPSE BECAUSE OF EXPIRATION OF PROTECTION

Effective date: 19940429

PG25 Lapsed in a contracting state [announced via postgrant information from national office to epo]

Ref country code: LI

Effective date: 19940430

Ref country code: CH

Effective date: 19940430

Ref country code: BE

Effective date: 19940430

BERE Be: lapsed

Owner name: EDELHOFF POLYTECHNIK G.M.B.H. & CO.

Effective date: 19940430

PG25 Lapsed in a contracting state [announced via postgrant information from national office to epo]

Ref country code: NL

Effective date: 19941101

NLV4 Nl: lapsed or anulled due to non-payment of the annual fee
PG25 Lapsed in a contracting state [announced via postgrant information from national office to epo]

Ref country code: FR

Effective date: 19941229

REG Reference to a national code

Ref country code: CH

Ref legal event code: PL

PG25 Lapsed in a contracting state [announced via postgrant information from national office to epo]

Ref country code: DE

Effective date: 19950103

GBPC Gb: european patent ceased through non-payment of renewal fee

Effective date: 19940428

EUG Se: european patent has lapsed

Ref document number: 87106110.7

Effective date: 19941110

REG Reference to a national code

Ref country code: FR

Ref legal event code: ST

REG Reference to a national code

Ref country code: ES

Ref legal event code: FD2A

Effective date: 20000301

PG25 Lapsed in a contracting state [announced via postgrant information from national office to epo]

Ref country code: IT

Free format text: LAPSE BECAUSE OF NON-PAYMENT OF DUE FEES

Effective date: 20050428