EP0244599B1 - Längszylindrischer Behälter für die Endlagerung von einer oder mehreren mit hochradioaktiven Abfällen gefüllten Kokillen - Google Patents

Längszylindrischer Behälter für die Endlagerung von einer oder mehreren mit hochradioaktiven Abfällen gefüllten Kokillen Download PDF

Info

Publication number
EP0244599B1
EP0244599B1 EP19870103768 EP87103768A EP0244599B1 EP 0244599 B1 EP0244599 B1 EP 0244599B1 EP 19870103768 EP19870103768 EP 19870103768 EP 87103768 A EP87103768 A EP 87103768A EP 0244599 B1 EP0244599 B1 EP 0244599B1
Authority
EP
European Patent Office
Prior art keywords
outer tube
plugs
final storage
container
tube
Prior art date
Legal status (The legal status is an assumption and is not a legal conclusion. Google has not performed a legal analysis and makes no representation as to the accuracy of the status listed.)
Expired - Lifetime
Application number
EP19870103768
Other languages
German (de)
English (en)
French (fr)
Other versions
EP0244599A1 (de
Inventor
Rainer Dr. Köster
Werner Schwarzkopf
Current Assignee (The listed assignees may be inaccurate. Google has not performed a legal analysis and makes no representation or warranty as to the accuracy of the list.)
Karlsruher Institut fuer Technologie KIT
Original Assignee
Kernforschungszentrum Karlsruhe GmbH
Priority date (The priority date is an assumption and is not a legal conclusion. Google has not performed a legal analysis and makes no representation as to the accuracy of the date listed.)
Filing date
Publication date
Application filed by Kernforschungszentrum Karlsruhe GmbH filed Critical Kernforschungszentrum Karlsruhe GmbH
Publication of EP0244599A1 publication Critical patent/EP0244599A1/de
Application granted granted Critical
Publication of EP0244599B1 publication Critical patent/EP0244599B1/de
Anticipated expiration legal-status Critical
Expired - Lifetime legal-status Critical Current

Links

Images

Classifications

    • GPHYSICS
    • G21NUCLEAR PHYSICS; NUCLEAR ENGINEERING
    • G21FPROTECTION AGAINST X-RADIATION, GAMMA RADIATION, CORPUSCULAR RADIATION OR PARTICLE BOMBARDMENT; TREATING RADIOACTIVELY CONTAMINATED MATERIAL; DECONTAMINATION ARRANGEMENTS THEREFOR
    • G21F5/00Transportable or portable shielded containers
    • G21F5/005Containers for solid radioactive wastes, e.g. for ultimate disposal

Definitions

  • the present invention relates to a repository according to the preamble of claim 1.
  • the invention is generally concerned with the provision of a repository for storage in a geological formation, especially in deep holes in rock salt.
  • molds that are filled with highly radioactive waste should be stored.
  • the repository package should be able to be integrated into existing and proven devices with known gripping contours and known glass mold bearings.
  • the repository container should enable the construction of a very simple and inexpensive transport packaging for its transport and should correspond to the storage conditions in terms of weight.
  • the present invention now proposes the features that are specified in the characterizing part of claim 1 and as an advantageous further development in the characterizing part of the subclaims.
  • the particular advantage of the repository container according to the invention is that the rock pressure load can be absorbed by the repository container by using a composite construction with a high-strength inner tube, the necessary corrosion protection being guaranteed by the shrinking of an unalloyed steel onto the high-strength inner tube.
  • the invention thus enables the production of an inexpensive final storage container from simple bulk materials and semi-finished products with minimal mechanical post-processing.
  • the low weight of the repository package enables safe disposal in deep geological formations in boreholes. This ensures optimal utilization of a deep rock salt formation. Interface problems with existing or planned facilities such as gripper contours or the handling and storage in known glass mold stores are avoided by the design according to the invention.
  • the self-shielding effect of the lid and bottom plug enables the construction of a very simple and inexpensive type B transport packaging with a slight increase in the weight of the final storage container.
  • the thickened cover stopper safely reduces the dose burden on the operating personnel due to scattered radiation when the final storage container is abseiled into an emptying hole. Additional shielding can thus be largely eliminated.
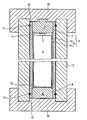
  • the mold 1 is shown with the highly radioactive content, which can consist of glazed fission products from the reprocessing of spent fuel elements from nuclear reactors or from spent fuel elements themselves.
  • the mold 1 has the known mushroom head 2 on its upper side for gripping. It is introduced into the actual longitudinal cylindrical storage container 3, the tubular wall 4 of which is composed of the two layers or tubes 5 and 6.
  • the outer tube 5 is relatively thin-walled compared to the cover and bottom plugs 9, 10, ie with little shielding effect against above the radiation from the mold 1.
  • the plugs 9 and 10 consist of normal structural steel, the corrosion rates of which are known under final storage conditions and the corrosion behavior of which can therefore be calculated.
  • the inner tube 6 is now inserted tightly, e.g. shrunk in or connected by means of narrow gap welding.
  • the inner tube 6 sits non-positively between the stopper and thus forms a continuous, wall 4 reinforcing support connection between the cover stopper 9 and the bottom stopper 10. Since the inner tube 6 is made of high-strength material, preferably tool steel, the axial load-bearing capacity of the repository container 3 is despite low wall thickness and calculable corrosion rate of the relatively soft material for the outer tube 5 increased considerably. This also increases the number of repository containers 3 that can be stacked in a borehole for strength reasons.
  • a particularly favorable transport packaging for the final storage container 3 is formed by the thick-walled transport tube 13, which has a shielding effect and in which the container 3 is inserted.
  • the container 3 is locked in the transport tube 13 by means of the securing bolts 14 and 15, which can be inserted radially or tangentially and can be released again for unloading.
  • the end openings 16 and 17 of the tube 13 are closed by means of the end pieces 18 and 19, which in turn act as shock absorbers in the case of a container and which can also have an additional shielding effect.
  • the end pieces 18 and 19 can have a larger outer diameter than the transport tube 13.

Landscapes

  • Physics & Mathematics (AREA)
  • Engineering & Computer Science (AREA)
  • General Engineering & Computer Science (AREA)
  • High Energy & Nuclear Physics (AREA)
  • Processing Of Solid Wastes (AREA)
  • Packages (AREA)
  • Packaging Of Annular Or Rod-Shaped Articles, Wearing Apparel, Cassettes, Or The Like (AREA)
EP19870103768 1986-04-01 1987-03-16 Längszylindrischer Behälter für die Endlagerung von einer oder mehreren mit hochradioaktiven Abfällen gefüllten Kokillen Expired - Lifetime EP0244599B1 (de)

Applications Claiming Priority (2)

Application Number Priority Date Filing Date Title
DE3610862 1986-04-01
DE19863610862 DE3610862A1 (de) 1986-04-01 1986-04-01 Laengszylindrischer behaelter fuer die endlagerung von einer oder mehreren mit hochradioaktiven abfaellen gefuellten kokillen

Publications (2)

Publication Number Publication Date
EP0244599A1 EP0244599A1 (de) 1987-11-11
EP0244599B1 true EP0244599B1 (de) 1990-06-13

Family

ID=6297653

Family Applications (1)

Application Number Title Priority Date Filing Date
EP19870103768 Expired - Lifetime EP0244599B1 (de) 1986-04-01 1987-03-16 Längszylindrischer Behälter für die Endlagerung von einer oder mehreren mit hochradioaktiven Abfällen gefüllten Kokillen

Country Status (2)

Country Link
EP (1) EP0244599B1 (enExample)
DE (1) DE3610862A1 (enExample)

Families Citing this family (6)

* Cited by examiner, † Cited by third party
Publication number Priority date Publication date Assignee Title
DE19538008B4 (de) * 1995-10-12 2008-04-17 Areva Np Gmbh Lagerbehälter zur Aufnahme von radioaktiv strahlendem Material sowie Verfahren zur Lagerung von abgebrannten Brennelementen
DE29800282U1 (de) 1998-01-13 1998-06-10 Siemens AG, 80333 München Versandbereites Kernreaktor-Brennelement
FR2774800B1 (fr) * 1998-02-10 2000-05-05 Framatome Sa Conteneur de transport pour des assemblages de combustible nucleaire
DE29909347U1 (de) 1999-05-28 1999-11-11 Reinhardt, Horst, Dipl.-Ing., 63110 Rodgau Metallischer Kontaminationsschutz für nukleare Transportbehälter
DE102007016141A1 (de) * 2007-04-02 2008-10-09 Evonik Energy Services Gmbh Behältersystem zur Aufnahme radioaktiver Abfälle
DE102010017201A1 (de) 2010-03-07 2011-09-08 Dieter Pfaltz Behälter zur Endlagerung von festen oder flüssigen Sondermüllmaterialien aus Verbundglas oder Panzerglas

Family Cites Families (7)

* Cited by examiner, † Cited by third party
Publication number Priority date Publication date Assignee Title
DE2952168C2 (de) * 1979-12-22 1982-09-02 Transnuklear Gmbh, 6450 Hanau Transport- und/oder Lagerbehälter für radioaktive Stoffe
DE3037328C2 (de) * 1980-10-02 1982-12-23 Transnuklear Gmbh, 6450 Hanau Stoßdämpfer für Behälter zum Transport und/oder zur Lagerung von radioaktivem Material
DE3046082C2 (de) * 1980-12-06 1987-02-12 Kernforschungszentrum Karlsruhe Gmbh, 7500 Karlsruhe Lager- und Transportbehälteranordnung für eine oder mehrere mit in Glas eingeschmolzenen radioaktiven Abfällen gefüllte Kokille(n)
DE3103526C2 (de) * 1981-02-03 1985-11-14 Deutsche Gesellschaft für Wiederaufarbeitung von Kernbrennstoffen mbH, 3000 Hannover Mehrschichtiger Transport- und Lagerbehälter für radioaktive Abfälle
EP0057867A1 (de) * 1981-02-03 1982-08-18 Nukem GmbH Mehrschichtiger Behälter zur sicheren Langzeitlagerung von radioaktivem Material
DE3214880A1 (de) * 1982-04-22 1983-10-27 Deutsche Gesellschaft für Wiederaufarbeitung von Kernbrennstoffen mbH, 3000 Hannover Behaelter zur aufnahme von radioaktiven stoffen
DE3404666A1 (de) * 1984-02-10 1985-08-14 GNS Gesellschaft für Nuklear-Service mbH, 4300 Essen Abschirmtransport- und abschirmlagerbehaelter fuer bestrahlte brennelemente

Also Published As

Publication number Publication date
DE3610862A1 (de) 1987-10-08
EP0244599A1 (de) 1987-11-11
DE3610862C2 (enExample) 1993-02-11

Similar Documents

Publication Publication Date Title
DE69218258T2 (de) Druckbehalter
DE2839759A1 (de) Verschluss von lagerbohrungen zur endlagerung radioaktiver abfaelle und verfahren zum anbringen des verschlusses
DE69908002T2 (de) Strahlenschutzvorrichtung für Behälter zum Transport von radioaktiven Stoffen und Verfahren zum Aufstellen einer solchen Strahlenschutzvorrichtung
DE3437534C2 (de) Zylindrischer Behälter zur Verwendung als druckdichte Explosionskammer
DE2500927A1 (de) Einrichtung zum handhaben radioaktiver kernbrennelemente bei transportvorgaengen
EP0244599B1 (de) Längszylindrischer Behälter für die Endlagerung von einer oder mehreren mit hochradioaktiven Abfällen gefüllten Kokillen
DE3322770A1 (de) Vorrichtung zur handhabung und zum schutz von lagergebinden fuer radioaktive stoffe
DE69414137T2 (de) Im wesentlichen ein bündel aneinanderliegender rohre enthaltender speicherrahmen für kernbrennstabbündel
DE3132704A1 (de) Behaelter zur langzeitlagerung radioaktiver abfaelle
EP0175174B1 (de) Steuerstab für Kernreaktoren
DE3125211A1 (de) Lagerbehaelter und verfahren zu seiner herstellung
EP0057867A1 (de) Mehrschichtiger Behälter zur sicheren Langzeitlagerung von radioaktivem Material
DE2716463C2 (de) Einweg-Abschirmbehälter zum Transportieren und Endlagern von radioaktiven Abfällen im Meer
DE2528825C2 (de) Kernreaktoranlage
DE2919797C2 (de) Lager für die Aufbewahrung abgebrannter Brennelemente
EP0043096B1 (de) Vorrichtung für die Aufnahme radioaktiver Stoffe
DE2258741A1 (de) Kernreaktoranlage
EP0102562B1 (de) Lagerbehälter für Spaltstofflösungen
DE3216855C2 (de) Behälter zum Lagern neuer Brennelemente
DE2718305C2 (de) Brennelementlager
EP0044024B1 (de) Transport- und/oder Lagerbehälter für radioaktive Stoffe
DE2228026A1 (de) Transportbehälter
EP0091175A1 (de) Verfahren zur sicheren Lagerung von gefährlichem, den Menschen und/oder die Umwelt gefährendem Material und für dieses Verfahren geeignete Schutzhülle
CH664415A5 (de) Rotationssymmetrischer sicherheitsbehaelter.
DE3227512A1 (de) Verlorener abschirmbehaelter fuer radioaktive abfaelle

Legal Events

Date Code Title Description
PUAI Public reference made under article 153(3) epc to a published international application that has entered the european phase

Free format text: ORIGINAL CODE: 0009012

AK Designated contracting states

Kind code of ref document: A1

Designated state(s): BE CH FR GB LI NL SE

17P Request for examination filed

Effective date: 19871111

17Q First examination report despatched

Effective date: 19881014

GRAA (expected) grant

Free format text: ORIGINAL CODE: 0009210

AK Designated contracting states

Kind code of ref document: B1

Designated state(s): BE CH FR GB LI NL SE

ET Fr: translation filed
GBT Gb: translation of ep patent filed (gb section 77(6)(a)/1977)
PLBE No opposition filed within time limit

Free format text: ORIGINAL CODE: 0009261

STAA Information on the status of an ep patent application or granted ep patent

Free format text: STATUS: NO OPPOSITION FILED WITHIN TIME LIMIT

26N No opposition filed
PGFP Annual fee paid to national office [announced via postgrant information from national office to epo]

Ref country code: GB

Payment date: 19920123

Year of fee payment: 6

PGFP Annual fee paid to national office [announced via postgrant information from national office to epo]

Ref country code: CH

Payment date: 19920129

Year of fee payment: 6

PGFP Annual fee paid to national office [announced via postgrant information from national office to epo]

Ref country code: SE

Payment date: 19920316

Year of fee payment: 6

PGFP Annual fee paid to national office [announced via postgrant information from national office to epo]

Ref country code: FR

Payment date: 19920330

Year of fee payment: 6

PGFP Annual fee paid to national office [announced via postgrant information from national office to epo]

Ref country code: NL

Payment date: 19920331

Year of fee payment: 6

PG25 Lapsed in a contracting state [announced via postgrant information from national office to epo]

Ref country code: GB

Effective date: 19930316

PG25 Lapsed in a contracting state [announced via postgrant information from national office to epo]

Ref country code: SE

Effective date: 19930317

PG25 Lapsed in a contracting state [announced via postgrant information from national office to epo]

Ref country code: LI

Effective date: 19930331

Ref country code: CH

Effective date: 19930331

PGFP Annual fee paid to national office [announced via postgrant information from national office to epo]

Ref country code: BE

Payment date: 19930511

Year of fee payment: 7

PG25 Lapsed in a contracting state [announced via postgrant information from national office to epo]

Ref country code: NL

Effective date: 19931001

GBPC Gb: european patent ceased through non-payment of renewal fee

Effective date: 19930316

NLV4 Nl: lapsed or anulled due to non-payment of the annual fee
PG25 Lapsed in a contracting state [announced via postgrant information from national office to epo]

Ref country code: FR

Effective date: 19931130

REG Reference to a national code

Ref country code: CH

Ref legal event code: PL

REG Reference to a national code

Ref country code: FR

Ref legal event code: ST

PG25 Lapsed in a contracting state [announced via postgrant information from national office to epo]

Ref country code: BE

Effective date: 19940331

BERE Be: lapsed

Owner name: KERNFORSCHUNGSZENTRUM KARLSRUHE G.M.B.H.

Effective date: 19940331

EUG Se: european patent has lapsed

Ref document number: 87103768.5

Effective date: 19931008