EP0244312B1 - Isolierendes und unterteilendes Element - Google Patents
Isolierendes und unterteilendes Element Download PDFInfo
- Publication number
- EP0244312B1 EP0244312B1 EP87400950A EP87400950A EP0244312B1 EP 0244312 B1 EP0244312 B1 EP 0244312B1 EP 87400950 A EP87400950 A EP 87400950A EP 87400950 A EP87400950 A EP 87400950A EP 0244312 B1 EP0244312 B1 EP 0244312B1
- Authority
- EP
- European Patent Office
- Prior art keywords
- insulating
- faces
- plaster
- lateral faces
- core
- Prior art date
- Legal status (The legal status is an assumption and is not a legal conclusion. Google has not performed a legal analysis and makes no representation as to the accuracy of the status listed.)
- Expired - Lifetime
Links
- 238000000638 solvent extraction Methods 0.000 title claims abstract description 15
- 239000011505 plaster Substances 0.000 claims abstract description 18
- 239000011810 insulating material Substances 0.000 claims abstract description 8
- 239000004793 Polystyrene Substances 0.000 claims description 5
- 229920002223 polystyrene Polymers 0.000 claims description 5
- 230000000295 complement effect Effects 0.000 claims description 4
- 239000007799 cork Substances 0.000 claims description 4
- 239000004794 expanded polystyrene Substances 0.000 claims description 4
- 229920005830 Polyurethane Foam Polymers 0.000 claims description 3
- 239000011491 glass wool Substances 0.000 claims description 3
- 239000011490 mineral wool Substances 0.000 claims description 3
- 239000011496 polyurethane foam Substances 0.000 claims description 3
- KXGFMDJXCMQABM-UHFFFAOYSA-N 2-methoxy-6-methylphenol Chemical compound [CH]OC1=CC=CC([CH])=C1O KXGFMDJXCMQABM-UHFFFAOYSA-N 0.000 claims 1
- 238000009413 insulation Methods 0.000 description 12
- 238000005192 partition Methods 0.000 description 3
- VEXZGXHMUGYJMC-UHFFFAOYSA-M Chloride anion Chemical compound [Cl-] VEXZGXHMUGYJMC-UHFFFAOYSA-M 0.000 description 2
- 239000006260 foam Substances 0.000 description 2
- 238000004519 manufacturing process Methods 0.000 description 2
- 238000000034 method Methods 0.000 description 2
- 229920002994 synthetic fiber Polymers 0.000 description 2
- 238000004026 adhesive bonding Methods 0.000 description 1
- 238000010276 construction Methods 0.000 description 1
- 238000009826 distribution Methods 0.000 description 1
- 238000001125 extrusion Methods 0.000 description 1
- 238000007730 finishing process Methods 0.000 description 1
- 238000009434 installation Methods 0.000 description 1
- 238000002955 isolation Methods 0.000 description 1
- 239000000463 material Substances 0.000 description 1
- 230000002787 reinforcement Effects 0.000 description 1
- 230000003014 reinforcing effect Effects 0.000 description 1
- 229920002554 vinyl polymer Polymers 0.000 description 1
Images
Classifications
-
- E—FIXED CONSTRUCTIONS
- E04—BUILDING
- E04B—GENERAL BUILDING CONSTRUCTIONS; WALLS, e.g. PARTITIONS; ROOFS; FLOORS; CEILINGS; INSULATION OR OTHER PROTECTION OF BUILDINGS
- E04B2/00—Walls, e.g. partitions, for buildings; Wall construction with regard to insulation; Connections specially adapted to walls
- E04B2/74—Removable non-load-bearing partitions; Partitions with a free upper edge
- E04B2/7401—Removable non-load-bearing partitions; Partitions with a free upper edge assembled using panels without a frame or supporting posts, with or without upper or lower edge locating rails
- E04B2/7403—Removable non-load-bearing partitions; Partitions with a free upper edge assembled using panels without a frame or supporting posts, with or without upper or lower edge locating rails with special measures for sound or thermal insulation including fire protection
-
- E—FIXED CONSTRUCTIONS
- E04—BUILDING
- E04C—STRUCTURAL ELEMENTS; BUILDING MATERIALS
- E04C1/00—Building elements of block or other shape for the construction of parts of buildings
- E04C1/40—Building elements of block or other shape for the construction of parts of buildings built-up from parts of different materials, e.g. composed of layers of different materials or stones with filling material or with insulating inserts
- E04C1/41—Building elements of block or other shape for the construction of parts of buildings built-up from parts of different materials, e.g. composed of layers of different materials or stones with filling material or with insulating inserts composed of insulating material and load-bearing concrete, stone or stone-like material
-
- E—FIXED CONSTRUCTIONS
- E04—BUILDING
- E04C—STRUCTURAL ELEMENTS; BUILDING MATERIALS
- E04C2/00—Building elements of relatively thin form for the construction of parts of buildings, e.g. sheet materials, slabs, or panels
- E04C2/02—Building elements of relatively thin form for the construction of parts of buildings, e.g. sheet materials, slabs, or panels characterised by specified materials
- E04C2/26—Building elements of relatively thin form for the construction of parts of buildings, e.g. sheet materials, slabs, or panels characterised by specified materials composed of materials covered by two or more of groups E04C2/04, E04C2/08, E04C2/10 or of materials covered by one of these groups with a material not specified in one of the groups
- E04C2/284—Building elements of relatively thin form for the construction of parts of buildings, e.g. sheet materials, slabs, or panels characterised by specified materials composed of materials covered by two or more of groups E04C2/04, E04C2/08, E04C2/10 or of materials covered by one of these groups with a material not specified in one of the groups at least one of the materials being insulating
- E04C2/288—Building elements of relatively thin form for the construction of parts of buildings, e.g. sheet materials, slabs, or panels characterised by specified materials composed of materials covered by two or more of groups E04C2/04, E04C2/08, E04C2/10 or of materials covered by one of these groups with a material not specified in one of the groups at least one of the materials being insulating composed of insulating material and concrete, stone or stone-like material
-
- E—FIXED CONSTRUCTIONS
- E04—BUILDING
- E04B—GENERAL BUILDING CONSTRUCTIONS; WALLS, e.g. PARTITIONS; ROOFS; FLOORS; CEILINGS; INSULATION OR OTHER PROTECTION OF BUILDINGS
- E04B2/00—Walls, e.g. partitions, for buildings; Wall construction with regard to insulation; Connections specially adapted to walls
- E04B2/02—Walls, e.g. partitions, for buildings; Wall construction with regard to insulation; Connections specially adapted to walls built-up from layers of building elements
- E04B2002/0202—Details of connections
- E04B2002/0204—Non-undercut connections, e.g. tongue and groove connections
- E04B2002/0206—Non-undercut connections, e.g. tongue and groove connections of rectangular shape
Definitions
- the present invention relates to an insulation and partitioning element.
- this insulating layer is covered with a wall constituted by the assembly of plaster tiles whose dimensions are standardized.
- French Patent No. 82 21 709 describes, for example, an insulating lining tile consisting of a block of polystyrene coated with a sheet of pure plaster.
- this tile has, however, the drawback of requiring the implementation of a relatively sophisticated manufacturing process since the polystyrene and the plaster are joined together by a dovetail hanging system; moreover, the rigidity of the walls produced with such tiles is limited.
- the object of the present invention is to avoid the drawbacks of the elements of the above-mentioned prior art and, at the same time, to propose a self-supporting insulating element whose rigidity is sufficient so that it can, in addition to the doublings, make it possible to produce light and insulating partition walls.
- the invention relates to a parallelepipedic insulation and partitioning element constituted by two plasterboards between which is sandwiched a core of an insulating material chosen in particular from the group formed by expanded polystyrene, extruded polystyrene, glass wool, rock wool, polyurethane foam, formophenolic foam and cork, this element comprising two main faces and four side faces carrying ribs and longitudinal grooves centered in the median longitudinal plane of the element and corresponding two by two to allow the interlocking and assembly of several elements so as to produce a wall.
- an insulating material chosen in particular from the group formed by expanded polystyrene, extruded polystyrene, glass wool, rock wool, polyurethane foam, formophenolic foam and cork
- plasterboard on the two main faces of the element according to the invention allows its use as a distribution partition.
- this element In a manner known per se, the dimensions of this element are generally chosen to correspond to those of a standardized plaster tile currently used in the usual way in the building industry, that is to say of a length of 660 mm, a height of 500 mm and a variable thickness.
- the insulating element is symmetrical with respect to its longitudinal median plane; this symmetry is particularly important when the element according to the invention is used as a partition.
- the insulating and partitioning element is characterized in that the core is constituted by a truncated parallelepiped at its four corners comprising two main faces, four oblique faces and four lateral faces carrying the ribs or the grooves, two opposite lateral faces being respectively provided in their central part, with a shoulder intended to receive a plaster block of complementary shape to form the central part of the rib and of the associated groove.
- plasterboards cooperating with the core have a complementary shape, in particular at the level of the four corners to obtain a parallelepipedic element.
- the interlocking members are made of insulating material, except at the four ends of the ribs and grooves, and at the central part of two opposite lateral faces where they are made of plaster.
- the insulation and partitioning elements in accordance with the invention have the advantage of being particularly easy to handle, given their small dimensions and their light weight (approximately 30 g / m2).
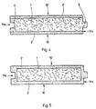
- the insulating and partitioning element according to the invention is a mixed element consisting of a core 1 of an insulating material (shown in more detail in Figure 2) sandwiched between two plasterboards 2 and 2 ′.
- the insulation and partitioning element has, substantially, the shape of a flattened parallelepiped comprising two main faces 10 and 10 ′ and four lateral faces 11a, 11b, 11c and 11d.
- the insulation and partitioning element is perfectly symmetrical with respect to its longitudinal median plane (plane III-III of section in FIG. 3) and comprises, on its lateral faces 11a, 11b, 11c and 11d interlocking members 3, 4 allowing the assembly of several elements so as to produce an insulating wall for lining or partitioning.
- these interlocking members are constituted by longitudinal ribs 3 and by corresponding ribs 4; the lateral faces 11a and 11c are provided with grooves 4 while the lateral faces 11b and 11d are provided with ribs 3.
- Figure 3 which is a section at these grooves and ribs 3, 4, these are made of insulating material 1 except at the four corners 5 of l element, and to the central parts 6 of the side faces 11a and 11b.
- this particular configuration makes it possible to improve the thermal insulation performance of the element, while increasing the precision of the sockets.
- the insulating core 1 is constituted by a flattened parallelepiped truncated at its four corners comprising two main faces 20, 20 ′, four lateral faces 21a, 21b, 21c and 21d, as well as four faces at an angle 22a, 22b, 22c and 22d, corresponding respectively to the four plaster corners 5 of the element according to the invention.
- the lateral faces 21a and 21d carry, of course, the grooves 4 while the lateral faces 21b and 21c carry the ribs 3.
- the lateral faces 21a and 21d are both provided in their central part with a shoulder 7 intended to receive a plaster block 6 shown in FIG. 3, of complementary shape, to constitute the central plaster part of the nesting bodies.
- the insulating core shown in FIG. 2 can be chosen from any material, such as for example expanded polystyrene, extruded polystyrene, glass wool, rock wool, polyurethane foam, formophenolic foam, chloride of chloride. polyvinyl and cork.
- plasterboard 2, 2 ′ It is completed by plasterboard 2, 2 ′ to obtain the shape shown in dotted lines (corresponding to that of the element according to the invention according to FIG. 1).
Landscapes
- Engineering & Computer Science (AREA)
- Architecture (AREA)
- Civil Engineering (AREA)
- Structural Engineering (AREA)
- Physics & Mathematics (AREA)
- Electromagnetism (AREA)
- Building Environments (AREA)
- Inorganic Insulating Materials (AREA)
- Ignition Installations For Internal Combustion Engines (AREA)
- Electrical Discharge Machining, Electrochemical Machining, And Combined Machining (AREA)
- External Artificial Organs (AREA)
- Laminated Bodies (AREA)
- Burglar Alarm Systems (AREA)
- Insulators (AREA)
Claims (1)
Priority Applications (1)
| Application Number | Priority Date | Filing Date | Title |
|---|---|---|---|
| AT87400950T ATE67548T1 (de) | 1986-04-24 | 1987-04-24 | Isolierendes und unterteilendes element. |
Applications Claiming Priority (2)
| Application Number | Priority Date | Filing Date | Title |
|---|---|---|---|
| FR8605945A FR2597904B1 (fr) | 1986-04-24 | 1986-04-24 | Element d'isolation et de cloisonnement |
| FR8605945 | 1986-04-24 |
Publications (3)
| Publication Number | Publication Date |
|---|---|
| EP0244312A2 EP0244312A2 (de) | 1987-11-04 |
| EP0244312A3 EP0244312A3 (en) | 1988-09-14 |
| EP0244312B1 true EP0244312B1 (de) | 1991-09-18 |
Family
ID=9334575
Family Applications (1)
| Application Number | Title | Priority Date | Filing Date |
|---|---|---|---|
| EP87400950A Expired - Lifetime EP0244312B1 (de) | 1986-04-24 | 1987-04-24 | Isolierendes und unterteilendes Element |
Country Status (5)
| Country | Link |
|---|---|
| EP (1) | EP0244312B1 (de) |
| AT (1) | ATE67548T1 (de) |
| DE (1) | DE3773042D1 (de) |
| ES (1) | ES2027308T3 (de) |
| FR (1) | FR2597904B1 (de) |
Cited By (3)
| Publication number | Priority date | Publication date | Assignee | Title |
|---|---|---|---|---|
| US9551147B2 (en) | 2014-07-11 | 2017-01-24 | Vidar Marstein | Building block for wall construction |
| CN107304583A (zh) * | 2016-04-21 | 2017-10-31 | 山西铭坤建材有限公司 | 一种a级新型防火保温材料 |
| CN107304580A (zh) * | 2016-04-21 | 2017-10-31 | 山西铭坤建材有限公司 | 一种a级防火保模一体化板 |
Families Citing this family (11)
| Publication number | Priority date | Publication date | Assignee | Title |
|---|---|---|---|---|
| CH680808A5 (de) * | 1989-05-02 | 1992-11-13 | Santo Ferrara | |
| FR2666364B1 (fr) * | 1990-08-31 | 1992-11-20 | Lambert Platres | Element allege autoportant pour cloisons. |
| EP0496020A1 (de) * | 1991-01-24 | 1992-07-29 | Rigips GmbH | Zweischalige ständerlose Montagewand |
| FR2700565B1 (fr) * | 1993-01-20 | 1995-04-07 | Anelio Balbinot | Panneau destiné à l'industrie du bâtiment. |
| FR2764621B1 (fr) * | 1997-06-17 | 1999-09-17 | Pascal Bouinot | Elements de construction d'un batiment et ensemble desdits elements |
| EP1046491B1 (de) * | 1999-04-20 | 2003-06-18 | Antoinette Nora Kelly | Fassadenplatte |
| PT102524A (pt) * | 2000-10-18 | 2002-04-29 | Corticeira Amorim Ind S A | "blocos de gesso ou estuque isolante obtidos por incorporacao de granulado de cortica" |
| CN102720302A (zh) * | 2012-07-03 | 2012-10-10 | 程清明 | 钢丝网拼缝搭接复合夹芯轻质墙板 |
| ES2595511B1 (es) * | 2015-06-29 | 2017-09-08 | Vicente Sarrablo Moreno | Bloque aislante para la erección de paredes |
| CN105507492B (zh) * | 2016-02-04 | 2017-07-18 | 北京天基新材料股份有限公司 | 一种卯榫式膨石组合外墙 |
| CN113338481B (zh) * | 2021-07-14 | 2022-09-30 | 中建二局第二建筑工程有限公司 | 一种建筑内隔墙装配式墙体 |
Family Cites Families (3)
| Publication number | Priority date | Publication date | Assignee | Title |
|---|---|---|---|---|
| FR522387A (fr) * | 1918-07-31 | 1921-07-29 | Louis Gonyn | Dispositif de panneaux démontables isolants |
| FR2456176A1 (fr) * | 1979-05-11 | 1980-12-05 | Gtm Gatiment Travaux Publics | Procede et element de construction de mur en materiau cellulaire (platre ou argile) |
| FR2524528A1 (fr) * | 1982-04-02 | 1983-10-07 | Dupont Georges | Pavillons modulaires |
-
1986
- 1986-04-24 FR FR8605945A patent/FR2597904B1/fr not_active Expired - Fee Related
-
1987
- 1987-04-24 EP EP87400950A patent/EP0244312B1/de not_active Expired - Lifetime
- 1987-04-24 DE DE8787400950T patent/DE3773042D1/de not_active Expired - Fee Related
- 1987-04-24 AT AT87400950T patent/ATE67548T1/de not_active IP Right Cessation
- 1987-04-24 ES ES198787400950T patent/ES2027308T3/es not_active Expired - Lifetime
Cited By (3)
| Publication number | Priority date | Publication date | Assignee | Title |
|---|---|---|---|---|
| US9551147B2 (en) | 2014-07-11 | 2017-01-24 | Vidar Marstein | Building block for wall construction |
| CN107304583A (zh) * | 2016-04-21 | 2017-10-31 | 山西铭坤建材有限公司 | 一种a级新型防火保温材料 |
| CN107304580A (zh) * | 2016-04-21 | 2017-10-31 | 山西铭坤建材有限公司 | 一种a级防火保模一体化板 |
Also Published As
| Publication number | Publication date |
|---|---|
| ES2027308T3 (es) | 1992-06-01 |
| EP0244312A3 (en) | 1988-09-14 |
| ATE67548T1 (de) | 1991-10-15 |
| EP0244312A2 (de) | 1987-11-04 |
| FR2597904B1 (fr) | 1992-01-10 |
| FR2597904A1 (fr) | 1987-10-30 |
| DE3773042D1 (de) | 1991-10-24 |
Similar Documents
| Publication | Publication Date | Title |
|---|---|---|
| EP0244312B1 (de) | Isolierendes und unterteilendes Element | |
| EP0112213B1 (de) | Aussen isolierter Betonstein und Verfahren zum Zusammenbau | |
| CH654614A5 (en) | Precast reinforced-concrete wall or floor element with built-in insulation | |
| FR2540538A1 (fr) | Procede de construction d'une structure de maconnerie isotherme, brique, hourdis et poutrelle profilee pour la mise en oeuvre de ce procede | |
| EP3292254A1 (de) | Permanente schalungsplatte, anordnung besagter platten und verfahren zur herstellung einer betonbodenplatte | |
| FR2657104A1 (fr) | Element prefabrique pour la construction de parois. | |
| FR2539801A1 (fr) | Procede de finition en particulier au niveau des ouvertures formees dans le gros oeuvre de batiments et elements prefabriques pour la mise en oeuvre de ce procede | |
| EP0031171A2 (de) | Verfahren zur Erstellung eines Gebäudes mittels isolierter Platten nach dem System der verlorenen Schalung | |
| EP0674136B1 (de) | Wärmedämmplatte für integrierte Heizungs- und/oder Klimatisierungsanlagen und Verfahren zur Herstellung solcher Platten | |
| EP0451249B1 (de) | Neue bauelemente | |
| FR2538430A1 (fr) | Element de doublage isolant et procede de fabrication d'un tel element | |
| FR2562121A1 (fr) | Entrevous composite | |
| FR2519670A1 (fr) | Bloc isolant pour l'industrie du batiment | |
| EP4372168B1 (de) | Bausatz für eine dämmschalung einer gebäudewand und verfahren zum bau einer gebäudewand mit dämmschalung | |
| FR2494751A1 (fr) | Parpaing ou planelle, a saignees d'electricite, prefabriquees | |
| FR2962462A1 (fr) | Panneau isolant pour l'execution de parois de batiment et son procede de fabrication | |
| FR3000118A1 (fr) | Kit de banchage pour la construction d'un mur avec integration du kit, ainsi que procede de construction d'un mur utilisant un tel kit | |
| FR2469992A1 (fr) | Moule destine a la fabrication de plaques et notamment de plaques en platre | |
| FR2481727A1 (fr) | Dalle de plancher prefabrique, son procede de fabrication et plancher en resultant | |
| FR2768451A1 (fr) | Ensemble de panneaux, notamment de revetement de facade de batiments, et dispositif pour la fabrication de tels panneaux | |
| WO2022144328A1 (fr) | Système d'assemblage | |
| BE1005714A3 (fr) | Panneau de revetement avec une face visible en pierre naturelle, et son procede de fabrication. | |
| CA1222641A (fr) | Bloc a bancher pour isolation par l'exterieur | |
| FR2485590A1 (fr) | Perfectionnements apportes aux panneaux de doublage isolant notamment pour murs, cloisons, planchers et plafonds | |
| FR2465844A1 (fr) | Perfectionnements apportes aux panneaux prefabriques pour la realisation de constructions notamment a usage d'habitation, ainsi que les constructions faisant application de tels panneaux |
Legal Events
| Date | Code | Title | Description |
|---|---|---|---|
| PUAI | Public reference made under article 153(3) epc to a published international application that has entered the european phase |
Free format text: ORIGINAL CODE: 0009012 |
|
| AK | Designated contracting states |
Kind code of ref document: A2 Designated state(s): AT BE CH DE ES GB GR IT LI LU NL SE |
|
| PUAL | Search report despatched |
Free format text: ORIGINAL CODE: 0009013 |
|
| AK | Designated contracting states |
Kind code of ref document: A3 Designated state(s): AT BE CH DE ES GB GR IT LI LU NL SE |
|
| 17P | Request for examination filed |
Effective date: 19881014 |
|
| 17Q | First examination report despatched |
Effective date: 19900110 |
|
| GRAA | (expected) grant |
Free format text: ORIGINAL CODE: 0009210 |
|
| AK | Designated contracting states |
Kind code of ref document: B1 Designated state(s): AT BE CH DE ES GB GR IT LI LU NL SE |
|
| PG25 | Lapsed in a contracting state [announced via postgrant information from national office to epo] |
Ref country code: IT Free format text: LAPSE BECAUSE OF FAILURE TO SUBMIT A TRANSLATION OF THE DESCRIPTION OR TO PAY THE FEE WITHIN THE PRE;WARNING: LAPSES OF ITALIAN PATENTS WITH EFFECTIVE DATE BEFORE 2007 MAY HAVE OCCURRED AT ANY TIME BEFORE 2007. THE CORRECT EFFECTIVE DATE MAY BE DIFFERENT FROM THE ONE RECORDED.SCRIBED TIME-LIMIT Effective date: 19910918 Ref country code: GR Free format text: LAPSE BECAUSE OF FAILURE TO SUBMIT A TRANSLATION OF THE DESCRIPTION OR TO PAY THE FEE WITHIN THE PRESCRIBED TIME-LIMIT Effective date: 19910918 Ref country code: SE Effective date: 19910918 Ref country code: AT Effective date: 19910918 Ref country code: NL Effective date: 19910918 |
|
| REF | Corresponds to: |
Ref document number: 67548 Country of ref document: AT Date of ref document: 19911015 Kind code of ref document: T |
|
| REF | Corresponds to: |
Ref document number: 3773042 Country of ref document: DE Date of ref document: 19911024 |
|
| GBT | Gb: translation of ep patent filed (gb section 77(6)(a)/1977) | ||
| NLV1 | Nl: lapsed or annulled due to failure to fulfill the requirements of art. 29p and 29m of the patents act | ||
| PG25 | Lapsed in a contracting state [announced via postgrant information from national office to epo] |
Ref country code: ES Free format text: LAPSE BECAUSE OF NON-PAYMENT OF DUE FEES Effective date: 19920425 |
|
| PG25 | Lapsed in a contracting state [announced via postgrant information from national office to epo] |
Ref country code: CH Effective date: 19920430 Ref country code: BE Effective date: 19920430 Ref country code: LI Effective date: 19920430 Ref country code: LU Free format text: LAPSE BECAUSE OF NON-PAYMENT OF DUE FEES Effective date: 19920430 |
|
| REG | Reference to a national code |
Ref country code: ES Ref legal event code: FG2A Ref document number: 2027308 Country of ref document: ES Kind code of ref document: T3 |
|
| PLBE | No opposition filed within time limit |
Free format text: ORIGINAL CODE: 0009261 |
|
| STAA | Information on the status of an ep patent application or granted ep patent |
Free format text: STATUS: NO OPPOSITION FILED WITHIN TIME LIMIT |
|
| 26N | No opposition filed | ||
| BERE | Be: lapsed |
Owner name: PRE.MA.CO Effective date: 19920430 |
|
| REG | Reference to a national code |
Ref country code: CH Ref legal event code: PL |
|
| PG25 | Lapsed in a contracting state [announced via postgrant information from national office to epo] |
Ref country code: DE Effective date: 19930101 |
|
| PGFP | Annual fee paid to national office [announced via postgrant information from national office to epo] |
Ref country code: GB Payment date: 19950421 Year of fee payment: 9 |
|
| PG25 | Lapsed in a contracting state [announced via postgrant information from national office to epo] |
Ref country code: GB Effective date: 19960424 |
|
| GBPC | Gb: european patent ceased through non-payment of renewal fee |
Effective date: 19960424 |
|
| REG | Reference to a national code |
Ref country code: ES Ref legal event code: FD2A Effective date: 19990301 |