EP0238944A2 - Montagegerät - Google Patents

Montagegerät Download PDF

Info

Publication number
EP0238944A2
EP0238944A2 EP87103591A EP87103591A EP0238944A2 EP 0238944 A2 EP0238944 A2 EP 0238944A2 EP 87103591 A EP87103591 A EP 87103591A EP 87103591 A EP87103591 A EP 87103591A EP 0238944 A2 EP0238944 A2 EP 0238944A2
Authority
EP
European Patent Office
Prior art keywords
equipment according
mounting part
wall
connection
shaft
Prior art date
Legal status (The legal status is an assumption and is not a legal conclusion. Google has not performed a legal analysis and makes no representation as to the accuracy of the status listed.)
Granted
Application number
EP87103591A
Other languages
English (en)
French (fr)
Other versions
EP0238944A3 (en
EP0238944B1 (de
Inventor
Stephan Dipl.-Phys. Hörmann
Current Assignee (The listed assignees may be inaccurate. Google has not performed a legal analysis and makes no representation or warranty as to the accuracy of the list.)
Hoermann KG Brockhagen
Hoermann KG Bielefeld
Original Assignee
Hoermann KG Brockhagen
Hoermann KG Bielefeld
Priority date (The priority date is an assumption and is not a legal conclusion. Google has not performed a legal analysis and makes no representation as to the accuracy of the date listed.)
Filing date
Publication date
Application filed by Hoermann KG Brockhagen, Hoermann KG Bielefeld filed Critical Hoermann KG Brockhagen
Priority to AT87103591T priority Critical patent/ATE64173T1/de
Publication of EP0238944A2 publication Critical patent/EP0238944A2/de
Publication of EP0238944A3 publication Critical patent/EP0238944A3/de
Application granted granted Critical
Publication of EP0238944B1 publication Critical patent/EP0238944B1/de
Anticipated expiration legal-status Critical
Expired - Lifetime legal-status Critical Current

Links

Images

Classifications

    • EFIXED CONSTRUCTIONS
    • E06DOORS, WINDOWS, SHUTTERS, OR ROLLER BLINDS IN GENERAL; LADDERS
    • E06BFIXED OR MOVABLE CLOSURES FOR OPENINGS IN BUILDINGS, VEHICLES, FENCES OR LIKE ENCLOSURES IN GENERAL, e.g. DOORS, WINDOWS, BLINDS, GATES
    • E06B9/00Screening or protective devices for wall or similar openings, with or without operating or securing mechanisms; Closures of similar construction
    • E06B9/56Operating, guiding or securing devices or arrangements for roll-type closures; Spring drums; Tape drums; Counterweighting arrangements therefor
    • E06B9/68Operating devices or mechanisms, e.g. with electric drive
    • E06B9/70Operating devices or mechanisms, e.g. with electric drive comprising an electric motor positioned outside the roller
    • EFIXED CONSTRUCTIONS
    • E06DOORS, WINDOWS, SHUTTERS, OR ROLLER BLINDS IN GENERAL; LADDERS
    • E06BFIXED OR MOVABLE CLOSURES FOR OPENINGS IN BUILDINGS, VEHICLES, FENCES OR LIKE ENCLOSURES IN GENERAL, e.g. DOORS, WINDOWS, BLINDS, GATES
    • E06B9/00Screening or protective devices for wall or similar openings, with or without operating or securing mechanisms; Closures of similar construction
    • E06B9/02Shutters, movable grilles, or other safety closing devices, e.g. against burglary
    • E06B9/08Roll-type closures
    • E06B9/11Roller shutters
    • E06B9/17Parts or details of roller shutters, e.g. suspension devices, shutter boxes, wicket doors, ventilation openings
    • E06B9/174Bearings specially adapted therefor
    • EFIXED CONSTRUCTIONS
    • E06DOORS, WINDOWS, SHUTTERS, OR ROLLER BLINDS IN GENERAL; LADDERS
    • E06BFIXED OR MOVABLE CLOSURES FOR OPENINGS IN BUILDINGS, VEHICLES, FENCES OR LIKE ENCLOSURES IN GENERAL, e.g. DOORS, WINDOWS, BLINDS, GATES
    • E06B9/00Screening or protective devices for wall or similar openings, with or without operating or securing mechanisms; Closures of similar construction
    • E06B9/56Operating, guiding or securing devices or arrangements for roll-type closures; Spring drums; Tape drums; Counterweighting arrangements therefor
    • E06B9/78Operating, guiding or securing devices or arrangements for roll-type closures; Spring drums; Tape drums; Counterweighting arrangements therefor for direct manual operation, e.g. by tassels, by handles

Definitions

  • the invention relates to an assembly device for lifting the preferably wound on a shaft armor of a roller shutter according to the preamble of the main claim.
  • the assembly of the wound-up tank is also dangerous because it can fall off the relatively narrow tines of the truck.
  • the invention has for its object to provide an assembly device according to the preamble of the main claim so that the assembly can be carried out easily and without a forklift and safely with a simultaneous load test of the wall brackets.
  • the mounting part is fixed to the wall bracket, which is provided with a guide device for the rope of a hoist and protrudes so far over the wall bracket and protrudes upwards, so that the shaft projecting laterally over the armor is lifted past the wall bracket at the front can.
  • the sufficient dimension serves to keep the shaft on inserted drive on one side and a shaft bearing on the other side at the same time on the wall bracket.
  • the wound-up shaft When the wound-up shaft has reached its height, it is deflected from the projecting area into the horizontal by means of the guide device and pulled in the direction of the wall. The shaft can then be lowered at the assembly point, whereby the attached bearing bush or the drive comes to rest on the wall bracket.
  • the wall bracket 5 provided with fastening bores has a base plate 6 for abutment against the wall 7 and a cantilever arm 8 projecting forward and a support strut 9, which together enclose approximately a triangular space l0.
  • the disc-shaped trained actual mounting part has a projection l2, which protrudes beyond the front end of the cantilever arm 8 so far that the armor of a roller shutter, which is denoted overall by l3 and is wound on a shaft l4, can be raised unhindered by means of a rope l5.
  • holding parts l6 are attached to the lateral shaft ends, on which the rope is fixed.
  • the mounting part 11 is connected to the cantilever arm 8 of the wall bracket 5 via two places, specifically via a first detachable screw connection l7 arranged near the wall 7 and a second connection, generally designated l8, which is designed as a two-armed lever (FIG. 2) , one end of which l9 engages in the groove 20 of the cantilever arm 8 by means of a T-shaped part and is fixed there by means of a clamp connection, which is generally designated 2l and is known per se.
  • the other end of the double lever l8 is also releasably fixed by means of a clamping connection schematically designated at 22 to a support lever designated overall as 23 and reaching downwards, the lower end of which carries a motor with a winding drum 24 for the cable l5 and by means of a support plate 25 for the wall 7 is provided.
  • the fulcrum of the double lever 18 is designed as a hinge 26, which is fixed to the mounting part 11.
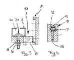
  • the first screw connection 17 is shown in more detail in FIG. 3.
  • the cantilever arm 8 has a profile which is double C-shaped in cross-section, into which the head of a hammer head screw, designated overall by 27, engages.
  • the nut 30, which is supported by a washer 19 and is screwed onto this screw 27, rests against a transverse web, designated overall by 28, which is fixed to the actual mounting part 11. By loosening the nut 30, the mounting part 11 can be pivoted about the hinge 26 ( Figures 1 and 2).
  • the mounting part 11 also has a guide device designated a total of 3l for the cable l5, which is provided with an endless roller chain 32 for guiding the cable of the hoist, the upper strand of which extends into the projecting region l2 of the motor part ll and is continuous in a vertical direction a horizontal direction is diverted. Furthermore, the horizontal area is at least up to the mounting position for the shaft bearing and the drive, which is located above the cantilever arm 8 of the wall bracket 5.
  • the lower run of the roller chain can run freely or be tensioned using a chain tensioner.
  • the roller chain 32 is guided on a sheet metal web designated 33 in total (FIG. 4).

Landscapes

  • Engineering & Computer Science (AREA)
  • Structural Engineering (AREA)
  • Architecture (AREA)
  • Civil Engineering (AREA)
  • Operating, Guiding And Securing Of Roll- Type Closing Members (AREA)
  • Perforating, Stamping-Out Or Severing By Means Other Than Cutting (AREA)
  • Surgical Instruments (AREA)
  • Forklifts And Lifting Vehicles (AREA)
  • Vehicle Body Suspensions (AREA)
  • Supplying Of Containers To The Packaging Station (AREA)
  • Telephone Function (AREA)
  • Power-Operated Mechanisms For Wings (AREA)
  • Types And Forms Of Lifts (AREA)
  • Spray Control Apparatus (AREA)
  • Techniques For Improving Reliability Of Storages (AREA)
  • Bidet-Like Cleaning Device And Other Flush Toilet Accessories (AREA)
  • Input Circuits Of Receivers And Coupling Of Receivers And Audio Equipment (AREA)

Abstract

Die Montagegerätschaft dient zum Anheben des auf eine Welle l4 aufgewickelten Panzers l3 eines Rolltors nebst Antrieb sowie Wellenlagerung, und zwar auf zwei beider­seits der Rolltoröffnung angebrachten Wandkonsolen 5. Hierbei ist je ein an jeder Wandkonsole 5 lösbar festzu­legendes Montageteil ll vorgesehen, welches von der Wand 7 weg gerichtet über Wandkonsole 5 vorspringt sowie zumindest in diesem Bereich mit einer Führungseinrich­tung 3l für das Seil l5 eines Hebezeugs versehen ist.

Description

  • Die Erfindung betrifft eine Montagegerätschaft zum Anhe­ben des vorzugsweise auf eine Welle aufgewickelten Pan­zers eines Rolltores gemäß dem Oberbegriff des Hauptan­spruches.
  • Solche Panzer sind bislang mittels eines Gabelstaplers angehoben und auf die Wandkonsolen abgelegt worden.
  • Abgesehen davon, daß nicht nur ein Gabelstapler zur Mon­tage notwendig ist, gestaltet sich die Montage des auf­gewickelten Panzers auch gefährlich, weil dieser von dem relativ schmalen Zinken des Staplers herunterfallen kann. Außerdem ist nach der Montage nicht sichergestellt, ob der aufgewickelte Panzer von den Wandkonsolen getragen wird, wenn dieser von dem Gabelstapler losgelassen wird.
  • Der Erfindung liegt die Aufgabe zugrunde, eine Montage­gerätschaft gemäß dem Oberbegriff des Hauptanspruchs so auszubilden, daß die Montage einfach und ohne Gabelstap­ler sowie gefahrlos mit gleichzeitiger Belastungsprobe der Wandkonsolen durchgeführt werden kann.
  • Diese Aufgabe wird bei einer Montagegerätschaft gemäß dem Oberbegriff des Hauptanspruchs erfindungsgemäß durch dessen kennzeichnende Merkmale gelöst.
  • Hierbei wird an der Wandkonsole das Montageteil festge­legt, welches mit einer Führungseinrichtung für das Seil eines Hebezeugs versehen ist und soweit über die Wandkonsole nach vorne vorspringt und diese nach oben überragt, so daß die seitlich über den Panzer vorstehende Welle vorne an der Wandkonsole vorbei angehoben werden kann. Die ausreichend bemessene Höhe dient dazu, die Welle mit auf­ gestecktem Antrieb auf der einen Seite und einer Wellenla­gerung auf der anderen Seite zugleich an der Wandkonso­le festzulegen. Diese beiden Teile werden daher auf die Welle aufgesteckt und mit nach oben angehoben.
  • Hat die aufgewickelte Welle ihre Höhe erreicht, so wird sie mittels der Führungseinrichtung von dem vorspringen­den Bereich in die Waagerechte umgelenkt und in Richtung der Wand gezogen. An der Montagestelle kann die Welle dann abgesenkt werden, wobei die aufgesteckte Lagerbuchse bzw. der Antrieb auf der Wandkonsole zur Anlage kommt.
  • Zweckmäßige Ausgestaltungen und Weiterbildungen der Er­findung sind in den Unteransprüchen gekennzeichnet.
  • Ein bevorzugtes Ausführungsbeispiel der Erfindung wird nachfolgend unter Bezugnahme auf die Zeichnung näher erläutert. In dieser zeigt:
    • Fig. l Die Wandkonsole und das Montageteil, in sche­matischer Seitenansicht;
    • Fig. 2 die Wandkonsole gemäß Fig. l in Draufsicht;
    • Fig. 3 einen Schnitt III-III gemäß Fig. l und
    • Fig. 4 einen Schnitt IV-IV gemäß Fig. l.
  • Die mit Befestigungsbohrungen versehene Wandkonsole 5 weist eine Grundplatte 6 zur Anlage an der Wand 7 sowie einen nach vorne vorspringenden Kragarm 8 sowie eine Stützstrebe 9 auf, die miteinander etwa eine dreieck­förmigen Zwischenraum l0 einschließen.
  • An dieser Wandkonsole 5 wird das insgesamt mit ll be­zeichnete Montageteil angebracht. Das scheibenförmige ausgebildete eigentliche Montageteil weist einen Vor­sprung l2 auf, der über das vordere Ende des Kragarms 8 so weit vorragt, daß der insgesamt mit l3 bezeichne­te auf eine Welle l4 aufgewickelte Panzer eines Roll­tores ungehindert mittels eines Seils l5 angehoben werden kann. Hierbei sind auf die seitlichen Wellenen­den Halteteile l6 aufgesteckt, an denen das Seil fest­gelegt ist.
  • Das Montageteil ll ist über zwei Stellen mit dem Krag­arm 8 der Wandkonsole 5 verbunden, und zwar über ein nahe der Wand 7 angeordnete erste lösbare Schraubver­bindung l7 und eine zweite, insgesamt mit l8 bezeich­nete Verbindung, die als zweiarmiger Hebel (Fig. 2) ausgebildet ist, dessen eines Ende l9 mittels eines T-förmigen Teils in die Nut 20 des Kragarms 8 eingreift und dort mittels einer insgesamt mit 2l bezeichneten und an sich bekannten Klemmverbindung festgelegt ist. Das andere Ende des Doppelhebels l8 ist ebenfalls mit­tels einer mit 22 schematisch bezeichneten Klemmverbin­dung lösbar an einem insgesamt mit 23 bezeichneten und nach unten reichenden Stützhebel festgelegt, dessen un­teres Ende einen Motor mit Aufwickeltrommel 24 für das Seil l5 trägt sowie mittels einer Abstützplatte 25 für die Wand 7 versehen ist. Der Drehpunkt des Doppelhebels l8 ist als Scharnier 26 ausgebildet, das an dem Montage­teil ll festgelegt ist.
  • Die erste Schraubverbindung l7 ist näher in Fig. 3 dar­gestellt. Der Kragarm 8 weist ein im Querschnitt doppelt C-förmiges Profil auf, in das der Kopf einer insgesamt mit 27 bezeichneten Hammerkopfschraube eingreift. Die über eine Unterlagscheibe l9 abgestützte Mutter 30, die auf diese Schraube 27 aufgeschraubt ist, liegt an einem insgesamt mit 28 bezeichneten Quersteg an, der an dem eigentlichen Montageteil ll festgelegt ist. Durch Lösen der Mutter 30 kann das Montageteil ll um das Scharnier 26 (Figuren l und 2) verschwenkt werden.
  • Das Montageteil ll weist ferner für das Seil l5 eine insgesamt 3l bezeichnete Führungseinrichtung auf, die mit einer endlosen Rollenkette 32 zur Führung des Seils des Hebezeug versehen ist, deren Obertrum bis in den vorspringenden Bereich l2 des Motageteils ll reicht und von einer vertikalen Richtung stetig in eine horizonta­le Richtung umgelenkt wird. Ferner ist der horizontale Bereich wenigstens bis zu der Montagelage für das Wel­lenlager und den Antrieb geführt, die sich oberhalb des Kragarms 8 der Wandkonsole 5 befindet. Das Untertrum der Rollenkette kann frei laufen oder mittels eines Ket­tenspanners gespannt sein. Die Rollenkette 32 ist auf einen insgesamt mit 33 bezeichneten Blechsteg geführt (Fig.4).

Claims (16)

1. Montagegerätschaft zum Anheben des vorzugsweise auf eine Welle (l4) aufgewickelten Panzers (l3) eines Rolltores nebst Antrieb sowie Wellenlagerung auf zwei beiderseits der Rolltoröffnung anzubringenden Wandkonsolen (5), gekennzeichnet durch je ein an jeder Wandkonsole (5) lösbar festzulegendes Montageteil (ll), das von der Wand (7) weggerichtet über die Wandkonsole (5) vorspringt sowie zumindest in diesem Bereich mit einer Führungs­einrichtung (3l) für das Seil (l5) eines Hebezeuges versehen ist.
2. Gerätschaft nach Anspruch l, dadurch ge­kennzeichnet, daß die Führungseinrich­tung (3l) eine endlose Rollenkette (32) zur Führung des Seils (l5) aufweist, deren Obertrum von dem vor­springenden Bereich (l2) des Montageteils (ll) ste­tig von einer vertikalen in eine horizontale Rich­tung umgelenkt ist sowie horizontal bis wenigstens zu der Montagelage für die Welle bzw. die Wellen­lagerung und den Antrieb geführt ist.
3. Gerätschaft nach Anspruch l oder 2, dadurch gekennzeichnet, daß die Rollenkette (32) auf einem Blechsteg (33) geführt ist.
4. Gerätschaft nach einem der Ansprüche l bis 3, da­durch gekennzeichnet, daß das Untertrum der Rollenkette (32) bereichsweise frei gespannt sein kann und in diesem Bereich ein Ketten­spanner vorgesehen ist.
5. Gerätschaft nach einem der Ansprüche l bis 4, da­durch gekennzeichnet, daß das Montageteil (ll) mittels zumindest einer Schraub­verbindung (l7) lösbar an der Wandkonsole (5) fest­gelegt ist.
6. Gerätschaft nach Anspruch 5, dadurch ge­kennzeichnet, daß die erste Schraub­verbindung (l7) in der nähe der an der Wand (7) festzulegenden Grundplatte (6) an dem Kragarm (8) angebracht ist.
7. Gerätschaft nach Anspruch 6, dadurch ge­kennzeichnet, daß das Montageteil (ll) mittels der ersten Schraubverbindung (l7) absenk­bar ausgebildet ist.
8. Gerätschaft nach einem der Ansprüche l bis 7, da­durch gekennzeichnet, daß das Montageteil (ll) an dem Ende des Kragarms (8) mit­tels einer zweiten Verbindung festgelegt ist.
9. Gerätschaft nach Anspruch 8, dadurch ge­kennzeichnet, daß die zweite Verbin­dung zu dem Kragarm (8) als lösbare Klemmverbindung ausgebildet ist.
l0. Gerätschaft nach Anspruch 8 oder 9, dadurch gekennzeichnet, daß die zweite Ver­bindung an dem Montageteil (ll) scharnierartig an­gelenkt ist.
11. Gerätschaft nach Anspruch l0, dadurch ge­kennzeichnet, daß das Scharnier eine waagerechte Achse aufweist.
12. Gerätschaft nach einem der Ansprüche l bis ll, dadurch gekennzeichnet, daß die zweite Verbindung als zweiarmiger Hebel (l8) ausgebildet ist, dessen Drehpunkt das Scharnier (26) für das Montageteil (ll) bildet.
13. Gerätschaft nach Anspruch l2, dadurch ge­kennzeichnet, daß das obere Ende (l9) des zweiarmigen Hebels (l8) an dem Kragarm (8) festgelegt ist.
14. Gerätschaft nach Anspruch l2, dadurch ge­kennzeichnet, daß das untere Ende des zweiarmigen Hebels (l8) lösbar an einem nach unten reichenden Stützhebel (23) festlegbar ist.
15. Gerätschaft nach Anspruch l4, dadurch ge­kennzeichnet, daß das untere Ende des Stützhebels (23) eine Abstützplatte (25) für die Wand aufweist und mit einem Motor (24) nebst Trom­mel für das Seil (l5) versehen ist.
16. Gerätschaft nach einem der Ansprüche l bis l5, dadurch gekennzeichnet, daß der Stützhebel (23) einen in Gebrauchslage an der Un­terseite der Grundplatte (6) der Wandkonsole (5), form- und/oder kraftschlüssig zur Anlage kommenden Stützarm aufweisen.
EP87103591A 1986-03-27 1987-03-12 Montagegerät Expired - Lifetime EP0238944B1 (de)

Priority Applications (1)

Application Number Priority Date Filing Date Title
AT87103591T ATE64173T1 (de) 1986-03-27 1987-03-12 Montagegeraet.

Applications Claiming Priority (2)

Application Number Priority Date Filing Date Title
DE19863610590 DE3610590A1 (de) 1986-03-27 1986-03-27 Montagegeraetschaft
DE3610590 1986-03-27

Publications (3)

Publication Number Publication Date
EP0238944A2 true EP0238944A2 (de) 1987-09-30
EP0238944A3 EP0238944A3 (en) 1988-03-02
EP0238944B1 EP0238944B1 (de) 1991-06-05

Family

ID=6297498

Family Applications (1)

Application Number Title Priority Date Filing Date
EP87103591A Expired - Lifetime EP0238944B1 (de) 1986-03-27 1987-03-12 Montagegerät

Country Status (4)

Country Link
EP (1) EP0238944B1 (de)
AT (1) ATE64173T1 (de)
DE (2) DE3610590A1 (de)
DK (1) DK168232B1 (de)

Cited By (4)

* Cited by examiner, † Cited by third party
Publication number Priority date Publication date Assignee Title
FR2819543A1 (fr) 2001-01-12 2002-07-19 Hormann Kg Dissen Dispositif et procede de montage pour soulever le blindage d'une porte roulante
GB2403206A (en) * 2003-05-31 2004-12-29 Rsl Bristol Ltd Roller shutter installation aid
EP1908915A2 (de) 2006-09-28 2008-04-09 Hörmann KG Dissen Montageverfahren für Rolltor
DE102010031733A1 (de) 2010-07-21 2012-01-26 Hörmann KG Antriebstechnik Montageverfahren und Montagehilfsgerät für ein Rolltor

Families Citing this family (1)

* Cited by examiner, † Cited by third party
Publication number Priority date Publication date Assignee Title
DE10127015A1 (de) * 2001-01-12 2002-07-18 Hoermann Kg Dissen Montagevorrichtung zum Anheben eines Panzers eines Rolltors sowie Verwendung derselben

Family Cites Families (2)

* Cited by examiner, † Cited by third party
Publication number Priority date Publication date Assignee Title
US3672492A (en) * 1971-02-09 1972-06-27 North American Door Corp Factory-assembled overhead door
FR2550270B1 (fr) * 1983-08-05 1988-06-03 Accoplas Fermetures Dispositif pour le montage et le reglage de l'arbre d'enroulement d'un volet roulant

Cited By (7)

* Cited by examiner, † Cited by third party
Publication number Priority date Publication date Assignee Title
FR2819543A1 (fr) 2001-01-12 2002-07-19 Hormann Kg Dissen Dispositif et procede de montage pour soulever le blindage d'une porte roulante
GB2403206A (en) * 2003-05-31 2004-12-29 Rsl Bristol Ltd Roller shutter installation aid
GB2403206B (en) * 2003-05-31 2006-06-28 Rsl Bristol Ltd Roller shutter assembly installation
EP1908915A2 (de) 2006-09-28 2008-04-09 Hörmann KG Dissen Montageverfahren für Rolltor
DE102006046008B3 (de) * 2006-09-28 2008-04-30 Hörmann Kg Dissen Montageverfahren für Rolltor und ein solches Rolltor
DE102010031733A1 (de) 2010-07-21 2012-01-26 Hörmann KG Antriebstechnik Montageverfahren und Montagehilfsgerät für ein Rolltor
WO2012022567A1 (de) 2010-07-21 2012-02-23 Hörmann KG Antriebstechnik Montageverfahren und montagehilfsvorrichtung für ein rolltor

Also Published As

Publication number Publication date
EP0238944A3 (en) 1988-03-02
DE3770502D1 (de) 1991-07-11
ATE64173T1 (de) 1991-06-15
DK153287A (da) 1987-09-28
DE3610590A1 (de) 1987-10-01
DK168232B1 (da) 1994-02-28
EP0238944B1 (de) 1991-06-05
DE3610590C2 (de) 1989-05-03
DK153287D0 (da) 1987-03-26

Similar Documents

Publication Publication Date Title
EP0501140A1 (de) In einem Aufzugsschacht verfahrbares Montagegerüst zur Montage von Schachtausrüstung
EP0238944B1 (de) Montagegerät
DE19812959A1 (de) Hubvorrichtung, insbesondere zum Einbau in Möbeln
DE4209535C2 (de) Hebevorrichtung für ein abnehmbares Stahlverdeck (Hardtop) eines Kraftfahrzeugs
DE2650697C3 (de) Abschleppkran für Kraftfahrzeuge
DE19508969A1 (de) Vorrichtung zum Abheben und Aufsetzen eines Hardtops eines Kraftfahrzeuges
DE8608523U1 (de) Montagegerätschaft
DE2406330A1 (de) Vorrichtung zum ein- und ausbau des antriebsaggregates von kettenfahrzeugen
DE2925955A1 (de) Anordnung zum einrammen von fussstuetzen fuer maste in die erde
DE2602745A1 (de) Hebevorrichtung zum heben und aufrichten langgestreckter koerper
DE7339749U (de) Vorrichtung zum Einführen von gebündelten Kabeln in Kabelverlegemaschinen
DE3422976A1 (de) Stapelstaender
DE3801057A1 (de) Transportvorrichtung fuer eine haengefoerdervorrichtung
DE2811505C2 (de) Entspeicherungskratzer
DE933679C (de) Vorrichtung, die dem Verkehr mit dem Schiff dient
DE2134629A1 (de) Tragbare motorsaege
DE9406439U1 (de) Vorrichtung zum selbsttätigen Anheben zum Aufhängen eines Elektrokettenzuges
AT403675B (de) Hebevorrichtung an einem holzspaltgerät
DE8136572U1 (de) Vorrichtung zum umscheren des hubseils bei kranen
DE1242349B (de) Vorrichtung zum Einbauen unverglaster Fensterrahmen in Gebaeuden
DE29711884U1 (de) Träger und Vorrichtung zum Einbau eines Trägers
DE658428C (de) Schutzvorrichtung an Schiffsluken gegen Sturz in den Laderaum
DE3015338A1 (de) Vorrichtung zum handhaben von containern
DE3915501A1 (de) Transportable baueinheit mit einer seilwinde zum ziehen einer last
DE2638578A1 (de) Vorrichtung zum ausziehen von seilen an hochspannungsfreileitungsmasten

Legal Events

Date Code Title Description
PUAI Public reference made under article 153(3) epc to a published international application that has entered the european phase

Free format text: ORIGINAL CODE: 0009012

AK Designated contracting states

Kind code of ref document: A2

Designated state(s): AT BE CH DE ES FR GB GR IT LI LU NL SE

RBV Designated contracting states (corrected)

Designated state(s): AT BE CH DE FR GB IT LI NL SE

PUAL Search report despatched

Free format text: ORIGINAL CODE: 0009013

AK Designated contracting states

Kind code of ref document: A3

Designated state(s): AT BE CH DE FR GB IT LI NL SE

17P Request for examination filed

Effective date: 19880518

17Q First examination report despatched

Effective date: 19890227

GRAA (expected) grant

Free format text: ORIGINAL CODE: 0009210

AK Designated contracting states

Kind code of ref document: B1

Designated state(s): AT BE CH DE FR GB IT LI NL SE

REF Corresponds to:

Ref document number: 64173

Country of ref document: AT

Date of ref document: 19910615

Kind code of ref document: T

REF Corresponds to:

Ref document number: 3770502

Country of ref document: DE

Date of ref document: 19910711

ET Fr: translation filed
ITF It: translation for a ep patent filed
GBT Gb: translation of ep patent filed (gb section 77(6)(a)/1977)
PLBE No opposition filed within time limit

Free format text: ORIGINAL CODE: 0009261

STAA Information on the status of an ep patent application or granted ep patent

Free format text: STATUS: NO OPPOSITION FILED WITHIN TIME LIMIT

26N No opposition filed
EAL Se: european patent in force in sweden

Ref document number: 87103591.1

PGFP Annual fee paid to national office [announced via postgrant information from national office to epo]

Ref country code: SE

Payment date: 20000307

Year of fee payment: 14

PGFP Annual fee paid to national office [announced via postgrant information from national office to epo]

Ref country code: BE

Payment date: 20000331

Year of fee payment: 14

PG25 Lapsed in a contracting state [announced via postgrant information from national office to epo]

Ref country code: SE

Free format text: LAPSE BECAUSE OF NON-PAYMENT OF DUE FEES

Effective date: 20010313

PGFP Annual fee paid to national office [announced via postgrant information from national office to epo]

Ref country code: AT

Payment date: 20010314

Year of fee payment: 15

PGFP Annual fee paid to national office [announced via postgrant information from national office to epo]

Ref country code: NL

Payment date: 20010330

Year of fee payment: 15

PG25 Lapsed in a contracting state [announced via postgrant information from national office to epo]

Ref country code: BE

Free format text: LAPSE BECAUSE OF NON-PAYMENT OF DUE FEES

Effective date: 20010331

BERE Be: lapsed

Owner name: HORMANN K.G. BIELEFELD

Effective date: 20010331

EUG Se: european patent has lapsed

Ref document number: 87103591.1

REG Reference to a national code

Ref country code: GB

Ref legal event code: IF02

PG25 Lapsed in a contracting state [announced via postgrant information from national office to epo]

Ref country code: AT

Free format text: LAPSE BECAUSE OF NON-PAYMENT OF DUE FEES

Effective date: 20020312

PG25 Lapsed in a contracting state [announced via postgrant information from national office to epo]

Ref country code: NL

Free format text: LAPSE BECAUSE OF NON-PAYMENT OF DUE FEES

Effective date: 20021001

NLV4 Nl: lapsed or anulled due to non-payment of the annual fee

Effective date: 20021001

PGFP Annual fee paid to national office [announced via postgrant information from national office to epo]

Ref country code: GB

Payment date: 20030305

Year of fee payment: 17

PG25 Lapsed in a contracting state [announced via postgrant information from national office to epo]

Ref country code: GB

Free format text: LAPSE BECAUSE OF NON-PAYMENT OF DUE FEES

Effective date: 20040312

PGFP Annual fee paid to national office [announced via postgrant information from national office to epo]

Ref country code: CH

Payment date: 20040315

Year of fee payment: 18

PGFP Annual fee paid to national office [announced via postgrant information from national office to epo]

Ref country code: DE

Payment date: 20040329

Year of fee payment: 18

PGFP Annual fee paid to national office [announced via postgrant information from national office to epo]

Ref country code: FR

Payment date: 20040330

Year of fee payment: 18

GBPC Gb: european patent ceased through non-payment of renewal fee

Effective date: 20040312

PG25 Lapsed in a contracting state [announced via postgrant information from national office to epo]

Ref country code: IT

Free format text: LAPSE BECAUSE OF NON-PAYMENT OF DUE FEES;WARNING: LAPSES OF ITALIAN PATENTS WITH EFFECTIVE DATE BEFORE 2007 MAY HAVE OCCURRED AT ANY TIME BEFORE 2007. THE CORRECT EFFECTIVE DATE MAY BE DIFFERENT FROM THE ONE RECORDED.

Effective date: 20050312

PG25 Lapsed in a contracting state [announced via postgrant information from national office to epo]

Ref country code: LI

Free format text: LAPSE BECAUSE OF NON-PAYMENT OF DUE FEES

Effective date: 20050331

Ref country code: CH

Free format text: LAPSE BECAUSE OF NON-PAYMENT OF DUE FEES

Effective date: 20050331

PG25 Lapsed in a contracting state [announced via postgrant information from national office to epo]

Ref country code: DE

Free format text: LAPSE BECAUSE OF NON-PAYMENT OF DUE FEES

Effective date: 20051001

REG Reference to a national code

Ref country code: CH

Ref legal event code: PL

PG25 Lapsed in a contracting state [announced via postgrant information from national office to epo]

Ref country code: FR

Free format text: LAPSE BECAUSE OF NON-PAYMENT OF DUE FEES

Effective date: 20051130

REG Reference to a national code

Ref country code: FR

Ref legal event code: ST

Effective date: 20051130