EP0228635A2 - Elektronische Uhr - Google Patents

Elektronische Uhr Download PDF

Info

Publication number
EP0228635A2
EP0228635A2 EP86117343A EP86117343A EP0228635A2 EP 0228635 A2 EP0228635 A2 EP 0228635A2 EP 86117343 A EP86117343 A EP 86117343A EP 86117343 A EP86117343 A EP 86117343A EP 0228635 A2 EP0228635 A2 EP 0228635A2
Authority
EP
European Patent Office
Prior art keywords
display device
solar cell
memory
cell arrangement
electronic
Prior art date
Legal status (The legal status is an assumption and is not a legal conclusion. Google has not performed a legal analysis and makes no representation as to the accuracy of the status listed.)
Granted
Application number
EP86117343A
Other languages
English (en)
French (fr)
Other versions
EP0228635B1 (de
EP0228635B2 (de
EP0228635A3 (en
Inventor
Adolf Dr. Prof. Goetzberger
Current Assignee (The listed assignees may be inaccurate. Google has not performed a legal analysis and makes no representation or warranty as to the accuracy of the list.)
Fraunhofer Gesellschaft zur Foerderung der Angewandten Forschung eV
Original Assignee
Fraunhofer Gesellschaft zur Foerderung der Angewandten Forschung eV
Priority date (The priority date is an assumption and is not a legal conclusion. Google has not performed a legal analysis and makes no representation as to the accuracy of the date listed.)
Filing date
Publication date
Family has litigation
First worldwide family litigation filed litigation Critical https://patents.darts-ip.com/?family=6291622&utm_source=google_patent&utm_medium=platform_link&utm_campaign=public_patent_search&patent=EP0228635(A2) "Global patent litigation dataset” by Darts-ip is licensed under a Creative Commons Attribution 4.0 International License.
Application filed by Fraunhofer Gesellschaft zur Foerderung der Angewandten Forschung eV filed Critical Fraunhofer Gesellschaft zur Foerderung der Angewandten Forschung eV
Priority to AT86117343T priority Critical patent/ATE65334T1/de
Publication of EP0228635A2 publication Critical patent/EP0228635A2/de
Publication of EP0228635A3 publication Critical patent/EP0228635A3/de
Publication of EP0228635B1 publication Critical patent/EP0228635B1/de
Application granted granted Critical
Publication of EP0228635B2 publication Critical patent/EP0228635B2/de
Anticipated expiration legal-status Critical
Expired - Lifetime legal-status Critical Current

Links

Images

Classifications

    • GPHYSICS
    • G04HOROLOGY
    • G04CELECTROMECHANICAL CLOCKS OR WATCHES
    • G04C10/00Arrangements of electric power supplies in time pieces
    • G04C10/02Arrangements of electric power supplies in time pieces the power supply being a radioactive or photovoltaic source

Definitions

  • the invention relates to an electronic watch with a; Solar cell arrangement, with a memory for that of. electrical energy supplied to the solar cell arrangement, with a clock connected to the memory. circuit and with a display device.
  • the invention has for its object to provide an electronic clock of the type mentioned, which is characterized by a high power reserve.
  • This object is achieved in that the display device for direct power supply is connected directly to the solar cell arrangement.
  • the fact that the power supply is separated from the watch electronics and the display results in substantial energy savings and thus a higher power reserve.
  • the display device which has the greatest energy requirement in particular in the case of larger clocks, is operated directly via the solar cells of the solar cell arrangement without any intermediate storage. This ensures that the display device is only in operation if the lighting is also sufficient for reading it.
  • the clock circuit is operated with an energy store, either a battery or a capacitor, which ensures that the time function is retained.
  • an energy store either a battery or a capacitor, which ensures that the time function is retained.
  • a mechanical pointer mechanism can also be used.
  • a stepper motor is provided which is controlled in such a way that, after it has come to a standstill overnight, it brings the pointers of the pointer mechanism into the correct position when illuminated.
  • the watch can also be equipped with an electronic calendar.
  • the solar cell arrangement is used exclusively for feeding the display device and not for recharging the battery.
  • the electronic clock shown in Fig. 1 has. via a quartz oscillator 1, which serves as a frequency reference for a clock circuit 2, by means of which the time keeping function of the electronic clock is ensured.
  • the clock circuit 2 are assigned actuation switches, not shown in the drawing, which allow the clock circuit 2 to be set to a specific time, a specific date, a specific day of the week, a wake-up time or the like.
  • actuation switches not shown in the drawing, which allow the clock circuit 2 to be set to a specific time, a specific date, a specific day of the week, a wake-up time or the like.
  • components for stopwatch functions that may be present and acoustic displays for a time and / or alarm times are also not shown. It is self-evident to the person skilled in the art that the clock circuit 2 can be equipped with such additional circuits or functions.
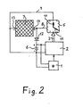
  • the clock circuit 2 is connected via a line 3 to a display device, which in the embodiment shown in FIG. 1 is a liquid crystal display 4 and in the embodiment of the invention shown in FIG. 2 is a mechanical pointer mechanism 5 with pointers 10 and 11.
  • a stepping motor with control electronics is assigned to the mechanical pointer mechanism 5 shown schematically in FIG. 2.
  • the quartz oscillator 1 and the clock circuit 2 are supplied with electrical energy via an electrical memory 6.
  • the electrical storage 6 is preferably a: rechargeable battery or a low-voltage capacitor with a high capacity. ;
  • a solar cell arrangement 7 shown in FIGS. 1 and 2 is connected via lines 8 and 9 to the liquid crystal display 4 or the mechanical pointer mechanism 5 in order to supply the liquid crystal display 4 or the pointer mechanism 5 with electrical energy.
  • the liquid crystal display 4 or the pointer mechanism 5 is operated directly via the solar cell arrangement 7 without interposing the electrical memory 6. Since the display device has a greater energy requirement, particularly in the case of larger clocks, a substantial energy saving is achieved by disconnecting the power supply for the clock electronics and the display because the display in the form of the liquid crystal display 4 or the mechanical pointer mechanism 5 is only in operation when the lighting is on is also sufficient for reading.
  • the clock circuit 2 is operated with the aid of the electrical memory 6, which can be either a battery or a capacitor, ensuring that the time function of the clock circuit 2 is retained.
  • a diode 12 is provided in the exemplary embodiments shown in FIGS. 1 and 2.
  • the diode 12 is connected with its anode to the line 8 and with its cathode to the positive pole of the electrical store 6, in particular an accumulator.
  • This polarity ensures that for charging the memory 6 electrons from the negative pole 13 of the solar cell arrangement 7 can reach the negative pole of the electrical memory 6 and from the positive pole of the electrical memory 6 via the diode 12 to the positive pole 14 of the solar cell 7.
  • the electrical store 6 is charged or recharged.
  • the store 6 is discharged via the diode 12
  • the diode 12 thus causes the electrical store 6 charged by the solar cell arrangement 7 only the electronics, that is to say in particular the quartz oscillator 1 and the clock circuit 2, and that the display device, in particular the liquid crystal display 4 or the mechanical pointer mechanism 5 with a stepper motor, is fed directly from the solar cell arrangement 7 without memory.
  • a non-rechargeable battery is used as the energy source instead of an electrical storage 6, for example in the form of a rechargeable battery.
  • the solar cell arrangement 7 is used in such an electronic watch exclusively for feeding the display device, in particular the liquid crystal display 4 or the mechanical pointer mechanism 5 and not for loading the memory 6. Therefore, in the last-mentioned exemplary embodiment there is no connection between the line 8 and the non-rechargeable battery is provided so that the diode 12 is omitted.

Landscapes

  • Engineering & Computer Science (AREA)
  • Power Engineering (AREA)
  • Physics & Mathematics (AREA)
  • General Physics & Mathematics (AREA)
  • Electromechanical Clocks (AREA)
  • Organic Low-Molecular-Weight Compounds And Preparation Thereof (AREA)
  • Polysaccharides And Polysaccharide Derivatives (AREA)
  • Mechanical Treatment Of Semiconductor (AREA)

Abstract

Eine solarbetriebene elektronische Uhr verfügt über eine Anzeigeeinrichtung (4), eine Elektronik (1, 2), einen elektrischen Speicher (6) und eine Solarzellenanordnung (7). Der von der Solarzellenanordnung (7) ladbare elektrische Speicher (6) versorgt nur die Elektronik (1, 2), während die Anzeigeeinrichtung (4) ohne Speicher direkt mit der Solarzellenanordnung (7) verschaltet ist. Das Nachladen des elektrischen Speichers (6) erfolgt über eine Diode (12).

Description

  • Die Erfindung betrifft eine elektronische Uhr mit einer; Solarzellenanordnung, mit einem Speicher für die von. der Solarzellenanordnung gelieferte elektrische Ener-' gie, mit einem an den Speicher angeschlossenen Uhren-.' schaltkreis und mit einer Anzeigevorrichtung.
  • Elektronische Uhren mit Quarzoszillator gehören zum Stand der Technik. Der Leistungsbedarf der elektronischen Schaltung und der Displays wurde in den vergangenen Jahren laufend verringert. Üblicherweise werden solche Uhren mit Hilfe von Primärbatterien mit Energie versorgt. Armbanduhren, die eine wiederaufladbare Batterie und Solarzellen zur Aufladung enthalten, sind ebenfalls bekannt. In jüngster Zeit sind auch elektronische Uhren mit Niedervoltkondensatoren hoher Kapazität auf den Markt gekommen. Die Kondensatoren solcher Uhren werden mit im Zifferblatt befindlichen Solarzellen aufgeladen und gewährleisten eine Gangreserve von 50 Stunden. Dies erweist sich jedoch als zu wenig für die Wintersaison in der Bundesrepublik Deutschland und in geographisch ähnlich gelegenen Ländern.
  • Der Erfindung liegt die Aufgabe zugrunde, eine elektronische Uhr der eingangs genannten Art zu schaffen, die sich durch eine hohe Gangreserve auszeichnet.
  • Diese Aufgabe wird erfindungsgemäß dadurch gelöst, daß die Anzeigevorrichtung zur unmittelbaren Stromversorgung direkt an die Solarzellenanordnung angeschlossen ist.
  • Dadurch, daß die Stromversorgung von der Uhrenelektronik und vom Display getrennt wird, ergibt sich eine wesentliche Energieeinsparung und damit eine höhere Gangreserve. Die Anzeigevorrichtung, die insbesondere bei größeren Uhren den größten Energiebedarf hat, wird direkt über die Solarzellen der Solarzellenanordnung ohne zwischengeschaltete Speicher betrieben. Dadurch wird erreicht, daß die Anzeigeeinrichtung nur in Betrieb ist, wenn die Beleuchtung auch zu deren Ablesung ausreicht. Der Uhrenschaltkreis wird dagegen mit einem Energiespeicher, entweder einer Batterie oder einem Kondensator betrieben, wodurch gewährleistet wird, daß die Zeitfunktion erhalten bleibt. Statt eines Flüssigkristalldisplays, das wegen des geringeren Energieverbrauchs vorzuziehen ist, kann auch ein mechanisches Zeigerwerk eingesetzt werden. In diesem Fall ist ein Schrittmotor vorgesehen, der so angesteuert ist, daß er nach dem Stillstand über Nacht die Zeiger des Zeigerwerks bei Beleuchtung in die richtige Position bringt. Selbstverständlich kann die Uhr auch mit einem elektronischen Kalender ausgerüstet sein.
  • Wenn statt einer wiederaufladbaren Batterie eine nichtwiederaufladbare Batterie verwendet wird, dient die Solarzellenanordnung ausschließlich zur Speisung der Anzeigeeinrichtung und nicht zum Nachladen der Batterie.
  • Nachfolgend wird die Erfindung anhand der Zeichnung näher beschrieben. Es zeigen:
    • Fig. 1 ein erstes Ausführungsbeispiel der Erfindung mit einem Flüssigkristalldisplay und
    • Fig. 2 ein weiteres Ausführungsbeispiel der Erfindung mit einem mechanischen Zeigerwerk.
  • Die in Fig. 1 dargestellte elektronische Uhr verfügt. über einen Quarzoszillator 1, der als Prequenzreferenz für einen Uhrenschaltkreis 2 dient, durch den die Zeithaltefunktion der elektronischen Uhr gewährleistet wird.
  • Dem Uhrenschaltkreis 2 sind in der Zeichnung nicht dargestellte Betätigungsschalter zugeordnet, die es gestatten den Uhrenschaltkreis 2 auf eine bestimmte Uhrzeit, ein bestimmtes Datum, einen bestimmten Wochentag, eine Weckzeit oder dergleichen zu setzen. Zur Vereinfachung der Zeichnung sind weiterhin Bauelemente für gegebenenfalls vorhandene Stopuhrenfunktionen sowie akustische Anzeigen für eine Uhrzeit und/oder Alarmzeiten nicht dargestellt. Für den Fachmann ist es selbstverständlich, daß der Uhrenschaltkreis 2 mit derartigen zusätzlichen Schaltkreisen oder Funktionen ausgestattet sein kann.
  • Der Uhrenschaltkreis 2 ist über eine Leitung 3 mit einer Anzeigevorrichtung verbunden, die bei dem in Fig. 1 dargestellten Ausführungsbeispiel ein Flüssigkristalldisplay 4 und bei dem in Fig. 2 dargestellten Ausführungsbeispiel der Erfindung ein mechanisches Zeigerwerk 5 mit Zeigern 10 und 11 ist.
  • Dem in Fig. 2 schematisch dargestellten mechanischen Zeigerwerk 5 ist ein Schrittmotor mit einer Ansteuerelektronik zugeordnet.
  • Wie man in den Figuren 1 und 2 erkennt, werden der, Quarzoszillator 1 und der Uhrenschaltkreis 2 über einen elektrischen Speicher 6 mit elektrischer Energie versorgt. Der elektrische Speicher 6 ist vorzugsweise eine: wiederaufladbare Batterie oder ein Niedervoltkondensator mit hoher Kapazität. ;
  • Eine in den Figuren 1 und 2 dargestellte Solarzellenanordnung 7 ist über Leitungen 8 und 9 mit dem Flüssigkristalldisplay 4, bzw. dem mechanischen Zeigerwerk 5 verbunden, um das Flüssigkristalldisplay 4 bzw. das Zeigerwerk 5 mit elektrischer Energie zu versorgen. Auf diese Weise wird das Flüssigkristalldisplay 4 bzw. das Zeigerwerk 5, direkt über die Solarzellenanordnung 7 ohne Zwischenschaltung des elektrischen Speichers 6 betrieben. Da die Anzeigevorrichtung insbesondere bei größeren Uhren einen größeren Energiebedarf hat, wird durch Trennen der Stromversorgung für die Uhrenelektronik und das Display eine wesentliche Energieeinsparung erreicht, weil das Display in Gestalt des Flüssigkristalldisplays 4 oder des mechanischen Zeigerwerks 5 nur dann in Betrieb ist, wenn die Beleuchtung auch zur Ablesung ausreicht.
  • Der Uhrenschaltkreis 2 wird dagegen mit Hilfe des elektrischen Speichers 6, der entweder eine Batterie oder ein Kondensator sein kann, betrieben wobei gewährleistet wird, daß die Zeitfunktion des Uhrenschaltkreises 2 erhalten bleibt.
  • Wenn ein mechanisches Zeigerwerk 5 gemäß Fig. 2 mit einem zugeordneten Schrittmotor verwendet wird, ist es erforderlich, nach einem Stillstand über Nacht die Zeiger 10, 11 bei Beleuchtung in die richtige, der vom Uhrenschaltkreis 2 über die Leitung 3 mitgeteilten Uhrzeit zugeordnete Position zu bringen. Dies geschieht bei dem in Fig. 2 schematisch dargestellen Ausführungsbeispiel mit einer Ansteuerelektronik des Schrittmotors, die beim Auftreten einer ausreichend hohen Spannung an den Leitungen 8 und 9 den Schrittmotor und die Zeiger 10 und 11 solange nachführt, bis deren Position mit der über die Leitung 3 gelieferten Zeit übereinstimmt.
  • Zur Trennung der Stromversorgung der Uhrenelektronik und des Displays ist bei den in den Fig. 1 und 2 dargestellten Ausführungsbeispielen eine Diode 12 vorgesehen. Bei der in der Zeichnung beispielsweise eingetragenen Polarität für die Solarzellenanordnung 7 und den elektrischen Speicher 6 ist die Diode 12 mit ihrer Anode mit der Leitung 8 und mit ihrer Kathode mit dem Pluspol des elektrischen Speichers 6, insbesondere eines Akkumulators verbunden. Durch diese Polung wird erreicht, daß zum Laden des Speichers 6 Elektronen vom Minuspol 13 der Solarzellenanordnung 7 zum Minuspol des elektrischen Speichers 6 und vom Pluspol des elektrischen Speichers 6 über die Diode 12 zum Pluspol 14 der Solarzelle 7 gelangen können. Wenn die zwischen dem Minuspol 13 und dem Pluspol 14 vorhandene Spannung der Solarzellenanordnung 7 die Spannung des elektrischen Speichers 6 um mehr als die Schwellenspannung der Diode 12 übersteigt, erfolgt ein Aufladen oder Nachladen des elektrischen Speichers 6. Ein Entladen des Speichers 6 über die Diode 12 zum Speisen des Flüssigkristalldisplays 4 oder des mechanischen Zeigerwerks 5 mit elektrischem Strom ist jedoch nicht möglich, weil für diesen Stromkreis durch die Diode 12 eine Sperre gebildet ist. Die Diode 12 bewirkt somit, daß der von der Solarzellenanordnung 7 geladene elektrische Speicher 6 nur die Elektronik, das heißt insbesondere den Quarzoszillator 1 und den Uhrenschaltkreis 2 versorgt und daß die Anzeigeeinrichtung, insbesondere das Flüssigkristalldisplay 4 oder das mechanische Zeigerwerk 5 mit einem Schrittmotor, ohne Speicher direkt von der Solarzellenanordnung 7 gespeist ist.
  • Bei einem dritten, in der Zeichnung nicht dargestellten Ausführungsbeispiel der Erfindung wird als Energiequelle statt eines elektrischen Speichers 6, beispielsweise in der Form einer wiederaufladbaren Batterie eine nichtwiederaufladbare Batterie verwendet. Aus diesem Grunde dient die Solarzellenanordnung 7 bei einer solchen elektronischen Uhr ausschließlich zum Speisen der Anzeigeeinrichtung, insbesondere des Flüssigkristalldisplays 4 oder des mechanischen Zeigerwerks 5 und nicht zum Laden des Speichers 6. Deswegen ist bei dem zuletzt erwähnten Ausführungsbeispiel keine Verbindung zwischen der Leitung 8 und der nichtaufladbaren Batterie vorgesehen, so daß die Diode 12 entfällt.

Claims (10)

1. Elektronische Uhr mit einer Solarzellenanordnung.; mit einem Speicher für die von der Solarzellenanordnung gelieferte elektrische Energie mit einem an den Speicher angeschlossenen Uhrenschaltkreis. und mit einer Anzeigevorrichtung, dadurch.. gekennzeichnet, daß die Anzeigevorrichtung (4. 5) zur unmittelbaren Stromversorgung direkt an die Solarzellenanordnung (7) angeschlossen ist.
2. Elektronische Uhr nach Anspruch 1. dadurch gekennzeichnet . daß die Solarzellenanordnung (7) über eine einen Stromrückfluß aus dem Speicher (6) zur Anzeigevorrichtung (4. 5) verhindernde Einrichtung (12) mit dem Speicher (6) verbunden ist.
3. Elektronische Uhr nach Anspruch 2. dadurch gekennzeichnet . daß die Einrichtung eine in Ladestromrichtung durchlässig gepolte Diode (12) ist.
4. Elektronische Uhr nach einem der Ansprüche 1 bis 3. dadurch gekennzeichnet, daß der Speicher (6) eine wiederaufladbare Batterie ist.
5. Elektronische Uhr nach einem der Ansprüche 1 bis 3. dadurch gekennzeichnet, daß der Speicher (6) ein Kondensator ist.
6. Elektronische Uhr nach einem der Ansprüche 1 bis 5. dadurch gekennzeichnet. daß die Anzeigevorrichtung ein Flüssigkristalldisplay (4) ist.
7. Elektronische Uhr nach einem der Ansprüche 1 bis' 5. dadurch gekennzeichnet. daß die Anzeigevorrichtung ein mechanisches Zeigerwerk (5) ist. das bei Einsatz der Beleuchtung in die der Uhrzeit zugeordnete korrekte Position bewegbar ist.
8. Elektronische Uhr nach Anspruch 7. dadurch gekennzeichnet. daß das Zeigerwerk (10. 11) über einen Schrittmotor angetrieben ist.
9. Elektronische Uhr nach einem der vorstehenden Ansprüche, dadurch gekennzeichnet . daß zusätzlich zur Tageszeit auch Zusatzinformationen wie Daten, Jahreszahl und sonstige Kalenderinformationen anzeigbar sind.
10. Elektronische Uhr mit einem an eine nichtwiederaufladbare Batterie angeschlossenen Uhrenschaltkreis sowie mit einer Anzeigevorrichtung, dadurch gekennzeichnet. daß die Anzeigevorrichtung (4. 5) an eine Solarzellenanordnung (7) angeschlossen ist.
EP86117343A 1986-01-10 1986-12-12 Elektronische Uhr Expired - Lifetime EP0228635B2 (de)

Priority Applications (1)

Application Number Priority Date Filing Date Title
AT86117343T ATE65334T1 (de) 1986-01-10 1986-12-12 Elektronische uhr.

Applications Claiming Priority (2)

Application Number Priority Date Filing Date Title
DE3600515A DE3600515C1 (de) 1986-01-10 1986-01-10 Elektronische Uhr
DE3600515 1986-01-10

Publications (4)

Publication Number Publication Date
EP0228635A2 true EP0228635A2 (de) 1987-07-15
EP0228635A3 EP0228635A3 (en) 1989-10-25
EP0228635B1 EP0228635B1 (de) 1991-07-17
EP0228635B2 EP0228635B2 (de) 1995-10-18

Family

ID=6291622

Family Applications (1)

Application Number Title Priority Date Filing Date
EP86117343A Expired - Lifetime EP0228635B2 (de) 1986-01-10 1986-12-12 Elektronische Uhr

Country Status (5)

Country Link
US (1) US4763310A (de)
EP (1) EP0228635B2 (de)
JP (1) JPS62203085A (de)
AT (1) ATE65334T1 (de)
DE (2) DE3600515C1 (de)

Families Citing this family (12)

* Cited by examiner, † Cited by third party
Publication number Priority date Publication date Assignee Title
DE3707728A1 (de) * 1987-03-11 1988-09-22 Junghans Uhren Gmbh Autonome funkuhr
KR910008218B1 (ko) * 1989-11-30 1991-10-12 삼성전자 주식회사 비디오 프린터의 칼라 기록장치
DE4314003A1 (de) * 1993-04-26 1994-10-27 Schwerdtle & Schantz Gmbh Zeitkontrollvorrichtung
GB2343540A (en) * 1998-11-06 2000-05-10 Tacktick Ltd Solar powered display
US6288979B1 (en) 2000-04-06 2001-09-11 Moneray International Ltd. Solar-driven eternity clock
TWI224722B (en) * 2000-05-19 2004-12-01 Asulab Sa Electronic device for generating and displaying an item of information
US6838994B2 (en) * 2001-10-26 2005-01-04 Koninklijke Philips Electronics N.V. Adaptive alarm system
US7615962B1 (en) * 2005-03-04 2009-11-10 World Factory, Inc. Solar-powered thermometer and clock
JP2013152140A (ja) * 2012-01-25 2013-08-08 Seiko Instruments Inc 電子時計
JP2013156159A (ja) * 2012-01-30 2013-08-15 Seiko Instruments Inc 電子時計
US20140159638A1 (en) * 2012-08-19 2014-06-12 EnergyBionics, LLC Portable energy harvesting, storing, and charging device
US9501040B2 (en) * 2014-10-01 2016-11-22 William J. McNulty, Jr. Appliance or light timer including rechargeable back-up battery and external charger

Family Cites Families (15)

* Cited by examiner, † Cited by third party
Publication number Priority date Publication date Assignee Title
CH373701A (de) * 1961-02-06 1964-01-15 Heno Watch S A Lichtelektrisch betriebene Uhr
DE1782185A1 (de) * 1968-07-29 1971-07-29 Kemper Kate Vorrichtung zum Wirken von Teigstuecken
JPS569674B1 (de) * 1970-09-18 1981-03-03
US3928960A (en) * 1973-02-06 1975-12-30 Time Computer Combination wristwatch and calculator
GB1481024A (en) * 1974-07-15 1977-07-27 Suisse Horlogerie Battery powered electronic timepiece with voltage regulation
CH1181974A4 (de) * 1974-08-30 1977-06-15
JPS51121365A (en) * 1975-04-17 1976-10-23 Seiko Epson Corp Electric clock
US4015420A (en) * 1976-05-03 1977-04-05 Hughes Aircraft Company Battery select circuitry and level translator for a digital watch
JPS5428176A (en) * 1977-08-04 1979-03-02 Seiko Instr & Electronics Ltd Electronic watch
US4234947A (en) * 1977-12-20 1980-11-18 Citizen Watch Co., Ltd. Solar battery powered timepiece
DE2918064A1 (de) * 1978-05-08 1979-11-22 Ebauches Sa Vorrichtung zum laden eines akkumulators durch eine quelle elektrischer energie, insbesondere fuer eine elektronische uhr
DE3115682A1 (de) * 1981-04-18 1982-11-04 Varta Batterie Ag, 3000 Hannover Batteriebetriebenes elektronisches geraet mit sicherung der spannungsversorgung fuer teilfunktionen
DE3337407A1 (de) * 1983-10-14 1985-04-25 Diehl GmbH & Co, 8500 Nürnberg Messeinrichtung mit einer passiven anzeigevorrichtung
JPH0792506B2 (ja) * 1984-11-21 1995-10-09 セイコーエプソン株式会社 電子時計
CH665081GA3 (de) * 1985-10-11 1988-04-29

Non-Patent Citations (1)

* Cited by examiner, † Cited by third party
Title
None

Also Published As

Publication number Publication date
DE3600515C1 (de) 1993-05-13
EP0228635B1 (de) 1991-07-17
JPS62203085A (ja) 1987-09-07
DE3680310D1 (de) 1991-08-22
EP0228635B2 (de) 1995-10-18
ATE65334T1 (de) 1991-08-15
EP0228635A3 (en) 1989-10-25
US4763310A (en) 1988-08-09

Similar Documents

Publication Publication Date Title
EP0228635B1 (de) Elektronische Uhr
DE2122683A1 (de) Uhr, deren Anzeigeeinrichtung mindestens eine Flüssigkristall-Zelle aufweist
DE2513451A1 (de) Elektronische uhr-rechner-einheit
DE69621392T2 (de) Elektronische Uhr
DE19780948B4 (de) Kombinierte elektronische Uhr
DE2050067B2 (de) Digitalanzeigende elektronische Uhr
DE2165421A1 (de) Uhr mit einer Flüssigkristall-Anzeigeeinrichtung
DE60036591T2 (de) Elektronische Uhr
DE2206102C2 (de) Armbanduhr o.dgl.
DE2311508A1 (de) Elektrooptische anzeige fuer elektronische uhren
DE2618863C3 (de) Elektronische Kleinuhr mit einer digitalen optischen Anzeigeeinrichtung
DE69827362T2 (de) Uhr mit detektions- und sparvorrichtungen im falle von nicht ausreichender energieversorgung
CH524973A (de) Verfahren zum Einführen und Aufziehen von Reissverschlussschiebern auf fortlaufende, gekuppelte Reissverschlussstreifen
EP0285838A1 (de) Autonome Funkuhr
DE2442394B2 (de) Vollelektronische uhr
DE2453666A1 (de) Elektronische uhr
EP0328565A1 (de) Blinklampenaggregat
DE3442862A1 (de) Quarzwerk, insbes. fuer armbanduhren
CH671485A5 (en) Power supply circuitry combining solar cell and sec. cell battery - charges lithium cells with capacitor for short duration back-up to overcome recharge delay after long dark periods
DE2734721A1 (de) Batteriebetriebene elektronische uhr
DE1673798C (de) Elektrischer Zeitmesser mit einem durch eine Solar- oder Photozelle aufladbaren Akkumulator
DE2950948C2 (de) Energieversorgungsvorrichtung für ein elektronisches Gerät
DE1928878A1 (de) Zeitmessinstrument
JPH0746145B2 (ja) 電子時計
DE2553015A1 (de) Quarz-gesteuerte uhr mit fluessig- kristall-anzeige

Legal Events

Date Code Title Description
PUAI Public reference made under article 153(3) epc to a published international application that has entered the european phase

Free format text: ORIGINAL CODE: 0009012

AK Designated contracting states

Kind code of ref document: A2

Designated state(s): AT BE CH DE ES FR GB GR IT LI NL SE

PUAL Search report despatched

Free format text: ORIGINAL CODE: 0009013

AK Designated contracting states

Kind code of ref document: A3

Designated state(s): AT BE CH DE ES FR GB GR IT LI NL SE

17P Request for examination filed

Effective date: 19890928

17Q First examination report despatched

Effective date: 19901001

GRAA (expected) grant

Free format text: ORIGINAL CODE: 0009210

AK Designated contracting states

Kind code of ref document: B1

Designated state(s): AT BE CH DE ES FR GB GR IT LI NL SE

PG25 Lapsed in a contracting state [announced via postgrant information from national office to epo]

Ref country code: GR

Free format text: LAPSE BECAUSE OF FAILURE TO SUBMIT A TRANSLATION OF THE DESCRIPTION OR TO PAY THE FEE WITHIN THE PRESCRIBED TIME-LIMIT

Effective date: 19910717

Ref country code: SE

Effective date: 19910717

Ref country code: BE

Effective date: 19910717

REF Corresponds to:

Ref document number: 65334

Country of ref document: AT

Date of ref document: 19910815

Kind code of ref document: T

ET Fr: translation filed
REF Corresponds to:

Ref document number: 3680310

Country of ref document: DE

Date of ref document: 19910822

GBT Gb: translation of ep patent filed (gb section 77(6)(a)/1977)
ITF It: translation for a ep patent filed
PG25 Lapsed in a contracting state [announced via postgrant information from national office to epo]

Ref country code: AT

Effective date: 19911231

PLBI Opposition filed

Free format text: ORIGINAL CODE: 0009260

26 Opposition filed

Opponent name: DIEHL GMBH & CO.

Effective date: 19920415

NLR1 Nl: opposition has been filed with the epo

Opponent name: DIEHL GMBH & CO.

PUAH Patent maintained in amended form

Free format text: ORIGINAL CODE: 0009272

STAA Information on the status of an ep patent application or granted ep patent

Free format text: STATUS: PATENT MAINTAINED AS AMENDED

27A Patent maintained in amended form

Effective date: 19951018

AK Designated contracting states

Kind code of ref document: B2

Designated state(s): AT BE CH DE ES FR GB GR IT LI NL SE

GBTA Gb: translation of amended ep patent filed (gb section 77(6)(b)/1977)

Effective date: 19951018

REG Reference to a national code

Ref country code: CH

Ref legal event code: AEN

Free format text: AUFRECHTERHALTUNG DES PATENTES IN GEAENDERTER FORM

ET3 Fr: translation filed ** decision concerning opposition
NLR2 Nl: decision of opposition
NLR3 Nl: receipt of modified translations in the netherlands language after an opposition procedure
ITF It: translation for a ep patent filed
PG25 Lapsed in a contracting state [announced via postgrant information from national office to epo]

Ref country code: ES

Free format text: LAPSE BECAUSE OF FAILURE TO SUBMIT A TRANSLATION OF THE DESCRIPTION OR TO PAY THE FEE WITHIN THE PRESCRIBED TIME-LIMIT

Effective date: 19960129

PGFP Annual fee paid to national office [announced via postgrant information from national office to epo]

Ref country code: GB

Payment date: 19961129

Year of fee payment: 11

PGFP Annual fee paid to national office [announced via postgrant information from national office to epo]

Ref country code: DE

Payment date: 19961210

Year of fee payment: 11

PGFP Annual fee paid to national office [announced via postgrant information from national office to epo]

Ref country code: FR

Payment date: 19961217

Year of fee payment: 11

PGFP Annual fee paid to national office [announced via postgrant information from national office to epo]

Ref country code: CH

Payment date: 19961220

Year of fee payment: 11

PGFP Annual fee paid to national office [announced via postgrant information from national office to epo]

Ref country code: NL

Payment date: 19961223

Year of fee payment: 11

PG25 Lapsed in a contracting state [announced via postgrant information from national office to epo]

Ref country code: GB

Free format text: LAPSE BECAUSE OF NON-PAYMENT OF DUE FEES

Effective date: 19971212

PG25 Lapsed in a contracting state [announced via postgrant information from national office to epo]

Ref country code: LI

Free format text: LAPSE BECAUSE OF NON-PAYMENT OF DUE FEES

Effective date: 19971231

Ref country code: CH

Free format text: LAPSE BECAUSE OF NON-PAYMENT OF DUE FEES

Effective date: 19971231

Ref country code: FR

Free format text: THE PATENT HAS BEEN ANNULLED BY A DECISION OF A NATIONAL AUTHORITY

Effective date: 19971231

PG25 Lapsed in a contracting state [announced via postgrant information from national office to epo]

Ref country code: NL

Free format text: LAPSE BECAUSE OF NON-PAYMENT OF DUE FEES

Effective date: 19980701

GBPC Gb: european patent ceased through non-payment of renewal fee

Effective date: 19971212

REG Reference to a national code

Ref country code: CH

Ref legal event code: PL

NLV4 Nl: lapsed or anulled due to non-payment of the annual fee

Effective date: 19980701

PG25 Lapsed in a contracting state [announced via postgrant information from national office to epo]

Ref country code: DE

Free format text: LAPSE BECAUSE OF NON-PAYMENT OF DUE FEES

Effective date: 19980901

REG Reference to a national code

Ref country code: FR

Ref legal event code: ST

PG25 Lapsed in a contracting state [announced via postgrant information from national office to epo]

Ref country code: IT

Free format text: LAPSE BECAUSE OF NON-PAYMENT OF DUE FEES;WARNING: LAPSES OF ITALIAN PATENTS WITH EFFECTIVE DATE BEFORE 2007 MAY HAVE OCCURRED AT ANY TIME BEFORE 2007. THE CORRECT EFFECTIVE DATE MAY BE DIFFERENT FROM THE ONE RECORDED.

Effective date: 20051212

PG25 Lapsed in a contracting state [announced via postgrant information from national office to epo]

Ref country code: ES

Free format text: LAPSE BECAUSE OF FAILURE TO SUBMIT A TRANSLATION OF THE DESCRIPTION OR TO PAY THE FEE WITHIN THE PRESCRIBED TIME-LIMIT

Effective date: 19911231