EP0201769A2 - Schlauchtrommel für Absaugschläuche - Google Patents

Schlauchtrommel für Absaugschläuche Download PDF

Info

Publication number
EP0201769A2
EP0201769A2 EP19860105560 EP86105560A EP0201769A2 EP 0201769 A2 EP0201769 A2 EP 0201769A2 EP 19860105560 EP19860105560 EP 19860105560 EP 86105560 A EP86105560 A EP 86105560A EP 0201769 A2 EP0201769 A2 EP 0201769A2
Authority
EP
European Patent Office
Prior art keywords
drum body
hose reel
hose
reel according
suction
Prior art date
Legal status (The legal status is an assumption and is not a legal conclusion. Google has not performed a legal analysis and makes no representation as to the accuracy of the status listed.)
Granted
Application number
EP19860105560
Other languages
English (en)
French (fr)
Other versions
EP0201769A3 (en
EP0201769B1 (de
Inventor
Christian O. Gruhl
Current Assignee (The listed assignees may be inaccurate. Google has not performed a legal analysis and makes no representation or warranty as to the accuracy of the list.)
Christian O Gruhl & Co GmbH
Original Assignee
Christian O Gruhl & Co GmbH
Priority date (The priority date is an assumption and is not a legal conclusion. Google has not performed a legal analysis and makes no representation as to the accuracy of the date listed.)
Filing date
Publication date
Application filed by Christian O Gruhl & Co GmbH filed Critical Christian O Gruhl & Co GmbH
Priority to AT86105560T priority Critical patent/ATE60565T1/de
Publication of EP0201769A2 publication Critical patent/EP0201769A2/de
Publication of EP0201769A3 publication Critical patent/EP0201769A3/de
Application granted granted Critical
Publication of EP0201769B1 publication Critical patent/EP0201769B1/de
Anticipated expiration legal-status Critical
Expired - Lifetime legal-status Critical Current

Links

Images

Classifications

    • BPERFORMING OPERATIONS; TRANSPORTING
    • B08CLEANING
    • B08BCLEANING IN GENERAL; PREVENTION OF FOULING IN GENERAL
    • B08B15/00Preventing escape of dirt or fumes from the area where they are produced; Collecting or removing dirt or fumes from that area
    • B08B15/002Preventing escape of dirt or fumes from the area where they are produced; Collecting or removing dirt or fumes from that area using a central suction system, e.g. for collecting exhaust gases in workshops
    • BPERFORMING OPERATIONS; TRANSPORTING
    • B65CONVEYING; PACKING; STORING; HANDLING THIN OR FILAMENTARY MATERIAL
    • B65HHANDLING THIN OR FILAMENTARY MATERIAL, e.g. SHEETS, WEBS, CABLES
    • B65H75/00Storing webs, tapes, or filamentary material, e.g. on reels
    • B65H75/02Cores, formers, supports, or holders for coiled, wound, or folded material, e.g. reels, spindles, bobbins, cop tubes, cans, mandrels or chucks
    • B65H75/18Constructional details
    • B65H75/20Skeleton construction, e.g. formed of wire
    • BPERFORMING OPERATIONS; TRANSPORTING
    • B65CONVEYING; PACKING; STORING; HANDLING THIN OR FILAMENTARY MATERIAL
    • B65HHANDLING THIN OR FILAMENTARY MATERIAL, e.g. SHEETS, WEBS, CABLES
    • B65H75/00Storing webs, tapes, or filamentary material, e.g. on reels
    • B65H75/02Cores, formers, supports, or holders for coiled, wound, or folded material, e.g. reels, spindles, bobbins, cop tubes, cans, mandrels or chucks
    • B65H75/34Cores, formers, supports, or holders for coiled, wound, or folded material, e.g. reels, spindles, bobbins, cop tubes, cans, mandrels or chucks specially adapted or mounted for storing and repeatedly paying-out and re-storing lengths of material provided for particular purposes, e.g. anchored hoses, power cables
    • B65H75/38Cores, formers, supports, or holders for coiled, wound, or folded material, e.g. reels, spindles, bobbins, cop tubes, cans, mandrels or chucks specially adapted or mounted for storing and repeatedly paying-out and re-storing lengths of material provided for particular purposes, e.g. anchored hoses, power cables involving the use of a core or former internal to, and supporting, a stored package of material
    • BPERFORMING OPERATIONS; TRANSPORTING
    • B65CONVEYING; PACKING; STORING; HANDLING THIN OR FILAMENTARY MATERIAL
    • B65HHANDLING THIN OR FILAMENTARY MATERIAL, e.g. SHEETS, WEBS, CABLES
    • B65H2701/00Handled material; Storage means
    • B65H2701/30Handled filamentary material
    • B65H2701/33Hollow or hose-like material

Definitions

  • the invention relates to a hose drum for suction hoses according to the preamble of claim 1.
  • suction hoses When repairing and servicing motor vehicles, the exhaust gases that occur must be extracted using suction hoses. So that these suction hoses do not interfere when not in use, it is known to roll them up on hose reels mounted above the workplace. These known hose drums have a smooth cylindrical drum shell, which, however, does not guarantee that the suction hose is rolled up close to one another. Rather, gaps can form between the hose turns or the hose rides open and is thereby crushed and damaged. This creates cracks in the hose through which the exhaust gases can escape and thus pose a health hazard to the workplace.
  • the object of the present invention is therefore to create a hose reel of the type mentioned in the introduction, in which when the suction hose is rolled up, the windings of the hose are guided close to one another and are simple and efficient can be produced socially.
  • the structure of wires allows economical production and perfect adaptation to the desired outer shape, resulting in a particularly stable structure.
  • a helically wound guide basket is used, through which the hose is guided in a continuous curve from an opening of the drum jacket to the suction line in the axis of the drum body.
  • a hose drum 2 is rotatably mounted on a frame 1.
  • the lateral surface 3 has part-circular grooves 4, which run around the lateral surface 3 in a helical manner and to which the windings of the suction hose 5 closely abut.
  • a plug-in motor 7 arranged in its axis, the axis 8 of which is fixedly connected to the frame 1 and the circumferential jacket of which drives the drum body via pins 9.
  • a sleeve 10 is rotatably mounted in the frame 1, to which a suction line 11 is connected. This leads to a suction device, not shown.
  • the sleeve 10 is connected to one end of the suction hose 5, which is guided into the interior of the drum body via an opening 12 in the lateral surface 3.
  • a helically wound guide basket 13 is provided leading inwards from the lateral surface 3, which enables the suction hose to be continuously introduced to the sleeve 10.
  • the drum body 6 is formed from wires which can be bent into the desired shape in a particularly economical manner and ensure a stable structure of the drum body.
  • drum body 6 consists of a basket 14 and the associated axle sleeves 15 and 16.
  • Outer basket 14 consists of axially extending wires 17 which are bent from a straight wire in the central region into the partially circular grooves. Your ends will be over Turned 90 ° and later form the end faces Reel body 6. The helical course of the grooves over the outer surface 3 can be easily achieved by bending the wires at changing intervals from their ends.
  • the two axle sleeves 15 and 16 are also formed from axially extending wires 19 and 20, the ends of which are bent at right angles and extend in the end faces 18 between the ends of the wires 17 from the outer basket 14. (See Fig. 3) Both the wire ends 17 and 19 are welded together in the end face 18 by wire rings 21.
  • the outer surface 3 is also wrapped helically by a wire 22, so that the drum body 6 is extremely stable.
  • guide elements for the suction hose 5 in the form of plastic profiles 24 are riveted onto a cylindrical drum jacket 23 made of sheet metal, which run around the drum jacket 23 in a helical manner and thus again form helical grooves 25.
  • plastic profiles can also be designed as limited segments.
  • helical wire brackets 26 can also be fastened on the drum jacket 23 as guide elements, which again form grooves 27 for the suction hose 5.
  • a sleeve made of foamed plastic, such as foam rubber, can also be attached, which is either els flat mat with the sloping Grooves 25 is provided or the grooves form when winding the suction hose 5.

Landscapes

  • Storing, Repeated Paying-Out, And Re-Storing Of Elongated Articles (AREA)
  • External Artificial Organs (AREA)
  • Storage Of Web-Like Or Filamentary Materials (AREA)
  • Rigid Pipes And Flexible Pipes (AREA)

Abstract

Zum Aufrollen von Absaugschläuchen (5) für Kraftfahrzeuge sind Schlauchtrommeln (2) bekannt, die über dem Arbeitsplatz angeordnet sind und auf deren Trommelkörper (6) der Absaugschlauch (5) aufgerollt ist.
Damit sich der Absaugschlauch (5) mit aneinander liegenden Windungen um den Trommelmantel legt, ist dessen Mantelfläche (3) mit schraubenförmig umlaufenden Rillen (4) versehen. Diese Rillen (4) nehmen den Absaugschlauch (5) auf, der somit nicht gequetscht oder beschädigt werden kann.

Description

  • Die Erfindung bezieht sich auf eine Schlauchtrommel für Absaugschläuche gemäß Oberbegriff von Anspruch 1.
  • Bei der Reparatur und beim Kundendienst von Kraftfahrzeugen müssen die auftretenden Abgase mittels Absaugschläuchen abgesaugt werden. Damit diese Absaugschläuche beim Nichtgebrauch nicht stören ist es bekannt, sie auf über dem Arbeitsplatz angebrachten Schlauchtrommeln aufzurollen. Diese bekannten Schlauchtrommeln weisen einen glatt zylindrischen Trommelmantel auf, bei dem jedoch nicht gewährleistet ist, daß der Absaugschlauch eng aneinanderliegend aufgerollt wird. Zwischen den Schlauchwindungen können sich vielmehr Zwischenräume bilden oder der Schlauch reitet auf und wird dabei gequetscht und beschädigt. Dabei bilden sich Risse im Schlauch, durch die die Abgase austreten können und somit eine gesundheitliche Gefahr für den Arbeitsplatz darstellen.
  • Zur Erzwingung einer einwandfreien Aufwicklung sind auch automatische Schlauchführungen bekannt, die jedoch die Schlauchtrommel erheblich verteuern.
  • Aufgabe der vorliegenaen Erfinaung ist daher die Schaffung einer Schlauchtrommel der eingangs genannten Art, bei der beim Aufrollen des Absaugschlauches dessen Windungen eng aneinanderliegend geführt sind und die sich auf eine einfache und wirtschaftliche Art herstellen lässt.
  • Diese Aufgabe wird erfindungsgemäß durch die im Kennzeichnenden Teil des Ansprucns 1 angegebenen Merkmale gelöst.
  • Damit ist beim Aufrollen gewährleistet, daß sich der Absaugschlauch Windung neben Windung um den Trommelmantel legt und nicht gequetscht oder beschädigt wird.
  • In den Unteransprüchen sind besonders vorteilhafte Ausführungsformen des Trommelkörpers gekennzeichnet.
  • Der Aufbau aus Drähten erlaubt eine wirtschaftliche Fertigung und einwandfreie Anpassung an die gewünschte Außenform, wobei sich ein besonders stabiler Aufbau ergibt.
  • Für die Einführung des einen Schlauchendes in die Mitte des Trommelkörpers dient ein schraubenförmig gewundener Führungskorb, durch den der Schlauch in einer kontinuierlichen Krümmung von einer Öffnung des Trommelmantels zur Absaugleitung in der Achse des Trommelkörpers geführt wird.
  • Die Verwendung eines Außenläufermotors in Forn eines in der Achse des Trommelkörpers angeordneten Steckmotors ergibt zusätzlich einen einfachen Aufbau und eine preiswerte Fertigung für den Antrieb des Trommelkörpers.
  • Im folgenden sind Ausführungsbeispiele der Erfindung unter Bezugnahme auf die Zeichnungen näher beschrieben.
  • Es zeiger:
    • Fig. 1 Längsschnitt durch ein 1. Ausführungsbeispiel einer Schlauchtrommel
    • Fig. 2 Umrißlinie des halben Trommelkörpers gemäß Fig. 1
    • Fig. 3 Trommelkörper gemäß Fig. 1 von der Seite
    • Fig. 4 Teilschnitt durch ein 2. Ausführungsbeispiel des Trommelkörpers.
    • Fig. 5 Teilechnitt durch ein 3. Ausführungsbeispiel des Trommelkörpers.
  • Wie Fig. 1 zeigt, ist an einem Rahmen 1 eine Schlauchtrommel 2 drehbar gelagert. Die Mantelfläche 3 weist teilkreisförmige Rillen 4 auf, die die Mantelfläche 3 schraubenförmig umlaufen und an die sich die Windungen des Absaugschlauches 5 eng anlegen.
  • Zum antrieb des Trommelkörpers 6 dient ein in seiner Achse angeordneter Steckmotor 7, dessen Achse 8 fest mit dem Rahmen 1 verbunden ist und dessen umlaufender Mantel über Zapfen 9 den Trommelkörper antreibt.
  • Auf der gegenüberliegenden Seite des Trommelkörpers ist im Rahmen 1 eine Hülse 10 drehbar gelagert, an der eine Absaugleitung 11 angeschlossen ist. Diese führt zu einer nicht dargestellten Absaugvorrichtung. Im Innern von Trommelkörper 6 ist die Hülse 10 mit einem Ende des Absaugschlauches 5 verbunden, der über eine Offnung 12 in der Mantelfläche 3 ins Innere des Trommelkörpers geführt wird. Um auch hier ein Abknicken des Absaugschlauches zu vermeiden, ist von der Mantelfläche 3 nach innen führend ein schraubenförmig gewundener Führungskorb 13 vorgesehen, der eine kontinuierliche Einleitung des Absaugschlauches zur Hülse 10 ermöglicht.
  • Wie besonders die Fig. 2 und 3 zeigen, ist der Trommelkörper 6 aus Drähten gebildet, die sich auf besonders wirtschaftliche Weise in die gewünschte Form biegen lassen und einen stabilen Aufbau des Trommelkörpers gewährleisten.
  • Wie Fig. 2 zeigt, besteht der Trommelkörper 6 aus einem Ausenkorb 14 und den damit verbundenen Achsenhülsen 15 und 16.
  • Außenkorb 14 besteht aus achsial verlaufenden Drähten 17, die aus einem geraden Draht im mittleren Bereich in die teilkreisförmigen hillen gebogen werden. Ihre Enden werden um 90° abgebogen und bilden später die Stirnseiten
    Figure imgb0001
    Trommelkörpers 6. Der schraubenförmige Verlauf der Rillen über die Mantelfläche 3 läßt eich leicht erzielen, indem die Drähte in sich ändernden Abständen von ihren Enden abgebogen werden.
  • Die beiden Achshülsen 15 und 16 sind ebenfalls aus achsial verlaufenden Drähten 19 und 20 gebildet, deren rechtwinklig abgebogene Enden sich in den Stirnseiten 18 zwischen die Enden der Drähte 17 von Außenkorb 14 erstrecken. (Siehe Fig. 3) Sowohl die Drahtenden 17 als auch 19 sind in der Stirnseite 18 durch Drahtringe 21 miteinander verschweißt.
  • Die Mantelfläche 3 ist außerdem durch einen Draht 22 schraubenförmig umwickelt, so daß sich ein außerordentlich stabiler Aufbau des Trommelkörpers 6 ergibt.
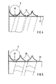
  • Bei einem weiteren Ausführungsbeispiel der Erfindung gemäß Fig. 4 sind auf einem zylindrischen Trommelmantel 23 aus Blech Führungselemente fur den Absaugschlauch 5 in Form von Kunststoffprofilen 24 aufgenietet, die den Trommel - mantel 23 schraubenförmig umlaufen und damit wieder schraubenförmig verlaufende Rillen 25 bilden.
  • Diese Kunststoffprofile können auch als begrenzte Segmente ausgeführt sein.
  • Wie Fig. 5 zeigt, lassen sich auf dem Trommelmantel 23 auch schraubenförmig verlaufende Drahtbügel 26 als Führungselemente befestigen, die wieder Rillen 27 für den Absaugschlauch 5 bilden.
  • Auf dem Troommelmantel 23 läßt sich auch eine Hülse aus geschäumtem Kunststoff, wie z.B. Schaumgummi befestigen, die entweder bereits els flache Matte mit den schräg verlaufenden Rillen 25 versehen ist oder deren Rillen sich beim Aufwickeln des Absaugschlauchs 5 bilden.
  • Ebenso ist es möglich, eine mit Rillen 25 versehene T'ülse aus einer Kunststoff-Folie mit dem Trommelmantel 23 zu verbinden oder diesen in einer Spritzform mit dieser Hülse zu umspritzen.

Claims (12)

1) Schlauchtrommel für Absaugschläuche zum Absaugen von Motorabgaden mit einem in einem Rahmen antreibbar gelagerten Trommelkörper und mit einer mit einem Ende des Absaugschlauches verbundenen Absaugleitung, dadurch gekennzeichnet , daß die Mantelfläche (3) des Trommelkörpers (6) Rillen (4) zur Aufnahme des aufgerollten Absaugschlauches (5) aufweist.
2) Schlauchtrommel nach Anspruch 1, dadurch gekennzeichnet, daß die Rillen (4) den Trommelkörper (6) schraubenförmig umlaufen.
3) Schlauchtrommel nach Anspruch 1 oder 2, dadurch gekennzeichnet , daß der Trommelkörper (6) eine gitterförmige Struktur aufweist.
4) Schlauchtrommel nach Anspruch 3, dadurch gekennzeichnet , daß der Trommelkörper (6) aus miteinander verschweißten Drähten (17,19,20,21) gebildet ist.
5) Schlauchtrommel nach Anspruch 4, dadurch gekennzeichnet , daß der Trommelkörper (6) einen Außenkorb (14) aufweist, der aus achsial verlaufenden, verformten Drähten (17) gebildet ist, deren Enden sich über die Stirnseiten (18) des Trommelkörpers (6) erstrecken und daß im Trommelkörper (6) zwei Achshülsen (15,16) vorgesehen sind, die aus achsial verlaufenden Drähten (19,20) gebildet sind, deren Enden sich ebenfalls über die Stirnseiten (18) des Trommelkcrpers (6) erstrecken und mit den Enden der Drähte (17) des Außenkorbs (14) fest verbunden sind.
6) Schlauchtrommel nach Anspruch 5, dadurch gekennzeichnet, daß die Mantelfläche (3) des Trommelkörpers (6) mit einem eng anliegenden Draht (22) schraubenförmig umwickelt ist.
7) Schlauchtrommel nach einem der Ansprüche 3 bis 6, dadurch gekennzeichnet , daß zur Einführung des Absaugschlauches (5) ins Innere des Trommelkörpers (6) ein schraubenförmig gewundener Führungskorb (13) mit der Mantelfläche (3) verbunden.ist.
8) Schlauchtrommel nach Anspruch 1 oder 2, dadurch gekennzeichnet , daß auf einem zylindrischen Trommelmantel (23) Führungselemente (24,26) befestigt sind, die die Rillen (25) begrenzen.
9) Schlauchtrommel nach Anspruch 8, dadurch gekennzeichnet daß die Führungselemente als Kunst- stoffprofile (24) ausgebildet sind.
10) Schlauchtrommel nach Anspruch 8, dadurch gekennzeichnet, daß die Führungselemente als Drahtbügel (26) ausgebildet sind.
11) Schlauchtrommel nach Ansprucu 8, dadurch gekennzeichnet daß suf dem zylindrischen Trommelmantel (23) eine Hülse aus geschäumtem Kunststoff befestigt ist, die Rillen (25) zur Aufnahme des Abseugschlauchs (5) aufweist.
12) Schlauchtrommel nach Anspruch 1 bis 11, dadurch gekennzeichnet daß zum Antrieb des Trommelkörpers (6) ein in seiner hohlen Achse angeordneter Steckmotor (7) vorgesehen ist.
EP86105560A 1985-05-11 1986-04-22 Schlauchtrommel für Absaugschläuche Expired - Lifetime EP0201769B1 (de)

Priority Applications (1)

Application Number Priority Date Filing Date Title
AT86105560T ATE60565T1 (de) 1985-05-11 1986-04-22 Schlauchtrommel fuer absaugschlaeuche.

Applications Claiming Priority (2)

Application Number Priority Date Filing Date Title
DE19853517150 DE3517150A1 (de) 1985-05-11 1985-05-11 Schlauchtrommel fuer absaugschlaeuche
DE3517150 1985-05-11

Publications (3)

Publication Number Publication Date
EP0201769A2 true EP0201769A2 (de) 1986-11-20
EP0201769A3 EP0201769A3 (en) 1987-12-09
EP0201769B1 EP0201769B1 (de) 1991-01-30

Family

ID=6270588

Family Applications (1)

Application Number Title Priority Date Filing Date
EP86105560A Expired - Lifetime EP0201769B1 (de) 1985-05-11 1986-04-22 Schlauchtrommel für Absaugschläuche

Country Status (4)

Country Link
EP (1) EP0201769B1 (de)
JP (1) JPS6256273A (de)
AT (1) ATE60565T1 (de)
DE (2) DE3517150A1 (de)

Cited By (1)

* Cited by examiner, † Cited by third party
Publication number Priority date Publication date Assignee Title
EP0529150A1 (de) * 1991-08-27 1993-03-03 Carsten Bardehle Saugschlauchtrommel

Families Citing this family (1)

* Cited by examiner, † Cited by third party
Publication number Priority date Publication date Assignee Title
CN110014011B (zh) * 2019-04-20 2020-07-24 杭州富阳和翔模具有限公司 一种用于收集粉尘的可自动分类的多功能设备

Family Cites Families (7)

* Cited by examiner, † Cited by third party
Publication number Priority date Publication date Assignee Title
DE492617C (de) * 1928-11-01 1930-02-26 Gustav Menzel Schlauchhaspel mit selbsttaetiger Aufwickelvorrichtung
US2478540A (en) * 1948-05-17 1949-08-09 Universal Properties Inc Take-up hose reeling equipment
US3011201A (en) * 1959-03-31 1961-12-05 Cymara Hermann Karl Vacuum dust pan and reel
GB1138393A (en) * 1966-02-01 1969-01-01 Gkn Group Services Ltd Improvements relating to reels, drums, and the like for holding or containing an article or articles
GB1104000A (en) * 1966-02-24 1968-02-21 Andrew George Philip Haselden Improvements in or relating to hose reels
SE353242B (de) * 1972-04-18 1973-01-29 B Nederman
DE2823024A1 (de) * 1978-05-26 1979-11-29 Grimm Willi J Wasserschlauchtrommel

Cited By (1)

* Cited by examiner, † Cited by third party
Publication number Priority date Publication date Assignee Title
EP0529150A1 (de) * 1991-08-27 1993-03-03 Carsten Bardehle Saugschlauchtrommel

Also Published As

Publication number Publication date
DE3517150A1 (de) 1986-11-13
DE3677252D1 (de) 1991-03-07
JPS6256273A (ja) 1987-03-11
EP0201769A3 (en) 1987-12-09
ATE60565T1 (de) 1991-02-15
EP0201769B1 (de) 1991-01-30

Similar Documents

Publication Publication Date Title
DE2357047C2 (de) Verfahren zum Kürzen einer Bewehrung vor dem Befestigen einer flexiblen Leitung an einem steifen Kupplungsstück
DE3145122C2 (de) Vorrichtung zum Herstellen eines Rohres od. dgl. aus einem stranggepreßten thermoplastischen Kunststoffprofil
DE2758463B2 (de) Endoskop mit flexiblem Endabschnitt und Krümmungseinrichtung dafür
DE2711236A1 (de) Verfahren und vorrichtung zur herstellung eines rohres
DE2330799C2 (de) Vorgefertigte, demontierbare isolierende Rohrverkleidung
DE2838305C2 (de) Verfahren zur Herstellung eines Rohrverbinders aus verstärktem Kunstharz
DE1966673B2 (de) Vorrichtung zur Herstellung eines Bewehrungskäfigs für Spannbetonrohre
DE60122653T2 (de) Entkrangelvorrichtung für Kabel eines Schwimmbeckenreinigungsroboters
EP0201769A2 (de) Schlauchtrommel für Absaugschläuche
WO1987001878A1 (fr) Dispositif pour inserer ulterieurement des cables dans des gaines prevues a cet effet
DE3001472C2 (de) Verfahren und Vorrichtung zum Vereinigen von Schraubenwendeln zu einem Schraubenwendel-Transportband
DE3606767C1 (de) Flexibler geschlossener Rohrverbund
EP0251029A1 (de) Verfahren zum Herstellen eines flachen Spulenbandes
DE19859859A1 (de) Modulgerüstrohr
DE2501935C2 (de) Dauer- oder wasserwellwickel
DE19624984A1 (de) Rohr mit axialem Schlitz
DE1613011A1 (de) Stator eines dauermagnetisch erregten Kleinmotors
DE3000335C2 (de) Entmagnetisierungsspule
DE4318608B4 (de) Verfahren und Vorrichtung zur Herstellung eines Abzugrohrs aus faserverstärktem Kunststoff, insbesondere für einen Abzug zur Abführung chemisch aggressiver Dämpfe
DE19504674B4 (de) Auf stabförmiges Material aufsetzbares Handgriffelement aus Kunststoff, insbesondere für elektrische Kabeltrommeln
DE2417219C3 (de) Ringwellrohr mit Verstärkungsringen
DE164378C (de)
DE649494C (de) Verfahren zum Herstellen auswechselbarer Belaege von Kautschukwalzen fuer Wringmaschinen o. dgl.
DE3541087C2 (de)
DE1286201B (de) Verfahren zur Herstellung von zylindrischen Transformatorenkernen groesserer Kernhoehe aus Blechbaendern oder Tafelblechen und Vorrichtung zur Durchfuehrung des Verfahrens

Legal Events

Date Code Title Description
PUAI Public reference made under article 153(3) epc to a published international application that has entered the european phase

Free format text: ORIGINAL CODE: 0009012

AK Designated contracting states

Kind code of ref document: A2

Designated state(s): AT CH DE FR GB IT LI NL SE

PUAL Search report despatched

Free format text: ORIGINAL CODE: 0009013

AK Designated contracting states

Kind code of ref document: A3

Designated state(s): AT CH DE FR GB IT LI NL SE

17P Request for examination filed

Effective date: 19880415

17Q First examination report despatched

Effective date: 19891107

RAP3 Party data changed (applicant data changed or rights of an application transferred)

Owner name: CHRISTIAN O. GRUHL GMBH & CO.

RIN1 Information on inventor provided before grant (corrected)

Inventor name: GRUHL, CHRISTIAN O.

GRAA (expected) grant

Free format text: ORIGINAL CODE: 0009210

AK Designated contracting states

Kind code of ref document: B1

Designated state(s): AT CH DE FR GB IT LI NL SE

PG25 Lapsed in a contracting state [announced via postgrant information from national office to epo]

Ref country code: NL

Effective date: 19910130

Ref country code: IT

Free format text: LAPSE BECAUSE OF FAILURE TO SUBMIT A TRANSLATION OF THE DESCRIPTION OR TO PAY THE FEE WITHIN THE PRE;WARNING: LAPSES OF ITALIAN PATENTS WITH EFFECTIVE DATE BEFORE 2007 MAY HAVE OCCURRED AT ANY TIME BEFORE 2007. THE CORRECT EFFECTIVE DATE MAY BE DIFFERENT FROM THE ONE RECORDED.SCRIBED TIME-LIMIT

Effective date: 19910130

Ref country code: FR

Effective date: 19910130

Ref country code: SE

Effective date: 19910130

Ref country code: GB

Effective date: 19910130

REF Corresponds to:

Ref document number: 60565

Country of ref document: AT

Date of ref document: 19910215

Kind code of ref document: T

REF Corresponds to:

Ref document number: 3677252

Country of ref document: DE

Date of ref document: 19910307

PG25 Lapsed in a contracting state [announced via postgrant information from national office to epo]

Ref country code: AT

Effective date: 19910422

PG25 Lapsed in a contracting state [announced via postgrant information from national office to epo]

Ref country code: LI

Effective date: 19910430

Ref country code: CH

Effective date: 19910430

EN Fr: translation not filed
NLV1 Nl: lapsed or annulled due to failure to fulfill the requirements of art. 29p and 29m of the patents act
GBV Gb: ep patent (uk) treated as always having been void in accordance with gb section 77(7)/1977 [no translation filed]
PLBE No opposition filed within time limit

Free format text: ORIGINAL CODE: 0009261

STAA Information on the status of an ep patent application or granted ep patent

Free format text: STATUS: NO OPPOSITION FILED WITHIN TIME LIMIT

REG Reference to a national code

Ref country code: CH

Ref legal event code: PL

26N No opposition filed
PGFP Annual fee paid to national office [announced via postgrant information from national office to epo]

Ref country code: DE

Payment date: 19970916

Year of fee payment: 12

PG25 Lapsed in a contracting state [announced via postgrant information from national office to epo]

Ref country code: DE

Free format text: LAPSE BECAUSE OF NON-PAYMENT OF DUE FEES

Effective date: 19980430