EP0195953A2 - Transportfahrzeug für den Wechsel insbesondere der Arbeitswalzen oder Zwischenwalzen von Walzgerüsten - Google Patents

Transportfahrzeug für den Wechsel insbesondere der Arbeitswalzen oder Zwischenwalzen von Walzgerüsten Download PDF

Info

Publication number
EP0195953A2
EP0195953A2 EP86102708A EP86102708A EP0195953A2 EP 0195953 A2 EP0195953 A2 EP 0195953A2 EP 86102708 A EP86102708 A EP 86102708A EP 86102708 A EP86102708 A EP 86102708A EP 0195953 A2 EP0195953 A2 EP 0195953A2
Authority
EP
European Patent Office
Prior art keywords
transport vehicle
rolls
work rolls
carriage
air cushion
Prior art date
Legal status (The legal status is an assumption and is not a legal conclusion. Google has not performed a legal analysis and makes no representation as to the accuracy of the status listed.)
Withdrawn
Application number
EP86102708A
Other languages
English (en)
French (fr)
Other versions
EP0195953A3 (de
Inventor
Hans-Dieter Weitermann
Current Assignee (The listed assignees may be inaccurate. Google has not performed a legal analysis and makes no representation or warranty as to the accuracy of the list.)
Fried Krupp AG
Original Assignee
Fried Krupp AG
Priority date (The priority date is an assumption and is not a legal conclusion. Google has not performed a legal analysis and makes no representation as to the accuracy of the date listed.)
Filing date
Publication date
Application filed by Fried Krupp AG filed Critical Fried Krupp AG
Publication of EP0195953A2 publication Critical patent/EP0195953A2/de
Publication of EP0195953A3 publication Critical patent/EP0195953A3/de
Withdrawn legal-status Critical Current

Links

Images

Classifications

    • BPERFORMING OPERATIONS; TRANSPORTING
    • B21MECHANICAL METAL-WORKING WITHOUT ESSENTIALLY REMOVING MATERIAL; PUNCHING METAL
    • B21BROLLING OF METAL
    • B21B31/00Rolling stand structures; Mounting, adjusting, or interchanging rolls, roll mountings, or stand frames
    • B21B31/08Interchanging rolls, roll mountings, or stand frames, e.g. using C-hooks; Replacing roll chocks on roll shafts
    • B21B31/10Interchanging rolls, roll mountings, or stand frames, e.g. using C-hooks; Replacing roll chocks on roll shafts by horizontally displacing, i.e. horizontal roll changing
    • B21B31/103Manipulators or carriages therefor

Definitions

  • the invention relates to a transport vehicle for changing in particular the work rolls or intermediate rolls of roll stands, which can be moved on a guide in the side region of a roll stand and has a carriage which can be displaced transversely to the longitudinal axis of the vehicle and has a plurality of receptacles running parallel to it for rollers.
  • a transport vehicle of the type mentioned at the outset which can be moved between a parking and changing position by means of a travel drive, in particular in the form of an electric motor, supported on a guide rail by means of four flanged wheels.
  • the associated carriage can be moved continuously by means of a sliding drive in such a way that its receptacles accommodate the work rolls to be removed or enable the new work rolls to be introduced into the relevant roll stand.
  • the carriage only needs to execute movements against or in the rolling direction which bring the receptacles with respect to the rolling stand into the removal or transfer position.
  • the traction and displacement drives are supplied with energy via a supply line with the interposition of an automatic, external winding drum connected to an external energy source.
  • the invention has for its object to further develop a transport vehicle of the type mentioned in such a way that its handling is simplified at a reduced cost.
  • the stated object is achieved by a transport vehicle which essentially has the features of claim 1.
  • the concept of the solution on which the invention is based consists in supporting both the transport vehicle itself and the associated carriage via a plurality of interacting air cushion elements, that is to say by using compressed air.
  • the structure and mode of operation of such air cushion elements which can be designed in particular as an annular rubber bellows, are known.
  • Suitable rigid supports are assigned to the air cushion elements, by means of which the transport vehicle itself or the slide in the rest position is supported on the respective surroundings. By supplying compressed air to the interior of the air cushion elements, these are initially inflated without compressed air being able to escape to the outside between their underside and the surroundings.
  • the change in the length dimension of the supply line that occurs with the travel movement of the transport vehicle can be absorbed in a simple manner by means of an automatic winding drum that is connected upstream of the control unit inside the transport vehicle.
  • the control unit ensures that the interacting air cushion elements are supplied with compressed air to a sufficient extent, taking into account their load and the nature of the environment carrying them.
  • the rolling stand 2 to be operated by means of the transport vehicle 1 has, as main components, a multi-part stand 3, in which two work rolls 4, 5, supported by support rolls 6 and 7, can be removed in a known manner.
  • the two work rolls are set in rotation on the right side of the stand 3 via cardan shafts 8 and 9, which in turn are connected to a drive unit, not shown.
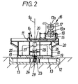
  • the transport vehicle 1 in the parking position for changing the work rolls with a box-shaped chassis 10 and a slide 11 which can be moved transversely to the longitudinal axis of the vehicle is supported on a roadway which essentially consists of two steel plates 13 held in a foundation 12 (cf. Fig. 2).
  • the carriage 11 is equipped on its upper side with two trough-shaped receptacles 14 and 15 which lie parallel to one another parallel to the longitudinal axis of the vehicle (ie parallel to the axes 4a and 5a of the work rolls in the roll stand 2) and in which one pair of work rolls is supported in a longitudinally displaceable manner can.
  • the vertical center plane 1a of the transport vehicle 1 indicated in FIG. 2 coincides with the vertical plane through the axes 4a and 5a. While the receptacle 15 lying outside the central plane 1a carries an exchange unit 16 with new work rolls 17, 18, the receptacle 14 is empty; it can therefore accommodate the work rolls 4 and 5 to be removed.
  • the air cushion elements 19 and 20 are connected via lines 25 and 26 to a control unit 27 which, in turn, is connected to a compressed air source 30 via an automatic winding drum 28 also held in the chassis 10 and a supply line 29.
  • the control unit will ensure be in the uniform support guaranteeing manner supplied with compressed air that the individual L uftkissenemia.
  • the supply line 29 is led outwards through an opening on the underside of the vehicle in such a way that it is deposited below the guide pins 23 in the guide trough 24.
  • the transport vehicle 1 In the change position (indicated by dash-dotted lines in FIG. 1), the transport vehicle 1 is supported on an adjustable stop 32, which is fastened on the left side of the roll stand 2, via a bracket 31 fastened to its chassis.
  • the stand 3 is at the height of the slide. 11 equipped with an adapted guide track 33, which enables the removal of the pair of work rolls 4, 5 to be removed and then the introduction of the new pair of work rolls 17, 18.
  • the carriage 11 In the removal position, the carriage 11 is arranged with respect to the chassis 10 according to FIG. the central plane of the empty receptacle 14 coincides with the central plane 1a.
  • the air cushion elements 20 are put into operation by supplying compressed air: the slide 11, which is loaded with two pairs of work rolls at this time, can consequently be moved to the left with little effort to the extent that the axes 17a, 18a defined vertical center plane of the new pair of work rolls coincides with the center plane 1a.
  • the air cushion elements 20 are put out of operation before the roller changing process is completed by inserting the new pair of work rolls into the stand 3. Subsequently, the transport vehicle 1 - which only carries the removed work rolls 4, 5 - can be moved to the left into the aforementioned parking position after the air cushion elements 19 have been put into operation.
  • the travel of the transport vehicle 1 (which can be extended if necessary) between the parking position and the changing position is slightly more than 3 m; the carriage 11 can travel a total of a displacement which is in the order of three times the width of a work roll set.
  • the transport vehicle can of course not only be used when changing the work rolls of the four-roll stand mentioned; in a corresponding manner, it also enables the installation or replacement of the rolls of differently designed roll stands, in particular the rolls of a two-roll stand or the work rolls and / or intermediate rolls of a multi-roll stand.
  • the advantage achieved with the subject matter of the invention is in particular that the support of both the transport vehicle itself and the associated carriage has no moving parts and that the transport vehicle, like the carriage, can be moved into the desired position with little effort, even by hand.

Landscapes

  • Engineering & Computer Science (AREA)
  • Mechanical Engineering (AREA)
  • Rollers For Roller Conveyors For Transfer (AREA)
  • Handcart (AREA)
  • Automobile Manufacture Line, Endless Track Vehicle, Trailer (AREA)

Abstract

57 Transportfahrzeuge für den Arbeitswalzen-Wechsel sind üblicherweise über angetriebene Radsätze entlang einer Führungsschiene bezüglich des zugehörigen Walzgerüsts verfahrbar und weisen einen Schlitten auf, welcher quer zur Fahrzeug-Längsachse verschiebbar ist und nebeneinander mehrere parallel zu dieser verlaufende Walzen-Aufnahmen trägt.
Zur Verbesserung der Wirtschaftlichkeit derartiger Transportfahrzeuge wird der Vorschlag unterbreitet, die Abstützung des Transportfahrzeugs (1) selbst auf seiner Fahrbahn und diejenige des Schlittens (11) jeweils über mehrere zusammenwirkende Luftkissenelemente (19 bzw. 20) vorzunehmen, die über eine Steuereinheit (27) an eine Druckluftquelle (30) angeschlossen sind.

Description

  • Transportfahrzeug für den Wechsel insbesondere der Arbeitswalzen oder Zwischenwalzen von Walzgerüsten
  • Die Erfindung bezieht sich auf ein Transportfahrzeug für den Wechsel insbesondere der Arbeitswalzen oder Zwischenwalzen von Walzgerüsten, das an einer Führung in den Seitenbereich eines Walzgerüsts bewegbar ist und einen Schlitten aufweist, welcher quer zur Fahrzeug-Längsachse verschiebbar ist und nebeneinander mehrere parallel zu dieser verlaufende Aufnahmen für Walzen trägt.
  • Es ist bekannt, den Wechsel von Arbeitswalzen mittels eines Transportfahrzeugs der eingangs erwähnten Gattung zu ermöglichen, welches über vier Spurkranzräder an einer Führungsschiene abgestützt mittels eines Fahrantriebs, insbesondere in Form eines Elektromotors, zwischen einer Abstell- und Wechselposition verfahren werden kann. Der zugehörige Schlitten läßt sich mittels eines Verschiebeantriebs stufenlos in der Weise bewegen, daß seine Aufnahmen die auszubauenden Arbeitswalzen aufnehmen bzw. das Einführen der neuen Arbeitswalzen in das betreffende Walzgerüst ermöglichen. Dabei braucht der Schlitten lediglich Bewegungen entgegen der bzw. in Walzrichtung auszuführen, welche die Aufnahmen bezüglich des Walzgerüsts in die Entnahme- bzw. Übergabestellung bringen. Die Energieversorgung des Fahr- und des Verschiebeantriebs erfolgt über eine Versorgungsleitung, die unter Zwischenschaltung einer selbsttätigen, außenliegenden Aufwickeltrommel mit einer außenliegenden Energiequelle in Verbindung steht. Der Nachteil des bekannten Transportfahrzeugs ist darin zu sehen, daß es hinsichtlich seiner Antriebseinrichtungen verhältnismäßig aufwendig aufgebaut ist und neben der Führungsschiene eine die Versorgungsleitung aufnehmende Ablagerinne benötigt.
  • Der Erfindung liegt die Aufgabe zugrunde, ein Transportfahrzeug der genannten Gattung in der Weise weiter zu entwickeln, daß sich seine Handhabung bei vermindertem Kostenaufwand vereinfacht.
  • Die gestellte Aufgabe wird durch ein Transportfahrzeug gelöst, welches im wesentlichen die Merkmale des Anspruchs 1 aufweist. Der der Erfindung zugrundeliegende Lösungsgedanke besteht danach darin, sowohl das Transportfahrzeug selbst als auch den zugehörigen Schlitten jeweils über mehrere zusammenwirkende Luftkissenelemente, das heißt durch Einsatz von Druckluft, abzustützen. Der Aufbau und die Arbeitsweise derartiger Luftkissenelemente, die insbesondere als ringförmiger Gummibalg ausgebildet sein können, sind bekannt. Den Luftkissenelementen sind geeignete starre Stützen zugeordnet, über welche sich das Transportfahrzeug selbst bzw. der Schlitten in der Ruhestellung an der jeweiligen Umgebung abstützt. Durch Zuführen von Druckluft in den Innenraum der Luftkissenelemente werden diese zunächst aufgebläht, ohne daß Druckluft zwischen ihrer Unterseite und der Umgebung nach außen austreten kann. Erst wenn die von der Druckluft ausgehende Kraft größer ist als das auf den Luftkissenelementen ruhende Gewicht, bildet sich unterhalb der Luftkissenelemente eine tragfähige Luftschicht; diese hat zur Folge, daß sich das Transportfahrzeug bzw. der Schlitten beinahe ohne Reibungswiderstand bezüglich der jeweiligen Umgebung bewegen läßt. Die Bildung der tragfähigen Luftschicht wird dadurch ermöglicht, daß die Luftkissenelemente auf ihrer Unterseite mit Luftaustrittsöffnungen ausgestattet sind.
  • Vorzugsweise greift das Transportfahrzeug über zumindest einen an seiner Unterseite befestigten Führungszapfen in eine in der Fahrbahn angeordnete Führungsrinne ein, die gleichzeitig ein Teilstück der mit der Steuereinheit und der Druckluftquelle verbundenen Versorgungsleitung aufnimmt (Anspruch 2). Diese Ausführungsform weist also eine besonders einfach ausgebildete Führung mit einer Doppelfunktion auf. Sie gestattet es im übrigen, die Versorgungsleitung - beispielsweise zwischen zwei mit Abstand voneinander angeordneten Führungszapfen
    • - der Steuereinheit für die Luftkissenelemente von der Fahrzeugunterseite her zuzuführen. Dies hat zur Folge, daß die Versorgungsleitung im Bereich des Transportfahrzeugs durch dieses selbst abgedeckt und damit gegen Beschädigungen gesichert ist.
  • Die mit der Verfahrbewegung des Transportfahrzeugs vor sich gehende Änderung der Längenabmessung der Versorgungsleitung läßt sich in einfacher Weise mittels einer selbsttätigen Aufwickeltrommel auffangen, die der Steuereinheit im Innern des Transportfahrzeugs vorgeschaltet ist.
  • Zur Erzielung einer ausreichend stabilen Abstützung des Transportfahrzeugs und des Schlittens während des jeweiligen Bewegungsvorgangs sollten auch aus konstruktiven Gründen zumindest jeweils vier Luftkissenelemente zur Anwendung kommen (Anspruch 3); es ist jedoch auch denkbar, das Transportfahrzeug und den Schlitten mit einer voneinander abweichenden Anzahl Luftkissenelemente auszustatten und erforderlichenfalls eine größere Anzahl Luftkissenelemente einzusetzen.
  • Die Steuereinheit trägt dafür Sorge, daß die jeweils zusammenwirkenden Luftkissenelemente unter Berücksichtigung ihrer Belastung und der Beschaffenheit der sie tragenden Umgebung in ausreichendem Umfang mit Druckluft versorgt werden.
  • Die Erfindung wird nachfolgend anhand eines in der Zeichnung stark schematisiert dargestellten Ausführungsbeispiels im einzelnen erläutert.
  • Es zeigen:
    • Fig. 1 eine Stirnansicht eines Walzgerüsts mit zugehörigem, teilweise geschnittenen Transportfahrzeug für den Arbeitswalzen-Wechsel und
    • Fig. 2 in vergrößertem Maßstab einen Schnitt durch das Fahrzeug nach Linie II-II in Fig. 1.
  • Das mittels des Transportfahrzeugs 1 zu bedienende Walzgerüst 2 weist als Hauptbestandteile einen mehrteiligen Ständer 3 auf, in dem zwei Arbeitswalzen 4, 5, abgestützt über Stützwalzen 6 bzw. 7, in bekannter Weise ausbaubar gehalten sind. Die beiden Arbeitswalzen werden auf der rechten Seite des Ständers 3 über Gelenkwellen 8 bzw. 9 in Drehung versetzt, die ihrerseits mit einer nicht dargestellten Antriebseinheit in Verbindung stehen.
  • Das in der Abstellposition befindliche Transportfahrzeug 1 für den Arbeitswalzen-Wechsel mit einem kastenförmigen Fahrgestell 10 und einem quer zur Fahrzeug-Längsachse verschiebbaren Schlitten 11 stützt sich auf einer Fahrbahn ab, die im wesentlichen aus zwei in einem Fundament 12 gehaltenen Stahlplatten 13 besteht (vgl. Fig. 2).
  • Der Schlitten 11 ist auf seiner Oberseite mit zwei rinnenförmigen Aufnahmen 14 und 15 ausgestattet, die parallel zur Fahrzeug-Längsachse (d.h. parallel zu den Achsen 4a und 5a der Arbeitswalzen im Walzgerüst 2) nebeneinander liegen und in denen jeweils ein Arbeitswalzenpaar in Längsrichtung verschiebbar abgestützt werden kann.
  • Die in Fig. 2 angedeutete vertikale Mittelebene 1a des Transportfahrzeugs 1 fällt zusammen mit der Vertikalebene durch die Achsen 4a und 5a. Während die außerhalb der Mittelebene 1a liegende Aufnahme 15 eine Wechseleinheit 16 mit neuen Arbeitswalzen 17, 18 trägt, ist die Aufnahme 14 leer; sie kann daher die auszubauenden Arbeitswalzen 4 und 5 aufnehmen.
  • Das Transportfahrzeug 1 ist auf der Unterseite seines Fahrgestells 10 mit vier Luftkissenelementen 19 in Form ringförmiger Gummibälge und mit (nicht dargestellten) starren Stützen ausgestattet; über die letzteren stützt es sich im Ruhezustand auf der Fahrbahn ab. Der Schlitten 11 weist in entsprechender Weise auf seiner Unterseite vier Luftkissenelemente 20 und (nicht dargestellte) starre Stützen auf, über welche er im Ruhezustand auf dem Fahrgestell 10 aufliegt. Die Verschiebbarkeit des Schlittens 11 bezüglich des Fahrgestells 10 quer zur Fahrzeug-Längsachse (also quer zur Mittelebene 1a) ist durch eine Führungsnut 21 festgelegt, in die eine am Fahrgestell 10 befestigte Führungsleiste 22 hineinragt. Das Fahrgestell 10 ist auf seiner Unterseite mit Führungszapfen 23 ausgestattet, die sich in einer zwischen den Stahlplatten 13 angeordneten Führungsrinne24 abstützen. Diese verläuft parallel zur Mittelebene 1a, d.h. das Transportfahrzeug 1 kann sich nur geradlinig in die Zeichenebene gemäß Fig. 2 hinein oder aus dieser heraus bewegen.
  • Die Luftkissenelemente 19 und 20 stehen über Leitungen 25 bzw. 26 mit einer Steuereinheit 27 in Verbindung, welche ihrerseits über eine ebenfalls im Fahrgestell 10 gehaltene selbsttätige Aufwickeltrommel 28 und eine Versorgungsleitung 29 an eine Druckluftquelle 30 angesctibssen ist. Die-Steuereinheit trägt dafür Sorge, daß die einzelnen Luftkissenelemente in der eine gleichmäßige Abstützung gewährleistenden Weise mit Druckluft versorgt werden.
  • Die Versorgungsleitung 29 wird - ausgehend von der Aufwickeltrommel 28 - in der Weise durch eine öffnung an der Fahrzeugunterseite nach außen geführt, daß sie unterhalb der Führungszapfen 23 in der Führungsrinne 24 abgelegt wird.
  • Zum Verfahren des Transportfahrzeugs 1 in den Seitenbereich des Walzgerüsts 2 wird über die Steuereinheit 27 in der Weise Druckluft in die Luftkissenelemente 19 eingeleitet, daß sich zwischen diesen und den Stahlplatten 13 eine tragfähige Luftschicht bildet und dementsprechend das Transportfahrzeug mit geringem Kraftaufwand - entweder von Hand oder beispielsweise mittels eines Reibradantriebs - entlang der Führungsrinne 24 bewegt werden kann.
  • In der Wechselposition (in Fig. 1 strichpunktiert angedeutet) stützt sich das Transportfahrzeug 1 über eine an seinem Fahrgestell befestigte Konsole 31 an einem einstellbaren Anschlag 32 ab, der auf der linken Seite des Walzgerüsts 2 befestigt ist. Der Ständer 3 ist in Höhe des Schlittens. 11 mit einer angepaßten Führungsbahn 33 ausgestattet, welche die Entnahme des auszubauenden Arbeitswalzenpaares 4, 5 und anschließend das Einführen des neuen Arbeitswalzenpaares 17, 18 ermöglicht.
  • In der Entnahmestellung ist der Schlitten 11 bezüglich des Fahrgestells 10 gemäß Fig. 2 angeordnet, d.h. die Mittelebene der leeren Aufnahme 14 fällt zusammen mit der Mittelebene 1a. Nach dem Verschieben der auszubauenden Arbeitswalzen in die Aufnahme 14 werden durch Zuführung von Druckluft die Luftkissenelemente 20 in Betrieb gesetzt: Der zu diesem Zeitpunkt mit zwei Arbeitswalzenpaaren belastete Schlitten 11 kann demzufolge mit geringem Kraftaufwand soweit nach links verschoben werden, daß die durch die Achsen 17a, 18a festgelegte vertikale Mittelebene des neuen Arbeitswalzenpaares mit der Mittelebene 1a zusammenfällt. Nach Erreichen dieser Übergabestellung werden die Luftkissenelemente 20 außer Betrieb gesetzt, bevor durch Einschieben des neuen Arbeitswalzenpaares in den Ständer 3 der Walzenwechselvorgang abgeschlossen wird. Im Anschluß daran kann das Transportfahrzeug 1 - welches nur noch die ausgebauten Arbeitswalzen 4, 5 trägt - nach Inbetriebsetzen der Luftkissenelemente 19 nach links in die bereits erwähnte Abstellposition verfahren werden.
  • In dem dargestellten Ausführungsbeispiel beträgt der Verfahrweg des Transportfahrzeugs 1 (der erforderlichenfalls beliebig verlängert werden kann) zwischen der Abstell- und der Wechselposition etwas mehr als 3 m; der Schlitten 11 kann insgesamt einen Verschiebeweg zurücklegen, welcher in der Größenordnung der dreifachen Baubreite eines Arbeitswalzen-Satzes liegt.
  • Das Tansportfahrzeug ist selbstverständlich nicht nur beim Wechsel der Arbeitswalzen des erwähnten Vierwalzengerüsts einsetzbar; es ermöglicht in entsprechender Weise auch den Einbau bzw. Austausch der Walzen andersartig ausgebildeter Walzgerüste, insbesondere der Walzen eines Zweiwalzengerüsts bzw. der Arbeitswalzen und/ oder Zwischenwalzen eines Vielwalzengerüsts.
  • Der mit dem Erfindungsgegenstand erzielte Vorteil besteht insbesondere darin, daß die Abstützung sowohl des Transportfahrzeugs selbst als auch des zugehörigen Schlittens keine beweglichen Teile aufweist und daß das Transportfahrzeug sich ebenso wie der Schlitten mit geringem Kraftaufwand, auch von Hand, in die gewünschte Stellung bewegen läßt.

Claims (3)

1. Transportfahrzeug für den Wechsel insbesondere der Arbeitswalzen oder Zwischenwalzen von Walzgerüsten, das an einer Führung in den Seitenbereich eines Walzgerüsts beweglich ist und einen Schlitten aufweist, welcher quer zur Fahrzeug-Längsachse verschiebbar ist und nebeneinander mehrere parallel zu dieser verlaufende Aufnahmen für Walzen trägt, dadurch gekennzeichnet, daß die Abstützung des Transportfahrzeugs (1) auf seiner Fahrbahn (Stahlplatten 13) und diejenige des Schlittens (11) jeweils aus mehreren zusammenwirkenden Luftkissenelementen (19 bzw. 20) besteht, die über eine Steuereinheit (27) an eine Druckluftquelle (30) angeschlossen sind.
2. Transportfahrzeug nach Anspruch 1, dadurch gekennzeichnet, daß es über zumindest einen an seiner Unterseite befestigten Führungszapfen (23) in eine in der Fahrbahn (Stahlplatten 13) angeordnete Führungsrinne (24) eingreift, die gleichzeitig ein Teilstück der mit der Steuereinheit (27) und der Druckluftquelle (30) verbundenen Versorgungsleitung (29) aufnimmt.
3. Transportfahrzeug nach einem der Ansprüche 1 bis 2, dadurch gekennzeichnet, daß das Transportfahrzeug (1) und der Schlitten (11) zumindest jeweils vier Luftkissenelemente (19 bzw. 20) aufweisen.
EP86102708A 1985-03-26 1986-03-01 Transportfahrzeug für den Wechsel insbesondere der Arbeitswalzen oder Zwischenwalzen von Walzgerüsten Withdrawn EP0195953A3 (de)

Applications Claiming Priority (2)

Application Number Priority Date Filing Date Title
DE19853510842 DE3510842A1 (de) 1985-03-26 1985-03-26 Transportfahrzeug fuer den wechsel insbesondere der arbeitswalzen oder zwischenwalzen von walzgeruesten
DE3510842 1985-03-26

Publications (2)

Publication Number Publication Date
EP0195953A2 true EP0195953A2 (de) 1986-10-01
EP0195953A3 EP0195953A3 (de) 1988-09-14

Family

ID=6266312

Family Applications (1)

Application Number Title Priority Date Filing Date
EP86102708A Withdrawn EP0195953A3 (de) 1985-03-26 1986-03-01 Transportfahrzeug für den Wechsel insbesondere der Arbeitswalzen oder Zwischenwalzen von Walzgerüsten

Country Status (2)

Country Link
EP (1) EP0195953A3 (de)
DE (1) DE3510842A1 (de)

Cited By (1)

* Cited by examiner, † Cited by third party
Publication number Priority date Publication date Assignee Title
EP0684089A3 (de) * 1994-05-23 1996-03-20 Davy Mckee Poole Vorrichtung zum Walzenwechsel für ein Vielwalzengerüst.

Families Citing this family (1)

* Cited by examiner, † Cited by third party
Publication number Priority date Publication date Assignee Title
CN117161973A (zh) * 2023-10-17 2023-12-05 瑨祥(南通)机电设备有限公司 一种光整机工作辊快速换辊结构

Family Cites Families (5)

* Cited by examiner, † Cited by third party
Publication number Priority date Publication date Assignee Title
DE1189861B (de) * 1962-08-04 1965-03-25 Westland Aircraft Ltd Palette zum Tragen und Transportieren von Lasten
GB1281763A (en) * 1968-07-19 1972-07-12 Masch Und Werkzzeugbau Gmbh Improvements in or relating to rolling mill stands
US3842639A (en) * 1973-06-20 1974-10-22 Mesta Machine Co Side-shifting mill roll
SU599866A1 (ru) * 1976-01-04 1978-04-19 Днепропетровский Ордена Трудового Красного Знамени Металлургический Институт Устройство дл боковой фиксации подушек прокатки валков
DE2721436A1 (de) * 1977-05-12 1978-11-16 Schloemann Siemag Ag Arbeitswalzen-schnellwechselvorrichtung fuer walzgerueste

Cited By (1)

* Cited by examiner, † Cited by third party
Publication number Priority date Publication date Assignee Title
EP0684089A3 (de) * 1994-05-23 1996-03-20 Davy Mckee Poole Vorrichtung zum Walzenwechsel für ein Vielwalzengerüst.

Also Published As

Publication number Publication date
DE3510842A1 (de) 1986-10-09
EP0195953A3 (de) 1988-09-14

Similar Documents

Publication Publication Date Title
DE2840773C2 (de) Halte- und Führungskorb für den Dorn eines Walzwerks
AT392305B (de) Vorrichtung zum auswechseln elastischer-walzen eines superkalanders
DE2047480A1 (de) Raupenkran mit veränderbarer Spurweite
DE1283782B (de) Universalwalzgeruest mit die Staenderfenster ueberbrueckenden Buegeln
DE2840919B2 (de) An einer Streckenvortriebsmaschine angeordnete Vorrichtung zum Einbringen von Ausbaurahmen eines provisorischen Streckenausbaus
DE69101995T2 (de) Anlage zum Richten.
EP0112981A2 (de) Walzenwechselvorrichtung für Sechswalzen-Walzgerüste
DE3541906C1 (de) Wickelmaschine zum Aufwickeln einer Iaengsgeteilten Bahn
EP0569719A1 (de) Bandtransportsystem
EP0195953A2 (de) Transportfahrzeug für den Wechsel insbesondere der Arbeitswalzen oder Zwischenwalzen von Walzgerüsten
DE1506519B1 (de) Teleskopausleger
DE1508957B1 (de) Schleudergiessmaschine
DE60119745T2 (de) Anlage und verfahren zur behandlung einer formmaterialbahn
EP0050362A2 (de) Rohrbündel-Reinigungsanlage
DE3144927C2 (de)
EP0853143A1 (de) Vorrichtung zum Verfahren von Traversen für den Transport von Werkstücken
DE3420829A1 (de) System zum auswechseln von walzgeruesten eines formstahl-walzwerks, als walzgeruesttraeger dienender mehrfachfunktions-laufwagen fuer das aufstellen an den walzplaetzen und den transport zu den vormontagestellen
DE551075C (de) Vorrichtung zum Einlagern von Papierrollen in ihre Haltedorne bei Rotationsdruckmaschinen
DE1031726B (de) Vorrichtung fuer Fahrzeuge, insbesondere Kraftfahrzeuge zum Tragen eines fahrbaren Behaelters auf der Ladeflaeche
DE3237904A1 (de) Vorrichtung zum austausch von walzen in einem rohrwalzwerk
DE2314077B2 (de) Vorrichtung zum Transportieren von Rohren durch eine Wärmebehandlungseinrichtung
DE3842132C1 (en) Roller table in a band accumulator
DE2905615C2 (de) Sinterbrecher
DE2929423A1 (de) Einrichtung zum walzenwechsel der horizontal- und vertikalwalzensaetze bei universalwalzgeruesten
DE3340737A1 (de) Gleisbaumaschine zum greifen und tragen von montierten gleisabschnitten und/oder gleisverbindungen

Legal Events

Date Code Title Description
PUAI Public reference made under article 153(3) epc to a published international application that has entered the european phase

Free format text: ORIGINAL CODE: 0009012

AK Designated contracting states

Kind code of ref document: A2

Designated state(s): FR GB IT

PUAL Search report despatched

Free format text: ORIGINAL CODE: 0009013

AK Designated contracting states

Kind code of ref document: A3

Designated state(s): FR GB IT

STAA Information on the status of an ep patent application or granted ep patent

Free format text: STATUS: THE APPLICATION IS DEEMED TO BE WITHDRAWN

18D Application deemed to be withdrawn

Effective date: 19890315

RIN1 Information on inventor provided before grant (corrected)

Inventor name: WEITERMANN, HANS-DIETER