EP0185940A2 - WC-Spülkasten - Google Patents

WC-Spülkasten Download PDF

Info

Publication number
EP0185940A2
EP0185940A2 EP85114852A EP85114852A EP0185940A2 EP 0185940 A2 EP0185940 A2 EP 0185940A2 EP 85114852 A EP85114852 A EP 85114852A EP 85114852 A EP85114852 A EP 85114852A EP 0185940 A2 EP0185940 A2 EP 0185940A2
Authority
EP
European Patent Office
Prior art keywords
lever
additional weight
valve body
spring
emptying
Prior art date
Legal status (The legal status is an assumption and is not a legal conclusion. Google has not performed a legal analysis and makes no representation as to the accuracy of the status listed.)
Withdrawn
Application number
EP85114852A
Other languages
English (en)
French (fr)
Other versions
EP0185940A3 (de
Inventor
Konrad Dr. Altmann
Current Assignee (The listed assignees may be inaccurate. Google has not performed a legal analysis and makes no representation or warranty as to the accuracy of the list.)
Individual
Original Assignee
Individual
Priority date (The priority date is an assumption and is not a legal conclusion. Google has not performed a legal analysis and makes no representation as to the accuracy of the date listed.)
Filing date
Publication date
Priority claimed from DE19848434369 external-priority patent/DE8434369U1/de
Priority claimed from DE19858502680 external-priority patent/DE8502680U1/de
Priority claimed from DE19858502988 external-priority patent/DE8502988U1/de
Application filed by Individual filed Critical Individual
Publication of EP0185940A2 publication Critical patent/EP0185940A2/de
Publication of EP0185940A3 publication Critical patent/EP0185940A3/de
Withdrawn legal-status Critical Current

Links

Images

Classifications

    • EFIXED CONSTRUCTIONS
    • E03WATER SUPPLY; SEWERAGE
    • E03DWATER-CLOSETS OR URINALS WITH FLUSHING DEVICES; FLUSHING VALVES THEREFOR
    • E03D1/00Water flushing devices with cisterns ; Setting up a range of flushing devices or water-closets; Combinations of several flushing devices
    • E03D1/02High-level flushing systems
    • E03D1/14Cisterns discharging variable quantities of water also cisterns with bell siphons in combination with flushing valves
    • E03D1/142Cisterns discharging variable quantities of water also cisterns with bell siphons in combination with flushing valves in cisterns with flushing valves
    • E03D1/144Cisterns discharging variable quantities of water also cisterns with bell siphons in combination with flushing valves in cisterns with flushing valves having a single flush outlet and an additional float for delaying the valve closure

Definitions

  • a sealing ring 23 is attached below on a pipe 22, which also serves as an overflow pipe.
  • a floating body 25 is attached to the tube at a medium height.
  • the tube 22 can be raised by actuating the lever 35, which engages in the bracket 34 and is rotatable about the axis 37. If this happens, the sealing ring 23 is simultaneously raised against the hydrostatic pressure.
  • the drain 24 then remains open until the level has dropped to the level of the float 25.
  • the valve then closes due to its own weight and the effect of an additional weight connected to the tube 22, which together with the former somewhat outweighs the buoyancy of the floating body 27.
  • the former is shown in broken lines in FIG. 1, in the position which it assumes after the right end has been depressed.
  • the object of the present invention is to improve the construction just described while maintaining the compact structure so that the function of the magnetic coupling is replaced by a purely mechanical control mechanism. This can be achieved according to the invention if the additional weight is not connected to the tube 22, but rather is integrated into the lever mechanism 35, 36 in such a way that it only becomes effective when the lever 35 is actuated. In the following, seven design suggestions are made by which this task is solved.
  • the first proposal consists in arranging the additional weight in such a way that when the lever 36 is actuated it engages on a support element which is fixedly connected to the cistern, but is released again when the lever 35 is actuated.
  • FIGS. 2 and 3 show a detail of Fig. 2 from the perspective of arrows III - III.
  • the plate 1 is shaped so that it has a neck 4 through which Slot is guided in the support member 5.
  • the additional weight 33 is attached to it.
  • the support element can be designed as a crossbar in the cistern.
  • the plate 1 tilts to the left and remains in the downward movement after releasing the lever with the nose 6 on the support element.
  • the weight 33 then no longer bears on the valve body 22, so that the valve remains open until the cistern is emptied.
  • the levers 35 and 36 engage in the bracket 34 in two elongated holes, which allow sufficient vertical play.
  • the lever 36 is actuated again, the plate remains in its position, so that emptying takes place analogously.
  • the additional weight is connected directly to the lever 36 and its function is controlled according to claim 3 by the movement of the valve body.
  • An exemplary embodiment of this is described with reference to FIG. 4.
  • the lever 36 which can be designed for this purpose as a fork, that is rotatable about the axis 10 T-shaped element 11 attached. Its movement is so limited by the stops 12 that it can only tip back and forth. The left end of the T-piece engages in the bracket 34, but this time the vertical play is limited. If the lever 36 is raised, the T-piece tilts to the left due to the resistance of the valve body. Since the valve remains in the upper position after opening due to the buoyancy of the floating bodies, the T-piece tilts to the right after release due to the then downward movement of the lever 36, the upper end of the cross-piece hooking onto the cross-rod 13.
  • the T-piece which now bears on the bracket 34 with the lever 36, remains in the position tilted to the right and is therefore not hooked on.
  • the hook 14 does not abut the crossbar 13, so that the stroke of the valve body is not reduced. Since during this actuation, as already mentioned, the lever 36 with the additional weight 33 always bears on the valve body during the emptying, the valve closes prematurely in the manner described above.
  • the additional weight can be dispensed with if the T-piece is made of a sufficiently heavy material, e.g. B. brass is made.
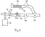
  • FIG. 5 in turn shows a T-piece 11, which is fastened to the lever 36 as in FIG. 4 and can perform the tilting movement limited by the stops 12. However, the hook at the top of the T-piece is missing.
  • the additional weight 33 is fastened to a lever 15 which can be rotated about the same axis 37 as the lever 36 (see FIG. 1) and, in the rest position of the lever 36, rests on the support element 13 which is firmly connected to the cistern. If the lever 36 is actuated, the T-piece tilts to the left, so that its upper end moves past the left end of the lever 15 and only returns to the starting position after the valve has been closed. In this type of actuation, the additional weight 33 therefore does not bear on the valve body during emptying.
  • valve body is raised by the lever 35, which is not shown here, as arranged in FIG. 1, the T-piece remains tilted to the right, so that its upper end also lifts the additional weight 33. This therefore loads the valve body during emptying and ends it prematurely.
  • an L-shaped actuator can be attached to the lever 35, the rotational movement of which, like that of the T-piece, is limited by stops and which is tilted by a bolt attached to the lever 36. Since in this arrangement the lever 35 can be lifted by the lever 36, only the lever 35 needs to engage in the bracket 34 so that the lever 36 can be shortened.
  • An exemplary embodiment of this is sketched in FIGS. 6 and 6a.
  • the nose 19 is attached on the left and the crossbar 20 on the right.
  • the axis 37 is fastened on both sides or on a (preferably the rear) side of the lever by means of an elongated hole 39 on the support element 38 so that the lever 36 in addition to the rotational movement in the plane of the drawing of FIG Can run longitudinal axis.
  • the hole in the bracket 34 into which the lever engages serves as the second fulcrum for this tilting movement.
  • the lever 15 is also fastened to the support element 38 with the aid of the axis 40, as shown in FIG. 7a, and on this the additional weight 33. The lever 15 rests on the stop 13 in the rest position.
  • the nose 19 tilts forward and then moves upwards in front of the lever 15 when the rod 20 is further depressed.
  • the additional weight 33 is thus not raised in this case, so that it is completely emptied.
  • FIG. 8 shows the cistern outlined in FIG. 1 from above.
  • the figures 8A to 8D show details from FIG. 8 from the perspective of the correspondingly designated arrows A - A to D - D.
  • the axis 41 rigidly connected to the lever 36 is rotatably mounted on the bridge 38 with the aid of the clamp 39.
  • the extensions of the axis 41 on both sides serve to limit the tilting movement of the lever 36 about its longitudinal axis and at the same time absorb the torsional forces which occur when the ends of the crossbar 20 are pressed down so that no additional frictional forces act on the clamp 39.
  • the supports 42 serve as stops for the tilting movement about the longitudinal axis.
  • the axis 41 is bent, as shown in FIG. 8a, so that the part of the axis effective in the respective tilting position runs horizontally.
  • the notch 50 prevents the axle from slipping to the side.
  • the lever 36 If one of the ends of the transverse rod 20 is depressed, the lever 36 first assumes one of the possible tilt positions with respect to its longitudinal axis and then rotates about the transverse axis 41. In the process, it presses against the spring 43, which is guided through the mandrel 44. The mandrel 44 is attached to the extension 48 of the bridge 38 and engages in the hole 45 in the lever 36. A deflection of the spring upwards is prevented by the stop 47, which has the shape of a clip and enables the spring to be easily installed. The length of the spring is dimensioned such that it is only compressed when the valve body which opens when the lever 36 is rotated is raised by a distance which corresponds to approximately 1/2 to 2/3 of the total stroke.
  • FIGS. 8 C and 8 D show, designed in such a way that it has different effects depending on the tilt position which the lever 36 assumes with respect to its longitudinal axis.
  • lever 36 If the lever 36 is in the position shown in FIG. 4C, its end, which has an L-shaped cross section, can slide up and down in the bracket 34, which has the following purpose. If the valve body is raised in this position of the lever 36, it can move freely upwards under the effect of the buoyancy of the two floats, the lower part of the L-shaped cross section of the lever sliding into the slot 46. If the lever 36 abuts the spring 43 during this type of actuation, the spring relaxes again immediately after the lever is released, thanks to a sufficient dimensioning of the opening in the bracket 34, and does not act on the valve body. The cistern therefore empties completely in a known manner with this type of actuation. In the rest position, the lever 36 is prevented from sinking into the slot 46 by the extension 48 serving as a stop.
  • the lever 1 36 can be brought from the rest position into the position shown in FIG. 4 D by corresponding actuation of the cross bar 20. If the valve body is raised in this position of the lever, the lower end of the L-shaped cross section hooks onto the projection 49, so that the spring 43 is tensioned during the opening process by the buoyancy of the two floats. In this case, since the force effect is such that, together with the weight of the valve body, it slightly outweighs the buoyancy of the lower float 27, the valve closes when the water level reaches the position of the upper float 25.
  • buttons which are integrated in the lid of the cistern and arranged parallel to the cistern, to each of which a nose is attached.
  • the points of action of these lugs on the crossbar 20 are to be placed as close as possible to the lever 36 in order to avoid long distances when carrying out the longitudinal tilting.
  • the T-shaped element 16 is rotatably attached to the lever 36 and can perform a tilting movement limited by the stops 17. In the rest position, the T-piece 16 is in the position tilted to the right due to an excess weight of the right arm.
  • the lever 36 is actuated, the lever 15 with the additional weight 33, which rests on the stop 13 in the rest position, is also lifted. If the lever 36 is only raised until the left arm of the T-piece 16 abuts the stop 18, the weight 33 is additionally loaded on the valve body 22 during emptying, so that the valve closes prematurely. However, if Lever 36 further raised when opening, the T-piece is tilted to the left, so that the lever 15 is released and falls back on the stop 13. The additional weight 33 no longer bears on the valve body during the emptying, which results in full emptying.
  • an elongated hole is provided in the bracket 34, in which the lever 36 has sufficient play.
  • the resistance at the first pressure point can be realized in that the left end of the lever 15 is bent slightly downward, so that the upper end of the element 16 hooks in easily.
  • the stated principle can also be changed in such a way that the release of the additional weight is caused by a horizontal movement of the actuating lever, which takes place either simultaneously with or after the vertical movement.

Landscapes

  • Health & Medical Sciences (AREA)
  • Life Sciences & Earth Sciences (AREA)
  • Engineering & Computer Science (AREA)
  • Hydrology & Water Resources (AREA)
  • Public Health (AREA)
  • Water Supply & Treatment (AREA)
  • Vehicle Waterproofing, Decoration, And Sanitation Devices (AREA)
  • Float Valves (AREA)

Abstract

Die Erfindung betrifft einen WC-Spülkasten mit einem Abflußventil und einer Einrichtung zur definierten Teil- und Vollentleerung (2-Stufenspülung). Das Ventil wird durch einen Hebelmechanismus geöffnet, der eine gesondere Betätigung zum Zwecke der Teil- bzw. Vollentleerung vorsieht. Die Teilentleerung wird durch ein Zusatzgewicht bzw. durch eine Feder und einen Schwimmer bewerkstelligt, der entsprechend der abzulassenden Wassermenge in mittlerer Höhe an dem Ventilkörper befestigt ist. Das Zusatzgewicht wird durch den Hebelmechanismus auf mechanische Weise so gesteu ert, daß es während der Teilentleerung, nicht aber während der Vollentleerung auf dem Ventilkörper lastet.

Description

  • In der Patentanmeldung P 33 21 453.0 wurde eine Konstruktion vorgeschlagen, die es ermöglicht, einen WC-Spülkasten mit Hilfe eines einzigen Ablaufventils ganz oder teilweise zu entleeren. Die wesentlichen Elemente der in der P 33 21 453.0 angegebenen Konstruktion werden im Folgenden anhand von Fig. 1 beschrieben.
  • An einem Rohr 22, das gleichzeitig als Überlaufrohr dient, ist unten ein Dichtungsring 23 befestigt. Außerdem ist an dem Rohr in mittlerer Höhe ein Schwimmkörper 25 befestigt. Das Rohr 22 kann durch Betätigen des Hebels 35, der in den Bügel 34 eingreift, und um die Achse 37 drehbar ist, angehoben werden. Geschieht dies, so wird gleichzeitig der Dichtungsring 23 gegen den hydrostatischen Druck angehoben. Der Abfluß 24 bleibt dann so lange geöffnet, bis der Pegel auf die Höhe des Schwimmers 25 abgesunken ist. Daraufhin schließt sich das Ventil infolge seines Eigengewichts und der Wirkung eines mit dem Rohr 22 verbundenen Zusatzgewichts, welches zusammen mit ersterem den Auftrieb des Schwimmkörpers 27 etwas überwiegt. Um den Hebel 35 von dem in der Zeichnung parallel angeordneten Hebel 36 zu unterscheiden, ist ersterer in Fig. 1 gestrichelt eingezeichnet, und zwar in der Position, die er nach Niederdrücken des rechten Endes einnimmt.
  • Um eine Vollentleerung einzuleiten, wurde in der P 33 21 453.0 vorgeschlagen, das Rohr 22 durch Betätigen eines zweiten Hebels 36 anzuheben. Um ein vorzeitiges Schließen zu verhindern, wurde weiter vorgeschlagen, daß dieser zweite Hebel in der nach der Betätigung eingenommenen gekippten Position durch eine magnetische Haftkupplung solange festgehalten wird, bis diese bei leerem Spülkasten durch nach unten wirkende Kräfte getrennt wird. Dies tritt dann ein, wenn der Zusatzbehälter 28, aus dem das Wasser, um eine vollständige Entleerung des Spülkastens zu gewährleisten, durch die Öffnungen 29 verzögert ausläuft, nahezu leer ist; denn dann vergrößern sich die nach unten auf den Ventilkörper wirkenden Kräfte um das Gewicht der durch den Schwimmkörper 27 verdrängten Wassermasse.
  • Dieses Verfahren funktioniert, wie vom Anmelder erprobt, zuverlässig. Es hat jedoch den Nachteil, daß die Magnetkupplung ein bisher im Spülkastenbau nicht erprobtes, neuartiges Konstruktionselement darstellt, was einen größeren Testaufwand vor Beginn einer Serienproduktion bedingt.
  • Aufgabe der vorliegenden Erfindung ist es, die eben beschriebene Konstruktion unter Beibehaltung des kompakten Aufbaues so zu verbessern, daß die Funktion der Magnetkupplung durch einen rein mechanischen Steuermechanismus ersetzt wird. Dies läßt sich erfindungsgemäß erreichen, wenn man das Zusatzgewicht nicht mit dem Rohr 22 verbindet, sondern in den Hebelmechanismus 35, 36 so integriert, daß es nur bei der Betätigung des Hebels 35 wirksam wird. Im Folgenden werden sieben Konstruktionsvorschläge gemacht, durch welche diese Aufgabe gelöst wird.
  • Der erste Vorschlag besteht darin, das Zusatzgewicht so anzuordnen, daß es bei Betätigung des Hebels 36 an einem fest mit dem Spülkasten verbundenen Trageelement eingerastet wird, bei Betätigung des Hebels 35 jedoch wieder ausgerastet wird.
  • Ein Ausführungsbeispiel hierzu wird anhand von Fig. 2 und 3 beschrieben. Fig. 3 stellt eine Einzelheit aus Fig. 2 aus der Sicht der Pfeile III - III dar.
  • An den Hebeln 35 und 36 sind zwei Bolzen 2 und 3 befestigt, die in zwei Schlitze in der Platte 1 eingreifen. Die Platte 1 ist so geformt, daß sie einen Hals 4 hat, der durch einen Schlitz in dem Trageelement 5 geführt ist. Außerdem ist an ihr das Zusatzgewicht 33 befestigt. Das Trageelement kann als Querstange in dem Spülkasten ausgebildet sein.
  • Wird der Hebel 36 angehoben, so kippt die Platte 1 nach links und bleibt bei der Abwärtsbewegung nach Loslassen des Hebels mit der Nase 6 an dem Trageelement hängen. Das Gewicht 33 lastet dann nicht mehr auf dem Ventilkörper 22, so daß das Ventil bis zur Entleerung des Spülkastens offen bleibt. Um dies tatsächlich zu gewährleisten, greifen die Hebel 35 und 36 in dem Bügel 34 in zwei Langlöcher ein, die ein ausreichendes vertikales Spiel zulassen. Bei einer erneuten Betätigung des Hebels 36 verbleibt die Platte in ihrer Position, sodaß die Entleerung analog erfolgt.
  • Wird jedoch der Hebel 35 angehoben, so kippt die Platte 1 nach rechts und wird somit ausgehakt. Das Zusatzgewicht 33 lastet daher während des Entleerungsvorgangs auf dem Hebel 35 und somit auch auf dem Ventilkörper. Das Ventil bleibt folglich nur solange offen, bis der Wasserspiegel die Position des Schwimmkörpers 25 erreicht hat. Da es nicht nötig ist, daß das Zusatzgewicht bis zur völligen Schließung auf dem Ventilkörper lastet, wird vorgeschlagen, die Abwärtsbewegung der Platte 1 durch den Anschlag 7 zu stoppen. Dadurch wird ein sanfteres Schließen bei der Teilentleerung bezweckt.
  • Beim zweiten Konstrutkionsvorschlag wird das Zusatzgewicht unmittelbar mit dem Hebel 36 verbunden und seine Funktion entsprechend Anspruch 3 durch die Bewegung des Ventilkörpers gesteuert. Ein Ausführungsbeispiel hierzu wird anhand von Fig. 4 beschrieben.
  • Am linken Ende des Hebels 36, das zu diesem Zweck als Gabel ausgebildet sein kann, ist um die Achse 10 drehbar das T-förmige Element 11 befestigt. Seine Bewegung ist durch die Anschläge 12 so eingeschränkt, daß es nur hin und herkippen kann. Das linke Ende des T-Stücks greift in den Bügel 34 ein, wobei jedoch diesmal das vertikale Spiel knapp bemessen ist. Wird der Hebel 36 angehoben, so kippt das T-Stück infolge des Widerstands des Ventilkörpers nach links. Da das Ventil nach Öffnung wegen des Auftriebs der Schwimmkörper in der oberen Position verbleibt, kippt das T-Stück nach dem Loslassen infolge der dann einsetzenden Abwärtsbewegung des Hebels 36 nach rechts, wobei sich das obere Ende des Querstücks an der Querstange 13 einhakt. Hat das rechte Ende des T-Stücks nach unten hin genügend Spiel, so lastet der Hebel 36 mit dem Zusatzgewicht 33 nun nicht mehr auf dem Ventilkörper, sodaß sich der Spülkasten vollständig entleeren kann. Durch die dann erfolgende Abwärtsbewegung des Ventilkörpers wird das T-Stück wieder nach links gedreht und somit ausgehakt.
  • Wird der Ventilkörper durch den hier nicht eingezeichneten zweiten Hebel 35 angehoben, so verbleibt das T-Stück, das nun mit dem Hebel 36 auf dem Bügel 34 lastet, in der nach rechts gekippten Lage und wird somit nicht eingehakt. Durch geeignete Wahl der Lage des oberen Anschlags 12 läßt sich überdies erreichen, daß der Haken 14 nicht an der Querstange 13 anstößt, sodaß der Hub des Ventilkörpers nicht vermindert wird. Da bei dieser Betätigung, wie bereits erwähnt, der Hebel 36 mit dem Zusatzgewicht 33 während der Entleerung stets auf dem Ventilkörper lastet, schließt sich das Ventil in der weiter oben beschriebenen Weise vorzeitig. Auf das Zusatzgewicht kann verzichtet werden, wenn das T-Stück aus einem genügend schweren Material z. B. Messing angefertigt wird.
  • Die eben beschriebene Konstruktion läßt sich vereinfachen, wenn man das Zusatzgewicht entsprechend Anspruch anordnet. Ein Ausführungsbeispiel hierzu wird im Folgenden anhand von Fig.. 5 beschrieben.
  • Fig. 5 zeigt wiederum ein T-Stück 11, das wie in Fig. 4 an dem Hebel 36 befestigt ist und die durch die Anschläge 12 begrenzte Kippbewegung ausführen kann. Es fehlt jedoch der Haken am oberen Ende des T-Stücks. Das Zusatzgewicht 33 ist an einem Hebel 15 befestigt, der um dieselbe Achse 37 wie der Hebel 36 drehbar ist (siehe Fig. l) und in der Ruhelage des Hebels 36 auf dem fest mit dem Spülkasten verbundenen Trageelement 13 aufliegt. Wird der Hebel 36 betätigt, so kippt das T-Stück nach links, sodaß sich sein oberes Ende am linken Ende des Hebels 15 vorbeibewegt und erst nach Schließung des Ventils wieder Ausgangsposition zurückkehrt. Das Zusatzgewicht 33 lastet daher bei dieser Betätigungsart während der Entleerung nicht auf dem Ventilkörper. Wird dagegen der Ventilkörper durch den hier nicht eingezeichneten wie in Fig. 1 angeordneten Hebel 35 angehoben, so verbleibt das T-Stück nach rechts verkippt, sodaß sein oberes Ende das Zusatzgewicht 33 mitanhebt. Dieses lastet daher während der Entleerung auf dem Ventilkörper und beendet diese vorzeitig.
  • Es sind noch weitere Variationen dieses Prinzips möglich. So kann an dem Hebel 35 ein L-förmiges Stellglied befestigt werden, dessen Drehbewegung ähnlich wie diejenige des T-Stücks durch Anschläge eingeschränkt wird und das durch einen an dem Hebel 36 befestigten Bolzen verkippt wird. Da bei dieser Anordnung der Hebel 35 durch den Hebel 36 mitangehoben werden kann, braucht nur noch der Hebel 35 in den Bügel 34 einzugreifen, sodaß der Hebel 36 verkürzt werden kann. Ein Ausführungsbeispiel hierzu ist in Fig.6 und 6a skizziert.
  • Eine Vereinfachung des eben dargelegten Prinzips ergibt sich, wenn man die beiden Hebel 35 und 36 zusammen mit dem Stellglied in ein einziges Konstruktionselement zusammenfaßt. Erfindungsgemäß wird dies dadurch erreicht, daß nur noch ein Betätigungshebel benutzt wird, der jedoch so angebracht ist, daß er außer der Drehbewegung um die quer zu ihm angeordnete Achse 37 noch eine Drehkippbewegung um seine Längsrichtung ausführen kann. Die hierzu vorgeschlagene Konstruktion wird im Folgenden anhand der Figuren 7 und 7a beschrieben. Fig. 7a zeigt die in Fig. 7 dargestellte Anordnung aus der Sicht der Pfeile VII-VII
  • An dem Hebel 36, der sich um die Achse 37 drehen kann, ist links die Nase 19 und rechts die Querstange 20 angebracht. Die Achse 37 ist auf beiden Seiten oder auf einer (bevorzugt der hinteren) Seite des Hebels mit Hilfe eines Langlochs 39 an dem Trageelement 38 so befestigt, daß der Hebel 36 zusätzlich zu der Drehbewegung in der Zeichenebene von Fig. 7 noch eine Drehkippbewegung um seine Längsachse ausführen kann. Als zweiter Drehpunkt für diese Drehkippbewegung dient das Loch in dem Bügel 34, in das der Hebel eingreift. Außer dem Hebel 36 ist an dem Trageelement 38 noch der Hebel 15 mit Hilfe der Achse 40 befestigt, wie Fig. 7a zeigt, und an diesem das Zusatzgewicht 33. Der Hebel 15 liegt in der Ruhelage auf dem Anschlag 13 auf.
  • Das obere Ende der Nase 19, welche von unten nach oben etwas schräg nach hinten verläuft, befindet sich in der Ruhelage unter dem Hebel 15. Wird daher zur Öffnung des Ventils das hintere Ende der Stange 20 niedergedrückt, so verbleibt die Nase 19 unter dem Hebel 15, sodaß das Zusatzgewicht 33 mitangehoben wird und während. der Entleerung auf dem Ventilkörper 22 lastet. Das Ventil schließt daher, wenn der Wasserstand den Schwimmer 25 erreicht.
  • Wird dagegen das vordere Ende der Stange 20 niedergedrückt, so kippt die Nase 19 nach vorne und bewegt sich dann bei weiterem Niederdrücken der Stange 20 vor dem Hebel 15 nach oben. Das Zusatzgewicht 33 wird somit in diesem Fall nicht mit angehoben, sodaß eine Vollentleerung erfolgt.
  • Eine weitere Vereinfachung wird erzielt, wenn auch noch auf den Hebel 15 verzichtet und das Gewicht 33 so angeordnet wird, daß es entlang einer senkrechten Führungsstange, die an der Brücke 38 befestigt ist auf- und abrutschen kann. Ein Ausführungsbeispiel hierzu, bei dem das Gewicht durch eine Feder ersetzt ist, wird im Folgenden anhand der Fign. 8, 8A, 8B, 8C und 8D beschrieben. Fig. 8 zeigt den in Fig. 1 skizzierten Spülkasten von oben. Die Fign. 8A bis 8D zeigen Details aus Fig. 8 aus der Sicht der entsprechend bezeichneten Pfeile A - A bis D - D. Die starr mit dem Hebel 36 verbundene Achse 41 ist auf der Brücke 38 mit Hilfe der Klammer 39 drehbar gelagert. Die beidseitigen Verlängerungen der Achse 41 dienen dazu, die Kippbewegung des Hebels 36 um seine Längsachse zu begrenzen und gleichzeitig die beim Niederdrücken der Enden der Querstange 20 auftretenden Torsionskräfte so aufzufangen, daß keine zusätzlichen Reibungskräfte an der Klammer 39 wirken. Als Anschläge für die Kippbewegung um die Längsachse dienen die Stützen 42. Die Achse 41 ist,' wie Fig. 8a zeigt, geknickt, damit der in der jeweiligen Kippstellung wirksame Teil der Achse horizontal verläuft. Ein Verrutschen der Achse nach der Seite wird durch die Einkerbung 50 verhindert.
  • Wird eines der Enden der Querstange 20 niedergedrückt, so nimmt der Hebel 36 zunächst eine der möglichen Kippstellungen bezüglich seiner Längsachse ein und dreht sich dann um die Querachse 41. Dabei drückt er gegen die Feder 43, welche durch den Dorn 44 geführt wird. Der Dorn 44 ist an dem Fortsatz 48 der Brücke 38 befestigt und greift in das Loch 45 in dem Hebel 36 ein. Ein Ausweichen der Feder nach oben wird durch den Anschlag 47 verhindert, der die Form einer Klammer hat und eine einfache Montage der Feder ermöglicht. Die Länge der Feder ist so bemessen, daß sie erst zusammengedrückt wird, wenn der bei der Drehung des Hebels 36 sich öffnende Ventilkörper um ein Wegstück angehoben ist, das etwa 1/2 bis 2/3 des Gesamthubs entspricht.
  • Der Eingriff des Hebels 36 in den an dem Ventilkörper 22 befestigten Bügel 34 ist, wie die Fign. 8 C und 8 D zeigen, so gestaltet, daß er in Abhängigkeit von der Kippstellung, welche der Hebel 36 bezüglich seiner Längsachse einnimmt, unterschiedlich wirksam ist.
  • Befindet sich der Hebel 36 in der in Fig. 4 C gezeigten Stellung, so kann sein Ende welches einen L-förmigen Querschnitt besitzt, in dem Bügel 34 auf- und niedergleiten, was folgenden Zweck hat. Wird der Ventilkörper in dieser Stellung des Hebels 36 angehoben, so kann er sich unter der Wirkung des Auftriebs der beiden Schwimmer ungehindert nach oben bewegen, wobei sich der untere Teil des L-förmigen Querschntts des Hebels in den Schlitz 46 schiebt. Stößt der Hebel 36 bei dieser Art der Betätigung an der Feder 43 an, so entspannt sich diese dank einer ausreichenden Bemessung der Öffnung in dem Bügel 34 nach Loslassen des Hebels sofort wieder und wirkt nicht auf den Ventilkörper ein. Der Spülkasten entleert sich daher bei dieser Art der Betätigung in bekannter Weise vollständig. In der Ruhelage wird ein Absinken des Hebels 36 in den Schlitz 46 durch den als Anschlag dienenden Fortsatz 48 verhindert.
  • Dank des Anschlags 48 kann der Hebel 1 36 durch entsprechende Betätigung der Querstange 20 aus der Ruhelage in die in Fig. 4 D gezeigte Stellung gebracht werden. Wird der Ventilkörper in dieser Stellung des Hebels angehoben, so hakt sich das untere Ende des L-förmigen Querschnitts an dem Vorsprung 49 ein, sodaß die Feder 43 während des Öffnungsvorgangs durch den Auftrieb der beiden Schwimmer gespannt wird. Da ihre Kraftwirkung so bemessen ist, daß sie zusammen mit dem Eigengewicht des Ventilkörpers den Auftrieb des unteren Schwimmers 27 etwas überwiegt, schließt sich in diesem Fall das Ventil, wenn der Wasserstand die Position des oberen Schwimmers 25 erreicht.
  • Ein unzeitiges Zurückkippen des Hebels 36 aus den in den Fign. 2 C und D gezeigten Positionen ist nicht zu erwarten. Zur Sicherheit wird jedoch empfohlen, die Masse des Hebels so zu verteilen, daß sich sein Schwerpunkt über der Klammer 39 befindet, sodaß den beiden Kippstellungen stabile Gleichgewichtslagen entsprechen.
  • Es wird weiter vorgeschlagen, die Querstange 20 durch zwei in den Deckel des Spülkastens integrierte parallel zum Spülkasten angeordnete Tasten zu betätigen, an denen jeweils eine Nase befestigt ist. Die Einwirkpunkte dieser Nasen auf die Querstange 20 sind, um große Wege bei der Durchführung der Längsverkippung zu vermeiden, möglichst nahe an den Hebel 36 zu legen. Um ein exaktes Angreifen der Nasen an der Querstange 20 zu ermöglichen, wird vorgeschlagen, diese so zu knicken, daß das jeweils niedergedrückte Ende waagrecht verläuft.
  • Das durch Anspruch 1 beschriebene Prinzip läßt sich weiterhin so variieren, - daß die Betätigung durch nur eine Taste erfolgt, wobei die Teilentleerung dadurch eingeleitet wird, daß die Taste bis zu einem ersten Druckpunkt betätigt wird, während zum Zwecke der Vollentleerung die Taste über diesen Druckpunkt hinaus betätigt wird. Die hierzu vorgeschlagene Konstruktion wird im Folgenden anhand von Fig. 9 beschrieben.
  • An dem Hebel 36 ist das T-förmige Element 16 drehbar befestigt, welches eine durch die Anschläge 17 begrenzte Kippbewegung ausführen kann. In der Ruhelage befindet sich das T-Stück 16 infolge eines Übergewichtes des rechten Armes in der nach rechts verkippten Position. Bei Betätigen des Hebels 36 wird daher der Hebel 15 mit dem Zusatzgewicht 33, welcher in der Ruhelage auf dem Anschlag 13 aufliegt, mitangehoben. Erfolgt das Anheben des Hebels 36 nur soweit bis der linke Arm des T-Stücks 16 an dem Anschlag 18 anstößt, so lastet das Gewicht 33 während der Entleerung zusätzlich auf dem Ventilkörper 22, sodaß sich das Ventil vorzeitig schließt. Wird jedoch der Hebel 36 beim Öffnen weiter angehoben, so wird das T-Stück nach links gekippt, sodaß der Hebel 15 ausgeklinkt wird und auf den Anschlag 13 zurückfällt. Das Zusatzgewicht 33 lastet nun während der Entleerung nicht mehr auf dem Ventilkörper, was eine Vollentleerung zur Folge hat.
  • Um im Falle der Teilentleerung ein selbstätiges Anheben des Hebels 36 über den Anschlagpunkt 18 hinaus infolge des Auftriebs der Schwimmer zu vermeiden, ist in dem Bügel 34 ein Langloch vorgesehen, in dem der Hebel 36 ausreichend Spiel hat. Der Widerstand am ersten Druckpunkt kann dadurch realisiert werden, daß das linke Ende des Hebels 15 etwas nach unten gebogen ist, sodaß sich das obere Ende des Elements 16 leicht einhakt.
  • Das angegebene Prinzip läßt sich außerdem dahingehend verändern, daß das Ausklinken des Zusatzgewichts durch eine horizontale Bewegung des Betätigungshebels verursacht wird, welche entweder gleichzeitig mit oder nach der vertikalen Bewegung erfolgt.

Claims (9)

1. WC-Spülkasten mit einem die Ablauföffnung verschließenden Ventilkörper, der einen Schwimmer oder eine sonstige Offenhalteanordnung im unteren Bereich des Spülkastens für die Vollentleerung und einen Schwimmer in mittlerer Höhe entsprechend einer abzugebenden Teilwassermenge aufweist, und mit einem von außerhalb des Spülkastens betätigbaren Hebelmechanismus zur Einleitung einer Voll- oder einer Teilentleerung, gekennzeichnet durch ein Zusatzgewicht (33), das zusammen mit dem Eigengewicht des Ventilkörpers (22) die Offenhaltekraft des unteren Schwimmers (27) bzw. der sonstigen Anordnung etwas überwiegt, jedoch nicht die Offenhaltekraft von unterer Anordnung und oberem Schwimmer (25) zusammen, welches Zusatzgewicht durch eine mechanische Anordnung (2-7; 11-14) mit dem Hebelmechanismus (35, 36) gekoppelt ist, daß bei dessen Betätigung für eine Teilentleerung das Zusatzgewicht auf dem Ventilkörper lastet und bei dessen Betätigung für eine Vollentleerung bzw. in der Ruhelage das Zusatzgewicht durch ein fest mit dem Spülkasten verbundenes Trageelement (5, 13) abgefangen ist.
2. WC-Spülkasten nach Anspruch 1, dadurch gekennzeichnet, daß das Zusatzgewicht durch eine Feder ersetzt wird, die mit dem Hebelmechanismus mechanisch so gekoppelt ist, daß eine Möglichkeit besteht, die Feder mit Hilfe des Hebelmechanismus zu spannen, sodaß diese in gespanntem Zustand direkt oder indirekt auf den Ventilkörper eine Kraft ausübt, welche zusammen mit dem Eigengewicht des Ventilkörpers die Offenhaltekraft des unteren Schwimmers bzw. der sonstigen Anordnung etwas überwiegt, jedoch nicht die Offenhaltekraft von unterer Anordnung und oberem Schwimmer (25) zusammen.
3. WC-Spülkasten nach Anspruch 1, dadurch gekennzeichnet, daß das Zusatzgewicht (33) mit einer Hakenanordnung (6,14) verbunden ist, die bei Betätigung des Hebelmechanismus (36) für eine Vollentleerung des Zusatzgewicht an dem Spülkasten-Trageelement (5,13) einrastet und bei Betätigung des Hebelmechanismus (35) für eine Teilentleerung das eingerastete Zusatzgewicht wieder ausrastet.
4. WC-Spülkasten nach Anspruch 1 oder 2, dadurch gekennzeichnet, daß das Zusatzgewicht (33) oder die Feder an dem Hebel (36) für die Vollentleerung befestigt bzw. in diesen integriert ist und dieser Hebel bei Betätigung an dem Spülkasten-Trageelement (13) eingerastet wird und daß der Ventilkörper (22) mit der Rastanordnung (11-14) verbunden ist, daß bei nahezu vollständiger Entleerung des Spülkastens die Abwärtsbewegung des Ventilkörpers den Hebel ausrastet.
5. WC-Spülkasten nach Anspruch 1, dadurch gekennzeichnet, daß der Hebelmechanismus ein Glied (11,12,) aufweist, das bei Betätigung des Hebelmechanismus (35, 36) für eine Teilentleerung eine Stellung zum Anheben des Zusatzgewichts (33) bzw. zum Spannen der Feder und bei Betätigung des Hebelmechanismus (35, 36) für eine Vollentleerung eine Stellung zum Nichtanheben des Zusatzgewichts (33) bzw. zum Nichtspannen der Feder einnimmt.
6. WC-Spülkasten nach Anspruch 1 oder 2 und Anspruch 5, dadurch gekennzeichnet, daß der Hebelmechanismus einen Hebel (36) aufweist, der um die Querachse (37) drehbar und zusätzlich um seine Längsachse kippbar gelagert ist, und daß dieser so gestaltet ist, daß er in einer der beiden Kipplagen bezüglich der Längsachse bei Betätigung das Zusatzgewicht anhebt bzw. die Feder spannt, während er dies in der anderen Kipplage nicht tut.
7. WC-Spülkasten nach Anspruch 6, dadurch gekennzeichnet, daß der Hebel in beiden Kipplagen bezüglich der Längsachse das Zusatzgewicht anhebt bzw. die Feder spannt, daß er jedochdie Kraftwirkung des Zusatzgewichts bzw. der Feder nur in einer der beiden Kipplagen auf den Ventilkörper überträgt.
8. WC-Spülkasten nach Anspruch 1 oder 2, dadurch gekennzeichnet, daß der Hebelmechanismus eine mit einem Anschlag zusammenarbeitende, am Hebel angebrachte Ausklinkeinrichtung aufweist, durch welche das Zusatzgewicht bzw. die Feder bei Bewegung des Hebels über eine erste Bewegungsstrecke hinaus ausgeklinkt wird.
9. WC-Spülkasten nach Anspruch 1 oder 2, dadurch gekennzeichnet, daß der Hebelmechanismus bzw. der Ventilkörper eine Einrichtung aufweist, mit Hilfe derer das Zusatzgewicht bzw. die Feder nach Einleitung der Entleerung durch eine Rückwärtsbewegung des Betätigungshebels angehoben bzw. gespannt wird, dergestalt, daß sie eine Kraftwirkung auf den Ventilkörper ausüben, sodaß sich das Ventil nach einer Teilentleerung von selbst schließt.
EP85114852A 1984-11-23 1985-11-22 WC-Spülkasten Withdrawn EP0185940A3 (de)

Applications Claiming Priority (6)

Application Number Priority Date Filing Date Title
DE8434369U 1984-11-23
DE19848434369 DE8434369U1 (de) 1984-11-23 1984-11-23 WC - Spülkasten
DE19858502680 DE8502680U1 (de) 1985-02-01 1985-02-01 WC - Spülkasten
DE8502680U 1985-02-01
DE19858502988 DE8502988U1 (de) 1985-02-04 1985-02-04 WC - Spülkasten
DE8502988U 1985-02-04

Publications (2)

Publication Number Publication Date
EP0185940A2 true EP0185940A2 (de) 1986-07-02
EP0185940A3 EP0185940A3 (de) 1987-08-26

Family

ID=27207618

Family Applications (1)

Application Number Title Priority Date Filing Date
EP85114852A Withdrawn EP0185940A3 (de) 1984-11-23 1985-11-22 WC-Spülkasten

Country Status (1)

Country Link
EP (1) EP0185940A3 (de)

Cited By (4)

* Cited by examiner, † Cited by third party
Publication number Priority date Publication date Assignee Title
AU569953B2 (en) * 1984-07-12 1988-02-25 Richelle Pty. Ltd. Cistern with weight-biased outlet valve
NL9201516A (nl) * 1992-08-28 1994-03-16 Wisa Bv Spoelonderbrekingsmechanisme.
WO2011018712A3 (en) * 2009-08-13 2011-05-19 Ecobeta A/S Dual flush toilet valve system
EP3900530A1 (de) 2020-04-23 2021-10-27 Bayer AG Flüssigkeitsmanagement für eine fangvorrichtung

Family Cites Families (8)

* Cited by examiner, † Cited by third party
Publication number Priority date Publication date Assignee Title
US3987501A (en) * 1974-06-17 1976-10-26 Producers Specialty & Mfg. Co., Inc. Toilet flush assembly
DE2601282A1 (de) * 1976-01-15 1977-07-21 Wilhelm Zecher Vorrichtung zum entleeren und selbsttaetigen fuellen eines wasserspeichers, insbesondere toilettenspuelkasten
DE2629126C2 (de) * 1976-06-29 1982-04-15 Hermann 6271 Hünstetten Brahm Vorrichtung zur Begrenzung des Wasserauslaufes aus Wasserbehältern, insbesondere aus Spülkästen für Toiletten
GB2077790A (en) * 1980-04-30 1981-12-23 Ten Sung Chang Dual flush water closet cisterns
EP0145773A1 (de) * 1983-06-14 1985-06-26 Konrad Dr. Altmann Wc - spülkasten
DE8434369U1 (de) * 1984-11-23 1985-07-18 Altmann, Konrad, Dipl.-Phys. Dr., 8000 München WC - Spülkasten
DE8502988U1 (de) * 1985-02-04 1985-07-18 Altmann, Konrad, Dipl.-Phys. Dr., 8000 München WC - Spülkasten
DE8502680U1 (de) * 1985-02-01 1985-07-18 Altmann, Konrad, Dipl.-Phys. Dr., 8000 München WC - Spülkasten

Cited By (5)

* Cited by examiner, † Cited by third party
Publication number Priority date Publication date Assignee Title
AU569953B2 (en) * 1984-07-12 1988-02-25 Richelle Pty. Ltd. Cistern with weight-biased outlet valve
NL9201516A (nl) * 1992-08-28 1994-03-16 Wisa Bv Spoelonderbrekingsmechanisme.
WO2011018712A3 (en) * 2009-08-13 2011-05-19 Ecobeta A/S Dual flush toilet valve system
EP3900530A1 (de) 2020-04-23 2021-10-27 Bayer AG Flüssigkeitsmanagement für eine fangvorrichtung
WO2021213824A1 (de) 2020-04-23 2021-10-28 Bayer Aktiengesellschaft Flüssigkeitsmanagement für eine fangvorrichtung

Also Published As

Publication number Publication date
EP0185940A3 (de) 1987-08-26

Similar Documents

Publication Publication Date Title
DE3786751T2 (de) Zweimengen-Spülkastenmechanismus.
CH651341A5 (de) Betaetigungsvorrichtung fuer das ablaufventil eines unterputz-spuelkastens.
EP0185940A2 (de) WC-Spülkasten
DE9215972U1 (de) Spülkasten-Ablaufventil
CH653560A5 (de) Mit einer skibremse kombinierter fersenhalter.
CH662858A5 (de) Saeule mit daran befestigten vorrichtungen.
DE60022844T2 (de) Automatische Snowboardbindung
AT391276B (de) Sicherheits-skibindung
DE3541369A1 (de) Wc-spuelkasten
DE2905893C2 (de) Bremsvorrichtung für fahrbare Behälter
EP1010826B1 (de) Ablaufgarnitur für einen Spülkasten
WO2014124788A1 (de) Ablaufgarnitur für einen spülkasten
DE2611604C2 (de) Vorrichtung zur Begrenzung des Wasserauslaufes aus Wasserbehältern mit einem Bodenauslauf
DE8434369U1 (de) WC - Spülkasten
DE1780488B2 (de) Vorrichtung zur verstellung der lage einer sattelkupplung auf einer sattelzugmaschine
DE2317553C2 (de) Vorrichtung zum Öffnen des Deckels beim Entleeren von Behältern, beispielsweise Müllgefässen
EP0103046A1 (de) Spülkasten-Ablaufventil (normal)
EP1580338B1 (de) Ablaufarmatur für einen Spülkasten
DE956980C (de) Greiferzangenschloss fuer Aufzuege
EP0537112A1 (de) Betätigungsvorrichtung für das Ablaufventil eines Spülkastens
EP1270829B1 (de) Betätigungsvorrichtung für das Ablaufventil eines Spülkastens
WO1989002409A1 (fr) Fixation de pelle pour chariot elevateur a fourche
EP1208272A1 (de) Betätigungseinrichtung für eine ablaufarmatur eines spülkastens
DE2056490C3 (de) Heberspülvorrichtung in einem Klosettspülkasen zur Abgabe unterschiedlicher Wassermengen
EP1195475A2 (de) Ablaufarmatur für einen WC-Spülkasten

Legal Events

Date Code Title Description
PUAI Public reference made under article 153(3) epc to a published international application that has entered the european phase

Free format text: ORIGINAL CODE: 0009012

AK Designated contracting states

Kind code of ref document: A2

Designated state(s): CH DE FR LI NL

PUAL Search report despatched

Free format text: ORIGINAL CODE: 0009013

AK Designated contracting states

Kind code of ref document: A3

Designated state(s): CH DE FR LI NL

STAA Information on the status of an ep patent application or granted ep patent

Free format text: STATUS: THE APPLICATION IS DEEMED TO BE WITHDRAWN

18D Application deemed to be withdrawn

Effective date: 19880227