EP0165337A2 - Armlager für eine Gelenkarmmarkise - Google Patents

Armlager für eine Gelenkarmmarkise Download PDF

Info

Publication number
EP0165337A2
EP0165337A2 EP84112012A EP84112012A EP0165337A2 EP 0165337 A2 EP0165337 A2 EP 0165337A2 EP 84112012 A EP84112012 A EP 84112012A EP 84112012 A EP84112012 A EP 84112012A EP 0165337 A2 EP0165337 A2 EP 0165337A2
Authority
EP
European Patent Office
Prior art keywords
threaded bolt
arm
pin
arm bearing
webs
Prior art date
Legal status (The legal status is an assumption and is not a legal conclusion. Google has not performed a legal analysis and makes no representation as to the accuracy of the status listed.)
Granted
Application number
EP84112012A
Other languages
English (en)
French (fr)
Other versions
EP0165337A3 (en
EP0165337B1 (de
Inventor
Karl Hesener
Current Assignee (The listed assignees may be inaccurate. Google has not performed a legal analysis and makes no representation or warranty as to the accuracy of the list.)
Paul Voss GmbH and Co KG
Original Assignee
Paul Voss GmbH and Co KG
Priority date (The priority date is an assumption and is not a legal conclusion. Google has not performed a legal analysis and makes no representation as to the accuracy of the date listed.)
Filing date
Publication date
Family has litigation
First worldwide family litigation filed litigation Critical https://patents.darts-ip.com/?family=6238546&utm_source=google_patent&utm_medium=platform_link&utm_campaign=public_patent_search&patent=EP0165337(A2) "Global patent litigation dataset” by Darts-ip is licensed under a Creative Commons Attribution 4.0 International License.
Application filed by Paul Voss GmbH and Co KG filed Critical Paul Voss GmbH and Co KG
Priority to AT84112012T priority Critical patent/ATE51922T1/de
Publication of EP0165337A2 publication Critical patent/EP0165337A2/de
Publication of EP0165337A3 publication Critical patent/EP0165337A3/de
Application granted granted Critical
Publication of EP0165337B1 publication Critical patent/EP0165337B1/de
Anticipated expiration legal-status Critical
Expired - Lifetime legal-status Critical Current

Links

Images

Classifications

    • EFIXED CONSTRUCTIONS
    • E04BUILDING
    • E04FFINISHING WORK ON BUILDINGS, e.g. STAIRS, FLOORS
    • E04F10/00Sunshades, e.g. Florentine blinds or jalousies; Outside screens; Awnings or baldachins
    • E04F10/02Sunshades, e.g. Florentine blinds or jalousies; Outside screens; Awnings or baldachins of flexible canopy materials, e.g. canvas ; Baldachins
    • E04F10/06Sunshades, e.g. Florentine blinds or jalousies; Outside screens; Awnings or baldachins of flexible canopy materials, e.g. canvas ; Baldachins comprising a roller-blind with means for holding the end away from a building
    • E04F10/0666Accessories
    • E04F10/0674Accessories acting as separate supporting bar
    • EFIXED CONSTRUCTIONS
    • E04BUILDING
    • E04FFINISHING WORK ON BUILDINGS, e.g. STAIRS, FLOORS
    • E04F10/00Sunshades, e.g. Florentine blinds or jalousies; Outside screens; Awnings or baldachins
    • E04F10/02Sunshades, e.g. Florentine blinds or jalousies; Outside screens; Awnings or baldachins of flexible canopy materials, e.g. canvas ; Baldachins
    • E04F10/06Sunshades, e.g. Florentine blinds or jalousies; Outside screens; Awnings or baldachins of flexible canopy materials, e.g. canvas ; Baldachins comprising a roller-blind with means for holding the end away from a building
    • E04F10/0611Sunshades, e.g. Florentine blinds or jalousies; Outside screens; Awnings or baldachins of flexible canopy materials, e.g. canvas ; Baldachins comprising a roller-blind with means for holding the end away from a building with articulated arms supporting the movable end of the blind for deployment of the blind
    • E04F10/0618Sunshades, e.g. Florentine blinds or jalousies; Outside screens; Awnings or baldachins of flexible canopy materials, e.g. canvas ; Baldachins comprising a roller-blind with means for holding the end away from a building with articulated arms supporting the movable end of the blind for deployment of the blind whereby the pivot axis of the articulation is perpendicular to the roller
    • EFIXED CONSTRUCTIONS
    • E04BUILDING
    • E04FFINISHING WORK ON BUILDINGS, e.g. STAIRS, FLOORS
    • E04F10/00Sunshades, e.g. Florentine blinds or jalousies; Outside screens; Awnings or baldachins
    • E04F10/02Sunshades, e.g. Florentine blinds or jalousies; Outside screens; Awnings or baldachins of flexible canopy materials, e.g. canvas ; Baldachins
    • E04F10/06Sunshades, e.g. Florentine blinds or jalousies; Outside screens; Awnings or baldachins of flexible canopy materials, e.g. canvas ; Baldachins comprising a roller-blind with means for holding the end away from a building
    • E04F10/0637Sunshades, e.g. Florentine blinds or jalousies; Outside screens; Awnings or baldachins of flexible canopy materials, e.g. canvas ; Baldachins comprising a roller-blind with means for holding the end away from a building with mechanisms for adjusting the inclination of the blind

Definitions

  • the invention relates to an arm bearing for an articulated arm awning, in which a support bracket can be clamped on a square support tube and pivots and locks a bearing bracket about an axis parallel to the support tube.
  • Such an articulated arm awning which is built on a square support tube, has been very well preserved due to its stable construction.
  • the arm bearings are clamped on the square support tube.
  • these arm bearings In order for the inclination of the articulated arms to be adjustable, these arm bearings must be designed to be pivotable about the axis of the square support tube. This generally requires complex constructions with concentric ring arrangements.
  • the adjustment of the inclination is complex because several screw connections have to be loosened. After loosening the screw connections, the articulated arms are adjusted. The entire arrangement is very unstable, so this setting requires great skill. Finally the screw connections have to be tightened again.
  • the object of the invention is to provide an arm support which can be adjusted in a simple manner using a tool which is available at all times and which has high stability, in particular torsional rigidity.
  • the trestle is designed as a bracket, one leg of which has two parallel webs and a crossbar connecting them at the ends, that a trunnion in eyes protruding over the center web is approximately opposite the webs for receiving the Bearing block is provided that the bearing block articulates a threaded bolt lying between the webs and that the threaded bolt in a thread engages sleeve which is rotatably arranged in a receptacle of the crossbar.
  • the arm bearing according to the invention differs from the prior art in a manner that is not obvious, since the inclination can be adjusted by turning a threaded bolt in a threaded sleeve. This rotation can be done with a key-like tool.
  • the screwing arrangement of the threaded bolt in the threaded sleeve is self-locking, so that it is not necessary to secure the setting.
  • the inclination can be adjusted at any time. The inclination is clearly defined at all times, even during the adjustment.
  • the setting of the respective arm bearing is secured. A swivel range of up to 45 ° to the horizontal is possible without difficulty.
  • the arm bearing has a very stable construction. It consists of a forked, angular arrangement.
  • the pedestal is received between the eyes of the trestle and is therefore protected against canting even when subjected to strong forces, in particular transverse forces.
  • the threaded bolt lies between the webs in a channel or slot.
  • a stable design and increase in the torsional rigidity is obtained by the fact that a pin sits in the eyes of the bearing block for the articulated reception of the threaded bolt and that the threaded bolt extends approximately in the middle between the two webs of the leg.
  • One type of arrangement of the threaded bolt is characterized in that the pin receives an eye of the threaded bolt.
  • the assembly is facilitated in that the bearing block perpendicular to the passage for the pin has a passage for the head of the threaded bolt and also has a recess following the passage for pivoting the head.
  • the invention provides that a disc spring is arranged between an end face of the polygonal approach and the crossbar.
  • the securing of the adjusting device against unintentional adjustment or against jumping out of the guides is improved in that the receptacle of the crossbar is designed as a semi-cylindrical groove, that the threaded sleeve has contact flanges on both ends of a tubular part, which bear against the end faces of the groove, and that A guide passage for the threaded bolt is provided in the crosspiece. Even in the event of sudden loads on the awning caused by wind forces or the like, the arm bearing cannot inadvertently adjust or deflect. Damage to the awning is therefore excluded.
  • the arm bearing is fixed to the square support tube in that passages for screw connections are provided at the ends of the webs, which engage in the opposite leg and tighten the trestle on the square support tube.
  • An articulated arm awning according to the invention has a square support tube 1 which is held in brackets 2 which can be fastened to the wall or another support.
  • the square support tube 1 represents the supporting element for the construction of the entire awning.
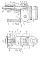
  • Supporting blocks 3 are clamped onto the square supporting tube, each of which supports a bearing block 4 with a passage 23 for mounting a swivel arm 6
  • a support bracket 3 and a bearing bracket 4 each form an arm bearing 5. Normally there are two arm bearings.
  • the sheet ⁇ is fastened to the drop bar 7, which on the other hand is wound on a sheet shaft 9.
  • the cloth shaft 9 is supported in bearing blocks 10, which are also seated on the square support tube 1.
  • the drive elements for the fabric shaft 9 are not shown.
  • the support bracket 3 of the arm support 5 is designed as a bracket.
  • a leg 11, a central web 12 and a further leg 13 encompass the square support tube 1.
  • the leg 13 comprises two webs 14 which run parallel to one another and which are connected to one another at the ends by a cross web 15. As a result, a groove 17 or a slot is formed between the webs 14.
  • a passage 16 is provided in the crosspiece 15 and is aligned with the channel 17 between the webs 14.
  • Two eyes 18 protrude from the central web 12 and also form guide walls.
  • passages 19 are formed which are aligned with passages 20 in the leg 11. These passages serve to receive screw connections 21 or other tensioning devices, which are indicated schematically in FIG. 2 and serve to firmly clamp the support bracket 3 on the square support tube 1.
  • the eyes 18 receive a support pin 22 on which the bearing block 4 is pivotably seated.
  • the bearing block 4 is guided between the guide walls of the eyes 18 and on the stable support pin 22 so as to prevent jamming.
  • the bearing block 4 is a substantially right-angled part and has at the front end a passage 23 for receiving a bearing pin (not shown) for a swivel arm 6.
  • two eyes 24 are formed opposite one another, which receive a pin 25.
  • An eye 26 of a threaded bolt 27 is pivotably seated on the pin 25.
  • the threaded bolt 27 extends approximately parallel to the webs 14 within the slot or the channel 17.
  • the threaded bolt 27 engages with a threaded section 32 in a threaded sleeve 2 Q , which is located inside of the passage 16 is located.
  • the threaded sleeve 28 has a polygonal projection 29, which enables the threaded sleeve 29 to be rotated.
  • a plate spring 31 Between an end face of the polygonal shoulder 29 and the end face of the cross bar 15 there is a plate spring 31 which generates an additional clamping force and frictional force.
  • the threaded sleeve At the other end is the threaded sleeve through a lake gerring 30 secured in the axial direction.
  • the outer diameter of the threaded sleeve 28 is smaller than the inner diameter of the passage 16 so that the threaded sleeve 28 can move and adjust within the passage. Since the threaded sleeve 28 is secured against displacement in both directions of movement, the articulated arms of the awning are thereby held stable, so that the awning cannot swing up.
  • the bearing block 4 is pivoted about the support pin 22.
  • the friction in the components and additional due to the plate spring is so great that an unintentional adjustment is not possible.
  • the bearing block 4 can be adjusted in a very simple manner by turning the polygonal projection 29.
  • the inclination of the articulated arms and thus the inclination of the awning can be adjusted accordingly. It has been shown that the pivoting range of over 45 ° with respect to the horizontal that can be achieved by the arm bearing according to the invention is completely sufficient in practice.
  • the user can adjust the inclination with an open-ended wrench. There is no need to loosen any fasteners.
  • the inclination can be adjusted in every extended state of the awning and is clearly defined in every condition so that the inclination of the awning cannot be changed unintentionally.
  • the threaded bolt 27 is protected between the webs 14 against harmful effects.
  • the bearing block is guided laterally in its entire pivoting area through the guide walls of the eyes 18 and is thus secured against tilting. An inadmissible load on the trunnion 22 is avoided.
  • the stable construction and the mutual guidance of the elements ensure high torsional rigidity.
  • the bearing block 4 has a passage 52 in the head part 51 for the pin 65.
  • the pin 65 in turn has a transverse passage 66 which receives the threaded bolt 67.
  • the threaded bolt 67 has a head 70 which abuts the pin 65 with a head collar 69.
  • a passage 71 Provided in the head part 61 is a passage 71, oriented transversely to the pin 69, with the transverse dimensions of the head 70, to which there is a recess mung 72 connects. It can be clearly seen from FIG. 2 that the threaded bolt 67 can be mounted within the bearing block 4 by inserting it into the passage 71 and pivoting the head into the recess 72.
  • the head part 51 has further recesses, which then allow the threaded bolt 67 to be pivoted into the mounting position shown.
  • the threaded bolt 67 is guided in a guide passage 77 of the cross bar 15.
  • the inclusion in the crosspiece 15 is in this case designed as a semi-cylindrical groove 56.
  • the threaded sleeve 73 comprises a central tube part 74 which essentially fills the cross-section of the channel 56 and at the ends of contact flanges 75 and 76 which abut the end faces of the channel 56.
  • the contact flange 76 is at the same time a polygonal approach for adjusting the threaded sleeve 73.
  • a helical compression spring 78 prestresses the contact flange 75 against the relevant end face of the crossbar 15, in order to thereby provide greater friction and protection against unintentional adjustment.
  • This embodiment of the invention allows the same adjustment of the bearing block 4 as the embodiment described above.
  • the adjustment is carried out by rotating the threaded sleeve 73 and thus axially displacing the threaded bolt 67.
  • the threaded sleeve 73 is guided in a form-fitting manner within the groove 56 and on the end walls thereof and is supported according to the two adjustment directions of the threaded bolt 67.
  • a pop out of the 73 from the groove 56 is not possible because this is changed by the guide passage 77 and the guide wall 79 of the leg 13.
  • the threaded bolt 67 is held inside the groove 56 in engagement with the threaded sleeve 73.
  • the bearing block 4 and thus the respective extension arm of the awning are kept very stable. The awning is thus secured against any unwanted movement, for example under wind loads.

Landscapes

  • Engineering & Computer Science (AREA)
  • Architecture (AREA)
  • Civil Engineering (AREA)
  • Structural Engineering (AREA)
  • Building Awnings And Sunshades (AREA)
  • Specific Sealing Or Ventilating Devices For Doors And Windows (AREA)
  • Curtains And Furnishings For Windows Or Doors (AREA)
  • Pivots And Pivotal Connections (AREA)

Abstract

Ein Armlager für eine Gelenkarmmarkise, bei dem ein Tragbock auf einem Vierkanttragrohr festspannbar ist und um eine Achse parallel zum Tragrohr schwenkbar und feststellbar einen Lagerbock aufnimmt. Das technische Problem ist die Bereitstellung eines Armlagers, das mit einem. jederzeit verfügbaren Werkzeug in einfacher Weise einstellbar ist und eine hohe Stabilität, insbesondere Verwindungssteifigkeit hat. Der Tragbock (3) ist als Bügel ausgebildet, dessen einer Schenkel (13) zwei parallele Stege (14) und einen dieselben an den Enden verbindenden Quersteg (15) aufweist. Ein Tragzapfen (22) ist in über den Mittelsteg (12) vorstehenden Augen (18) etwa den Stegen (14) gegenüberliegend zur Aufnahme des Lagerbocks (4) vorgesehen. Der Lagerbock (4) nimmt einen zwischen den Stegen (14) liegenden Gewindebolzen (27) gelenkig auf. Der Gewindebolzen (27), der in eine Gewindehülse (28) eingreift, ist in einer Aufnahme des Quersteges (15) drehbar angeordnet.

Description

  • Die Erfindung betrifft ein Armlager für eine Gelenkarmmarkise, bei dem ein Tragbock auf einem Vierkanttragrohr festspannbar ist und um eine Achse parallel zum Tragrohr schwenkbar und feststellbar einen Lagerbock aufnimmt.
  • Eine derartige Gelenkarmmarkise, die auf einem Vierkanttragrohr aufgebaut ist, hat sich infolge ihrer stabilen Konstruktion sehr bewahrt. Auf dem Vierkanttragrohr sind die Armlager festgespannt. Damit die Neigung der Gelenkarme verstellbar ist, müssen diese Armlager verschwenkbar um die Achse des Vierkanttragrohrs ausgebildet sein. Hierfür sind im allgemeinen aufwendige Konstruktionen mit konzentrischen Ringanordnungen erforderlich. Die Verstellung der Neigung ist aufwendig, weil mehrere Verschraubungen gelöst werden müssen. Nach dem Lösen der Verschraubungen erfolgt die Einstellung der Gelenkarme. Dabei ist die gesamte Anordnung sehr labil, so daß diese Einstellung großes Geschick erfordert. Schließlich müsssen die Verschraubungen wieder festgezogen werden.
  • Aufgabe der Erfindung ist die Bereitstellung eines Armlagers, das mit einem jederzeit verfügbaren Werkzeug in einfacher Weise einstellbar ist und eine hohe Stabilität, insbesondere Verwindungssteifigkeit hat.
  • Diese Aufgabe wird nach der Erfindung dadurch gelöst, daß der Tragbock als Bügel ausgebildet ist, dessen einer Schenkel zwei parallele Stege und einen dieselben an den Enden verbindenden Quersteg aufeist, daß ein Tragzapfen in über den Mittelsteg vorstehenden Augen i etwa den Stegen gegenüberliegend zur Aufnahme des Lagerbocks vorgesehen ist, daß der Lagerbock einen zwischen den Stegen liegenden Gewindebolzens gelenkig aufnimmt und daß der Gewindebolzen in eine Gewindehülse eingreift, die in einer Aufnahme des Quersteges drehbar angeordnet ist.
  • Das Armlager nach der Erfindung unterscheidet sich dadurch in nicht naheliegender Weise vom Stand der Technik, als die Neigung durch Drehen eines Gewindebolzens in einer Gewindehülse einstellbar ist. Diese Drehung kann mit einem schlüsselartigen Werkzeug erfolgen. Die schraubende Anordnung des Gewindebolzens in der Gewindehülse ist selbsthemmend, so daß eine Sicherung der Einstellung nicht erforderlich ist. Die Neigung läßt sich jederzeit verstellen. Dabei ist die Neigung jederzeit, auch während der Verstellung, eindeutig festgelegt. Das jeweilige Armlager ist in seiner Einstellung gesichert. Es ist ohne Schwierigkeiten ein Schwenkbereich bis zu 45° Neigung gegenüber der Horizontalen möglich. Das Armlager hat eine sehr stabile Kontruktion. Es besteht aus einer gabelförmigen, winkligen Anordnung. Der Lagerbock ist zwischen Augen des Tragbocks aufgenommen und dadurch auch bei starken Krafteinwirkungen, insbesondere Querkräften verkantungssicher geführt. Der Gewindebolzen liegt zwischen den Stegen in einer Rinne oder einem Schlitz. Durch die gegenseitige Führung der Teile und die kräftigen Zapfen ergibt sich eine hohe Stabilität des Armlagers und insbesondere eine hohe Verwindungssteifigkeit, so daß das Armlager allen betriebsmäßigen Belastungen standhalten kann.
  • Eine stabile Ausbildung und Erhöhung der Verwindungssteifigkeit erhält man dadurch, daß zur gelenkigen Aufnahme des Gewindebolzens ein Zapfen in Augen des Lagerbocks sitzt und daß sich der Gewindebolzen etwa in der Mitte zwischen den beiden Stegen des Schenkels erstreckt.
  • Eine Art der Anordnung des Gewindebolzens ist dadurch gekennzeichnet, daß der Zapfen ein Auge des Gewindebolzens aufnimmt.
  • Eine andere Anordnung mit einfacher Montierbarkeit erhält man dadurch, daß der Zapfen einen Querdurchgang aufweist und daß der Gewindebolzen mit einem Kopfbund an dem Zapfen anliegt. Hierbei verhindert der Gewindebolzen, daß der Zapfen aus seinem Durchgang herausgleitet. Es ist also keine besondere Sicherung des Zapfens erforderlich.
  • Die Montierbarkeit wird dadurch erleichtert, daß der Lagerbock senkrecht zum Durchgang für den Zapfen einen Durchgang für den Kopf des Gewindebolzens und außerdem eine Ausnehmung im Anschluß an den Durchgang zur Verschwenkung des Kopfes aufweist.
  • Eine leichte und sichere Verstellung erhält man dadurch, daß die Gewindehülse einen Mehrkantansatz aufweist. In diesem Fall ist eine Verstellung der Neigung mit Hilfe eines jederzeit verfügbaren Maulschlüssels möglich.
  • Zur zusätzlichen Sicherung gegen Verstellung sieht die Erfindung vor, daß zwischen einer Stirnfläche des Mehrkantansatzes und dem Quersteg eine Tellerfeder angeordnet ist.
  • Die Sicherung der Verstellvorrichtung gegen ungewollte Verstellung oder gegen ein Herausspringen aus den Führungen wird dadurch verbessert, daß die Aufnahme des Quersteges als halbzylindrische Rinne ausgebildet ist, daß die Gewindehülse an beiden Enden eines Rohrteiles Anlageflansche aufweist, die an den Stirnflächen der Rinne anliegen, und daß in dem Quersteg ein Fuhrungsdurchgang für den Gewindebolzen vorgesehen ist. Auch bei stoßartigen Bealstungen der Markise durch Windkräfte oder dgl. kann sich das Armlager nicht ungewollt verstellen oder ausschlagen. Beschädigungen der Markise sind daher ausgeschlossen.
  • Eine zusätzliche Sicherung erhält man dadurch, daß eine Schraubendruckfeder den Anlageflansch der Gewindehülse gegen die zugeordneten Stirnfläche der Rinne spannt.
  • Die Festspannung des Armlagers an dem Vierkanttragrohr wird dadurch erreicht, daß an den Enden der Stege Durchgänge für Verschraubungen vorgesehen sind, die in den gegenüberliegenden Schenkel eingreifen und den Tragbock am Vierkanttragrohr festspannen.
  • Eine Ausführungsform der Erfindung wird im folgenden unter Bezugnahme auf die anliegenden Zeichnungen erläutert, in denen darstellen:
    • Fig. 1 eine Gesamtansicht einer Gelenkarmmarkise mit Armlagern und Tragarmen,
    • Fig. 2 eine Einzelansicht eines Armlagers,
    • Fig. 3 eine Draufsicht zu Fig. 2,
    • Fig. 4 einen Schnitt durch eine abgewandelte Ausführungsform eines Armlagers und
    • Fig. 5 eine Draufsicht zu Fig. 4.
  • Eine Gelenkarmmarkise nach der Erfindung weist ein Vierkanttragrohr 1 auf, das in Konsolen 2 gehalten ist, die an der Wand oder einem anderen Träger befestigbar sind. Das Vierkanttragrohr 1 stellt das Tragelement für den Aufbau der gesamten Markise dar. Auf dem Vierkanttragrohr sind Tragböcke 3 festgespannt, die jeweils einen Lagerbock 4 mit einem Durchgang 23 zur Lagerung eines Schwenkarms 6 tragen. Jeweils ein Tragbock 3 und ein Lagerbock 4 bilden ein Armlager 5. NormalerwEise sind zwei Armlager vorhanden. Am Ende der Schwenkarne 6 sitzt eine Ausfallstangt 7. An der Ausfallstange 7 ist das Tuch β befestigt, das andererseits auf einer Tuchwelle 9 aufgewickelt ist. Die Tuchwelle 9 ist in Lagerböcken 10 gelagert, die ebenfalls auf dem Vierkanttragrohr 1 sitzen. Die Antriebselemente für die Tuchwelle 9 sind nicht dargestellt.
  • Die Fig. 2 und 3 zeigen eine erste Ausführungsform eines Armlagers 5. Der Tragbock 3 des Armlagers 5 ist als Bügel ausgebildet. Ein Schenkel 11, ein Mittelsteg 12 und ein weiterer Schenkel 13 umgreifen das Vierkanttragrohr 1. Der Schenkel 13 umfaßt zwei parallel zueinander verlaufende Stege 14, die an den Enden durch einen Quersteg 15 miteinander verbunden sind. Dadurch ist zwischen den Stegen 14 eine Rinne 17 oder ein Schlitz gebildet. Im Quersteg 15 ist ein Durchgang 16 vorgesehen, der auf die Rinne 17 zwischen den Stegen 14 ausgerichtet ist. An dem Mittelsteg 12 stehen zwei Augen 18 vor, die auch Führungswände bilden. An den Enden der Stege 14 sind Durchgänge 19 ausgebildet, die mit Durchgängen 20 in dem Schenkel 11 fluchten. Diese Durchgänge dienen zur Aufnahme von Verschraubungen 21 bzw. anderen Spannvorrichtungen, die in Fig. 2 schematisch angedeutet sind und zur Festspannung des Tragbocks 3 auf dem Vierkanttragrohr 1 dienen.
  • Die Augen 18 nehmen einen Tragzapfen 22 auf, auf dem der Lagerbock 4 schwenkbar sitzt. Der Lagerbock 4 ist zwischen den Führungswänden der Augen 18 und auf dem stabilen Tragzapfen 22 verkantungssicher geführt. Der Lagerbock 4 ist ein im wesentlichen rechtkantiger Teil und besitzt am Stirnende einen Durchgang 23 zur Aufnahme eines nichtdargestellten Lagerzapfens für einen Schwenkarm 6. Am oberen Ende, dem Tragzapfen 22 gegenüberliegend, sind einander gegenüberstehend zwei Augen 24 angeformt, die einen Zapfen 25 aufnehmen.
  • Auf dem Zapfen 25 sitzt schwenkbar ein Auge 26 eines Gewindebolzens 27. Der Gewindebolzen 27 erstreckt sich etwa parallel zu den Stegen 14 innerhalb des Schlitzes oder der Rinne 17. Der Gewindebolzen 27 greift mit einem Gewindeabschnitt 32 in eine Gewindehülse 2Q ein, die sich innerhalb des Durchgangs 16 befindet. An einem Ende besitzt die Gewindehülse 28 einen Mehrkantansatz 29, der ein Drehen der Gewindehülse 29 ermöglicht. Zwischen einer Stirnfläche des Mehrkantansatzes 29 und der Stirnfläche des Quersteges 15 befindet sich eine Tellerfeder 31, die eine zusätzliche Spannkraft und Reibungskraft erzeugt. Am anderen Ende ist die Gewindehülse durch einen Seegerring 30 in axialer Richtung gesichert. Der Außendurchmesser der Gewindehülse 28 ist kleiner als der Innendurchmesser des Durchgangs 16, damit sich die Gewindehülse 28 innerhalb des Durchgangs bewegen und verstellen kann. Da die Gewindehülse 28 in beiden Bewegungsrichtungen gegen eine Verschiebung gesichert ist, sind dadurch die Gelenkarme der Markise stabil gehalten, so daß die Markise nicht hochschlagen kann.
  • Durch Drehen des Mehrkantansatzes 29 wird der Gewindebolzen 27 innerhalb der Gewindehülse 28 schraubend verschoben. Dementsprechend wird der Lagerbock 4 um den Tragzapfen 22 verschwenkt. Die Reibung in den Bauelementen und zusätzliche durch die Tellerfeder ist so groß, daß eine unbeabsichtigte Verstellung nicht möglich ist. Es ist infolgedessen auch keine formschlüssige Sicherung der Gewindehülse 28 gegen Verdrehung erforderlich. Durch Drehen an dem Mehrkantansatz 29 läßt sich der Lagerbock 4 in sehr einfacher Weise verstellen. Dementsprechend einfach läßt sich die Neigung der Gelenkarme und damit die Neigung der Markise verstellen. Es hat sich gezeigt, daß der durch das Armlager nach der Erfindung erzielbare Schwenkbereich von über 45° gegenüber der Horizontalen in der Praxis völlig ausreicht. Für den Benutzer ist eine Verstellung der Neigung mit einem Maulschlüssel möglich. Es ist nicht erforderlich, irgendwelche Befestigungselemente zu lösen. Die Neigung ist in jedem Ausfahrzustand der Markise verstellbar und in jedem Zusatnd eindeutig festgelegt, so daß sich die Markise nicht ungewollt in ihrer Neigung verstellen kann. Der Gewindebolzen 27 ist zwischen den Stegen 14 gegen schädliche Einwirkungen geschützt. Der Lagerbock ist in seinem ganzen Verschwenkbereich durch die Führungswände der Augen 18 seitlich geführt und damit gegen Verkantungen gesichert. Eine unzulässige Belastung des Tragzapfens 22 ist vermieden. Durch die stabile Konstruktion und die gegenseitige Führung der Elemente ist eine hohe Verwindungssteifigkeit gewährleistet.
  • Die Fig. 4 und 5 zeigen eine abgewandelte Ausführungform des Armlagers. Gleiche Bauteile sind mit gleichen Bezugsziffern versehen.
  • Der Lagerbock 4 besitzt im Kopfteil 51 einen Durchgang 52 für den Zapfen 65. Der Zapfen 65 hat seinerseits einen Qucrdurchgang 66, der den Gewindebolzen 67 aufnimmt. Der Gewindebolzen 67 hat einen Kopf 70, der mit einem Kopfbund 69 an dem Zapfen 65 anliegt. Im Kopfteil 61 ist ein quer zu dem Zapfen 69 ausgerichteter Durchgang 71 mit den Querabmessungen des Kopfes 70 vorgesehen, an den sich eine Ausnehmung 72 anschließt. Man erkennt deutlich aus Fig. 2, daß der Gewindebolzen 67 durch Einführen in den Durchgang 71 und Verschwenken des Kopfes in die Ausnehmung 72 innerhalb des Lagerbocks 4 montierbar ist. Der Kopfteil 51 besitzt weitere Ausnehmungen, die dann ein Verschwenken des Gewindebolzens 67 in die dargestellte Montagestellung ermöglichen.
  • Der Gewindebolzen 67 ist in einem Führungsdurchgang 77 des Quersteges 15 geführt. Die Aufnahme in den Quersteg 15 ist in diesem Fall als halbzylindrische Rinne 56 ausgebildet. Die Gewindehülse 73 umfaßt einen mittleren Rohrteil 74, der im wesentlichen den Querschnitt der Rinne 56 ausfüllt und jeweils an den Enden Anlageflansche 75 und 76, die an den Stirnflächen der Rinne 56 anliegan. Dadurch ist die Gewindehülse 73 gegen ein axiales Verschieben in beiden Richtungen gesichert. Der Anlageflansch 76 ist gleichzeitig ein Mehrkantansatz zur Verstellung der Gewindehülse 73. Eine Schraubencruckfeder 78 spannt den Anlageflansch 75 gegen die betreffende Stirnfläche des Quersteges 15 vor, um dadurch eine höhere Reibung und einem Schutz gegen ungewolltes Verstellen bereitzustellen.
  • Diese Ausführungsform der Erfindung erlaubt eine gleiche Verstellung des Lagerbocks 4, wie die zuvor beschriebene Ausführungsform. Die Verstellung erfolgt durch Drehen der Gevindehülse 73 und damit axiales Verschieben des Gewindebolzens 67. Die Gewindehülse 73 ist innerhalb der Rinne 56 und an den Stirnwänden derselben formschlüssig geführt und nach beiden Verstellrichtur en des Gewindebolzens 67 abgestützt. Ein Herausspringen der
    Figure imgb0001
    73 aus der Rinne 56 ist nicht möglich, weil dieses durch das Führungsdurchgang 77 und die Führungswand 79 des Schenkels 13 verendert wird. So wird der Gewindebolzen 67 mit der Gewindehülse 73 inner in Eingriff in der Rinne 56 gehalten. Der Lagerbock 4 und damit der jeweilige Ausfahrarm der Markise sind somit sehr stabil gehalten. Die Markise ist damit gegen jede ungewollte Verschiebung, beispielsweise unter Windbelastung gesichert.

Claims (10)

1. Armlager für eine Gelenkarmmarkise, bei dem ein Tragbock auf einem Vierkanttragrohr festspannbar ist und um eine Achse parallel zum Tragrohr schwenkbar und feststellbar einen Lagerbock aufnimmt, dadurch gekennzeichnet, daß der Tragbock (3) als Bügel ausgebildet ist, dessen einer Schenkel (13) zwei parallele Stege (14) und einen dieselben an den Enden verbindenden Quersteg (15) aufweist, daß ein Tragzapfen (22) in über den Mittelsteg (12) vorstehenden Augen (18) etwa den Stegen (14) gegenüberliegend zur Aufnahme des Lagerbocks (4) vorgesehen ist, daß der Lagerbock (4) einen zwischen den Stegen (14) liegenden Gewindebolzen (27) gelenkig aufnimmt und daß der Gewindebolzen (27) in eine Gewindehülse (28) eingreift, die in einer Aufnahme des Quersteges (15) drehbar angeordnet ist.
2. Armlager nach Anspruch 1, dadurch gekennzeichnet, daß zur gelenkigen Aufnahme des Gewindebolzens (27) ein Zapfen (25) in Augen (24) des Lagerbocks (4) sitzt und daß sich der Gewindebolzen (27) etwa in der Mitte zwischen den beiden Stegen (14) des Schenkels (13) erstreckt.
3. Armlager nach Anspruch 1 oder 2, dadurch gekennzeichnet, daß der Zapfen (25) ein Auge (26) des Gewindebolzens (27) aufnimmt.
4. Armlager nach Anspruch 1 oder 2, dadurch gekennzeichnet, daß der Zapfen (65) einen Querdurchgang (66) aufweist und daß der Gewindebolzen (67) mit einem Kopfbund (69) an dem Zapfen anliegt.
5. Armlager nach Anspruch 4, dadurch gekennzeichnet, daß der Lagerbock (4) senkrecht zum Durchgang für den Zapfen (65) einen Durchgang (71) für den Kopf (70) des Gewindebolzens (67) und außerdem eine Ausnehmung (72) im Anschluß an den Durchgang (71) zur Verschwenkung des Kopfes (70) aufweist.
6. Armlager nach einem der Ansprüche 1 bis 5, dadurch gekennzeichnet., daß die Gewindehülse (28) einen Mehrkantansatz (29) aufweist.
7. Armlager nach Anspruch 6, dadurch gekennzeichnet, daß zwischen einer Stirnfläche des Mehrkantansatzes (29) und dem Quersteg (15) eine Tellerfeder (31) angeordnet ist.
8. Armlager nach Anspruch 6, dadurch gekennzeichnet, daß die Aufnahme des Quersteges (15) als halbzylindrische Rinne (56) ausgebildet ist, daß die Gewindehülse (73) an beiden Enden eines Rohrteiles (74) Anlageflansche (75, 76) aufweist, die an den Stirnflächen der Rinne (56) anliegen, und daß in dem Quersteg (15) ein Führungsdurchgang (77) für den Gewindebolzen (67) vorgesehen ist.
9. Armlager nach Anspruch 8, dadurch gekennzeichnet, daß eine Schraubendruckfeder (78) den Anlageflansch (75) der Gewindehülse (73) gegen die zugeordneten Stirnfläche der Rinne (56) spannt.
10. Armlager nach einem der Ansprüche 1 bis 9, dadurch gekennzeichnet, daß an den Enden der Stege (14) Durchgänge (19) für Verschraubungen (21) vorgesehen sind, die in den gegenüberliegenden Schenkel (11) eingreifen und den Tragbock (3) am Vierkanttragrohr (1) festspannen.
EP84112012A 1984-06-16 1984-10-06 Armlager für eine Gelenkarmmarkise Expired - Lifetime EP0165337B1 (de)

Priority Applications (1)

Application Number Priority Date Filing Date Title
AT84112012T ATE51922T1 (de) 1984-06-16 1984-10-06 Armlager fuer eine gelenkarmmarkise.

Applications Claiming Priority (2)

Application Number Priority Date Filing Date Title
DE19843422449 DE3422449A1 (de) 1984-06-16 1984-06-16 Armlager fuer eine gelenkarmmarkise
DE3422449 1984-06-16

Publications (3)

Publication Number Publication Date
EP0165337A2 true EP0165337A2 (de) 1985-12-27
EP0165337A3 EP0165337A3 (en) 1987-02-04
EP0165337B1 EP0165337B1 (de) 1990-04-11

Family

ID=6238546

Family Applications (1)

Application Number Title Priority Date Filing Date
EP84112012A Expired - Lifetime EP0165337B1 (de) 1984-06-16 1984-10-06 Armlager für eine Gelenkarmmarkise

Country Status (4)

Country Link
US (1) US4590642A (de)
EP (1) EP0165337B1 (de)
AT (1) ATE51922T1 (de)
DE (2) DE3422449A1 (de)

Cited By (1)

* Cited by examiner, † Cited by third party
Publication number Priority date Publication date Assignee Title
FR2596100A1 (fr) * 1986-03-21 1987-09-25 Mitjavila Raymond Dispositif de reglage de l'inclinaison de bras retractables pour stores a l'italienne et similaires

Families Citing this family (32)

* Cited by examiner, † Cited by third party
Publication number Priority date Publication date Assignee Title
US4667914A (en) * 1985-06-20 1987-05-26 Ontario Store Fixtures Inc. Adjustable valance canopy bracket
DE3610564C1 (en) * 1986-03-27 1987-10-01 Warema Renkhoff Gmbh & Co Kg Arrangement in the case of an articulated-arm awning for fastening a carrying tube on a bracket or an articulated arm on a carrying tube
ES2029916T3 (es) * 1989-05-19 1992-10-01 Paul Voss Gmbh & Co. Cojinete de brazos para una marquesina de brazos articulados.
US5029930A (en) * 1990-09-04 1991-07-09 General Motors Corporation Adjustable deck lid hinge pivot
DE29612905U1 (de) * 1996-07-25 1996-10-02 Schmitz Werke Gelenkarmmarkise mit Regendach
DE29612904U1 (de) * 1996-07-25 1996-09-26 Schmitz-Werke GmbH + Co, 48282 Emsdetten Gelenkarm-Markise
US7802610B2 (en) * 2001-03-28 2010-09-28 Robert Brown Retractable closure apparatus for mobile containers
NO20014197L (no) * 2001-08-29 2003-03-03 Frip Ab Anordning ved hengsel
GB0228028D0 (en) * 2002-11-30 2003-01-08 Ford Global Tech Inc An adjustable hinge assembly
US20040211527A1 (en) * 2003-04-23 2004-10-28 Sammye Humble Adjustable awning
WO2005040532A2 (en) * 2003-10-23 2005-05-06 Brent Bonham Vertical & horizontal adjustable hinge assembly
CN2658271Y (zh) * 2003-10-30 2004-11-24 李英 一种可防尘及可调角度的伸缩式遮阳篷
US7331085B2 (en) * 2004-02-27 2008-02-19 Newell Operating Company Horizontally adjustable hinge
US7346959B2 (en) 2004-02-27 2008-03-25 Newell Operating Company Hinge
US20060086047A1 (en) * 2004-10-26 2006-04-27 Heitel Robert G Adjustable pitch mounting bracket for lateral arm awnings
USD523322S1 (en) * 2004-12-27 2006-06-20 Glenn Thurston Scaffold hinge
US7334293B2 (en) * 2005-02-16 2008-02-26 Newell Operating Company Vertically adjustable hinge
US8316910B2 (en) * 2005-08-26 2012-11-27 Dometic Llc Awning assemblies
ES1065987Y (es) * 2007-08-06 2008-03-01 Llaza Sa Dispositivo de soporte para brazo de toldo
CN201224963Y (zh) * 2008-07-14 2009-04-22 马准安 一种遮阳篷
BE1018271A3 (nl) * 2008-08-28 2010-08-03 Brustor Nv Verbeterde luifel.
WO2011146887A1 (en) * 2010-05-21 2011-11-24 Johnson Controls Technology Company Hinge assembly for vehicle interior trim component
US20120036786A1 (en) * 2010-08-11 2012-02-16 Stull Edward J Adjustable gate mounting hinge
US9469996B2 (en) 2013-03-11 2016-10-18 Oliver Joen-An Ma Retractable awnings
CN105083143A (zh) 2014-09-18 2015-11-25 宁波万汇窗篷用品有限公司 遮阳篷装置
US11395555B2 (en) * 2016-01-25 2022-07-26 Current Products Corp. Valance system for window coverings
US10428549B2 (en) 2016-04-01 2019-10-01 ZHUN-AN Ma Awning apparatus
CN108166688B (zh) 2017-05-08 2019-11-05 宁波万汇休闲用品有限公司 遮蔽篷装置
EP3495582A1 (de) 2017-12-08 2019-06-12 Activa Awning Inc. Markisenvorrichtung
EP3995643A1 (de) 2020-11-04 2022-05-11 Qingdao Activa Shade Inc. Einziehbare schattenstrukturen
US20250027349A1 (en) * 2020-11-30 2025-01-23 Chris McBurney Gate hinge bracket assembly
US20220195767A1 (en) * 2020-11-30 2022-06-23 Chris McBurney Gate hinge assembly

Family Cites Families (20)

* Cited by examiner, † Cited by third party
Publication number Priority date Publication date Assignee Title
US1798856A (en) * 1925-12-07 1931-03-31 Arthur R Simon Adjustable visor
US1811907A (en) * 1930-05-26 1931-06-30 Frederick A Anton Assembly support for lateral arm awnings
US1824188A (en) * 1930-05-29 1931-09-22 Frederick A Anton Lateral arm awning support
US1819400A (en) * 1930-10-27 1931-08-18 Frederick A Anton Awning arm support
US2019473A (en) * 1934-04-12 1935-11-05 Frederick A Anton Slant adjustment for lateral arm awnings
GB483001A (en) * 1936-10-01 1938-04-01 John Hipwood Improvements in or relating to shop window blinds and the like
GB824356A (en) * 1956-10-23 1959-11-25 John Thomas Lionel Coope Improvements in or relating to supporting arms for sun blinds or awnings
US3058795A (en) * 1959-11-19 1962-10-16 Emil J Paidar Company Cabinet with hinged top
DE2107477C3 (de) * 1971-02-17 1979-08-09 Clauss-Markisen Manfred U. Ulrich Clauss, 7311 Bissingen Markisenkasten für eine Gelenkarmmarkise
BE790647A (fr) * 1971-11-18 1973-02-15 Franciaflex Store a bache a bras articule
DE2443596C3 (de) * 1974-09-12 1981-04-02 Rödelbronn, Horst, 4040 Neuss Gelenkarmmarkise
DE2713626C3 (de) * 1977-03-28 1980-07-10 Paul Voss Gmbh U. Co, 5950 Finnentrop Vorrichtung zum Einstellen der Neigung von Markisengelenkarmen
DE2752872C2 (de) * 1977-11-26 1982-09-23 Weinor Dieter Weiermann GmbH & Co KG, 5000 Köln Ausstellarmmarkise
DE2753955C2 (de) * 1977-12-03 1984-02-23 Bernhard Spettmann, Metallverarbeitung, 2350 Neumünster Gelenkarmmarkise
DE2909306C2 (de) * 1979-03-09 1984-05-17 Lohausen, Viktor, 7032 Sindelfingen Gelenkarm-Markise
DE2834486C2 (de) * 1978-08-07 1984-06-20 Bernhard Spettmann, Metallverarbeitung, 2350 Neumünster Gelenkarmmarkise
DE2853286A1 (de) * 1978-12-09 1980-06-26 Ernst Loos Eisenwarenfabrik Ag Traggelenk
DE8200939U1 (de) * 1982-01-16 1982-07-08 Aluxor Markisen GmbH, 6944 Hemsbach Gelenk zur verstellung des neigungswinkels von markisenarmen
DE3206963C2 (de) * 1982-02-26 1984-10-25 Viktor 7032 Sindelfingen Lohausen Kippgelenkarm-Markise
DE3436379C2 (de) * 1984-10-04 1987-01-02 Helge 2351 Groß Kummerfeld Weiß Gelenkarmmarkise

Cited By (1)

* Cited by examiner, † Cited by third party
Publication number Priority date Publication date Assignee Title
FR2596100A1 (fr) * 1986-03-21 1987-09-25 Mitjavila Raymond Dispositif de reglage de l'inclinaison de bras retractables pour stores a l'italienne et similaires

Also Published As

Publication number Publication date
DE3422449A1 (de) 1985-12-19
DE3481927D1 (de) 1990-05-17
EP0165337A3 (en) 1987-02-04
ATE51922T1 (de) 1990-04-15
US4590642A (en) 1986-05-27
EP0165337B1 (de) 1990-04-11

Similar Documents

Publication Publication Date Title
EP0165337A2 (de) Armlager für eine Gelenkarmmarkise
EP1613890B1 (de) Standfuss
EP0508050A2 (de) Gelenkband-Konsolenschelle
EP0647499A2 (de) Schraubzwinge
DE19917209C2 (de) Vorrichtung zum Verspannen aufeinanderliegender Teile
EP0214519A2 (de) Bodenbefestigungsvorrichtung
DE102007049513B4 (de) Zirkel
EP0065036B1 (de) Tisch mit verstellbarer Tischplatte
EP1318741B1 (de) Gardinenstange
EP0616134B1 (de) Verbindungseinrichtung für Profilteile
EP1048411A1 (de) Aufsitzspanner
WO1989011813A1 (fr) Systeme de rayonnage
AT410126B (de) Verstellmechanismus
EP3865717B1 (de) Teleskopstrebe
DE9111245U1 (de) Manuelle Ventilfedernspannvorrichtung
DE3242723A1 (de) Vorrichtung zum befestigen eines sicherheitsgurtes an einem fahrzeug
DE29610473U1 (de) Abstandsveränderbare Halterung zum Lagern einer Rohrleitung
DE2434863C2 (de) Möbelscharnier
DE4205151A1 (de) Spannvorrichtung zum verspannen eines werkstuecks
AT401138B (de) Befestigungsvorrichtung für eine platte, insbesondere eine tisch- oder arbeitsplatte
DE9318456U1 (de) Lagervorrichtung für Gelenkarme von Markisen
EP3777615B1 (de) Höheneinstellbares bett
DE2833475C3 (de) Blockiervorrichtung für eine Aufhängeeinrichtung
DE102018130346B3 (de) Bandbolzensystem und Band zur um eine Scharnierachse scharniergelenkigen Verbindung eines Flügels mit einem Rahmen
CH658103A5 (de) Klemmeinrichtung fuer eine auf einer saeule verschiebbare platte.

Legal Events

Date Code Title Description
PUAI Public reference made under article 153(3) epc to a published international application that has entered the european phase

Free format text: ORIGINAL CODE: 0009012

AK Designated contracting states

Designated state(s): AT BE CH DE FR GB IT LI NL SE

PUAL Search report despatched

Free format text: ORIGINAL CODE: 0009013

AK Designated contracting states

Kind code of ref document: A3

Designated state(s): AT BE CH DE FR GB IT LI NL SE

17P Request for examination filed

Effective date: 19870801

17Q First examination report despatched

Effective date: 19881202

GRAA (expected) grant

Free format text: ORIGINAL CODE: 0009210

AK Designated contracting states

Kind code of ref document: B1

Designated state(s): AT BE CH DE FR GB IT LI NL SE

REF Corresponds to:

Ref document number: 51922

Country of ref document: AT

Date of ref document: 19900415

Kind code of ref document: T

GBT Gb: translation of ep patent filed (gb section 77(6)(a)/1977)
REF Corresponds to:

Ref document number: 3481927

Country of ref document: DE

Date of ref document: 19900517

ITF It: translation for a ep patent filed
ET Fr: translation filed
PLBI Opposition filed

Free format text: ORIGINAL CODE: 0009260

26 Opposition filed

Opponent name: FA. R. SPETTMANN GMBH

Effective date: 19910109

NLR1 Nl: opposition has been filed with the epo

Opponent name: FA. R. SPETTMANN GMBH.

PLAB Opposition data, opponent's data or that of the opponent's representative modified

Free format text: ORIGINAL CODE: 0009299OPPO

ITTA It: last paid annual fee
R26 Opposition filed (corrected)

Opponent name: FA. R. SPETTMANN GMBH

Effective date: 19910109

PLBM Termination of opposition procedure: date of legal effect published

Free format text: ORIGINAL CODE: 0009276

STAA Information on the status of an ep patent application or granted ep patent

Free format text: STATUS: OPPOSITION PROCEDURE CLOSED

27C Opposition proceedings terminated

Effective date: 19911110

NLR2 Nl: decision of opposition
EAL Se: european patent in force in sweden

Ref document number: 84112012.4

PGFP Annual fee paid to national office [announced via postgrant information from national office to epo]

Ref country code: GB

Payment date: 19980909

Year of fee payment: 15

PGFP Annual fee paid to national office [announced via postgrant information from national office to epo]

Ref country code: FR

Payment date: 19981012

Year of fee payment: 15

PGFP Annual fee paid to national office [announced via postgrant information from national office to epo]

Ref country code: SE

Payment date: 19981022

Year of fee payment: 15

Ref country code: BE

Payment date: 19981022

Year of fee payment: 15

PGFP Annual fee paid to national office [announced via postgrant information from national office to epo]

Ref country code: AT

Payment date: 19981029

Year of fee payment: 15

PGFP Annual fee paid to national office [announced via postgrant information from national office to epo]

Ref country code: NL

Payment date: 19981031

Year of fee payment: 15

PGFP Annual fee paid to national office [announced via postgrant information from national office to epo]

Ref country code: CH

Payment date: 19990129

Year of fee payment: 15

PG25 Lapsed in a contracting state [announced via postgrant information from national office to epo]

Ref country code: GB

Free format text: LAPSE BECAUSE OF NON-PAYMENT OF DUE FEES

Effective date: 19991006

Ref country code: AT

Free format text: LAPSE BECAUSE OF NON-PAYMENT OF DUE FEES

Effective date: 19991006

PG25 Lapsed in a contracting state [announced via postgrant information from national office to epo]

Ref country code: SE

Free format text: THE PATENT HAS BEEN ANNULLED BY A DECISION OF A NATIONAL AUTHORITY

Effective date: 19991030

PG25 Lapsed in a contracting state [announced via postgrant information from national office to epo]

Ref country code: LI

Free format text: LAPSE BECAUSE OF NON-PAYMENT OF DUE FEES

Effective date: 19991031

Ref country code: CH

Free format text: LAPSE BECAUSE OF NON-PAYMENT OF DUE FEES

Effective date: 19991031

Ref country code: BE

Free format text: LAPSE BECAUSE OF NON-PAYMENT OF DUE FEES

Effective date: 19991031

BERE Be: lapsed

Owner name: PAUL VOSS G.M.B.H. & CO.

Effective date: 19991031

PG25 Lapsed in a contracting state [announced via postgrant information from national office to epo]

Ref country code: NL

Free format text: LAPSE BECAUSE OF NON-PAYMENT OF DUE FEES

Effective date: 20000501

GBPC Gb: european patent ceased through non-payment of renewal fee

Effective date: 19991006

REG Reference to a national code

Ref country code: CH

Ref legal event code: PL

EUG Se: european patent has lapsed

Ref document number: 84112012.4

PG25 Lapsed in a contracting state [announced via postgrant information from national office to epo]

Ref country code: FR

Free format text: LAPSE BECAUSE OF NON-PAYMENT OF DUE FEES

Effective date: 20000630

NLV4 Nl: lapsed or anulled due to non-payment of the annual fee

Effective date: 20000501

REG Reference to a national code

Ref country code: FR

Ref legal event code: ST

PGFP Annual fee paid to national office [announced via postgrant information from national office to epo]

Ref country code: DE

Payment date: 20011228

Year of fee payment: 18

PG25 Lapsed in a contracting state [announced via postgrant information from national office to epo]

Ref country code: DE

Free format text: LAPSE BECAUSE OF NON-PAYMENT OF DUE FEES

Effective date: 20030501