EP0156333B1 - Kunstkopf-Messsystem - Google Patents
Kunstkopf-Messsystem Download PDFInfo
- Publication number
- EP0156333B1 EP0156333B1 EP85103440A EP85103440A EP0156333B1 EP 0156333 B1 EP0156333 B1 EP 0156333B1 EP 85103440 A EP85103440 A EP 85103440A EP 85103440 A EP85103440 A EP 85103440A EP 0156333 B1 EP0156333 B1 EP 0156333B1
- Authority
- EP
- European Patent Office
- Prior art keywords
- artificial
- measuring system
- head
- head measuring
- accordance
- Prior art date
- Legal status (The legal status is an assumption and is not a legal conclusion. Google has not performed a legal analysis and makes no representation as to the accuracy of the status listed.)
- Expired - Lifetime
Links
- 210000003128 head Anatomy 0.000 claims description 73
- 238000012360 testing method Methods 0.000 claims description 17
- 230000005540 biological transmission Effects 0.000 claims description 12
- 210000000613 ear canal Anatomy 0.000 claims description 7
- 239000002775 capsule Substances 0.000 claims description 2
- 230000033458 reproduction Effects 0.000 claims 6
- 230000001174 ascending effect Effects 0.000 claims 1
- 239000000203 mixture Substances 0.000 claims 1
- 238000005259 measurement Methods 0.000 description 20
- 230000006870 function Effects 0.000 description 16
- 210000000883 ear external Anatomy 0.000 description 12
- 238000012546 transfer Methods 0.000 description 11
- 241000282414 Homo sapiens Species 0.000 description 7
- 238000005516 engineering process Methods 0.000 description 7
- 238000010586 diagram Methods 0.000 description 6
- 238000011161 development Methods 0.000 description 3
- 230000018109 developmental process Effects 0.000 description 3
- 238000000691 measurement method Methods 0.000 description 3
- 238000000034 method Methods 0.000 description 3
- 230000010076 replication Effects 0.000 description 3
- 238000012935 Averaging Methods 0.000 description 2
- 241000282412 Homo Species 0.000 description 2
- 238000011835 investigation Methods 0.000 description 2
- 238000012544 monitoring process Methods 0.000 description 2
- 208000000114 Pain Threshold Diseases 0.000 description 1
- 238000004364 calculation method Methods 0.000 description 1
- 230000008878 coupling Effects 0.000 description 1
- 238000010168 coupling process Methods 0.000 description 1
- 238000005859 coupling reaction Methods 0.000 description 1
- 238000003745 diagnosis Methods 0.000 description 1
- 230000000694 effects Effects 0.000 description 1
- 230000014509 gene expression Effects 0.000 description 1
- 238000004519 manufacturing process Methods 0.000 description 1
- 239000000463 material Substances 0.000 description 1
- 238000013178 mathematical model Methods 0.000 description 1
- 230000037040 pain threshold Effects 0.000 description 1
- 238000012545 processing Methods 0.000 description 1
- 239000000523 sample Substances 0.000 description 1
- 238000004088 simulation Methods 0.000 description 1
- 239000007787 solid Substances 0.000 description 1
- 230000003595 spectral effect Effects 0.000 description 1
Images
Classifications
-
- H—ELECTRICITY
- H04—ELECTRIC COMMUNICATION TECHNIQUE
- H04R—LOUDSPEAKERS, MICROPHONES, GRAMOPHONE PICK-UPS OR LIKE ACOUSTIC ELECTROMECHANICAL TRANSDUCERS; DEAF-AID SETS; PUBLIC ADDRESS SYSTEMS
- H04R5/00—Stereophonic arrangements
- H04R5/027—Spatial or constructional arrangements of microphones, e.g. in dummy heads
Definitions
- the invention relates to an artificial head measuring system according to the preamble of the main claim.
- a broadband, low-noise artificial head with high dynamics (DE-A 31 46 706)
- it is known to accurately reproduce the acoustically important, geometric structures of the head, ear cups and shoulders in an electroacoustic sound recording system (artificial head) using special acoustic, electroacoustic and electronic means to combine in such a way that the acoustically true to the original transmission is achieved.
- Essential measures to achieve this purpose in the known artificial head are that the acoustically important geometrical dimensions on the head replica and also on the auricle replicas are reproduced via dimensionally accurate impressions in plastic material corresponding dimensions of selected living people, the Head replica should in particular represent a true-to-size image of the head of such a test subject, whose head is a good approximation of average. Has dimensions.
- Such a known artificial head therefore enables a true-to-original transmission of hearing events, but is problematic insofar as, precisely because of the attempt to reproduce the head as true to nature or as true to size as possible, the system cannot be fully calibrated.
- the invention solves this problem with the characterizing features of the main claim and has the advantage that a fully calibrated artificial head that is effective in the entire audio range as a measuring system for sound events created, which, since it is traced back to simple bodies and partial bodies, which can be calculated in any case by the expert in their acoustic behavior (reflection, diffraction, ear resonance and the like), all in all by the precisely defined, simplified outer geometry without restriction of the Directional illustration of a reproduction of the artificial head microphone signals is accessible via a free-field equalized headphones. Therefore, such a fully calibrated artificial head measuring system can be used with particular advantage in acoustic measurement technology as a helpful measuring, control and monitoring instrument and can also be used as a recording microphone for speech and music in the radio field.
- the directional characteristic corresponds to the average directional characteristic of humans, no intrinsic noise is perceptible, so that listening tests are also possible in the range of the hearing threshold and the dynamics correspond to human hearing up to Pain threshold, so that even peak peaks can be recorded undistorted (for example, clinking keys or clapping hands at a distance of 1 m from the ear generates peak sound levels of approximately 0.05 ms of approximately 135 dB).
- the invention therefore provides a geometrically calibrated artificial head measuring system, which, in order to be able to take this route, had to be based on the knowledge that it can be shown that the exact diffraction integrals for calculating the transfer function need not be solved are to be taken as a basis, but by reducing them to calibratable, calculable bodies such as spheres, cylinders, cylinders with bores, ellipses and the like. The like.
- a reproducible overall system can be created which, since the parts can be calibrated, can also be calibrated overall.
- the basic idea of the present invention is to make the entire artificial head measuring system calibratable by limiting the outer, writable geometry to the acoustically relevant geometry, as it has resulted from calculation and measurement, with the consequent conclusion, from the geometric structure determining the directional characteristic of the system to construct the artificial head measuring system from individual partial bodies of predetermined dimensions and predetermined relative position to one another, which can be derived even from geometrically simple bodies such as cylinders, ellipses, cuboids or spheres, and can therefore also be mathematically calculated.
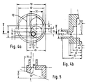
- FIGS. 4a, 4b and 5 contain effective dimensions in millimeters;
- Figures 1, 2 and 3 there are numbers marked with an asterisk above, which result from one in the following Table to be specified on certain sizes, dimensions and dimensions, angles and. Like. Get related.
- the acoustically effective geometry of a fully calibratable artificial head measuring system corresponds to the representations of FIGS. 1, 2 and 3 can be simplified to the following parameters, namely upper body and shoulder 10, which essentially determine the directional characteristic in the median plane, secondly the head 11, the diffraction waves and reflections of which decisively determine the directional characteristic in the horizontal plane, and thirdly the shape and type the auricle and its position and position on the head, the influence of which comes into play in the horizontal and especially in the median plane (cavum conchae border).
- the head 11 has no significant influence on the outer ear transmission function in the median plane, the acoustic effectiveness of the shoulder is essentially limited to the frequency range below 2000 Hz.
- the upper body 10 in the artificial head measuring system not only fulfills the task as a diffraction body, but expediently also serves at the same time to accommodate the necessary electronic components and a recording unit, which makes the system completely independent of other devices can be operated.
- Width and depth of the upper body 10 correspond to the dimensions of the shoulder; Since the upper body is supposed to simulate a sitting test subject, the depth increases downwards to, for example, 450 mm, so that the front side has an angle of approximately 20 ° to the vertical at a height of 450 mm.
- the angled front of the upper body is its decisive part, which influences the direction of the outer ear transmission function in the lower spectral range. Exact consideration of these dimensions for the upper body is not necessary, since this partial body, which is a flattened pyramid in its geometric shape, has an acoustic influence on the outer ear transmission properties only for long wavelengths (0.25 m - 1.5 m).
- the directional characteristics of the upper body and shoulder are essentially determined by the front and side bevelled surfaces and by the height of the reference plane to the shoulder.
- the head replica 11 is an ellipsoid and, in order to avoid technical difficulties in manufacture, is composed of three partial bodies, namely a lower half 11a, which corresponds to a cylinder cut in the longitudinal direction, a middle piece 11b, which corresponds to an oval disc, and an upper section 11c, which consists of a front and rear spherical quarter with a circular disc half in the middle.
- the head height is adjusted according to the mean distance 4 * of the reference plane BE to the shoulder.
- the complicated shape of the ear cup can also be reduced to a simplified form, for example as shown in FIGS. 4a, 4b and 5.
- Outer and inner are important Edges of the auricle, the diffraction properties of which determine the directional characteristic, as well as the cavities - cavum conchae substitute - which, as acoustic resonance amplifiers, contribute to improving the signal / noise ratio of the microphone.
- the dimensions of the auricle replica also result from an arithmetic averaging of the geometric dimensions of seven test subjects; As already mentioned, dimensions in millimeters are entered directly in the figures representing the pinna.
- the auricle replica is made from a cylinder (diameter approx. 70 mm), whereby the cavum conchae can either be realized by a single oval-shaped depression in the cylinder, which includes the size dimensions width 21 mm, height 30 mm and depth 19 mm, for one through a bore with a diameter of 8 mm ear canal entrance (not shown in the drawing) or the ear replication takes place according to the pattern of the representation of FIGS. 4a, 4b and 5 with several interlocking bores and depressions with the dimensions indicated in these figures.
- the final auricle replica is then created by a longitudinal section 12 of the cylinder, offset approximately 10 mm from the center, the cut-away parts being omitted, and bevels are formed by 20 ° in the earpiece replica of FIG. 5, and in the representation of FIG. 4b ( Rotated 90 o ) from 10 o .
- the pinna of the other ear is then mirror-symmetrical; the reference plane BE corresponds to the microphone plane, with a reference point BP at the center of the ear canal entrance the reference plane BE can still be defined.
- all parts of the artificial head are free of undercuts, that is to say no protruding parts are formed in the case of cavities, which are caused by an internal enlargement of the cavity.
- microphones for coupling to the ear canal inputs must be arranged to ensure the comprehensive calibration capability, which microphones suitably meet the requirement for low self-noise and also have a maximum permissible sound pressure level.
- 1/2 inch microphone measuring capsules from Brüel + Kjaer with the designation B + K 4166 have been found to be particularly suitable, a distance of 4 mm being calculated as the optimal length of the ear canal.
- the position of the microphone plane corresponds to the reference plane BE for measurements on test subjects.
- the equalizer circuit is determined such that a linear, frequency-independent transmission measure can be measured at the artificial head output in the event of sound coming from the front in the free field (so-called free field equalization).
- the magnitude of the transfer function of the equalizer circuit then behaves inversely to the free-field transfer function of the artificial head shown in FIG. 7, the solid curve in the diagram of FIG. 7 relating to an artificial head with a precise replica of the external geometry and the dashed representation fully representing the invention indicates a calibratable dummy head measuring system with a simplified average geometry.
- the invention has succeeded in proving, on the basis of the simplified mean geometry in an artificial head measuring system, that it can be calibrated on the one hand and only with one to be able to work with extremely small errors that are practically irrelevant for measurement technology.
- the invention therefore succeeds in a very decisive way for the first time in the field of artificial head technology to develop a system which is accessible to worldwide standardization because of the extensive calibration capability. This will be briefly discussed using a possible example for better understanding.
- the invention also enables actual demonstration of the respective background noise developed by the motor vehicle via headphones, for example at locations remote from the motor vehicles, direct comparisons also being able to be heard; it is also possible to compare correspondingly recorded noise developments, which have been recorded in completely different locations and in other vehicles, directly with further recordings or direct measurements, provided that the calibratable artificial head according to the invention is used for the measurement, which has the possibility offers to draw conclusions directly from the measured signals on the actual sound effects and noise developments, based on the outer ear transmission function with sound coming from the front - directional characteristic.
- FIG. 8 shows the monaural transfer functions of the calibratable artificial head measuring system according to the invention (here with solid lines) and for comparison of an artificial head with a precise replica of a test person (middle test person) for different, respectively indicated directions of sound incidence.
- the agreement which is astonishing for acoustic measurement results, as well as the so-called hearing area of the free-field-equalized artificial head indicated in FIG. 9, in comparison to the human hearing area, illustrate the comprehensive agreement achieved.
- curves a relating to the calibratable artificial head measuring system according to the invention curves b an artificial head measuring system with precise replication of the head and auricle and the curves c concern a medium-sized subject.
- the invention therefore succeeds in evaluating the acoustically relevant, direction-determining parameters of test subjects and the mathematical recording and also simplifying the mathematical model, for example for the purpose of standardization, to create a fully calibratable artificial head measuring system with a precisely defined, simplified external geometry, and this is important, without restricting the directional image when the artificial head microphone signals are reproduced via a free-field equalized headphone.
- Such a system can therefore be used for the first time in acoustic measurement technology as a measuring, control and monitoring instrument that delivers objective measurement results and enables comparisons and can also be used in the same way as a recording microphone for speech and music in the radio field.
Landscapes
- Physics & Mathematics (AREA)
- Engineering & Computer Science (AREA)
- Acoustics & Sound (AREA)
- Signal Processing (AREA)
- Stereophonic Arrangements (AREA)
- Measurement Of Mechanical Vibrations Or Ultrasonic Waves (AREA)
Priority Applications (1)
| Application Number | Priority Date | Filing Date | Title |
|---|---|---|---|
| AT85103440T ATE67367T1 (de) | 1984-03-27 | 1985-03-23 | Kunstkopf-messsystem. |
Applications Claiming Priority (4)
| Application Number | Priority Date | Filing Date | Title |
|---|---|---|---|
| DE3411236 | 1984-03-27 | ||
| DE3411236 | 1984-03-27 | ||
| DE3509376 | 1985-03-15 | ||
| DE19853509376 DE3509376A1 (de) | 1984-03-27 | 1985-03-15 | Kunstkopf-messsystem |
Publications (3)
| Publication Number | Publication Date |
|---|---|
| EP0156333A2 EP0156333A2 (de) | 1985-10-02 |
| EP0156333A3 EP0156333A3 (en) | 1988-01-07 |
| EP0156333B1 true EP0156333B1 (de) | 1991-09-11 |
Family
ID=25819755
Family Applications (1)
| Application Number | Title | Priority Date | Filing Date |
|---|---|---|---|
| EP85103440A Expired - Lifetime EP0156333B1 (de) | 1984-03-27 | 1985-03-23 | Kunstkopf-Messsystem |
Country Status (6)
| Country | Link |
|---|---|
| US (1) | US4631962A (OSRAM) |
| EP (1) | EP0156333B1 (OSRAM) |
| BR (1) | BR8501371A (OSRAM) |
| CA (1) | CA1227558A (OSRAM) |
| DE (2) | DE3509376A1 (OSRAM) |
| DK (1) | DK160391C (OSRAM) |
Families Citing this family (15)
| Publication number | Priority date | Publication date | Assignee | Title |
|---|---|---|---|---|
| DE3903246A1 (de) * | 1989-02-03 | 1990-08-09 | Koenig Florian | Erfassung und reduktion von beschallungsmaengeln bei kopfhoerern |
| DE4222050C2 (de) * | 1991-07-09 | 1995-10-05 | Head Acoustics Gmbh | Vorrichtung zur gehörgerechten Schallfeldanalyse |
| FR2693096B1 (fr) * | 1992-07-06 | 1994-09-23 | Deshayes Marie Josephe | Procédé de modélisation de la morphologie crânienne et faciale à partir d'une radiographie du crâne. |
| US5560242A (en) * | 1994-08-16 | 1996-10-01 | Flextech Systems, Inc. | Ultrasonic system evaluation phantoms |
| DE19534471C2 (de) * | 1995-09-18 | 1998-03-12 | Dieter Prof Dr Braun | Meßverfahren zur Beurteilung des Klangbildes von Lautsprechern in Stereoanordnung |
| GB9709848D0 (en) * | 1997-05-15 | 1997-07-09 | Central Research Lab Ltd | Improved artificial ear and auditory canal system and means of manufacturing the same |
| DE19960014B4 (de) | 1999-12-13 | 2004-02-19 | Trinkel, Marian, Dipl.-Ing. | Vorrichtung zur Bestimmung und Charakterisierung von durch Zerkleinern von Lebensmitteln erzeugten Geräuschen |
| FR2851877B1 (fr) * | 2003-02-28 | 2005-05-13 | Procede de mesure de fonctions de transfert acoustiques associees a la morphologie d'un individu | |
| US7616767B2 (en) * | 2003-04-15 | 2009-11-10 | Bruel & Kjaer Sound & Measurement A/S | Method and device for determining acoustical transfer impedance |
| DK176170B1 (da) * | 2004-04-28 | 2006-11-13 | Bang & Olufsen As | Fremgangsmåde til objektiv bestemmelse af subjektive egenskaber ved et binauralt lydsignal |
| US8442244B1 (en) | 2009-08-22 | 2013-05-14 | Marshall Long, Jr. | Surround sound system |
| US9031221B2 (en) * | 2009-12-22 | 2015-05-12 | Cyara Solutions Pty Ltd | System and method for automated voice quality testing |
| US9103747B2 (en) | 2010-10-20 | 2015-08-11 | Lear Corporation | Vehicular dynamic ride simulation system using a human biofidelic manikin and a seat pressure distribution sensor array |
| US10455327B2 (en) * | 2017-12-11 | 2019-10-22 | Bose Corporation | Binaural measurement system |
| EP4373138A1 (en) | 2022-11-21 | 2024-05-22 | Universität Wien | Obtaining a head-related transfer function |
Family Cites Families (4)
| Publication number | Priority date | Publication date | Assignee | Title |
|---|---|---|---|---|
| US1868209A (en) * | 1930-02-13 | 1932-07-19 | Kapernick Georg Friedrich | Model fitting head for opticians |
| NL69032C (OSRAM) * | 1943-05-17 | |||
| JPS567971Y2 (OSRAM) * | 1977-07-23 | 1981-02-21 | ||
| DE3146706A1 (de) * | 1981-11-25 | 1983-06-01 | Klaus Dipl.-Ing. Dipl.-Wirtsch.-Ing. 5100 Aachen Genuit | Ein breitbandiger rauscharmer kunstkopf mit hoher dynamik und der eigenschaft der originalgetreuen uebertragung von hoerereignissen |
-
1985
- 1985-03-15 DE DE19853509376 patent/DE3509376A1/de active Granted
- 1985-03-23 DE DE8585103440T patent/DE3584022D1/de not_active Expired - Lifetime
- 1985-03-23 EP EP85103440A patent/EP0156333B1/de not_active Expired - Lifetime
- 1985-03-25 DK DK134385A patent/DK160391C/da not_active IP Right Cessation
- 1985-03-25 US US06/715,878 patent/US4631962A/en not_active Expired - Lifetime
- 1985-03-26 CA CA000477522A patent/CA1227558A/en not_active Expired
- 1985-03-26 BR BR8501371A patent/BR8501371A/pt unknown
Also Published As
| Publication number | Publication date |
|---|---|
| US4631962A (en) | 1986-12-30 |
| DK160391B (da) | 1991-03-04 |
| DE3584022D1 (de) | 1991-10-17 |
| EP0156333A3 (en) | 1988-01-07 |
| DK134385A (da) | 1985-09-28 |
| DE3509376A1 (de) | 1985-11-07 |
| DK134385D0 (da) | 1985-03-25 |
| CA1227558A (en) | 1987-09-29 |
| DE3509376C2 (OSRAM) | 1992-06-04 |
| DK160391C (da) | 1991-08-12 |
| BR8501371A (pt) | 1985-11-26 |
| EP0156333A2 (de) | 1985-10-02 |
Similar Documents
| Publication | Publication Date | Title |
|---|---|---|
| EP0156333B1 (de) | Kunstkopf-Messsystem | |
| DE69511246T2 (de) | Binaurale synthese, kopfbezogene ubertragungsfunktionen und ihre verwendungen | |
| DE2244162A1 (de) | Verfahren zur simulation der bei einer lautsprecherbeschallung auftretenden hoerereignisse mittels kopfhoerern | |
| DE3538615A1 (de) | Hoerkapsel | |
| EP0641143A2 (de) | Verfahren zur Simulation eines Raum- und/oder Klangeindrucks | |
| DE2019343A1 (de) | Kopfhoerer,insbesondere zur stereophonischen Wiedergabe von Schallereignissen | |
| DE2525642C3 (de) | Vorrichtung für die stereophonische Aufnahme und Kontrolle von Schallereignissen | |
| WO2017157519A1 (de) | Verfahren zur automatischen bestimmung einer individuellen funktion einer dpoae-pegelkarte eines menschlichen oder tierischen gehörs | |
| DE102007054152A1 (de) | Verfahren zur Programmierung von Hörgeräten | |
| DE19905743A1 (de) | Vorrichtung und Verfahren zur objektiven Bestimmung der schwellennahen und überschwelligen Schallverarbeitung des Innenohres | |
| DE2410146B1 (de) | Verfahren und Vorrichtung zur stereofonen Aufnahme von Schallereignissen | |
| EP0484354B1 (de) | STEREOKOPFHöRER ZUR VORNEORTUNG VON MITTELS STEREOKOPFHöRERN ERZEUGTEN HöREREIGNISSEN | |
| DE3146706C2 (OSRAM) | ||
| EP0156334B1 (de) | Simulationsverfahren und Vorrichtung (elektronischer Kunstkopf) zur Nachbildung der Übertragungseigenschaften des menschlichen Aussenohrs bei Freifeldbeschallung | |
| DE8507692U1 (de) | Kunstkopf-Meßsystem | |
| DE102022202646B3 (de) | Verfahren zum Betrieb eines binauralen Hörsystems | |
| EP0025509B1 (de) | Stereophones Übertragungsverfahren und Mittel zur Durchführung des Verfahrens | |
| DE3737873C2 (de) | Verwendung von Hörsprechgarnituren zur Verbesserung der Sprachverständlichkeit in störschallerfüllter Umgebung | |
| DE3600011C2 (de) | Kunstkopfartige Tonaufnahmeanordnung | |
| DE69928174T2 (de) | Telefongehäuse zum Freisprechgebrauch | |
| EP0518326B1 (de) | Verfahren und Vorrichtung zum Verarbeiten akustischer Information | |
| DE2907842C2 (OSRAM) | ||
| DE1927401C3 (de) | Verfahren zur hörrichtigen Aufnahme und Wiedergabe von Schallereignissen und Vorrichtung zu seiner Durchführung | |
| DE102016114720A1 (de) | Kommunikationsgerät zur sprachbasierten Kommunikation | |
| DE3903246A1 (de) | Erfassung und reduktion von beschallungsmaengeln bei kopfhoerern |
Legal Events
| Date | Code | Title | Description |
|---|---|---|---|
| PUAI | Public reference made under article 153(3) epc to a published international application that has entered the european phase |
Free format text: ORIGINAL CODE: 0009012 |
|
| AK | Designated contracting states |
Kind code of ref document: A2 Designated state(s): AT BE CH DE FR GB IT LI LU NL SE |
|
| RAP1 | Party data changed (applicant data changed or rights of an application transferred) |
Owner name: HEAD STEREO GMBH , KOPFBEZOGENE AUFNAHME- UND WIED |
|
| PUAL | Search report despatched |
Free format text: ORIGINAL CODE: 0009013 |
|
| AK | Designated contracting states |
Kind code of ref document: A3 Designated state(s): AT BE CH DE FR GB IT LI LU NL SE |
|
| 17P | Request for examination filed |
Effective date: 19880702 |
|
| RAP1 | Party data changed (applicant data changed or rights of an application transferred) |
Owner name: HEAD ACOUSTICS GMBH KOPFBEZOGENE AUFNAHME- UND WIE |
|
| 17Q | First examination report despatched |
Effective date: 19900626 |
|
| RAP3 | Party data changed (applicant data changed or rights of an application transferred) |
Owner name: HEAD ACOUSTICS GMBH KOPFBEZOGENE AUFNAHME- UND WIE |
|
| GRAA | (expected) grant |
Free format text: ORIGINAL CODE: 0009210 |
|
| AK | Designated contracting states |
Kind code of ref document: B1 Designated state(s): AT BE CH DE FR GB IT LI LU NL SE |
|
| PG25 | Lapsed in a contracting state [announced via postgrant information from national office to epo] |
Ref country code: SE Effective date: 19910911 Ref country code: NL Effective date: 19910911 Ref country code: IT Free format text: LAPSE BECAUSE OF FAILURE TO SUBMIT A TRANSLATION OF THE DESCRIPTION OR TO PAY THE FEE WITHIN THE PRESCRIBED TIME-LIMIT;WARNING: LAPSES OF ITALIAN PATENTS WITH EFFECTIVE DATE BEFORE 2007 MAY HAVE OCCURRED AT ANY TIME BEFORE 2007. THE CORRECT EFFECTIVE DATE MAY BE DIFFERENT FROM THE ONE RECORDED. Effective date: 19910911 Ref country code: BE Effective date: 19910911 |
|
| REF | Corresponds to: |
Ref document number: 67367 Country of ref document: AT Date of ref document: 19910915 Kind code of ref document: T |
|
| REF | Corresponds to: |
Ref document number: 3584022 Country of ref document: DE Date of ref document: 19911017 |
|
| ET | Fr: translation filed | ||
| GBT | Gb: translation of ep patent filed (gb section 77(6)(a)/1977) | ||
| NLV1 | Nl: lapsed or annulled due to failure to fulfill the requirements of art. 29p and 29m of the patents act | ||
| PG25 | Lapsed in a contracting state [announced via postgrant information from national office to epo] |
Ref country code: LU Free format text: LAPSE BECAUSE OF NON-PAYMENT OF DUE FEES Effective date: 19920331 |
|
| PLBE | No opposition filed within time limit |
Free format text: ORIGINAL CODE: 0009261 |
|
| STAA | Information on the status of an ep patent application or granted ep patent |
Free format text: STATUS: NO OPPOSITION FILED WITHIN TIME LIMIT |
|
| 26N | No opposition filed | ||
| PGFP | Annual fee paid to national office [announced via postgrant information from national office to epo] |
Ref country code: AT Payment date: 19970320 Year of fee payment: 13 |
|
| PGFP | Annual fee paid to national office [announced via postgrant information from national office to epo] |
Ref country code: CH Payment date: 19970324 Year of fee payment: 13 |
|
| PG25 | Lapsed in a contracting state [announced via postgrant information from national office to epo] |
Ref country code: AT Free format text: LAPSE BECAUSE OF NON-PAYMENT OF DUE FEES Effective date: 19980323 |
|
| PG25 | Lapsed in a contracting state [announced via postgrant information from national office to epo] |
Ref country code: LI Free format text: LAPSE BECAUSE OF NON-PAYMENT OF DUE FEES Effective date: 19980331 Ref country code: CH Free format text: LAPSE BECAUSE OF NON-PAYMENT OF DUE FEES Effective date: 19980331 |
|
| REG | Reference to a national code |
Ref country code: CH Ref legal event code: PL |
|
| PGFP | Annual fee paid to national office [announced via postgrant information from national office to epo] |
Ref country code: GB Payment date: 19990208 Year of fee payment: 15 |
|
| PGFP | Annual fee paid to national office [announced via postgrant information from national office to epo] |
Ref country code: FR Payment date: 19990215 Year of fee payment: 15 |
|
| PG25 | Lapsed in a contracting state [announced via postgrant information from national office to epo] |
Ref country code: GB Free format text: LAPSE BECAUSE OF NON-PAYMENT OF DUE FEES Effective date: 20000323 |
|
| GBPC | Gb: european patent ceased through non-payment of renewal fee |
Effective date: 20000323 |
|
| PG25 | Lapsed in a contracting state [announced via postgrant information from national office to epo] |
Ref country code: FR Free format text: LAPSE BECAUSE OF NON-PAYMENT OF DUE FEES Effective date: 20001130 |
|
| REG | Reference to a national code |
Ref country code: FR Ref legal event code: ST |
|
| PGFP | Annual fee paid to national office [announced via postgrant information from national office to epo] |
Ref country code: DE Payment date: 20040401 Year of fee payment: 20 |