EP0122244B1 - Schlosssystem - Google Patents

Schlosssystem Download PDF

Info

Publication number
EP0122244B1
EP0122244B1 EP84850102A EP84850102A EP0122244B1 EP 0122244 B1 EP0122244 B1 EP 0122244B1 EP 84850102 A EP84850102 A EP 84850102A EP 84850102 A EP84850102 A EP 84850102A EP 0122244 B1 EP0122244 B1 EP 0122244B1
Authority
EP
European Patent Office
Prior art keywords
card
lock
time
data
memory
Prior art date
Legal status (The legal status is an assumption and is not a legal conclusion. Google has not performed a legal analysis and makes no representation as to the accuracy of the status listed.)
Expired
Application number
EP84850102A
Other languages
English (en)
French (fr)
Other versions
EP0122244A2 (de
EP0122244A3 (en
Inventor
Bengt Olenfalk
Göran Witt
Anders Sarberg
Current Assignee (The listed assignees may be inaccurate. Google has not performed a legal analysis and makes no representation or warranty as to the accuracy of the list.)
BESAM SECURITY AB
Original Assignee
BESAM SECURITY AB
BESAM SECURITY AB
Priority date (The priority date is an assumption and is not a legal conclusion. Google has not performed a legal analysis and makes no representation as to the accuracy of the date listed.)
Filing date
Publication date
Family has litigation
First worldwide family litigation filed litigation Critical https://patents.darts-ip.com/?family=20350718&utm_source=google_patent&utm_medium=platform_link&utm_campaign=public_patent_search&patent=EP0122244(B1) "Global patent litigation dataset” by Darts-ip is licensed under a Creative Commons Attribution 4.0 International License.
Application filed by BESAM SECURITY AB, BESAM SECURITY AB filed Critical BESAM SECURITY AB
Priority to AT84850102T priority Critical patent/ATE34796T1/de
Publication of EP0122244A2 publication Critical patent/EP0122244A2/de
Publication of EP0122244A3 publication Critical patent/EP0122244A3/en
Application granted granted Critical
Publication of EP0122244B1 publication Critical patent/EP0122244B1/de
Expired legal-status Critical Current

Links

Images

Classifications

    • GPHYSICS
    • G07CHECKING-DEVICES
    • G07CTIME OR ATTENDANCE REGISTERS; REGISTERING OR INDICATING THE WORKING OF MACHINES; GENERATING RANDOM NUMBERS; VOTING OR LOTTERY APPARATUS; ARRANGEMENTS, SYSTEMS OR APPARATUS FOR CHECKING NOT PROVIDED FOR ELSEWHERE
    • G07C9/00Individual registration on entry or exit
    • G07C9/00174Electronically operated locks; Circuits therefor; Nonmechanical keys therefor, e.g. passive or active electrical keys or other data carriers without mechanical keys
    • G07C9/00896Electronically operated locks; Circuits therefor; Nonmechanical keys therefor, e.g. passive or active electrical keys or other data carriers without mechanical keys specially adapted for particular uses
    • G07C9/00904Electronically operated locks; Circuits therefor; Nonmechanical keys therefor, e.g. passive or active electrical keys or other data carriers without mechanical keys specially adapted for particular uses for hotels, motels, office buildings or the like
    • GPHYSICS
    • G07CHECKING-DEVICES
    • G07CTIME OR ATTENDANCE REGISTERS; REGISTERING OR INDICATING THE WORKING OF MACHINES; GENERATING RANDOM NUMBERS; VOTING OR LOTTERY APPARATUS; ARRANGEMENTS, SYSTEMS OR APPARATUS FOR CHECKING NOT PROVIDED FOR ELSEWHERE
    • G07C9/00Individual registration on entry or exit
    • G07C9/20Individual registration on entry or exit involving the use of a pass
    • G07C9/21Individual registration on entry or exit involving the use of a pass having a variable access code
    • GPHYSICS
    • G07CHECKING-DEVICES
    • G07CTIME OR ATTENDANCE REGISTERS; REGISTERING OR INDICATING THE WORKING OF MACHINES; GENERATING RANDOM NUMBERS; VOTING OR LOTTERY APPARATUS; ARRANGEMENTS, SYSTEMS OR APPARATUS FOR CHECKING NOT PROVIDED FOR ELSEWHERE
    • G07C9/00Individual registration on entry or exit
    • G07C9/20Individual registration on entry or exit involving the use of a pass
    • G07C9/215Individual registration on entry or exit involving the use of a pass the system having a variable access-code, e.g. varied as a function of time

Definitions

  • the present invention relates to a lock system, and in particular to a lock system intended for locking rooms to which a limited number of persons are permitted access over spaced periods of time.
  • Such rooms may include hotel rooms, safes and drink cabinets placed in hotel rooms for use by guests, and also a diversity of storage facilities placed at the disposal of selected persons for a limited period of time, such as dress- changing rooms, banks and post offices.
  • lock systems which, instead of conventional keys, incorporate the use of magnetic cards, on which a digital code can be magnetically registered, and locks which include an electrically operable locking mechanism, a magnetic-card reading means, a memory in which a digital code can be stored, and means for making a comparison between the digital code read by the card reader from the magnetic card, serving as the "key", and the code stored in the memory, whereupon the locking mechanism is unlocked, provided that there is agreement between the two codes compared.
  • lock system a key card is provided with magnetically registered data including a lock identification allotted to a specific lock, a validity time for the card and a randomly selected ligitimacy code allotted individually to the card, and each lock comprises a locking mechanism having electrically actuable means for unlocking the same, a magnetic-card reader arranged to receive a card of the aforementioned kind and to read the data registered thereon, a memory containing said lock-identification data and capable of storing card data of the aforementioned kind, comparison means for comparing the data stored in said memory with data read from said card by means of said magnetic-card reader and for acting upon the locking mechanism in response to said comparison, and a programming unit for entering data into said memory and for changing the data content of said memory.
  • lock systems for hotel rooms and similar applications it should preferably be possible to issue cards to members of the hotel staff, for example cleaning personnel and hotel security personnel, which cards can be used for opening the locks to a given number of specific rooms only on certain weekdays and/or during certain times of the day.
  • the central card issuing unit which is normally located in the reception of the hotel, must comprise a data store in which all the legitimacy codes of all issued current cards are kept stored. Otherwise, it is not possible to issue any new cards, which can be used for opening and reprogramming the individual locks. This creates a very serious problem, especially if the synchronisation between the card data stored in the central unit and the card data stored in the individual locks is lost or if the legitimacy codes stored in the central unit are for some reason lost. In such situations it will not be possible to issue any new cards capable of opening the locks of the system.
  • the object of the present invention is to provide an improved lock system of the aforementioned kind, which has an improved utility and provides a more simple way of issuing new cards at any time, without any central data store for the legitimacy codes of previously issued cards being required.
  • the lock system according to the invention affords several important advantages. For examples, it is possible to establish accurately the validity time of each card in real time, not only with respect to an initial date and a final date but also with respect to those days and those times of day on which the card can be used within the interim period. Thus, it is possible to issue a card which can be used only on certain weekdays and/or during certain times of the day, while at the same time it is possible to establish a total card validity time, i.e. a first and a last day of validity. It is also possible to issue a card long beforehand, i.e.
  • a new card can be issued at any time for any given lock, even if the validity time of a previously issued card for the same lock has not yet expired, and the system does not require, for this purpose, any central data store in which the legitimacy codes of previously issued cards are stored.
  • lock system according to the invention is described, by way of example, with respect to its use in a hotel, although it will be understood that a lock system according to the invention can also be used to the same advantage for many other types of institution, and that the magnetic cards serving as keys can be of another kind with respect to the different usages for which they are legitimized.
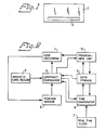
  • Figure 1 illustrates schematically and by way of example a conventional magnetic card 1, which can be used as a "key" in a lock system according to the invention and which is provided with, for example, a strip 2 of magnetisable material on which data, preferably in digital form, can be magnetically registered.
  • the magnetic registration, or the writing of data into the card is effected by means of a separate, conventional programming or write-in apparatus (not shown in detail) which is suitably placed in the reception facilities of the hotel.
  • the aforementioned programming or write-in apparatus can be arranged to issue or to program different types of card.
  • the aforementioned programming or write-in apparatus can be arranged to issue or to program different types of card.
  • three main types of card namely: guest cards, which are intended for issue to hotel guests, and to afford each guest access to only one given room during all times of the day for a specific, selectable period of time, validity time;
  • service cards which are intended for cleaning personnel and other personnel, and which afford access to a given floor, during a certain time of day, for example between 8.00 and 17.00, and/or on certain days of the week, for example all weekdays, and for a given validity time, i.e. from a first validity day to a final validity day;
  • master cards intended for the hotel security staff or management, which afford access to all rooms in the hotel or in a certain part of the hotel at all times of the day for a given validity time, i.e. from a first validity day to a final validity day.
  • the data registered magnetically on the card, preferably in digital form, by means of the programming or write-in apparatus may comprise the following information:
  • the programming or write-in apparatus is designed so that when issuing or programming a card, the operator is able to determine the type of card concerned, the system identification, the lock identification, and the validity time, but not the legitimacy code randomly selected by the apparatus itself.
  • the apparatus is designed so that it can only be operated by selected, authorized personnel, which may have varying grades of authorization, such that, for example, the system identification can only be determined and changed by a few people, which may also apply to the issue of a master card, for example.
  • the lock illustrated in the block schematic of Fig. 2 includes a conventional magnetic card reader 3, for example a reader of the Magdat-type MSC-170-IR, or the Ericsson-type KDT 30201, into which a magnetic card 1 according to Figure 1 can be inserted, and which reads the data magnetically registered on the card.
  • the lock also includes a conventional locking mechanism 4 which can be operated electrically between a locked and an unlocked state.
  • the lock includes a legitimacy comparator 8, a time comparator 9 and a programming unit 10, the functional purpose of which will be made apparent hereinafter.
  • the lock may also incorporate a position sensor 5, for example in the form of a microswitch, which detects the position of a lock bolt in the lock mechanism 4.
  • the memory 6, which is suitably of the direct access type, is suitably arranged to store digital data. This data can be changed with the aid of the programming unit 10.
  • the aforementioned system identification and the lock identification pertaining to said lock are always stored in the memory.
  • the aforesaid items of data are entered into the memory 6 before the lock is installed by, temporarily connecting the lock to the aforementioned programming or write-in apparatus from which the system identification and lock identfica- tion is obtained, and entering said data into the memory 6 through the programming unit 10.
  • the legitimacy comparator 8 is arranged to receive from the card reader 3, the data or information registered on the magnetic card fed to the card reader 3, and to compare this data with data stored in the memory 6.
  • the time comparator 9 is designed to be able to make a mutual comparison between the real time given by the real time clock of said lock, the time-information read from an inserted card by the card reader 3, and time-information stored in the memory 6.
  • a guest card of the kind aforedescribed i.e. a card bearing registered data concerning the type of card, system identification, validity time, and a randomly selected legitimacy code.
  • a microprocessor (not shown in detail) incorporated in the lock and being, for example, of the aforementioned kind designated AIM65 from Rockwell instructs the time comparator 9 to compare the validity time read from the card with the real time given by the real-time clock 7, and further instructs the legitimacy comparator 8 to compare the system identification and the lock identification in the data read from the card with the system-identification data and the lock-identification data previously stored in the lock memory 6.
  • the programming unit 10 is ordered to store all the data registered on the card in a site in memory 6 intended herefor, and actuates the lock mechanism, to open the lock. If, on the other hand, one of the comparisons shows a negative result, the lock remains locked and no further action takes place. Thus, the lock cannot be opened with a guest card unless the card is intended for the location and the lock in question, and unless it is presented to the lock within the validity time registered on the card.
  • the time comparator 9 is instructed to compare the time given by the real-time clock 7 with the validity time stored as described above in the site in the memory 6 reserved for guest-card date. If the result of this comparison is positive, i.e. the validity time stored in the memory has not yet expired, the legitimacy comparator8 is instructed to comparethewhole of the data read from the card with the data stored in the aforesaid manner in the memory 6, in the site reserved forthe guest-card data. If the comparison shows agreement between the two sets of data, the legitimacy comparator 8 actuates the lock mechanism 4, to open the lock.
  • the programming unit 10 is instructed to erase the validity time stored in the memory 6, wherefore the subsequent comparison made by the legitimacy comparator 8, as described above, between the data registered on the guest card and the guest-card data stored in the memory 6 will also give a negative result, whereby the lock is not opened. Consequently, the card can not be used to open the lock, when the validity time registered on the card has expired.
  • a guest may decide to vacate his/her room earlier than was initially intended, i.e. before the validity time of the card issued to the guest has expired. Similar circumstances may occur with other types of institutions or established organizations. In such cases, in order to enable a new guest to enter the room, it is necessary to issue a card which will be accepted by the lock, despite the fact that the memory 6 of the lock has stored therein data relating to a guest card whose validity time has not yet expired.
  • the procedure adopted differs from that taken with the aforescribed guest card, insomuch asthe new master card is not given a special override code.
  • the lock is so designed that the legitimacy comparator 8 accepts such a new master card, provided with a longer validity time than the validity time previously registered in the memory 6 of said master card, and in conjunction therewith substitutes the master card data previously stored in said memory with the data found registered on the new master card.
  • the data registered on a service card contains no randomly selected legitimacy code, but only data referring to system identification, lock identification, i.e. identifications of those locks or rooms to which the service card has access, and a validity time.
  • the lock functions in the above-described manner, with the exception that none of the data registered in the service card is stored in the memory 6 of the lock.
  • the legitimacy comparator 8 solely checks the system-identification data and the lock-identification data on the card with the system and lock identification data stored in the memory 6, while the time-comparator 9 checks the card validity-time with the real time given by the real-time clock 7.
  • a lock system is designed to enable the system identification to be changed, by issuing a new master card which contains both the old and the new system identification, and also a special operation code.
  • the lock detects said operation code and the programming unit 10 in the lock is ordered to replace the old system-identification data stored in the lock memory 6 with the new system-identification data registered on the new master card.
  • the position sensor 5 of the lock illustrated in Figure 2 may be arranged to sense a special position for a lock bolt in the lock mechanism 4, to which the lock bolt may be moved manually by the hotel guest from inside the door.
  • the position sensor 5 acts upon the legitimacy comparator 8 in a manner such that said comparator no longer accepts, for example, a service card, but only master cards and guest cards. This function can be employed when a guest does wish to be disturbed.
  • the safe lock can be designed so thatthe position sensor 5 is constantly activated, whereupon the safe can only be opened with a guest card and a master card.
  • the position sensor 5 may also be arranged to act upon the legitimacy comparator 8 in a manner such that the comparator will not accept a guest card provided with an override code of the aforementioned kind.
  • the magnetic card 1 can be reprogrammed and used a repeated number of times, simply by presenting the card to the aforedescribed programming and write-in apparatus each time the card is to be renewed.
  • the programming and write-in apparatus is advantageously designed to record therein the number of times an individual card has been renewed and fresh data registered therein. In this way, it is possible to estimate when a card has been used so many times that there is danger of it being worn to such an extent as to render the card unserviceable and unreliable.

Landscapes

  • Physics & Mathematics (AREA)
  • General Physics & Mathematics (AREA)
  • Lock And Its Accessories (AREA)
  • Vehicle Body Suspensions (AREA)
  • Management, Administration, Business Operations System, And Electronic Commerce (AREA)

Claims (5)

1. Ein Verriegelungssystem mit wenigstens einem Schloß und wenigstens einem Schlüssel zum Entriegeln des Schlosses, worin der Schlüssel eine Karte (1) enthält, die mit magnetisch aufgezeichneten Daten (2) versehen ist, welche eine dem betreffenden Schloß zugeordnete Schloßkennzeichnung, eine Gültigkeitszeit für die Karte und einen der Karte individuell zugeordneten und zufällig ausgewählten Zulässigkeitscode einschließen; das Schloß enthält einen Verriegelungsmechanismus (4) mit elektrisch zu betätigenden Vorrichtungen zum Entriegeln desselben, einen Magnetkartenleser (3), der für die Aufnahme einer Karte (1) der vorgenannten Art und das Lesen der darauf aufgezeichneten Daten ausgelegt ist, einen Speicher (6) mit den erwähnten Schloßkennzeichnungsdaten und Eignung zur Speicherung der Kartendaten der vorgenannten Art, Vergleichsvorrichtungen (8, 9) zum Vergleichen der im genannten Speicher (6) gespeicherten Daten mit Daten, die von der genannten Karte mit Hilfe des genannten Magnetkartenlesers (3) abgelesen werden können, und zur Einwirkung auf den Verriegelungsmechanismus (4) als Reaktion auf den erwähnten Vergleich, sowie eine Programmiereinheit (10) zur Eingabe von Daten in den genannten Speicher (6) und zur Änderung des Dateninhalts des genannten Speichers, dadurch gekennzeichnet, daß die Gültigkeitszeit für die auf der Karte aufgezeichneten Daten (?; im englischen Text steht hier "Karte") in Echtzeit ausgedrückt wird; das Schloß eine Echtzeituhr (7) enthält; die genannte Vergleichsvorrichtung des Schlosses einen Zulässigkeitskomparator (8) und einen Zeitkomparator (9) einschließt; und dadurch, daß bei Einlegen einer Karte der vorgenannten Art in den Kartenleser (3) folgendes geschieht;
a) der Zeitkomparator (9) wird veranlaßt, die von der Echtzeituhr (7) mit der Gültigkeitszeit der im Speicher (6) gespeicherten Kartendaten zu vergleichen, und der Zulässigkeitskomparator (8) ist so ausgelegt, daß er die auf der genannten Karte aufgezeichneten Daten mit den im Speicher (6) gespeicherten Kartendaten vergleicht, wodurch der Verriegelungsmechanismus (4) veranlaßt wird, auf entriegelten Zustand überzugehen, wenn alle genannten Vergleiche miteinander übereinstimmen und wodurch somit der dann zulässige Gebrauch der Karte angezeigt wird;
b) wenn jedoch der Vergleich, den der Zeitkomparator (9) zwischen der von der Echtzeituhr (7) genannten Echtzeit und der Gültigkeitszeit der im Speicher (6) gespeicherten Kartendaten anstellt, eine Abweichung aufweist oder wenn im Speicher (6) keine Kartendaten gespeichert sind, was somit darauf hinweist, daß das Schloß derzeit nicht programmiert ist, um durch eine Karte mit laufender und nicht abgelaufener Gültigkeitszeit geöffnet zu werden, ist der Zeitkomparator (7) so ausgelegt, daß er die auf der genannten Karte aufgezeichnete Gültigkeitszeit mit der von der Echtzeituhr (7) genannten Echtzeit vergleicht, und der Zulässigkeitskomparator (8) ist so ausgelegt, daß er die auf der genannten Karte aufgezeichneten Schloßkennzeichnungsdaten mit den im Speicher (6) gespeicherten Schloßkennzeichnungsdaten vergleicht, und wenn diese Vergleiche miteinander übereinstimmen und somit darauf hinweisen, daß die Karte rechtmäßig und erstmals benutzt wird, so wird der Verriegelungsmechanismus (4) veranlaßt, in den entriegelten Zustand überzugehen, und die Programmiereinheit (10) wird veranlaßt, jedes bereits im Speicher gespeicherte Kartendatum (card date) zu entfernen und die auf der genannten Karte aufgezeichneten Daten im Speicher (6) zu speichern.
2. Ein Verriegelungssystem gemäß Anspruch 1, da durch gekennzeichnet, daß die auf der Karte aufgezeichneten Daten auch einen separaten Überbrückungscode enthalten können, für dessen Erfassung der Zulässigkeitskomparator (8) im Schloß ausgelegt ist, wenn die Karte in den Magnetkartenleser (3) eingeführt wird, in welchem Falle eine Übereinstimmung vorliegt, wenn sich die vorgenannten Vergleichswerte des Zeitkomparators (9) zwischen der von der Echtzeituhr (7) genannten Echtzeit und der im Speicher (6) gespeicherten Gültigkeitszeit decken, während eine Abweichung vorliegt, wenn sich die auf der Karte aufgezeichneten Daten und die im Speicher (6) gespeicherten Kartendaten beim vorgenannten Vergleich durch den Zulässigkeitskomparator (8) nicht decken, was anzeigt, daß das Schloß bereits so programmiert ist, daß es mit einer anderen Karte geöffnet werden kann, die über eine laufende und noch nicht abgelaufene Gültigkeitszeit verfügt, und der Zeitkomparator (9) ist so ausgelegt, daß er die auf der ersterwähnten Karte aufgezeichnete Gültigkeitszeit mit der von der Echtzeituhr (7) genannten Echtzeit vergleicht, und der Zulässigkeitskomparator (8) ist so ausgelegt, daß er die in der ersterwähnten Karte aufgezeichneten Kennzeichnungsdaten mit den im Speicher gespeicherten Schloßkennzeichnungsdaten vergleicht und, falls diese Vergleiche miteinander übereinstimmen, zeigt dies an, daß die erstgenannte Karte rechtmäßig und zum ersten Mal benutzt wird und die genannte andere Karte ersetzen darf, wobei der Verriegelungsmechanismus (4) veranlaßt wird, in den entriegelten Zustand überzugehen, und die Programmiereinheit (10) veranlaßt wird, die zuvor im Speicher (6) gespeicherten Kartendaten gegen die auf der erstgenannten Karte aufgezeichneten Kartendaten auszutauschen.
3. Ein Verriegelungssystem gemäß Anspruch 1 oder Anspruch 2, welches eine Vielzahl von Schlössern enthält, dadurch gekennzeichnet, daß voneinander verschiedene Schlösser in ihren Speichern unterschiedliche Schloßkennzeichnungscodes und auch einen Systemkennzeichnungscode enthalten, der für das gesamte System gleich ist; dadurch gekennzeichnet, daß alle zur Entriegelung entsprechender Schlösser im System vorgesehenen Magnetkarten auch die genannte Systemkennzeichnung in den auf der Karte aufgezeichneten Daten enthalten, wobei die Zulässigkeitskomparatoren (8) in den jeweiligen Schlössern so ausgelegt sind, daß sie den auf der eingelegten Karte aufgezeichneten Systemkennzeichnungscode mit dem im Speicher (6) des genannten Schlosses gespeicherten Systemkennzeichnungscode in gleicher Weise vergleichen wie beim Vergleich zwischen dem auf der eingelegten Karte aufgezeichneten Schloßkennzeichnungscode und dem im Speicher des genannten Schlosses gespeicherten Schloßkennzeichnungscode.
4. Ein Verriegelungssystem gemäß Anspruch 3, dadurch gekennzeichnet, daß es wenigstens eine weitere Magnetkarte enthält, deren aufgezeichnete Daten neben der erwähnten Systemkennzeichnung eine in Echtzeit ausgedrückte Gültigkeitszeit sowie einen zufällig ausgewählten Zulässigkeitscode enthalten, ebenso eine Schloßkennzeichnung, die so ausgebildet ist, daß sie mit den gespeicherten Schloßkennzeichnungsdaten in einer festgelegten Anzahl der im System enthaltenen Schlösser übereinstimmt, so daß die genannte Karte zur Entriegelung der vorher festgelegten Anzahl von Schlössern benutzt werden kann.
5. Ein Verriegelungssystem gemäß Anspruch 3, dadurch gekennzeichnet, daß es wenigstens eine weitere Magnetkarte enthält, deren aufgezeichnete Daten die genannte Systemkennzeichnung, eine für ein bestimmtes Schloß oder eine Anzahl bestimmter Schlösser im System gültige Schloßkennzeichnung sowie eine in Echtzeit ausgedrückte Gültigkeitszeit einschließen, jedoch keinen zufällig gewählten Zulässigkeitscode, sondern lediglich einen Code, durch den diese Art von Zusatzkarte identifiziert wird, und wobei der in einem Schloß enthaltene Zulässigkeitskomparator (8) bei Einführung der genannten Zusatzkarte in den Kartenleser (3) des genannten Schlosses den genannten Code erfaßt, der den genannten Kartentyp kennzeichnet, wobei der Zulässigkeitskomparator so ausgelegt ist, daß er die auf der Karte aufgezeichneten System- und Schloßkennzeichnungsdaten mit den im Speicher (6) des Schlosses aufgezeichneten System- und Schloßkennzeichnungsdaten vergleicht, und wobei der Zeitkomparator (9) des genannten Schlosses so ausgelegt ist, daß er die auf der Karte aufgezeichnete Gültigkeitszeit mit der von der Echtzeituhr (7) genannten Echtzeit vergleicht und, wenn sämtliche Vergleiche miteinander übereinstimmen, die Umschaltung des Verriegelungsmechanismus (4) auf entriegelten Zustand bewirkt.
EP84850102A 1983-04-08 1984-03-30 Schlosssystem Expired EP0122244B1 (de)

Priority Applications (1)

Application Number Priority Date Filing Date Title
AT84850102T ATE34796T1 (de) 1983-04-08 1984-03-30 Schlosssystem.

Applications Claiming Priority (2)

Application Number Priority Date Filing Date Title
SE8301957A SE8301957D0 (sv) 1983-04-08 1983-04-08 Lassystem
SE8301957 1983-04-08

Publications (3)

Publication Number Publication Date
EP0122244A2 EP0122244A2 (de) 1984-10-17
EP0122244A3 EP0122244A3 (en) 1985-03-27
EP0122244B1 true EP0122244B1 (de) 1988-06-01

Family

ID=20350718

Family Applications (1)

Application Number Title Priority Date Filing Date
EP84850102A Expired EP0122244B1 (de) 1983-04-08 1984-03-30 Schlosssystem

Country Status (6)

Country Link
EP (1) EP0122244B1 (de)
JP (1) JPS59199972A (de)
AT (1) ATE34796T1 (de)
CA (1) CA1217546A (de)
DE (1) DE3471712D1 (de)
SE (1) SE8301957D0 (de)

Cited By (11)

* Cited by examiner, † Cited by third party
Publication number Priority date Publication date Assignee Title
US6842105B1 (en) 1985-10-16 2005-01-11 Ge Interlogix, Inc. Dual mode data logging
WO2006021047A1 (en) * 2004-08-27 2006-03-02 Honeywell Limited An access control system and a method of access control
US8232860B2 (en) 2005-10-21 2012-07-31 Honeywell International Inc. RFID reader for facility access control and authorization
US8351350B2 (en) 2007-05-28 2013-01-08 Honeywell International Inc. Systems and methods for configuring access control devices
US8598982B2 (en) 2007-05-28 2013-12-03 Honeywell International Inc. Systems and methods for commissioning access control devices
US8707414B2 (en) 2010-01-07 2014-04-22 Honeywell International Inc. Systems and methods for location aware access control management
US8787725B2 (en) 2010-11-11 2014-07-22 Honeywell International Inc. Systems and methods for managing video data
US8878931B2 (en) 2009-03-04 2014-11-04 Honeywell International Inc. Systems and methods for managing video data
US9019070B2 (en) 2009-03-19 2015-04-28 Honeywell International Inc. Systems and methods for managing access control devices
US9280365B2 (en) 2009-12-17 2016-03-08 Honeywell International Inc. Systems and methods for managing configuration data at disconnected remote devices
US9344684B2 (en) 2011-08-05 2016-05-17 Honeywell International Inc. Systems and methods configured to enable content sharing between client terminals of a digital video management system

Families Citing this family (26)

* Cited by examiner, † Cited by third party
Publication number Priority date Publication date Assignee Title
FR2580715B1 (fr) * 1985-04-23 1991-09-20 Ferco Int Usine Ferrures Dispositif de codage d'un dispositif electromecanique de manoeuvre commande par un code
GB8517347D0 (en) * 1985-07-09 1985-08-14 Lowe & Fletcher Ltd Operating security device & data carriers
GB2178211B (en) * 1985-07-22 1989-08-09 City Wheels Ltd Control system
JPS62148781A (ja) * 1985-12-21 1987-07-02 松下電工株式会社 カ−ドによる解錠システム
JPH0697475B2 (ja) * 1986-02-21 1994-11-30 オムロン株式会社 電子式キヤツシユレジスタ
NO300045B1 (no) * 1990-12-03 1997-03-24 Trioving As Tidskontrollert elektrisk styrt låssystem
NL9300566A (nl) * 1993-03-31 1994-10-17 Nedap Nv Toegangsverleningssysteem met decentrale autorisaties.
FR2722596A1 (fr) * 1994-07-13 1996-01-19 France Telecom Systeme de controle d'acces limites a des places horaires autorisees et renouvables au moyen d'un support de memorisation portable
FR2738436B1 (fr) * 1995-03-06 1997-11-21 Novella Carmelo Systeme de controle d'acces par cle electronique portable
DE19518957C1 (de) * 1995-05-23 1996-11-21 Leicher Gmbh & Co Verfahren zum Betrieb einer Tresoranlage und Anordnung zur Durchführung des Verfahrens
DE19527597C2 (de) * 1995-07-28 1999-01-21 Good Night Inn Motel Managemen System und Verfahren zur zeitlich begrenzten Energiefreischaltung wenigstens eines elektrischen oder elektronischen Gerätes
IES950815A2 (en) * 1995-10-18 1995-12-27 Canmoy Holdings Ltd A resource controller
FR2760874B1 (fr) * 1997-03-11 2000-10-13 Fdi Matelec Sa Noucen
FR2773405B1 (fr) * 1998-01-08 2000-09-29 France Telecom Procede et systeme de controle d'acces a une ressource limite a certaines plages horaires
CA2240881C (en) * 1998-06-17 2007-12-04 Axs Technologies Inc. Shared intelligence automated access control system
FR2786903B1 (fr) * 1998-12-03 2002-11-15 France Telecom Procede et systeme de controle d'acces a une ressource limite a certaines plages horaires, a partir d'un compteur dynamique
US6809628B1 (en) 1999-03-29 2004-10-26 Aaron Bensimon Personal or personalizable device for the conditional use of electric or electronic appliances, method of use
US9704313B2 (en) 2008-09-30 2017-07-11 Honeywell International Inc. Systems and methods for interacting with access control devices
US9894261B2 (en) 2011-06-24 2018-02-13 Honeywell International Inc. Systems and methods for presenting digital video management system information via a user-customizable hierarchical tree interface
US10362273B2 (en) 2011-08-05 2019-07-23 Honeywell International Inc. Systems and methods for managing video data
US10038872B2 (en) 2011-08-05 2018-07-31 Honeywell International Inc. Systems and methods for managing video data
US10523903B2 (en) 2013-10-30 2019-12-31 Honeywell International Inc. Computer implemented systems frameworks and methods configured for enabling review of incident data
CN116102580A (zh) 2017-03-31 2023-05-12 巴斯夫欧洲公司 用于防除动物害虫的嘧啶鎓化合物及其混合物
WO2018219797A1 (en) 2017-06-02 2018-12-06 Basf Se Substituted oxadiazoles for combating phytopathogenic fungi
CN111670180A (zh) 2017-12-20 2020-09-15 Pi工业有限公司 氟烯基化合物,制备方法及其用途
CN119445703A (zh) * 2024-10-18 2025-02-14 广州番禺电缆集团有限公司 一种电缆管道防误操作的智能锁系统及方法

Family Cites Families (8)

* Cited by examiner, † Cited by third party
Publication number Priority date Publication date Assignee Title
FR2129136A5 (de) * 1971-03-16 1972-10-27 Ho Boehme Inc
JPS533797A (en) * 1976-06-30 1978-01-13 Nippon Keibi Hosho Kk Safety locking system
CA1101513A (en) * 1976-11-08 1981-05-19 Leonard J. Genest Security system
JPS5851593B2 (ja) * 1979-03-05 1983-11-17 オムロン株式会社 カ−ドを用いた施錠解除方法
US4238805A (en) * 1979-09-12 1980-12-09 The Mead Corporation Ink jet printer startup and shutdown procedure
US4385231A (en) * 1980-06-27 1983-05-24 Omron Tateisi Electronics Co. Unlocking system for use with cards
JPS57130679A (en) * 1981-02-02 1982-08-13 Itoki Kosakusho Chamber managing system facilitating alteration of chamber entering condition
JPS6019394B2 (ja) * 1981-09-28 1985-05-16 オムロン株式会社 カ−ド式自動錠装置

Cited By (12)

* Cited by examiner, † Cited by third party
Publication number Priority date Publication date Assignee Title
US6842105B1 (en) 1985-10-16 2005-01-11 Ge Interlogix, Inc. Dual mode data logging
WO2006021047A1 (en) * 2004-08-27 2006-03-02 Honeywell Limited An access control system and a method of access control
US8232860B2 (en) 2005-10-21 2012-07-31 Honeywell International Inc. RFID reader for facility access control and authorization
US8941464B2 (en) 2005-10-21 2015-01-27 Honeywell International Inc. Authorization system and a method of authorization
US8351350B2 (en) 2007-05-28 2013-01-08 Honeywell International Inc. Systems and methods for configuring access control devices
US8598982B2 (en) 2007-05-28 2013-12-03 Honeywell International Inc. Systems and methods for commissioning access control devices
US8878931B2 (en) 2009-03-04 2014-11-04 Honeywell International Inc. Systems and methods for managing video data
US9019070B2 (en) 2009-03-19 2015-04-28 Honeywell International Inc. Systems and methods for managing access control devices
US9280365B2 (en) 2009-12-17 2016-03-08 Honeywell International Inc. Systems and methods for managing configuration data at disconnected remote devices
US8707414B2 (en) 2010-01-07 2014-04-22 Honeywell International Inc. Systems and methods for location aware access control management
US8787725B2 (en) 2010-11-11 2014-07-22 Honeywell International Inc. Systems and methods for managing video data
US9344684B2 (en) 2011-08-05 2016-05-17 Honeywell International Inc. Systems and methods configured to enable content sharing between client terminals of a digital video management system

Also Published As

Publication number Publication date
EP0122244A2 (de) 1984-10-17
SE8301957D0 (sv) 1983-04-08
ATE34796T1 (de) 1988-06-15
JPS59199972A (ja) 1984-11-13
DE3471712D1 (en) 1988-07-07
EP0122244A3 (en) 1985-03-27
CA1217546A (en) 1987-02-03

Similar Documents

Publication Publication Date Title
EP0122244B1 (de) Schlosssystem
EP0043270B1 (de) Durch Karten gesteuertes Entriegelungssystem
CA1101513A (en) Security system
US5670940A (en) Electronic lock system with occupancy block
EP0548963B1 (de) Verriegelungssystem
JPS60195280A (ja) 電子錠制御装置
NO300045B1 (no) Tidskontrollert elektrisk styrt låssystem
JP5274197B2 (ja) デジタルキーボックス
WO2001042598A1 (en) Key control system for electronic locks
US4727975A (en) Use-control system
GB2126647A (en) Recodable electronic locks
US7242276B2 (en) Method and system for unlocking doorway
US7337469B2 (en) Method and system for unlocking doorway
EP0250101B1 (de) Elektronische Verschlussvorrichtungen
JPS62119668A (ja) カ−ド処理システム
JP2008191729A (ja) 情報記憶媒体に記憶された認証用情報書換システム
JPS5921423B2 (ja) カ−ドを用いた解錠設備
JPH0666058A (ja) ホテル客室のロックシステム
JPS6046233B2 (ja) 鍵及び錠前の管理装置
EP0246903B1 (de) Verfahren zum Löschen von Entriegelungskoden in einer elektronischen Verriegelungsvorrichtung
JP3615787B2 (ja) 宅配物収納ロッカシステム
JPS5883776A (ja) 錠装置
JPS58120972A (ja) ホテル等における入室制御方法
WO2002019277A1 (en) Method and system for unlocking doorway
JPH0656414U (ja) 収納庫

Legal Events

Date Code Title Description
PUAI Public reference made under article 153(3) epc to a published international application that has entered the european phase

Free format text: ORIGINAL CODE: 0009012

AK Designated contracting states

Designated state(s): AT BE CH DE FR GB IT LI NL SE

PUAL Search report despatched

Free format text: ORIGINAL CODE: 0009013

AK Designated contracting states

Designated state(s): AT BE CH DE FR GB IT LI NL SE

17P Request for examination filed

Effective date: 19850907

17Q First examination report despatched

Effective date: 19860703

RAP1 Party data changed (applicant data changed or rights of an application transferred)

Owner name: BESAM SECURITY AKTIEBOLAG

GRAA (expected) grant

Free format text: ORIGINAL CODE: 0009210

AK Designated contracting states

Kind code of ref document: B1

Designated state(s): AT BE CH DE FR GB IT LI NL SE

PG25 Lapsed in a contracting state [announced via postgrant information from national office to epo]

Ref country code: NL

Effective date: 19880601

Ref country code: LI

Effective date: 19880601

Ref country code: IT

Free format text: LAPSE BECAUSE OF FAILURE TO SUBMIT A TRANSLATION OF THE DESCRIPTION OR TO PAY THE FEE WITHIN THE PRESCRIBED TIME-LIMIT;WARNING: LAPSES OF ITALIAN PATENTS WITH EFFECTIVE DATE BEFORE 2007 MAY HAVE OCCURRED AT ANY TIME BEFORE 2007. THE CORRECT EFFECTIVE DATE MAY BE DIFFERENT FROM THE ONE RECORDED.

Effective date: 19880601

Ref country code: CH

Effective date: 19880601

Ref country code: BE

Effective date: 19880601

Ref country code: AT

Effective date: 19880601

REF Corresponds to:

Ref document number: 34796

Country of ref document: AT

Date of ref document: 19880615

Kind code of ref document: T

REF Corresponds to:

Ref document number: 3471712

Country of ref document: DE

Date of ref document: 19880707

ET Fr: translation filed
REG Reference to a national code

Ref country code: CH

Ref legal event code: PL

NLV1 Nl: lapsed or annulled due to failure to fulfill the requirements of art. 29p and 29m of the patents act
PLBI Opposition filed

Free format text: ORIGINAL CODE: 0009260

26 Opposition filed

Opponent name: OY WAERTSILAE AB

Effective date: 19890301

PLBN Opposition rejected

Free format text: ORIGINAL CODE: 0009273

STAA Information on the status of an ep patent application or granted ep patent

Free format text: STATUS: OPPOSITION REJECTED

27O Opposition rejected

Effective date: 19940110

EAL Se: european patent in force in sweden

Ref document number: 84850102.9

PGFP Annual fee paid to national office [announced via postgrant information from national office to epo]

Ref country code: GB

Payment date: 19990308

Year of fee payment: 16

PGFP Annual fee paid to national office [announced via postgrant information from national office to epo]

Ref country code: DE

Payment date: 19990318

Year of fee payment: 16

PGFP Annual fee paid to national office [announced via postgrant information from national office to epo]

Ref country code: FR

Payment date: 19990319

Year of fee payment: 16

PGFP Annual fee paid to national office [announced via postgrant information from national office to epo]

Ref country code: SE

Payment date: 19990322

Year of fee payment: 16

PG25 Lapsed in a contracting state [announced via postgrant information from national office to epo]

Ref country code: GB

Free format text: LAPSE BECAUSE OF NON-PAYMENT OF DUE FEES

Effective date: 20000330

PG25 Lapsed in a contracting state [announced via postgrant information from national office to epo]

Ref country code: SE

Free format text: LAPSE BECAUSE OF NON-PAYMENT OF DUE FEES

Effective date: 20000331

EUG Se: european patent has lapsed

Ref document number: 84850102.9

GBPC Gb: european patent ceased through non-payment of renewal fee

Effective date: 20000330

PG25 Lapsed in a contracting state [announced via postgrant information from national office to epo]

Ref country code: FR

Free format text: LAPSE BECAUSE OF NON-PAYMENT OF DUE FEES

Effective date: 20001130

REG Reference to a national code

Ref country code: FR

Ref legal event code: ST

PG25 Lapsed in a contracting state [announced via postgrant information from national office to epo]

Ref country code: DE

Free format text: LAPSE BECAUSE OF NON-PAYMENT OF DUE FEES

Effective date: 20010301