CN213969746U - 一种端梁焊接变位机 - Google Patents
一种端梁焊接变位机 Download PDFInfo
- Publication number
- CN213969746U CN213969746U CN202022359990.1U CN202022359990U CN213969746U CN 213969746 U CN213969746 U CN 213969746U CN 202022359990 U CN202022359990 U CN 202022359990U CN 213969746 U CN213969746 U CN 213969746U
- Authority
- CN
- China
- Prior art keywords
- fixedly connected
- lead screw
- positioner
- support
- end beam
- Prior art date
- Legal status (The legal status is an assumption and is not a legal conclusion. Google has not performed a legal analysis and makes no representation as to the accuracy of the status listed.)
- Active
Links
- 238000003466 welding Methods 0.000 title claims abstract description 44
- 230000007306 turnover Effects 0.000 claims abstract description 5
- 230000002457 bidirectional effect Effects 0.000 claims description 7
- 238000003825 pressing Methods 0.000 claims description 4
- 238000000034 method Methods 0.000 description 2
- 244000309464 bull Species 0.000 description 1
- 230000000694 effects Effects 0.000 description 1
- 230000004927 fusion Effects 0.000 description 1
- 238000005304 joining Methods 0.000 description 1
- 238000004519 manufacturing process Methods 0.000 description 1
- 229910052751 metal Inorganic materials 0.000 description 1
- 239000002184 metal Substances 0.000 description 1
- 150000002739 metals Chemical class 0.000 description 1
- 239000004033 plastic Substances 0.000 description 1
- 229920003023 plastic Polymers 0.000 description 1
- 230000003252 repetitive effect Effects 0.000 description 1
- 239000012815 thermoplastic material Substances 0.000 description 1
Images
Landscapes
- Butt Welding And Welding Of Specific Article (AREA)
Abstract
本实用新型提供一种端梁焊接变位机,包括支座和底座,支座上设有可用于放置焊接工件的翻转支座,翻转支座上设有可固定焊接工件的夹紧机构,夹紧机构包括夹紧底座,夹紧底座的顶部固定连接有固定块,固定块内顶壁固定连接有双向电机,夹紧底座的顶部固定连接有两个相对称的滑轨,滑轨的上方设有安装板,安装板的顶部固定连接有支撑板,支撑板的顶部固定连接有夹紧板,夹紧底座的顶部固定连接有两个相对称的丝杆安装座,双向电机的两个输出端均固定连接正反丝杠,正反丝杠的外表面与支撑板底面的连接块呈螺纹连接,该端梁焊接变位机上面的夹紧机构,可以更好的对焊接工件进行夹紧,而且还不伤害焊接工件本身的结构。
Description
技术领域
本实用新型涉及焊接技术领域,具体涉及一种端梁焊接变位机。
背景技术
焊接:也称作熔接、镕接,是一种以加热、高温或者高压的方式接合金属或其他热塑性材料如塑料的制造工艺及技术。
在大型工件进行焊接时,不便于翻转,所以需要机器进行翻转这样可以方便焊接,焊接工件在放置机器上时,需要更加强力的夹紧工具,现在有一种这样的夹紧工具可以更好的对工件进行夹紧,夹紧的更加结实,不伤害工件本身的结构。
实用新型内容
本实用新型的目的在于提供一种端梁焊接变位机,旨在解决现有技术中端梁焊接变位机加固工件的问题。
为实现上述目的,本实用新型端梁焊接变位机采用的技术方案是:一种端梁焊接变位机,包括支座和底座,所述支座上设有可用于放置焊接工件的翻转支座,所述翻转支座上设有可固定焊接工件的夹紧机构,所述夹紧机构包括夹紧底座,所述夹紧底座的顶部固定连接有固定块,所述固定块内顶壁固定连接有双向电机,所述夹紧底座的顶部固定连接有两个相对称的滑轨,所述滑轨的上方设有安装板,所述安装板与滑轨呈滑动连接,所述安装板的顶部固定连接有支撑板,所述支撑板的顶部固定连接有夹紧板,所述夹紧底座的顶部固定连接有两个相对称的丝杆安装座,所述双向电机的两个输出端均固定连接正反丝杠。
优选地,所述正反丝杠的外表面与支撑板底面的连接块呈螺纹连接,所述丝杆安装座的顶部与支撑板的底面呈滑动连接。
优选地,所述正反丝杠贯穿丝杆安装座并延伸至丝杆安装座远离双向电机的一侧面,所述正反丝杠与丝杆安装座呈转动连接。
优选地,所述底座的顶部固定连接有两个相对称的变位机支座,所述变位机支座内侧壁固定连接有旋转电机。
优选地,所述旋转电机的输出端贯穿变位机支座并延伸,所述旋转电机的输出端固定连接有小齿轮。
优选地,所述变位机支座的侧面转动连接有转动轴,所述转动轴的外表面固定连接有大齿轮,所述大齿轮与小齿轮呈啮合。
优选地,所述转动轴的另一端固定连接有旋转臂,两个所述旋转臂之间固定连接有变位机横梁。
优选地,所述变位机横梁的顶部固定连接有若干数量的限位杆。
本实用新型的有益效果:本实用新型通过底座、固定块、变位机支座、旋转电机、小齿轮、转动轴、大齿轮、旋转臂、变位机横梁、限位杆、焊接工件、夹紧板、夹紧底座、正反丝杠、滑轨、双向电机、安装板、丝杆安装座和支撑板之间的配合设置,首先把焊接工件放置在夹紧板的上方,限位杆和固定块承受焊接工件的压力,然后开启双向电机,通过正反丝杠和双向电机的配合,使两个夹紧板使其靠近进行把焊接工件进行夹紧,然后对焊接工件进行焊接,当需要进行对焊接工件进行翻转时,开启旋转电机后,通过大齿轮和小齿轮的啮合,带动旋转臂进行旋转,旋转臂带动变位机横梁进行翻转,就可以方便进行焊接。
进一步地,所述正反丝杠的外表面与支撑板底面的连接块呈螺纹连接,所述丝杆安装座的顶部与支撑板的底面呈滑动连接,支撑板可以更好的在丝杆安装座进行滑动,丝杆安装座在支撑板的下方可以更好的承受来自支撑板的压力。
进一步地,所述正反丝杠贯穿丝杆安装座并延伸至丝杆安装座远离双向电机的一侧面,所述正反丝杠与丝杆安装座呈转动连接,正反丝杠与丝杆安装座直接的配合可以使夹紧板更好的进行反复运动。
进一步地,所述底座的顶部固定连接有两个相对称的变位机支座,所述变位机支座内侧壁固定连接有旋转电机,所述旋转电机的输出端贯穿变位机支座并延伸,所述旋转电机的输出端固定连接有小齿轮,所述变位机支座的侧面转动连接有转动轴,所述转动轴的外表面固定连接有大齿轮,所述大齿轮与小齿轮呈啮合,所述转动轴的另一端固定连接有旋转臂,两个所述旋转臂之间固定连接有变位机横梁,可以更好的进行对上方的工件进行翻转。
进一步地,所述变位机横梁的顶部固定连接有若干数量的限位杆,限位杆对焊接工件起着承重更加均匀减少对固定块压力的作用。
附图说明
图1是本实用新型一种端梁焊接变位机的具体实施例的夹紧装置的立体图;
图2是本实用新型一种端梁焊接变位机的具体实施例的俯视图;
图3是本实用新型一种端梁焊接变位机的具体实施例的变位机支座左视剖视图;
图4是本实用新型一种端梁焊接变位机的具体实施例的工件装配图。
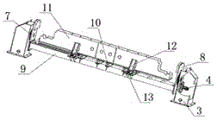
图中:1、底座;2、固定块;3、变位机支座;4、旋转电机;5、小齿轮;6、转动轴;7、大齿轮;8、旋转臂;9、变位机横梁;10、限位杆;11、焊接工件;12、夹紧板;13、夹紧底座;14、正反丝杠;15、滑轨;16、双向电机;17、安装板;18、丝杆安装座;19、支撑板。
具体实施方式
下面结合附图对本实用新型的实施方式作进一步说明。
本实用新型主题名称端梁焊接变位机的具体实施例,如图1至图4所示,一种端梁焊接变位机,包括支座和底座,支座上设有可用于放置焊接工件的翻转支座,翻转支座上设有可固定焊接工件的夹紧机构,夹紧机构包括夹紧底座13,夹紧底座13的顶部固定连接有固定块2,固定块2内顶壁固定连接有双向电机16,夹紧底座13的顶部固定连接有两个相对称的滑轨15,滑轨15的上方设有安装板17,安装板17与滑轨15呈滑动连接,安装板17的顶部固定连接有支撑板19,支撑板19的顶部固定连接有夹紧板12,夹紧底座13的顶部固定连接有两个相对称的丝杠安装座18,双向电机16的两个输出端均固定连接正反丝杠14,首先把焊接工件11放置在夹紧板12的上方,限位杆10和固定块2承受焊接工件11的压力,然后开启双向电机16,通过正反丝杠14和双向电机16的配合,使两个夹紧板12使其靠近进行把焊接工件11进行夹紧,然后对焊接工件11进行焊接,当需要进行对焊接工件11进行翻转时,开启旋转电机4后,通过大齿轮7和小齿轮5的啮合,带动旋转臂8进行旋转,旋转臂8带动变位机横梁9进行翻转,就可以方便进行焊接。
本实施例中,正反丝杠14的外表面与支撑板19底面的连接块呈螺纹连接,丝杠安装座18的顶部与支撑板19的底面呈滑动连接,支撑板19可以更好的在丝杠安装座18进行滑动,丝杠安装座18在支撑板19的下方可以更好的承受来自支撑板19的压力。
本实施例中,正反丝杠14贯穿丝杠安装座18并延伸至丝杠安装座18远离双向电机16的一侧面,正反丝杠14与丝杠安装座18呈转动连接,正反丝杠14与丝杠安装座18直接的配合可以使夹紧板12更好的进行反复运动。
本实施例中,底座1的顶部固定连接有两个相对称的变位机支座3,变位机支座3内侧壁固定连接有旋转电机4,旋转电机4的输出端贯穿变位机支座3并延伸,旋转电机4的输出端固定连接有小齿轮5,变位机支座3的侧面转动连接有转动轴6,转动轴6的外表面固定连接有大齿轮7,大齿轮7与小齿轮5呈啮合,转动轴6的另一端固定连接有旋转臂8,两个旋转臂8之间固定连接有变位机横梁9,可以更好的进行对上方的工件进行翻转。
本实施例中,变位机横梁9的顶部固定连接有若干数量的限位杆10,限位杆10对焊接工件11起着承重更加均匀减少对固定块2压力的作用。
Claims (8)
1.一种端梁焊接变位机,包括支座和底座,其特征在于:所述支座上设有可用于放置焊接工件的翻转支座,所述翻转支座上设有可固定焊接工件的夹紧机构;
所述夹紧机构包括夹紧底座,所述夹紧底座的顶部固定连接有固定块,所述固定块内顶壁固定连接有双向电机,所述夹紧底座的顶部固定连接有两个相对称的滑轨,所述滑轨的上方设有安装板,所述安装板与滑轨呈滑动连接,所述安装板的顶部固定连接有支撑板,所述支撑板的顶部固定连接有夹紧板,所述夹紧底座的顶部固定连接有两个相对称的丝杆安装座,所述双向电机的两个输出端均固定连接正反丝杠。
2.根据权利要求1所述的端梁焊接变位机,其特征在于:所述正反丝杠的外表面与支撑板底面的连接块呈螺纹连接,所述丝杆安装座的顶部与支撑板的底面呈滑动连接。
3.根据权利要求1所述的端梁焊接变位机,其特征在于:所述正反丝杠贯穿丝杆安装座并延伸至丝杆安装座远离双向电机的一侧面,所述正反丝杠与丝杆安装座呈转动连接。
4.根据权利要求1所述的端梁焊接变位机,其特征在于:所述底座的顶部固定连接有两个相对称的变位机支座,所述变位机支座内侧壁固定连接有旋转电机。
5.根据权利要求4所述的端梁焊接变位机,其特征在于:所述旋转电机的输出端贯穿变位机支座并延伸,所述旋转电机的输出端固定连接有小齿轮。
6.根据权利要求5所述的端梁焊接变位机,其特征在于:所述变位机支座的侧面转动连接有转动轴,所述转动轴的外表面固定连接有大齿轮,所述大齿轮与小齿轮呈啮合。
7.根据权利要求6所述的端梁焊接变位机,其特征在于:所述转动轴的另一端固定连接有旋转臂,两个所述旋转臂之间固定连接有变位机横梁。
8.根据权利要求7所述的端梁焊接变位机,其特征在于:所述变位机横梁的顶部固定连接有若干数量的限位杆。
Priority Applications (1)
| Application Number | Priority Date | Filing Date | Title |
|---|---|---|---|
| CN202022359990.1U CN213969746U (zh) | 2020-10-21 | 2020-10-21 | 一种端梁焊接变位机 |
Applications Claiming Priority (1)
| Application Number | Priority Date | Filing Date | Title |
|---|---|---|---|
| CN202022359990.1U CN213969746U (zh) | 2020-10-21 | 2020-10-21 | 一种端梁焊接变位机 |
Publications (1)
| Publication Number | Publication Date |
|---|---|
| CN213969746U true CN213969746U (zh) | 2021-08-17 |
Family
ID=77257062
Family Applications (1)
| Application Number | Title | Priority Date | Filing Date |
|---|---|---|---|
| CN202022359990.1U Active CN213969746U (zh) | 2020-10-21 | 2020-10-21 | 一种端梁焊接变位机 |
Country Status (1)
| Country | Link |
|---|---|
| CN (1) | CN213969746U (zh) |
Cited By (4)
| Publication number | Priority date | Publication date | Assignee | Title |
|---|---|---|---|---|
| CN113866269A (zh) * | 2021-09-16 | 2021-12-31 | 中国科学院南海海洋研究所 | 一种垂向横截面分层声学测量系统及方法 |
| CN114310124A (zh) * | 2022-02-22 | 2022-04-12 | 淄博市特种设备检验研究院 | 一种夹持旋转机构及使用该机构的自动焊接机 |
| CN114346577A (zh) * | 2022-03-10 | 2022-04-15 | 徐州华恒机器人系统有限公司 | 主筋组件通用自动工装夹具 |
| CN116652425A (zh) * | 2023-06-05 | 2023-08-29 | 合肥国轩高科动力能源有限公司 | 一种锂电池盖板多工位焊接装置 |
-
2020
- 2020-10-21 CN CN202022359990.1U patent/CN213969746U/zh active Active
Cited By (5)
| Publication number | Priority date | Publication date | Assignee | Title |
|---|---|---|---|---|
| CN113866269A (zh) * | 2021-09-16 | 2021-12-31 | 中国科学院南海海洋研究所 | 一种垂向横截面分层声学测量系统及方法 |
| CN114310124A (zh) * | 2022-02-22 | 2022-04-12 | 淄博市特种设备检验研究院 | 一种夹持旋转机构及使用该机构的自动焊接机 |
| CN114310124B (zh) * | 2022-02-22 | 2023-07-14 | 淄博市特种设备检验研究院 | 一种夹持旋转机构及使用该机构的自动焊接机 |
| CN114346577A (zh) * | 2022-03-10 | 2022-04-15 | 徐州华恒机器人系统有限公司 | 主筋组件通用自动工装夹具 |
| CN116652425A (zh) * | 2023-06-05 | 2023-08-29 | 合肥国轩高科动力能源有限公司 | 一种锂电池盖板多工位焊接装置 |
Similar Documents
| Publication | Publication Date | Title |
|---|---|---|
| CN213969746U (zh) | 一种端梁焊接变位机 | |
| CN218225217U (zh) | 一种全方位旋转焊接装置 | |
| CN214489321U (zh) | 冷凝器焊接送料装置 | |
| CN216607720U (zh) | 一种螺杆机底架的焊接设备 | |
| CN216939145U (zh) | 一种焊接用自动翻转台 | |
| CN213196254U (zh) | 一种钢管自动焊接装置 | |
| CN216177856U (zh) | 一种自动上货的大型工件自动焊接设备 | |
| CN214558463U (zh) | 一种自动焊链轮机 | |
| CN110125580B (zh) | 一种上件滑台工装分体式定位机构 | |
| CN221211629U (zh) | 一种汽车零部件翻转工装 | |
| CN221337229U (zh) | 一种自动夹紧的焊接夹具 | |
| CN219324931U (zh) | 干燥器支架总成焊接夹具 | |
| CN218225050U (zh) | 一种钢丝网自动点焊装置 | |
| CN215469115U (zh) | 一种泵用便于角度调节的焊接工装 | |
| CN213615487U (zh) | 一种机械自动化加工用翻转装置 | |
| CN212600352U (zh) | 一种数控机床用夹具 | |
| CN221019326U (zh) | 一种具有位置固定功能的穿孔焊接机 | |
| CN215847443U (zh) | 一种用于异形槽磨削加工的修整器 | |
| CN215510925U (zh) | 一种电动翻转工作台 | |
| CN221159050U (zh) | 一种机械手金属架加工用焊接装置 | |
| CN216680873U (zh) | 一种便于上料的智能焊接工装 | |
| CN221773680U (zh) | 一种带定位的埋弧焊机 | |
| CN223301057U (zh) | 一种旋转自动激光焊接机 | |
| CN222754736U (zh) | 一种钣金件生产用焊接定位装置 | |
| CN220995497U (zh) | 一种具备定位辅助结构的超声波焊接机 |
Legal Events
| Date | Code | Title | Description |
|---|---|---|---|
| GR01 | Patent grant | ||
| GR01 | Patent grant |