CN203047368U - 一种整车 - Google Patents

一种整车 Download PDF

Info

Publication number
CN203047368U
CN203047368U CN 201220660062 CN201220660062U CN203047368U CN 203047368 U CN203047368 U CN 203047368U CN 201220660062 CN201220660062 CN 201220660062 CN 201220660062 U CN201220660062 U CN 201220660062U CN 203047368 U CN203047368 U CN 203047368U
Authority
CN
China
Prior art keywords
base plate
shelter
square chamber
supporting
support beam
Prior art date
Legal status (The legal status is an assumption and is not a legal conclusion. Google has not performed a legal analysis and makes no representation as to the accuracy of the status listed.)
Expired - Lifetime
Application number
CN 201220660062
Other languages
English (en)
Inventor
洑中奇
吕康
周佳
史顺达
段玺
Current Assignee (The listed assignees may be inaccurate. Google has not performed a legal analysis and makes no representation or warranty as to the accuracy of the list.)
LIYANG SYSTEM EQUIPMENT Co Ltd OF 28TH RESEARCH INSTITUTE
Original Assignee
LIYANG SYSTEM EQUIPMENT Co Ltd OF 28TH RESEARCH INSTITUTE
Priority date (The priority date is an assumption and is not a legal conclusion. Google has not performed a legal analysis and makes no representation as to the accuracy of the date listed.)
Filing date
Publication date
Application filed by LIYANG SYSTEM EQUIPMENT Co Ltd OF 28TH RESEARCH INSTITUTE filed Critical LIYANG SYSTEM EQUIPMENT Co Ltd OF 28TH RESEARCH INSTITUTE
Priority to CN 201220660062 priority Critical patent/CN203047368U/zh
Application granted granted Critical
Publication of CN203047368U publication Critical patent/CN203047368U/zh
Anticipated expiration legal-status Critical
Expired - Lifetime legal-status Critical Current

Links

Images

Landscapes

  • Body Structure For Vehicles (AREA)

Abstract

本实用新型涉及一种整车,包括二类底盘、方舱和角件,二类底盘将方舱支撑在其上方;所述二类底盘包括主梁,主梁的径向两侧安装有牛腿,牛腿上设有连接件;所述方舱包括方舱底板和支撑梁,支撑梁的上端与方舱底板连接,支撑梁的下端抵在二类底盘的主梁上;所述角件设在方舱底板与牛腿之间。本实用新型结构简单,将支撑梁抵在二类底盘主梁上,由于支撑梁采用整长无缝钢管,能作为滑撬使用满足承载和支撑的作用;并且安装在方舱底板下方的角件,其一端与支撑梁连接,角件的另一端与方舱底板齐平,该角件在此还可以起到支承,限位作用,满足承载要求、减轻了重量、节约了成本、满足轻量化要求。

Description

一种整车
技术领域
本实用新型涉及整车领域。 
背景技术
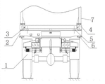
现有的整车主要由二类底盘1,副车架2,带滑撬5的方舱及其他设备等组合而成。具体结构参见图1,组装时,先将方舱底板3与侧板7拼接成一整体形成方舱,在方舱底板3与侧板7连接处安装角件4,然后在方舱底板3的下方安装滑撬5,滑撬5的下端与副车架2连接,在副车架2上安装旋锁6,通过旋锁6与角件4连接将副车架2与方舱底板3固定,副车架2通过U型螺栓固定在汽车二类底盘1的大梁上形成一整体。 
副车架主要是二类底盘与方舱底部的连接支承作用,在方舱底板下方需安装滑撬以满足承载及冲击。采用该种结构具有如下不足之处: 
(1)工序复杂,
(2)成本高;
(3)重量较重;无法满足整车的轻量化要求。
实用新型内容
本实用新型的目的在于提供一种重量轻、承载高、成本低、结构简单的整车结构。
本实用新型的具体技术方案如下: 
一种整车,包括二类底盘、方舱和角件,二类底盘将方舱支撑在其上方;
所述二类底盘包括主梁,主梁的径向两侧安装有牛腿,牛腿上设有连接件;
所述方舱包括方舱底板和支撑梁,支撑梁的上端与方舱底板连接,支撑梁的下端抵在二类底盘的主梁上;
所述角件设在方舱底板与牛腿之间。
所述方舱底板自上而下依次包括外蒙皮和内蒙皮,设于外蒙皮和内蒙皮之间的支撑框架和泡沫板,泡沫板嵌设在支撑框架内。 
为了提高方舱的保温效果,在支撑框架与外蒙板之间设有隔温板。 
所述角件的一端与支撑梁连接,角件的另一端与方舱底板齐平;先通过螺钉与方舱底板连接,然后通过与牛腿上的旋锁连接将整个方舱固定在二类底盘上;角件在此不仅起到过渡连接作用,另外角件还起到对方舱的支撑、限位作用。 
所述支撑梁的上端嵌在方舱底板内;支撑梁不仅能够起到支撑作用,还能够作为方舱底板的支撑框架使用,节约了成本。 
所述连接件需满足整舱快速装卸,优选为旋锁。 
本实用新型结构简单,将支撑梁抵在二类底盘主梁上,由于支撑梁采用整长无缝钢管,能作为滑撬使用满足承载和支撑的作用;并且安装在方舱底板下方的角件,其一端与支撑梁连接,角件的另一端与方舱底板齐平。该角件在此还可以起到支承作用,满足承载要求、减轻了重量、节约了成本、满足轻量化要求。 
附图说明
图1为现有技术中的整车结构示意图; 
图2为本实用新型的整车结构示意图;
图3为方舱底板与汽车大梁的剖面图。
具体实施方式
以下结合附图进一步说明本实用新型。 
参见图2和图3,本实用新型的整车,包括二类底盘12、方舱8和角件9,二类底盘12将方舱8支撑在其上方。 
所述二类底盘12包括主梁13,主梁13的径向两侧安装有牛腿11,牛腿11通过U型螺栓16与主梁13连接,牛腿11上设有旋锁10;所述方舱8包括方舱底板8a和支撑梁14,支撑梁14的上端嵌在方舱底板8a内,支撑梁14的下端抵在二类底盘12的主梁13上;支撑梁14既可以作为方舱底板的支撑框架用,又能起到承载和支撑作用;在方舱底板8a与牛腿11之间设有角件9,角件9的一端焊接在支撑梁14上,角件9的另一端与方舱底板8a齐平,并在端部用螺钉与方舱底板8a连接。安装时,方舱上装后将二类底盘上的旋锁10固定在角件9上。 
所述方舱底板8a自上而下依次包括外蒙皮19和内蒙皮18,设于外蒙皮19和内蒙皮18之间的支撑框架15和泡沫板17,泡沫板17嵌设在支撑框架15内,为了提高方舱的隔热性,在支撑框架15与外蒙板19之间设有隔温板20。 

Claims (6)

1.一种整车,包括二类底盘、方舱和角件,二类底盘将方舱支撑在其上方;
其特征在于所述二类底盘包括主梁,主梁的径向两侧安装有牛腿,牛腿上设有连接件;
所述方舱包括方舱底板和支撑梁,支撑梁的上端与方舱底板连接,支撑梁的下端抵在二类底盘的主梁上;
所述角件设在方舱底板与牛腿之间。
2.根据权利要求1所述的整车,其特征在于所述方舱底板自上而下依次包括外蒙皮和内蒙皮,设于外蒙皮和内蒙皮之间的支撑框架和泡沫板,泡沫板嵌设在支撑框架内。
3.根据权利要求2所述的整车,其特征在于所述支撑框架与外蒙板之间设有隔温板。
4.根据权利要求1或2或3所述的整车,其特征在于所述角件的一端与支撑梁连接,角件的另一端与方舱底板齐平。
5.根据权利要求1所述的整车,其特征在于所述支撑梁的上端嵌在方舱底板内。
6.根据权利要求1所述的整车,其特征在于所述连接件为旋锁。
CN 201220660062 2012-12-05 2012-12-05 一种整车 Expired - Lifetime CN203047368U (zh)

Priority Applications (1)

Application Number Priority Date Filing Date Title
CN 201220660062 CN203047368U (zh) 2012-12-05 2012-12-05 一种整车

Applications Claiming Priority (1)

Application Number Priority Date Filing Date Title
CN 201220660062 CN203047368U (zh) 2012-12-05 2012-12-05 一种整车

Publications (1)

Publication Number Publication Date
CN203047368U true CN203047368U (zh) 2013-07-10

Family

ID=48730352

Family Applications (1)

Application Number Title Priority Date Filing Date
CN 201220660062 Expired - Lifetime CN203047368U (zh) 2012-12-05 2012-12-05 一种整车

Country Status (1)

Country Link
CN (1) CN203047368U (zh)

Cited By (4)

* Cited by examiner, † Cited by third party
Publication number Priority date Publication date Assignee Title
CN105300190A (zh) * 2015-11-19 2016-02-03 衡阳泰豪通信车辆有限公司 一种雷达隐身方舱
CN105292277A (zh) * 2015-11-19 2016-02-03 衡阳泰豪通信车辆有限公司 一种轻量化轮式方舱车
CN106476895A (zh) * 2016-12-16 2017-03-08 重庆克劳斯特种装备有限公司 抗颠簸装置以及医疗车
CN115107621A (zh) * 2022-05-18 2022-09-27 李军 一种可伸缩多功能移动ct方舱及其使用方法

Cited By (4)

* Cited by examiner, † Cited by third party
Publication number Priority date Publication date Assignee Title
CN105300190A (zh) * 2015-11-19 2016-02-03 衡阳泰豪通信车辆有限公司 一种雷达隐身方舱
CN105292277A (zh) * 2015-11-19 2016-02-03 衡阳泰豪通信车辆有限公司 一种轻量化轮式方舱车
CN106476895A (zh) * 2016-12-16 2017-03-08 重庆克劳斯特种装备有限公司 抗颠簸装置以及医疗车
CN115107621A (zh) * 2022-05-18 2022-09-27 李军 一种可伸缩多功能移动ct方舱及其使用方法

Similar Documents

Publication Publication Date Title
CN204956498U (zh) 一种轨道车辆底架边梁悬挂结构
CN203047368U (zh) 一种整车
CN103569210A (zh) 一种电动汽车新型前舱骨架结构
CN202357282U (zh) 混凝土搅拌车搅拌筒的无副梁安装结构
CN203267707U (zh) 汽车前板簧后支架
CN202899639U (zh) 一种混凝土柱结构
CN202969897U (zh) 一种盘扣式脚手架托梁系统
CN202785310U (zh) 用于吊车梁结构的边跨安装节点机构
CN203920409U (zh) 一种scr装置总成
CN202782538U (zh) 用于轻型客车的后拖钩
CN205010324U (zh) 一种用于电动客车的打气泵托架
CN204956409U (zh) 一种雨刮电机系统装配结构
CN202643051U (zh) 一种轿厢箱底
CN202320510U (zh) 一种搅拌运输车及其车架
CN202449761U (zh) 舱内提升机及应用其的风力发电机组
CN201486200U (zh) 自带机房式钢管塔
CN202294990U (zh) 轮式拖拉机的安全架
CN201872758U (zh) 城轨不锈钢车辆客室门与车辆钢结构的连接机构
CN204415067U (zh) 一种铰接车用横梁及铰接组件
CN2911096Y (zh) 自带机房式铁塔
CN205185864U (zh) 一种汽车传动轴的安装支架
CN203296402U (zh) 站台雨棚梁下的悬挂装配结构
CN203485783U (zh) 用于轻型客车的座椅固定结构
CN204037665U (zh) 铝合金汽车底盘
CN201677772U (zh) 一种汽车顶棚扶手安装结构

Legal Events

Date Code Title Description
C14 Grant of patent or utility model
GR01 Patent grant
CX01 Expiry of patent term
CX01 Expiry of patent term

Granted publication date: 20130710