CN112193507A - 一种纸箱缓存料仓 - Google Patents
一种纸箱缓存料仓 Download PDFInfo
- Publication number
- CN112193507A CN112193507A CN202011199034.XA CN202011199034A CN112193507A CN 112193507 A CN112193507 A CN 112193507A CN 202011199034 A CN202011199034 A CN 202011199034A CN 112193507 A CN112193507 A CN 112193507A
- Authority
- CN
- China
- Prior art keywords
- carton
- supporting plate
- unloading
- screw rod
- frame
- Prior art date
- Legal status (The legal status is an assumption and is not a legal conclusion. Google has not performed a legal analysis and makes no representation as to the accuracy of the status listed.)
- Withdrawn
Links
- 238000007599 discharging Methods 0.000 claims abstract description 22
- 230000000712 assembly Effects 0.000 claims abstract description 6
- 238000000429 assembly Methods 0.000 claims abstract description 6
- 230000005540 biological transmission Effects 0.000 claims description 25
- 238000007664 blowing Methods 0.000 claims description 15
- 230000003139 buffering effect Effects 0.000 claims description 11
- 239000000463 material Substances 0.000 description 17
- 238000012856 packing Methods 0.000 description 2
- 230000001174 ascending effect Effects 0.000 description 1
- 230000007547 defect Effects 0.000 description 1
- 239000003814 drug Substances 0.000 description 1
- 230000005484 gravity Effects 0.000 description 1
- 238000009434 installation Methods 0.000 description 1
- 238000000034 method Methods 0.000 description 1
- 238000004806 packaging method and process Methods 0.000 description 1
- 230000004044 response Effects 0.000 description 1
- 230000001360 synchronised effect Effects 0.000 description 1
Images
Classifications
-
- B—PERFORMING OPERATIONS; TRANSPORTING
- B65—CONVEYING; PACKING; STORING; HANDLING THIN OR FILAMENTARY MATERIAL
- B65B—MACHINES, APPARATUS OR DEVICES FOR, OR METHODS OF, PACKAGING ARTICLES OR MATERIALS; UNPACKING
- B65B43/00—Forming, feeding, opening or setting-up containers or receptacles in association with packaging
- B65B43/12—Feeding flexible bags or carton blanks in flat or collapsed state; Feeding flat bags connected to form a series or chain
- B65B43/14—Feeding individual bags or carton blanks from piles or magazines
- B65B43/16—Feeding individual bags or carton blanks from piles or magazines by grippers
- B65B43/18—Feeding individual bags or carton blanks from piles or magazines by grippers by suction-operated grippers
- B65B43/185—Feeding individual bags or carton blanks from piles or magazines by grippers by suction-operated grippers specially adapted for carton blanks
Landscapes
- Engineering & Computer Science (AREA)
- Mechanical Engineering (AREA)
- Supplying Of Containers To The Packaging Station (AREA)
Abstract
本发明创新提供了一种能存放纸箱,同时能配合机械手吸取的纸箱缓存料仓。这种纸箱缓存料仓包括有料仓机架,其特征在于:料仓机架上安装有可前后移动的放料框,放料框上安装有两个相对的支撑板组件,支撑板组件包括有支撑板与支撑板转轴,支撑板转轴可转动地安装在放料框上,支撑板连接在支撑板转轴上,支撑板转轴上连接有连接件,连接件与拉簧一头连接,拉簧另一头连接在放料框上,拉簧驱使支撑板转向内侧,放料框的下方设有放料平台,放料平台与驱动放料平台上下升降的放料动力源传动连接。这种纸箱缓存料仓不仅便于纸箱存放,同时放料平台能自动升降,配合机械手吸取。
Description
技术领域
本发明涉及一种纸盒包装机械,具体涉及一种用于装纸盒的纸箱的存放装置。
背景技术
一般纸盒(比如药盒或者其他小型纸盒)经捆扎打包后装入纸箱内,目前纸盒的捆扎由纸盒捆扎机完成,之后就由人工进行装箱。为了能实现自动化装盒,申请人设计一种全自动纸盒装箱设备,该全自动纸盒装箱设备的其中一个工序就是将纸箱存储起来(装箱为扁平状态),以便于机械手一个个自动取走,用于后序纸盒装箱。目前市场上还没有这种纸箱存放装置。
发明内容
鉴于现有技术存在的不足,本发明创新提供了一种能存放纸箱,同时能配合机械手吸取的纸箱缓存料仓。
这种纸箱缓存料仓包括有料仓机架,其特征在于:所述料仓机架上安装有可前后移动的放料框,所述放料框上安装有两个相对的支撑板组件,所述支撑板组件包括有支撑板与支撑板转轴,所述支撑板转轴可转动地安装在放料框上,所述支撑板连接在支撑板转轴上,所述支撑板转轴上连接有连接件,所述连接件与拉簧一头连接,所述拉簧另一头连接在放料框上,所述拉簧驱使支撑板转向内侧,所述放料框的下方设有放料平台,所述放料平台与驱动放料平台上下升降的放料动力源传动连接。
所述放料框与放料平台之间设有纸箱缓存机构,所述纸箱缓存机构包括有前后两个侧档板,两个侧档板上均安装有缓存板组件,所述缓存板组件包括有缓存板、缓存板转轴以及驱动缓存板转轴转动的缓存板动力源,所述缓存板连接在缓存板转轴上,所述缓存板具有进入左右两个侧档板之间的第一状态与从左右两个侧档板之间出来的第二状态,前后两个缓存板相对设置。
所述侧档板安装在前后滑座上,所述前后滑座滑动设置在前后导轨上,所述前后滑座可实现前后移动调节。
所述料仓机架上可转动地安装有前后丝杆,所述侧档板上安装有前后螺母,所述前后螺母套接在前后丝杆上,所述前后丝杆与前后调节动力源传动连接。
所述侧档板上安装有左右导轨,所述左右导轨上滑动设有左右滑座,所述左右滑座上连接有定位板,所述定位板位于前后两个侧档板之间,所述左右滑座可实现左右移动调节。
所述侧档板上可转动安装有左右丝杆,所述左右滑座上安装有左右螺母,所述左右螺母套接在左右丝杆上,所述左右丝杆与左右调节动力源传动连接。
所述料仓机架上与放料框相对的位置安装有下料传动机构,所述下料传动机构包括有下料连杆以及驱动下料连杆上下移动的下料动力源,所述下料连杆上设有凹槽,所述连接件上设有可以进入凹槽的下料滚轮。
所述下料连杆连接在第一连接臂上,所述第一连接臂连接在下料转轴上,所述下料转轴可转动安装在料仓机架上,所述下料转轴与下料动力源传动连接。
所述第一连接臂与下料转轴都具有两个,每个下料转轴上均连接有第三连接臂,两个第三连接臂之间设有传动连杆,所述传动连杆一端与一个第三连接臂铰接,另一端与另一个第三连接臂铰接。
按照本发明提供的一种纸箱缓存料仓,不仅便于纸箱存放,同时放料平台能自动升降,配合机械手吸取。
附图说明
图1为本发明的立体图;
图2为本发明的侧视图;
图3为本发明内部的立体图;
图4为放料框的主视图;
图5为下料传动机构的结构示意图;
图6为下料传动机构的主视图;
图7为纸箱缓存机构的主视图;
图8为纸箱缓存机构的侧视图。
具体实施方式
如图1所示,这种纸箱缓存料仓就是用于存放扁平的纸箱A。一叠扁平的纸箱A放置在该料仓中,由机械手一张张吸走。
如图2所示,纸箱缓存料仓包括有料仓机架1,料仓机架1上安装有可前后移动的放料框2,如图4所示,放料框2上安装有两个相对的支撑板组件4,每支撑板组件4包括有支撑板40与支撑板转轴42,其中支撑板转轴42可转动地安装在放料框2上,支撑板40连接在支撑板转轴42上,支撑板转轴42上连接有连接件41,连接件41与拉簧43一头连接,而拉簧43另一头连接在放料框1上,该拉簧43驱使支撑板40转向内侧;而在放料框2的下方设有放料平台5,该放料平台5与驱动放料平台5上下升降的放料动力源50传动连接。
当需要放纸箱时,将纸箱A放置在放料框2上,如图4所示,由于拉簧43拉着支撑板转40向内侧,这样纸箱A就至于两边的支撑板40上,同时,拉簧43拉着支撑板40,防止支撑板40在纸箱重力作用下往外转动。当放料平台5上的纸箱用完时,就转动支撑板转轴42,让支撑板40转向外侧,这样纸箱A就落地下方的放料平台5上。放料平台5通过放料动力源50的驱动实现上下升降,当机械手每吸走一张,放料平台5上升一张纸箱厚度的高度(可通过传感器实现控制,也可通过编程实现控制),这样机械手的吸取点不变,纸箱一张张被吸取走。通过这种结构,只需要操作人员将放料框2拉出来,然后将纸箱放上去后再推进去,当放料平台5上的纸箱用完时,就控制支撑板转轴42转动,让纸箱落地放料平台5上即可,操作十分安全,也十分方便。
为了能缓存较多的纸箱A,在放料框2与放料平台5之间设有纸箱缓存机构3,如图7与图8所示,纸箱缓存机构3包括有前后两个侧档板30,两个侧档板30上均安装有缓存板组件,如图7所示,缓存板组件包括有缓存板31、缓存板转轴32以及驱动缓存板转轴32转动的缓存板动力源33,缓存板31连接在缓存板转轴32上,通过缓存板动力源33的驱动,缓存板31具有进入左右两个侧档板30之间的第一状态与从左右两个侧档板30之间出来的第二状态(侧档板30上具有让缓存板31进出的窗口),前后两个缓存板31相对设置。若放料平台5上还有纸箱时,放入放料框2上的纸箱先落到纸箱缓存机构3,即纸箱落地在左右两边的缓存板31上进行缓存,当放料平台5上没有纸箱时,缓存板动力源33驱动缓存板31转动,这样纸箱A就落地到下方的放料平台5上。当然,纸箱缓存机构3的纸箱下放可以人工进行控制,也可以通过传感器感应后控制缓存板动力源33动作。这里值得一提的是,纸箱缓存机构3可设置多层,即侧档板30上沿上下方向设置多个缓存板组件,这样纸箱缓存机构3的高度就可以设置的更高,从而可以缓存更多的纸箱。如图7所示,纸箱缓存机构3就设置两层。
纸箱的宽度有所不同,为了能满足不同宽度纸箱的缓存,如图3所示,本发明将侧档板30安装在前后滑座上,前后滑座滑动设置在前后导轨35上,而前后滑座可实现前后移动调节。由于纸箱是存放在前后两个侧档板30,当前后滑座载着侧档板30在前后导轨35上移动调节,就能适应不同宽度纸箱的缓存。
为了自动完成调节,在料仓机架1上可转动地安装有前后丝杆36,侧档板30上安装有前后螺母,前后螺母套接在前后丝杆36上,前后丝杆36与前后调节动力源37传动连接。调节时,前后调节动力源37驱动前后丝杆36转动,前后丝杆36上的前后螺母前后移动,这样侧档板30便实现前后移动调节。
纸箱的长度有所不同,为了能满足不同长度纸箱的缓存,在侧档板30上安装有左右导轨38,左右导轨38上滑动设有左右滑座,左右滑座上连接有定位板34,定位板34位于前后两个侧档板30之间,左右滑座可实现左右移动调节。定位板34从侧面挡住纸箱,当左右滑座载着定位板34在左右导轨38上移动调节,就能适应不同长度纸箱的缓存。
同样为了自动完成调节,在侧档板30上可转动安装有左右丝杆39,左右滑座上安装有左右螺母,左右螺母套接在左右丝杆39上,左右丝杆39与左右调节动力源传动连接。调节时,左右调节动力源驱动左右丝杆39转动,左右丝杆39上的左右螺母左右移动,这样定位板34便实现左右移动调节。
放料框2上的纸箱下放,可以通过人工转动支撑板组件4的支撑板转轴42,支撑板40就不再支撑住纸箱,这样纸箱就能落下;可以将支撑板组件4的支撑板转轴42与一个动力源传动连接,动力源驱动支撑板转轴42转动,支撑板40就不再支撑住纸箱,这样纸箱也能落下。这两种方式都能使纸箱下放,只是前者需要通过人工,不符合自动化要求,后者需要考虑线路问题(由于动力源要跟放料框2一起移动,连接动力源的线路也会移动)。为了既能实现自动化,又避免动力源线路问题,本发明在料仓机架1上与放料框2相对的位置安装有下料传动机构6,如图5与图6所示,该下料传动机构6包括有下料连杆60以及驱动下料连杆60上下移动的下料动力源64,该下料连杆60上设有凹槽600,而连接件41上设有可以进入凹槽600的下料滚轮44。如图2所示,当放料框2往前推到位时,连接件41上的下料滚轮44就进入到下料连杆60的凹槽600内,下料动力源64驱动下料连杆60上移,这样支撑板组件4的连接件41就能转动,而连接件41又带动支撑板转轴42转动,这样支撑板40就不再支撑住纸箱A,纸箱A就能落下。通过这种结构,既能实现自动化落掉,同时由于下料传动机构6是安装在料仓机架1上不位移,因此就不需要考虑动力源线路移动问题,整体结构更加合理紧凑。这里需要说明的是,下料滚轮44连接在连接件41,而连接件41可以绕支撑板转轴42转动调节角度,这样下料滚轮44可以调整位置以便于对准下料连杆60的凹槽600,同时通过连接件41,下料滚轮44上下移动,能传动支撑板转轴42转动。
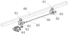
为了传动下料连杆60动作,如图5所示,在下料连杆60连接在第一连接臂61上,该第一连接臂61连接在下料转轴62上,下料转轴62可转动安装在料仓机架1上,下料转轴62上安装有第二连接臂63,第二连接臂63与下料动力源64传动连接。通过下料动力源64驱动第二连接臂63就带动下料转轴62转动,下料转轴62又带动第一连接臂61转动,第一连接臂61最终带动下料连杆60动作,最终控制纸箱下放。
由于下料连杆60需要同时抬起两个下料滚轮44(因为有两个相对的支撑板组件),因此必须保证下料连杆60上下升降时的平衡度,如图5所示,本发明的第一连接臂61与下料转轴62都具有两个,下料连杆60连接在两个第一连接臂61上,每个下料转轴62上均连接有第三连接臂65,两个第三连接臂65之间设有传动连杆66,传动连杆66一端与一个第三连接臂65铰接,另一端与另一个第三连接臂65铰接。通过这种结构,只要下料动力源64驱动第二连接臂63转动,就能同时传动两个第一连接臂61转动,由于通过传动连杆66实现连接,这样两个第一连接臂61必然同步动作,两点同时带动下料连杆60,从而保证下料连杆60上下移动时始终处于水平位置,这样下料连杆60给予两个下料滚轮44的力也完成相同,两个支撑板40转动也完全同步。
Claims (9)
1.一种纸箱缓存料仓,包括有料仓机架(1),其特征在于:所述料仓机架(1)上安装有可前后移动的放料框(2),所述放料框(2)上安装有两个相对的支撑板组件(4),所述支撑板组件(4)包括有支撑板(40)与支撑板转轴(42),所述支撑板转轴(42)可转动地安装在放料框(1)上,所述支撑板(40)连接在支撑板转轴(42)上,所述支撑板转轴(42)上连接有连接件(41),所述连接件(41)与拉簧(43)一头连接,所述拉簧(43)另一头连接在放料框(1)上,所述拉簧(43)驱使支撑板(40)转向内侧,所述放料框(1)的下方设有放料平台(5),所述放料平台(5)与驱动放料平台(5)上下升降的放料动力源(50)传动连接。
2.根据权利要求1所述的一种纸箱缓存料仓,其特征在于:所述放料框(2)与放料平台(4)之间设有纸箱缓存机构(3),所述纸箱缓存机构(3)包括有前后两个侧档板(30),两个侧档板(30)上均安装有缓存板组件,所述缓存板组件包括有缓存板(31)、缓存板转轴(32)以及驱动缓存板转轴(32)转动的缓存板动力源(33),所述缓存板(31)连接在缓存板转轴(32)上,所述缓存板(31)具有进入左右两个侧档板(30)之间的第一状态与从左右两个侧档板(30)之间出来的第二状态,前后两个缓存板(31)相对设置。
3.根据权利要求2所述的一种纸箱缓存料仓,其特征在于:所述侧档板(30)安装在前后滑座上,所述前后滑座滑动设置在前后导轨(35)上,所述前后滑座可实现前后移动调节。
4.根据权利要求3所述的一种纸箱缓存料仓,其特征在于:所述料仓机架(1)上可转动地安装有前后丝杆(36),所述侧档板(30)上安装有前后螺母,所述前后螺母套接在前后丝杆(36)上,所述前后丝杆(36)与前后调节动力源(37)传动连接。
5.根据权利要求2所述的一种纸箱缓存料仓,其特征在于:所述侧档板(30)上安装有左右导轨(38),所述左右导轨(38)上滑动设有左右滑座,所述左右滑座上连接有定位板(34),所述定位板(34)位于前后两个侧档板(30)之间,所述左右滑座可实现左右移动调节。
6.根据权利要求5所述的一种纸箱缓存料仓,其特征在于:所述侧档板(30)上可转动安装有左右丝杆(39),所述左右滑座上安装有左右螺母,所述左右螺母套接在左右丝杆(39)上,所述左右丝杆(39)与左右调节动力源传动连接。
7.根据权利要求1所述的一种纸箱缓存料仓,其特征在于:所述料仓机架(1)上与放料框(2)相对的位置安装有下料传动机构(6),所述下料传动机构(6)包括有下料连杆(60)以及驱动下料连杆(60)上下移动的下料动力源(64),所述下料连杆(60)上设有凹槽(600),所述连接件(41)上设有可以进入凹槽(600)的下料滚轮(44)。
8.根据权利要求7所述的一种纸箱缓存料仓,其特征在于:所述下料连杆(60)连接在第一连接臂(61)上,所述第一连接臂(61)连接在下料转轴(62)上,所述下料转轴(62)可转动安装在料仓机架(1)上,所述下料转轴(62)与下料动力源(64)传动连接。
9.根据权利要求8所述的一种纸箱缓存料仓,其特征在于:所述第一连接臂(61)与下料转轴(62)都具有两个,每个下料转轴(62)上均连接有第三连接臂(65),两个第三连接臂(65)之间设有传动连杆(66),所述传动连杆(66)一端与一个第三连接臂(65)铰接,另一端与另一个第三连接臂(65)铰接。
Priority Applications (1)
| Application Number | Priority Date | Filing Date | Title |
|---|---|---|---|
| CN202011199034.XA CN112193507A (zh) | 2020-10-31 | 2020-10-31 | 一种纸箱缓存料仓 |
Applications Claiming Priority (1)
| Application Number | Priority Date | Filing Date | Title |
|---|---|---|---|
| CN202011199034.XA CN112193507A (zh) | 2020-10-31 | 2020-10-31 | 一种纸箱缓存料仓 |
Publications (1)
| Publication Number | Publication Date |
|---|---|
| CN112193507A true CN112193507A (zh) | 2021-01-08 |
Family
ID=74010659
Family Applications (1)
| Application Number | Title | Priority Date | Filing Date |
|---|---|---|---|
| CN202011199034.XA Withdrawn CN112193507A (zh) | 2020-10-31 | 2020-10-31 | 一种纸箱缓存料仓 |
Country Status (1)
| Country | Link |
|---|---|
| CN (1) | CN112193507A (zh) |
Cited By (1)
| Publication number | Priority date | Publication date | Assignee | Title |
|---|---|---|---|---|
| CN112849534A (zh) * | 2021-01-26 | 2021-05-28 | 研茂智能装备(苏州)有限公司 | 纸箱暂存总成 |
Citations (7)
| Publication number | Priority date | Publication date | Assignee | Title |
|---|---|---|---|---|
| EP0659669A1 (de) * | 1993-12-23 | 1995-06-28 | HSW GmbH Paper Output Management | Vorrichtung zum Einbringen von hintereinander gestapelten Kuverts in eine wannenförmige Box |
| CN201989971U (zh) * | 2011-01-25 | 2011-09-28 | 微创机械企业有限公司 | 开箱机纸板暂存槽分离机构 |
| CN103832617A (zh) * | 2014-03-13 | 2014-06-04 | 江苏腾通包装机械有限公司 | 真空封合包装机 |
| CN107117348A (zh) * | 2017-06-12 | 2017-09-01 | 浙江东经科技股份有限公司 | 纸板计数堆叠包装装置 |
| CN107677087A (zh) * | 2017-11-03 | 2018-02-09 | 深圳市君奕豪科技有限公司 | 一种立式自动烤炉 |
| CN207511409U (zh) * | 2017-11-03 | 2018-06-19 | 深圳市君奕豪科技有限公司 | 一种耐高温移载装置 |
| CN213862894U (zh) * | 2020-10-31 | 2021-08-03 | 浙江希望机械有限公司 | 一种纸箱缓存料仓 |
-
2020
- 2020-10-31 CN CN202011199034.XA patent/CN112193507A/zh not_active Withdrawn
Patent Citations (7)
| Publication number | Priority date | Publication date | Assignee | Title |
|---|---|---|---|---|
| EP0659669A1 (de) * | 1993-12-23 | 1995-06-28 | HSW GmbH Paper Output Management | Vorrichtung zum Einbringen von hintereinander gestapelten Kuverts in eine wannenförmige Box |
| CN201989971U (zh) * | 2011-01-25 | 2011-09-28 | 微创机械企业有限公司 | 开箱机纸板暂存槽分离机构 |
| CN103832617A (zh) * | 2014-03-13 | 2014-06-04 | 江苏腾通包装机械有限公司 | 真空封合包装机 |
| CN107117348A (zh) * | 2017-06-12 | 2017-09-01 | 浙江东经科技股份有限公司 | 纸板计数堆叠包装装置 |
| CN107677087A (zh) * | 2017-11-03 | 2018-02-09 | 深圳市君奕豪科技有限公司 | 一种立式自动烤炉 |
| CN207511409U (zh) * | 2017-11-03 | 2018-06-19 | 深圳市君奕豪科技有限公司 | 一种耐高温移载装置 |
| CN213862894U (zh) * | 2020-10-31 | 2021-08-03 | 浙江希望机械有限公司 | 一种纸箱缓存料仓 |
Cited By (1)
| Publication number | Priority date | Publication date | Assignee | Title |
|---|---|---|---|---|
| CN112849534A (zh) * | 2021-01-26 | 2021-05-28 | 研茂智能装备(苏州)有限公司 | 纸箱暂存总成 |
Similar Documents
| Publication | Publication Date | Title |
|---|---|---|
| CN110127121B (zh) | 一种装箱机 | |
| CN1224551C (zh) | 将包装材料进给到操作机构的方法和设备 | |
| CN215268926U (zh) | 快压机用上下料机 | |
| CN114055120A (zh) | 一种镜片高速旋转组装机构及镜头组装模组 | |
| CN116605639B (zh) | 一种用于芯片测试的收料设备 | |
| CN201383495Y (zh) | 一种自动送料装置 | |
| CN213862894U (zh) | 一种纸箱缓存料仓 | |
| CN112193507A (zh) | 一种纸箱缓存料仓 | |
| CN109335628A (zh) | 一种实现自动换盘的送料装置 | |
| CN115180262A (zh) | 一种车载显示屏背光led灯条胶柔性侧贴机构 | |
| CN111018325B (zh) | 制瓶机自动上管机的供管装置及供管方法 | |
| CN217671369U (zh) | 一种应用于折盒机上的纸板储料平台 | |
| CN210619486U (zh) | 一种全自动板材入框机 | |
| CN218051217U (zh) | 发动机组装用上料产线 | |
| CN111703111A (zh) | 礼盒底衬成型装置 | |
| CN214455598U (zh) | 一种烟盒纸板烫金机用输送下料规整装置 | |
| KR101764778B1 (ko) | 유연 제함 시스템의 박스 전달 장치 | |
| JPH0130736B2 (zh) | ||
| CN116729757A (zh) | 一种具有防偏移功能的分卡自动平面贴标机 | |
| CN218463276U (zh) | 一种瓦楞纸板用印刷装置 | |
| CN214983561U (zh) | 一种纸板上料装置 | |
| CN112193869A (zh) | 一种隔板缓存料仓 | |
| CN208230763U (zh) | 一种轮辋滚型自动上下料装置 | |
| CN223520333U (zh) | 一种具有调整功能的纸箱加工用压痕切槽装置 | |
| CN222989201U (zh) | 一种自动上料机构 |
Legal Events
| Date | Code | Title | Description |
|---|---|---|---|
| PB01 | Publication | ||
| PB01 | Publication | ||
| SE01 | Entry into force of request for substantive examination | ||
| SE01 | Entry into force of request for substantive examination | ||
| WW01 | Invention patent application withdrawn after publication |
Application publication date: 20210108 |
|
| WW01 | Invention patent application withdrawn after publication |