CN110742489A - 一种蒸煮器 - Google Patents
一种蒸煮器 Download PDFInfo
- Publication number
- CN110742489A CN110742489A CN201911110440.1A CN201911110440A CN110742489A CN 110742489 A CN110742489 A CN 110742489A CN 201911110440 A CN201911110440 A CN 201911110440A CN 110742489 A CN110742489 A CN 110742489A
- Authority
- CN
- China
- Prior art keywords
- rice
- rice water
- collecting box
- inner container
- water
- Prior art date
- Legal status (The legal status is an assumption and is not a legal conclusion. Google has not performed a legal analysis and makes no representation as to the accuracy of the status listed.)
- Pending
Links
- 241000209094 Oryza Species 0.000 claims abstract description 596
- 235000007164 Oryza sativa Nutrition 0.000 claims abstract description 596
- 235000009566 rice Nutrition 0.000 claims abstract description 596
- XLYOFNOQVPJJNP-UHFFFAOYSA-N water Substances O XLYOFNOQVPJJNP-UHFFFAOYSA-N 0.000 claims abstract description 377
- 235000014347 soups Nutrition 0.000 claims abstract description 73
- 238000010438 heat treatment Methods 0.000 claims abstract description 43
- 238000007789 sealing Methods 0.000 claims abstract description 17
- 238000010411 cooking Methods 0.000 claims description 61
- 235000011389 fruit/vegetable juice Nutrition 0.000 claims 2
- 238000000034 method Methods 0.000 abstract description 26
- 229920002472 Starch Polymers 0.000 description 24
- 230000000694 effects Effects 0.000 description 24
- 235000019698 starch Nutrition 0.000 description 24
- 239000008107 starch Substances 0.000 description 24
- 238000000926 separation method Methods 0.000 description 15
- 238000009835 boiling Methods 0.000 description 7
- 238000009434 installation Methods 0.000 description 4
- 230000009286 beneficial effect Effects 0.000 description 3
- 238000004891 communication Methods 0.000 description 3
- 238000004519 manufacturing process Methods 0.000 description 3
- 230000001603 reducing effect Effects 0.000 description 3
- 238000005406 washing Methods 0.000 description 3
- 230000002349 favourable effect Effects 0.000 description 2
- 210000003205 muscle Anatomy 0.000 description 2
- 238000002360 preparation method Methods 0.000 description 2
- 208000008589 Obesity Diseases 0.000 description 1
- VYPSYNLAJGMNEJ-UHFFFAOYSA-N Silicium dioxide Chemical compound O=[Si]=O VYPSYNLAJGMNEJ-UHFFFAOYSA-N 0.000 description 1
- 238000010276 construction Methods 0.000 description 1
- 230000005574 cross-species transmission Effects 0.000 description 1
- 206010012601 diabetes mellitus Diseases 0.000 description 1
- 238000011010 flushing procedure Methods 0.000 description 1
- 235000013305 food Nutrition 0.000 description 1
- 235000004280 healthy diet Nutrition 0.000 description 1
- 235000020824 obesity Nutrition 0.000 description 1
- 230000008520 organization Effects 0.000 description 1
- 230000000630 rising effect Effects 0.000 description 1
- 239000000741 silica gel Substances 0.000 description 1
- 229910002027 silica gel Inorganic materials 0.000 description 1
- 239000007779 soft material Substances 0.000 description 1
- 238000010025 steaming Methods 0.000 description 1
- 230000008961 swelling Effects 0.000 description 1
Images
Classifications
-
- A—HUMAN NECESSITIES
- A47—FURNITURE; DOMESTIC ARTICLES OR APPLIANCES; COFFEE MILLS; SPICE MILLS; SUCTION CLEANERS IN GENERAL
- A47J—KITCHEN EQUIPMENT; COFFEE MILLS; SPICE MILLS; APPARATUS FOR MAKING BEVERAGES
- A47J27/00—Cooking-vessels
- A47J27/002—Construction of cooking-vessels; Methods or processes of manufacturing specially adapted for cooking-vessels
-
- A—HUMAN NECESSITIES
- A47—FURNITURE; DOMESTIC ARTICLES OR APPLIANCES; COFFEE MILLS; SPICE MILLS; SUCTION CLEANERS IN GENERAL
- A47J—KITCHEN EQUIPMENT; COFFEE MILLS; SPICE MILLS; APPARATUS FOR MAKING BEVERAGES
- A47J27/00—Cooking-vessels
- A47J27/004—Cooking-vessels with integral electrical heating means
-
- A—HUMAN NECESSITIES
- A47—FURNITURE; DOMESTIC ARTICLES OR APPLIANCES; COFFEE MILLS; SPICE MILLS; SUCTION CLEANERS IN GENERAL
- A47J—KITCHEN EQUIPMENT; COFFEE MILLS; SPICE MILLS; APPARATUS FOR MAKING BEVERAGES
- A47J36/00—Parts, details or accessories of cooking-vessels
-
- A—HUMAN NECESSITIES
- A47—FURNITURE; DOMESTIC ARTICLES OR APPLIANCES; COFFEE MILLS; SPICE MILLS; SUCTION CLEANERS IN GENERAL
- A47J—KITCHEN EQUIPMENT; COFFEE MILLS; SPICE MILLS; APPARATUS FOR MAKING BEVERAGES
- A47J36/00—Parts, details or accessories of cooking-vessels
- A47J36/06—Lids or covers for cooking-vessels
Landscapes
- Engineering & Computer Science (AREA)
- Food Science & Technology (AREA)
- Manufacturing & Machinery (AREA)
- Cookers (AREA)
Abstract
一种蒸煮器,包括:内胆,内胆位于煲体内,煲体内安装有用于加热的加热件,还包括用于收集米汤的米汤收集盒,米汤收集盒可拆卸地位于内胆的上方且至少部分位于煲体外,米汤收集盒的下部与内胆的上部之间设置为密封的结构;还包括米汤通道,米汤通道位于内胆与米汤收集盒之间用于将内胆和米汤收集盒之间形成米汤可以通过的相通结构;加热件加热使得沸腾的米汤能向上涌起进入到米汤收集盒内来使得米饭和米汤之间分离。本方案解决了现有制作低糖米饭的蒸煮器需要增加内胆的高度才能制作出正常2L‑6L容量的低糖米饭的问题,且解决了现有蒸煮器因需要增加内胆高度则需要同步增加煲体的高度导致的蒸煮器整体成本较高、工艺难度大、结构复杂的问题。
Description
技术领域
本发明涉及到厨房家电领域,具体涉及到一种用于制作含淀粉含量较低的低糖米饭的蒸煮器。
背景技术
目前大部分的蒸煮器无法制作低糖米饭,低糖米饭主要为含淀粉较低的米饭,目前主要是通过蒸煮器在蒸煮的过程中实现米饭和米汤的分离来制作低糖米饭,主要为米汤在分离的过程中带走了米饭中的淀粉,使得制作出的米饭中合有的淀粉含量得到降低。
目前蒸煮器的结构主要在内胆内设置米汤收集盒,或同时设置蒸煮件和米汤收集盒来实现制作低糖米饭的结构,但是上述两种方案均存在米汤收集盒会占用内胆的一部分高度空间区域导致制作低糖米饭的蒸煮器的结构中内胆需要加高的问题;具体的针对第二种方案来说,在专利号为CN2019106313905的专利公布中可见,蒸煮器主要包括煲体和煲盖,煲盖可旋转地在设置煲体上,其同时设置蒸煮件和米汤收集盒分别位于内胆内,蒸煮件用于盛放米饭,米汤收集盒用于收集米汤,即可实现制作低糖米饭;但是该专利公布的蒸煮器结构存在一定的技术缺陷,那就是为了制作正常蒸煮器的2L-6L的米饭,该蒸煮器结构的内胆需要加高,因为内胆的下部用于盛放米汤,内胆的上部用于放置米汤收集盒,米汤收集盒必须占用内胆的一部分高度空间区域,这样导致可以盛放米饭的空间仅为米汤收集盒与蒸煮件之间的高度空间区域内,导致内胆内盛放米饭的可利用空间不足,为了增大可制作低糖米饭的高度空间区域,必须将内胆的高度加高来使得米汤收集盒与蒸煮件之间的高度空间区域得到增加,才能制作更多的低糖米饭,但是在增加内胆高度的同时必须增加煲体的高度,这样就导致蒸煮器整体的成本非常高,且因内胆的高度增加则增加了制作内胆的工艺难度,和蒸煮器整体的组装难度。
可见,该专利公布的制作低糖米饭的结构中,内胆的高度空间限制了可制作低糖米饭的容量,该专利中的结构如果要实现正常蒸煮器制作2L-6L的米饭则需要蒸煮器的整体结构加高,内胆和煲体同步增加一定的高度,这样导致蒸煮器的整体成本非常高,且整体结构复杂,不利于实现对可制作低糖米饭的蒸煮器的普及。
发明内容
本发明旨在至少在一定程度上解决上述相关技术中的技术问题之一。
为此,本发明的目的在于提供一种蒸煮器,主要解决现有制作低糖米饭的蒸煮器需要增加内胆的高度才能制作出正常2L-6L容量的低糖米饭的问题,且解决现有蒸煮器因需要增加内胆高度则需要同步增加煲体的高度导致的蒸煮器整体成本较高、工艺难度大、结构复杂的问题。
本发明的实施方式提供了一种蒸煮器,包括:内胆,内胆位于煲体内,煲体内安装有用于加热的加热件,还包括用于收集米汤的米汤收集盒,米汤收集盒可拆卸地位于内胆的上方且至少部分位于煲体外,米汤收集盒的下部与内胆的上部之间设置为密封的结构;
还包括米汤通道,米汤通道位于内胆与米汤收集盒之间用于将内胆和米汤收集盒之间形成米汤可以通过的相通结构;
当加热件加热使得内胆内的米汤沸腾时,沸腾的米汤至少部分向上涌起进入到米汤通道内并进入到米汤收集盒内被收集盛放来使得内胆内的米饭和米汤之间分离。
前述的一种蒸煮器,还包括蒸煮件,蒸煮件可拆卸的位于内胆内,蒸煮件上设置有多个用于沥米汤的沥米汤孔。
前述的一种蒸煮器,蒸煮件的端面到米汤收集盒的底部端面的距离H1大于蒸煮件的端面到内胆的底部端面的距离H2。
前述的一种蒸煮器,米汤收集盒可拆卸地位于内胆的上方,且至少米汤收集盒的上部位于煲体外。
前述的一种蒸煮器,还包括煲盖,煲盖可拆卸的位于煲体的上方,当米汤收集盒安装在位时,米汤收集盒位于煲盖与煲体之间。
前述的一种蒸煮器,米汤收集盒包括底壁和侧壁,米汤通道位于底壁上,和/或侧壁上。
前述的一种蒸煮器,当米汤通道位于底壁上时,米汤通道设置为相对底壁向上凸起的中空结构。
前述的一种蒸煮器,米汤收集盒上至少设置有一个用于米汤进入的进米汤口,米汤通道的下端与内胆相通,米汤通道的上端与米汤收集盒上的进米汤口相通。
前述的一种蒸煮器,米汤收集盒的下部与内胆的上部之间设置有用于密封的密封件。
前述的一种蒸煮器,煲体上设置有用于卡接米汤收集盒的卡扣结构,当米汤收集盒安装在位时,煲体与米汤收集盒之间卡接相连。
与现有技术相比,本发明具有如下有益效果:
本方案的蒸煮器的结构,通过将米汤收集盒可拆卸地位于内胆的上方且至少部分位于煲体外来实现米汤收集盒部分外置到煲体外设置的结构,实现米汤收集盒作为独立的结构部分位于煲体上,在蒸煮器的整体结构中米汤收集盒不占用内胆的高度空间区域,内胆的高度空间区域能得到充分利用,无需增加内胆的高度即可实现制作2L-6L容量的低糖米饭,解决了现有制作低糖米饭的蒸煮器需要增加内胆的高度才能制作出正常2L-6L容量的低糖米饭的问题。
本方案的蒸煮器结构,因米汤收集盒外置在煲体外,没有将米汤收集盒放置在内胆内,因此在实现制作低糖米饭的结构中无需增加内胆的高度即可实现现有正常蒸煮器制作2L-6L的低糖米饭的效果,大大简化了可制作低糖米饭的蒸煮器的结构,且降低了蒸煮器的整体成本和组装成本;解决了现有蒸煮器因需要增加内胆高度则需要同步增加煲体的高度导致的蒸煮器整体成本较高、工艺难度大、结构复杂的问题。
本方案通过设置米汤收集盒来实现对米汤的收集,进而实现内胆内米汤和米饭的快速分离,内胆内的米汤在加热件进行加热的作用下能向上沸腾并能快速向上涌起,连片的米汤泡能形成涌起的较快速度,通过米汤通道后能被收集到米汤收集盒内,实现制作低糖米饭。
本方案的内胆、米汤收集盒、蒸煮件的结构简单,方便拆卸清洗,米汤收集盒作为独立的部分设置在煲体外,方便安装和拆卸清洗,米汤收集盒和内胆的下部空间区域均可形成独立的盛放米汤的空间,通过加热件加热的控制来实现蒸煮器在工作的过程中使得内胆内的米汤在向上涌起的时候进入到米汤通道内然后进入到米汤收集盒内被收集,米饭可以独立地位于蒸煮件上被分离开,可实现米汤和米饭的完全分离,实现制作低糖米饭。
本方案的蒸煮器结构,米汤收集盒的下部与内胆的上部之间设置为密封的结构,实现米汤收集盒外置的位于内胆上方时两者之间的密封安装,主要通过密封件来实现密封结构,其中,内胆的米汤在向上涌起进入到米汤收集盒的过程中不会出现米汤向外溢出到内胆外的问题,可靠性高。
本方案的蒸煮器结构设置有煲盖,煲盖可拆卸的位于煲体的上方,当米汤收集盒安装在位时,米汤收集盒位于煲盖与煲体之间,其可实现蒸煮器的多功能的效果,当未安装米汤收集盒和蒸煮件时,蒸煮器可作为现有制作正常米饭的蒸煮器使用,即为不制作低糖米饭;当米汤收集盒安装在位时,或者米汤收集盒和蒸煮件均安装在位时,蒸煮器可用于制作低糖米饭,具有多功能的效果。
附图说明
图1为不包括米汤收集盒和蒸煮件的蒸煮器结构示意图;
图2为米汤收集盒的结构示意图;
图3为米汤收集盒的一种结构示意图;
图4为只包括米汤收集盒的蒸煮器的第一种结构的示意图;
图5为第一种结构的蒸煮器的内胆内的米汤和米饭未分离的示意图;
图6为第一种结构的蒸煮器的内胆内的米汤进入到米汤收集盒内并使得米饭和米汤分离的示意图;
图7为同时包括米汤收集盒和蒸煮件的蒸煮器的第二种结构的示意图;
图8为第二种结构的蒸煮器的内胆内的米汤和米饭未分离的示意图;
图9为第二种结构的蒸煮器的内胆内的米饭和米汤完全分离的示意图。
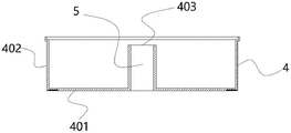
附图标记:1-内胆,2-煲体,3-加热件,4-米汤收集盒,401-底壁,402-侧壁,403-进米汤口,5-米汤通道,6-蒸煮件,601-沥米汤孔,7-煲盖,8-密封件。
具体实施方式
为了使本发明实现的技术手段、创作特征、达成目的与功效易于明白了解,下面结合具体实施例,进一步阐述本发明。
实施例:本发明的蒸煮器,如图1至图9构成所示,本方案的蒸煮器主要用于制作低糖米饭,即为含淀粉含量较低的米饭,主要通过米饭和米汤的分离来实现制作出低糖米饭,蒸煮器的主要结构为设置米汤收集盒4来实现对米汤的收集盛放效果,米汤被独立的收集后实现内胆1的米饭和米汤之间的分离;具体的,水和米在内胆1内加热熬煮的过程中形成具有一定浓度的米汤,米汤中含有大量的淀粉,主要为米中的淀粉分离出到水中形成米汤,米汤在加热沸腾的状态下很容易向上涌起,且能成片的向上涌起,在涌起过程中能通过米汤通道5进入到米汤收集盒4内,实现米汤收集盒4对米汤的收集效果,米汤进入到米汤收集盒4内后即实现了内胆1内米饭和米汤的分离。
本方案的蒸煮器实现米饭和米汤分离的部分包括两种结构,两种结构的米汤收集盒4设置在内胆1上且位于煲体2外,即为外置米汤收集盒4的结构,均可实现对米汤的收集来进一步实现米饭和米汤的分离;蒸煮器的第一种结构为只设置有米汤收集盒4,该结构可实现内胆1内米汤和米饭的部分分离,不能实现米汤和米饭的完全分离,米汤被收集到米汤收集盒4内后还剩余部分米汤留在内胆1内与内胆1内的米饭一起煮熟制作出低糖米饭;蒸煮器的第二种结构为同时设置有米汤收集盒4和蒸煮件6,该结构可实现内胆1内的米汤和米饭的完全分离,米汤被收集后使得米饭独立的位于蒸煮件6上被完全分离开,米汤分别位于米汤收集盒4内和内胆1的下部区域内;蒸煮器的第二种结构制作出的低糖米饭中的淀粉含量比蒸煮器的第一种结构制作出的低糖米饭中的淀粉含量更低,即为蒸煮器的第二种结构降淀粉含量的效果更好。
具体地,如图4至图6所示,蒸煮器的第一种结构为,包括内胆1,内胆1位于煲体2内,主要为内胆1可拆卸的安装在煲体2内,可在煲体2内设置放置内胆1的凹槽,直接将内胆1放置在凹槽内即可,煲体2内安装有用于加热的加热件3,加热件3主要用于对内胆1进行加热,加热件3可以为发热管或电磁线盘等,可适当设置加热件3的位置实现对内胆1的底面加热或侧面加热,或立体加热的效果;针对蒸煮器实现对内胆1内米汤的收集,主要设置还包括用于收集米汤的米汤收集盒4,米汤收集盒4可拆卸地位于内胆1的上方且至少部分位于煲体2外,主要设置米汤收集盒4位于内胆1的上方且为独立的结构部分,方便对米汤收集盒4的拆卸安装,其中,主要为米汤收集盒4至少部分位于煲体2外,相对煲体2设置为向上外置的结构,即为米汤收集盒4放置在内胆1上时其主体的一部分为位于煲体2外,煲体2对米汤收集盒4的该部分并不包覆在内,这样只需要使得煲体2将内胆1包覆在内即可,可整体实现不增加内胆1的高度和煲体2的高度,蒸煮器的结构更简单,整体的成本更低,在不增加内胆1高度的前提下同时能制作出正常蒸煮器制作出正常2L-6L容量的低糖米饭,内胆1的高度空间区域能得到充分利用,无需增加内胆1的高度即可实现制作低糖米饭。
其中,米汤收集盒4的下部与内胆1的上部之间设置为密封的结构;因米汤收集盒4可拆卸地安装在内胆1的上方,米汤收集盒4为相对独立的结构,为了确保内胆1内的米汤向上涌起进入到米汤收集盒4内的过程中不会出现米汤向外溢出到煲体2外的问题,必须将米汤收集盒4的下部与内胆1的上部之间设置为密封的结构,防止米汤外溢,可设置密封件8来实现密封,主要设置在米汤收集盒4与内胆1相互接触的位置上,实现两者的密封效果,也可以设置其他相互密封的结构,只需能防止米汤外溢即可。
本方案实现内胆1与米汤收集盒4之间相通的结构主要为包括米汤通道5,米汤通道5位于内胆1与米汤收集盒4之间用于将内胆1和米汤收集盒4之间形成米汤可以通过的相通结构;相通的结构可以使得内胆1内的米汤在向上涌起的过程中能通过米汤通道5进入到米汤收集盒4内;优选的,可以将米汤通道5设置在米汤收集盒4上,并使得米汤通道5能连通内胆1和米汤收集盒4之间相通;米汤通道5可以位于米汤收集盒4的底面与内胆1之间的底面之间,即为两者的竖直方向上之间,有利于米汤向上涌起通过米汤通道5进入到米汤收集盒4内;米汤通道5也可以位于内胆1的内壁侧面与米汤收集盒4的一个内侧面之间,该内侧面位于内胆1的内侧面以内的位置,该内侧面可以为米汤收集盒4的侧壁402,也可以为相对侧壁402为独立的一个侧面,使得内胆1的内壁侧面与米汤收集盒4的该内侧面之间形成米汤可以通过的间隙或缺口,该间隙或缺口即为形成米汤通道5。
本方案的加热件3主要对内胆1加热,内胆1内主要为米汤和米饭,当加热件3加热使得内胆1内的米汤沸腾时,沸腾的米汤至少部分向上涌起进入到米汤通道5内并进入到米汤收集盒4内被收集盛放来使得内胆1内的米饭和米汤之间分离;米饭和米汤之间可以为部分分离或全部分离,主要通过米汤向上涌起被收集到米汤收集盒4内来实现米饭与米汤的分离效果,米汤通道5作为连通内胆1与米汤收集盒4之间相通的结构,即为形成米汤通过的结构。
可选的,米汤收集盒4可拆卸地位于内胆1的上方,且至少米汤收集盒4的上部位于煲体2外,米汤收集盒4的上部位于煲体2外,可实现米汤收集盒4部分外置在煲体2外的设计结构,实现米汤收集盒4独立的部分外置位于煲体2外,可实现不增加内胆1的高度,同时实现不增加煲体2的高度,米汤收集盒4不占用或较少占用内胆1的高度空间区域,确保内胆1在不增加高度的前提下能制作出正常蒸煮器制作出正常2L-6L容量的低糖米饭,内胆1的高度空间区域能得到充分利用,无需增加内胆1的高度即可实现制作低糖米饭。
优选的,米汤收集盒4的中部以上位于煲体2外,或米汤收集盒4全部位于煲体2外,可进一步地实现米汤收集盒4外置在煲体2外的设计结构,实现米汤收集盒4独立的外置位于煲体2外,可直接将米汤收集盒4放置在煲体2上端或内胆1上即可。
其中,米汤收集盒4外置在煲体2外,可实现不增加内胆1的高度,同时实现不增加煲体2的高度,米汤收集盒4不占用内胆1的高度空间区域,内胆1的高度空间区域能得到充分利用,无需增加内胆1的高度即可实现制作低糖米饭,解决了现有制作低糖米饭的蒸煮器需要增加内胆1的高度才能制作出正常2L-6L容量的低糖米饭的问题,同时大大简化了可制作低糖米饭的蒸煮器的结构,且降低了蒸煮器的整体成本和组装成本;解决了现有蒸煮器因需要增加内胆1高度则需要同步增加煲体2的高度导致的蒸煮器整体成本较高、工艺难度大、结构复杂的问题。
本方案中还包括煲盖7,煲盖7可拆卸的位于煲体2的上方,当米汤收集盒4安装在位时,米汤收集盒4位于煲盖7与煲体2之间,煲盖7实现对米汤收集盒4的盖合作用,煲盖7上设置排气孔,可排出米汤收集盒4内的蒸汽;当米汤收集盒4未安装在位时,此时煲盖7可盖合在煲体2上同时盖合内胆1,如图1所示,此时蒸煮器可作为正常的蒸煮器使用来制作正常的米饭;当米汤收集盒4安装在位时,此时米汤收集盒4实现对内胆1的盖合,煲盖7实现对米汤收集盒4的盖合,此时蒸煮器可用于制作低糖米饭。
可选的,米汤收集盒4为凹形的可用于盛放一定容量的米汤的结构,可以为圆柱形结构或圆锥形结构,主要为米汤收集盒4包括底壁401和侧壁402,米汤通道5位于底壁401上,和/或侧壁402上;底壁401和侧壁402共同构成米汤收集盒4的凹形结构,其中,针对米汤通道5,可以将米汤通道5单独的设置在底壁401上,也可以将米汤通道5单独的设置在侧壁402上,或将米汤通道5同时设置底壁401和侧壁402上,如当米汤收集盒4的侧壁402的一部分位于内胆1内时,此时可以将米汤通道5设置于米汤收集盒4的侧壁402上,但是均需要满足米汤通道5实现将内胆1与米汤收集盒4之间形成连接相通的结构,米汤可以通过米汤通道5进入到米汤收集盒4内,可用于内胆1内的米汤向上涌起的时候能通过米汤通道5并进入到米汤收集盒4内,实现对米汤的收集效果。
其中,当米汤通道5位于底壁401上时,米汤通道5设置为相对底壁401向上凸起的中空结构,米汤通道5向上凸起可使得米汤收集盒4具有能盛放一定容量的米汤的容积,米汤通道5的中空结构可以为用于米汤通道5,中空结构的下端可与内胆1相通,中空结构的上端可与米汤收集盒4相通,米汤通过米汤通道5内部的中空结构进入到米汤收集盒4内即可。
优选的,米汤通道5为中空上下均开口的结构,如图2所示,或者米汤通道5为竖直上的中通结构,或者在米汤通道5的侧面设置通孔来使得米汤通道5与米汤收集盒4之间相通。
优选的,米汤通道5设置在米汤收集盒4上底壁401上的中部位置,或中部的中心位置,更有利于米汤向上涌起进入到米汤通道5内,因内胆1内米汤沸腾剧烈的地方一般为内胆1的中部区域位置,沸腾相对剧烈,米汤相对更容易向上涌起进入到米汤通道5内。
可选的,米汤收集盒4上至少设置有一个用于米汤进入的进米汤口403,如图2、3所示,米汤通道5的下端与内胆1相通,米汤通道5的上端与米汤收集盒4上的进米汤口403相通,为了实现米汤通道5与米汤收集盒4内部相通,可以在米汤收集盒4上设置进米汤口403,进米汤口403使得米汤通道5的上端与米汤收集盒4内部相通,米汤可以通过米汤通道5然后通过进米汤口403进入到米汤收集盒4内,同样的,进米汤口403可以直接设置米汤通道5的端面或侧面上,只需使得米汤通道5与进米汤口403相通即可。
为了进一步的限位安装米汤收集盒4,可以在煲体2上设置有用于卡接米汤收集盒4的卡扣结构,当米汤收集盒4安装在位时,煲体2与米汤收集盒4之间卡接相连;主要为在煲体2上设置卡筋,对应的在米汤收集盒4上设置卡槽,当米汤收集盒4放置在煲体2上时,卡筋卡接在卡槽内实现对米汤收集盒4的限位卡接固定,可进一步提高对米汤收集盒4的安装固定效果。
可选的,米汤收集盒4的下部与内胆1的上部之间设置为密封的结构,这样可防止米汤在向上涌起进入到米汤收集盒4的过程中溢出到煲体2外的问题发生;实现密封的主要结构为,在米汤收集盒4的下部与内胆1的上部之间设置有用于密封的密封件8,密封件8可以为软性材质制成的硅胶件,密封件8可以安装米汤收集盒4上,也可以安装在内胆1上,当米汤收集盒4安装放置在内胆1上时,实现米汤收集盒4与内胆1之间接触的部分密封,能稳定可靠的收集米汤。
米汤收集盒4安装在内胆1上的结构可以为,在内胆1的上部设置有外沿,当米汤收集盒4安装在位时,米汤收集盒4安装在内胆1的外沿上,内胆1的外沿实现对米汤收集盒4的支撑放置,并在米汤收集盒4与内胆1接触的位置设置密封件8来实现两者的密封结构,防止米汤在向上涌起进入到米汤收集盒4的过程中溢出到煲体2外的问题发生,可确保对米汤的稳定收集效果。
本方案的电路控制结构,煲体2内安装电路板,电路板上设置电源单元、控制器、计时单元,电路板与加热件3、温度传感器电性相连,控制器与加热件3电性相连来控制加热件3进行加热工作;电源单元用于供电,计时单元用于时间检测与设定,温度传感器用于检测内胆1的温度,一般将温度传感器安装在内胆1的底面,和/或将温度传感器安装在煲盖7上,可在煲盖7与煲体2之间安装相互供电的耦合器结构,实现电路板与煲盖7上的温度传感器或显示板之间的供电和电路控制;对于控制器控制加热件3的加热,内置工作程序即可,主要为控制加热件3执行开始加热、停止加热、加热时间、加热功率大小,整个电路可实现对蒸煮器的控制方法的电路控制,主要为控制加热件3的加热时间的长短、加热功率的大小的配合即可实现将米汤向上涌入到米汤收集盒4内。
针对制作低糖米饭,米汤和米在充分熬煮的过程中米中的部分淀粉分离出到米汤中形成米汤,米汤为浓稠的黏糊状态,米汤的浓度越高越容易向上涌起,且向上涌起的效果越好,米汤中含有较多的淀粉,米汤在加热加热件3持续加热的情况下充分涌起,因米汤的浓度大,米汤向上涌起的速度更快,且更容易向上涌起;同时容易形成米汤泡成片的向上涌起,米汤一部分形成米汤泡向上涌起,米汤泡可带走大量的米汤一起向上涌起,使得较多的米汤能够快速通过米汤通道5进入到米汤收集盒4内,通过控制加热件3的加热时间或功率的大小,可确保内胆1内的大部分米汤能够向上涌起进入到米汤收集盒4内,因此本方案的蒸煮器能更好的适用到制作低糖米饭中。
针对制作低糖米饭的过程,米汤收集盒4安装在位,蒸煮器启动工作,米位于内胆1内,水位于内胆1内,此时水淹没米的一部分或全部,加热件3加热使得水和米充分熬煮,在熬煮的过程中米中的部分淀粉分离出到米汤中形成米汤,在熬煮的过程中可轻微沸腾,沸腾的米汤泡较小,不会出现大量的米汤向上涌起进入到米汤通道5内,在熬煮一定的时间后,米中的部分淀粉充分分离出到水中后,米汤的浓度较高后,加热件3持续加热或增大功率加热使得内胆1内的米汤剧烈沸腾,米汤集中进入到米汤通道5内通过进米汤口403然后进入到米汤收集盒4内被收集,使得内胆1的一部分米汤向上涌起快速进入到米汤通道5内,此时内胆1底部内还留较少的一部分米汤,该部分米汤和米饭混合持续被加热制作成为低糖米饭,整个过程实现米汤和米饭的部分分离,水带走米中的部分淀粉形成的米汤被收集盛放在米汤收集盒4内,实现低糖米饭的制作。
具体地,如图7至图9所示,蒸煮器的第二种结构为,还包括蒸煮件6,蒸煮件6可拆卸的位于内胆1内,蒸煮件6上设置有多个用于沥米汤的沥米汤孔601,蒸煮器的其余结构与蒸煮器的第一种结构全部相同,具有相同的有益效果,且能取得更好的降淀粉含量的效果,可实现内胆1内的米饭和米汤的快速完全分离,制作出的低糖米饭含淀粉的含量更低。
主要结构为,蒸煮器包括蒸煮件6,蒸煮件6为平面结构或弧面结构,蒸煮件6也可以为与内胆1匹配的凹形结构,类似蒸笼的结构,蒸煮件6可拆卸的安装在内胆1内,可在内胆1内设置支撑蒸煮件6的凸沿即可,或者蒸煮件6直接受力支撑放置在内胆1的内壁侧面上,在蒸煮件6上设置有多个沥米汤孔601,沥米汤孔601的大小可使得米不能通过沥米汤孔601,以便起到对米饭的沥米汤效果,米汤可以穿过沥米汤孔601向上进入到米汤收集盒4内或向下沥到内胆1的下部,沥米汤孔601可以设置在蒸煮件6的底面和/或侧面上,只需实现蒸煮件6能盛放米饭且米汤能通过沥米汤孔601即可。
为了实现更好的收集米汤的效果且同时确保蒸煮器能制作出正常蒸煮器制作2L-6L的米饭的效果,通过设置蒸煮件6的端面到米汤收集盒4的底部端面的距离H1大于蒸煮件6的端面到内胆1的底部端面的距离H2,优选的,H1为H2的两倍以上;可实现内胆1内的大部分的高度空间区域可用于盛放米饭,内胆1内的下部的小部分的空间区域用于盛放米汤,其中大部分米汤向上涌起进入到米汤收集盒4内被收集,而少部分的米汤留在内胆1的下部区域内来实现内胆1内的米饭和米汤的完全分离,不仅实现了更好的收集米汤,还可确保充分利用内胆1的高度空间区域来盛放米饭,可实现正常蒸煮器制作2L-6L的米饭的效果。
针对制作低糖米饭的过程,蒸煮件6和米汤收集盒4安装在位,蒸煮器启动工作,米位于蒸煮件6上,水位于内胆1内,此时水淹没米的一部分或全部,加热件3加热使得水和米充分熬煮,在熬煮的过程中米中的部分淀粉分离出到米汤中形成米汤,在熬煮的过程中可轻微沸腾,沸腾的米汤泡较小,不会出现大量的米汤向上涌起进入到米汤通道5内,在熬煮一定的时间后,米中的部分淀粉充分分离出到水中后,米汤的浓度较高后,加热件3持续加热或增大功率加热使得内胆1内的米汤剧烈沸腾,米汤集中进入到米汤通道5内通过进米汤口403然后进入到米汤收集盒4内被收集,使得内胆1的一部分米汤向上涌起快速进入到米汤通道5内,此时内胆1底部内还留一小部分米汤,该部分米汤的水位低于蒸煮件6的底面,不会淹没蒸煮件6上的米饭,整个过程实现米汤和米饭的快速完全分离,蒸煮件6上盛放的米饭即为低糖米饭,水带走米中的部分淀粉形成的米汤分别盛放在米汤收集盒4内和内胆1下部的区域内,蒸煮件6上的米饭完全与米汤隔离开,实现低糖米饭的制作。
本方案的蒸煮件6结构简单,方便拆卸清洗,当本方案同时设置米汤收集盒4和蒸煮件6时,本方案不需要严格限制用户向内胆1内添加的水的水位高度以及水位与米的匹配高度,只需要设定一定高度的水位范围即可,在该范围内米饭和米汤能够快速完全分离,在内胆1底部和米汤收集盒4内可分别盛放内胆1内的米汤,可实现米汤和米饭的快速完全分离,米饭和米汤分离后,内胆1底部内的米汤的水位可低于蒸煮件6,不需要严格限制用户添加的水位,可实现米饭独立地位于蒸煮件6上被分离。
蒸煮器的第二种结构的其余结构与蒸煮器的第一种结构全部相同,具有相同的有益效果,且第二种结构能实现对蒸煮件6上的米饭进行蒸饭的效果,有利于提升低糖米饭的口感,还能取得更好的降淀粉含量的效果,可实现内胆1内的米饭和米汤的快速完全分离,制作出的低糖米饭含淀粉的含量更低。
本方案的蒸煮器的两种结构相对现有部分蒸煮器在内胆1上设置电磁阀来进行排米汤的蒸煮器的结构更简单,成本更低,只需要增加一个米汤收集盒4,或增加一个米汤收集盒4和一个蒸煮件6,并对应设置米汤通道5即可实现将内胆1内米汤和米饭进行快速分离的结构,极大的降低了可制作低糖米饭的蒸煮器的成本,且制作出的低糖米饭口感更好,降淀粉的含量的效果更好,有利于肥胖人士和糖尿病人士利用本方案的蒸煮器来制作低糖米饭食用,且能满足需要喝米汤的人群使用,在较大降低成本优势的前提下,有利于普及人们食用低糖米饭的健康饮食。
本方案的蒸煮器的两种结构,可实现蒸煮器的多功能的效果,当未安装米汤收集盒4和蒸煮件6时,蒸煮器可作为现有制作正常米饭的蒸煮器使用,即为不制作低糖米饭;当米汤收集盒4安装在位时,或者米汤收集盒4和蒸煮件6均安装在位时,蒸煮器可用于制作低糖米饭,具有多功能的效果。
当本方案只设置有米汤收集盒4时,或同时设置米汤收集盒4和蒸煮件6时,本方案不需要严格限制用户向内胆1内添加的水的水位高度以及水位与米的匹配高度,只需要设定一定高度的水位范围即可,在该范围内米饭和米汤能够快速完全分离,在内胆1底部和米汤收集盒4内可分别盛放内胆1内的米汤,可实现米汤和米饭的快速完全分离;其中,米饭和米汤完全分离后,内胆1底部内的米汤的水位可低于蒸煮件6,不需要严格限制用户添加的水位,可实现米饭独立地位于蒸煮件6上被分离。
工作原理:本方案的蒸煮器用于制作低糖米饭,主要通过设置米汤收集盒4来收集盛放米汤实现米饭和米汤的分离,水和米在内胆1内加热熬煮的过程中形成具有一定浓度的米汤,米汤中合有大量的淀粉,主要为米中的淀粉分离出到水中形成米汤,米汤在加热沸腾的状态下很容易向上涌起,且能成片的向上涌起,在涌起过程中能通过米汤通道5进入到米汤收集盒4内,实现米汤收集盒4对米汤的收集效果,米汤进入到米汤收集盒4内后即实现了内胆1内米饭和米汤的分离,其中当蒸煮器只设置有米汤收集盒4时,内胆1内的米汤和米饭部分分离;其中当蒸煮器同时设置有米汤收集盒4和蒸煮件6时,内胆1内的米汤和米饭能完全分离,米汤分别位于米汤收集盒4内和内胆1的下部内,米饭独立的位于蒸煮件6上,均可实现制作低糖米饭。
本领域的普通技术人员可以理解,上述各实施方式是实现本发明的具体实施例,而在实际应用中,可以在形式上和细节上对其作各种改变,而不偏离本发明的精神和范围,均在本发明的保护范围内。
Claims (10)
1.一种蒸煮器,包括:内胆,内胆位于煲体内,煲体内安装有用于加热的加热件,其特征在于:还包括用于收集米汤的米汤收集盒,米汤收集盒可拆卸地位于内胆的上方且至少部分位于煲体外,米汤收集盒的下部与内胆的上部之间设置为密封的结构;
还包括米汤通道,米汤通道位于内胆与米汤收集盒之间用于将内胆和米汤收集盒之间形成米汤可以通过的相通结构;
当加热件加热使得内胆内的米汤沸腾时,沸腾的米汤至少部分向上涌起进入到米汤通道内并进入到米汤收集盒内被收集盛放来使得内胆内的米饭和米汤之间分离。
2.根据权利要求1所述的一种蒸煮器,其特征在于:还包括蒸煮件,蒸煮件可拆卸的位于内胆内,蒸煮件上设置有多个用于沥米汤的沥米汤孔。
3.根据权利要求2所述的一种蒸煮器,其特征在于:蒸煮件的端面到米汤收集盒的底部端面的距离H1大于蒸煮件的端面到内胆的底部端面的距离H2。
4.根据权利要求1所述的一种蒸煮器,其特征在于:米汤收集盒可拆卸地位于内胆的上方,且至少米汤收集盒的上部位于煲体外。
5.根据权利要求1所述的一种蒸煮器,其特征在于:还包括煲盖,煲盖可拆卸的位于煲体的上方,当米汤收集盒安装在位时,米汤收集盒位于煲盖与煲体之间。
6.根据权利要求1所述的一种蒸煮器,其特征在于:米汤收集盒包括底壁和侧壁,米汤通道位于底壁上,和/或侧壁上。
7.根据权利要求6所述的一种蒸煮器,其特征在于:当米汤通道位于底壁上时,米汤通道设置为相对底壁向上凸起的中空结构。
8.根据权利要求1所述的一种蒸煮器,其特征在于:米汤收集盒上至少设置有一个用于米汤进入的进米汤口,米汤通道的下端与内胆相通,米汤通道的上端与米汤收集盒上的进米汤口相通。
9.根据权利要求1所述的一种蒸煮器,其特征在于:米汤收集盒的下部与内胆的上部之间设置有用于密封的密封件。
10.根据权利要求1-9任一项所述的一种蒸煮器,其特征在于:煲体上设置有用于卡接米汤收集盒的卡扣结构,当米汤收集盒安装在位时,煲体与米汤收集盒之间卡接相连。
Priority Applications (1)
| Application Number | Priority Date | Filing Date | Title |
|---|---|---|---|
| CN201911110440.1A CN110742489A (zh) | 2019-11-14 | 2019-11-14 | 一种蒸煮器 |
Applications Claiming Priority (1)
| Application Number | Priority Date | Filing Date | Title |
|---|---|---|---|
| CN201911110440.1A CN110742489A (zh) | 2019-11-14 | 2019-11-14 | 一种蒸煮器 |
Publications (1)
| Publication Number | Publication Date |
|---|---|
| CN110742489A true CN110742489A (zh) | 2020-02-04 |
Family
ID=69283209
Family Applications (1)
| Application Number | Title | Priority Date | Filing Date |
|---|---|---|---|
| CN201911110440.1A Pending CN110742489A (zh) | 2019-11-14 | 2019-11-14 | 一种蒸煮器 |
Country Status (1)
| Country | Link |
|---|---|
| CN (1) | CN110742489A (zh) |
Cited By (4)
| Publication number | Priority date | Publication date | Assignee | Title |
|---|---|---|---|---|
| WO2021174413A1 (zh) * | 2020-03-03 | 2021-09-10 | 深圳市润唐发明电器有限公司 | 煮饭装置 |
| CN113966959A (zh) * | 2020-07-22 | 2022-01-25 | 浙江绍兴苏泊尔生活电器有限公司 | 蒸笼及具有其的烹饪器具 |
| CN113966960A (zh) * | 2020-07-22 | 2022-01-25 | 浙江绍兴苏泊尔生活电器有限公司 | 蒸笼及具有其的烹饪器具 |
| JP2025096156A (ja) * | 2023-12-15 | 2025-06-26 | 佛山市▲順▼▲徳▼区美的▲電▼▲熱▼▲電▼器制造有限公司 | 調理器具の調理方法、調理器具及びコンピューター記憶媒体 |
Citations (10)
| Publication number | Priority date | Publication date | Assignee | Title |
|---|---|---|---|---|
| CN2146927Y (zh) * | 1992-12-21 | 1993-11-24 | 元增民 | 组合压力锅 |
| JP2006345969A (ja) * | 2005-06-14 | 2006-12-28 | Matsushita Electric Ind Co Ltd | 炊飯器 |
| CN204274122U (zh) * | 2014-12-19 | 2015-04-22 | 佛山市顺德区美的电热电器制造有限公司 | 电饭煲 |
| CN207544927U (zh) * | 2017-04-21 | 2018-06-29 | 佛山市顺德区美的电热电器制造有限公司 | 烹饪厨具盖体、烹饪厨具盖体组件和烹饪厨具 |
| CN208598138U (zh) * | 2018-03-19 | 2019-03-15 | 佛山市顺德区美的电热电器制造有限公司 | 烹饪厨具 |
| CN208658718U (zh) * | 2018-03-19 | 2019-03-29 | 佛山市顺德区美的电热电器制造有限公司 | 烹饪锅具 |
| CN208784369U (zh) * | 2018-05-28 | 2019-04-26 | 佛山市顺德区美的电热电器制造有限公司 | 电炖锅 |
| CN110353509A (zh) * | 2019-07-03 | 2019-10-22 | 九阳股份有限公司 | 一种烹饪器具 |
| CN110393426A (zh) * | 2019-07-12 | 2019-11-01 | 杭州匠龙机器人科技有限公司 | 一种蒸煮器 |
| CN211533899U (zh) * | 2019-11-14 | 2020-09-22 | 杭州匠龙机器人科技有限公司 | 一种蒸煮器 |
-
2019
- 2019-11-14 CN CN201911110440.1A patent/CN110742489A/zh active Pending
Patent Citations (10)
| Publication number | Priority date | Publication date | Assignee | Title |
|---|---|---|---|---|
| CN2146927Y (zh) * | 1992-12-21 | 1993-11-24 | 元增民 | 组合压力锅 |
| JP2006345969A (ja) * | 2005-06-14 | 2006-12-28 | Matsushita Electric Ind Co Ltd | 炊飯器 |
| CN204274122U (zh) * | 2014-12-19 | 2015-04-22 | 佛山市顺德区美的电热电器制造有限公司 | 电饭煲 |
| CN207544927U (zh) * | 2017-04-21 | 2018-06-29 | 佛山市顺德区美的电热电器制造有限公司 | 烹饪厨具盖体、烹饪厨具盖体组件和烹饪厨具 |
| CN208598138U (zh) * | 2018-03-19 | 2019-03-15 | 佛山市顺德区美的电热电器制造有限公司 | 烹饪厨具 |
| CN208658718U (zh) * | 2018-03-19 | 2019-03-29 | 佛山市顺德区美的电热电器制造有限公司 | 烹饪锅具 |
| CN208784369U (zh) * | 2018-05-28 | 2019-04-26 | 佛山市顺德区美的电热电器制造有限公司 | 电炖锅 |
| CN110353509A (zh) * | 2019-07-03 | 2019-10-22 | 九阳股份有限公司 | 一种烹饪器具 |
| CN110393426A (zh) * | 2019-07-12 | 2019-11-01 | 杭州匠龙机器人科技有限公司 | 一种蒸煮器 |
| CN211533899U (zh) * | 2019-11-14 | 2020-09-22 | 杭州匠龙机器人科技有限公司 | 一种蒸煮器 |
Cited By (5)
| Publication number | Priority date | Publication date | Assignee | Title |
|---|---|---|---|---|
| WO2021174413A1 (zh) * | 2020-03-03 | 2021-09-10 | 深圳市润唐发明电器有限公司 | 煮饭装置 |
| CN113966959A (zh) * | 2020-07-22 | 2022-01-25 | 浙江绍兴苏泊尔生活电器有限公司 | 蒸笼及具有其的烹饪器具 |
| CN113966960A (zh) * | 2020-07-22 | 2022-01-25 | 浙江绍兴苏泊尔生活电器有限公司 | 蒸笼及具有其的烹饪器具 |
| JP2025096156A (ja) * | 2023-12-15 | 2025-06-26 | 佛山市▲順▼▲徳▼区美的▲電▼▲熱▼▲電▼器制造有限公司 | 調理器具の調理方法、調理器具及びコンピューター記憶媒体 |
| JP7783956B2 (ja) | 2023-12-15 | 2025-12-10 | 佛山市▲順▼▲徳▼区美的▲電▼▲熱▼▲電▼器制造有限公司 | 調理器具の調理方法、調理器具及びコンピューター記憶媒体 |
Similar Documents
| Publication | Publication Date | Title |
|---|---|---|
| CN110742489A (zh) | 一种蒸煮器 | |
| CN105768850B (zh) | 一种电饭锅 | |
| CN109805740B (zh) | 一种蒸煮器的控制方法 | |
| CN106580115A (zh) | 蒸笼结构、电炊具及其控制方法 | |
| CN110367808B (zh) | 一种蒸煮器及其控制方法 | |
| CN211533899U (zh) | 一种蒸煮器 | |
| CN110367833B (zh) | 一种饭煲的控制方法 | |
| CN107252246A (zh) | 蒸汽锅 | |
| CN210989637U (zh) | 降糖电饭煲 | |
| CN110367834B (zh) | 一种饭煲 | |
| CN211270139U (zh) | 一种饭煲 | |
| CN208463629U (zh) | 一种米饭烹饪装置 | |
| CN110584491B (zh) | 一种饭煲 | |
| CN211242933U (zh) | 一种饭煲 | |
| CN210989764U (zh) | 一种饭煲 | |
| CN211269919U (zh) | 一种蒸煮器 | |
| CN211269920U (zh) | 一种内锅及其蒸煮器 | |
| CN210989613U (zh) | 一种内胆组件及其饭煲 | |
| CN210989749U (zh) | 一种米汤收集盒及其饭煲 | |
| CN210989647U (zh) | 一种内胆组件及其蒸煮器 | |
| CN210989762U (zh) | 一种米汤盒及其饭煲 | |
| CN109316070B (zh) | 蒸笼结构及具有其的电饭煲 | |
| CN110558850B (zh) | 一种饭煲 | |
| CN206365721U (zh) | 一种虹吸火锅装置 | |
| CN211269921U (zh) | 一种饭煲 |
Legal Events
| Date | Code | Title | Description |
|---|---|---|---|
| PB01 | Publication | ||
| PB01 | Publication | ||
| SE01 | Entry into force of request for substantive examination | ||
| SE01 | Entry into force of request for substantive examination |