CN101844323A - Horizontal glass straight-line four-side grinding wheel type edge grinding machine - Google Patents

Horizontal glass straight-line four-side grinding wheel type edge grinding machine Download PDF

Info

Publication number
CN101844323A
CN101844323A CN 201010138503 CN201010138503A CN101844323A CN 101844323 A CN101844323 A CN 101844323A CN 201010138503 CN201010138503 CN 201010138503 CN 201010138503 A CN201010138503 A CN 201010138503A CN 101844323 A CN101844323 A CN 101844323A
Authority
CN
China
Prior art keywords
assembly
grinding wheel
glass
system assembly
assembled
Prior art date
Legal status (The legal status is an assumption and is not a legal conclusion. Google has not performed a legal analysis and makes no representation as to the accuracy of the status listed.)
Granted
Application number
CN 201010138503
Other languages
Chinese (zh)
Other versions
CN101844323B (en
Inventor
曾瑞
曾钊
朱根梨
Current Assignee (The listed assignees may be inaccurate. Google has not performed a legal analysis and makes no representation or warranty as to the accuracy of the list.)
EKANG TENON (BEIJING) EQUIPMENT Co Ltd
TENON (BEIJING) EQUIPMENT CO Ltd
Original Assignee
EKANG TENON (BEIJING) EQUIPMENT Co Ltd
TENON (BEIJING) EQUIPMENT CO Ltd
Priority date (The priority date is an assumption and is not a legal conclusion. Google has not performed a legal analysis and makes no representation as to the accuracy of the date listed.)
Filing date
Publication date
Application filed by EKANG TENON (BEIJING) EQUIPMENT Co Ltd, TENON (BEIJING) EQUIPMENT CO Ltd filed Critical EKANG TENON (BEIJING) EQUIPMENT Co Ltd
Priority to CN2010101385037A priority Critical patent/CN101844323B/en
Publication of CN101844323A publication Critical patent/CN101844323A/en
Application granted granted Critical
Publication of CN101844323B publication Critical patent/CN101844323B/en
Expired - Fee Related legal-status Critical Current
Anticipated expiration legal-status Critical

Links

Images

Landscapes

  • Grinding And Polishing Of Tertiary Curved Surfaces And Surfaces With Complex Shapes (AREA)

Abstract

本发明的目的在于提供一种卧式玻璃直线四边砂轮式磨边机,该磨边机通过改变砂轮与玻璃的磨削点的结构设计,减少砂轮的浪费和提高砂轮的使用寿命,通过吸盘传动的结构设计,避免磨削时玻璃的压伤和划伤现象,提高传动精确,玻璃大小规格不一致时,不需要调整,一次成型八条棱边的玻璃磨边任务。

Figure 201010138503

The object of the present invention is to provide a horizontal glass linear four-side grinding wheel type edging machine, which reduces the waste of the grinding wheel and improves the service life of the grinding wheel by changing the structural design of the grinding point between the grinding wheel and the glass, and is driven by a suction cup. The unique structural design avoids crushing and scratching of the glass during grinding, improves transmission accuracy, and does not need to be adjusted when the size of the glass is inconsistent.

Figure 201010138503

Description

Horizontal glass straight-line four-side grinding wheel type edge grinding machine
Technical field
The invention belongs to mechanical field, relate to a kind of glass edge-grinding machine, relate in particular to a kind of horizontal straight-line four-side grinding wheel type glass edge-grinding machine.
Background technology
Cut back reprocessing, particularly tempering, doubling in order to satisfy former sheet glass, the needs of secondary operations such as hollow, nearly all glass all needs to carry out edging before formally becoming product or secondary operations handles, and just according to the application difference, the method for edging is different with requirement.Edging is in order to satisfy: safety, anti-ly break, multiple requirement such as attractive in appearance, size.Edging come to divide from method of work to be had manual and two kinds of machineries, manual edging refer to manually hand-held edger unit or instrument to glass through row grinding operation, also comprise the grinding operation that artificial hand-held glass is undertaken by edger unit.The machinery edging refers to that glass enters the grinding operation that edger unit is realized by transmitting device.Profile according to processed glass is divided into straight line edging and special-shaped edging again, the glass edging of straight line edging limit rectangle, and the glass edging beyond the rectangle is special-shaped edging.Also be divided into two kinds of abrasive belt edging and grinding wheel type edgings according to the material of edging.The abrasive belt edging is based on manual edging.
Existing grinding wheel type straight line edge polisher has two kinds of vertical glass linear edge polisher and the bilateral edge polishers of horizontal glass straight-line, these two kinds of methods all can't realize four limits of rectangle glass are processed at one time, the former can only carry out the grinding operation to glass monolateral,, it is 200620085825.9 utility model patent that artificial then transposition is processed as the patent No. successively to other each limits.When batch machining, often need four machines to use continuously and could arrive production efficiency, but need several a dead lift glass, and the high occupation of land of cost of equipment is big.Though the glass edge-grinding machine that the patent No. is 2008201475703 utility model patent to be announced adopts numerical control equipment, but still glass four limits can not be processed at one time.
Bilateral mill improves a lot than vertical straight line mill can finish bilateral edging operation simultaneously, but still can't finish the operation simultaneously of four limits, but still needs two just implementation efficiency productions in parallel during batch machining.And this machine is changed the processing work specification at every turn and is needed the artificial machine of adjusting, and wastes time and energy.In addition because the glass conveying is to lean on last synchronous band and synchronous down band to push conveying, the particle that grinding is got off can scratch the glass face together with synchronous band, (a kind of is the novel energy-conserving product of rete with silver when particularly processing the LOW-E coated glass, its surface is responsive especially), in case rete destruction full wafer glass all can oxidation.
Summary of the invention
In order to overcome the above problems, the invention provides a kind of horizontal glass straight-line four-side grinding wheel type edge grinding machine, this edge polisher is by the structural design of the grinding points of change emery wheel and glass, reduce the waste of emery wheel and the service life of improving emery wheel, by the structural design of sucker transmission, glass weighs and scratches phenomenon wounded when avoiding grinding, it is accurate to improve transmission, when the glass size specification is inconsistent, do not need to adjust the glass edging task of eight seamed edges of one-shot forming.
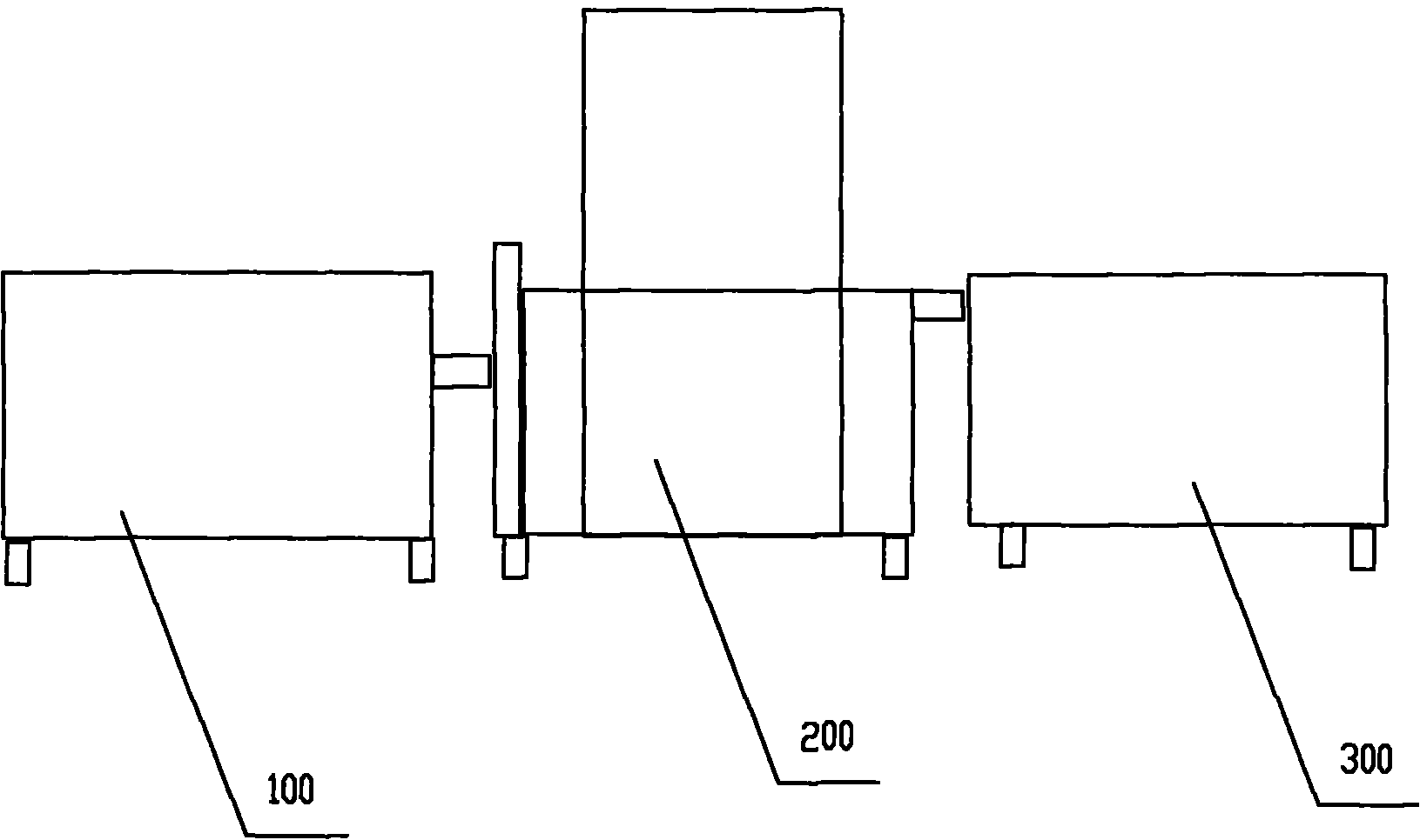
To achieve these goals, the present invention adopts following scheme: described horizontal glass straight-line four-side grinding wheel type edge grinding machine comprises chip system assembly, edging system assembly and following chip system assembly, wherein go up chip system assembly, edging system assembly and following chip system assembly and link to each other in proper order, its spacing in one line is 30-50mm.The working depth of the sucker in the working depth of the live-roller in the last chip system assembly and the edging system assembly and the working depth of the live-roller in the chip system assembly is consistent down, gear wheel and the gear wheel in the edging system assembly in the last chip system assembly are straight line.
The described chip system assembly of going up is made up of last horse assembly, last slice induction system assembly and safety guard.Last slice induction system assembly is assembled on the horse assembly, and safety guard is assembled in horse assembly both sides.
Wherein, last slice induction system assembly comprises live-roller and motor reducer, and motor reducer drives the live-roller rotation by chain drive, live-roller is provided with gear wheel, when the glass level is advanced or retreated, because live-roller is the worm drive roller, so glass can be close to gear wheel.
Wherein, safety guard is assembled in horse assembly both sides, prevents that live-roller from weighing hand wounded when rotating.
Described edging system assembly is made up of body frame assembly, sucker delivery assembly and bistrique assembly, wherein the sucker delivery assembly is assembled in above the body frame assembly, front and back symmetry assembling, the bistrique assembly is assembled in middle part above the body frame assembly, repair the angle assembly and be assembled in body frame assembly upper back, water receiving tank is assembled in body frame assembly middle part.
Further, the sucker delivery assembly comprises sucker conveying motor, sucker conveyer belt, conveyer belt, rotation bistrique, bistrique conveying motor, emery wheel, rotating seat and base bistrique.
Described chip system assembly down is made up of last horse assembly, following sheet induction system assembly and safety guard.Following sheet induction system assembly is assembled in down on the horse assembly, and water receiving tank 2 is assembled in down horse assembly front end, and safety guard is assembled in down horse assembly both sides.
Compared with prior art, the invention has the advantages that:
1. can once finish the glass grinding of totally eight faceted pebbles of glass four edges, increase work efficiency greatly;
2. the control system of automation makes glass size need not manually to adjust equipment when changing, and bistrique carries out adjustment work automatically according to the glass profile;
3. what possess glass repaiies the angle function;
4. the structural design by the sucker transmission, when avoiding grinding to LOW-E glass weigh and scratch phenomenon wounded, improved the yield rate of product.
Description of drawings
Fig. 1 is that the integral body of a kind of horizontal glass straight-line four-side grinding wheel type edge grinding machine of the present invention is formed structure chart;
Fig. 2 is the last chip system assembly structure schematic diagram of edge polisher of the present invention;
Fig. 3 is the edging system assembly structure schematic diagram of edge polisher of the present invention;
Fig. 4 is the following chip system assembly structure schematic diagram of edge polisher of the present invention.
Wherein, 100-slice system synthesis, 200-edging system assembly, the last chip system assembly of 300-, the 301-motor reducer, the last horse assembly of 302-, last induction system assembly of 303-, the 304-chain drive, the 306-live-roller, 307-, the 308-safety guard, the 309-gear wheel, 201-body frame assembly, 202-bistrique assembly, 203-repaiies the angle assembly, the 204-water receiving tank, 206-sucker delivery assembly, the 2061-sucker is carried motor reducer, 2062-sucker conveyer belt, 2063-rotates bistrique, the 2064-bistrique is carried motor, the 2065-emery wheel, the 2066-rotating seat, 2067-base bistrique, horse assembly under the 101-, sheet induction system assembly under the 102-, sheet safety guard under the 103-, sheet motor reducer under the 104-, sheet chain drive under the 105-, sheet live-roller under the 106-, the 107-air knife.
The specific embodiment
Below in conjunction with the drawings and specific embodiments the present invention is described in further detail, but not as a limitation of the invention.
Embodiment 1: a kind of horizontal glass straight-line four-side grinding wheel type edge grinding machine comprises slice system synthesis 100, edging system assembly 200 and last chip system assembly 300, referring to as shown in Figure 1, last chip system assembly 300, edging system assembly 200 and the following chip system assembly 100 1 words row that links to each other in proper order, opening its spacing is 30-50mm, wherein go up the live-roller 306 in the chip system assembly 300, the working depth of live-roller 106 threes in sucker system synthesis 206 in the edging system assembly 200 and the following chip system assembly is consistent, and the gear wheel 309 in the last chip system assembly is a straight line with the gear wheel 209 in the edging system assembly.
Further, last chip system assembly 300 is made up of last horse assembly 302, last slice induction system assembly 303 and safety guard 308.Last slice induction system assembly 303 is assembled on the horse assembly 302, and safety guard 308 is assembled in horse assembly 302 both sides.
Wherein, last slice induction system assembly 303 comprises live-roller 306 and motor reducer 301, and motor reducer 301 drives live-roller 306 rotations by chain drive 304, live-roller 306 is provided with gear wheel 309, when the glass level is advanced or retreated, because live-roller 306 is for the worm drive roller, so glass can be close to gear wheel 309.
Wherein, safety guard 308 is assembled in horse assembly 302 both sides, prevents that live-roller 306 from weighing hand wounded when rotating.
When glass lies on the live-roller 306, motor reducer 301 rotates, and drives live-rollers 306 rotations by chain drive 304, thereby makes the glass level advance or retreat, and glass can be close to gear wheel 306 and advance.Glass is sent on the edging system assembly 200 by last chip system assembly 300.
Described edging system assembly 200 comprises body frame assembly 201, sucker delivery assembly 206 and bistrique assembly 202 compositions, wherein sucker delivery assembly 206 is assembled in above the body frame assembly 201, front and back symmetry assembling, bistrique assembly 202 is assembled in middle part above the body frame assembly 201, and, described edging system assembly 200 also comprises repaiies angle assembly and water receiving tank 204, repaiies angle assembly 203 and is assembled in body frame assembly 201 upper backs, and water receiving tank 204 is assembled in body frame assembly 201 middle parts.
Wherein, sucker delivery assembly 206 comprises sucker conveying motor reducer 2061, sucker conveyer belt 2062, rotation bistrique 2063, bistrique conveying motor 2064, emery wheel 2065, rotating seat 2066 and base bistrique 2067.Sucker carries motor reducer 2061 to rotate, sucker conveyer belt 2062 rotates, sucker conveyer belt 2062 inner chamber vavuum pumps are opened simultaneously, glass and sucker conveyer belt 2062 are attached together, prevent glass when transmission and grinding, take place about and the front and back offset phenomena, glass is transported to apart from rotation bistrique 2,063 six, locate more than seven millimeters, bistrique carries motor reducer 2064 to rotate, advance by synchronous driven rotary bistrique 2063, in the process of advancing under the promotion of cylinder, emery wheel 2065 contacts with last group of seamed edge of glass matrix, thereby emery wheel 2065 high speed rotating realize the process of grinding seamed edge.After last group of seamed edge grinding is intact, bistrique carries motor 2064 reductors to stop, rotating seat 2066 turns clockwise 90 °, rotation bistrique 2063 is along with also turning clockwise 90 °, simultaneously under the pulling of cylinder, base bistrique 2067 advances apart from six, seven millimeters places of glass, sucker carries motor reducer 2062 to rotate, glass moves forward thereupon, meanwhile rotate bistrique 2063 and base bistrique 2067, the group seamed edge contact with end group seamed edge on emery wheel 2065 under the promotion of cylinder and glass matrix, thus the process of emery wheel 2065 high speed rotating realization grinding seamed edge.After two groups of seamed edge grindings simultaneously are intact, sucker carries motor reducer 2061 to stop, rotating seat 2066 turns clockwise 90 ° again, rotate bistrique 2066 along with turning clockwise 90 ° again, simultaneously, under the promotion of cylinder, base bistrique 2067 is away from the glass base, bistrique is carried the counter-rotating of motor 2064 reductors, in the process of advancing under the promotion of cylinder emery wheel 2065 contact with back one group of seamed edge of glass matrix, thereby the process of emery wheel 2065 high speed rotating realization grinding seamed edge.After the one group of seamed edge grinding in back was intact, sucker was carried motor reducer 2061 rotations, and sucker conveyer belt 2062 is transported to out glass on the chip system 100, and rotating seat 2066 is rotated counterclockwise 180 °, and rotation bistrique 2063 returns to the home position and waits for next sheet glass.
Further, when grinding method runs to emery wheel 2065 width middle part when one jiao in glass matrix face, contact with seamed edge on the glass matrix at emery wheel 2065 under the promotion of cylinder, bistrique carries motor 2064 to start simultaneously, drive emery wheel 2065 clockwise high speed rotating by belt, the glass conveying of advancing, emery wheel 2065 partly grind away glass edge; When the glass matrix face runs to emery wheel 2065 width middle part, emery wheel 2065 contacts with the following seamed edge of glass matrix under the promotion of cylinder, bistrique carries motor 2064 to start simultaneously, drive emery wheel 2065 counterclockwise high speed rotating by belt, the glass conveying of advancing, emery wheel 2065 partly grind away glass edge.
Further, following chip system assembly 100 is by horse assembly 101, following sheet induction system assembly 102 and following sheet safety guard 103 are formed down.Referring to Fig. 4, following sheet motor reducer 104 rotates, and drives sheet live-roller 106 rotations down by sheet chain drive 105 down, thereby makes the glass level advance or retreat.Glass is by air knife 107 places, and the wind of air knife 107 blows to water on glass in the water receiving tank 204, and when avoiding transmission, water on glass flows everywhere.Following sheet safety guard 103 is assembled in down horse assembly both sides, prevents that live-roller from weighing hand wounded when rotating.
The above; only be the specific embodiment among the present invention, but protection scope of the present invention is not limited thereto, anyly is familiar with the people of this technology in the disclosed technical scope of the present invention; conversion or the replacement expected can be understood, all of the present invention comprising within the scope should be encompassed in.Therefore, protection scope of the present invention should be as the criterion with the protection domain of claims.

Claims (7)

1.一种卧式直线四边砂轮式玻璃磨边机,包括上片系统总成(300)、磨边系统总成(200)和下片系统总成(100),上片系统总成(300)、磨边系统总成(200)和下片系统(100)总成顺序相连,其特征在于:所述磨边系统总成(200)由主架总成(201)、吸盘输送总成(206)和磨头总成(202)组成,其中吸盘输送总成(206)组装在主架总成(201)上面,前后对称,磨头总成(202)组装在主架总成上表面中部。1. A horizontal straight line four-side grinding wheel type glass edging machine, comprising an upper sheet system assembly (300), an edging system assembly (200) and a lower sheet system assembly (100), an upper sheet system assembly (300 ), the edging system assembly (200) and the lower film system (100) assembly are sequentially connected, and it is characterized in that: the edging system assembly (200) is composed of a main frame assembly (201), a suction cup conveying assembly ( 206) and the grinding head assembly (202), wherein the suction cup conveying assembly (206) is assembled on the main frame assembly (201), symmetrical front and rear, and the grinding head assembly (202) is assembled on the middle part of the upper surface of the main frame assembly . 2.根据权利要求1所述的一种卧式直线四边砂轮式玻璃磨边机,其特征在于:所述上片系统总成(300)包括上片架总成(302)、上片输送系统总成(303)和安全罩(308),其中上片输送系统总成(303)组装在上片架总成(302)上,安全罩(308)组装在上片架总成(302)两侧。2. A horizontal linear four-side grinding wheel glass edging machine according to claim 1, characterized in that: the loading system assembly (300) includes a loading rack assembly (302), a loading conveying system assembly (303) and safety cover (308), wherein the upper film conveying system assembly (303) is assembled on the upper film rack assembly (302), and the safety cover (308) is assembled on the upper film rack assembly (302) side. 3.根据权利要求2所述一种卧式直线四边砂轮式玻璃磨边机,其特征在于:上片输送系统总成(303)包括传动辊(306)和电机减速机(301),并且电机减速机(301)通过链条传动(304)带动传动辊(306)旋转,传动辊(306)上设有挡轮(309)。3. A horizontal linear four-side grinding wheel glass edging machine according to claim 2, characterized in that: the upper sheet conveying system assembly (303) includes a transmission roller (306) and a motor reducer (301), and the motor The speed reducer (301) drives the transmission roller (306) to rotate through the chain transmission (304), and the transmission roller (306) is provided with a retaining wheel (309). 4.根据权利要求3所述的一种卧式直线四边砂轮式玻璃磨边机,其特征在于:安全罩(308)组装在上片架总成(302)两侧。4. A horizontal linear four-side grinding wheel glass edging machine according to claim 3, characterized in that the safety cover (308) is assembled on both sides of the upper film holder assembly (302). 5.根据权利要求4所述的一种卧式直线四边砂轮式玻璃磨边机,其特征在于:吸盘输送总成(206)包括吸盘输送电机减速机(2061)、吸盘输送带(2062)、旋转磨头(2063)、磨头输送电机(2064)、磨轮(2065)、旋转座(2066)和底边磨头(2067),其中吸盘输送电机减速机(2061)带动吸盘输送带(2062),其中吸盘输送电机减速机(2061)连接吸盘输送带(2062),磨头输送电机(2064)连接旋转磨头(2063),磨轮(2065)安装在旋转磨头(2063)上。5. A horizontal linear four-side grinding wheel glass edging machine according to claim 4, characterized in that: the suction cup conveying assembly (206) includes a suction cup conveying motor reducer (2061), a suction cup conveyor belt (2062), Rotary grinding head (2063), grinding head conveying motor (2064), grinding wheel (2065), rotating seat (2066) and bottom edge grinding head (2067), wherein the suction cup conveying motor reducer (2061) drives the suction cup conveyor belt (2062) , wherein the sucker conveying motor reducer (2061) is connected to the sucker conveyor belt (2062), the grinding head conveying motor (2064) is connected to the rotating grinding head (2063), and the grinding wheel (2065) is installed on the rotating grinding head (2063). 6.根据权利要求5所述的一种卧式直线四边砂轮式玻璃磨边机,其特征在于:下片系统(100)包括下片架总成(101)、下片输送系统总成(102)和下片安全罩(103)组成,其中下片输送系统总成(102)组装在下片架总成(101)上,下片安全罩(103)组装在下片架总成(101)两侧。6. A horizontal linear four-side grinding wheel glass edging machine according to claim 5, characterized in that: the unloading system (100) includes the unloading rack assembly (101), the unloading conveying system assembly (102 ) and the lower film safety cover (103), wherein the lower film conveying system assembly (102) is assembled on the lower film frame assembly (101), and the lower film safety cover (103) is assembled on both sides of the lower film frame assembly (101) . 7.根据权利要求2至6所述的任一种卧式直线四边砂轮式玻璃磨边机,其特征在于:上片系统总成(300)、磨边系统总成(200)和下片系统(100)一字排开,其间距为30-50mm。7. The horizontal linear four-side grinding wheel glass edging machine according to any one of claims 2 to 6, characterized in that: the upper sheet system assembly (300), the edging system assembly (200) and the lower sheet system (100) are lined up, and its spacing is 30-50mm.
CN2010101385037A 2010-04-02 2010-04-02 Horizontal glass linear four-sided grinding wheel type edging machine Expired - Fee Related CN101844323B (en)

Priority Applications (1)

Application Number Priority Date Filing Date Title
CN2010101385037A CN101844323B (en) 2010-04-02 2010-04-02 Horizontal glass linear four-sided grinding wheel type edging machine

Applications Claiming Priority (1)

Application Number Priority Date Filing Date Title
CN2010101385037A CN101844323B (en) 2010-04-02 2010-04-02 Horizontal glass linear four-sided grinding wheel type edging machine

Publications (2)

Publication Number Publication Date
CN101844323A true CN101844323A (en) 2010-09-29
CN101844323B CN101844323B (en) 2012-07-11

Family

ID=42769234

Family Applications (1)

Application Number Title Priority Date Filing Date
CN2010101385037A Expired - Fee Related CN101844323B (en) 2010-04-02 2010-04-02 Horizontal glass linear four-sided grinding wheel type edging machine

Country Status (1)

Country Link
CN (1) CN101844323B (en)

Cited By (13)

* Cited by examiner, † Cited by third party
Publication number Priority date Publication date Assignee Title
CN102189462A (en) * 2011-03-30 2011-09-21 广东亿海机械制造有限公司 Edging mechanism of glass edging machine
CN102189461A (en) * 2011-03-30 2011-09-21 广东亿海机械制造有限公司 Full-automatic horizontal type glass four-side straight line edging machine
CN102225523A (en) * 2011-03-30 2011-10-26 广东亿海机械制造有限公司 Conveying system of glass edge-grinding machine
CN102248458A (en) * 2011-08-30 2011-11-23 王燕 Ceramic edge grinding machine
CN102528604A (en) * 2012-02-08 2012-07-04 曾钊 Horizontal type straight line four-side grinding wheel type glass chamfering machine
CN103223632A (en) * 2013-04-15 2013-07-31 王世强 Full-automatic four-edge linear refining mill for glass
CN103302565A (en) * 2013-05-23 2013-09-18 利江特能(北京)设备有限公司 Edge grinding machine for four straight edges of horizontal glass and glass edge grinding method
CN105881141A (en) * 2016-04-15 2016-08-24 东莞市亚龙玻璃机械有限公司 A four-sided bottom edge edging machine
CN107179755A (en) * 2017-04-28 2017-09-19 中建材(宜兴)新能源有限公司 A kind of photovoltaic glass deep processing annealing furnace production control system in parallel
CN110587421A (en) * 2019-08-27 2019-12-20 佛山登奇机电技术有限公司 Chamfering method for right-angle plate
CN111993206A (en) * 2020-08-19 2020-11-27 安徽荣程玻璃制品有限公司 Corner polishing device for glass processing
CN113211301A (en) * 2021-05-18 2021-08-06 肖冬妮 Substrate glass positioning and grinding device and processing technology thereof
CN113977389A (en) * 2021-11-05 2022-01-28 安徽省华耀玻璃有限公司 Automatic angle regulation's cavity glass straight line edging machine

Citations (6)

* Cited by examiner, † Cited by third party
Publication number Priority date Publication date Assignee Title
JP2731841B2 (en) * 1995-03-06 1998-03-25 株式会社シギヤ精機製作所 Glass transport device in plate glass edge polishing machine
US20020046919A1 (en) * 2000-06-30 2002-04-25 Davide Gariglio Assembly for supporting and retaining sheets of glass, particularly in a machine for machining the said sheets of glass
CN1431976A (en) * 2000-03-23 2003-07-23 坂东机工株式会社 Method and device for processing glass pane
KR100771396B1 (en) * 2006-03-29 2007-10-30 주식회사 엔씨비네트웍스 Variable Polishing Machine
US20090081930A1 (en) * 2007-09-21 2009-03-26 For.El. Base Di Vianello Fortunato & C. S.N.C. Automatic machine and automatic method for grinding the perimetric edge of glass sheets
CN201619014U (en) * 2010-04-02 2010-11-03 北京特能设备有限公司 Horizontal glass linear four-sided grinding wheel type edging machine

Patent Citations (6)

* Cited by examiner, † Cited by third party
Publication number Priority date Publication date Assignee Title
JP2731841B2 (en) * 1995-03-06 1998-03-25 株式会社シギヤ精機製作所 Glass transport device in plate glass edge polishing machine
CN1431976A (en) * 2000-03-23 2003-07-23 坂东机工株式会社 Method and device for processing glass pane
US20020046919A1 (en) * 2000-06-30 2002-04-25 Davide Gariglio Assembly for supporting and retaining sheets of glass, particularly in a machine for machining the said sheets of glass
KR100771396B1 (en) * 2006-03-29 2007-10-30 주식회사 엔씨비네트웍스 Variable Polishing Machine
US20090081930A1 (en) * 2007-09-21 2009-03-26 For.El. Base Di Vianello Fortunato & C. S.N.C. Automatic machine and automatic method for grinding the perimetric edge of glass sheets
CN201619014U (en) * 2010-04-02 2010-11-03 北京特能设备有限公司 Horizontal glass linear four-sided grinding wheel type edging machine

Cited By (18)

* Cited by examiner, † Cited by third party
Publication number Priority date Publication date Assignee Title
CN102189462A (en) * 2011-03-30 2011-09-21 广东亿海机械制造有限公司 Edging mechanism of glass edging machine
CN102189461A (en) * 2011-03-30 2011-09-21 广东亿海机械制造有限公司 Full-automatic horizontal type glass four-side straight line edging machine
CN102225523A (en) * 2011-03-30 2011-10-26 广东亿海机械制造有限公司 Conveying system of glass edge-grinding machine
CN102248458A (en) * 2011-08-30 2011-11-23 王燕 Ceramic edge grinding machine
CN102528604A (en) * 2012-02-08 2012-07-04 曾钊 Horizontal type straight line four-side grinding wheel type glass chamfering machine
CN102528604B (en) * 2012-02-08 2015-04-22 曾钊 Horizontal type straight line four-side grinding wheel type glass chamfering machine
CN103223632A (en) * 2013-04-15 2013-07-31 王世强 Full-automatic four-edge linear refining mill for glass
CN103302565A (en) * 2013-05-23 2013-09-18 利江特能(北京)设备有限公司 Edge grinding machine for four straight edges of horizontal glass and glass edge grinding method
CN105881141A (en) * 2016-04-15 2016-08-24 东莞市亚龙玻璃机械有限公司 A four-sided bottom edge edging machine
CN105881141B (en) * 2016-04-15 2018-12-07 东莞市亚龙玻璃机械有限公司 Four sides base edging machine
CN107179755A (en) * 2017-04-28 2017-09-19 中建材(宜兴)新能源有限公司 A kind of photovoltaic glass deep processing annealing furnace production control system in parallel
CN107179755B (en) * 2017-04-28 2018-11-13 中建材(宜兴)新能源有限公司 A kind of photovoltaic glass deep processing annealing furnace parallel connection production control system
CN110587421A (en) * 2019-08-27 2019-12-20 佛山登奇机电技术有限公司 Chamfering method for right-angle plate
CN110587421B (en) * 2019-08-27 2021-05-11 佛山登奇机电技术有限公司 Chamfering method for right-angle plate
CN111993206A (en) * 2020-08-19 2020-11-27 安徽荣程玻璃制品有限公司 Corner polishing device for glass processing
CN111993206B (en) * 2020-08-19 2022-06-14 安徽荣程玻璃制品有限公司 Corner polishing device for glass processing
CN113211301A (en) * 2021-05-18 2021-08-06 肖冬妮 Substrate glass positioning and grinding device and processing technology thereof
CN113977389A (en) * 2021-11-05 2022-01-28 安徽省华耀玻璃有限公司 Automatic angle regulation's cavity glass straight line edging machine

Also Published As

Publication number Publication date
CN101844323B (en) 2012-07-11

Similar Documents

Publication Publication Date Title
CN101844323B (en) Horizontal glass linear four-sided grinding wheel type edging machine
CN102189461A (en) Full-automatic horizontal type glass four-side straight line edging machine
CN102107382A (en) Numerical control glass chamfering machine
CN101774144A (en) Automatic burnishing and polishing machine for stone sidelines
CN102189462A (en) Edging mechanism of glass edging machine
CN201619014U (en) Horizontal glass linear four-sided grinding wheel type edging machine
CN112428065A (en) Automatic beveler of saw blade
CN104149000A (en) Plate sander
CN203266328U (en) Full-automatic glass four-side-straight-line fine grinding machine
CN202088051U (en) Full automatic horizontal type linear edge grinding machine for four edges of glass
CN215775429U (en) Semi-automatic mushroom root shearing machine
CN203156500U (en) A multi-functional fast four-side edging machine
CN204843794U (en) Magnetic shoe outer arc step automatic grinding device
CN102992032A (en) A pallet-type linear conveying turntable and its control method
CN103223632A (en) Full-automatic four-edge linear refining mill for glass
CN109176205A (en) A kind of vehicle steering wheel polishing processing unit (plant)
CN102225523A (en) Conveying system of glass edge-grinding machine
CN103302560A (en) Automatic conveying circular pipe grinding machine
CN201979365U (en) Numerical control glass chamfering machine
CN105290932A (en) Sheet material sanding machine
CN111893700A (en) Efficient jeans equipment of polishing
CN207058255U (en) Glass edger
CN205870639U (en) Solar module edging machine
CN212096512U (en) High-precision PVC (polyvinyl chloride) plate cutting machine
CN201604227U (en) Swing-type diamond grinding wheel mechanism of disk thicknessing machine

Legal Events

Date Code Title Description
C06 Publication
PB01 Publication
C10 Entry into substantive examination
SE01 Entry into force of request for substantive examination
C14 Grant of patent or utility model
GR01 Patent grant
CF01 Termination of patent right due to non-payment of annual fee

Granted publication date: 20120711

CF01 Termination of patent right due to non-payment of annual fee