WO2022158357A1 - マスター原盤及び金属成形物の製造方法 - Google Patents

マスター原盤及び金属成形物の製造方法 Download PDF

Info

Publication number
WO2022158357A1
WO2022158357A1 PCT/JP2022/000781 JP2022000781W WO2022158357A1 WO 2022158357 A1 WO2022158357 A1 WO 2022158357A1 JP 2022000781 W JP2022000781 W JP 2022000781W WO 2022158357 A1 WO2022158357 A1 WO 2022158357A1
Authority
WO
WIPO (PCT)
Prior art keywords
master
product
pattern
area
dummy
Prior art date
Legal status (The legal status is an assumption and is not a legal conclusion. Google has not performed a legal analysis and makes no representation as to the accuracy of the status listed.)
Ceased
Application number
PCT/JP2022/000781
Other languages
English (en)
French (fr)
Japanese (ja)
Inventor
朋一 梅澤
Current Assignee (The listed assignees may be inaccurate. Google has not performed a legal analysis and makes no representation or warranty as to the accuracy of the list.)
Fujifilm Corp
Original Assignee
Fujifilm Corp
Priority date (The priority date is an assumption and is not a legal conclusion. Google has not performed a legal analysis and makes no representation as to the accuracy of the date listed.)
Filing date
Publication date
Application filed by Fujifilm Corp filed Critical Fujifilm Corp
Priority to JP2022576623A priority Critical patent/JPWO2022158357A1/ja
Priority to EP22742479.3A priority patent/EP4283022A4/en
Publication of WO2022158357A1 publication Critical patent/WO2022158357A1/ja
Priority to US18/346,877 priority patent/US20230357943A1/en
Anticipated expiration legal-status Critical
Ceased legal-status Critical Current

Links

Images

Classifications

    • CCHEMISTRY; METALLURGY
    • C25ELECTROLYTIC OR ELECTROPHORETIC PROCESSES; APPARATUS THEREFOR
    • C25DPROCESSES FOR THE ELECTROLYTIC OR ELECTROPHORETIC PRODUCTION OF COATINGS; ELECTROFORMING; APPARATUS THEREFOR
    • C25D1/00Electroforming
    • CCHEMISTRY; METALLURGY
    • C25ELECTROLYTIC OR ELECTROPHORETIC PROCESSES; APPARATUS THEREFOR
    • C25DPROCESSES FOR THE ELECTROLYTIC OR ELECTROPHORETIC PRODUCTION OF COATINGS; ELECTROFORMING; APPARATUS THEREFOR
    • C25D1/00Electroforming
    • C25D1/10Moulds; Masks; Masterforms
    • CCHEMISTRY; METALLURGY
    • C25ELECTROLYTIC OR ELECTROPHORETIC PROCESSES; APPARATUS THEREFOR
    • C25DPROCESSES FOR THE ELECTROLYTIC OR ELECTROPHORETIC PRODUCTION OF COATINGS; ELECTROFORMING; APPARATUS THEREFOR
    • C25D1/00Electroforming
    • C25D1/0033D structures, e.g. superposed patterned layers
    • CCHEMISTRY; METALLURGY
    • C25ELECTROLYTIC OR ELECTROPHORETIC PROCESSES; APPARATUS THEREFOR
    • C25DPROCESSES FOR THE ELECTROLYTIC OR ELECTROPHORETIC PRODUCTION OF COATINGS; ELECTROFORMING; APPARATUS THEREFOR
    • C25D1/00Electroforming
    • C25D1/20Separation of the formed objects from the electrodes with no destruction of said electrodes

Definitions

  • the present disclosure relates to a master master for electroforming and a method of manufacturing a metal molding.
  • a master master is known for manufacturing a metal molding having unevenness by electroforming (see, for example, Japanese Patent Application Laid-Open No. 2015-30881).
  • a master disc has an electrodeposition surface on which a metal molding is formed by electrodeposition, and an uneven pattern is formed on the electrodeposition surface by, for example, a resist.
  • a metal molding is grown by depositing metal on the electrodeposited surface while a master disk on which a concavo-convex pattern is formed is immersed in a plating solution. Then, the grown metal molding is peeled off from the master disk.
  • the metal molding obtained in this manner has, for example, unevenness obtained by reversing the unevenness pattern of the master disc.
  • Japanese Patent Laid-Open No. 2015-30881 mentions an aperture plate having a plurality of apertures, such as a nozzle plate for ejecting ink for an inkjet printer and a filter plate used for filtration, as metal moldings.
  • Japanese Patent Application Laid-Open No. 2015-30881 discloses that a master master disk in which a dummy resist pattern having a size smaller than that of the uneven pattern for the plate is formed around the uneven pattern for the plate for forming the openings of the aperture plate can be used. disclosed. According to the technique disclosed in Japanese Unexamined Patent Application Publication No. 2015-30881, electroforming is performed using a master master disk having a dummy pattern around the uneven pattern for the plate, so that the uneven pattern for the plate and the current density distribution around it are obtained. homogenized. As a result, the thickness of the electrodeposition layer formed over the entire area of the uneven pattern for the plate can be made uniform.
  • a metal molding formed by a master master is partly cut out as a product after being separated from the master master.
  • a product area where a product portion cut out as a product from the metal molding is formed, and a non-product area other than the product area.
  • the product area is an area in which product patterns such as uneven patterns for plates are formed.
  • the dummy pattern is formed in at least part of the non-product area, such as around the product pattern.
  • the master master of JP-A-2015-30881 for example, if the dimensions of the recesses or protrusions included in the product pattern are small, or if the density of the recesses or protrusions is low, metal forming is performed during electroforming. In some cases, the object peeled off from the master disc.
  • the present disclosure has been made in view of the above circumstances, and aims to provide a master master and a method for manufacturing a metal molding that can suppress peeling of the metal molding during growth in the electroforming process. do.
  • a master master disc of the present disclosure has an electrodeposition surface on which a metal molding is formed by electrodeposition, and a product region in which a product portion cut out as a product from the metal molding is formed on the electrodeposition surface, A master master having a non-product area other than the product area, a product pattern formed in the product area and including recesses and protrusions; A dummy pattern formed in at least a part of a non-product region and including a plurality of concave portions and convex portions, wherein the dummy pattern is formed with a surface area of the product pattern per unit area of the product region as a first surface area. and a dummy pattern having a second surface area larger than the first surface area, where the surface area of the dummy pattern per unit area of the dummy region is the second surface area.
  • the area of the dummy area is wider than the product area.
  • a plurality of concave portions or convex portions are regularly arranged in the dummy area.
  • the product pattern includes a plurality of at least one of concave portions and convex portions, and in the product pattern, the plurality of concave portions or convex portions are regularly arranged, It is preferable that the arrangement pitch of the plurality of recesses or protrusions of the dummy pattern is smaller than the arrangement pitch of the recesses or protrusions of the product pattern.
  • the height of the protrusions of the dummy pattern is preferably higher than the height of the protrusions of the product pattern.
  • the aspect ratio of the protrusions or recesses of the dummy pattern is larger than the aspect ratio of the protrusions or recesses of the product pattern.
  • the dummy pattern and the product pattern each have a bottom surface and a convex portion protruding from the bottom surface, and the angle formed by the side wall of the convex portion of the dummy pattern and the bottom surface is the product pattern. is preferably smaller than the angle formed by the side wall of the convex portion and the bottom surface.
  • the dummy pattern has a bottom surface and the convex portion protruding from the bottom surface, and the angle formed by the side wall of the convex portion of the dummy pattern and the bottom surface is 90° or less. preferable.
  • the planar shape of the electrodeposition surface is circular, and three product regions are provided with three-fold rotational symmetry with respect to the center of the electrodeposition surface.
  • a dummy pattern may be provided in the region.
  • the master master disc of the present disclosure has a conductive substrate having an electrodeposited surface and a non-conductive mask formed on the electrodeposited surface to control the growth of a metal molding, and includes a product pattern and a dummy pattern. may be a non-conductive mask.
  • the material of the non-conductive mask that forms the projections of at least one of the product pattern and the dummy pattern may be a photosensitive resin.
  • the material of the non-conductive mask that forms the projections of at least one of the product pattern and the dummy pattern may be an inorganic material.
  • At least one of the convex portions of the product pattern and the convex portions of the dummy pattern may be made of a conductive material, and the other may be made of a non-conductive material.
  • the method for producing a metal molded product of the present disclosure includes an electroforming step of growing a metal molded product by depositing a metal on an electrodeposited surface while the master master of the present disclosure is immersed in an electroforming liquid; and a stripping step of stripping the metal molding from the.
  • the master disc has a water contact angle of 20° or less on the surface of the convex portions of the product pattern.
  • the master master disk and the method for manufacturing a metal molded article of the present disclosure it is possible to suppress the peeling of the growing metal molded article in the electroforming process.
  • FIG. 1 is a plan view of a master master disc of one embodiment
  • FIG. FIG. 11 is a plan view of a master master in an example of design change
  • FIG. 2A is an enlarged plan view of part of the master master disc of one embodiment
  • FIG. 2B is a cross-sectional view
  • FIG. 3A is an enlarged plan view of a portion of a master disc having a concave-convex pattern
  • FIG. 3B is a cross-sectional view.
  • FIG. 10 is an explanatory diagram of the heights of the protrusions of the product pattern and the protrusions of the dummy pattern;
  • FIG. 10 is an explanatory diagram of the heights of the protrusions of the product pattern and the protrusions of the dummy pattern
  • FIG. 10 is an explanatory diagram of an angle formed between the side wall and the bottom surface of the projection of the product pattern and an angle formed between the side wall and the bottom surface of the projection of the dummy pattern;
  • FIG. 10 is an explanatory diagram of an angle formed between a side wall and a bottom surface of a protrusion of a dummy pattern;
  • FIG. 4 is a cross-sectional view showing a specific configuration example 20A of the master master 20;
  • FIG. 4 is a cross-sectional view showing a specific configuration example 20B of a master master 20;
  • 3 is a cross-sectional view showing a specific configuration example 20C of the master master 20;
  • FIG. FIG. 11 is a cross-sectional view showing a specific configuration example 20D of the master disc 20;
  • FIG. 10 is a cross-sectional view showing a specific configuration example 20E of the master disc 20;
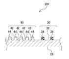
  • FIG. 10 is a cross-sectional view showing a specific configuration example 20F of the master disc 20;
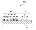
  • FIG. 10 is a cross-sectional view showing a specific configuration example 20G of the master master 20;
  • It is a perspective view which shows some nozzle plates. It is a figure which shows the manufacturing process of a nozzle plate. It is a figure which shows an example of an electroforming apparatus. It is a figure which shows the production process of a master master disc. It is a perspective view which shows a part of metal mold
  • FIG. 1A is a plan view of a master master 20 of one embodiment
  • FIG. 2 is an enlarged view showing a part of the master master 20
  • FIG. 2A is a plan view
  • FIG. 2B is a cross-sectional view.
  • the master master 20 is used to manufacture a metal molding by electroforming.
  • the master master 20 has an electrodeposition surface 20a on which a metal molding is formed by electrodeposition.
  • the master master 20 has, on the electrodeposition surface 20a, a product area 23 where a product portion cut out as a product from the metal molding is formed, and a non-product area 24 other than the product area 23.
  • the master master 20 includes a product pattern 30 formed in the product region 23 and including recesses 32 and protrusions 34, and a plurality of recesses 42 and protrusions 44 formed in at least a part of the non-product region 24.
  • the surface area of the product pattern 30 per unit area of the product region 23 is defined as the first surface area S1
  • the surface area of the dummy pattern 40 per unit area of the dummy region 25 in which the dummy pattern 40 is formed is defined as S1.
  • the pattern has a second surface area S2 larger than the first surface area S1.
  • the product area 23 is, for example, an area surrounded by broken lines in the figure, and defined by alignment marks 31 in this example.
  • three product areas 23 are provided around the center C of the electrodeposition surface 20a having a circular planar shape, with three-fold rotational symmetry. All areas other than the product area 23 on the electrodeposition surface 20 a are non-product areas 24 .
  • the dummy area 25 is formed over substantially the entire non-product area 24 .
  • Concavo-convex patterns including concavities and protrusions include concavo-convex patterns formed by forming concavities on a plane (hereinafter referred to as concavity patterns) and concavo-convex patterns formed by forming protrusions on a plane ( In the following, there is a convex pattern).
  • concavity patterns concavo-convex patterns formed by forming concavities on a plane
  • concavo-convex patterns formed by forming protrusions on a plane there is a convex pattern.
  • FIG. 3 shows a partially enlarged plan view (FIG. 3A) and a cross-sectional view of the master master 20 when both the product patterns 30 and the dummy patterns 40 of the master master 20 are concave patterns. (Fig. 3B).
  • the product pattern 30 may be a convex pattern
  • the dummy pattern 40 may be a concave pattern.
  • the uneven pattern includes a bottom surface and protrusions 34 and 44 protruding from the bottom surface.
  • the bottom surface corresponds to the inner bottom surface of the recesses 32 and 42 (see FIGS. 2 and 3).
  • the surface area of the product pattern 30 is the area of the product region 23 in plan view and the area of the sidewall 34a of the convex portion 34 of the product pattern 30. is the sum of
  • the surface area of the product pattern 30 is the sum of the area of the product region 23 in plan view and the area of the sidewall 32a of the concave portion 32 of the product pattern 30. is.
  • the surface area per unit area of the product pattern 30 is the average value of the surface area per unit area in each region.
  • the surface area of the dummy pattern 40 is the sum of the area of the dummy region 25 in plan view and the area of the side wall 44a of the convex portion 44 of the dummy pattern 40. is.
  • the surface area of the dummy pattern 40 is the sum of the area of the dummy region 25 in a plan view and the area of the side walls 42a of the recesses 42 of the dummy pattern 40. .
  • the surface area per unit area of the dummy pattern 40 is the average value of the surface area per unit area in each region.
  • the dummy area 25 is a closed area in which the dummy pattern 40 is formed within the non-product area 24 .
  • dummy patterns 40 are formed over the entire non-product area 24 , and the entire non-product area 24 corresponds to the dummy area 25 .
  • the dummy area 25 may be partially formed in the non-product area 24 as in the master master 120 shown in FIG. 1B.
  • FIG. 1B the same reference numerals are given to the same components as those of the master disc 20 shown in FIGS. 1A and 2 . The same applies to the following drawings.
  • a dummy pattern 40 is formed in a region surrounded by three product regions 23, and the region in which the dummy pattern 40 is formed is the dummy region 25.
  • the dummy region 25 is formed on the plurality of convex portions 44 formed in the non-product region 24 . It is an area surrounding the outer periphery of the convex portion 44 located at the outermost portion.
  • the dummy region 25 is the plurality of concave regions 42 formed in the non-product region 24 .
  • the dummy area 25 is not limited to being provided at one place in the center of the master disc as shown in FIG. 1B, and may be provided anywhere within the non-product area 24. , may be formed in a plurality of locations.
  • the size and density of the recesses or protrusions of the product pattern are determined by the product specifications and cannot be changed. If the surface area of the recesses or protrusions of the product pattern is small, the adhesion to the electrodeposition layer will be low, and there is a concern that peeling will occur between the electrodeposition layer and the master master during electroforming.
  • JP-A-2015-30881 since dummy patterns are provided around product patterns, an anchor effect by the dummy patterns can also be expected.
  • the dummy pattern disclosed in Japanese Patent Application Laid-Open No. 2015-30881 has smaller concave or convex dimensions than the product pattern.
  • the anchor effect of the dummy pattern is smaller than the anchor effect of the product pattern, and the necessary anchor effect cannot be obtained.
  • the surface area per unit area of the dummy area is larger than the surface area per unit area of the product area in the master disk 20, a high anchor effect can be exhibited, adhesion can be further improved, and electric It is possible to sufficiently exert the effect of suppressing the peeling during casting.
  • the area of the dummy area 25 is larger than the area of the product area 23.
  • the total area of all the dummy regions 25 formed in one master master 20 and 120 Compare with the total area of all product regions 23 .
  • the area of one dummy area 25 is larger than the total area of the three product areas 23 . If the area of the dummy region 25 is larger than that of the product region 23, the anchor effect during electroforming is high, and the effect of suppressing peeling can be enhanced.
  • a plurality of concave portions 42 or convex portions 44 are regularly arranged in the dummy area 25.
  • the concave portions 42 and the convex portions 44 formed in the dummy region 25 are not limited to being arranged regularly, and may be arranged irregularly.
  • the dummy pattern 40 may be a pattern in which irregular concave portions or convex portions are formed by roughening processing such as satin finish.
  • the product pattern 30 includes at least one of the concave portions 32 and the convex portions 34, and the product pattern 30 includes the concave portions 32 or the convex portions 34 that are regularly arranged.
  • the dummy pattern 40 also has a plurality of concave portions 42 and convex portions 44 arranged regularly.
  • the arrangement pitch of the concave portions 42 or the convex portions 44 of the dummy pattern 40 is smaller than the arrangement pitch of the concave portions 32 or the convex portions 34 of the product pattern 30 . That is, in the dummy area 25 , the concave portions 42 or the convex portions 44 are preferably formed with a higher density than the arrangement density of the concave portions 32 or the convex portions 34 in the product region 23 . If the arrangement pitch of the concave portions 42 or the convex portions 44 of the dummy pattern 40 is smaller than the arrangement pitch of the concave portions 32 or the convex portions 34 of the product pattern 30, the second surface area S2 is easily made larger than the first surface area S1. can do
  • the arrangement pitch of 34 is the average value of arrangement pitches Psa and Psb in respective directions of two orthogonal axes.
  • the arrangement pitch of the protrusions 34 of the product pattern 30 is the arrangement pitch of the protrusions 34 in that one direction.
  • the arrangement pitch of the concave portions 32 of the product pattern 30 is such that the convex portions 34 are replaced with the concave portions 32 in the above description.
  • the arrangement pitch is the average value of arrangement pitches Pda and Pdb in respective directions of two orthogonal axes.
  • the arrangement pitch of the protrusions 44 of the dummy pattern 40 is the arrangement pitch of the protrusions 44 in that one direction.
  • the array pitch of the concave portions 42 of the dummy pattern 40 is such that the convex portions 44 are replaced with the concave portions 42 in the above description.
  • the height Hd of the protrusions 44 of the dummy pattern 40 is higher than the height Hs of the protrusions 34 of the product pattern 30.
  • Hd the height of the protrusions 44 of the dummy pattern 40
  • Hs the height of the protrusions 34 of the product pattern 30.
  • the aspect ratio of the protrusions 44 or recesses 42 of the dummy pattern 40 is preferably larger than the aspect ratio of the protrusions 34 or recesses 32 of the product pattern 30 .
  • the second surface area S2 can be easily made larger than the first surface area S1.
  • the aspect ratio is the height of the protrusion/the equivalent circle diameter of the area of the protrusion or the recess in plan view.
  • Aspect ratio height Hs of convex portion 34/circular equivalent diameter Ds of area of convex portion 34 in plan view is.
  • the dummy pattern 40 is a concave pattern
  • Aspect ratio height Hs of convex portion 34/circular equivalent diameter Ds of area of concave portion 32 in plan view is.
  • the dummy area 25 has recesses 42 or protrusions 44 that are larger in size than the recesses 32 or protrusions 34 in the product area 23 .
  • the size larger than the concave portion 32 or the convex portion 34 in the product region 23 means that the product of the height Hd of the concave portion 42 or the convex portion 44 and the equivalent circle diameter Dd of the area in plan view is the height of the concave portion 32 or the convex portion 34 It is larger than the product of the height Hs and the circle-equivalent diameter Ds of the area in plan view. If the product region 23 includes concave portions 32 or convex portions 34 of different sizes, the height and the circle-equivalent diameter of the area in plan view are the average values thereof. The same is true when the dummy region 25 includes concave portions 42 or convex portions 44 of different sizes.
  • the adhesion of the dummy pattern 40 to the electrodeposited layer during electroforming can be made higher than the adhesion of the product pattern 30, and the anchor effect of the dummy pattern 40 can be further enhanced. . Therefore, it is possible to enhance the effect of suppressing exfoliation of the metal molding during growth in the electroforming process.
  • the angle ⁇ 2 between the side wall 44a of the projection 44 of the dummy pattern 40 and the bottom surface 42b of the recess 42 is preferably 90° or less.
  • the master master 20 includes a conductive substrate 21 having an electrodeposition surface and a metal molding formed on the substrate 21. and a non-conductive mask to control material growth.
  • the master master 20 has a convex pattern, and the convex portions 34 of the product pattern 30 and the convex portions 44 of the dummy pattern 40 are formed by a non-conductive mask. That is, the protrusions 34 of the product pattern 30 and the protrusions 44 of the dummy pattern 40 are made of a non-conductive material, and the protrusions 34 and 44 made of the non-conductive material inhibit the growth of the metal molding.
  • the material of the non-conductive mask that forms at least one of the protrusions 34 of the product pattern 30 and the protrusions 44 of the dummy pattern 40 may be a photosensitive resin. Moreover, the material of the non-conductive mask that forms at least one of the protrusions 34 of the product pattern 30 and the protrusions 44 of the dummy pattern 40 may be an inorganic material.
  • a metal substrate such as stainless steel is suitable for the conductive substrate 21 .
  • a master master 20A shown in FIG. 7 includes a conductive substrate 21 and convex portions 34 and 44 as non-conductive masks on one surface of the substrate 21.
  • the non-conductive mask protrusions 34 and 44 can be formed from a photosensitive resin.
  • the master master 20A shown in FIG. 7 can be produced, for example, by forming a photosensitive resin layer on the substrate 21, exposing it in a mask pattern, and developing it. If both the product pattern 30 and the dummy pattern 40 are provided with the projections 34 and 44 made of a photosensitive resin layer, there is an advantage that the metal molding formed by electroforming can be easily separated from the master master 20A.
  • the master master 20B shown in FIG. 8 includes a non-conductive substrate 22, a metal film 22a formed on one surface of the non-conductive substrate 22, and projections 34 and 44 as non-conductive masks on the metal film 22a. I have.
  • the projections 34 and 44 are made of a photosensitive resin as in the master master 20A.
  • a glass substrate, a silicon substrate, or the like can be used as the non-conductive substrate 22 .
  • the flat substrate may be a conductive substrate or a non-conductive substrate without limitation.
  • the master master 20C shown in FIG. 9 includes a conductive substrate 21 and projections 34 and 44 as non-conductive masks.
  • the convex portions 34 and 44 which are non-conductive masks, can be made of an inorganic material instead of the photosensitive resin. Examples of inorganic materials include metal oxides, metal nitrides, and metal fluorides.
  • a film is formed by sputtering or the like in a state in which a metal mask having an opening pattern corresponding to a desired convex pattern is arranged so as to face one surface of the substrate 21 . Thereby, the convex portions 34 and 44 can be formed according to the opening pattern.
  • both the product pattern 30 and the dummy pattern 40 are provided with the projections 34 and 44 made of an inorganic material, even if the metal molding formed by electroforming is separated from the master master 20C, the uneven pattern of the master master 20C remains. be able to. Therefore, the master master 20C can be used repeatedly, and a plurality of metal moldings can be produced using one master master 20C.
  • a master master 20D shown in FIG. 10 includes a conductive substrate 21 and projections 34 and 44 as non-conductive masks.
  • the convex portions 34 of the product pattern 30 are made of a photosensitive resin
  • the convex portions 44 of the dummy pattern 40 are made of an inorganic material. Since the protrusions 34 of the product pattern 30 are made of a photosensitive resin, the metal molding can be peeled off without applying a large load to the product portion.
  • the projections 44 of the dummy pattern 40 are made of an inorganic material, they remain on the substrate 21 even after the metal molding is peeled off. Therefore, after the metal molding is peeled off, by forming only the projections 34 of the product pattern 30 again on the substrate 21, the master master 20D can be regenerated and used again for electroforming of the metal molding. It is possible.
  • a master master 20E shown in FIG. 11 includes a conductive substrate 21 and convex portions 34 and 44 as non-conductive masks.
  • the convex portions 34 of the product pattern 30 are made of an inorganic material
  • the convex portions 44 of the dummy pattern 40 are made of a photosensitive resin. Since the projections 34 of the product pattern 30 are made of an inorganic material, they remain on the substrate 21 even after the metal molding is peeled off. Therefore, by forming only the projections 44 of the dummy pattern 40 again on the substrate 21 after peeling off the metal molding, the master master 20E can be regenerated and used again for electroforming of the metal molding. is.
  • At least one of the protrusions 34 of the product pattern 30 and the protrusions 44 of the dummy pattern 40 may be made of a conductive material, and the other may be made of a non-conductive material. Specific aspects are shown in FIGS. 12 and 13. FIG.
  • a master master 20F shown in FIG. 12 is used when manufacturing a product having openings such as a nozzle plate, like the master masters 20A to 20E shown in FIGS.
  • the master master 20F includes a metal substrate 28 integrally formed with the projections 44 of the dummy pattern 40 and the projections 34 of the product pattern 30 as a non-conductive mask.
  • the convex portions 44 of the dummy pattern 40 are formed as part of the metal substrate 28.
  • the protrusions 34 of the product pattern 30 are made of a non-conductive material.
  • a photosensitive resin or an inorganic material can be used as the non-conductive material.
  • metal oxides, metal nitrides or metal fluorides can be used in the same manner as described above.
  • the master master 20G shown in FIG. 13 includes a metal substrate 29 integrally formed with the projections 34 of the product pattern 30, and the projections 44 of the dummy pattern 40 as a non-conductive mask.
  • the protrusions 34 of the product pattern 30 are formed as part of the metal substrate 29 .
  • the projections 44 of the dummy pattern 40 are made of a non-conductive material.
  • a photosensitive resin or an inorganic material can be used as the non-conductive material in the same manner as described above.
  • both the concave portions 32 and the convex portions 34 forming the product pattern 30 in the product region 23 need to be conductive during electroforming.
  • both the product pattern and the dummy pattern may have a non-conductive surface as the master master.
  • conductivity may be imparted by forming a metal film on the non-conductive electrodeposited surface of the master master by sputtering or the like before electroforming. That is, the electrodeposited surface of the master master disk in the present disclosure includes a non-conductive aspect before being imparted with conductivity.
  • a method of manufacturing a metal molding according to the present disclosure includes an electroforming process using a master disk.
  • a metal molding is grown by depositing metal on the electroformed surface of the master master while the master is immersed in an electrolytic solution.
  • the method for manufacturing a metal molded article includes a peeling step of peeling off the metal molded article from the master master disk.
  • a metal molding is manufactured by performing the electroforming process and the peeling process.
  • the method for manufacturing a metal molding according to the first embodiment will be described below.
  • a method of manufacturing a nozzle plate 100 having a plurality of nozzles 102 as a metal molding will be described.
  • FIG. 14 is a perspective view showing part of a nozzle plate 100 used in a recording head of an inkjet printer, which is an example of a metal molded product manufactured by the metal molded product manufacturing method of the first embodiment.
  • the nozzle plate 100 is a plate-like member having a rectangular planar shape and made of an electroformed metal such as nickel (Ni).
  • a plurality of substantially circular openings 102 functioning as nozzles (hereinafter referred to as nozzles 102 ) are formed in a two-dimensional array in the nozzle plate 100 .
  • the nozzle 102 is formed in a substantially circular shape, and its diameter is, for example, 100 ⁇ m or less, preferably 20 ⁇ m to 50 ⁇ m.
  • the nozzle plate 100 is arranged in such a posture that the longitudinal direction corresponds to the main scanning direction X of the inkjet printer and the short direction corresponds to the sub-scanning direction Y. As shown in FIG.
  • the length of the nozzle plate 100 in the main scanning direction X is 100 mm as an example, and the length in the sub-scanning direction Y is 40 mm as an example.
  • a master master 20A (see FIG. 7) having projections 34 and 44 made of a mask made of a non-conductive material on a conductive substrate 21 is used.
  • the bottom surfaces of the concave portions 32 and 42 of the product pattern 30 and the dummy pattern 40 are the surface of the substrate 21, and the metal layer 101 that becomes the nozzle plate 100 grows from this portion.
  • the growth of the metal layer 101 is suppressed in the portions of the mask made of non-conductive material (projections 34, 44). As a result, an opening is formed in the mask portion. This opening becomes the nozzle 102 in the nozzle plate 100 .
  • the diameter DM of the convex portion 34 is larger than the diameter D of the nozzle 102, and is, for example, 150 ⁇ m to 200 ⁇ m. Further, the thickness of the convex portion 34 is, for example, 2 ⁇ m.
  • FIG. 15A and 15B are diagrams showing the manufacturing process of the nozzle plate 100.
  • FIG. FIG. 15 shows a partial cross section including only three protrusions 34 of product pattern 30 of master master 20 shown in FIG. 1A (S0).
  • a metal layer 101 is grown as an electrodeposition layer on the electrodeposition surface 20a by a metal deposited from the electrolyte while the master plate 20 is immersed in the electrolyte.
  • the metal layer 101 grows from the bottom surface of the concave portion 32, no metal is deposited on the surface of the convex portion 34, which is a non-conductive mask, and the metal layer 101 does not grow.
  • a metal layer 101 gradually grows on the bottom surface of the recess 32 .
  • the metal layer 101 grows from the surface of the previously grown metal layer 101 to the side of the protrusions 34 so as to cover the edges of the protrusions 34. do.
  • an opening is formed in the metal layer 101 with the center position of the protrusion 34 as the center of the opening.
  • This opening becomes the nozzle 102 .
  • the metal layer 101 grows toward the center of the protrusion 34, so the opening diameter of the nozzle 102 gradually decreases.
  • the diameter of the convex portion 34 is determined so that the nozzle 102 has a desired opening diameter when the metal layer 101 is grown to a desired thickness.
  • the growth of the metal layer 101 on the convex portion 34 progresses closer to the bottom surface 32 b of the concave portion 32 . Therefore, as shown in FIG. 15, the opening diameter of the nozzle 102 becomes smaller as it approaches the bottom surface 32b and becomes larger as it moves away from the bottom surface 32b. .
  • the opening diameter of the nozzle 102 closer to the bottom surface 32b is set. Then, the diameter of the convex portion 34 is determined so that the opening diameter of the nozzle 102 used as a reference becomes the target opening diameter.
  • the thickness of the metal layer 101 is, for example, about 50 ⁇ m.
  • the metal layer 101 is peeled off from the master master 20 (peeling process S2).
  • the projections 34 made of the photosensitive resin are peeled off from the master master 20 (here, the substrate 21 ) together with the metal layer 101 .
  • the protrusions 34 adhering to the metal layer 101 are removed (mask removing step S3). Further, the nozzle plate 100 can be obtained by punching out the product area 23 using the alignment marks 31 as marks.
  • FIG. 16 shows an example of an electroforming apparatus 130 used in the electroforming step S1.
  • the electroforming apparatus 130 includes an electroforming bath 132 , a master holding mechanism 135 , an anode 139 , and a circulation mechanism 140 for the electrolytic solution 134 .
  • the electroforming bath 132 stores the electrolytic solution 134 .
  • An anode 139 is arranged on a part of the inner wall surface of the electroforming tank 132 .
  • the master master 20 is immersed in the electrolytic solution 134 in the electroforming bath 132 .
  • the master master 20 is arranged with the electrodeposition surface 20 a facing the anode 139 .
  • the anode 139 contains electroformed metal such as nickel pellets, and has a size that allows it to face the entire electrodeposition surface 20 a on the master disc 20 . Electroforming to the master master 20 is performed with the electrodeposition surface 20a of the master master 20 and the anode 139 facing each other.
  • the side wall of the electroforming tank 132 is partially inclined.
  • the inclination direction of the sidewall is the direction in which the upper opening of the electroforming tank 132 is wider than the bottom surface of the electroforming tank 132 due to the inclination of the sidewall, and the inclination angle of the sidewall is, for example, about 40° to about 50° with respect to the horizontal direction.
  • the anode 139 is arranged along the inner wall surface of the slanted side wall in a posture inclined with respect to the horizontal direction.
  • the master disc holding mechanism 135 includes a holding portion 136 , a rotating shaft 137 and a rotating device 138 .
  • the holding part 136 holds the master master 20 from the opposite side of the electrodeposition surface 20a of the master master 20 .
  • the rotating shaft 137 is attached to the back surface of the holding portion 136 and extends in the normal direction of the back surface of the holding portion 136 .
  • the rotating device 138 rotates the holding portion 136 via the rotating shaft 137 .
  • the holding part 136 holds the master master 20 in the electroforming tank 132 so that the electrodeposition surface 20 a of the master master 20 faces the anode 139 . That is, the master disk 20 is arranged with the electrodeposition surface 20a tilted from the horizontal direction.
  • the master disc 20 is held by the holding section 136 so that the center coincides with the rotating shaft 137 .
  • the rotating device 138 is driven, the master disk 20 rotates integrally with the holding portion 136 via the rotating shaft 137 with the center coincident with the rotating shaft 137 as the center of rotation.
  • the master master 20 is set on the holding portion 136 outside the electroforming bath 132 and is immersed in the electroforming bath 132 while being held by the holding portion 136 . Then, electroforming is performed while the master master 20 is rotated around an axis extending in the normal direction from the center position of the electrodeposition surface 20a.
  • the electrodeposited surface 20a of the master master 20 is used as a cathode, and the electrodeposited surface 20a serving as the cathode and the anode 139 containing the electroformed metal are energized.
  • the electroformed metal of the anode 139 is electrolyzed and dissolved into the electrolytic solution 134 as electric ions.
  • the metal layer 101 is formed by electrodepositing the metal deposited from the electrolytic solution 134 on the electrodeposition surface 20a serving as the cathode.
  • the circulation mechanism 140 includes a reservoir 141 , a discharge pipe 142 , a valve 143 , a pump 144 , a filter 146 , a supply pipe 147 and a nozzle 148 .
  • the circulation mechanism 140 circulates the electrolytic solution 134 stored in the electroforming tank 132 between the electroforming tank 132 and a storage tank 141 arranged outside the electroforming tank 132 . This circulation causes the electrolytic solution 134 to flow between the electrodeposition surface 20 a and the anode 139 .
  • the discharge pipe 142 and the supply pipe 147 constitute a circulation path for the electrolytic solution 134 between the electroforming tank 132 and the storage tank 141 .
  • the discharge pipe 142 constitutes a return pipe for discharging the electrolytic solution 134 in the electroforming bath 132 and returning the discharged electrolytic solution 134 to the storage tank 141 in the circulation route.
  • the supply pipe 147 constitutes a supply pipe line that supplies the electrolytic solution 134 from the storage tank 141 to the electroforming tank 132 in the circulation path.
  • One end of the discharge pipe 142 is arranged inside the electroforming tank 132 and the other end is connected to the storage tank 141 .
  • the discharge pipe 142 returns the electrolytic solution 134 exceeding a predetermined amount in the electroforming tank 132 to the storage tank 141 . Therefore, one end of the discharge pipe 142 is arranged at substantially the same height as the liquid level of the specified amount of the electrolytic solution 134 with the opening directed upward. As a result, the electrolytic solution 134 exceeding the specified amount in the electroforming tank 132 flows into the discharge pipe 142 and is returned to the storage tank 141 through the discharge pipe 142 .
  • the supply pipe 147 also has one end located inside the electroforming tank 132 and the other end connected to the storage tank 141 .
  • One end of the supply pipe 147 is connected to a nozzle 148 for injecting the electrolytic solution 134 into the electroforming bath 132 .
  • the other end of the supply pipe 147 is connected to the bottom of the storage tank 141 .
  • a valve 143 , a pump 144 , and a filter 146 are arranged in this order from the storage tank 141 side, which is the upstream side in the supply direction of the electrolytic solution 134 , on the supply pipe line formed by the supply pipe 147 .
  • a valve 143 opens and closes the supply path.
  • the circulation mechanism 140 is used to circulate the electrolytic solution 134 between the electroforming tank 132 and the storage tank 141 . Then, in the electroforming bath 132, the electrolyte 134 is sprayed from the nozzle 148 toward the space between the electrodeposition surface 20a and the anode 139, so that the fluid pressure of the electrolyte 134 is applied toward the electrodeposition surface 20a.
  • the electrolytic solution 134 is made to flow to The electroforming step S1 is preferably performed while the electrolytic solution 134 is caused to flow in this manner. Electroforming is performed on the electrodeposition surface 20a of the master disk 20 as described above.
  • the surface area per unit area of the dummy area 25 is larger than the surface area per unit area of the product area 23 . Therefore, in the electroforming process, the metal layer deposited on the electrodeposited surface 20a of the master master 20 can exhibit a high anchor effect, and the adhesion between the metal layer and the master master 20 can be further enhanced. can. Therefore, the effect of suppressing the separation of the metal layer from the master master 20 during electroforming can be sufficiently exhibited.
  • the master master 20 has a water contact angle of 20° or less on the surface of the protrusions 34 of the product pattern 30 .
  • the present inventor presumes the mechanism of poor molding of openings caused by air bubbles as follows.
  • the metal layer grows to cover the edges of the mask while entraining the air bubbles.
  • the metal layer containing the air bubbles expands more than other parts.
  • the metal layer bulges from the edges of the mask toward the central portion.
  • the size of the opening becomes smaller, or the shape of the opening, which should be circular, becomes crescent-shaped, which results in poor molding of the opening.
  • the water contact angle of a general photosensitive resin layer is very large, for example, exceeds 80°.
  • the surface of the master master 20 may be subjected to hydrophilic treatment.
  • the method of hydrophilization treatment is not particularly limited, but oxygen plasma ashing treatment or ultraviolet ozone treatment is preferable.
  • a photosensitive resin film 33 is formed on the surface of the substrate 21 by coating.
  • a mask 36 for pattern formation is placed on the photosensitive resin film 33, and the photosensitive resin film 33 is pattern-exposed.
  • the exposed photosensitive resin film 33 is developed and washed, thereby forming a master master disc having projections 34 made of photosensitive resin on the surface of the substrate 21, that is, a non-conductive mask. get 20.
  • the electrodeposited surface 20a is subjected to a hydrophilization process S14.
  • a hydrophilization treatment oxygen plasma ashing treatment or ultraviolet ozone treatment is performed.
  • the master master 20 in which the water contact angle on the surface of the projections 34 is 20° or less. The water contact angle is measured using a contact angle meter, and the average value of 10 points is taken.
  • the present inventors have found that when the oxygen plasma ashing treatment is applied as a hydrophilization treatment, the electrodeposited layer tends to peel off from the electrodeposited surface during electroforming.
  • the master master 20 of the present disclosure by providing a dummy pattern separately from the product pattern, it is possible to suppress the separation of the metal layer deposited during electroforming from the master master 20.
  • the surface area per unit area of the dummy area is larger than the surface area per unit area of the product area in the master disk 20, a high anchor effect can be exhibited, and adhesion can be further enhanced. Therefore, it is particularly effective when the electrodeposited surface 20a is subjected to a hydrophilic treatment by oxygen plasma ashing to prevent air bubbles from adhering to the master disk 20.
  • a method for manufacturing a metal molding according to the second embodiment will be described.
  • a method of manufacturing a metal mold 110 having a plurality of protrusions will be described as a metal molding.
  • FIG. 18 is a perspective view showing part of a metal mold 110, which is an example of a metal molded article produced by the method for manufacturing a metal molded article according to the second embodiment.
  • the mold 110 is made of an electroformed metal such as Ni.
  • a plurality of protrusions 112 are formed in a two-dimensional array on the mold 110 .
  • FIG. 19 is a diagram showing the manufacturing process of the mold 110.
  • the master master 20 includes product patterns and dummy patterns. showing.
  • the master master 20 used in this example has a circular outer shape, but the outer shape is not limited to a circular one.
  • the master master 20 indicated by S20 in FIG. 19 is made of a non-conductive substrate having a surface with an uneven pattern.
  • a metal film 111a is formed on the electrodeposition surface 20a of the master master 20. As shown in FIG. This imparts electrical conductivity to the electrodeposition surface 20a.
  • the metal layer 111b is grown on the metal film 111a by the metal deposited from the electrolyte while the master plate 20 is immersed in the electrolyte.
  • the metal layer 111b grows on the bottom surfaces of the recesses 32 and 42 and the surfaces of the protrusions 34 and 44. If the metal material of the metal film 111a and the metal layer 111b is the same, the boundary between the two becomes indistinguishable, and the metal layer 111 is integrated.
  • the metal layer 111 is peeled off from the master master 20 (peeling process S23).
  • the metal layer 111 has an uneven pattern in which the product pattern and the dummy pattern formed on the electrodeposition surface of the master master 20 are transferred, and the mold 110 having the convex portions 112 shown in FIG. 19 is obtained.
  • the master master disc 20 can exhibit a high anchoring effect. It is possible to suppress the occurrence of peeling of. In particular, in the case of a microchannel, etc., where the density of the uneven pattern in the product pattern is sparse, the adhesion between the master master and the electrodeposition layer in the product pattern is low, so a dummy pattern with a large surface area per unit area is provided. Thereby, a high effect of suppressing peeling can be obtained.

Landscapes

  • Chemical & Material Sciences (AREA)
  • Engineering & Computer Science (AREA)
  • Chemical Kinetics & Catalysis (AREA)
  • Electrochemistry (AREA)
  • Materials Engineering (AREA)
  • Metallurgy (AREA)
  • Organic Chemistry (AREA)
  • Crystallography & Structural Chemistry (AREA)
  • Manufacture Or Reproduction Of Printing Formes (AREA)
  • Moulds For Moulding Plastics Or The Like (AREA)
PCT/JP2022/000781 2021-01-21 2022-01-12 マスター原盤及び金属成形物の製造方法 Ceased WO2022158357A1 (ja)

Priority Applications (3)

Application Number Priority Date Filing Date Title
JP2022576623A JPWO2022158357A1 (enExample) 2021-01-21 2022-01-12
EP22742479.3A EP4283022A4 (en) 2021-01-21 2022-01-12 MASTER MOLD AND METHOD FOR PRODUCING METAL CAST ARTICLE
US18/346,877 US20230357943A1 (en) 2021-01-21 2023-07-05 Master plate and manufacturing method of metal formed article

Applications Claiming Priority (2)

Application Number Priority Date Filing Date Title
JP2021008220 2021-01-21
JP2021-008220 2021-01-21

Related Child Applications (1)

Application Number Title Priority Date Filing Date
US18/346,877 Continuation US20230357943A1 (en) 2021-01-21 2023-07-05 Master plate and manufacturing method of metal formed article

Publications (1)

Publication Number Publication Date
WO2022158357A1 true WO2022158357A1 (ja) 2022-07-28

Family

ID=82548937

Family Applications (1)

Application Number Title Priority Date Filing Date
PCT/JP2022/000781 Ceased WO2022158357A1 (ja) 2021-01-21 2022-01-12 マスター原盤及び金属成形物の製造方法

Country Status (4)

Country Link
US (1) US20230357943A1 (enExample)
EP (1) EP4283022A4 (enExample)
JP (1) JPWO2022158357A1 (enExample)
WO (1) WO2022158357A1 (enExample)

Cited By (1)

* Cited by examiner, † Cited by third party
Publication number Priority date Publication date Assignee Title
WO2024106129A1 (ja) * 2022-11-14 2024-05-23 株式会社ヨコオ 電鋳バネの製造方法

Citations (11)

* Cited by examiner, † Cited by third party
Publication number Priority date Publication date Assignee Title
JPS5780795A (en) * 1980-11-07 1982-05-20 Fujitsu Ltd Method of producing printed board
JP2003072021A (ja) * 2001-09-03 2003-03-12 Process Lab Micron:Kk 印刷用メタルマスク
JP2005310807A (ja) * 2004-04-16 2005-11-04 Fujitsu Ltd 半導体装置及びその製造方法
WO2006068175A1 (ja) * 2004-12-24 2006-06-29 Hitachi Chemical Co., Ltd. 導体層パターン付き基材の製造法、導体層パターン付き基材及びそれを用いた電磁波遮蔽部材
JP2010086579A (ja) * 2008-09-30 2010-04-15 Fujifilm Corp 原盤及びそれから作製されたモールド構造体
JP2012517919A (ja) * 2009-02-18 2012-08-09 ロリク アーゲー 表面レリーフ微細構造、関連するデバイスおよびそれらを作製する方法
JP2015030881A (ja) 2013-08-02 2015-02-16 株式会社オプトニクス精密 開口プレート
US20150352831A1 (en) * 2012-02-08 2015-12-10 Photo Stencil, Llc Screen Printing Apparatus Including Support Bars, And Methods Of Using Same
JP2016182709A (ja) * 2015-03-25 2016-10-20 株式会社ソノコム ダミーパターンを使用したサスペンドメタルマスクおよびダミーパターンを使用したサスペンドメタルマスクの製造方法
US20200208284A1 (en) * 2018-12-31 2020-07-02 Lg Display Co., Ltd. Mask and method of manufacturing the same
JP2021008220A (ja) 2019-07-02 2021-01-28 三菱電機株式会社 衛星制御装置、観測システム、観測方法、および観測プログラム

Family Cites Families (1)

* Cited by examiner, † Cited by third party
Publication number Priority date Publication date Assignee Title
JP3200923B2 (ja) * 1992-03-02 2001-08-20 株式会社村田製作所 エレクトロフォーミング方法

Patent Citations (11)

* Cited by examiner, † Cited by third party
Publication number Priority date Publication date Assignee Title
JPS5780795A (en) * 1980-11-07 1982-05-20 Fujitsu Ltd Method of producing printed board
JP2003072021A (ja) * 2001-09-03 2003-03-12 Process Lab Micron:Kk 印刷用メタルマスク
JP2005310807A (ja) * 2004-04-16 2005-11-04 Fujitsu Ltd 半導体装置及びその製造方法
WO2006068175A1 (ja) * 2004-12-24 2006-06-29 Hitachi Chemical Co., Ltd. 導体層パターン付き基材の製造法、導体層パターン付き基材及びそれを用いた電磁波遮蔽部材
JP2010086579A (ja) * 2008-09-30 2010-04-15 Fujifilm Corp 原盤及びそれから作製されたモールド構造体
JP2012517919A (ja) * 2009-02-18 2012-08-09 ロリク アーゲー 表面レリーフ微細構造、関連するデバイスおよびそれらを作製する方法
US20150352831A1 (en) * 2012-02-08 2015-12-10 Photo Stencil, Llc Screen Printing Apparatus Including Support Bars, And Methods Of Using Same
JP2015030881A (ja) 2013-08-02 2015-02-16 株式会社オプトニクス精密 開口プレート
JP2016182709A (ja) * 2015-03-25 2016-10-20 株式会社ソノコム ダミーパターンを使用したサスペンドメタルマスクおよびダミーパターンを使用したサスペンドメタルマスクの製造方法
US20200208284A1 (en) * 2018-12-31 2020-07-02 Lg Display Co., Ltd. Mask and method of manufacturing the same
JP2021008220A (ja) 2019-07-02 2021-01-28 三菱電機株式会社 衛星制御装置、観測システム、観測方法、および観測プログラム

Cited By (1)

* Cited by examiner, † Cited by third party
Publication number Priority date Publication date Assignee Title
WO2024106129A1 (ja) * 2022-11-14 2024-05-23 株式会社ヨコオ 電鋳バネの製造方法

Also Published As

Publication number Publication date
EP4283022A4 (en) 2024-12-18
EP4283022A1 (en) 2023-11-29
US20230357943A1 (en) 2023-11-09
JPWO2022158357A1 (enExample) 2022-07-28

Similar Documents

Publication Publication Date Title
KR101254888B1 (ko) 전기주조 방법
JPH0213909B2 (enExample)
CN110546310B (zh) 金属电沉积用的阴极板及其制造方法
WO2022158357A1 (ja) マスター原盤及び金属成形物の製造方法
KR20230033657A (ko) 금형의 가공방법
JP7086317B1 (ja) めっき処理方法
JP2010017865A (ja) ナノインプリント用モールドの製造方法
JP2992645B2 (ja) 透孔を有する電鋳製品の製造方法
JP7490774B2 (ja) 金属成形物製造方法
US2225733A (en) Process for the electrolytic production of metal screens
KR102401067B1 (ko) 전주가공에 사용되는 수직성장 마스터와 그 제조방법
JP2992647B2 (ja) 透孔を有する電鋳製品の製造方法
JPH1016236A (ja) インクジェットプリンタヘッド及びその製造方法
JPH09300573A (ja) 電鋳製薄状金属板およびその製造方法
JP2018065396A (ja) スクリーン印刷用メタルマスク
JP7705289B2 (ja) 電鋳型及び電鋳型を用いた電鋳品の製造方法
US20050276914A1 (en) Method for manufacturing light guide plate mold cores
JPH03145793A (ja) プリント配線板の電解めっき用気泡撹拌装置
JP7188217B2 (ja) 金属電着用の陰極板の製造方法
JP2019022997A (ja) スクリーン印刷用メタルマスク
JP2024008385A (ja) 金属電着用の陰極板の製造方法
JP7188216B2 (ja) 金属電着用の陰極板の製造方法
JP2010036358A (ja) 多孔質電鋳殻の製造方法
JP4159659B2 (ja) インクジェットヘッド部品の製造方法
US20070046726A1 (en) Method of manufacturing nozzle plate, method of manufacturing liquid ejection head, and matrix structure for manufacturing nozzle plate

Legal Events

Date Code Title Description
121 Ep: the epo has been informed by wipo that ep was designated in this application

Ref document number: 22742479

Country of ref document: EP

Kind code of ref document: A1

ENP Entry into the national phase

Ref document number: 2022576623

Country of ref document: JP

Kind code of ref document: A

NENP Non-entry into the national phase

Ref country code: DE

ENP Entry into the national phase

Ref document number: 2022742479

Country of ref document: EP

Effective date: 20230821