WO2022107364A1 - 異常予兆検知機能付ケーブルおよび電線異常予兆検知装置 - Google Patents

異常予兆検知機能付ケーブルおよび電線異常予兆検知装置 Download PDF

Info

Publication number
WO2022107364A1
WO2022107364A1 PCT/JP2021/021194 JP2021021194W WO2022107364A1 WO 2022107364 A1 WO2022107364 A1 WO 2022107364A1 JP 2021021194 W JP2021021194 W JP 2021021194W WO 2022107364 A1 WO2022107364 A1 WO 2022107364A1
Authority
WO
WIPO (PCT)
Prior art keywords
detection
wire
electric wire
conductor
cable
Prior art date
Legal status (The legal status is an assumption and is not a legal conclusion. Google has not performed a legal analysis and makes no representation as to the accuracy of the status listed.)
Ceased
Application number
PCT/JP2021/021194
Other languages
English (en)
French (fr)
Japanese (ja)
Inventor
洋和 小森
誠 東小薗
不二夫 薗田
高弘 村田
健太 小林
Current Assignee (The listed assignees may be inaccurate. Google has not performed a legal analysis and makes no representation or warranty as to the accuracy of the list.)
Sumitomo Wiring Systems Ltd
AutoNetworks Technologies Ltd
Sumitomo Electric Industries Ltd
Original Assignee
Sumitomo Wiring Systems Ltd
AutoNetworks Technologies Ltd
Sumitomo Electric Industries Ltd
Priority date (The priority date is an assumption and is not a legal conclusion. Google has not performed a legal analysis and makes no representation as to the accuracy of the date listed.)
Filing date
Publication date
Application filed by Sumitomo Wiring Systems Ltd, AutoNetworks Technologies Ltd, Sumitomo Electric Industries Ltd filed Critical Sumitomo Wiring Systems Ltd
Priority to CN202180074675.9A priority Critical patent/CN116457900A/zh
Priority to US18/035,866 priority patent/US12462952B2/en
Publication of WO2022107364A1 publication Critical patent/WO2022107364A1/ja
Anticipated expiration legal-status Critical
Ceased legal-status Critical Current

Links

Images

Classifications

    • HELECTRICITY
    • H01ELECTRIC ELEMENTS
    • H01BCABLES; CONDUCTORS; INSULATORS; SELECTION OF MATERIALS FOR THEIR CONDUCTIVE, INSULATING OR DIELECTRIC PROPERTIES
    • H01B7/00Insulated conductors or cables characterised by their form
    • H01B7/32Insulated conductors or cables characterised by their form with arrangements for indicating defects, e.g. breaks or leaks
    • GPHYSICS
    • G01MEASURING; TESTING
    • G01RMEASURING ELECTRIC VARIABLES; MEASURING MAGNETIC VARIABLES
    • G01R31/00Arrangements for testing electric properties; Arrangements for locating electric faults; Arrangements for electrical testing characterised by what is being tested not provided for elsewhere
    • G01R31/08Locating faults in cables, transmission lines, or networks
    • G01R31/081Locating faults in cables, transmission lines, or networks according to type of conductors
    • G01R31/083Locating faults in cables, transmission lines, or networks according to type of conductors in cables, e.g. underground
    • GPHYSICS
    • G01MEASURING; TESTING
    • G01RMEASURING ELECTRIC VARIABLES; MEASURING MAGNETIC VARIABLES
    • G01R31/00Arrangements for testing electric properties; Arrangements for locating electric faults; Arrangements for electrical testing characterised by what is being tested not provided for elsewhere
    • G01R31/50Testing of electric apparatus, lines, cables or components for short-circuits, continuity, leakage current or incorrect line connections
    • G01R31/58Testing of lines, cables or conductors
    • HELECTRICITY
    • H01ELECTRIC ELEMENTS
    • H01BCABLES; CONDUCTORS; INSULATORS; SELECTION OF MATERIALS FOR THEIR CONDUCTIVE, INSULATING OR DIELECTRIC PROPERTIES
    • H01B13/00Apparatus or processes specially adapted for manufacturing conductors or cables
    • H01B13/22Sheathing; Armouring; Screening; Applying other protective layers
    • H01B13/24Sheathing; Armouring; Screening; Applying other protective layers by extrusion

Definitions

  • This disclosure relates to a cable with an abnormality sign detection function and an electric wire abnormality sign detection device.
  • Electric wires are mounted and laid in various electric / electronic equipment, transportation equipment, buildings, public equipment, etc., but with long-term use of electric wires, damage such as disconnection may occur in the electric wires.
  • damage such as disconnection
  • the conductor constituting the electric wire may be broken due to metal fatigue.
  • a detection wire having a conductor in which a plurality of strands are twisted and a conductor having a conductor in which a plurality of strands are twisted are detected.
  • a cable with a disconnection detection function is disclosed, which comprises a wire and has a twist pitch of a conductor of a detection wire longer than the twist pitch of a conductor of a detected wire.
  • an electric cable composed of a plurality of electric wires, an electric shield layer covering the plurality of electric wires, and a sheath covering the electric shield layer, and a broken wire provided in the electric shield layer and composed of a conductor wire and an insulating layer on the outer periphery thereof.
  • the provided disconnection detection device is disclosed.
  • the bending life of the disconnection detection wire is set shorter than the bending life of the electric wire. It is described that a voltage is applied to the conductor wire of the disconnection detection wire by a voltage source, and the disconnection of the electric shield layer is predicted from the detection signal of the first detector and the detection signal of the second detector.
  • a detection wire that is more easily broken by bending is provided together with a target electric wire that is a target for detecting a sign of disconnection, and the breakage of the detection wire is monitored. By doing so, it is possible to detect a sign of disconnection of the target electric wire. However, it is not always possible to detect the disconnection of the target electric wire with high sensitivity simply by providing the detection wire.
  • the detection wire and a plurality of detected wires are collectively covered with a sheath, and in Patent Document 2, a plurality of electric wires are covered with an electric shield layer provided with a disconnection detection wire. ..
  • it can be moved in the space surrounded by the covering member. If such movement of the target wire occurs while the target wire is repeatedly bent and vibrated, the positional relationship between the target wire and the detection line changes unevenly depending on the position along the axial direction of the cable.
  • there is a possibility That is, there is a possibility that the target electric wire and the detection wire will take different relative positions depending on the position along the axial direction.
  • the relationship between the load received by the target electric wire and the load received by the detection line due to bending or vibration differs depending on the position along the axial direction.
  • the detection line breaks depending on the position where the load is applied along the axial direction, which is a sign of disconnection of the target wire.
  • the detection line can be detected and a case where the sign of the target electric wire cannot be detected without breaking the detection line.
  • the sensitivity in detecting the sign of disconnection of the target electric wire may vary depending on the position.
  • the cable with an abnormality sign detection function includes one or a plurality of target electric wires having an electric wire conductor and an electric wire coating covering the outer periphery of the electric wire conductor, a detection wire conductor, and an outer circumference of the detection wire conductor.
  • the detection wire conductor comprises one or more detection wires having a detection wire coating covering the above, and a sheath covering the outer periphery of the target electric wire and the electric wire group including the detection wire, and the detection wire conductor is the electric wire.
  • Bending resistance is lower than that of the conductor, and the sheath is extruded so as to be in close contact with the outer periphery of the wire group or in close contact with the outer periphery of the wire group and in close contact with the surface of the inner peripheral layer covering the wire group. It is formed as a molded body.
  • the electric wire abnormality sign detection device includes a measurement unit and a notification unit, and the measurement unit measures the characteristic impedance of the detection wire conductor with respect to the cable with the abnormality sign detection function.
  • the notification unit notifies the outside that there is a sign that the target electric wire is broken when the characteristic impedance of the detection wire conductor measured by the measurement unit changes by a reference value or more.
  • the cable with an abnormality sign detection function and the electric wire abnormality sign detection device it is possible to detect a sign that a wire is broken with the same sensitivity regardless of the position along the axial direction of the electric wire.
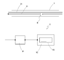
  • FIG. 1 is a cross-sectional view showing a configuration of a cable with an abnormality sign detection function according to the first embodiment of the present disclosure.
  • the detection line is enlarged and displayed in the figure surrounded by a quadrangle.
  • FIG. 2 is a schematic diagram showing the configuration of the electric wire abnormality sign detection device according to the embodiment of the present disclosure in a state where the detection wire conductor is broken.
  • 3A and 3B are diagrams showing the configuration of a cable with an abnormality sign detection function according to the second embodiment of the present disclosure.
  • 3A is a perspective view and FIG. 3B is a cross-sectional view.
  • FIG. 3A shows a state in which the sheath is removed.
  • FIGS. 4A and 4B are diagrams showing the configuration of the cable with an abnormality sign detection function according to the third embodiment of the present disclosure.
  • 4A is a perspective view and FIG. 4B is a cross-sectional view.
  • FIG. 4A shows a state in which the sheath is removed.
  • FIG. 4C is a cross-sectional view illustrating a laminated structure of laminated tapes constituting the cable with an abnormality sign detection function.
  • the cable with an abnormality sign detection function includes one or a plurality of target electric wires having an electric wire conductor and an electric wire coating covering the outer periphery of the electric wire conductor, a detection wire conductor, and the detection wire.
  • the detection wire conductor has one or more detection wires having a detection wire coating covering the outer periphery of the conductor, and a sheath covering the outer circumference of the target electric wire and the electric wire group including the detection wire.
  • the bending resistance is lower than that of the electric wire conductor, and the sheath adheres directly to the outer periphery of the electric wire group or adheres to the outer periphery of the electric wire group and adheres to the surface of the inner peripheral layer covering the electric wire group. It is formed as an extruded body.
  • the cable with an abnormality sign detection function includes a detection wire having a detection wire conductor having a lower bending resistance than the wire conductor of the target electric wire. Therefore, when a load is repeatedly applied to the cable with an abnormality sign detection function due to bending or vibration, the detection line breaks in a shorter period of time than the target electric wire.
  • a break occurs in the detection wire, by detecting the break in the detection wire by electrical measurement such as measurement of characteristic impedance, a sign of break occurs in the target wire before the break occurs in the target wire. It can be detected that it is present.
  • the sheath that covers the outer circumference of the wire group including the target wire and the detection wire is in close contact with the outer circumference of the wire group, or is in close contact with the outer circumference of the wire group and is in close contact with the inner peripheral layer that covers the wire group. Since it is provided, the positional relationship between each target wire and the detection line is less likely to shift in the region inside the sheath. Therefore, the target electric wire and the detection wire can maintain the same relative positional relationship at each position in the axial direction of the cable, and the relationship between the load applied to the target electric wire due to bending or the like and the load applied to the detection wire is also , Can be kept the same at each position in the axial direction. As a result, regardless of the position along the axial direction of the cable, it is possible to detect a sign that the target electric wire is broken with high sensitivity by breaking the detection line.
  • the cable with an abnormality sign detection function has a plurality of the detection lines, and the detection line conductors constituting the plurality of detection lines have different bending resistances.
  • the multiple detection wires those having a detection wire conductor with low bending resistance break even when a small load is applied, so when a break occurs, there is a margin for a sign of disconnection in the target wire. It can be detected in stages.
  • the detection wire having a detection wire conductor with high bending resistance does not break until a large load is applied, so that the possibility of disconnection in the target wire has increased when the break occurs. , Can be detected. Therefore, by distinguishing which detection wire conductor is broken and detecting it, the sign of the disconnection in the target electric wire can be detected stepwise according to the degree of urgency of the disconnection.
  • the plurality of detection lines include a first detection line having a first detection line conductor and a second detection line having a second detection line conductor, and the first detection line includes the first detection line.
  • the conductor is composed of a wire of a first metal material
  • the second detection wire conductor is composed of a wire of a second metal material having higher bending resistance than the first metal material. It is good to be there.
  • the second detection wire conductor has higher bending resistance than the first detection wire conductor, and two detections having different bending resistances are detected by utilizing the difference in bending resistance due to the metal material.
  • a wire conductor can be provided.
  • the bending resistance can be widely controlled by the type and amount of added elements and the manufacturing method, and various detections can be made according to the urgency of the sign of disconnection to be detected. It is possible to provide a line.
  • the plurality of detection lines further include a third detection line having a third detection line conductor, and the third detection line conductor includes a wire of the first metal material and the second metal material. It is preferable that the wire contains both of the above-mentioned strands and has a bending resistance higher than that of the first detection wire conductor and lower than that of the second detection wire conductor. Then, with a simple configuration using only a wire made of two kinds of metal materials, a sign of disconnection in the target electric wire can be detected step by step in three steps or a larger number of steps.
  • the cable with an abnormality sign detection function includes a plurality of the target electric wires, and the plurality of target electric wires are arranged so as to surround the detection line. Then, even if a sign of disconnection occurs in any of the plurality of target electric wires, the sign can be detected with high sensitivity by the common detection line.
  • the cable with an abnormality sign detection function may further have an outer detection layer as a layered member including a conductive member between the sheath and the electric wire group.
  • the conductive member included in the outer detection layer may be damaged. If damage to the conductive member is detected by electrical measurement such as measurement of characteristic impedance, there is a sign that damage such as disconnection or trauma occurs in the target wire due to the application of impact or the formation of trauma. Can be detected.
  • the detection wire included in the wire group is suitable for detecting a sign of disconnection of the target wire due to metal fatigue caused by bending or vibration, while the outer detection layer arranged outside the wire group is sudden.
  • the cable should have both the detection wire and the outer detection layer. Therefore, it is possible to detect with high sensitivity the signs that the damages occur on the target electric wire for multiple types of damages having different causes.
  • the conductive member constituting the outer detection layer may be configured as a metal layer having a thickness smaller than the diameter of the detection wire conductor. Then, since the outer detection layer easily causes damage such as breakage due to application of impact or contact with an external object, it is possible to sensitively detect a sign of damage in the target electric wire.
  • the outer detection layer is made of a conductive tape and is arranged so as to surround the electric wire group. Further, it is preferable that the conductive tape is spirally wound around the electric wire group with a gap between turns.
  • the outer detection layer is composed of a laminated tape, and the laminated tape is formed by forming a conductive coating layer on both sides of a base material configured as a tape-shaped insulator or a semiconductor, and the electric wire. It should be arranged around the group. Regardless of the form of the outer detection layer, the outer detection layer having a simple structure can sensitively detect the sign of damage to the target electric wire due to the application of impact or trauma.
  • the electric wire abnormality sign detection device includes a measurement unit and a notification unit, and the measurement unit determines the characteristic impedance of the detection line conductor with respect to the cable with the abnormality sign detection function.
  • the notification unit externally indicates that there is a sign that the target electric wire is broken when the characteristic impedance of the detection wire conductor measured by the measurement unit changes by a reference value or more. Notice.
  • the electric wire abnormality sign detection device by detecting the breakage of the detection wire conductor by the change of the characteristic impedance of the detection wire conductor, it is detected that a sign of disconnection has occurred in the target electric wire and notified to the outside. be able to. Due to the adhesion of the sheath formed as an extruded body, the cable with an abnormality sign detection function to be detected is less likely to cause a deviation in the relative position between each target wire and the detection line in the region inside the sheath. Therefore, regardless of the position along the axial direction of the cable, it is possible to detect with high sensitivity a sign that the target electric wire is broken and notify the user or the like.
  • the measuring unit detects the outside of the cable with an abnormality sign detection function, which has an outside detection layer including a conductive member between the sheath and the electric wire group, together with the characteristic impedance of the detection wire conductor.
  • the characteristic impedance of the conductive member constituting the layer is measured, and the notification unit is the target even when the characteristic impedance of the conductive member measured by the measurement unit changes by a reference value or more. It is good to notify the outside that there is a sign that the electric wire is damaged. Then, in addition to the sign of disconnection of the target wire due to metal fatigue caused by bending and vibration, the sign of disconnection of the target wire due to the application of a sudden impact, and the sign of trauma due to contact with an external object or friction. It can be detected with high sensitivity and notified to users and the like.
  • the cable with an abnormality sign detection function according to the embodiment of the present disclosure is a cable capable of detecting a sign of damage in the target electric wire included in the cable.
  • the electric wire abnormality sign detection device according to the embodiment of the present disclosure is a detection device capable of detecting a sign that the target electric wire is damaged for the cable with the abnormality sign detection function according to the embodiment of the present disclosure. be.
  • FIG. 1 shows a configuration of a cable 1 with an abnormality sign detection function according to the first embodiment of the present disclosure in a cross-sectional view cut perpendicularly in the axial direction.
  • the cable 1 with an abnormality sign detection function includes a target electric wire 2 (2A to 2D), a detection line 3 (3A to 3C), a tape layer 4, and a sheath 5.
  • the portion of the detection line 3 is enlarged and displayed by surrounding it with a quadrangle.
  • the target electric wire 2 is an electric wire that fulfills functions required for equipment such as power supply, voltage application, communication, etc., and is a target electric wire for which a sign of damage should be detected in the cable 1.
  • the number of the target electric wires 2 is not particularly specified and may be one or a plurality, but is preferably a plurality.
  • Each target electric wire 2 has an electric wire conductor 21 (21A to 21D) configured as a conductor wire, and an electric wire coating 22 composed of an insulating material and covering the outer periphery of the electric wire conductor 21.
  • the cable 1 includes four target electric wires 2A to 2D. Of those four, two are feeder lines 2A and 2B.
  • the other two are signal lines 2C and 2D having a smaller conductor cross section than the feeder lines 2A and 2B, and are twisted together to form a twisted pair.
  • the outer edge of the twisted pair is indicated by a broken line.
  • a mode in which the conductor cross-sectional area of each feeder line 2A and 2B is 1.8 to 2.5 mm 2 and the conductor cross-sectional area of each signal line 2C and 2D is 0.25 mm 2 can be exemplified.
  • the detection wire 3 is an electric wire that detects that a sign of disconnection has occurred in the target electric wire 2 by causing a break by itself, as will be explained later.
  • the detection wire 3 has a detection wire conductor 31 (31A to 31C) configured as a conductor wire and a detection wire coating 32 composed of an insulating material and covering the outer periphery of the detection wire conductor 31.
  • the number of detection lines 3 is not particularly limited, and may be one or a plurality of detection lines 3. It is preferable that a plurality of detection lines 3 are included in the cable 1, and in the illustrated form, three detection lines 3A to 3C are included.
  • the bending resistance of each detection wire conductor 31 is lower than that of the wire conductor 21 of the target wire 2.
  • the bending resistance of a conductor indicates the ease of breaking when the conductor is bent, and can be evaluated as the number of bendings until the bending occurs when the bending at a predetermined angle is repeated. can. The greater the number of bendings, the higher the bending resistance.
  • the bending resistance of the detection wire conductor 31 is lower than that of each of the electric wire conductors 21 of the plurality of target electric wires 2.
  • the signal lines 2C and 2D having a smaller conductor cross-sectional area generally have lower bending resistance than the feeder lines 2A and 2B.
  • the detection line conductor 31 has a lower bending resistance than the signal lines 2C and 2D. Further, when the cable 1 includes a plurality of detection lines 3, the bending resistance of the detection line conductors 31 of all the detection lines 3 is lower than the bending resistance of the wire conductor 21 of each target electric wire 2. ing.
  • a first detection line 3A, a second detection line 3B, and a third detection line 3C are provided, which include detection line conductors 31A to 31C having different bending resistances.
  • the first detection line conductor 31A included in the first detection line 3A has the lowest bending resistance.
  • the second detection line conductor 31B included in the second detection line 3B has the highest bending resistance.
  • the third detection line conductor 31C included in the third detection line conductor 3C has an intermediate bending resistance higher than that of the first detection line conductor 3A and lower than that of the second detection line conductor 3B. ..
  • the following form can be exemplified as a means for providing a difference in bending resistance between the conductors 21 and 31 between the target electric wire 2 and the detection line 3 and between the plurality of detection lines 3.
  • the strands constituting the stranded conductor are the same, the larger the number of strands, the higher the bending resistance.
  • the number and materials of the strands constituting the conductor are the same, the thicker the strands constituting the conductor, the higher the bending resistance.
  • the metal material constituting the conductor exhibits high bending resistance as a material property, for example, when it has a large Young's modulus, a high rigidity, and a high bending strength, the bending resistance of the conductor becomes high. Further, as described in Patent Document 1, the shorter the twist pitch of the strands in the conductor, the higher the bending resistance of the conductor.
  • the strands constituting each detection wire 3 are thinner than the strands constituting each target electric wire 2.
  • the detection wire conductors 31 of the three detection wires 3 include the same number of strands having the same diameter, but the detection wire conductors 31 are made of metal materials having different bending resistances as material properties. It contains a wire.
  • the first detection wire conductor 31A having the lowest bending resistance is entirely composed of a wire 33 made of a first metal material having a relatively low bending strength.
  • the second detection wire conductor 31B which has the highest bending resistance, is entirely composed of a plurality of strands 34 made of a second metal material.
  • the second metal material has higher bending resistance than the first metal material in terms of material characteristics.
  • the second metal material has a higher bending strength than the first metal material, and exhibits higher bending resistance than the first metal material when the wires having the same diameter are used.
  • the third detection wire conductor 31C having an intermediate bending resistance includes both a wire 33 made of a first metal material and a wire 34 made of a second metal material. When an alloy is used as the metal material constituting the strands 33 and 34, various bending resistances can be realized depending on the type and amount of the added element and the manufacturing method.
  • the mutual arrangement of each target electric wire 2 and the detection line 3 is not particularly limited, but the detection line 3 is arranged in the center, and a plurality of target electric wires are surrounded by the outer periphery of the detection line 3.
  • the form in which 2 is arranged is preferable.
  • the detection wire 3 and the target electric wire 2 may be grouped together as a bundle of electric wires, but a form in which the detection wire 3 is arranged at the center and the target electric wire 2 is spirally wound around the outer periphery of the detection wire 3 is preferable.
  • a tape layer 4 as an inner peripheral layer is provided on the outer periphery of the electric wire group G.
  • the tape layer 4 plays a role of gathering the target electric wires 2 and the detection wires 3 constituting the electric wire group G so as not to separate from each other.
  • the form and material of the tape layer 4 are not particularly limited, but a form in which a tape body made of an insulating material such as paper or resin is spirally wound around the outer circumference of the electric wire group G is preferably exemplified. Can be done.
  • the tape layer 4 is in close contact with the electric wire group G.
  • the electric wires facing the outermost circumference of the electric wire group G are in contact with the outer peripheral surface.
  • the sheath 5 is configured as an extruded body of an insulator containing a polymer material as a main component, surrounds the outer periphery of the tape layer 4, and constitutes the outermost periphery of the entire cable 1.
  • the sheath 5 is in close contact with the outer periphery of the tape layer 4. That is, in the entire outer periphery of the tape layer 4, the sheath 5 is in contact with the tape layer 4 without forming a gap between the sheath 5 and the tape layer 4, except for unavoidable ones.
  • the sheath 5 may be composed of one layer or a plurality of layers, but in the illustrated form, it is composed of two layers, an outer layer 51 and an inner layer 52, and the outer layer 51 is more than the inner layer 52. Is also made of a material having excellent mechanical properties such as wear resistance.
  • the cable 1 includes a detection wire conductor 31 having a lower bending resistance than the electric wire conductor 21 of the target electric wire 2 in addition to the target electric wire 2 that performs a predetermined function in a device or the like. 3 is included. If the cable 1 is repeatedly bent or vibrated, the detection wire conductor 31, which has low bending resistance, breaks before the wire conductor 21. The fact that the detection wire conductor 31 is broken means that the target electric wire 2 is also subjected to a load due to bending or vibration, and metal fatigue is accumulated in the electric wire conductor 21. If the load is continuously applied to the target electric wire 2, the target electric wire 2 is used. It means that the electric wire conductor 21 of the above can also be broken. The breakage of the detection wire conductor 31 can be detected by electrical measurement such as measurement of characteristic impedance.
  • the disconnection of the electric wire conductor 21 of the target electric wire 2 and the breakage of the detection wire conductor 31 of the detection wire 3 may be simply referred to as the disconnection of the target electric wire 2 and the breakage of the detection wire 3.
  • the tape layer 4 is provided in close contact with the outer periphery of the electric wire group G including the target electric wire 2 and the detection wire 3, and the sheath 5 is further provided on the outer periphery of the tape layer 4. It is provided.
  • the sheath 5 is formed as an extruded body and is in close contact with the tape layer 4. Since the sheath 5 is formed as an extruded body in this way, the structure of the electric wire group G in which the target electric wire 2 and the detection wire 3 are put together in a predetermined relative arrangement is firmly held by the sheath 5. , The positional relationship between the target electric wire 2 and the detection wire 3 is less likely to shift from each other.
  • the positional relationship between the target electric wire 2 and the detection line 3 changes depending on the position along the axial direction and over time, even if an external force of the same magnitude is applied to the target electric wire 2 due to bending, vibration, or the like.
  • the relationship between the load received by the target electric wire 2 and the load received by the detection line 3 may change with time depending on the position along the axial direction. Then, at the stage when the detection wire conductor 31 of the detection wire 3 is broken, the degree of metal fatigue accumulated in the wire conductor 21 of the target electric wire 2 depends on the position in the axial direction and changes with time.
  • the degree of urgency (how much load is applied to actually break the wire) of the target electric wire 2 indicated by the breakage of the detection wire conductor 31 varies depending on the position and time.
  • the positional relationship between the target electric wire 2 and the detection line 3 does not depend on the position in the axial direction of the cable 1 and does not depend on the passage of time.
  • the detection wire conductor 31 of the detection wire 3 when the detection wire conductor 31 of the detection wire 3 is broken, by detecting the breakage, the electric wire of the target electric wire 2 is detected regardless of the position along the axial direction of the cable 1 and regardless of the timing. It can be used as an index that the conductor 21 has accumulated the same degree of metal fatigue and the target electric wire 2 has a sign of disconnection of the same degree of urgency. That is, the sign of disconnection of the target electric wire 2 can be accurately detected with a sensitivity that does not depend on the position or time.
  • the electric wire group G is grouped by the tape layer 4, and a sheath 5 is provided on the outer periphery thereof.
  • the tape layer 4 is the target electric wire 2 and the detection line 3 by the sheath 5. Although it plays a role of improving the stability of maintaining the positional relationship, the tape layer 4 may be omitted in the cable 1.
  • the sheath 5 may be formed as an extruded body that is in direct contact with the outer periphery of the electric wire group G.
  • the sheath 5 constitutes the electric wire group G. It suffices to be in contact with the surface of the electric wire.
  • a layer other than the tape layer 4 may be provided between the sheath 5 and the electric wire group G as in the outer detection layers 7 and 8 in the second embodiment and the third embodiment described later.
  • the aggregate of all the layers provided on the outer periphery of the electric wire group G, including the layers other than the tape layer 4 is used as the inner peripheral layer, and the inner peripheral layer is provided in close contact with the outer periphery of the electric wire group G.
  • the sheath 5 may be provided as an extruded body in close contact with the surface of the inner peripheral layer.
  • the relative arrangement of the target electric wire 2 and the detection wire 3 in the electric wire group G is not particularly limited, but has been described above when a plurality of target electric wires 2 are provided. As described above, it is preferable to surround the detection line 3 and arrange the plurality of target electric wires 2. By arranging the detection line 3 at or near the center of the cable 1 surrounded by the plurality of target electric wires 2 in this way, a large force is applied to the detection line 3 when the cable 1 is bent. It becomes easy to apply. As a result, it becomes possible to sensitively detect a sign of disconnection of the target electric wire 2 due to the breakage of the detection wire 3. When a plurality of detection lines 3 are provided, it is preferable to arrange the plurality of detection lines 3 together at a position surrounded by the target electric wire 2 instead of arranging the plurality of detection lines 3 apart from each other.
  • the disconnection of the target electric wire 2 can be detected.
  • a plurality of detection lines 3 are provided and the detection lines 3 are provided.
  • the detection wire conductor 31 having lower bending resistance breaks at a stage where a smaller load is applied, that is, at an early stage where metal fatigue is not accumulated so much in the wire conductor 21 of the target electric wire 2, so that the detection wire conductor 31 breaks.
  • the degree of urgency for disconnection of the target electric wire 2 is further increased, and the disconnection is caused. It is detected that the time is approaching. In this way, by being able to detect the degree of urgency of the disconnection of the target electric wire 2 in stages, it is possible to take measures according to the degree of urgency in each stage.
  • the target electric wires having low bending resistance such as the signal lines 2C and 2D are included.
  • the sign of disconnection of 2 is detected by the breakage of the detection wire conductor 31 having low bending resistance among the plurality of detection wire conductors 31, and the disconnection of the target electric wire 2 having high bending resistance such as the feeding lines 2A and 2B.
  • the sign can also be configured to be detected by the breakage of the detection wire conductor 31 having high bending resistance among the plurality of detection wire conductors 31.
  • the number of types of detection wire conductors 31 having different bending resistance may be appropriately determined according to the number of stages to be detected as the degree of urgency until the target electric wire 2 is broken.
  • the means for changing the bending resistance of the detection wire conductor 31 can be various methods such as changing the number and diameter of the strands constituting the detection wire conductor 31 as the stranded conductor, and the constituent materials.
  • the detection wire conductor 31 having three stages of bending resistance is provided, the strand 33 made of the first metal material having low bending strength and the first metal as in the form described above.
  • a form in which the detection wire conductor 31 is formed by using the wire 34 made of a second metal material having a bending strength higher than that of the material can be mentioned as preferable.
  • the first detection wire conductor 31A composed of only the wire 33 of the first metal material and the second detection wire conductor 31B composed of only the wire 34 of the second metal material the first If the third detection wire conductor 31C including both the wire 33 of the metal material and the wire 34 of the second metal material is configured, the three types of detection wire conductors 31 having three levels of bending resistance can be obtained in two. It can be prepared with a simple structure using only the wires 33 and 34 of the metal material of the seed.
  • the magnitude of the bending resistance of the third detection wire conductor 31C can be adjusted by the ratio of the number of strands 33 and 34 of the two kinds of metal materials. Even when bending resistance of four or more stages is set, it is possible to obtain a detection wire conductor 31 having various bending resistance by changing the number of each of the strands 33 and 34 of these two types of metal materials. can.
  • the cable 1 with an abnormality sign detection function can detect a sign of disconnection of the target electric wire 2 in advance by breaking the detection wire 3, and there are various possibilities that the target electric wire 2 may be disconnected. It can be used for various purposes. It is particularly suitable for use in equipment such as automobiles where bending and vibration are frequently applied to electric wires due to movement. Above all, it can be suitably used for applications such as a brake system of an automobile, in which the influence that can occur when the target electric wire 2 is broken is large and the significance of detecting the disconnection of the target electric wire 2 is great.
  • the target electric wire 2 is detected by detecting the breakage of the detection wire conductor 31 constituting the detection wire 3. It is possible to detect a sign that a wire break occurs in the electric wire conductor 21 of the above.
  • the specific measurement method for detecting the breakage of the detection wire conductor 31 and the specific detection device configuration for detecting the breakage of the detection wire conductor 31 and recognizing and notifying it as a sign of disconnection of the target electric wire 2 Is not particularly limited.
  • the electric wire abnormality detection device hereinafter, may be simply referred to as a detection device) according to the embodiment of the present disclosure described below can be suitably applied.
  • FIG. 2 schematically shows the configuration of the electric wire abnormality detecting device 9 according to the embodiment of the present disclosure.
  • the detection device 9 targets the cable 1 with the abnormality sign detection function according to the first embodiment of the present disclosure described above, and detects the sign of disconnection of the wire conductor 21 of the target electric wire 2 as a sign of the wire abnormality. It is a thing.
  • FIG. 2 for simplification, only one wire conductor 21 of the target electric wire 2 and one detection wire conductor 31 of the detection wire 3 are shown as constituent members of the cable 1, and the detection wire conductor 31 thereof is shown. Shows a state in which a break B has occurred.
  • the detection device 9 has a measurement unit 91 and a notification unit 92.
  • the measuring unit 91 inspects whether or not a break B has occurred in the detection line conductor 31 by measuring the characteristic impedance of the detection line conductor 31 of the detection line 3 in the cable 1 with an abnormality sign detection function. be.
  • the characteristic impedance is measured by inputting an inspection signal including an AC component to the detection line conductor 31 and detecting the response signal by the reflection method or the transmission method. If a break B is present in the middle of the detection line conductor 31, the inspection signal is reflected at the break B, so that the response signal changes discontinuously.
  • the characteristic impedance measured by the measuring unit 91 changes by a reference value or more, a break B occurs in the detection wire conductor 31, and a sign of disconnection occurs in the wire conductor 21 of the target wire 2. It can be determined that it is.
  • the reference value may be set in advance as a threshold value of the amount of change that should be considered to be due to the breakage of the detection line conductor 31 based on the actual measurement result or the like when the breakage B does not occur in the detection line conductor 31.
  • any detection wire is measured by measuring the characteristic impedance of each detection wire conductor 31.
  • the conductor 31 has a break B, and to detect a sign of disconnection of the target electric wire 2 step by step.
  • the change in the characteristic impedance also occurs due to damage to the detection wire conductor 31 that does not lead to breakage.
  • the change in the characteristic impedance due to the break is treated as a representative, but the damage of the detection wire conductor 31 other than the break is also a sign of the disconnection of the target electric wire 2 through the change in the characteristic impedance. Can be used to detect.
  • the detection of the break B of the detection wire conductor 31 can be performed not only by the measurement of the characteristic impedance but also by other electrical measurements such as the measurement of the resistance value, but it is detected with high sensitivity by using the characteristic impedance measurement. Breaking B of the wire conductor 31 can be detected.
  • the characteristic impedance measurement is performed by the reflection method, if the measurement unit 91 can be connected to only one end as shown in FIG. 2 without connecting the measuring device to both ends of the cable 1, the characteristic impedance can be measured. Measurements can be performed.
  • the measuring unit 91 should be connected even to one end of the detection line conductor 31. If this is possible, it is possible to detect a sign of disconnection in the target electric wire 2 without removing the electric wire or removing an obstacle. Further, if the characteristic impedance of the detection line conductor 31 is measured by the time domain reflection method (TDR method), not only the presence or absence of the break B in the detection line conductor 31 but also the position where the break B occurs can be specified. It is possible. The characteristic impedance may be measured between the detection wire conductor 31 of interest and the ground potential, or between one of the other detection wire conductors 31 or the wire conductor 21.
  • TDR method time domain reflection method
  • the notification unit 92 transmits a signal from the measurement unit 91.
  • the measurement unit 91 changes the characteristic impedance of the detection wire conductor 31 by a reference value or more and determines that the detection wire conductor 31 is broken
  • the notification unit 92 indicates that the target electric wire 2 is broken. That is, it notifies the outside that there is a sign that the wire conductor 21 of the target wire 2 is broken.
  • the specific method of notification to the outside is not particularly limited, but for example, a method of providing a display panel 93 on a device such as an automobile in which a cable 1 is arranged to visually notify, or a method of notifying by an alarm sound. Can be exemplified.
  • the notification unit 92 may be provided as an interlock device that limits a part or all of the functions of the device.
  • the notification unit 92 issues different notifications depending on which detection wire conductor 31 has a fracture B. Then, the sign of the disconnection of the target electric wire 2 can be notified step by step according to the degree of urgency.
  • the detection device 9 described above is always connected to the cable 1 to continuously measure the characteristic impedance by the measuring unit 91, which is a sign of disconnection in the target electric wire 2. It is preferable to constantly monitor whether or not the problem has occurred. Then, if a sign of disconnection occurs in the target electric wire 2, the sign of disconnection can be detected at an early stage, and the user of the device or the like can be notified via the notification unit 92. The user who receives the notification can take measures such as replacement of the cable 1 at an early stage, and can use the device for a long time without any trouble.
  • the detection device 9 may be connected to the cable 1 only at a predetermined time to inspect whether or not a sign of disconnection has occurred in the target electric wire 2.
  • the wire conductor 21 of the target electric wire 2 detects a sign that the wire conductor 21 of the target electric wire 2 is broken due to the accumulation of metal fatigue, using the breakage of the detection wire conductor 31 of the detection wire 3 as an index. rice field.
  • damage may occur in addition to the disconnection of the conductor due to metal fatigue.
  • the disconnection due to metal fatigue of the conductor progresses for a long period of time due to repeated bending and vibration, but when a large impact is suddenly applied to the electric wire due to an external force or the like, the conductor is disconnected. It can occur.
  • the detection method using the breakage of the detection wire 31 described in the first embodiment can sensitively detect the sign of disconnection of the wire conductor 21 due to metal fatigue, while the wire conductor 21 due to a sudden impact can be detected.
  • the sign of disconnection and the sign of the formation of damage to the target electric wire 2 due to contact with an external object or friction cannot always be detected sensitively. Therefore, in the cables 1', 1 "with the abnormality sign detection function according to the second embodiment and the third embodiment described below, the signs of damage to the target electric wire 2 due to the impact or trauma are also shown.
  • an outer detection layer is provided so that it can be detected together with a sign of disconnection due to metal fatigue.
  • the outer detection layer is configured as the conductive tape 7 shown in FIGS. 3A and 3B in the second embodiment, and the laminated tape 8 shown in FIGS. 4A to 4C in the third embodiment. It is configured as.
  • These outer detection layers are configured as layered members including a conductive member, and are arranged between the sheath 5 and the electric wire group G.
  • the outer detection layers 7 and 8 are arranged on the outer periphery of the tape layer 4, but may be arranged inside the tape layer 4, that is, at a position in contact with the electric wire group G.
  • the aggregate of the outer detection layer and the tape layer 4 is regarded as the inner peripheral layer, and the sheath 5 is formed as an extruded body in close contact with the surface of the aggregate.
  • the outer detection layer is provided on the outer periphery of the sheath 5, the purpose of detecting a sign of damage to the target electric wire 2 can be achieved, but in order to continue accurate damage detection, the outer detection layer is externally provided. From the viewpoint of protecting from the environment, the outer detection layer is provided inside the sheath 5.
  • the outer detection layer is located outside the detection line 3 with respect to the center of the cable 1', 1 ", when the cable 1', 1" is suddenly subjected to a large impact due to an external force. Further, when the outer detection layer receives contact or friction with an external object, the outer detection layer is more likely to receive a large load than the detection line 3, and is more likely to break. Therefore, by detecting the breakage of the outer detection layer, it is possible to sensitively detect that the target electric wire 2 has a sign of damage due to impact or trauma.
  • the outer detection layer is not limited to the conductive tape 7 and the laminated tape 8 described later, and is not limited to a specific form as long as it has a conductive member, but the outer detection layer is included in the outer detection layer.
  • the member is configured as a metal layer having a thickness smaller than the outer diameter of the detection line conductor 31 of the detection line 3 (so that it is easy to understand in FIGS. 3B, 4B, 4C, the metal layers 7, 82 are thickened. (Displayed in). Then, even when a sudden impact that does not break the detection line 3 is applied, or when contact or friction with an external object is received, the conductive member of the outer detection layer is likely to break, and the detection is performed.
  • the outer detection layer can sensitively detect a sign of damage to the target electric wire 2 that cannot be detected only by the wire 3.
  • An example of a wire abnormality sign detection device for cables 1', 1 "with a detection function will be specifically described.
  • the same configuration as the cable 1 with an abnormality sign detection function according to the embodiment, and the configuration common to the cable 1 with an abnormality sign detection function and the electric wire abnormality sign detection device 9 according to the first embodiment will be omitted.
  • FIGS. 3A and 3B show the configuration of the cable 1'with an abnormality sign detection function according to the second embodiment of the present disclosure.
  • FIG. 3A is a perspective view in which the sheath 5 is omitted
  • FIG. 3B is a cross-sectional view showing a cross section cut perpendicularly in the axial direction including the sheath 5.
  • the cable 1' has an outer detection layer 7 made of a conductive tape on the outer periphery of the tape layer 4.
  • the conductive tape 7 is configured as a tape body having conductivity.
  • the conductive tape 7 is spirally wound around the outer periphery of the electric wire group G organized by the insulating tape layer 4 along the axial direction of the electric wire group G, centering on the electric wire group G.
  • the conductive tape 7 is roughly wound in a spiral shape with a gap S not occupied by the conductive tape 7 left between adjacent turns. In the gap S between the turns, the insulating tape layer 4 wound around the electric wire group G is exposed without being covered with the conductive tape 7.
  • the conductive tape 7 may be made of any material as long as it contains a conductive material, but it is preferable that the conductive tape 7 includes a metal layer as the conductive material.
  • the conductive tape 7 may be formed in the form of a metal foil having the entire area made of a metal material, or may have a layer of the metal material formed on the surface of the base material.
  • the base material itself is an organic polymer material. Etc., it may be composed of an insulating material.
  • the thickness of the layer of the conductive material constituting the conductive tape 7 is preferably smaller than the diameter of each detection wire conductor 31.
  • the conductive tape 7 May break. Since the conductive tape 7 exists outside the target electric wire 2, even if the target electric wire 2 is not immediately damaged by their impact or trauma, the conductive tape 7 may be broken. There is. In this case, the target electric wire 2 may also be loaded with a load that may lead to disconnection of the electric wire conductor 21 due to an impact or damage to the electric wire coating 22 or the electric wire conductor 21 due to trauma. Therefore, by detecting the breakage of the conductive tape 7, it is possible to detect that a sign of damage to the target electric wire 2 has occurred due to the application of the load to the target electric wire 2.
  • the cable 1' According to the present embodiment, it is possible to detect a sign of disconnection of the target electric wire 2 mainly due to metal fatigue due to the breakage of the detection wire 3, and the conductive tape 7 provided as an outer detection layer. It is possible to detect a sign of damage to the target electric wire 2 mainly due to impact or trauma. In this way, by providing both the detection line 3 and the outer detection layer 7 on the cable 1', the target electric wire 2 is compared with the cable 1'according to the first embodiment in which only the detection line 3 is provided. It is possible to detect various signs of damage.
  • the characteristic impedance measurement it is preferable to detect the breakage of the conductive tape 7 by the characteristic impedance measurement, particularly the measurement by the reflection method, as in the case of the breakage of the detection line conductor 31.
  • the characteristic impedance of the conductive tape 7 may be measured between the conductive tape 7 and the ground potential, or between the detection wire conductor 31 or one of the wire conductors 21. Similar to the detection wire conductor 31, the conductive tape 7 can also be specified not only for the presence or absence of breakage but also for the position where the breakage has occurred if the characteristic impedance is measured by the TDR method.
  • the change in the characteristic impedance is also caused by the damage of the conductive tape 7 that does not lead to breakage.
  • the change in the characteristic impedance due to the breakage of the conductive tape 7 is treated as a representative, but the damage of the conductive tape 7 other than the breakage is also similarly caused by the change in the characteristic impedance of the target electric wire 2. It can be used to detect signs of damage.
  • the specific arrangement form is not limited, but as described above, a spiral having a gap S between turns is provided.
  • a spiral having a gap S between turns is provided.
  • the rate of change increases, and as a result, the rate of change in the characteristic impedance also increases.
  • the size of the gap S for example, the area ratio of the region exposed as the gap S without being covered with the conductive tape 7 may be 50% or more.
  • the length of the trauma assumed along the axial direction of the conductive tape 7 is such that the breakage of the conductive tape 7 due to trauma or the like can be sensitively detected regardless of the position along the axial direction of the cable 1'. It is preferable to set the spiral pitch so that it is sufficiently long with respect to the pitch of the spiral shape.
  • the electric wire abnormality sign detecting device 9 In the measurement unit 91, in addition to the characteristic impedance of the detection line conductor 31, the characteristic impedance of the conductive tape 7 constituting the outer detection layer may be measured. Then, when the characteristic impedance of the conductive tape 7 changes by a reference value or more, it is determined that the conductive tape 7 is broken and the target electric wire 2 is a sign of damage.
  • the reference value may be set in advance as a threshold value of the amount of change that should be considered to be due to the breakage of the conductive tape 7 based on the actual measurement result or the like when the conductive tape 7 is not broken.
  • the measuring equipment constituting the measuring unit 91 even if the equipment for measuring the characteristic impedance of the detection line conductor 31 and the equipment for measuring the characteristic impedance of the outer detection layer 7 are provided as common equipment, they are provided independently. You may.
  • the notification unit 92 notifies that the target electric wire 2 has a sign of damage when the characteristic impedance of the detection wire conductor 31 changes by a reference value or more in the measurement by the measurement unit 91, and also outside. Even when the characteristic impedance of the conductive tape 7 constituting the detection layer changes by a reference value or more, the outside is notified that there is a sign that the target electric wire 2 is damaged. As described above, the change in the characteristic impedance of the detection wire conductor 31 can sensitively detect the sign of disconnection of the wire conductor 21 of the target electric wire 2 due to metal fatigue, whereas the outer detection layer 7 can detect the sign of disconnection.
  • the change in the characteristic impedance can sensitively detect a sign that the wire conductor 21 and the wire coating 22 of the target wire 2 are damaged due to the application of a sudden impact or the formation of trauma, and the characteristics of the detection wire conductor 31.
  • the notification unit 92 issues different notifications when the change in impedance exceeds the reference value and when the change in the characteristic impedance of the outer detection layer 7 exceeds the reference value so that both forms can be distinguished. Is preferable. Then, the user or the like can identify the type of damage and the cause of the damage that causes a sign in the detection wire conductor 31.
  • FIG. 4A and 4B show the configuration of the cable 1 with an abnormality sign detection function according to the third embodiment of the present disclosure.
  • FIG. 4A is a perspective view in which the sheath 5 is omitted, and FIG. 4B is cut perpendicular to the axial direction. It is sectional drawing which shows the cross section including the sheath 5.
  • the laminated tape 8 is not particularly limited in a specific arrangement form as long as it is arranged so as to surround the electric wire group G, but in the illustrated form, the laminated tape 8 is spirally wound around the electric wire group G. In the spiral shape of the laminated tape 8, a gap may or may not be provided between the turns of the spiral.
  • the laminated tape 8 has conductive coating layers 82 and 82 on both sides of a base material 81 made of a tape-shaped insulator or a semiconductor, respectively. It is configured as formed.
  • the coating layers 82 and 82 provided on both sides function as conductive members of the outer detection layer.
  • the constituent material of the base material 81 is not particularly limited as long as it is an insulator or a semiconductor, but is formed from an insulating non-woven fabric tape from the viewpoint of ensuring flexibility and thickness. The morphology is particularly preferred.
  • the material constituting the coating layers 82 and 82 is not particularly limited as long as it is a conductive material, but a metal such as copper or a copper alloy, aluminum or an aluminum alloy can be preferably used.
  • Adhesive tape 83 can be appropriately provided on the surface of one of the covering layers 82. The adhesive tape 83 can be used to fix the laminated tape 8 in a state of being wound around the outer circumference of the cable 1 ”.
  • the laminated tape 8 is damaged. In some cases, by detecting such damage to the laminated tape 8, it is possible to detect that there is a sign that the target electric wire 2 is damaged due to the application of impact or trauma. Damage to 8 can be detected by measuring the characteristic impedance between the two conductive coating layers 82 and 82. In the state where the laminated tape 8 is not damaged, it can be detected.
  • the two coating layers 82 and 82 exist as conductive continuums along the longitudinal direction of the laminated tape 8, respectively, in a state of being insulated from each other by the base material 81, and the base material 81 and the coating layer 82 are present.
  • the conductance between the two coating layers 82, 82 changes.
  • the change in composition is observed as a change in the characteristic impedance between the two coated layers 82, 82.
  • the measurement unit 91 monitors the characteristic impedance of the detection wire conductor 31, and the laminated tape 8 constituting the outer detection layer.
  • the characteristic impedance between the two coating layers 82 and 82 may be monitored.
  • the laminated tape 8 is added. Even when the characteristic impedance between the two coated layers 82 and 82 changes by more than the reference value, it should be notified to the outside that there is a sign of damage to the target electric wire 2 by appropriately distinguishing between the two. Just do it.
  • the base material 81 of the laminated tape 8 is configured as a semiconductor, and a low voltage is applied between the two layers of the coating layers 82 and 82 so as not to cause a short circuit through the base material 81, and the two layers of the coating layer are applied. If the characteristic impedance between 82 and 82 is monitored, the sensitivity of the damage sign detection can be further increased.
  • the laminated tape 8 receives an external force such as compression, even if the external force does not lead to a short circuit due to physical mutual contact between the two coating layers 82, 82, the two coating layers are subjected to dielectric breakdown. This is because a short circuit occurs between 82 and 82, which may be detected as a change in the characteristic impedance.

Landscapes

  • Physics & Mathematics (AREA)
  • General Physics & Mathematics (AREA)
  • Engineering & Computer Science (AREA)
  • Manufacturing & Machinery (AREA)
  • Insulated Conductors (AREA)
  • Testing Of Short-Circuits, Discontinuities, Leakage, Or Incorrect Line Connections (AREA)
  • Locating Faults (AREA)
  • Investigating Or Analyzing Materials By The Use Of Electric Means (AREA)
PCT/JP2021/021194 2020-11-20 2021-06-03 異常予兆検知機能付ケーブルおよび電線異常予兆検知装置 Ceased WO2022107364A1 (ja)

Priority Applications (2)

Application Number Priority Date Filing Date Title
CN202180074675.9A CN116457900A (zh) 2020-11-20 2021-06-03 带异常预兆探测功能的线缆及电线异常预兆探测装置
US18/035,866 US12462952B2 (en) 2020-11-20 2021-06-03 Cable with abnormality precursor detection function and electric wire abnormality precursor detection device

Applications Claiming Priority (2)

Application Number Priority Date Filing Date Title
JP2020193786A JP7151754B2 (ja) 2020-11-20 2020-11-20 異常予兆検知機能付ケーブルおよび電線異常予兆検知装置
JP2020-193786 2020-11-20

Publications (1)

Publication Number Publication Date
WO2022107364A1 true WO2022107364A1 (ja) 2022-05-27

Family

ID=81708647

Family Applications (1)

Application Number Title Priority Date Filing Date
PCT/JP2021/021194 Ceased WO2022107364A1 (ja) 2020-11-20 2021-06-03 異常予兆検知機能付ケーブルおよび電線異常予兆検知装置

Country Status (4)

Country Link
US (1) US12462952B2 (enExample)
JP (3) JP7151754B2 (enExample)
CN (1) CN116457900A (enExample)
WO (1) WO2022107364A1 (enExample)

Cited By (1)

* Cited by examiner, † Cited by third party
Publication number Priority date Publication date Assignee Title
WO2023145617A1 (ja) * 2022-01-28 2023-08-03 住友電気工業株式会社 検知装置および検知方法

Families Citing this family (2)

* Cited by examiner, † Cited by third party
Publication number Priority date Publication date Assignee Title
CN121002384A (zh) * 2023-05-02 2025-11-21 住友电气工业株式会社 线束、检测系统以及检测方法
CN117690640B (zh) * 2023-12-08 2024-07-23 建业电缆集团有限公司 一种智能化采煤机橡套软电缆

Citations (4)

* Cited by examiner, † Cited by third party
Publication number Priority date Publication date Assignee Title
JPH10125141A (ja) * 1996-10-24 1998-05-15 Showa Electric Wire & Cable Co Ltd 劣化判定機能付きケーブル
JPH10326526A (ja) * 1997-05-26 1998-12-08 Sumitomo Electric Ind Ltd 移動用ケーブル
JP2007299608A (ja) * 2006-04-28 2007-11-15 Hitachi Cable Ltd 断線検知機能付きケーブル
JP2010252465A (ja) * 2009-04-14 2010-11-04 Yushin Koki Kk 直流高電圧発生装置

Family Cites Families (13)

* Cited by examiner, † Cited by third party
Publication number Priority date Publication date Assignee Title
JPH0682140B2 (ja) * 1987-06-26 1994-10-19 株式会社日立製作所 Tdr装置
JPH0616080B2 (ja) * 1988-02-09 1994-03-02 日本鋼管株式会社 距離測定装置
JPH05340985A (ja) * 1992-06-10 1993-12-24 Koganei Ltd リード線の断線予知方法およびそれを用いた位置検出装置
JPH0654143U (ja) * 1992-12-22 1994-07-22 タツタ電線株式会社 断線予知ケーブル
JPH06338227A (ja) * 1993-03-30 1994-12-06 Hitachi Cable Ltd 検知ケーブル
JPH08219824A (ja) * 1995-02-17 1996-08-30 Hitachi Cable Ltd 地すべり検知ケーブル
JPH11154425A (ja) * 1997-11-20 1999-06-08 Furukawa Electric Co Ltd:The ゴム・プラスチック電力ケーブル
JP2006059736A (ja) * 2004-08-23 2006-03-02 Sumitomo Electric Ind Ltd 金属シースケーブル
JP4760521B2 (ja) * 2006-05-12 2011-08-31 日立電線株式会社 電気ケーブルの断線検知装置および断線検知方法
JP2013182716A (ja) 2012-02-29 2013-09-12 Hitachi Cable Ltd 断線検知機能付ケーブル
US9697929B2 (en) * 2013-10-23 2017-07-04 Belden Inc. High performance data communications cable
JP2018156824A (ja) * 2017-03-17 2018-10-04 矢崎エナジーシステム株式会社 ケーブル、ケーブルの事故点標定方法及びケーブルの接続方法
JP2020071928A (ja) * 2018-10-29 2020-05-07 東京エレクトロン株式会社 コネクタ付ケーブルの製造方法及びコネクタ付ケーブル

Patent Citations (4)

* Cited by examiner, † Cited by third party
Publication number Priority date Publication date Assignee Title
JPH10125141A (ja) * 1996-10-24 1998-05-15 Showa Electric Wire & Cable Co Ltd 劣化判定機能付きケーブル
JPH10326526A (ja) * 1997-05-26 1998-12-08 Sumitomo Electric Ind Ltd 移動用ケーブル
JP2007299608A (ja) * 2006-04-28 2007-11-15 Hitachi Cable Ltd 断線検知機能付きケーブル
JP2010252465A (ja) * 2009-04-14 2010-11-04 Yushin Koki Kk 直流高電圧発生装置

Cited By (1)

* Cited by examiner, † Cited by third party
Publication number Priority date Publication date Assignee Title
WO2023145617A1 (ja) * 2022-01-28 2023-08-03 住友電気工業株式会社 検知装置および検知方法

Also Published As

Publication number Publication date
JP7740473B2 (ja) 2025-09-17
JP2022082303A (ja) 2022-06-01
US20230420158A1 (en) 2023-12-28
JP2024169513A (ja) 2024-12-05
US12462952B2 (en) 2025-11-04
JP7559812B2 (ja) 2024-10-02
JP7151754B2 (ja) 2022-10-12
CN116457900A (zh) 2023-07-18
JP2022179553A (ja) 2022-12-02

Similar Documents

Publication Publication Date Title
JP7740473B2 (ja) 異常予兆検知機能付ケーブル
US8487184B2 (en) Communication cable
JP2022179553A5 (ja) 電線異常予兆検知装置
US20020029896A1 (en) Coaxial cables, multicore cables, and electronic apparatuses using such cables
RU2686839C2 (ru) Устройство и способ для индикатора перенапряжения электромеханического кабеля
CN103606416A (zh) 多芯线缆及其制造方法
CN113508441B (zh) 通信用屏蔽电线
CN113921201A (zh) 一种复合rfid射频识别测温智能电力电缆及电缆制造方法
US20130222002A1 (en) Cable with wire disconnection detection function
US20140027151A1 (en) Shielded cable
JP2025126334A (ja) 異常予兆検知機能付ケーブル
JP2022082303A5 (enExample)
JP4760521B2 (ja) 電気ケーブルの断線検知装置および断線検知方法
CN113963866A (zh) 一种智能电力电缆及电缆制造方法
KR100613954B1 (ko) 동축케이블, 다심케이블 및 그것을 사용한 전자기기
JP7677466B2 (ja) 異常予兆検知機能付ケーブルおよび電線異常予兆検知システム
JP3606141B2 (ja) 同軸素線、同軸ケーブル及びそれを用いた電子機器
JP7732513B2 (ja) 多芯ケーブル、断線検知装置
JP7673818B2 (ja) 電線検査システム、電線検査方法、および電線の使用方法
WO2020004132A1 (ja) 同軸ケーブル
JP7232389B2 (ja) 可動部用ケーブル及び寿命予測システム
WO2023067712A1 (ja) 多芯ケーブル、断線検知装置
US20250069783A1 (en) Cable
CN116013586A (zh) 一种智能测温电缆
JP2025061229A (ja) 液体検知システム

Legal Events

Date Code Title Description
121 Ep: the epo has been informed by wipo that ep was designated in this application

Ref document number: 21894241

Country of ref document: EP

Kind code of ref document: A1

WWE Wipo information: entry into national phase

Ref document number: 202180074675.9

Country of ref document: CN

WWE Wipo information: entry into national phase

Ref document number: 18035866

Country of ref document: US

NENP Non-entry into the national phase

Ref country code: DE

122 Ep: pct application non-entry in european phase

Ref document number: 21894241

Country of ref document: EP

Kind code of ref document: A1

WWG Wipo information: grant in national office

Ref document number: 18035866

Country of ref document: US