WO2022018895A1 - 自動分析装置 - Google Patents

自動分析装置 Download PDF

Info

Publication number
WO2022018895A1
WO2022018895A1 PCT/JP2021/005309 JP2021005309W WO2022018895A1 WO 2022018895 A1 WO2022018895 A1 WO 2022018895A1 JP 2021005309 W JP2021005309 W JP 2021005309W WO 2022018895 A1 WO2022018895 A1 WO 2022018895A1
Authority
WO
WIPO (PCT)
Prior art keywords
nozzle
automatic analyzer
dispensing
unit
dispensing nozzle
Prior art date
Legal status (The legal status is an assumption and is not a legal conclusion. Google has not performed a legal analysis and makes no representation as to the accuracy of the status listed.)
Ceased
Application number
PCT/JP2021/005309
Other languages
English (en)
French (fr)
Japanese (ja)
Inventor
修吾 岡部
武徳 大草
Current Assignee (The listed assignees may be inaccurate. Google has not performed a legal analysis and makes no representation or warranty as to the accuracy of the list.)
Hitachi High Tech Corp
Original Assignee
Hitachi High Tech Corp
Priority date (The priority date is an assumption and is not a legal conclusion. Google has not performed a legal analysis and makes no representation as to the accuracy of the date listed.)
Filing date
Publication date
Application filed by Hitachi High Tech Corp filed Critical Hitachi High Tech Corp
Priority to CN202180045582.3A priority Critical patent/CN115803637A/zh
Priority to JP2022538578A priority patent/JP7433440B2/ja
Priority to EP21844618.5A priority patent/EP4187255A4/en
Priority to US18/013,357 priority patent/US20230341432A1/en
Publication of WO2022018895A1 publication Critical patent/WO2022018895A1/ja
Anticipated expiration legal-status Critical
Ceased legal-status Critical Current

Links

Images

Classifications

    • GPHYSICS
    • G01MEASURING; TESTING
    • G01NINVESTIGATING OR ANALYSING MATERIALS BY DETERMINING THEIR CHEMICAL OR PHYSICAL PROPERTIES
    • G01N35/00Automatic analysis not limited to methods or materials provided for in any single one of groups G01N1/00 - G01N33/00; Handling materials therefor
    • G01N35/10Devices for transferring samples or any liquids to, in, or from, the analysis apparatus, e.g. suction devices, injection devices
    • G01N35/1004Cleaning sample transfer devices
    • GPHYSICS
    • G01MEASURING; TESTING
    • G01NINVESTIGATING OR ANALYSING MATERIALS BY DETERMINING THEIR CHEMICAL OR PHYSICAL PROPERTIES
    • G01N35/00Automatic analysis not limited to methods or materials provided for in any single one of groups G01N1/00 - G01N33/00; Handling materials therefor
    • G01N35/10Devices for transferring samples or any liquids to, in, or from, the analysis apparatus, e.g. suction devices, injection devices
    • G01N35/1065Multiple transfer devices

Definitions

  • the present invention relates to an automatic analyzer.
  • the automatic analyzer is a device that automatically executes quantitative analysis or qualitative analysis by reacting a sample such as blood or urine with a reagent.
  • the sample or reagent is dispensed from the sample container or reagent container to the reaction vessel for analysis by a dispensing nozzle.
  • the dispensing nozzles are provided for samples and reagents, they are repeatedly used for different samples and reagents, so each time they are dispensed, they are washed and dried by spraying washing water or compressed air, and are clean. It is kept in a state. However, when compressed air is blown after cleaning, the cleaning water remaining in the dispensing nozzle may be scattered in the automatic analyzer.
  • Patent Document 1 describes an upper opening through which the dispensing nozzle passes in a cleaning tank that sprays cleaning water or compressed air onto the dispensing nozzle in order to clean and dry the dispensing nozzle without scattering the cleaning water.
  • An automatic analyzer with a wider lower opening for draining wash water is disclosed.
  • Patent Document 1 it is necessary to move the dispensing nozzle to be washed and dried up and down in the washing tank. In order to move the dispensing nozzle up and down, it is necessary to switch the moving direction of the dispensing nozzle between the horizontal direction and the vertical direction, which requires time for the cleaning / drying process.
  • an object of the present invention is to provide an automatic analyzer that can perform cleaning without moving the dispensing nozzle up and down in the cleaning tank.
  • the present invention is an automatic analyzer including a dispensing nozzle for dispensing a sample or a reagent and a nozzle cleaning tank for cleaning the dispensing nozzle, and the nozzle cleaning tank is the same.
  • the pouring nozzle has an injection unit for injecting cleaning water and an opening for the dispensing nozzle to enter and exit, and the opening is provided on the side surface of the nozzle cleaning tank along the trajectory of the dispensing nozzle in the horizontal plane. It is characterized by being able to be.
  • an automatic analyzer that can perform cleaning without moving the dispensing nozzle up and down in the cleaning tank.
  • AA arrow view of FIG. 4A showing another example of the nozzle cleaning tank.
  • FIG. 6A is a view taken along the line EE showing a modified example of the injection portion.
  • the automatic analyzer is an apparatus for analyzing a sample using a reaction solution obtained by reacting a sample with a reagent, and examples thereof include an automatic biochemical analyzer, an automatic immunoanalyzer, and an automatic gene analyzer. It also includes a mass spectrometer used for clinical examinations and a coagulation analyzer that measures the coagulation time of blood. Further, the present invention can be applied to a complex system of a mass spectrometer, a coagulation analyzer, etc. and an automatic biochemical analyzer, an automated immunoanalyzer, etc., or an automatic analysis system to which these are applied.
  • the automatic analyzer includes a sample transport unit 102, a reagent storage 104, a sample dispensing unit 105, a reagent dispensing unit 106, a reaction promoting unit 107, a measuring unit 108, and a control unit 113.
  • the vertical direction is the Z direction
  • the horizontal plane is the XY plane.
  • the sample transport unit 102 transports the sample container 101 containing a sample such as blood or urine to the sample suction position 110.
  • the reagent storage 104 stores the reagent container 103 containing the reagent used for analysis in a predetermined temperature range.
  • the sample dispensing unit 105 dispenses the sample from the sample container 101 transported to the sample suction position 110 to the reaction container arranged in the reaction promoting unit 107.
  • the reaction container into which the sample is dispensed and the dispensing chip used at the time of dispensing the sample are stored in the consumables storage unit 111, and are transported to a predetermined position by the consumables transport unit 112.
  • the reagent dispensing unit 106 dispenses the reagent from the reagent container 103 stored in the reagent storage 104 to the reaction container arranged in the reaction promotion unit 107 and from which the sample is dispensed. After dispensing the reagent, the reagent dispensing unit 106 is washed in the nozzle washing tank 114.
  • the details of the reagent dispensing unit 106 will be described later with reference to FIGS. 2 and 3.
  • the details of the nozzle cleaning tank 114 will be described later with reference to FIGS. 4A and 4B.
  • the stirring unit 115 having a paddle for stirring at the tip stirs the reagent prior to dispensing the reagent.
  • the stirring unit 115 is washed in the paddle washing tank 116 after stirring the reagent.
  • the reaction promotion unit 107 promotes the reaction between the sample and the reagent in the reaction vessel and generates a reaction solution by keeping the reaction vessel in which the sample and the reagent are dispensed within a predetermined temperature range.
  • the reaction promoting unit 107 has a disk shape
  • the reaction container is rotated around the central axis of the disk as a rotation axis to a position where the sample dispensing unit 105 discharges a sample or a position where the reagent dispensing unit 106 discharges a reagent.
  • the reaction vessel containing the reaction solution is conveyed from the reaction promotion unit 107 to the measurement unit 108 by the reaction vessel transport unit 109.
  • the measuring unit 108 performs optical or electrical measurement on the reaction solution in the reaction vessel transported by the reaction vessel transport unit 109.
  • the absorbance of the reaction solution the amount of light emitted when a voltage is applied to the reaction solution to which the reagent is added, the number of particles in the reaction solution, the fluctuation of the current value and the voltage value when the reaction solution comes into contact with the electrode film, etc. Be measured.
  • Photometric devices such as photomultiplier tubes and photometers are used to measure absorbance and luminescence, imagers such as CCD cameras are used to measure the number of particles, and ammeters are used to measure fluctuations in current and voltmeters. A voltmeter is used respectively.
  • the control unit 113 is a device that controls each unit included in the automatic analyzer, and is configured by, for example, a computer.
  • An input / output device is connected to the control unit 113, and data necessary for analysis is input via an input device such as a keyboard, mouse, or touch panel, or an analysis result is output to an output device such as a liquid crystal display or touch panel. Or something.
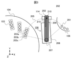
  • the reagent dispensing unit 106 includes a driving unit 208, a shaft 207, an arm 209, and a dispensing nozzle 210.
  • the drive unit 208 has a drive source such as a motor, and moves the shaft 207 connected to the drive unit 208 up and down in the Z-axis direction or rotates around the Z-axis.
  • the shaft 207 is a cylindrical rod, and one end of the arm 209 is connected to the upper end thereof.
  • the arm 209 is a member that connects the shaft 207 and the dispensing nozzle 210, and the shaft 207 is connected to one end and the dispensing nozzle 210 is connected to the other end.
  • the dispensing nozzle 210 is a thin tube that sucks and discharges reagents. Since the dispensing nozzle 210 is connected to the shaft 207 via the arm 209, it moves up and down together with the shaft 207 that moves up and down by the drive unit 208, and draws an arc trajectory in the XY plane that is a horizontal plane with the rotation of the shaft 207.
  • a liquid level sensor 215 for detecting the liquid level in contact with the tip of the dispensing nozzle 210 is stored in the arm 209. Based on the detection signal of the liquid level sensor 215, the stop position of the vertical movement of the dispensing nozzle 210 is determined, and the amount of liquid in the reagent container 103 is measured. Further, in order to suppress the displacement of the tip of the dispensing nozzle 210, it is desirable to shorten the length of the arm 209 and increase the rigidity. The short arm 209 can speed up the operation by reducing the weight of the reagent dispensing unit 106, and can reduce the occupied space during operation.
  • the dispensing nozzle 210 of the reagent dispensing section 106 draws a nozzle trajectory 205 which is an arc trajectory shown by a dotted line by rotating the shaft 207 by the driving section 208.
  • the nozzle orbit 205 overlaps the reagent suction ports 203a to 203c where the reagent is sucked and the reagent discharge position 201 where the reagent is discharged.
  • the reagent dispensing unit 106 is arranged. Further, it is desirable that the reagent dispensing unit 106 is arranged between the reaction promoting unit 107 and the reagent storage 104 so that the moving distance of the dispensing nozzle 210 becomes shorter.
  • the nozzle cleaning tank 114 is arranged so that the nozzle cleaning position 202, which is the position where the dispensing nozzle 210 is cleaned, overlaps the nozzle trajectory 205. It is desirable that the nozzle cleaning tank 114 is also arranged between the reaction promoting unit 107 and the reagent storage 104 so that the moving distance of the dispensing nozzle 210 is shorter.
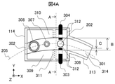
  • the nozzle cleaning tank 114 has a first opening 301 and a second opening 302, and a first injection unit 303 and a second injection unit 304.
  • the first opening 301 and the second opening 302 are openings that enter and exit the nozzle cleaning tank 114 when the dispensing nozzle 210 moves along the nozzle trajectory 205, and are provided on the side surface of the nozzle cleaning tank 114.
  • the first opening 301 and the second opening 302, which are openings for the dispensing nozzle 210 to enter and exit, are provided along the nozzle trajectory 205, which is the trajectory of the dispensing nozzle 210 in the horizontal plane.
  • the first injection unit 303 and the second injection unit 304 inject the cleaning water used for cleaning the dispensing nozzle 210 toward the nozzle cleaning position 202.
  • the washing water that has washed the dispensing nozzle 210 is discharged to the outside of the automatic analyzer through the drain pipe 306. It is desirable that the first injection unit 303 and the second injection unit 304 are arranged so as to face each other. By arranging the first injection unit 303 and the second injection unit 304 so as to face each other, cleaning water is simultaneously ejected to both side surfaces of the cylindrical dispensing nozzle 210, and the entire outer wall of the dispensing nozzle 210 is cleaned.
  • the first injection unit 303 and the second injection unit 304 may continuously inject the cleaning water, or may inject the cleaning water when the dispensing nozzle 210 reaches the nozzle cleaning position 202.
  • the washing water is continuously sprayed, the washing is performed without stopping the dispensing nozzle 210 at the nozzle washing position 202, so that the washing step can be further shortened. If the cleaning water is sprayed when the dispensing nozzle 210 reaches the nozzle cleaning position 202, it is necessary to stop the dispensing nozzle 210 at the nozzle cleaning position 202, but the cleaning water can be saved. Further, it is desirable that the difference in water pressure of the washing water injected from the first injection unit 303 and the second injection unit 304 is smaller.
  • the difference in water pressure When the difference in water pressure is extremely large, water droplets tend to remain on the side where the water pressure is low, whereas when the difference in water pressure is smaller, the water droplets remaining in the dispensing nozzle 210 after washing can be reduced. Therefore, when cleaning the dispensing nozzle 210 without stopping at the nozzle cleaning position 202, it is desirable that the cleaning water is sprayed from the direction orthogonal to the nozzle trajectory 205.
  • the outer surface of the dispensing nozzle 210 may be subjected to a water repellent treatment.
  • the cleaning water sprayed on the dispensing nozzle 210 may be scattered from the nozzle cleaning tank 114. Since the scattered wash water contains reagents and the like, if the automatic analyzer is contaminated by the scattered water droplets, the analysis result is adversely affected. Therefore, in order to suppress the scattering of the washing water, the extension portion 313 for keeping the positions of the first opening 301 and the second opening 302 away from the first injection portion 303 and the second injection portion 304, and both sides of the nozzle trajectory 205 are provided. A first roof 309 and a second roof 310 to be covered may be provided.
  • the stretched portion 313 will be described with reference to FIGS. 4A and 4B.
  • the extending portion 313 is a wall surface extending along the nozzle trajectory 205 in order to keep the first opening 301 away from the first injection portion 303 and the second injection portion 304. Since the stretched portion 313 extends along the nozzle trajectory 205, the expected width C from the direction orthogonal to the injection direction of the washing water, that is, the X-axis direction in FIG. 4A, is larger than the width B of the opening through which the dispensing nozzle 210 passes. Can be narrowed. By making the expected width C narrower than the width B of the opening, it is possible to suppress water droplets that linearly scatter in the X-axis direction from the nozzle cleaning position 202.
  • the expected width C becomes narrower as the diameter of the nozzle orbit 205 becomes shorter, and the diameter of the nozzle orbit 205 depends on the arrangement of the reaction promoting unit 107, the reagent storage 104, and the reagent dispensing unit 106. It is desirable that the diameter of 205 is set to be short.
  • the bottom surface 314 of the stretched portion 313 is an inclined surface inclined toward the nozzle cleaning tank 114. Since the bottom surface 314 is an inclined surface, the water droplets scattered on the stretched portion 313 flow toward the nozzle cleaning tank 114 and are discharged through the drain pipe 306.
  • the stretched portion 313 exemplified in FIGS. 4A and 4B may be provided not only on the side of the first opening 301 but also on the side of the second opening 302.
  • the width of the stretched portion 313 corresponding to the width B of the opening is narrower than the width of the nozzle cleaning tank 114, that is, the length in the Y direction. Since the width of the stretched portion 313 is narrower than the width of the nozzle cleaning tank 114, the cleaning water is less likely to scatter out of the nozzle cleaning tank 114.
  • the first roof 309 and the second roof 310 are provided at positions higher than the height at which the first injection unit 303 and the second injection unit 304 inject the washing water 305.
  • the first roof 309 and the second roof 310 are provided on both sides of the nozzle track 205 at a position higher than the height at which the washing water 305 is sprayed, the washing water 305 sprayed on the dispensing nozzle 210 is scattered. It is suppressed.
  • the distance D from the first roof 309 or the second roof 310 to the bottom 315 is longer.
  • the longer the distance D the more difficult it is for water droplets splashing from the bottom 315 to scatter out of the nozzle cleaning tank 114.
  • the bottom portion 315 is inclined toward the drain pipe 306. Since the bottom 315 is inclined, the washing water after washing flows to the drain pipe 306 without staying in the bottom 315, so that the washing water staying in the bottom 315 does not jump up.
  • the lower surfaces of the first roof 309 and the second roof 310 shown in FIG. 5B are inclined surfaces whose side near the nozzle track 205 is higher than the side far from the nozzle track 205.
  • the water droplets adhering to the lower surfaces of the first roof 309 and the second roof 310 flow toward the inner wall 312 of the nozzle cleaning tank 114 along the inclined surface, so that the cleaned dispensing nozzle 210 does not get dirty.
  • the nozzle cleaning tank 114 may be further provided with an inner wall cleaning unit 307 and a nozzle retracting unit 308. It is desirable that the inner wall cleaning unit 307 and the nozzle retracting unit 308 are separated from the first injection unit 303 and the second injection unit 304 by the partition wall 311. By being isolated by the partition wall 311, the inner wall cleaning portion 307 and the nozzle retracting portion 308 are kept in a clean state while avoiding scattered water droplets.
  • the inner wall cleaning unit 307 is a container from which reagents for cleaning the inner wall of the dispensing nozzle 210 are discharged.
  • a specified amount of reagent is sucked by the dispensing nozzle 210 whose tip is immersed in the springing reagent. Then, the dispensing nozzle 210 sucking the reagent discharges the reagent to the drain pipe 306, and the cleaning of the inner wall of the dispensing nozzle 210 is completed.
  • the nozzle retracting unit 308 is a cylinder in which the dispensing nozzle 210 is stored during maintenance of the automatic analyzer. By storing the dispensing nozzle 210 in the nozzle retracting unit 308, it is possible to prevent an apparatus user or a service person from accidentally contacting the dispensing nozzle 210 and damaging the dispensing nozzle 210.
  • the first injection unit 303 and the second injection unit 304 exemplified in FIGS. 6A and 6B spread the washing water in the direction of the nozzle trajectory 205 and inject it.
  • the first injection unit 303 and the second injection unit 304 are configured such that a plurality of injection ports are arranged side by side in the direction of the nozzle trajectory 205, that is, in the horizontal direction, or the width in the horizontal direction is larger than the width in the vertical direction. Is composed of a wide-shaped injection port.
  • the dispensing nozzle 210 moving in the horizontal direction can be washed more efficiently.
  • the first injection unit 303 and the second injection unit 304 may inject cleaning water to a lower position as the dispensing nozzle 210 approaches the first opening 301 or the second opening 302.
  • the position of the injection port in the central portion which is the farthest position from the first opening 301 and the second opening 302, is the highest, and the first opening 301 or the second opening 302 has the highest position.
  • the position of the injection port is lowered as it approaches.
  • the dispensing nozzle 210 approaches the outlet regardless of whether the dispensing nozzle 210 moves from the first opening 301 to the second opening 302 or in the opposite direction. As the washing water is sprayed to a lower position.
  • the position of the injection port on the side of the first opening 301 is maximized to the second opening 302.
  • the position of the injection port may be lowered as it approaches. Further, the method of lowering the position of the injection port is not limited to the linear one as illustrated in FIG. 6B, but is curved, for example, such that the injection port draws an upwardly convex arc shape. Is also good.
  • the washing water is sprayed to a lower position, so that the dispensing nozzle 210 moving in the horizontal direction can be washed more efficiently.
  • the time for drying the dispensing nozzle 210 can be shortened.
  • Specimen container 101: Specimen container, 102: Specimen transport unit, 103: Nozzle container, 104: Nozzle storage, 105: Specimen dispensing unit, 106: Nozzle dispensing unit, 107: Reaction promoting unit, 108: Measuring unit, 109: Reaction Container transport unit, 110: Specimen suction position, 111: Consumables storage unit, 112: Consumables transport unit, 113: Control unit, 114: Nozzle cleaning tank, 115: Stirring unit, 116: Paddle cleaning tank, 201: Reagent discharge Position, 202: Nozzle cleaning position, 203a to 203c: Reagent suction port, 205: Nozzle trajectory, 207: Shaft, 208: Drive unit, 209: Arm, 210: Dispensing nozzle, 215: Liquid level sensor, 301: First Opening, 302: Second opening, 303: First injection part, 304: Second injection part, 305: Washing water, 306: Drain

Landscapes

  • Physics & Mathematics (AREA)
  • Health & Medical Sciences (AREA)
  • Life Sciences & Earth Sciences (AREA)
  • Chemical & Material Sciences (AREA)
  • Analytical Chemistry (AREA)
  • Biochemistry (AREA)
  • General Health & Medical Sciences (AREA)
  • General Physics & Mathematics (AREA)
  • Immunology (AREA)
  • Pathology (AREA)
  • Automatic Analysis And Handling Materials Therefor (AREA)
PCT/JP2021/005309 2020-07-22 2021-02-12 自動分析装置 Ceased WO2022018895A1 (ja)

Priority Applications (4)

Application Number Priority Date Filing Date Title
CN202180045582.3A CN115803637A (zh) 2020-07-22 2021-02-12 自动分析装置
JP2022538578A JP7433440B2 (ja) 2020-07-22 2021-02-12 自動分析装置
EP21844618.5A EP4187255A4 (en) 2020-07-22 2021-02-12 AUTOMATED ANALYZER
US18/013,357 US20230341432A1 (en) 2020-07-22 2021-02-12 Automatic Analyzer

Applications Claiming Priority (2)

Application Number Priority Date Filing Date Title
JP2020124999 2020-07-22
JP2020-124999 2020-07-22

Publications (1)

Publication Number Publication Date
WO2022018895A1 true WO2022018895A1 (ja) 2022-01-27

Family

ID=79729365

Family Applications (1)

Application Number Title Priority Date Filing Date
PCT/JP2021/005309 Ceased WO2022018895A1 (ja) 2020-07-22 2021-02-12 自動分析装置

Country Status (5)

Country Link
US (1) US20230341432A1 (enExample)
EP (1) EP4187255A4 (enExample)
JP (1) JP7433440B2 (enExample)
CN (1) CN115803637A (enExample)
WO (1) WO2022018895A1 (enExample)

Citations (6)

* Cited by examiner, † Cited by third party
Publication number Priority date Publication date Assignee Title
JPH05126836A (ja) * 1991-10-31 1993-05-21 Toshiba Corp プローブ洗浄槽
JPH11271321A (ja) * 1998-03-23 1999-10-08 Olympus Optical Co Ltd 洗浄装置
JP2005241442A (ja) * 2004-02-26 2005-09-08 Olympus Corp 洗浄装置、洗浄装置を用いた分析装置及び洗浄方法
JP2012167998A (ja) * 2011-02-14 2012-09-06 Toshiba Corp 洗浄装置および自動分析装置
JP2013134142A (ja) 2011-12-26 2013-07-08 Hitachi High-Technologies Corp 自動分析装置
US20190041414A1 (en) * 2017-08-01 2019-02-07 Euroimmun Medizinische Labordiagnostika Ag Apparatus and method for cleaning pipetting needles

Family Cites Families (6)

* Cited by examiner, † Cited by third party
Publication number Priority date Publication date Assignee Title
JP5661259B2 (ja) * 2009-07-15 2015-01-28 株式会社東芝 自動分析装置
JP2011257386A (ja) * 2010-05-10 2011-12-22 Toshiba Corp 自動分析装置
JP6378096B2 (ja) * 2013-01-21 2018-08-22 株式会社日立ハイテクノロジーズ 自動分析装置
CN103949427B (zh) * 2014-04-28 2016-03-02 上海华力微电子有限公司 一种用于光阻喷嘴的清洗槽体结构及其应用
JP6879313B2 (ja) * 2016-05-11 2021-06-02 シーメンス・ヘルスケア・ダイアグノスティックス・インコーポレーテッドSiemens Healthcare Diagnostics Inc. 分析機器のプローブ洗浄ステーション
JP6605394B2 (ja) * 2016-05-17 2019-11-13 東京エレクトロン株式会社 基板液処理装置、タンク洗浄方法及び記憶媒体

Patent Citations (6)

* Cited by examiner, † Cited by third party
Publication number Priority date Publication date Assignee Title
JPH05126836A (ja) * 1991-10-31 1993-05-21 Toshiba Corp プローブ洗浄槽
JPH11271321A (ja) * 1998-03-23 1999-10-08 Olympus Optical Co Ltd 洗浄装置
JP2005241442A (ja) * 2004-02-26 2005-09-08 Olympus Corp 洗浄装置、洗浄装置を用いた分析装置及び洗浄方法
JP2012167998A (ja) * 2011-02-14 2012-09-06 Toshiba Corp 洗浄装置および自動分析装置
JP2013134142A (ja) 2011-12-26 2013-07-08 Hitachi High-Technologies Corp 自動分析装置
US20190041414A1 (en) * 2017-08-01 2019-02-07 Euroimmun Medizinische Labordiagnostika Ag Apparatus and method for cleaning pipetting needles

Non-Patent Citations (1)

* Cited by examiner, † Cited by third party
Title
See also references of EP4187255A4

Also Published As

Publication number Publication date
US20230341432A1 (en) 2023-10-26
EP4187255A4 (en) 2024-08-21
CN115803637A (zh) 2023-03-14
EP4187255A1 (en) 2023-05-31
JPWO2022018895A1 (enExample) 2022-01-27
JP7433440B2 (ja) 2024-02-19

Similar Documents

Publication Publication Date Title
JP5744923B2 (ja) 自動分析装置
US11231433B2 (en) Automatic analyzer and cleaning method
CN102326085B (zh) 化学分析装置
JP2009042067A (ja) 自動分析装置
CN104024868A (zh) 自动分析装置
CN101632025A (zh) 清洗装置及自动分析装置
JP2005241442A (ja) 洗浄装置、洗浄装置を用いた分析装置及び洗浄方法
JP5661259B2 (ja) 自動分析装置
JPWO2019176296A1 (ja) 自動分析装置
CN112689764A (zh) 自动分析装置
JP2008224244A (ja) 洗浄装置および自動分析装置
CN110320380B (zh) 自动分析装置和自动分析方法
JP2005249585A (ja) 自動分析装置及び分析方法
JP7433440B2 (ja) 自動分析装置
CN114729954A (zh) 自动分析装置
JP2012026786A (ja) 自動分析装置
JP5124497B2 (ja) 自動分析装置
JP7154407B2 (ja) 自動分析装置
US11879902B2 (en) Test method and dispensing device
JP6355960B2 (ja) 臨床検査装置及び容器の洗浄方法
CN112088311B (zh) 自动分析装置
JP7167037B2 (ja) 自動分析装置および検体分注機構の異常検出方法
JP7636209B2 (ja) 自動分析装置
WO2024219094A1 (ja) 自動分析装置及び自動分析方法
JP6987533B2 (ja) 自動分析装置

Legal Events

Date Code Title Description
121 Ep: the epo has been informed by wipo that ep was designated in this application

Ref document number: 21844618

Country of ref document: EP

Kind code of ref document: A1

ENP Entry into the national phase

Ref document number: 2022538578

Country of ref document: JP

Kind code of ref document: A

NENP Non-entry into the national phase

Ref country code: DE

ENP Entry into the national phase

Ref document number: 2021844618

Country of ref document: EP

Effective date: 20230222