WO2021251007A1 - 内燃機関用のスパークプラグ - Google Patents

内燃機関用のスパークプラグ Download PDF

Info

Publication number
WO2021251007A1
WO2021251007A1 PCT/JP2021/016127 JP2021016127W WO2021251007A1 WO 2021251007 A1 WO2021251007 A1 WO 2021251007A1 JP 2021016127 W JP2021016127 W JP 2021016127W WO 2021251007 A1 WO2021251007 A1 WO 2021251007A1
Authority
WO
WIPO (PCT)
Prior art keywords
housing
discharge
end portion
plug
ground electrode
Prior art date
Legal status (The legal status is an assumption and is not a legal conclusion. Google has not performed a legal analysis and makes no representation as to the accuracy of the status listed.)
Ceased
Application number
PCT/JP2021/016127
Other languages
English (en)
French (fr)
Japanese (ja)
Inventor
明光 杉浦
Current Assignee (The listed assignees may be inaccurate. Google has not performed a legal analysis and makes no representation or warranty as to the accuracy of the list.)
Denso Corp
Original Assignee
Denso Corp
Priority date (The priority date is an assumption and is not a legal conclusion. Google has not performed a legal analysis and makes no representation as to the accuracy of the date listed.)
Filing date
Publication date
Application filed by Denso Corp filed Critical Denso Corp
Priority to DE112021003172.4T priority Critical patent/DE112021003172T5/de
Publication of WO2021251007A1 publication Critical patent/WO2021251007A1/ja
Priority to US18/074,722 priority patent/US11973323B2/en
Anticipated expiration legal-status Critical
Ceased legal-status Critical Current

Links

Images

Classifications

    • HELECTRICITY
    • H01ELECTRIC ELEMENTS
    • H01TSPARK GAPS; OVERVOLTAGE ARRESTERS USING SPARK GAPS; SPARKING PLUGS; CORONA DEVICES; GENERATING IONS TO BE INTRODUCED INTO NON-ENCLOSED GASES
    • H01T13/00Sparking plugs
    • H01T13/54Sparking plugs having electrodes arranged in a partly-enclosed ignition chamber
    • HELECTRICITY
    • H01ELECTRIC ELEMENTS
    • H01TSPARK GAPS; OVERVOLTAGE ARRESTERS USING SPARK GAPS; SPARKING PLUGS; CORONA DEVICES; GENERATING IONS TO BE INTRODUCED INTO NON-ENCLOSED GASES
    • H01T13/00Sparking plugs
    • H01T13/02Details
    • H01T13/16Means for dissipating heat
    • HELECTRICITY
    • H01ELECTRIC ELEMENTS
    • H01TSPARK GAPS; OVERVOLTAGE ARRESTERS USING SPARK GAPS; SPARKING PLUGS; CORONA DEVICES; GENERATING IONS TO BE INTRODUCED INTO NON-ENCLOSED GASES
    • H01T13/00Sparking plugs
    • H01T13/20Sparking plugs characterised by features of the electrodes or insulation
    • HELECTRICITY
    • H01ELECTRIC ELEMENTS
    • H01TSPARK GAPS; OVERVOLTAGE ARRESTERS USING SPARK GAPS; SPARKING PLUGS; CORONA DEVICES; GENERATING IONS TO BE INTRODUCED INTO NON-ENCLOSED GASES
    • H01T13/00Sparking plugs
    • H01T13/20Sparking plugs characterised by features of the electrodes or insulation
    • H01T13/32Sparking plugs characterised by features of the electrodes or insulation characterised by features of the earthed electrode
    • HELECTRICITY
    • H01ELECTRIC ELEMENTS
    • H01TSPARK GAPS; OVERVOLTAGE ARRESTERS USING SPARK GAPS; SPARKING PLUGS; CORONA DEVICES; GENERATING IONS TO BE INTRODUCED INTO NON-ENCLOSED GASES
    • H01T13/00Sparking plugs
    • H01T13/20Sparking plugs characterised by features of the electrodes or insulation
    • H01T13/34Sparking plugs characterised by features of the electrodes or insulation characterised by the mounting of electrodes in insulation, e.g. by embedding
    • YGENERAL TAGGING OF NEW TECHNOLOGICAL DEVELOPMENTS; GENERAL TAGGING OF CROSS-SECTIONAL TECHNOLOGIES SPANNING OVER SEVERAL SECTIONS OF THE IPC; TECHNICAL SUBJECTS COVERED BY FORMER USPC CROSS-REFERENCE ART COLLECTIONS [XRACs] AND DIGESTS
    • Y02TECHNOLOGIES OR APPLICATIONS FOR MITIGATION OR ADAPTATION AGAINST CLIMATE CHANGE
    • Y02TCLIMATE CHANGE MITIGATION TECHNOLOGIES RELATED TO TRANSPORTATION
    • Y02T10/00Road transport of goods or passengers
    • Y02T10/10Internal combustion engine [ICE] based vehicles
    • Y02T10/12Improving ICE efficiencies

Definitions

  • This disclosure relates to spark plugs for internal combustion engines.
  • Patent Document 1 There is a spark plug with a plug cover at the tip of the housing to form an auxiliary combustion chamber.
  • a configuration in which a discharge gap is formed on the proximal end side of the tip of the housing is disclosed in Patent Document 1.
  • the spark plug disclosed in Patent Document 1 can reduce the distance from the housing to the tip of the plug cover by providing the discharge gap at the position as described above, and improve the heat drawability of the plug cover. be able to.
  • the ground electrode is penetrated and attached to the through hole provided in the side wall of the housing.
  • the present disclosure seeks to provide spark plugs for internal combustion engines that enable simplification of the manufacturing process.
  • One aspect of the present disclosure is a tubular insulating insulator and A center electrode that is held on the inner peripheral side of the insulating insulator and protrudes from the insulating insulator to the tip side, A cylindrical housing that holds the insulator on the inner circumference side, and On the inner peripheral side of the housing, a ground electrode that forms a discharge gap with the center electrode and It has a plug cover provided at the tip of the housing so as to cover the auxiliary combustion chamber in which the discharge gap is arranged. The plug cover is provided with a jet hole for communicating the auxiliary combustion chamber to the outside.
  • the ground electrode has a discharge-side end facing the discharge gap and a joint-side end joined to the housing.
  • the discharge side end portion is in a spark plug for an internal combustion engine, which is arranged on the proximal end side in the axial direction with respect to the joint side end portion.
  • the ground electrode is arranged so that the discharge side end portion is closer to the base end portion in the axial direction than the junction side end portion. Therefore, the discharge gap can be formed on the proximal end side of the tip portion of the housing while joining the junction side end portion of the ground electrode to or near the tip end portion of the housing. As a result, the manufacturing process of the spark plug having the discharge gap on the inner peripheral side of the housing can be simplified.
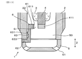
  • FIG. 1 is a cross-sectional view taken along the axial direction near the tip of the spark plug in the first embodiment.
  • FIG. 2 is a cross-sectional view taken along the line II-II of FIG.
  • FIG. 3 is a front view of the spark plug attached to the internal combustion engine according to the first embodiment.
  • FIG. 4 is a front view of the vicinity of the tip of the spark plug in the first embodiment.
  • FIG. 5 is a cross-sectional explanatory view showing the state of airflow and electric discharge in the first embodiment.
  • FIG. 6 is a cross-sectional view taken along the axial direction near the tip of the spark plug in the second embodiment.
  • FIG. 7 is a cross-sectional view of an example of the ground electrode in the second embodiment.
  • FIG. 8 is a cross-sectional view of the ground electrode attached to the housing in the modified form of the second embodiment.
  • FIG. 9 is a cross-sectional view taken along the axial direction near the tip of the spark plug in the third embodiment.
  • FIG. 10 is a cross-sectional view taken along the line XX of FIG.
  • FIG. 11 is an explanatory view of the spark plug seen from the tip side in the fourth embodiment.
  • FIG. 12 is a cross-sectional explanatory view of the ground electrode in the fourth embodiment, which is a view corresponding to the XII-XII cross section of FIG. FIG.
  • FIG. 13 is a cross-sectional view taken along the axial direction near the tip of the spark plug in the fifth embodiment.
  • FIG. 14 is a front view of the vicinity of the tip of the spark plug in the sixth embodiment.
  • FIG. 15 is a front view of the vicinity of the tip of another spark plug in the sixth embodiment.
  • FIG. 16 is a cross-sectional view showing a state in which the ground electrode is attached to the housing in the seventh embodiment.
  • FIG. 17 is a cross-sectional view taken along the axial direction near the tip of the spark plug in the eighth embodiment.
  • FIG. 18 is a cross-sectional view taken along the axial direction near the tip of the spark plug in the ninth embodiment.
  • FIG. 19 is a cross-sectional view taken along the axial direction near the tip of the spark plug in the tenth embodiment.
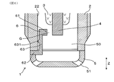
  • the spark plug 1 for an internal combustion engine of this embodiment has a tubular insulating insulator 3, a center electrode 4, a tubular housing 2, a ground electrode 6, and a plug cover 5. ..
  • the center electrode 4 is held on the inner peripheral side of the insulating insulator 3 and protrudes from the insulating insulator 3 to the tip side.
  • the housing 2 holds the insulating insulator 3 on the inner peripheral side.
  • the ground electrode 6 forms a discharge gap G with the center electrode 4 on the inner peripheral side of the housing 2.
  • the plug cover 5 is provided at the tip of the housing 2 so as to cover the auxiliary combustion chamber 50 in which the discharge gap G is arranged.
  • the plug cover 5 is provided with a jet hole 51 for communicating the auxiliary combustion chamber 50 to the outside.
  • the ground electrode 6 has a discharge side end portion 61 facing the discharge gap G and a joint side end portion 62 joined to the housing 2. As shown in FIG. 1, the discharge side end portion 61 is arranged on the base end side in the axial direction Z with respect to the joint side end portion 62.
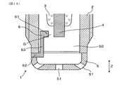
  • the spark plug 1 of this embodiment can be used as an ignition means in an internal combustion engine such as an automobile or a cogeneration engine, for example. Then, as shown in FIG. 3, one end of the spark plug 1 in the axial direction Z is arranged in the combustion chamber of the internal combustion engine.
  • the combustion chamber of this internal combustion engine is referred to as a "main combustion chamber 11" as opposed to the above-mentioned "secondary combustion chamber 50".
  • the side exposed to the main combustion chamber 11 is referred to as the distal end side, and the opposite side thereof is referred to as the proximal end side.
  • the plug cover 5 is joined to the tip of the housing 2 by welding or the like. In a state where the spark plug 1 is attached to the internal combustion engine, the plug cover 5 separates the sub-combustion chamber 50 from the main combustion chamber 11.
  • the plug cover 5 is formed with a plurality of injection holes 51. Each injection hole 51 is inclined toward the outer peripheral side toward the tip side. The flame generated in the sub-combustion chamber 50 is ejected from the injection hole 51 to the main combustion chamber 11.
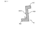
  • the ground electrode 6 has a relay portion 63 that connects the joint side end portion 62 and the discharge side end portion 61 in the axial direction Z.
  • the joint side end portion 62 is joined to the tip surface 21 of the housing 2.
  • the relay portion 63 is arranged along the inner peripheral surface 22 of the housing 2.
  • the relay unit 63 is erected in the axial direction Z.
  • the ground electrode 6 is composed of, for example, a metal member made of a nickel-based alloy.
  • the discharge side end portion 61 projects from the base end portion of the relay portion 63 in a direction orthogonal to the axial direction Z.
  • the joint side end portion 62 projects from the tip end portion of the relay portion 63 in a direction orthogonal to the axial direction Z and to the side opposite to the joint side end portion 62.
  • the ground electrode 6 is attached so that the direction from the joint side end portion 62 toward the discharge side end portion 61 is toward the plug central axis in the plug radial direction when viewed from the axial direction Z. ing.
  • the central axis of the plug means the central axis of the spark plug 1
  • the radial direction of the plug means the direction along a straight line orthogonal to the central axis of the plug.
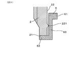
  • the ground electrode 6 is joined in a state where the base end side surface 621 of the joining side end portion 62 is in surface contact with the tip surface of the housing 2.
  • the discharge side end 61 of the ground electrode 6 is arranged to face the center electrode 4 from the plug radial direction.
  • the discharge side end portion 61 is arranged to face the outer peripheral surface of the tip end portion of the center electrode 4.
  • a discharge gap G is formed between the discharge side end portion 61 and the outer peripheral surface of the center electrode 4. That is, the end surface of the discharge side end portion 61 on the plug central axis side faces the outer peripheral surface of the center electrode 4 to form a discharge surface.
  • the joint side end portion 62 is arranged in the base end notch portion 52 provided in the plug cover 5.
  • the plug cover 5 is joined to the tip end portion of the housing 2, and the base end notch 52 is formed at a part of the end edge on the joint side.
  • a joint-side end 62 of the ground electrode 6 is arranged between the base end notch 52 and the front end surface of the housing 2. It is also possible that the joint side end portion 62 and the plug cover 5 are joined to each other by welding or the like. However, the joint side end portion 62 may be configured not to be joined to the plug cover 5.
  • the ground electrode 6 has the joint side end 62 arranged on the tip side of the tip of the housing 2 and the discharge side end 61 arranged on the proximal end side of the tip of the housing 2. There is. Along with this, the discharge gap G is formed on the proximal end side of the housing 2 with respect to the distal end end. Further, the tip of the center electrode 4 is arranged on the proximal end side of the tip of the housing 2.
  • Housing 2 is made of a metal such as low carbon steel. As shown in FIGS. 1 and 3, the housing 2 has a mounting screw portion 23 on the outer peripheral surface. As shown in FIG. 3, the spark plug 1 is attached to the internal combustion engine by screwing the mounting screw portion 23 into the female screw portion of the plug hole 12 provided in the engine head or the like of the internal combustion engine. The spark plug 1 is attached to an internal combustion engine with a part of the tip side exposed to the main combustion chamber 11.
  • the ground electrode 6 has a discharge side end portion 61 arranged on the base end side in the axial direction Z with respect to the joint side end portion 62. Therefore, the discharge gap G can be formed closer to the base end side than the tip end portion of the housing 2 while joining the joining side end portion 62 of the ground electrode 6 to the tip end portion of the housing 2. As a result, the manufacturing process of the spark plug 1 provided with the discharge gap G on the inner peripheral side of the housing 2 can be simplified.
  • the plug cover 5 In the spark plug 1 in which the auxiliary combustion chamber 50 is formed by providing the plug cover 5 at the tip of the housing 2, the plug cover 5 is exposed to the main combustion chamber 11 as shown in FIG. Therefore, the temperature of the plug cover 5 tends to rise. If the temperature of the plug cover 5 rises too much, problems such as pre-ignition are likely to occur. Therefore, it is required to reduce the amount of protrusion of the plug cover 5 to the main combustion chamber 11 as much as possible. Therefore, as shown in FIG. 1, by arranging the discharge gap G on the inner peripheral side of the housing 2, that is, on the proximal end side of the tip of the housing 2, as shown in FIG. 3, the plug cover 5 from the housing 2 It is possible to reduce the amount of protrusion. As a result, the heat of the plug cover 5 is easily released to the engine head via the housing 2, and the temperature rise of the plug cover 5 is easily suppressed.
  • a strong flame jet can be injected into the main combustion chamber 11 by sufficiently growing the flame generated in the sub-combustion chamber 50 and then ejecting the flame from the injection hole 51. From this point of view, there is also a request to increase the distance in the axial direction Z between the discharge gap G and the injection hole 51. In order to meet both the request and the request to reduce the protrusion amount of the plug cover 5, it is required to form the discharge gap G on the proximal end side of the housing 2 with respect to the distal end end.
  • the process of attaching the ground electrode to the housing 2 becomes complicated.
  • a step of forming a through hole in the housing 2 is required, which complicates the manufacturing process.
  • the housing 2 is provided with a through hole at the position where the mounting screw portion 23 is formed, a part of the mounting screw portion 23 is missing, which affects the fastening state of the spark plug 1 to the engine head. Is also a concern.
  • the ground electrode 6 is configured such that the discharge side end portion 61 is arranged on the base end side in the axial direction Z with respect to the joint side end portion 62. This makes it easy to join the ground electrode 6 to the tip end portion of the housing 2 and form the discharge gap G on the proximal end side of the housing 2 tip end without providing a particularly complicated process.
  • the discharge side end portion 61 of the ground electrode 6 is arranged to face the center electrode 4 from the plug radial direction.
  • the airflow A in the auxiliary combustion chamber 50 tends to stretch the discharge S generated in the discharge gap G.
  • the ignitability in the sub-combustion chamber 50 can be improved, and by extension, the ignitability in the main combustion chamber 11 can be improved.
  • an air flow is introduced from the injection hole 51 into the auxiliary combustion chamber 50 in the compression stroke of the internal combustion engine or the like. It is conceivable that this airflow A forms a tumble flow in the auxiliary combustion chamber 50. That is, it is conceivable that after being introduced from a part of the injection holes 51, an air flow A is once formed toward the proximal end side of the discharge gap G and then toward the distal end side in the axial direction Z. In this case, by providing the discharge gap G at a position facing the outer peripheral surface of the center electrode 4 from the plug radial direction, the discharge S generated in the discharge gap G is easily stretched toward the tip side. Then, a flame is formed in the auxiliary combustion chamber 50, and it becomes easy to grow. As a result, the ignitability can be improved.
  • the ground electrode 6 has a relay unit 63. Then, the end portion 62 on the joining side is joined to the tip surface 21 of the housing 2, and the relay portion 63 is arranged along the inner peripheral surface 22 of the housing 2. Thereby, the ground electrode 6 can be more easily and accurately joined to the tip end portion of the housing 2, and the discharge side end portion 61 can be opposed to the center electrode 4 on the inner peripheral side of the housing 2. By increasing the length of the relay portion 63 in the axial direction Z, it becomes easier to form the discharge gap G on the proximal end side. Further, by arranging the relay unit 63 along the inner peripheral surface 22 of the housing 2, it is possible to prevent the relay unit 63 from hindering the air flow and flame growth in the auxiliary combustion chamber 50.
  • the spark plug 1 of the present embodiment can improve the ignitability. That is, in this case, the airflow passing through the discharge gap G extends the discharge along the peripheral direction of the plug.
  • a tapered surface is provided on the inner peripheral side surface 632 of the relay portion 63 of the ground electrode 6 as in the fourth embodiment (see FIGS. 11 and 12) described later. It is also effective to form.
  • a tumble flow is generated in the auxiliary combustion chamber 50, it is also effective to incline the pair of discharge surfaces as in the eighth embodiment (see FIG. 17) described later.
  • the relay portion 63 has a protrusion 631 protruding toward the inner peripheral surface 22 of the housing 2.
  • the protrusion 631 is formed at a position on the distal end side of the discharge side end portion 61 and on the proximal end side of the joint side end portion 62 in the axial direction Z.
  • the protrusion 631 is in contact with the inner peripheral surface 22 of the housing 2.
  • the relay portion 63 is provided with a protrusion 631. Therefore, when the ground electrode 6 is attached to the housing 2, it is easy to accurately position the ground electrode 6 in the radial direction of the plug. That is, by appropriately setting the protrusion height of the protrusion 631 in advance, when the protrusion 631 is brought into contact with the inner peripheral surface 22 of the housing 2, the position of the discharge side end portion 61 in the plug radial direction can be determined. You can decide exactly. Then, a discharge gap G having an appropriate size can be easily and accurately formed.
  • the discharge side end portion 61 becomes the center electrode. Move to the 4 side. That is, in the stage before fixing the ground electrode 6, the size of the discharge gap G can be finely adjusted by sliding the joint side end portion 62 in the plug radial direction with the protrusion 631 as a fulcrum. It becomes. As a result, the discharge gap G arranged on the proximal end side of the housing 2 can be easily finely adjusted. In addition, it has the same effect as that of the first embodiment.
  • the angle ⁇ formed between the joint side end portion 62 and the relay portion 63 an acute angle. Be done.
  • the protrusion 631 can be pressed against the inner peripheral surface 22 of the housing 2 to elastically deform the ground electrode 6 so that the angle ⁇ is widened.
  • the angle ⁇ at this time, the position of the discharge side end portion 61 of the ground electrode 6 can be adjusted, and the size of the discharge gap G can be adjusted.
  • a protrusion 221 protruding toward the relay portion 63 of the ground electrode 6 can be provided on the inner peripheral surface 22 of the housing 2. Also in this case, the same effect as the above-mentioned effect can be obtained. However, from the viewpoint of productivity and the like, it is preferable that the ground electrode 6 is provided with the protrusion 631.
  • the center electrode 4 has a flat discharge surface 41 on the discharge gap G side.
  • an extension portion 42 is provided at the tip end portion of the center electrode 4.
  • the extending portion 42 projects toward the ground electrode 6 side and outward from the base material 40 of the center electrode 4 in the plug radial direction.
  • the extending portion 42 is joined to the tip surface of the base material 40 as a separate member from the base material 40 of the center electrode 4.
  • the extending portion 42 can be a member having a substantially rectangular shape.
  • the flat surface provided on the extending portion 42 faces the discharge side end portion 61 of the ground electrode 6. That is, the flat surface on the discharge gap G side of the extending portion 42 becomes the above-mentioned flat discharge surface 41.
  • the chip 411 is provided on the flat discharge surface 41 in the extending portion 42.
  • the chip 611 is also provided at the discharge side end portion 61 of the ground electrode 6.
  • the chips 411 and 611 can be made of, for example, a noble metal such as iridium or platinum or an alloy thereof.
  • the chip 411 in the center electrode 4 and the chip 611 in the ground electrode 6 may not be provided. Others are the same as in the second embodiment.
  • the surface of the center electrode 4 facing the discharge gap G a flat flat discharge surface 41, it is possible to suppress the expansion of the discharge gap G due to electrode wear. That is, if the side surface of the columnar center electrode 4 is a discharge surface as in the first embodiment, the discharge gap G tends to expand due to electrode wear due to discharge. On the other hand, by providing the flat discharge surface 41, it is possible to suppress the expansion of the discharge gap G.
  • the chip 411 on the flat discharge surface 41, the expansion of the discharge gap G is further suppressed. In addition, it has the same effect as that of the second embodiment.
  • this embodiment is configured so that a swirl flow is formed in the auxiliary combustion chamber 50. That is, in the plug cover 5, the injection hole 51 is formed so that the swirl flow is formed in the auxiliary combustion chamber 50.
  • the inner peripheral side surface 632 of the relay portion 63 is inclined toward the plug central axis side from the upstream side to the downstream side of the swirl flow As.
  • the swirl flow As is a spiral flow centered on the plug central axis PC.
  • the plug cover 5 has a plurality of injection holes 51.
  • the injection hole extension line 51L of each injection hole 51 is formed so as to deviate from the plug central axis PC.
  • the angle ⁇ between the virtual straight line VL extending in the plug radial direction passing through the injection hole 51 and the plug central axis PC and the injection hole extension line 51L is an acute angle.
  • the angles ⁇ with respect to each injection hole 51 are equivalent to each other.
  • the inner peripheral side surface 632 of the relay portion 63 of the ground electrode 6 is a tapered surface.
  • the inner peripheral side surface 632 may be curved as long as it is inclined toward the plug central axis PC side from the upstream side to the downstream side of the swirl flow As.
  • the inner peripheral side surface 632 is preferably a concave curved surface, but may also be a convex curved surface. Others are the same as in the third embodiment.
  • the inner peripheral side surface 632 of the relay unit 63 can guide the swirl flow As.
  • the airflow passing near the discharge gap G is gradually guided to the plug central axis PC side while flowing along the plug circumferential direction as a swirl flow As.
  • the discharge formed in the discharge gap G is more likely to be extended from the central portion in the sub-combustion chamber 50.
  • a flame can be generated at a position further away from the side wall of the auxiliary combustion chamber 50, that is, the inner peripheral surface 22 of the housing 2.
  • the flame jet ejected from the sub-combustion chamber 50 to the main combustion chamber 11 can be strengthened.
  • it has the same effect as that of the third embodiment.
  • an additional protrusion 633 protruding from the relay portion 63 in the same direction as the protrusion 631 is provided at a position on the tip side of the relay portion 63 of the ground electrode 6 with respect to the protrusion 631. Is.
  • the additional protrusion 633 is formed between the relay portion 63 and the joint side end portion 62.
  • the chip 411 is bonded to the tip surface of the center electrode 4. Further, the chip 611 is also bonded to the discharge side end portion 61 of the ground electrode 6.
  • the tip 411 of the center electrode 4 and the tip 611 of the ground electrode 6 face each other in the plug radial direction.
  • a discharge gap G is formed between the tip 411 of the center electrode 4 and the tip 611 of the ground electrode 6 facing each other in the radial direction of the plug. Others are the same as in the second embodiment.
  • the relay portion 63 of the ground electrode 6 can be brought into contact with the inner peripheral surface 22 of the housing 2 at both the protrusion 631 and the additional protrusion 633. Therefore, when the ground electrode 6 is assembled to the housing 2, the mounting posture of the ground electrode 6 can be stabilized. As a result, it is easy to accurately form the size of the discharge gap G. In addition, it has the same effect as that of the second embodiment.
  • the joint side end portion 62 of the ground electrode 6 is arranged in the tip notch portion 24 provided at the tip end of the housing 2.
  • the plug cover 5 is not provided with a notch. That is, in the present embodiment, the plug cover 5 does not have the base end notch 52 shown in the first embodiment.
  • the housing 2 is provided with a tip notch 24, and the plug cover 5 is also provided with a base end notch 52.
  • the housing 2 and the plug cover 5 are joined to each other so that the tip notch 24 and the proximal notch 52 overlap each other in the axial direction Z.
  • the joint side end portion 62 of the ground electrode 6 is arranged in the space including the tip notch portion 24 and the proximal end notch portion 52. Others are the same as those in the first embodiment.
  • the tip notch 24 exerts a positioning function when the ground electrode 6 is assembled to the housing 2. This makes it possible to easily assemble the ground electrode 6 to the housing 2. Further, in the case of the spark plug 1 shown in FIG. 14, the structure of the plug cover 5 can be simplified. In addition, it has the same effect as that of the first embodiment.
  • the joint side end portion 62 of the ground electrode 6 is not exposed to the outer peripheral side of the housing 2 and the plug cover 5. That is, the joint side end portion 62 of the ground electrode 6 is arranged inside the outer peripheral surface of the housing 2 and inside the outer peripheral surface of the plug cover 5. The joint side end portion 62 is engaged with a part of the tip surface 21 of the housing 2 on the inner peripheral side. Others are the same as those in the first embodiment. Also in the case of this embodiment, the same action and effect as in the first embodiment are obtained.
  • this embodiment is a form in which a pair of discharge surfaces facing each other via the discharge gap G are inclined so as to be toward the tip end side in the axial direction Z and toward the plug central axis side. That is, the end surface of the discharge side end 61 of the ground electrode 6 facing the discharge gap G is inclined toward the plug center axis side toward the tip end side in the axial direction Z. Further, the flat discharge surface 41 of the center electrode 4 is also inclined toward the plug center axis side toward the tip end side in the axial direction Z.
  • neither the ground electrode 6 nor the center electrode 4 is provided with a tip.
  • chips may be provided on one or both of the ground electrode 6 and the center electrode 4. Others are the same as in the third embodiment.
  • this embodiment is a form in which a jet hole 51 penetrating in the axial direction Z is provided at a position overlapping the plug central axis in the plug cover 5.
  • the injection hole 51 in the axial direction Z is formed at a position overlapping the center electrode 4 in the axial direction Z.
  • Others are the same as those in the first embodiment. Also in this embodiment, the same effect as that of the first embodiment can be obtained.
  • this embodiment is a form of a spark plug 1 having a protruding tubular body 53 protruding from the tip of the plug cover 5 toward the auxiliary combustion chamber 50.
  • the projecting tubular body 53 has a substantially conical shape in the axial direction Z so that the diameter decreases toward the proximal end side from the tip end portion, and penetrates in the axial direction Z.
  • the through space inside the protruding cylindrical body 53 is one of the injection holes 51.
  • Others are the same as those in the first embodiment. Also in this embodiment, it has the same effect as that of the first embodiment.

Landscapes

  • Spark Plugs (AREA)
PCT/JP2021/016127 2020-06-09 2021-04-21 内燃機関用のスパークプラグ Ceased WO2021251007A1 (ja)

Priority Applications (2)

Application Number Priority Date Filing Date Title
DE112021003172.4T DE112021003172T5 (de) 2020-06-09 2021-04-21 Zündkerze für eine Maschine mit interner Verbrennung
US18/074,722 US11973323B2 (en) 2020-06-09 2022-12-05 Spark plug for internal combustion engine

Applications Claiming Priority (2)

Application Number Priority Date Filing Date Title
JP2020100406A JP7452269B2 (ja) 2020-06-09 2020-06-09 内燃機関用のスパークプラグ
JP2020-100406 2020-06-09

Related Child Applications (1)

Application Number Title Priority Date Filing Date
US18/074,722 Continuation US11973323B2 (en) 2020-06-09 2022-12-05 Spark plug for internal combustion engine

Publications (1)

Publication Number Publication Date
WO2021251007A1 true WO2021251007A1 (ja) 2021-12-16

Family

ID=78845569

Family Applications (1)

Application Number Title Priority Date Filing Date
PCT/JP2021/016127 Ceased WO2021251007A1 (ja) 2020-06-09 2021-04-21 内燃機関用のスパークプラグ

Country Status (4)

Country Link
US (1) US11973323B2 (enExample)
JP (1) JP7452269B2 (enExample)
DE (1) DE112021003172T5 (enExample)
WO (1) WO2021251007A1 (enExample)

Cited By (1)

* Cited by examiner, † Cited by third party
Publication number Priority date Publication date Assignee Title
WO2024017752A1 (de) * 2022-07-18 2024-01-25 Robert Bosch Gmbh Zündkerze mit verbesserter masseelektrode

Citations (3)

* Cited by examiner, † Cited by third party
Publication number Priority date Publication date Assignee Title
JP2014116181A (ja) * 2012-12-10 2014-06-26 Nippon Soken Inc 内燃機関用のスパークプラグ
JP2015130302A (ja) * 2014-01-09 2015-07-16 株式会社デンソー 内燃機関用のスパークプラグ
JP2016146348A (ja) * 2012-01-10 2016-08-12 ウッドワード, インコーポレーテッドWoodward, Inc. 燃料供給機能を有するプレチャンバスパークプラグにおけるスパーク点火火炎核流れの制御

Family Cites Families (14)

* Cited by examiner, † Cited by third party
Publication number Priority date Publication date Assignee Title
KR100328490B1 (ko) 1999-12-30 2002-03-28 정인태 전기점화식 내연기관의 점화플러그
DE10144976A1 (de) 2001-09-12 2003-04-03 Beru Ag Zündkerze mit Mittelelektrode und Vorkammer
FR2846046B1 (fr) 2002-10-18 2006-06-16 Peugeot Citroen Automobiles Sa Dispositif d'allumage a prechambre pour un moteur a combustion interne, allumeur a prechambre et procede d'allumage
US20050211217A1 (en) 2004-03-23 2005-09-29 Boley William C Pre-chambered type spark plug with pre-chamber entirely below a bottom surface of a cylinder head
DE102010004851B4 (de) 2009-12-18 2014-05-28 Federal-Mogul Ignition Gmbh Vorkammer-Zündkerze für eine mit Gas betriebene Brennkraftmaschine
DE102011076471B4 (de) 2011-05-25 2016-02-18 Mtu Friedrichshafen Gmbh Vorkammerzündkerze und Gasmotor mit einer solchen Vorkammerzündkerze
DE102012022872A1 (de) 2012-11-22 2014-05-22 Mtu Friedrichshafen Gmbh Zündeinrichtung für einen Verbrennungsmotor und Verbrennungsmotor
DE102015113175A1 (de) * 2015-08-10 2016-09-29 Federal-Mogul Ignition Gmbh Zündkerze
KR101782574B1 (ko) 2015-10-29 2017-09-27 정인태 내연기관용 점화플러그
DE102016120984B4 (de) 2016-11-03 2018-10-18 Federal-Mogul Ignition Gmbh Vorkammerzündkerze für eine mit Gas betriebene Brennkraftmaschine und Verfahren zu deren Herstellung
DE102017221517A1 (de) 2017-11-30 2019-06-06 Robert Bosch Gmbh Zündkerze mit verlängertem Gehäuse und Masseelektrode an der Gehäuseinnenseite
DE102017011209B3 (de) 2017-12-05 2019-01-17 Daimler Ag Vorkammerzündkerze für einen Brennraum einer Verbrennungskraftmaschine, insbesondere eines Kraftfahrzeugs, sowie Verbrennungskraftmaschine für ein Kraftfahrzeug
DE102018211009A1 (de) 2018-07-04 2020-01-09 Robert Bosch Gmbh Vorkammerkappe mit konischen Durchströmungsöffnungen für eine Vorkammer-Zündkerze sowie eine Vorkammer-Zündkerze und einem Herstellungsverfahren der Vorkammerkappe
JP2021170475A (ja) * 2020-04-16 2021-10-28 株式会社Soken スパークプラグ

Patent Citations (3)

* Cited by examiner, † Cited by third party
Publication number Priority date Publication date Assignee Title
JP2016146348A (ja) * 2012-01-10 2016-08-12 ウッドワード, インコーポレーテッドWoodward, Inc. 燃料供給機能を有するプレチャンバスパークプラグにおけるスパーク点火火炎核流れの制御
JP2014116181A (ja) * 2012-12-10 2014-06-26 Nippon Soken Inc 内燃機関用のスパークプラグ
JP2015130302A (ja) * 2014-01-09 2015-07-16 株式会社デンソー 内燃機関用のスパークプラグ

Cited By (1)

* Cited by examiner, † Cited by third party
Publication number Priority date Publication date Assignee Title
WO2024017752A1 (de) * 2022-07-18 2024-01-25 Robert Bosch Gmbh Zündkerze mit verbesserter masseelektrode

Also Published As

Publication number Publication date
JP7452269B2 (ja) 2024-03-19
US20230094043A1 (en) 2023-03-30
JP2021197212A (ja) 2021-12-27
DE112021003172T5 (de) 2023-03-23
US11973323B2 (en) 2024-04-30

Similar Documents

Publication Publication Date Title
US7077100B2 (en) Combined fuel injection valve-ignition plug
US11710947B2 (en) Spark plug for internal combustion engine
JP2017147086A (ja) 内燃機関
WO2021251007A1 (ja) 内燃機関用のスパークプラグ
US8466607B2 (en) Spark plug for internal-combustion engines
JP4211124B2 (ja) 点火プラグ
KR101359170B1 (ko) 스파크 플러그
JP6680043B2 (ja) 内燃機関用のスパークプラグ
JP7390241B2 (ja) スパークプラグ
US10951012B2 (en) Spark plug for internal combustion engines and internal combustion engine
JP7360922B2 (ja) スパークプラグ
US10777974B2 (en) Spark plug for internal combustion engine that makes re-discharge less prone to occur
JP7447656B2 (ja) スパークプラグ
WO2022050123A1 (ja) 内燃機関用のスパークプラグ及びこれを備えた内燃機関
JP2021197212A5 (enExample)
JP7622558B2 (ja) 内燃機関用のスパークプラグ及びその製造方法
US10333282B2 (en) Spark plug for internal combustion engine
JP7360966B2 (ja) スパークプラグ及びその製造方法
JP7632234B2 (ja) 内燃機関用のスパークプラグ
JP2022185985A (ja) 内燃機関用のスパークプラグ及びその製造方法、並びに内燃機関
WO2022004440A1 (ja) 内燃機関用のスパークプラグ
US10333281B2 (en) Spark plug
JP2022069418A (ja) 内燃機関用のスパークプラグ及びこれを備えた内燃機関
JP2022178929A (ja) 内燃機関用のスパークプラグの製造方法
JP2015076193A (ja) 内燃機関

Legal Events

Date Code Title Description
121 Ep: the epo has been informed by wipo that ep was designated in this application

Ref document number: 21821537

Country of ref document: EP

Kind code of ref document: A1

122 Ep: pct application non-entry in european phase

Ref document number: 21821537

Country of ref document: EP

Kind code of ref document: A1