WO2021172002A1 - 内視鏡撮像装置 - Google Patents

内視鏡撮像装置 Download PDF

Info

Publication number
WO2021172002A1
WO2021172002A1 PCT/JP2021/004754 JP2021004754W WO2021172002A1 WO 2021172002 A1 WO2021172002 A1 WO 2021172002A1 JP 2021004754 W JP2021004754 W JP 2021004754W WO 2021172002 A1 WO2021172002 A1 WO 2021172002A1
Authority
WO
WIPO (PCT)
Prior art keywords
sensor
imaging device
circuit board
lens
cable
Prior art date
Legal status (The legal status is an assumption and is not a legal conclusion. Google has not performed a legal analysis and makes no representation as to the accuracy of the status listed.)
Ceased
Application number
PCT/JP2021/004754
Other languages
English (en)
French (fr)
Japanese (ja)
Inventor
圭介 内藤
和義 原
Current Assignee (The listed assignees may be inaccurate. Google has not performed a legal analysis and makes no representation or warranty as to the accuracy of the list.)
Fujifilm Corp
Original Assignee
Fujifilm Corp
Priority date (The priority date is an assumption and is not a legal conclusion. Google has not performed a legal analysis and makes no representation as to the accuracy of the date listed.)
Filing date
Publication date
Application filed by Fujifilm Corp filed Critical Fujifilm Corp
Priority to JP2022503240A priority Critical patent/JP7385736B2/ja
Publication of WO2021172002A1 publication Critical patent/WO2021172002A1/ja
Anticipated expiration legal-status Critical
Ceased legal-status Critical Current

Links

Images

Classifications

    • AHUMAN NECESSITIES
    • A61MEDICAL OR VETERINARY SCIENCE; HYGIENE
    • A61BDIAGNOSIS; SURGERY; IDENTIFICATION
    • A61B1/00Instruments for performing medical examinations of the interior of cavities or tubes of the body by visual or photographical inspection, e.g. endoscopes; Illuminating arrangements therefor
    • A61B1/04Instruments for performing medical examinations of the interior of cavities or tubes of the body by visual or photographical inspection, e.g. endoscopes; Illuminating arrangements therefor combined with photographic or television appliances
    • AHUMAN NECESSITIES
    • A61MEDICAL OR VETERINARY SCIENCE; HYGIENE
    • A61BDIAGNOSIS; SURGERY; IDENTIFICATION
    • A61B1/00Instruments for performing medical examinations of the interior of cavities or tubes of the body by visual or photographical inspection, e.g. endoscopes; Illuminating arrangements therefor
    • A61B1/12Instruments for performing medical examinations of the interior of cavities or tubes of the body by visual or photographical inspection, e.g. endoscopes; Illuminating arrangements therefor with cooling or rinsing arrangements
    • GPHYSICS
    • G02OPTICS
    • G02BOPTICAL ELEMENTS, SYSTEMS OR APPARATUS
    • G02B23/00Telescopes, e.g. binoculars; Periscopes; Instruments for viewing the inside of hollow bodies; Viewfinders; Optical aiming or sighting devices
    • G02B23/24Instruments or systems for viewing the inside of hollow bodies, e.g. fibrescopes

Definitions

  • the present invention relates to an endoscopic imaging device.
  • An endoscope imaging device having an imaging element, a lens barrel, and the like is arranged at the tip of the endoscope.
  • the tip of the insertion part is bent inside the subject.
  • a force is applied to the joints of each member, and the joints are peeled off. May be damaged. Therefore, an endoscope with a strong joint has been proposed in order to suppress damage such as peeling.
  • Patent Document 1 describes an image sensor in which an optical image from a lens barrel is imaged via a prism and photoelectrically converts the optical image, a flexible substrate electrically connected to the image sensor, and a flexible substrate.
  • the electrically connected signal cable, the lens barrel, and the signal cable are connected to cover at least one surface of the prism, and the end of the flexible substrate on the side to which the image sensor is connected and the image sensor are exposed to the outside.
  • An image sensor including a connecting member is described.
  • the image sensor of the endoscope image sensor arranged at the tip of the endoscope is a heat source.
  • noise may be generated or the image sensor itself may be damaged. Therefore, it is necessary to dissipate the heat generated from the image sensor.
  • an image sensor built in the tip of the endoscope to receive incident light from a subject, and a flexible image sensor and an image sensor drive circuit component are mounted and built in the tip of the endoscope.
  • the circuit board is provided with a flexible heat dissipation sheet in which one region is directly attached to a region other than the light receiving surface of the image sensor or the other region is thermally contacted with the heat radiation member in the tip of the endoscope.
  • the present invention solves the above-mentioned problems of the prior art, efficiently dissipates the heat generated by the image sensor of the endoscope image sensor, suppresses the temperature rise of the image sensor, generates noise, and causes the image sensor.
  • An object of the present invention is to provide an endoscopic image sensor capable of preventing damage.
  • the present invention has the following configuration.
  • Lens Lens barrel that holds the lens, Image sensor, Circuit board on which the image sensor is mounted, A cable that is connected to a circuit board and transmits an electrical signal from the image sensor, An optical member that is placed between the lens barrel and the image sensor and guides the light that has passed through the lens to the image sensor.
  • An optical member holder that holds the lens barrel and the optical member, and an optical member holder, and A protective member, which holds the cable and the optical member holder, is provided.
  • the protective member is made of metal material,
  • the protective member is an endoscopic image pickup device having a sensor protection unit that covers the side surface of the image pickup element.
  • Device [11] The endoscopic imaging apparatus according to [10], wherein the heat radiating member is made of at least one of graphite, stainless steel, and a copper alloy.
  • the heat radiating member has an area equal to or larger than the area of the largest surface on the back surface side of the circuit board, and is arranged on the back surface of the circuit board so as to cover the entire largest surface of the circuit board [10].
  • the heat generated by the image pickup device of the endoscope image pickup device can be efficiently dissipated, the temperature rise of the image pickup device can be suppressed, and noise generation and damage to the image pickup device can be prevented.
  • the device can be provided.
  • FIG. 2 is a side view showing a state in which the protective member is removed in the endoscope imaging device.
  • FIG. 2 is a side view showing a state in which the protective member is removed in the endoscope imaging device.
  • FIG. 2 is a side view showing a state in which the protective member is removed in the endoscope imaging device.
  • FIG. 2 is a side view showing a state in which the protective member is removed in the endoscope imaging device.
  • FIG. 2 is a side view showing typically another example of the endoscopic image pickup apparatus of this invention.
  • FIG. 2 is a side view showing a state in which the protective member is removed in the endoscope imaging device.
  • FIG. 2 is a perspective view which shows typically another example of the endoscopic image pickup apparatus of this invention.
  • FIG. 2 is a perspective view which shows typically another example of the endoscopic image pickup apparatus of this invention.
  • FIG. 2 is a perspective view which shows typically another example of the endoscopic image pickup apparatus of this invention.
  • FIG. 2 is a
  • the endoscopic imaging device of the present invention lens, Lens barrel that holds the lens, Image sensor, Circuit board on which the image sensor is mounted, A cable that is connected to a circuit board and transmits an electrical signal from the image sensor, An optical member that is placed between the lens barrel and the image sensor and guides the light that has passed through the lens to the image sensor.
  • the protective member is made of metal material,
  • the protective member is an endoscopic image pickup device having a sensor protection portion that covers the side surface of the image pickup element.
  • FIG. 1 conceptually shows an example of an endoscope system including an endoscope having the endoscope imaging device of the present invention.
  • the endoscope system 1 includes an endoscope 2, a light source unit 3, and a processor unit 4.
  • the endoscope 2 has the same configuration as a general endoscope except for a portion of the endoscope imaging device 10 described later.
  • the endoscope 2 has an insertion portion to be inserted into a subject, an operation portion connected to the insertion portion, and a universal cord extending from the operation portion, and the insertion portion has a tip portion and a curved portion connected to the tip portion. And a soft part that connects the curved part and the operation part.
  • an endoscope imaging device having an illumination optical system that emits illumination light for illuminating the observation portion, an imaging element for imaging the observation portion, an imaging optical system, and the like is provided.
  • the curved portion is configured to be bendable in a direction orthogonal to the longitudinal axis of the insertion portion, and the bending operation of the curved portion is operated by the operating portion.
  • the soft portion is configured to be relatively flexible so as to be deformable according to the shape of the insertion path of the insertion portion.
  • the operation unit is provided with a button for operating the imaging operation of the endoscopic imaging device at the tip and a knob for operating the bending operation of the curved portion.
  • the operation unit is provided with an introduction port into which a treatment tool such as an electric knife is introduced, and inside the insertion part, a treatment tool such as forceps is inserted by reaching the tip portion from the introduction port.
  • a tool channel is provided.
  • a connector is provided at the end of the universal cord, and the endoscope 2 is acquired by a light source unit 3 that generates illumination light emitted from an illumination optical system at the tip portion via the connector, and an imaging device at the tip portion. It is connected to the processor unit 4 that processes the video signal.
  • the processor unit 4 processes the input video signal to generate video data of the observation part, displays the generated video data on the monitor, and records it.
  • the processor unit 4 may be configured by a processor such as a PC (personal computer).
  • the light source unit 3 uses the imaging device of the endoscope 2 to image an observation target portion in the body cavity to acquire an image signal, so that the light source unit 3 uses red light (R), green light (G), blue light (B), or the like.
  • Illumination light such as white light composed of three primary color lights and light having a specific wavelength is generated, supplied to the endoscope 2, propagated by a light guide or the like in the endoscope 2, and is propagated by a light guide or the like in the endoscope 2 to be inserted into the endoscope 2. It is for illuminating the observation target part in the body cavity by emitting light from the illumination optical system at the tip portion.
  • a light guide and a group of electric wires are housed inside the insertion part, the operation part, and the universal cord.
  • the illumination light generated by the light source unit 3 is guided to the illumination optical system at the tip via a light guide, and a signal and / or electric power is transmitted between the image pickup device at the tip and the processor unit 4. Is transmitted via.
  • the endoscope system 1 may further include a water supply tank for storing wash water and the like, a suction pump for sucking suction substances (including supplied wash water and the like) in the body cavity, and the like. Further, a supply pump or the like that supplies cleaning water in the water supply tank or gas such as external air to a pipeline (not shown) in the endoscope may be provided.
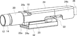
  • FIG. 2 shows a side view schematically showing an example of the endoscopic imaging apparatus of the present invention.
  • FIG. 3 shows a front view of FIG. 2.
  • FIG. 3 is a view of the endoscope imaging device of FIG. 2 as viewed from the left side of the paper.
  • FIG. 4 shows a side view of the endoscope imaging device of FIG. 2 in a state where the protective member 24 is removed.
  • the endoscope imaging device (hereinafter, also referred to as a camera head) 10 shown in FIGS. 2 and 3 includes a lens 12, a lens barrel 14 that holds the lens 12, an imaging element (hereinafter, also referred to as a sensor) 16, and a cover glass 17. It has an optical member (hereinafter, also referred to as a prism) 18, an optical member holder 20, a circuit board 22, a protective member 24, a cable 26, and a filling member 28.
  • an optical member hereinafter, also referred to as a prism
  • the lens 12 is an optical system that forms an image of incident light on the light receiving surface of the sensor 16.
  • the lens 12 is held by the lens barrel 14.
  • the camera head 10 has three lenses 12.
  • the lens barrel 14 is a tubular member and holds one or more lenses 12.
  • the lens barrel 14 holds the lens 12 so that the optical axis of the lens 12 is perpendicular to one surface of the prism 18.
  • the configuration of the lens 12 and the lens barrel 14 is not particularly limited. For example, it may have a configuration having one lens 12, or may have a configuration having two or four or more lenses 12. Further, each lens 12 may be a convex lens or a concave lens.
  • the sensor 16 is an image pickup device that performs imaging by converting the light imaged by the lens 12 into an electric signal by photoelectric conversion.
  • the sensor 16 is a conventionally known image pickup device such as a CCD (Charge-Coupled Device) or a CMOS (Complementary MOS).
  • the sensor 16 is arranged closer to the base end than the lens barrel 14. Further, as shown in FIG. 4, the sensor 16 is mounted on the circuit board 22 so that the light receiving surface is parallel to the optical axis of the lens 12.
  • the circuit board 22 is a board on which the sensor 16 is mounted. Further, electronic components other than the sensor 16 may be mounted on the circuit board 22. Further, the circuit board 22 is provided with a plurality of connection terminals for inputting / outputting signals or electric power to the sensor 16 and electronic components. The signal line of the cable 26 is electrically connected to the connection terminal (see FIG. 4).
  • the circuit board 22 has a shape in which a substantially L-shaped plate-shaped member is curved at two places.
  • the circuit board 22 has a first curved portion 22b that is curved about a direction orthogonal to the optical axis direction (hereinafter, also referred to as an axial direction) of the lens, and a second curved portion 22b that is curved about the axial direction.
  • It has a curved portion 22c, and a sensor 16, an electronic component, and a connection terminal are mounted on three plate-shaped portions connected by the two curved portions. Further, the sensor 16 is mounted on the upper surface side of the plate-shaped portion on the lower side in FIG.
  • the circuit board 22 may be a flexible substrate. Further, the circuit board 22 may have a shape that is bent at one place or at three or more places. Further, there are no particular restrictions on the arrangement of the sensor 16, electronic components, connection terminals, etc. on the circuit board 22.
  • the cable 26 is connected to the connection terminal on the circuit board 22. Light is converted into an electric signal by the sensor 16, and this electric signal is transmitted via the cable 26.
  • the cable 26 is inserted into the insertion part, the operation part, the universal cord, etc. of the endoscope and is connected to the processor unit 4.
  • the cable 26 includes one or more signal lines such as a coaxial cable or a single-axis cable, a shielded wire that covers the outer periphery of the one or more signal lines, a protective coating (sheath) that covers the signal line and the outer periphery of the shielded wire, and the like.
  • the cover glass 17 is arranged on the light receiving surface of the sensor 16 to protect the light receiving surface.
  • a prism 18 is arranged on the cover glass 17.
  • the prism 18 is arranged between the lens barrel 14 and the sensor 16 (cover glass 17).
  • the prism 18 bends the light passing through the lens 12 held by the lens barrel 14 by 90 ° to change the optical path, and guides the light to the light receiving surface of the sensor 16.
  • the prism 18 is a right-angled prism whose entrance surface and exit surface are orthogonal to each other.
  • the prism 18 is arranged so that the incident surface faces the surface on the base end side of the lens barrel 14, and the emitting surface faces the light receiving surface of the sensor 16.
  • the optical member holder 20 is a member that holds the lens barrel 14 and the prism 18.
  • the optical member holder 20 is a substantially tubular member, and the lens barrel 14 is fitted inside the tubular portion to hold the lens barrel 14.
  • the inner surface of the optical member holder 20 and the outer peripheral surface of the lens barrel 14 are adhesively fixed.
  • the optical member holder 20 has a polygonal flange portion 20a on the end surface on the base end side of the tubular portion, and the incident surface of the prism 18 is brought into contact with the end surface. As a result, the prism 18 is positioned.
  • the optical member holder 20 holds the lens barrel 14 and the prism 18 at a relative position between the lens barrel 14 and the prism 18, that is, a relative position between the lens barrel 14 and the sensor 16 (light receiving surface). To fix.
  • the lens barrel 14 is adjusted so that the relative position of the lens 12 with respect to the optical member holder 20 in the optical axis direction (hereinafter, also referred to as the axial direction) is adjusted so that the light receiving surface of the sensor 16 is in focus. It is adhesively fixed to the member holder 20.
  • the protective member 24 holds the cable 26 with respect to the optical member holder 20.
  • the protective member 24 is a member formed by bending one plate material.
  • the protective member 24 has a shape in which one plate material extends in the axial direction and is bent at two bent portions. Therefore, the protective member 24 has a substantially C shape in a cross section perpendicular to the axial direction.
  • the protective member 24 is arranged so that the connection terminal (connection point with the cable 26) on the circuit board 22 is included inside the substantially C shape. That is, as shown in FIG. 2, the protective member 24 is arranged so as to cover the circuit board 22 from the upper side in the drawing.
  • the protective member 24 has a pair of arm portions 24a on the tip end side.
  • the pair of arm portions 24a are engaged with each other with the flange portion 20a of the optical member holder 20 interposed therebetween.
  • the protective member 24 has a holding portion 24b for holding the cable 26 on the base end side.
  • the holding portion 24b is crimped so as to press the cable 26 to hold the cable 26 (not shown). That is, the holding portion 24b is bent along the outer skin of the cable 26.
  • the arm portion 24a of the protective member 24 and the flange portion 20a of the optical member holder 20, and the holding portion 24b of the protective member 24 and the outer skin of the cable 26 may be adhesively fixed to each other.
  • the protective member 24 is connected to each of the optical member holder 20 and the cable 26, so that when the cable 26 is pulled, the connection point between the connection terminal and the signal line on the circuit board 22 is formed. It is pulled to prevent the connection between the connection terminal and the signal line from being broken.
  • the observation image captured by the sensor 16 from the lens 12 is imaged on the light receiving surface of the sensor 16 and converted into an electric signal, and this electric signal is transmitted to the processor unit 4 via the cable 26. It is output, converted into a video signal, and the observed image is displayed on the monitor connected to the processor unit 4.
  • the protective member 24 is made of a metal material and has a sensor protective portion 25 that covers the side surface of the sensor 16. As shown in FIGS. 2 and 3, the protective member 24 has a sensor protective portion 25 extending downward in the drawing from two facing side surfaces having a substantially C-shaped cross section.
  • the sensor protection unit 25 is arranged at a position where two side surfaces of the sensor 16 parallel to the optical axis of the lens 12 overlap when viewed from a direction perpendicular to the side surfaces. Further, the axial width of the sensor protection portion 25 is larger than the width of the side surface of the sensor 16 and covers the entire side surface of the sensor 16.
  • the filling member 28 is filled between the sensor protection unit 25 and the side surface of the sensor 16. Therefore, the sensor 16 is in physical contact with the protective member 24 via the filling member 28. Further, the protective member 24 is in physical contact with the optical member holder 20 and the cable 26.
  • the side surface of the sensor 16 is covered with the sensor protection unit 25, and the space between the side surface of the sensor 16 and the sensor protection unit 25 is filled with the filling member 28. 24, a heat dissipation path of an optical member holder 20 and a cable 26 is formed. Therefore, the heat generated from the sensor 16 can be efficiently dissipated. Further, the sensor 16 can be protected by covering the sensor 16 with a hard metal material.
  • the metal material forming the protective member 24 is not particularly limited, but a metal material having high thermal conductivity is preferable. Considering workability, availability, strength, and the like, stainless steel and copper alloy are preferable as the protective member 24.
  • an adhesive or a sealing agent can be used as the material of the filling member 28 as the material of the filling member 28 as the material of the filling member 28.
  • various adhesives used in endoscopes can be used.
  • sealing agent various sealing agents used in endoscopes can be used.
  • the filling member 28 is preferably filled in the entire area between the side surface of the sensor 16 and the sensor protection portion 25, but is filled in at least a part between the side surface of the sensor 16 and the sensor protection portion 25. You may be.
  • the filling member 28 is filled in the entire area between the side surface of the cover glass 17 and the sensor protection portion 25.
  • the width of the sensor protection unit 25 is larger than the width of the side surface of the sensor 16 and covers the entire side surface of the sensor 16, but the present invention is not limited to this.
  • the sensor protection unit 25 may cover at least a part of the side surface of the sensor 16. From the viewpoint of heat dissipation, the sensor protection unit 25 preferably covers the entire side surface of the sensor 16.
  • the filling member 28 is provided between the side surface of the sensor 16 and the sensor protection unit 25, but the present invention is not limited to this, and the side surface of the sensor 16 and the sensor protection unit 25 are not limited to this. May be in direct contact with.
  • a heat dissipation path of a protection member 24, an optical member holder 20, and a cable 26 is formed from the sensor 16. Therefore, the heat generated from the sensor 16 can be efficiently dissipated.
  • the sensor protective portion 25 of the protective member 24 made of a metal material having high thermal conductivity is in direct contact with the side surface of the sensor 16.
  • the protection member is used when a tensile force is applied to the cable 26, such as when the tip of the endoscope is curved.
  • the 24 may be pulled and the sensor protection unit 25 may be separated from the side surface of the sensor 16.
  • the filling member 28 causes the sensor protection portion 25 and the sensor.
  • connection with the 16 side surfaces can be maintained. Further, in order to keep the side surface of the sensor 16 and the sensor protection unit 25 in direct contact with each other, it is necessary to continue applying a force for pressing the sensor protection unit 25 against the side surface of the sensor 16, but if the force is too large, the sensor 16 will perform. It may be damaged. Therefore, from such a viewpoint, a configuration in which the filling member 28 is provided between the side surface of the sensor 16 and the sensor protection portion 25 is preferable.
  • the endoscope imaging device of the present invention may have a configuration having at least a part of a region on the back surface side of the position of the sensor 16 on the circuit board 22 and a heat radiating member connecting the protective member 24 or the cable 26. ..
  • one end thereof is thermally connected to the region of the back surface 22a of the circuit board 22 (the surface opposite to the surface on which the sensor 16 is mounted) at the position of the sensor 16. It has a rod-shaped heat radiating member 30 whose other end is thermally connected to the protective member 24. Since the camera head shown in FIG. 5 has the same configuration as the camera head 10 shown in FIG. 2 except that it has a heat radiating member 30, the same parts are designated by the same reference numerals and the description thereof will be omitted. This point is the same for FIGS. 6 to 8.
  • one end is thermally connected to the region of the back surface 22a of the circuit board 22 at the position of the sensor 16, and the other end is thermally connected to the cable 26. It has a rod-shaped heat radiating member 30.
  • the sensor is formed by connecting at least a part of the region on the back surface side of the position of the sensor 16 on the circuit board 22 to the protective member 24 or the cable 26 by using the heat radiating member 30. Since the heat dissipation path of the circuit board 22, the heat dissipation member 30, the protection member 24, or the cable 26 is formed from 16, the heat generated from the sensor 16 can be dissipated more efficiently.
  • a rod-shaped (linear) member is used as the heat radiating member 30, but the present invention is not limited to this.
  • a sheet-shaped heat transfer member heat transfer sheet may be used as the heat dissipation member.
  • a sheet-shaped heat radiating member 32 is attached to the back surface 22a of the circuit board 22, and two ends in a direction orthogonal to the axial direction are the sensor protection portion 25 of the protection member 24. It is attached to the outer side surface (the surface opposite to the sensor 16).
  • the sheet-shaped heat radiating member 32 is attached to the back surface 22a of the circuit board 22, and the end portion on the base end side is attached to the outer skin of the cable 26.
  • a sheet-shaped heat radiating member 30 is used to connect at least a part of the region on the back surface side of the position of the sensor 16 on the circuit board 22 to the protective member 24 or the cable 26. Since the sensor 16 forms a heat dissipation path of the circuit board 22, the heat dissipation member 32, the protection member 24, or the cable 26, the heat generated from the sensor 16 can be dissipated more efficiently. Further, the circuit board 22 and the sensor 16 can be protected by covering the back surface 22a of the circuit board 22 with a sheet-shaped heat radiating member.
  • the heat radiating member 32 has an area equal to or larger than the area of the largest surface on the back surface 22a side of the circuit board 22, and covers the entire area of the largest surface of the circuit board 22.
  • the configuration is such that it is arranged on the back surface 22a of the circuit board 22 so as to cover it, but the present invention is not limited to this, and the heat radiating member 32 is at least a part of the area corresponding to the position of the sensor 16 on the back surface 22a of the circuit board 22. It suffices if it is connected to.
  • the heat radiating member may be a rod-shaped heat transfer member or a sheet-shaped heat transfer member.
  • the material of the heat radiating member those having high thermal conductivity such as graphite and metal materials such as stainless steel and copper alloy are preferable.
  • Endoscope system 2 Endoscope 3
  • Light source unit 4
  • Processor unit 10
  • Endoscope imaging device 12
  • Lens 14
  • Lens barrel 16
  • Imaging element (sensor) 17
  • Cover glass 18
  • Optical member (prism) 20
  • Optical member holder 20a
  • Flange part 22
  • Circuit board 22a
  • Back surface 22b 1st curved part
  • 22c 2nd curved part
  • Protective member 24a Arm part 24b Holding part
  • Sensor protective part 26
  • Cable 28 32 Heat dissipation member

Landscapes

  • Health & Medical Sciences (AREA)
  • Life Sciences & Earth Sciences (AREA)
  • Physics & Mathematics (AREA)
  • Surgery (AREA)
  • Optics & Photonics (AREA)
  • Biomedical Technology (AREA)
  • Medical Informatics (AREA)
  • Radiology & Medical Imaging (AREA)
  • Nuclear Medicine, Radiotherapy & Molecular Imaging (AREA)
  • Engineering & Computer Science (AREA)
  • Biophysics (AREA)
  • Heart & Thoracic Surgery (AREA)
  • Pathology (AREA)
  • Molecular Biology (AREA)
  • Animal Behavior & Ethology (AREA)
  • General Health & Medical Sciences (AREA)
  • Public Health (AREA)
  • Veterinary Medicine (AREA)
  • Astronomy & Astrophysics (AREA)
  • General Physics & Mathematics (AREA)
  • Endoscopes (AREA)
PCT/JP2021/004754 2020-02-27 2021-02-09 内視鏡撮像装置 Ceased WO2021172002A1 (ja)

Priority Applications (1)

Application Number Priority Date Filing Date Title
JP2022503240A JP7385736B2 (ja) 2020-02-27 2021-02-09 内視鏡撮像装置

Applications Claiming Priority (2)

Application Number Priority Date Filing Date Title
JP2020031387 2020-02-27
JP2020-031387 2020-02-27

Publications (1)

Publication Number Publication Date
WO2021172002A1 true WO2021172002A1 (ja) 2021-09-02

Family

ID=77490506

Family Applications (1)

Application Number Title Priority Date Filing Date
PCT/JP2021/004754 Ceased WO2021172002A1 (ja) 2020-02-27 2021-02-09 内視鏡撮像装置

Country Status (2)

Country Link
JP (1) JP7385736B2 (enExample)
WO (1) WO2021172002A1 (enExample)

Citations (10)

* Cited by examiner, † Cited by third party
Publication number Priority date Publication date Assignee Title
US4993405A (en) * 1989-05-15 1991-02-19 Olympus Optical Co., Ltd. Imaging apparatus
JPH09173287A (ja) * 1995-12-22 1997-07-08 Olympus Optical Co Ltd 電子内視鏡
JP2000232957A (ja) * 1999-02-15 2000-08-29 Olympus Optical Co Ltd 内視鏡装置
JP2008099746A (ja) * 2006-10-17 2008-05-01 Olympus Medical Systems Corp 内視鏡
JP2011000346A (ja) * 2009-06-22 2011-01-06 Hoya Corp 電子内視鏡挿入部の放熱構造
JP2012071064A (ja) * 2010-09-29 2012-04-12 Fujifilm Corp 内視鏡装置及びその撮像素子放熱方法
JP2012157472A (ja) * 2011-01-31 2012-08-23 Fujifilm Corp 撮像装置及びこれを備えた電子内視鏡
JP2013076844A (ja) * 2011-09-30 2013-04-25 Fujifilm Corp 内視鏡用撮影レンズユニット及びカメラモジュール
JP2013075029A (ja) * 2011-09-30 2013-04-25 Fujifilm Corp 内視鏡用撮像ユニット及びカメラモジュール
JP2016158770A (ja) * 2015-02-27 2016-09-05 富士フイルム株式会社 内視鏡

Patent Citations (10)

* Cited by examiner, † Cited by third party
Publication number Priority date Publication date Assignee Title
US4993405A (en) * 1989-05-15 1991-02-19 Olympus Optical Co., Ltd. Imaging apparatus
JPH09173287A (ja) * 1995-12-22 1997-07-08 Olympus Optical Co Ltd 電子内視鏡
JP2000232957A (ja) * 1999-02-15 2000-08-29 Olympus Optical Co Ltd 内視鏡装置
JP2008099746A (ja) * 2006-10-17 2008-05-01 Olympus Medical Systems Corp 内視鏡
JP2011000346A (ja) * 2009-06-22 2011-01-06 Hoya Corp 電子内視鏡挿入部の放熱構造
JP2012071064A (ja) * 2010-09-29 2012-04-12 Fujifilm Corp 内視鏡装置及びその撮像素子放熱方法
JP2012157472A (ja) * 2011-01-31 2012-08-23 Fujifilm Corp 撮像装置及びこれを備えた電子内視鏡
JP2013076844A (ja) * 2011-09-30 2013-04-25 Fujifilm Corp 内視鏡用撮影レンズユニット及びカメラモジュール
JP2013075029A (ja) * 2011-09-30 2013-04-25 Fujifilm Corp 内視鏡用撮像ユニット及びカメラモジュール
JP2016158770A (ja) * 2015-02-27 2016-09-05 富士フイルム株式会社 内視鏡

Also Published As

Publication number Publication date
JPWO2021172002A1 (enExample) 2021-09-02
JP7385736B2 (ja) 2023-11-22

Similar Documents

Publication Publication Date Title
US8641606B2 (en) Endoscope apparatus
CN107149460B (zh) 内窥镜
US11653825B2 (en) Imaging unit and oblique-viewing endoscope
CN106886089B (zh) 内窥镜
US11122969B2 (en) Endoscopic device
CN103476319B (zh) 内窥镜装置
JP6650378B2 (ja) 内視鏡
WO2011010499A1 (ja) 内視鏡装置
US10098522B2 (en) Endoscope
JP2010069217A (ja) 電子内視鏡用撮像装置、および電子内視鏡
CN107115088B (zh) 内窥镜
JP7398400B2 (ja) 内視鏡撮像装置および内視鏡
JP6727964B2 (ja) 内視鏡
JP7385736B2 (ja) 内視鏡撮像装置
JP2011200338A (ja) 電子内視鏡
JP7585104B2 (ja) 撮像モジュール
JP7163333B2 (ja) 内視鏡
JP7555298B2 (ja) 内視鏡撮像装置および内視鏡
US10080480B2 (en) Endoscope
CN112587073B (zh) 内窥镜
JP7598290B2 (ja) 内視鏡
JP7267811B2 (ja) 内視鏡
JP7676171B2 (ja) 撮像モジュール
JP2022166635A (ja) 内視鏡カメラヘッド
JP2008029597A (ja) 内視鏡装置

Legal Events

Date Code Title Description
121 Ep: the epo has been informed by wipo that ep was designated in this application

Ref document number: 21760513

Country of ref document: EP

Kind code of ref document: A1

ENP Entry into the national phase

Ref document number: 2022503240

Country of ref document: JP

Kind code of ref document: A

NENP Non-entry into the national phase

Ref country code: DE

122 Ep: pct application non-entry in european phase

Ref document number: 21760513

Country of ref document: EP

Kind code of ref document: A1