WO2020066567A1 - コネクタ - Google Patents

コネクタ Download PDF

Info

Publication number
WO2020066567A1
WO2020066567A1 PCT/JP2019/035347 JP2019035347W WO2020066567A1 WO 2020066567 A1 WO2020066567 A1 WO 2020066567A1 JP 2019035347 W JP2019035347 W JP 2019035347W WO 2020066567 A1 WO2020066567 A1 WO 2020066567A1
Authority
WO
WIPO (PCT)
Prior art keywords
cover
dielectric
crimping
multifunctional
split shell
Prior art date
Legal status (The legal status is an assumption and is not a legal conclusion. Google has not performed a legal analysis and makes no representation as to the accuracy of the status listed.)
Ceased
Application number
PCT/JP2019/035347
Other languages
English (en)
French (fr)
Japanese (ja)
Inventor
将大 狩田
今井 康雄
Current Assignee (The listed assignees may be inaccurate. Google has not performed a legal analysis and makes no representation or warranty as to the accuracy of the list.)
Sumitomo Wiring Systems Ltd
Original Assignee
Sumitomo Wiring Systems Ltd
Priority date (The priority date is an assumption and is not a legal conclusion. Google has not performed a legal analysis and makes no representation as to the accuracy of the date listed.)
Filing date
Publication date
Application filed by Sumitomo Wiring Systems Ltd filed Critical Sumitomo Wiring Systems Ltd
Priority to CN201980060846.5A priority Critical patent/CN112714985B9/zh
Priority to US17/278,331 priority patent/US11387578B2/en
Publication of WO2020066567A1 publication Critical patent/WO2020066567A1/ja
Anticipated expiration legal-status Critical
Ceased legal-status Critical Current

Links

Images

Classifications

    • HELECTRICITY
    • H01ELECTRIC ELEMENTS
    • H01RELECTRICALLY-CONDUCTIVE CONNECTIONS; STRUCTURAL ASSOCIATIONS OF A PLURALITY OF MUTUALLY-INSULATED ELECTRICAL CONNECTING ELEMENTS; COUPLING DEVICES; CURRENT COLLECTORS
    • H01R4/00Electrically-conductive connections between two or more conductive members in direct contact, i.e. touching one another; Means for effecting or maintaining such contact; Electrically-conductive connections having two or more spaced connecting locations for conductors and using contact members penetrating insulation
    • H01R4/10Electrically-conductive connections between two or more conductive members in direct contact, i.e. touching one another; Means for effecting or maintaining such contact; Electrically-conductive connections having two or more spaced connecting locations for conductors and using contact members penetrating insulation effected solely by twisting, wrapping, bending, crimping, or other permanent deformation
    • H01R4/18Electrically-conductive connections between two or more conductive members in direct contact, i.e. touching one another; Means for effecting or maintaining such contact; Electrically-conductive connections having two or more spaced connecting locations for conductors and using contact members penetrating insulation effected solely by twisting, wrapping, bending, crimping, or other permanent deformation by crimping
    • HELECTRICITY
    • H01ELECTRIC ELEMENTS
    • H01RELECTRICALLY-CONDUCTIVE CONNECTIONS; STRUCTURAL ASSOCIATIONS OF A PLURALITY OF MUTUALLY-INSULATED ELECTRICAL CONNECTING ELEMENTS; COUPLING DEVICES; CURRENT COLLECTORS
    • H01R13/00Details of coupling devices of the kinds covered by groups H01R12/70 or H01R24/00 - H01R33/00
    • H01R13/46Bases; Cases
    • H01R13/502Bases; Cases composed of different pieces
    • H01R13/506Bases; Cases composed of different pieces assembled by snap action of the parts
    • HELECTRICITY
    • H01ELECTRIC ELEMENTS
    • H01RELECTRICALLY-CONDUCTIVE CONNECTIONS; STRUCTURAL ASSOCIATIONS OF A PLURALITY OF MUTUALLY-INSULATED ELECTRICAL CONNECTING ELEMENTS; COUPLING DEVICES; CURRENT COLLECTORS
    • H01R13/00Details of coupling devices of the kinds covered by groups H01R12/70 or H01R24/00 - H01R33/00
    • H01R13/648Protective earth or shield arrangements on coupling devices, e.g. anti-static shielding  
    • H01R13/658High frequency shielding arrangements, e.g. against EMI [Electro-Magnetic Interference] or EMP [Electro-Magnetic Pulse]
    • H01R13/6591Specific features or arrangements of connection of shield to conductive members
    • H01R13/6592Specific features or arrangements of connection of shield to conductive members the conductive member being a shielded cable
    • H01R13/6593Specific features or arrangements of connection of shield to conductive members the conductive member being a shielded cable the shield being composed of different pieces

Definitions

  • the present disclosure relates to a connector.
  • Patent Document 1 discloses a connector including a plurality of inner conductors, a dielectric, and an outer conductor.
  • the plurality of inner conductors are individually connected to the front ends of the plurality of wires constituting the shielded wire.
  • the dielectric houses a plurality of inner conductors.
  • the outer conductor surrounds the inner conductor and the dielectric.
  • the outer conductor includes a cylindrical member surrounding the front end side region of the dielectric, and a pair of split shells formed in a half-shape disposed behind the cylindrical member. A pair of crimping portions formed at the rear end of each split shell is crimped to the outer periphery of a shield layer constituting the shielded electric wire.
  • the pair of crimping portions are pressed in a direction approaching each other. Since the pair of crimping portions are disposed at the rear ends of the pair of split shells, the pair of split shells tend to tilt in such a manner that their front ends are separated from each other. However, since the front ends of the split shells are locked to the tubular member, there is no possibility that the pair of split shells will tilt.
  • the front end of the connector When inserting the connector into the housing, it is necessary to visually check the front end of the connector and check the up, down, left, and right directions to prevent the connector from being inserted into the housing in an incorrect direction.
  • the front end of the connector has a rectangular tube shape that is vertically symmetrical and symmetrical left and right, and it is difficult to visually check the front end of the connector to determine the up, down, left, and right directions.
  • the outer conductor is composed of only a pair of split shells having an asymmetric shape.
  • the front end of the connector is formed in a rectangular tube shape according to the outer shape of the dielectric, so that it is not easy to visually identify the direction.
  • the present invention has been completed in view of the above circumstances, and has as its object to prevent inclination of a posture at the time of crimping of an outer conductor and to easily identify a direction of a connector.
  • the connector of the present disclosure includes: It has a plurality of inner conductors, a dielectric, an outer conductor, and a multi-functional part,
  • the plurality of inner conductors are individually connected to front ends of a plurality of core wires constituting a shielded wire
  • the dielectric houses the plurality of inner conductors
  • the outer conductor is configured by combining a first split shell and a second split shell, The outer conductor surrounds the inner conductor and the dielectric,
  • a first crimping portion that is crimped to the outer periphery of a shield member that constitutes the shielded wire is formed,
  • the multifunctional portion is exposed on the outer surface of the outer conductor, and is formed in a protruding shape in front of the first crimping portion on the outer surface of the dielectric
  • the first split shell is provided with a first locking portion arranged so as to be locked to the multifunctional portion, The direction in which the first locking portion is locked to the multifunctional portion is a direction
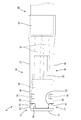
  • FIG. 1 is a perspective view of the shield terminal according to the first embodiment.
  • FIG. 2 is a front view of the shield terminal.
  • FIG. 3 is a plan view of the shield terminal.
  • FIG. 4 is a side view of the shield terminal.
  • FIG. 5 is an exploded perspective view of the shield terminal.
  • FIG. 6 is a perspective view showing a state where the inner conductor is accommodated in the dielectric.
  • FIG. 7 is a perspective view showing a state where the second split shell is assembled to the dielectric.
  • FIG. 8 is a plan view of the housing member.
  • FIG. 9 is a side view of the housing member.
  • FIG. 10 is a perspective view of a state where the first split shell is turned upside down.
  • the connector of the present disclosure includes: (1) A plurality of inner conductors, a dielectric, an outer conductor, and a multifunctional part are provided, and the plurality of inner conductors are individually connected to front ends of a plurality of core wires constituting a shielded electric wire.
  • the dielectric accommodates the plurality of inner conductors, the outer conductor is configured by combining a first split shell and a second split shell, and the outer conductor surrounds the inner conductor and the dielectric
  • a first crimping portion is formed at a rear end of the first split shell and crimped to an outer periphery of a shield member constituting the shielded wire, and the multifunctional portion is exposed on an outer surface of the outer conductor.
  • the outer surface of the dielectric is formed in a protruding shape in front of the first crimping portion, and is disposed on the first split shell so as to be able to be locked to the multifunctional portion.
  • a first locking portion is formed, and a locking direction of the first locking portion with respect to the multifunctional portion; , And the crimping direction of the first bonding portion to the shield member is opposite direction.
  • the multifunctional portion is formed in a projecting shape and is exposed on the outer surface of the outer conductor, it is possible to confirm the orientation of the connector by visually checking the position of the multifunctional portion.
  • the first locking portion of the first split shell locks the multifunctional portion in a direction opposite to the crimping direction. Tilt can be prevented.
  • the multifunctional portion is disposed at a front end of the dielectric. According to this configuration, since the multifunctional portion is exposed on the outer surface of the outer conductor at the front end of the connector, it is easier to visually confirm the multifunctional portion than that which is exposed behind the front end of the connector. In addition, since the multifunctional portion is arranged at the front end of the dielectric, a long distance in the front-rear direction between the first crimping portion and the multifunctional portion is ensured, so that the inclination of the posture of the first split shell is prevented. Excellent function to do.
  • the multifunctional portion is formed only at two of the four corners of the front wall of the dielectric. According to this configuration, the orientation of the connector can be visually checked from multiple directions by the two multifunctional portions.
  • the dielectric includes a housing member and a cover, and the housing member has a housing chamber for housing the inner conductor, and the cover covers the housing chamber and the inner conductor, It is preferable that an opening for exposing the cover is formed between the outer conductor and the inner conductor. According to this configuration, even if the cover is covered with the outer conductor, the assembled state of the cover with respect to the housing member can be confirmed by visually observing the direction and position of the cover through the opening.
  • the opening is provided so as to expose the cover in the axial direction of the core wire. According to this configuration, the assembled state of the cover can be easily confirmed by visually observing the connector in the axial direction of the core wire.
  • the second split shell is formed with a second crimping portion that is crimped to the outer periphery of the shield member, and the cover is formed with a displacement restricting portion disposed forward of the second crimping portion.
  • the second split shell is formed with a second locking portion arranged to be locked to the displacement restricting portion, and a locking direction of the second locking portion with respect to the displacement restricting portion. Is preferably opposite to a crimping direction of the second crimping portion to the shield member. According to this configuration, when the second crimping portion is crimped to the shield member, the second locking portion of the second split shell is locked in the direction opposite to the crimping direction with respect to the displacement restricting portion. The inclination of the posture of the second split shell at the time can be prevented.
  • the connector A of the first embodiment is connected to the front end of the shielded electric wire 60.
  • the shielded electric wire 60 includes four core wires 61 made of a covered electric wire, a cylindrical outer cover 62, and a cylindrical shield member 63.
  • the outer skin 62 surrounds the four core wires 61 in a lump.
  • the shield member 63 is inserted into the outer cover 62 and surrounds the four core wires 61 collectively.
  • a braided wire or the like is used as the shield member 63.
  • the connector A is configured by assembling four inner conductors 10, one dielectric 13 and one outer conductor 36.
  • the inner conductor 10 has an elongated shape in the front-rear direction as a whole.
  • the inner conductor 10 includes a square tube portion 11 for inserting a tab (not shown) of a mating inner conductor into contact therewith, and a barrel portion 12 extending rearward from the rear end of the square tube portion 11. It is a single part.
  • the front end of the core wire 61 is fixed to the barrel portion 12 so as to be conductive by crimping.
  • the crimped core wire 61 extends rearward from the inner conductor 10.
  • the extending direction of the core wire 61 is defined as the axial direction of the core wire 61.
  • the dielectric 13 includes a housing member 14 made of an insulating material, a first cover 26 (a cover described in claims) made of an insulating material, and a second cover 29 (made of an insulating material). And the cover described in the claims). Although the first cover 26 and the second cover 29 have the same shape, the colors of the first cover 26 and the second cover 29 are different.
  • the housing member 14 is symmetrical in the left-right direction and has an asymmetric shape in the vertical direction.
  • the housing member 14 is a single component including a front wall 15, a base 16, a pair of upper and lower partitions 17, and a pair of left and right side walls 18.
  • the front wall portion 15 has a plate shape perpendicular to the axis of the core wire 61.
  • the base portion 16 has a form projecting rearward from a rear surface of the front wall portion 15 in a substantially horizontal plate shape.
  • four tab insertion holes 19 aligned vertically, horizontally, and vertically are formed in the front wall 15 in a penetrating manner.
  • a first lock projection 20 is formed at an upper end of the outer surface of the side wall 18.
  • a second lock projection 21 is formed at a lower end of the outer surface of the side wall 18.
  • the upper and lower partition walls 17 extend in the front-rear direction (parallel to the axis of the core wire 61), and protrude upward and downward from the center of the upper surface and the lower surface of the base 16 in the left-right direction.
  • the pair of left and right side walls 18 extend rearward from the left and right edges of the front wall 15 and extend in both up and down directions from the left and right edges of the base 16.
  • the housing member 14 is formed with four housing chambers 22 that are vertically and horizontally divided by a base 16, a partition 17 and a side wall 18.
  • the two upper storage chambers 22 are open above and behind the storage member 14, and the two lower storage chambers 22 are open below and behind the storage member 14.
  • Each of the accommodation chambers 22 accommodates the entire inner conductor 10 and the front end of a core wire 61 connected to the inner conductor 10.
  • a pair of left and right multifunctional portions 23 is formed on the front wall portion 15 of the housing member 14.
  • the pair of multifunctional portions 23 are formed only in the upper two corners of the four corners of the front wall portion 15.
  • the pair of multi-function units 23 are disposed at both left and right ends of the upper end of the rear surface of the front wall 15.
  • the pair of multifunctional portions 23 are configured to protrude rearward from two upper corners of the front wall portion 15 and constitute a vertically asymmetric portion of the housing member 14 (the dielectric 13).
  • the multi-functional portion 23 has a rectangular shape in a plan view, a rear view shape, and a side view shape.
  • a pair of left and right symmetric concave portions 25 are formed in the front wall portion 15.
  • the pair of recesses 25 are formed by recessing both left and right outer surfaces of the front wall portion 15.
  • the formation region of the pair of recesses 25 in the up-down direction is below the multifunctional portion 23 and above the lower end of the front wall portion 15.
  • Due to the formation of the recess 25, a pair of left-right symmetrical protrusions 24 are formed at the lower ends of the left and right side surfaces of the front wall 15.
  • the pair of protrusions 24 are formed only at the lower two corners of the four corners of the front wall 15.
  • the pair of protrusions 24 are in a form protruding outward from the lower end of the outer surface of the front wall 15.
  • the external shape of the pair of projections 24 is different from that of the fixed multifunctional portion 23. Therefore, the pair of protrusions 24, together with the pair of multifunctional portions 23, constitute a vertically asymmetric portion of the housing member 14 (dielectric 13).
  • the first cover 26 is made of an insulating material and has a symmetrical shape. As shown in FIGS. 5 to 7, the first cover 26 includes a substantially horizontal first cover portion 27, a pair of left and right first elastic lock pieces 28 extending downward from left and right side edges of the first cover portion 27. It is a single part with The first cover 26 is assembled so as to cover the upper surface of the housing member 14 from above. The assembled first cover 26 is locked in an assembled state with respect to the housing member 14 by engaging the pair of first elastic lock pieces 28 with the first lock protrusions 20. The first elastic lock piece 28 is arranged so as to be adjacent to the rear of the multifunctional part 23.
  • the first cover portion 27 covers and covers the upper two housing chambers 22.
  • the front end of the first covering portion 27 is fitted between the pair of left and right multifunctional portions 23.
  • a first retaining portion (not shown) projecting in a rib shape in the left-right direction is formed.
  • the first retaining portion is provided from the rear with respect to the rear end portions of the square tubular portions 11 of the two inner conductors 10 housed in the upper housing chamber 22. Lock. By this locking action, the two inner conductors 10 on the upper stage are retained in the retaining state by the first cover 26.
  • the second cover 29 is made of an insulating material, is symmetrical left and right, and is vertically symmetrical with respect to the first cover 26. As shown in FIG. 5, the second cover 29 includes a substantially horizontal second cover portion 30, a pair of left and right second elastic lock pieces 31, a pair of left and right support wall portions 32, and a pair of right and left restriction protrusions 33 ( (A displacement restricting portion according to the claims).
  • the pair of left and right second elastic lock pieces 31 extend upward from the left and right side edges of the second cover 30.
  • the pair of left and right support wall portions 32 is configured to protrude upward from both left and right side edges of the second cover portion 30.
  • the pair of left and right regulating protrusions 33 are formed on the outer surfaces of the left and right support wall portions 32.
  • the second cover 29 is assembled so as to cover the upper surface of the housing member 14 from above. The assembled second cover 29 is locked in an assembled state with respect to the housing member 14 by engaging the pair of second elastic lock pieces 31 with the second lock protru
  • the second elastic lock pieces 31 are arranged in front of the protrusions 24 so as to be adjacent to each other with an interval.
  • the rear edge of the second elastic lock piece 31 extends in the vertical direction (a direction perpendicular to the axis of the core wire 61 and substantially parallel to the crimping directions of the first crimping portion 43 and the second crimping portion 50 described later). This is a form and functions as a regulating edge 34.
  • the second cover portion 30 covers the two lower housing chambers 22.
  • the front end of the second cover 30 is fitted between the pair of left and right protrusions 24.
  • a second retaining portion 35 projecting in a rib shape in the left-right direction is formed.
  • the second retaining portion 35 is positioned rearward with respect to the rear end portions of the square tubular portions 11 of the two inner conductors 10 housed in the lower housing chamber 22. Lock from. By this locking action, the two inner conductors 10 on the lower side are held by the second cover 29 in a retaining state.
  • the outer conductor 36 is formed by vertically combining a first split shell 37 made of a conductive material and a second split shell 44 made of a conductive material. As a rectangular tube.
  • the uniting direction of the first split shell 37 and the second split shell 44 is a direction orthogonal to the axis of the core wire 61.
  • the first split shell 37 has a half-split shape having a space opened to the lower surface side.
  • the front end side region of the first split shell 37 is a first shell portion 38.
  • the rear end of the first split shell 37 is a substantially arc-shaped first crimping portion 43 extending rearward from the rear end of the first shell portion 38.
  • the first shell portion 38 includes a substantially horizontal first substrate portion 39 and a pair of left and right first side plate portions 40.
  • the pair of left and right first side plate portions 40 extend downward at substantially right angles from the left and right side edges of the first substrate portion 39.
  • the first pressure bonding portion 43 extends rearward from the rear edge of the first substrate portion 39.
  • a pair of left and right symmetric notches 41 are formed at the front end of the first shell portion.
  • the pair of notches 41 are formed such that the left and right ends at the front edge of the first substrate portion 39 and the upper ends at the front edges of the left and right first side plate portions 40 are cut off in a communicating state.
  • the shape of the notch 41 in a plan view is substantially the same as the shape of the multifunction part 23 in a rear view.
  • the side view shape of the cutout portion 41 is also substantially rectangular as in the side view shape of the multifunctional portion 23.
  • the lower edge of the notch 41 functions as a locking step 42 facing upward (a first locking portion described in the claims).
  • the second split shell 44 has a half-split shape having a space opened to the upper surface side.
  • the front end side area of the second split shell 44 is a second shell portion 45.
  • the rear end of the second split shell 44 is a second crimping portion 50 that extends elongated from the rear end of the second shell 45 to the rear.
  • the second shell portion 45 includes a substantially horizontal second substrate portion 46 and a pair of left and right second side plate portions 47 extending upward at substantially right angles from the left and right side edges of the second substrate portion 46.
  • the second crimping portion 50 extends rearward from the rear edge of the second substrate portion 46.
  • the front ends of the pair of second side plate portions 47 are located behind the front end of the second substrate portion 46.
  • the front edges of the pair of second side plates 47 extend vertically (in a direction parallel to the regulating edge 34 of the second cover 29), and function as locking edges 48.
  • Each of the pair of second side plate portions 47 is formed with a locking hole 49 (a second locking portion described in the claims).
  • the inner conductors 10 are individually fixed to the tips of the four core wires 61, respectively, and the entire four inner conductors 10 and the front ends of the four core wires 61 are housed in the housing chamber 22, respectively.
  • the first cover 26 and the second cover 29 are attached to the housing member 14.
  • the dielectric 13 is formed, and the four inner conductors 10 are held in the dielectric 13.
  • the dielectric 13 and the four inner conductors 10 constitute a terminal module 51.
  • the second split shell 44 is attached to the terminal module 51.
  • the second split shell 44 is approached from above the terminal module 51, and the pair of second side plate portions 47 are overlapped on the outer surfaces of the pair of support wall portions 32 while being elastically expanded. Are fitted to the regulating protrusions 33 to be in a locked state.
  • the second divided shell 44 is held in an assembled state with respect to the dielectric 13 (the second cover 29).
  • the upper surface of the second substrate portion 46 is overlaid on the lower surface of the second cover portion 30.
  • the locking edge 48 abuts on the regulating edge 34 in a line contact state from the rear, or is adjacent to the regulating edge 34 with a slight clearance from the rear.
  • the first split shell 37 is assembled to the dielectric 13 as shown in FIGS.
  • the first divided shell 37 is brought close to the dielectric 13 from above, and the first substrate 39 is overlapped with the upper surface of the first cover 27.
  • the front end of the first side plate portion 40 is sunk under the multifunctional portion 23, and the front end of the first substrate portion 39 is fitted between the left and right multifunctional portions 23.
  • the pair of multifunctional portions 23 are fitted into the pair of cutout portions 41 and are exposed on the outer surfaces (the upper surface and the side surfaces) of the first split shell 37 (the outer conductor 36).
  • the pair of first side plate portions 40 are overlapped on the outer surfaces of the pair of second side plate portions 47.
  • the first crimping portion 43 is positioned so as to correspond to the second crimping portion 50 in the front-rear direction (the axial direction of the core wire 61).
  • the first crimping portion 43 and the second crimping portion 50 are crimped to the outer periphery of the shield member 63 of the shielded electric wire 60.
  • a downward pressing force F1 is applied to the first crimping portion 43 and, simultaneously, an upward pressing force F2 is applied to the second crimping portion 50.
  • the directions of the pressing forces F1 and F2 at the time of crimping are orthogonal to the axis of the core wire 61.
  • the direction of the pressing force F ⁇ b> 1 with respect to the first crimping portion 43 is a direction substantially parallel to the direction in which the first split shell 37 is attached to the dielectric 13. Since the first crimping portion 43 is disposed at the rear end of the first split shell 37, when a downward pressing force F1 is applied to the first crimping portion 43, the first split shell 37 changes its front end. Attempts to tilt the posture so that it is displaced upward.
  • the direction of displacement of the front end of the first split shell 37 at this time is opposite to the direction in which the pressing force F ⁇ b> 1 is applied to the first crimping portion 43, and is the direction in which the first split shell 37 moves away from the dielectric 13.
  • the locking step 42 formed at the front end of the first split shell 37 abuts against the multifunctional portion 23 of the dielectric 13 from below, the inclination of the attitude of the first split shell 37 is restricted. Is done.
  • the direction of the pressing force F2 on the second crimping portion 50 is substantially parallel to the direction in which the second split shell 44 is attached to the dielectric 13. Since the second crimping portion 50 is disposed at the rear end of the second split shell 44, when an upward pressing force F2 is applied to the second crimping portion 50, the second split shell 44 changes its front end. Attempts to tilt the posture so that it is displaced downward. The direction of displacement of the front end of the second split shell 44 at this time is opposite to the direction in which the pressing force F2 is applied to the second crimping portion 50, and is the direction in which the second split shell 44 moves away from the dielectric 13.
  • the locking hole 49 formed in the second split shell 44 in front of the second crimping portion 50 is fitted to the restriction projection 33, the inclination of the posture of the second split shell 44 is restricted.
  • the locking edge 48 of the second split shell 44 is displaced so as to tilt forward in a side view, and interferes with the regulating edge 34 of the dielectric 13. Therefore, the inclination of the attitude of the second divided shell 44 is also restricted by this interference.
  • the first split shell 37 and the second split shell 44 are assembled to the terminal module 51 and the first crimping portion 43 and the second crimping portion 50 are crimped to the shield member 63, the first split shell 37 and the second split shell 44 are combined.
  • the outer conductor 36 is formed by combining them, and the assembly of the connector A is completed.
  • the multifunctional portion 23 of the dielectric 13 is exposed at the upper surface of the outer conductor 36 and the upper end of the side surface.
  • the projection 24 is exposed on the lower surface and the lower end of the side surface of the outer conductor 36.
  • the projection 24 on the outer surface of the outer conductor 36 is smaller than the exposed area of the multifunctional portion 23 on the outer surface of the outer conductor 36, the projection 24 is hard to see.
  • the multifunctional portion 23 having a large exposed area is easily visible on the outer surface of the outer conductor 36.
  • the up, down, left, and right directions of the connector A can be easily confirmed visually. Therefore, when the connector A is inserted into the housing (not shown), it is possible to prevent the connector A from being inserted in an incorrect state in up, down, left and right directions.
  • the opening 52 is formed between the opening 52 and the recess 25.
  • the lower end of the first elastic lock piece 28 and the upper end of the second elastic lock piece 31 surrounded by the outer conductor 36 can be viewed through the opening 52 from the front of the connector A. Since the first cover 26 and the second cover 29 have different colors, by checking the up-down direction of the connector A based on the position of the multifunctional portion 23, the user can look into the inside of the outer conductor 36 through the opening 52. It can be checked whether the first cover 26 and the second cover 29 are properly assembled to the housing member 14.
  • the connector A includes a plurality of inner conductors 10, dielectrics 13, and outer conductors 36.
  • the plurality of inner conductors 10 are individually connected to the front ends of the plurality of core wires 61 constituting the shielded electric wire 60.
  • the dielectric 13 contains a plurality of inner conductors 10. Since the multifunctional portion 23 and the protrusion 24 having different shapes are formed on the outer peripheral surface of the dielectric 13, the outer shape of the dielectric 13 is asymmetric with respect to an axis (not shown) parallel to the front-rear direction of the core 61. It is.
  • the outer conductor 36 is formed by combining a first split shell 37 having a half-shape and a second split shell 44 having a half-shape in a tubular shape, and surrounds the inner conductor 10 and the dielectric 13.
  • a first crimping portion 43 that is crimped to the outer periphery of the shield member 63 constituting the shielded electric wire 60 is formed.
  • a multifunctional portion 23 is formed on a portion (a front end portion of the dielectric 13) of the outer surface of the dielectric 13 which forms an asymmetric shape.
  • the multifunctional portion 23 is exposed on the outer surface of the outer conductor 36 and is formed in a protruding shape on the outer surface of the dielectric 13 in front of the first crimping portion 43.
  • the first split shell 37 is formed with a locking step 42 arranged so as to be locked to the multifunctional part 23.
  • the locking direction of the locking step portion 42 with respect to the multifunctional portion 23 is a direction opposite to the pressing direction of the first pressing portion 43 with respect to the shield member 63. Therefore, when the pressing force F1 in the crimping direction (downward) acts on the first crimping portion 43, the locking step portion 42 of the first split shell 37 causes the multifunctional portion 23 to face in the opposite direction (upward) to the pressing force F1. ).
  • the multifunctional portion 23 constituting the asymmetric portion of the dielectric 13 has a projection shape and is exposed on the outer surface of the outer conductor 36. Therefore, by visually observing the position of the multi-function portion 23, the vertical direction of the connector A can be confirmed.
  • the pressing force F1 in the crimping direction acts on the first crimping portion 43 and the first crimping portion is crimped to the shield member, the locking step 42 of the first split shell 37 presses the multifunctional portion 23 against the multifunctional portion 23.
  • the multi-function part 23 is arranged at the front end of the dielectric 13.
  • the direction of the connector A is confirmed by visually checking the front end of the connector A from the side or from above. Since the multifunctional portion 23 is exposed on the outer surface of the outer conductor 36 at the front end of the dielectric 13, it is easier to visually confirm the multifunctional portion 23 than when the multifunctional portion 23 is exposed behind the front end of the connector A. Further, since the multi-function portion 23 is formed only at two corners among the four corners of the front wall portion 15 of the dielectric 13, the two multi-function portions 23 allow the direction of the connector A to be viewed from multiple directions. You can check. Further, since the multifunctional portion 23 is arranged at the front end of the dielectric 13, the distance between the first crimping portion 43 and the multifunctional portion 23 in the front-rear direction is long. Excellent function to prevent posture inclination.
  • the dielectric 13 includes the housing member 14 and the first cover 26.
  • the housing member 14 has a housing room 22 for housing the inner conductor 10.
  • the first cover 26 is attached to the housing member 14 so as to cover the housing chamber 22 and the inner conductor 10.
  • the multifunctional portion 23 has a form that locally protrudes laterally from the outer surface of the housing member 14 (the outer surface of the front wall portion 15). Due to the configuration of the multifunctional portion 23, the first cover 26 and the second cover 26 are provided between the outer surface of the housing member 14 (the outer surface of the front wall portion 15) and the inner surface of the outer conductor 36 (the first side plate portion 40). An opening 52 is formed so that 29 can be viewed.
  • the opening 52 is formed between the outer conductor 36 and the inner conductor 10.
  • the opening 52 is provided so as to expose the first cover 26 and the second cover 29 in a direction (front) parallel to the axial direction of the core wire 61 on the front surface (front surface) of the dielectric 13. That is, the opening 52 exposes the first cover 26 and the second cover 29 to the outside of the outer conductor 36. According to this configuration, even if the outer peripheral surfaces of the first cover 26 and the second cover 29 are covered with the outer conductor 36, the first cover 26 and the second cover The direction and position of 29 can be visually checked. Thus, the assembled state of the first cover 26 and the second cover 29 with respect to the housing member 14 can be easily confirmed from the front side (front) of the connector A.
  • the second split shell 44 is formed with a second crimping portion 50 which is crimped to the outer periphery of the shield member 63.
  • the second cover 29 is formed with a regulating protrusion 33 and a regulating edge 34 disposed forward of the second crimping portion 50.
  • a locking edge 48 arranged to be able to engage with the regulating protrusion 33 and an engaging hole 49 arranged to be able to engage with the regulating edge 34. are formed.
  • the locking direction of the locking hole 49 with respect to the regulating protrusion 33 is opposite to the pressing direction of the second pressing portion 50 with respect to the shield member 63.
  • the locking hole 49 of the second split shell 44 is The pressing force is locked in a direction opposite to the pressing force F2 (the pressing direction of the second pressing portion 50 against the shield member 63). Thereby, the inclination of the posture of the second divided shell 44 at the time of crimping can be prevented.
  • the multifunctional portion is formed at the front end of the dielectric. However, the multifunctional portion is located at a position behind the front end of the dielectric (for example, at the center in the front-rear direction of the dielectric). It may be formed.
  • the opening that allows the first cover and the second cover to be seen is formed between the housing member (the inner conductor) and the outer conductor. However, even if such an opening is not formed. Good.
  • the opening that allows the first cover and the second cover to be seen is open at the front (front) of the connector.
  • the opening that allows the first cover and the second cover to be seen is the connector of the connector.
  • An opening may be provided on the side surface (any of the upper, lower, left, and right surfaces).
  • four inner conductors are accommodated in the dielectric, but the number of inner conductors accommodated in one dielectric may be three or less, or five or more.
  • the dielectric is configured by combining a plurality of components (the housing member, the first cover, and the second cover). However, the dielectric may be configured by only one component.
  • the pair of covers (the first cover and the second cover) have the same shape, but the pair of covers (the first cover and the second cover) may have different shapes.
  • the dielectric includes the pair of covers (the first cover and the second cover), but the number of the covers constituting the dielectric may be one, or three or more.
  • first shell 39 ... first board 40 ... first side plate 41 ... notch 42 ... locking step (First locking part)
  • Reference numeral 43 denotes a first crimping portion 44 .second split shell 45 .second shell portion 46 .second board portion 47 .second side plate portion 48 .locking edge portion 49 .locking hole (second locking portion).
  • Reference numeral 50 second crimping part 51: terminal module 52, opening 60, shielded wire 61, core wire 62, outer sheath 63, shield member A, connector F1, pressing force F2, pressing force

Landscapes

  • Details Of Connecting Devices For Male And Female Coupling (AREA)
PCT/JP2019/035347 2018-09-27 2019-09-09 コネクタ Ceased WO2020066567A1 (ja)

Priority Applications (2)

Application Number Priority Date Filing Date Title
CN201980060846.5A CN112714985B9 (zh) 2018-09-27 2019-09-09 连接器
US17/278,331 US11387578B2 (en) 2018-09-27 2019-09-09 Shielded electrical connector

Applications Claiming Priority (2)

Application Number Priority Date Filing Date Title
JP2018182116A JP6996465B2 (ja) 2018-09-27 2018-09-27 シールド端子
JP2018-182116 2018-09-27

Publications (1)

Publication Number Publication Date
WO2020066567A1 true WO2020066567A1 (ja) 2020-04-02

Family

ID=69953502

Family Applications (1)

Application Number Title Priority Date Filing Date
PCT/JP2019/035347 Ceased WO2020066567A1 (ja) 2018-09-27 2019-09-09 コネクタ

Country Status (4)

Country Link
US (1) US11387578B2 (enExample)
JP (1) JP6996465B2 (enExample)
CN (1) CN112714985B9 (enExample)
WO (1) WO2020066567A1 (enExample)

Cited By (3)

* Cited by examiner, † Cited by third party
Publication number Priority date Publication date Assignee Title
WO2025220381A1 (ja) * 2024-04-19 2025-10-23 イリソ電子工業株式会社 端子ユニット及びこれを備えるコネクタ
WO2025220382A1 (ja) * 2024-04-19 2025-10-23 イリソ電子工業株式会社 端子ユニット及びこれを備えるコネクタ
WO2025220383A1 (ja) * 2024-04-19 2025-10-23 イリソ電子工業株式会社 端子ユニット及びこれを備えるコネクタ

Families Citing this family (8)

* Cited by examiner, † Cited by third party
Publication number Priority date Publication date Assignee Title
JP7116896B2 (ja) * 2019-05-31 2022-08-12 住友電装株式会社 コネクタ
USD1042350S1 (en) * 2021-06-25 2024-09-17 Dsm&T Company, Inc. UV light connector set
JP7549785B2 (ja) * 2021-07-27 2024-09-12 株式会社オートネットワーク技術研究所 コネクタ
EP4262028A1 (en) * 2022-04-12 2023-10-18 Yazaki Europe Ltd. Electric connector assembly for a high-voltage terminal and method for assembling
USD1040765S1 (en) * 2022-04-29 2024-09-03 Molex, Llc Connector
USD1036388S1 (en) * 2022-04-29 2024-07-23 Molex, Llc Connector
USD1047916S1 (en) 2022-05-23 2024-10-22 Molex, Llc Connector housing
USD1055862S1 (en) * 2022-05-23 2024-12-31 Molex, Llc Connector pair

Citations (3)

* Cited by examiner, † Cited by third party
Publication number Priority date Publication date Assignee Title
JP2000012162A (ja) * 1998-06-25 2000-01-14 Matsushita Electric Works Ltd コネクタのシールド構造
JP2002367732A (ja) * 2001-06-07 2002-12-20 Japan Aviation Electronics Industry Ltd コネクタ
JP2017126408A (ja) * 2016-01-12 2017-07-20 株式会社オートネットワーク技術研究所 コネクタ

Family Cites Families (5)

* Cited by examiner, † Cited by third party
Publication number Priority date Publication date Assignee Title
CN102074844B (zh) * 2009-11-20 2013-11-13 富士康(昆山)电脑接插件有限公司 电连接器及电连接器的制造方法
JP6422675B2 (ja) 2014-06-03 2018-11-14 日本航空電子工業株式会社 コネクタ
JP2016072067A (ja) * 2014-09-30 2016-05-09 ホシデン株式会社 コネクタ
JP6663565B2 (ja) * 2016-05-09 2020-03-13 住友電装株式会社 基板用コネクタ
JP6757497B2 (ja) 2017-02-03 2020-09-23 株式会社オートネットワーク技術研究所 シールド端子

Patent Citations (3)

* Cited by examiner, † Cited by third party
Publication number Priority date Publication date Assignee Title
JP2000012162A (ja) * 1998-06-25 2000-01-14 Matsushita Electric Works Ltd コネクタのシールド構造
JP2002367732A (ja) * 2001-06-07 2002-12-20 Japan Aviation Electronics Industry Ltd コネクタ
JP2017126408A (ja) * 2016-01-12 2017-07-20 株式会社オートネットワーク技術研究所 コネクタ

Cited By (3)

* Cited by examiner, † Cited by third party
Publication number Priority date Publication date Assignee Title
WO2025220381A1 (ja) * 2024-04-19 2025-10-23 イリソ電子工業株式会社 端子ユニット及びこれを備えるコネクタ
WO2025220382A1 (ja) * 2024-04-19 2025-10-23 イリソ電子工業株式会社 端子ユニット及びこれを備えるコネクタ
WO2025220383A1 (ja) * 2024-04-19 2025-10-23 イリソ電子工業株式会社 端子ユニット及びこれを備えるコネクタ

Also Published As

Publication number Publication date
CN112714985B (zh) 2022-05-10
JP6996465B2 (ja) 2022-01-17
US20210351521A1 (en) 2021-11-11
CN112714985B9 (zh) 2022-06-28
US11387578B2 (en) 2022-07-12
CN112714985A (zh) 2021-04-27
JP2020053279A (ja) 2020-04-02

Similar Documents

Publication Publication Date Title
WO2020066567A1 (ja) コネクタ
JP6525221B2 (ja) コネクタ
JP6495218B2 (ja) コネクタ構造
US20200059033A1 (en) Connector
WO2018163788A1 (ja) シールド端子及びシールドコネクタ
JP2011100123A (ja) 光コネクタ及びその相手プラグ
EP3783748B1 (en) Connector
JP6816668B2 (ja) コネクタ
JP2018147816A (ja) シールド端子
JP6894877B2 (ja) 防水コネクタ
JP6393915B2 (ja) コネクタ
JP6688696B2 (ja) 同軸ケーブルコネクタ及びコネクタシステム
JP2019145275A (ja) コネクタ組立体
JP6812917B2 (ja) 端子金具
JP6738714B2 (ja) 同軸ケーブルコネクタ及びコネクタシステム
JP6711936B2 (ja) コネクタ構造
JP7603915B2 (ja) シールドコネクタ
JP4457862B2 (ja) コネクタ
JP2021111563A (ja) シールドコネクタ
JP7442274B2 (ja) コネクタ及びコネクタ付き電線
WO2023248796A1 (ja) コネクタ及びコネクタ構成体
JP2025142790A (ja) ハウジングユニット、端子モジュール、及び、コネクタ
JP2002280123A (ja) シールドコネクタ
JP2019216109A (ja) シールド端子
JP2014011144A (ja) ジョイント端子

Legal Events

Date Code Title Description
121 Ep: the epo has been informed by wipo that ep was designated in this application

Ref document number: 19866109

Country of ref document: EP

Kind code of ref document: A1

NENP Non-entry into the national phase

Ref country code: DE

122 Ep: pct application non-entry in european phase

Ref document number: 19866109

Country of ref document: EP

Kind code of ref document: A1