WO2020050131A1 - 導電性ロール - Google Patents

導電性ロール Download PDF

Info

Publication number
WO2020050131A1
WO2020050131A1 PCT/JP2019/033941 JP2019033941W WO2020050131A1 WO 2020050131 A1 WO2020050131 A1 WO 2020050131A1 JP 2019033941 W JP2019033941 W JP 2019033941W WO 2020050131 A1 WO2020050131 A1 WO 2020050131A1
Authority
WO
WIPO (PCT)
Prior art keywords
particles
rubber
conductive
image
surface layer
Prior art date
Legal status (The legal status is an assumption and is not a legal conclusion. Google has not performed a legal analysis and makes no representation as to the accuracy of the status listed.)
Ceased
Application number
PCT/JP2019/033941
Other languages
English (en)
French (fr)
Japanese (ja)
Inventor
孝祐 大浦
章吾 鈴木
智 福岡
佐々木 憲司
Current Assignee (The listed assignees may be inaccurate. Google has not performed a legal analysis and makes no representation or warranty as to the accuracy of the list.)
Nok Corp
Original Assignee
Nok Corp
Priority date (The priority date is an assumption and is not a legal conclusion. Google has not performed a legal analysis and makes no representation as to the accuracy of the date listed.)
Filing date
Publication date
Application filed by Nok Corp filed Critical Nok Corp
Priority to US17/258,583 priority Critical patent/US11762306B2/en
Priority to MYPI2021000204A priority patent/MY207103A/en
Priority to EP19858089.6A priority patent/EP3848760B1/en
Priority to CN201980048252.2A priority patent/CN112437903B/zh
Priority to JP2020541163A priority patent/JPWO2020050131A1/ja
Publication of WO2020050131A1 publication Critical patent/WO2020050131A1/ja
Anticipated expiration legal-status Critical
Priority to JP2022102555A priority patent/JP2022126823A/ja
Ceased legal-status Critical Current

Links

Images

Classifications

    • GPHYSICS
    • G03PHOTOGRAPHY; CINEMATOGRAPHY; ANALOGOUS TECHNIQUES USING WAVES OTHER THAN OPTICAL WAVES; ELECTROGRAPHY; HOLOGRAPHY
    • G03GELECTROGRAPHY; ELECTROPHOTOGRAPHY; MAGNETOGRAPHY
    • G03G15/00Apparatus for electrographic processes using a charge pattern
    • G03G15/02Apparatus for electrographic processes using a charge pattern for laying down a uniform charge, e.g. for sensitising; Corona discharge devices
    • G03G15/0208Apparatus for electrographic processes using a charge pattern for laying down a uniform charge, e.g. for sensitising; Corona discharge devices by contact, friction or induction, e.g. liquid charging apparatus
    • G03G15/0216Apparatus for electrographic processes using a charge pattern for laying down a uniform charge, e.g. for sensitising; Corona discharge devices by contact, friction or induction, e.g. liquid charging apparatus by bringing a charging member into contact with the member to be charged, e.g. roller, brush chargers
    • G03G15/0233Structure, details of the charging member, e.g. chemical composition, surface properties
    • GPHYSICS
    • G03PHOTOGRAPHY; CINEMATOGRAPHY; ANALOGOUS TECHNIQUES USING WAVES OTHER THAN OPTICAL WAVES; ELECTROGRAPHY; HOLOGRAPHY
    • G03GELECTROGRAPHY; ELECTROPHOTOGRAPHY; MAGNETOGRAPHY
    • G03G5/00Recording members for original recording by exposure, e.g. to light, to heat, to electrons; Manufacture thereof; Selection of materials therefor
    • G03G5/02Charge-receiving layers
    • G03G5/04Photoconductive layers; Charge-generation layers or charge-transporting layers; Additives therefor; Binders therefor
    • BPERFORMING OPERATIONS; TRANSPORTING
    • B32LAYERED PRODUCTS
    • B32BLAYERED PRODUCTS, i.e. PRODUCTS BUILT-UP OF STRATA OF FLAT OR NON-FLAT, e.g. CELLULAR OR HONEYCOMB, FORM
    • B32B1/00Layered products having a non-planar shape
    • BPERFORMING OPERATIONS; TRANSPORTING
    • B32LAYERED PRODUCTS
    • B32BLAYERED PRODUCTS, i.e. PRODUCTS BUILT-UP OF STRATA OF FLAT OR NON-FLAT, e.g. CELLULAR OR HONEYCOMB, FORM
    • B32B1/00Layered products having a non-planar shape
    • B32B1/08Tubular products
    • BPERFORMING OPERATIONS; TRANSPORTING
    • B32LAYERED PRODUCTS
    • B32BLAYERED PRODUCTS, i.e. PRODUCTS BUILT-UP OF STRATA OF FLAT OR NON-FLAT, e.g. CELLULAR OR HONEYCOMB, FORM
    • B32B15/00Layered products comprising a layer of metal
    • B32B15/04Layered products comprising a layer of metal comprising metal as the main or only constituent of a layer, which is next to another layer of the same or of a different material
    • B32B15/06Layered products comprising a layer of metal comprising metal as the main or only constituent of a layer, which is next to another layer of the same or of a different material of natural rubber or synthetic rubber
    • BPERFORMING OPERATIONS; TRANSPORTING
    • B32LAYERED PRODUCTS
    • B32BLAYERED PRODUCTS, i.e. PRODUCTS BUILT-UP OF STRATA OF FLAT OR NON-FLAT, e.g. CELLULAR OR HONEYCOMB, FORM
    • B32B15/00Layered products comprising a layer of metal
    • B32B15/18Layered products comprising a layer of metal comprising iron or steel
    • BPERFORMING OPERATIONS; TRANSPORTING
    • B32LAYERED PRODUCTS
    • B32BLAYERED PRODUCTS, i.e. PRODUCTS BUILT-UP OF STRATA OF FLAT OR NON-FLAT, e.g. CELLULAR OR HONEYCOMB, FORM
    • B32B25/00Layered products comprising a layer of natural or synthetic rubber
    • B32B25/04Layered products comprising a layer of natural or synthetic rubber comprising rubber as the main or only constituent of a layer, which is next to another layer of the same or of a different material
    • B32B25/042Layered products comprising a layer of natural or synthetic rubber comprising rubber as the main or only constituent of a layer, which is next to another layer of the same or of a different material of natural rubber or synthetic rubber
    • BPERFORMING OPERATIONS; TRANSPORTING
    • B32LAYERED PRODUCTS
    • B32BLAYERED PRODUCTS, i.e. PRODUCTS BUILT-UP OF STRATA OF FLAT OR NON-FLAT, e.g. CELLULAR OR HONEYCOMB, FORM
    • B32B25/00Layered products comprising a layer of natural or synthetic rubber
    • B32B25/04Layered products comprising a layer of natural or synthetic rubber comprising rubber as the main or only constituent of a layer, which is next to another layer of the same or of a different material
    • B32B25/08Layered products comprising a layer of natural or synthetic rubber comprising rubber as the main or only constituent of a layer, which is next to another layer of the same or of a different material of synthetic resin
    • BPERFORMING OPERATIONS; TRANSPORTING
    • B32LAYERED PRODUCTS
    • B32BLAYERED PRODUCTS, i.e. PRODUCTS BUILT-UP OF STRATA OF FLAT OR NON-FLAT, e.g. CELLULAR OR HONEYCOMB, FORM
    • B32B25/00Layered products comprising a layer of natural or synthetic rubber
    • B32B25/14Layered products comprising a layer of natural or synthetic rubber comprising synthetic rubber copolymers
    • BPERFORMING OPERATIONS; TRANSPORTING
    • B32LAYERED PRODUCTS
    • B32BLAYERED PRODUCTS, i.e. PRODUCTS BUILT-UP OF STRATA OF FLAT OR NON-FLAT, e.g. CELLULAR OR HONEYCOMB, FORM
    • B32B27/00Layered products comprising a layer of synthetic resin
    • B32B27/28Layered products comprising a layer of synthetic resin comprising synthetic resins not wholly covered by any one of the sub-groups B32B27/30 - B32B27/42
    • B32B27/281Layered products comprising a layer of synthetic resin comprising synthetic resins not wholly covered by any one of the sub-groups B32B27/30 - B32B27/42 comprising polyimides
    • BPERFORMING OPERATIONS; TRANSPORTING
    • B32LAYERED PRODUCTS
    • B32BLAYERED PRODUCTS, i.e. PRODUCTS BUILT-UP OF STRATA OF FLAT OR NON-FLAT, e.g. CELLULAR OR HONEYCOMB, FORM
    • B32B7/00Layered products characterised by the relation between layers; Layered products characterised by the relative orientation of features between layers, or by the relative values of a measurable parameter between layers, i.e. products comprising layers having different physical, chemical or physicochemical properties; Layered products characterised by the interconnection of layers
    • B32B7/04Interconnection of layers
    • B32B7/12Interconnection of layers using interposed adhesives or interposed materials with bonding properties
    • BPERFORMING OPERATIONS; TRANSPORTING
    • B32LAYERED PRODUCTS
    • B32BLAYERED PRODUCTS, i.e. PRODUCTS BUILT-UP OF STRATA OF FLAT OR NON-FLAT, e.g. CELLULAR OR HONEYCOMB, FORM
    • B32B2250/00Layers arrangement
    • B32B2250/022 layers
    • BPERFORMING OPERATIONS; TRANSPORTING
    • B32LAYERED PRODUCTS
    • B32BLAYERED PRODUCTS, i.e. PRODUCTS BUILT-UP OF STRATA OF FLAT OR NON-FLAT, e.g. CELLULAR OR HONEYCOMB, FORM
    • B32B2255/00Coating on the layer surface
    • B32B2255/10Coating on the layer surface on synthetic resin layer or on natural or synthetic rubber layer
    • BPERFORMING OPERATIONS; TRANSPORTING
    • B32LAYERED PRODUCTS
    • B32BLAYERED PRODUCTS, i.e. PRODUCTS BUILT-UP OF STRATA OF FLAT OR NON-FLAT, e.g. CELLULAR OR HONEYCOMB, FORM
    • B32B2255/00Coating on the layer surface
    • B32B2255/20Inorganic coating
    • BPERFORMING OPERATIONS; TRANSPORTING
    • B32LAYERED PRODUCTS
    • B32BLAYERED PRODUCTS, i.e. PRODUCTS BUILT-UP OF STRATA OF FLAT OR NON-FLAT, e.g. CELLULAR OR HONEYCOMB, FORM
    • B32B2255/00Coating on the layer surface
    • B32B2255/26Polymeric coating
    • BPERFORMING OPERATIONS; TRANSPORTING
    • B32LAYERED PRODUCTS
    • B32BLAYERED PRODUCTS, i.e. PRODUCTS BUILT-UP OF STRATA OF FLAT OR NON-FLAT, e.g. CELLULAR OR HONEYCOMB, FORM
    • B32B2264/00Composition or properties of particles which form a particulate layer or are present as additives
    • B32B2264/10Inorganic particles
    • B32B2264/105Metal
    • BPERFORMING OPERATIONS; TRANSPORTING
    • B32LAYERED PRODUCTS
    • B32BLAYERED PRODUCTS, i.e. PRODUCTS BUILT-UP OF STRATA OF FLAT OR NON-FLAT, e.g. CELLULAR OR HONEYCOMB, FORM
    • B32B2264/00Composition or properties of particles which form a particulate layer or are present as additives
    • B32B2264/10Inorganic particles
    • B32B2264/107Ceramic
    • B32B2264/108Carbon, e.g. graphite particles
    • BPERFORMING OPERATIONS; TRANSPORTING
    • B32LAYERED PRODUCTS
    • B32BLAYERED PRODUCTS, i.e. PRODUCTS BUILT-UP OF STRATA OF FLAT OR NON-FLAT, e.g. CELLULAR OR HONEYCOMB, FORM
    • B32B2307/00Properties of the layers or laminate
    • B32B2307/20Properties of the layers or laminate having particular electrical or magnetic properties, e.g. piezoelectric
    • B32B2307/202Conductive
    • BPERFORMING OPERATIONS; TRANSPORTING
    • B32LAYERED PRODUCTS
    • B32BLAYERED PRODUCTS, i.e. PRODUCTS BUILT-UP OF STRATA OF FLAT OR NON-FLAT, e.g. CELLULAR OR HONEYCOMB, FORM
    • B32B2307/00Properties of the layers or laminate
    • B32B2307/30Properties of the layers or laminate having particular thermal properties
    • B32B2307/302Conductive
    • BPERFORMING OPERATIONS; TRANSPORTING
    • B32LAYERED PRODUCTS
    • B32BLAYERED PRODUCTS, i.e. PRODUCTS BUILT-UP OF STRATA OF FLAT OR NON-FLAT, e.g. CELLULAR OR HONEYCOMB, FORM
    • B32B2307/00Properties of the layers or laminate
    • B32B2307/50Properties of the layers or laminate having particular mechanical properties
    • B32B2307/536Hardness
    • BPERFORMING OPERATIONS; TRANSPORTING
    • B32LAYERED PRODUCTS
    • B32BLAYERED PRODUCTS, i.e. PRODUCTS BUILT-UP OF STRATA OF FLAT OR NON-FLAT, e.g. CELLULAR OR HONEYCOMB, FORM
    • B32B2307/00Properties of the layers or laminate
    • B32B2307/50Properties of the layers or laminate having particular mechanical properties
    • B32B2307/538Roughness
    • BPERFORMING OPERATIONS; TRANSPORTING
    • B32LAYERED PRODUCTS
    • B32BLAYERED PRODUCTS, i.e. PRODUCTS BUILT-UP OF STRATA OF FLAT OR NON-FLAT, e.g. CELLULAR OR HONEYCOMB, FORM
    • B32B2457/00Electrical equipment
    • GPHYSICS
    • G03PHOTOGRAPHY; CINEMATOGRAPHY; ANALOGOUS TECHNIQUES USING WAVES OTHER THAN OPTICAL WAVES; ELECTROGRAPHY; HOLOGRAPHY
    • G03GELECTROGRAPHY; ELECTROPHOTOGRAPHY; MAGNETOGRAPHY
    • G03G15/00Apparatus for electrographic processes using a charge pattern
    • G03G15/06Apparatus for electrographic processes using a charge pattern for developing
    • G03G15/08Apparatus for electrographic processes using a charge pattern for developing using a solid developer, e.g. powder developer
    • G03G15/0806Apparatus for electrographic processes using a charge pattern for developing using a solid developer, e.g. powder developer on a donor element, e.g. belt, roller
    • G03G15/0818Apparatus for electrographic processes using a charge pattern for developing using a solid developer, e.g. powder developer on a donor element, e.g. belt, roller characterised by the structure of the donor member, e.g. surface properties
    • GPHYSICS
    • G03PHOTOGRAPHY; CINEMATOGRAPHY; ANALOGOUS TECHNIQUES USING WAVES OTHER THAN OPTICAL WAVES; ELECTROGRAPHY; HOLOGRAPHY
    • G03GELECTROGRAPHY; ELECTROPHOTOGRAPHY; MAGNETOGRAPHY
    • G03G15/00Apparatus for electrographic processes using a charge pattern
    • G03G15/14Apparatus for electrographic processes using a charge pattern for transferring a pattern to a second base
    • G03G15/16Apparatus for electrographic processes using a charge pattern for transferring a pattern to a second base of a toner pattern, e.g. a powder pattern, e.g. magnetic transfer
    • G03G15/1605Apparatus for electrographic processes using a charge pattern for transferring a pattern to a second base of a toner pattern, e.g. a powder pattern, e.g. magnetic transfer using at least one intermediate support
    • G03G15/162Apparatus for electrographic processes using a charge pattern for transferring a pattern to a second base of a toner pattern, e.g. a powder pattern, e.g. magnetic transfer using at least one intermediate support details of the the intermediate support, e.g. chemical composition
    • GPHYSICS
    • G03PHOTOGRAPHY; CINEMATOGRAPHY; ANALOGOUS TECHNIQUES USING WAVES OTHER THAN OPTICAL WAVES; ELECTROGRAPHY; HOLOGRAPHY
    • G03GELECTROGRAPHY; ELECTROPHOTOGRAPHY; MAGNETOGRAPHY
    • G03G15/00Apparatus for electrographic processes using a charge pattern
    • G03G15/14Apparatus for electrographic processes using a charge pattern for transferring a pattern to a second base
    • G03G15/16Apparatus for electrographic processes using a charge pattern for transferring a pattern to a second base of a toner pattern, e.g. a powder pattern, e.g. magnetic transfer
    • G03G15/1665Apparatus for electrographic processes using a charge pattern for transferring a pattern to a second base of a toner pattern, e.g. a powder pattern, e.g. magnetic transfer by introducing the second base in the nip formed by the recording member and at least one transfer member, e.g. in combination with bias or heat
    • G03G15/167Apparatus for electrographic processes using a charge pattern for transferring a pattern to a second base of a toner pattern, e.g. a powder pattern, e.g. magnetic transfer by introducing the second base in the nip formed by the recording member and at least one transfer member, e.g. in combination with bias or heat at least one of the recording member or the transfer member being rotatable during the transfer
    • G03G15/1685Structure, details of the transfer member, e.g. chemical composition
    • GPHYSICS
    • G03PHOTOGRAPHY; CINEMATOGRAPHY; ANALOGOUS TECHNIQUES USING WAVES OTHER THAN OPTICAL WAVES; ELECTROGRAPHY; HOLOGRAPHY
    • G03GELECTROGRAPHY; ELECTROPHOTOGRAPHY; MAGNETOGRAPHY
    • G03G21/00Arrangements not provided for by groups G03G13/00 - G03G19/00, e.g. cleaning, elimination of residual charge
    • G03G21/06Eliminating residual charges from a reusable imaging member

Definitions

  • the present invention relates to a conductive roll used for a charging roll of an image forming apparatus.
  • Patent Literatures 1 to 3 are known as techniques that refer to the surface roughness of a charging roll.
  • Patent Document 1 discloses a charging member including a conductive support, a conductive elastic layer laminated on the conductive support, and a conductive resin layer laminated as an outermost layer on the conductive elastic layer. (Charging roll) is described.
  • the conductive resin layer contains a matrix material and at least one kind of particles selected from the group consisting of resin particles and inorganic particles, the particles contain the first particles, and the matrix material alone in the conductive resin layer is formed.
  • Patent Document 2 discloses a positively charged single-layer type electrophotographic photoreceptor, a charging device having a contact charging member for charging the surface of the photoreceptor, and a method for exposing the surface of a charged image carrier to an image carrier.
  • An exposure device for forming an electrostatic latent image on the surface of a body, a developing device for developing the electrostatic latent image as a toner image, and a transfer device for transferring a toner image from an image carrier to a transfer target There is described a technology relating to an image forming apparatus having the following.
  • the contact charging member is a charging roller made of a conductive rubber having a rubber hardness of 62 ° to 81 ° in Asker-C hardness.
  • the roller surface roughness of the charging roller of the contact charging member has an average spacing S m of unevenness. in a 55 .mu.m ⁇ 130 .mu.m, and a ten-point mean roughness R Z is 9 .mu.m ⁇ 19 .mu.m.
  • Patent Document 3 discloses a charging roller including a conductive support, a semiconductive elastic layer formed in a roll shape on the conductive support, and a protective layer formed on the surface of the semiconductive elastic layer.
  • the protective layer is formed by applying a protective layer-forming coating solution containing fine particles exhibiting a function of preventing external substances from adhering to the protective layer, and the volume average particle diameter of the fine particles is determined by the surface of the protective layer. It is miniaturized so that the roughness is 1 ⁇ m or less.
  • the surface roughness of the outermost surface of the charging roll is adjusted by the fine particles contained in the surface layer, thereby making the discharge between the charging roll and the photoreceptor as uniform as possible and improving the image quality. Try to let it.
  • An object of the present invention is to provide a conductive roll capable of reducing image unevenness.
  • the conductive roll according to the present invention includes a core material, a rubber base material arranged around the core material, and a surface layer arranged around the rubber base material.
  • the arithmetic mean peak curvature S pc is not less than 1,880 (1 / mm) and not more than 14,024 (1 / mm). According to this aspect, image unevenness can be reduced.
  • the surface layer has a base material formed of an insulator, a conductive matrix including a conductive material dispersed in the base material, and particles of a surface roughness imparting material dispersed in the conductive matrix.
  • the particles of the surface roughness imparting material are formed of an insulator.
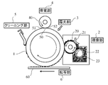
  • FIG. 1 is a schematic diagram illustrating an example of an image forming apparatus using a charging roll according to an embodiment of the present disclosure.
  • FIG. 2 is a cross-sectional view illustrating an example of a charging roll according to the embodiment of the present invention. It is sectional drawing of the rubber base material and surface layer cut
  • the image forming apparatus includes a photoconductor 1.
  • a developing unit 2 Around the photoconductor 1, a developing unit 2, an exposing unit 3, a charging unit 4, a transfer unit 6, and a cleaning unit 5 are arranged.
  • the developing unit 2 is provided with a developing roll 20, a regulating blade 21, and a supply roll 22, and is filled with toner 23.
  • the charging unit 4 is provided with a charging roll 40.
  • the transfer unit 6 transfers the toner image to a paper sheet 60 as a recording medium.
  • the toner image transferred by the transfer unit 6 is fixed by a fixing unit (not shown).
  • the cylindrical and rotating photoreceptor 1 and the cylindrical and rotating charging roll 40 come into contact at the nip 50.
  • the area between the photoconductor 1 and the charging roll 40 is changed. Discharge occurs, and the surface of the photoconductor 1 is charged.
  • the charged state of the surface of the photoconductor 1 is preferably uniform over the circumferential direction and the axial direction of the photoconductor 1.
  • FIG. 2 is a sectional view showing an example of the charging roll according to the embodiment of the present invention.
  • the charging roll 40 has a core 401, a rubber base 402 formed on the outer peripheral surface of the core 401, and a surface layer 403 coated on the outer peripheral surface of the rubber base 402.
  • a surface layer 403 on the outer peripheral surface of the rubber base material 402 with a coating component and making the surface state of the surface layer 403 appropriate, discharge unevenness between the photoreceptor 1 and the charging roll 40 is eliminated.
  • the developing unit 2 can cause the developing unit 2 to adhere the amount of toner exactly corresponding to the latent image formed by the exposure unit 3 to the surface of the photoconductor 1.
  • the core material 401 can be formed of, but not limited to, a metal or a resin material having excellent thermal conductivity and mechanical strength, such as stainless steel, nickel (Ni), a nickel alloy, and iron (Fe). ), Magnetic stainless steel, metal materials such as cobalt-nickel (Co-Ni) alloy, and resin materials such as PI (polyimide resin).
  • the structure of the core material 401 is not particularly limited, and may be hollow or not hollow.
  • the rubber base 402 is disposed on the outer peripheral surface of the core 401 and is made of conductive rubber having conductivity.
  • the rubber base 402 may have one layer or two or more layers. Further, an adhesive layer, an adjustment layer, and the like may be provided between the core material 401 and the rubber substrate 402 as necessary.
  • the rubber substrate 402 can be formed by molding a rubber composition obtained by adding a conductivity-imparting material, a crosslinking agent, and the like to a conductive rubber, around the core material 401.
  • the conductive rubber include polyurethane rubber (PUR), epichlorohydrin rubber (ECO), nitrile rubber (NBR), styrene rubber (SBR), and chloroprene rubber (CR).
  • an electronic conductivity imparting material such as carbon black and metal powder, an ionic conductivity imparting material, or a mixture thereof can be used.
  • Examples of the ionic conductivity-imparting material include organic salts, inorganic salts, metal complexes, and ionic liquids.
  • Examples of the organic salts include sodium trifluoride acetate, and examples of the inorganic salts include lithium perchlorate and quaternary ammonium salts.
  • examples of the metal complex include ferric halide-ethylene glycol and the like, and specific examples thereof include those described in Japanese Patent No. 36555364.
  • the ionic liquid is a molten salt that is liquid at room temperature and is also called a room temperature molten salt, and particularly has a melting point of 70 ° C. or less, preferably 30 ° C. or less. Specifically, those described in JP-A-2003-202722 can be exemplified.
  • the crosslinking agent is not particularly limited, and includes, for example, sulfur and a peroxide vulcanizing agent.
  • a crosslinking aid or the like which promotes the function of the crosslinking agent may be added to the rubber composition, if necessary.
  • the crosslinking aid include inorganic zinc oxide and magnesium oxide, and organic stearic acid and amines.
  • a thiazole-based or other crosslinking accelerator may be used.
  • Other additives may be added to the rubber composition as needed.
  • the surface of the rubber substrate 402 formed on the outer peripheral surface of the core material 401 is polished by a grinder, adjusted to a predetermined thickness, and then subjected to dry polishing with a polishing grindstone.
  • a surface layer 403 is formed on the outer peripheral surface of the layer 402. The polishing is performed in this manner in order to appropriately adjust the surface roughness of the rubber base material 402 and to adjust the surface condition of the outer surface layer 403 outside the rubber base material 402.
  • the surface roughness of the rubber substrate 402 (JIS B 0601: ten-point average roughness conforming to 1994 (ten point height of irregularities) ) R Z is 8. Preferably it is 5 ⁇ m or less. In this case, the surface roughness RZ is a value measured by a contact type surface roughness meter.
  • Dry polishing is performed, for example, by moving a rotary grindstone in the axial direction while contacting the rubber base 402 with the rubber base 402 being rotated (traverse polishing).
  • the number of revolutions of the grindstone of the polishing machine may be sequentially increased, for example, to 1000 rpm, 2000 rpm, and 3000 rpm during rotation.
  • the type of the polishing grindstone may be changed.
  • the polishing may be performed by sequentially increasing the number of a GC (green @ carborundum) grindstone like GC60, GC120, and GC220.
  • the surface of the rubber substrate 402 may be further polished by wet polishing with a wet polisher using a waterproof abrasive paper or the like.
  • polishing is performed by using a water-resistant polishing paper, for example, a water-resistant sandpaper, and abutting the rubber base 402 in a rotating state while supplying a polishing liquid thereto.
  • the hardness of the rubber substrate 402 measured using a durometer (“Type A” based on “JIS K 6253” and “ISO 7619”) is preferably in the range of 50 ° to 64 °.
  • the hardness of the surface of the charging roll 40 is affected by the rubber base 402. If the hardness of the rubber substrate 402 is less than 50 °, the convex portions on the surface of the charging roll 40 will be crushed, and the photoreceptor 1 will be easily stained, and image defects will occur. On the other hand, if the hardness of the rubber base 402 is greater than 64 °, the projections on the surface of the charging roll 40 may be reflected on the image.
  • the surface layer 403 can be formed by applying a coating liquid to the outer peripheral surface of the rubber base material 402 and drying and curing the coating liquid.
  • a coating liquid As a method of applying the coating liquid, a dip coating method, a roll coating method, a spray coating method, or the like can be used.
  • the cured surface layer 403 has a conductive matrix 404 and particles 405 of, for example, an insulating surface roughness imparting material (also referred to as a roughness imparting material) dispersed in the conductive matrix 404. .
  • the particles 405 of the roughness imparting material give the surface layer 403 an appropriate surface roughness.
  • the conductive matrix 404 has a role of holding the particles 405 of the roughness-imparting material at a fixed position and a role of discharging the photoconductor 1.
  • the conductive matrix 404 has a base material and a conductive agent dispersed in the base material. As described above, a discharge occurs between the charging roll 40 and the photoconductor 1 in the region 51 (and in some cases, the region 52).
  • the particles 405 of the roughness imparting material are not completely buried in the conductive matrix 404, but may be completely buried.
  • the conductive matrix 404 has an appropriate thickness for the diameter of the roughness-imparting material particles 405 because the ability to retain the roughness-imparting material particles 405 is low. It is preferred to have
  • the roughness imparting material particles 405 are insulators, the thickness of the conductive matrix 404 is large, and the electric resistance of the conductive matrix 404 is large, discharge tends to be difficult to occur. By increasing the proportion of the conductive agent contained in the matrix 404, the electric resistance of the conductive matrix 404 can be reduced and discharge can be easily generated.
  • the surface state of the surface layer 403 is adjusted by dispersing the particles 405 of the roughness-imparting material on the surface layer 403 formed on the rubber substrate 402 having the adjusted surface roughness. I have.
  • the thickness of the conductive matrix 404 of the surface layer 403 is preferably within an appropriate numerical range. If the thickness is too large, it is considered that the surface roughness of the surface layer 403 becomes too small and causes image unevenness.
  • the content of the particles 405 of the roughness-imparting material in the surface layer 403 is preferably in an appropriate numerical range.
  • the particle content is high, the particles overlap each other, so that the surface of the surface layer 403 becomes rough, which is considered to cause image unevenness.
  • the components of the coating liquid as the material of the surface layer 403 include at least particles 405 of the base material, the conductive agent, and the surface roughness imparting material. After the curing of the coating liquid, the base material and the conductive agent become components of the conductive matrix 404.
  • the coating liquid is obtained, for example, by dissolving components of the following composition in a diluting solvent.
  • -Base material 10 to 80 parts by weight.
  • -Conductive agent 1 to 50 parts by weight.
  • -Surface roughness imparting material 70% by weight or less of the total amount of the coating liquid.
  • the discharge between the charging roll 40 and the photoconductor 1 is substantially uniform in the gap before the nip where the charging roll 40 and the photoconductor 1 come into contact, and uneven discharge occurs during image formation. It is considered that an image having a desired density is formed without causing the image formation, and the image quality is improved.
  • the surface state of the surface layer 403 can be appropriately adjusted by appropriately adjusting the particle size and the amount of the particles 405 of the surface roughness imparting material.
  • the base material contained in the coating liquid is an insulator.
  • As the base material urethane resin, acrylic resin, acrylic urethane resin, amino resin, silicone resin, fluorine resin, polyamide resin, epoxy resin, polyester resin, polyether resin, phenol resin, urea resin, polyvinyl butyral resin, melamine resin, Nylon resin and the like can be mentioned. These base materials can be used alone or in any combination.
  • conductive agent contained in the coating liquid examples include carbon black such as acetylene black, Ketjen black, and talka black, carbon nanotubes, ions such as lithium perchlorate, and ions such as 1-butyl-3-methylimidazolium hexafluorophosphate. Ionic liquids, metal oxides such as tin oxide, and conductive polymers. These conductive agents can be used alone or in any combination.
  • ⁇ Surface roughness imparting material> As the particles 405 of the surface roughness imparting material contained in the coating liquid, acrylic particles, urethane particles, polyamide resin particles, silicone resin particles, fluororesin particles, styrene resin particles, phenol resin particles, polyester resin particles, olefin resin particles, Epoxy resin particles, nylon resin particles, carbon, graphite, balun, silica, alumina, titanium oxide, zinc oxide, magnesium oxide, zirconium oxide, calcium sulfate, calcium carbonate, magnesium carbonate, calcium silicate, aluminum nitride, boron nitride, Examples include talc, kaolin clay, diatomaceous earth, glass beads, hollow glass spheres, and the like. These particles can be used alone or in any combination.
  • the diluting solvent contained in the coating liquid is not particularly limited, but may be aqueous, or methyl acetate, ethyl acetate, butyl acetate, methyl ethyl ketone (MEK), methyl isobutyl ketone (MIBK), methanol, ethanol, butanol, 2-propanol ( Solvent systems such as IPA), acetone, toluene, xylene, hexane, heptane, chloroform and the like.
  • the kneaded rubber composition was made into a sheet-like material, wound around a surface of a core material 401 (core metal) having a diameter of 6 mm, pressed, and pressed to obtain a rubber substrate 402 made of crosslinked epichlorohydrin rubber.
  • the measured value was 50 ° to 64 °. .
  • the surface of the rubber substrate 402 was polished by a polishing machine. Specifically, the surface of the obtained rubber base material 402 is polished by a grinder to adjust to a predetermined thickness (1.25 mm), and then the grindstone rotation speed of the grinder is set to 1000 rpm, 2000 rpm, 3000 rpm, or the like. And polished by dry polishing. That is, in Experiment 1, the surface roughness of the rubber substrate 402 was reduced as much as possible.
  • a coating liquid for forming the surface layer 403 on the outer peripheral surface of the rubber substrate 402 was prepared.
  • composition of the coating liquid is as shown in Table 1.
  • samples having different surface states of the surface layer 403 were manufactured by applying a coating solution containing particles 405 of different sizes and different amounts of the surface roughness imparting material.
  • the particle size and amount of the particles 405 in these samples are as shown in Table 2.
  • Samples 1 to 11 are the samples of Experiment 1.
  • the surface layer 403 does not include the particles 405 of the roughness imparting material.
  • the coating liquid having the above composition was dispersed and mixed in a ball mill for 3 hours.
  • ⁇ Preparation of charging roll> The coating solution was applied to the polished outer peripheral surface of the rubber substrate 402 to form a surface layer 403, and the charging roll 40 was produced. Specifically, the coating solution is stirred, the solution is spray-coated on the surface of the rubber substrate 402, and dried at 120 ° C. for 60 minutes in an electric furnace to form the surface layer 403 on the outer peripheral surface of the rubber substrate 402. Then, a charging roll was prepared.
  • the surface of the central portion of the charging roll 40 in the axial direction was photographed using a non-contact laser microscope.
  • the laser microscope used was “VK-X200” manufactured by Keyence Corporation (Osaka, Japan).
  • the magnification was 400 times, and the field of view was 528.7 ⁇ m in the circumferential direction of the charging roll 40 and 705.1 ⁇ m in the axial direction of the charging roll 40.
  • quadratic surface correction of the geometric data obtained by the photographing was performed using Version 1.2.0.116 of the multi-file analysis application “VK-H1XM” manufactured by Keyence Corporation.
  • the quadratic surface correction is a process of removing a data component corresponding to the cylindrical surface of the cylindrical surface of the charging roll 40 from the geometric data obtained by photographing. In other words, this is a process of converting the geometric data of the cylindrical surface obtained by imaging into the geometric data for the plane.
  • the arithmetic mean tune S pc at the peak was calculated by this application.
  • the value of Wolf pruning in the calculation of the arithmetic mean tune S pc at the peak was 5%. That is, the arithmetic mean tune S pc at the peak is calculated from a region having an amplitude larger than 5% of the maximum amplitude (the difference between the maximum height and the minimum height) of the contour curve.
  • the arithmetic mean tune S pc at the peak obtained in this way is as shown in Table 2.
  • the charging roll was applied to a copying machine, and the images printed under the following printing conditions (halftone image and solid white image) were evaluated for image unevenness. Table 2 shows the results.
  • local discharge was determined for a halftone image, and brightness was determined for a solid white image.
  • the occurrence of the local discharge can be confirmed by visually detecting the occurrence of white spots, black spots, white streaks, and black streaks in the halftone image.
  • L * values L * value, lightness
  • the reason for measuring the lightness is to determine the presence or absence of background stain, that is, fog (printed in a place that should not be printed).
  • the kneaded rubber composition was made into a sheet-like material, wound around the surface of a core material 401 (core metal) having a diameter of 8 mm, press-molded, and a rubber substrate 402 made of crosslinked epichlorohydrin rubber was obtained.
  • the measured value was 50 ° to 64 °. .
  • the surface of the rubber substrate 402 was polished by a polishing machine. Specifically, the surface of the obtained rubber base material 402 was polished with a polishing machine to a predetermined thickness (2 mm), and then polished by dry polishing. In Experiment 2, the wheel rotation speed was not changed.
  • a coating liquid for forming the surface layer 403 on the outer peripheral surface of the rubber substrate 402 was prepared.
  • composition of the coating liquid is as shown in Table 1.
  • the relationship between the average particle size of the urethane beads and the product name is as follows. However, in practice, one product contains particles having a particle size different from the average particle size. 6 ⁇ m: urethane beads “C-800” 10 ⁇ m: urethane beads “C-600” 15 ⁇ m: urethane beads “C-400” 22 ⁇ m: Urethane beads “C-300” 32 ⁇ m: urethane beads “C-200”
  • samples having different surface states of the surface layer 403 were produced by applying a coating liquid containing particles 405 of different sizes and different amounts of the surface roughness imparting material.
  • the particle size and amount of the particles 405 in these samples are as shown in Table 2.
  • Samples 21 to 35 are the samples of Experiment 2.
  • the coating liquid having the above composition was dispersed and mixed in a ball mill for 3 hours.
  • ⁇ Preparation of charging roll> The coating solution was applied to the polished outer peripheral surface of the rubber substrate 402 to form a surface layer 403, and the charging roll 40 was produced. Specifically, the coating solution is stirred, the solution is spray-coated on the surface of the rubber substrate 402, and dried at 120 ° C. for 60 minutes in an electric furnace to form the surface layer 403 on the outer peripheral surface of the rubber substrate 402. Then, a charging roll was prepared.
  • the DC voltage was a normal voltage (REF), and the AC voltage Vpp was dependent on the copier control.
  • the charging roll was applied to a copying machine, and image unevenness was evaluated for images (halftone images and solid white images) printed under the following printing conditions. Table 3 shows the results.
  • image unevenness local discharge was determined for a halftone image. The occurrence of the local discharge can be confirmed by visually detecting the occurrence of white spots, black spots, white streaks, and black streaks in the halftone image. With respect to the white solid image, the background stain, that is, fog was visually determined.
  • the arithmetic mean tune S pc at the peak of the surface of the surface layer 403 is not less than 1,880 (1 / mm) and not more than 14,024 (1 / mm).
  • the charging roll has been described as an embodiment, but the conductive roll according to the present invention is, in addition to a charging roll of an image forming apparatus such as an electrophotographic copying machine or a printer, a developing roll, a transfer roll, a charge removing roll,
  • the present invention is also applicable to a toner supply roll and the like.
  • photoconductor 2 developing unit 20: developing roll 21: regulating blade 22: supply roll 23: toner 3: exposure unit 4: charging unit 40: charging roll 401: core material 402: rubber substrate 403: surface layer 5: cleaning Unit 6: transfer unit 60: sheet

Landscapes

  • Physics & Mathematics (AREA)
  • Engineering & Computer Science (AREA)
  • General Physics & Mathematics (AREA)
  • Mechanical Engineering (AREA)
  • Plasma & Fusion (AREA)
  • Electrostatic Charge, Transfer And Separation In Electrography (AREA)
  • Rolls And Other Rotary Bodies (AREA)
  • Electrophotography Configuration And Component (AREA)
  • Delivering By Means Of Belts And Rollers (AREA)
PCT/JP2019/033941 2018-09-05 2019-08-29 導電性ロール Ceased WO2020050131A1 (ja)

Priority Applications (6)

Application Number Priority Date Filing Date Title
US17/258,583 US11762306B2 (en) 2018-09-05 2019-08-29 Electroconductive roll
MYPI2021000204A MY207103A (en) 2018-09-05 2019-08-29 Electroconductive roll
EP19858089.6A EP3848760B1 (en) 2018-09-05 2019-08-29 Conductive roll
CN201980048252.2A CN112437903B (zh) 2018-09-05 2019-08-29 导电性辊
JP2020541163A JPWO2020050131A1 (ja) 2018-09-05 2019-08-29 導電性ロール
JP2022102555A JP2022126823A (ja) 2018-09-05 2022-06-27 帯電ロール

Applications Claiming Priority (2)

Application Number Priority Date Filing Date Title
JP2018-165845 2018-09-05
JP2018165845 2018-09-05

Publications (1)

Publication Number Publication Date
WO2020050131A1 true WO2020050131A1 (ja) 2020-03-12

Family

ID=69721633

Family Applications (1)

Application Number Title Priority Date Filing Date
PCT/JP2019/033941 Ceased WO2020050131A1 (ja) 2018-09-05 2019-08-29 導電性ロール

Country Status (6)

Country Link
US (1) US11762306B2 (enExample)
EP (1) EP3848760B1 (enExample)
JP (2) JPWO2020050131A1 (enExample)
CN (1) CN112437903B (enExample)
MY (1) MY207103A (enExample)
WO (1) WO2020050131A1 (enExample)

Cited By (1)

* Cited by examiner, † Cited by third party
Publication number Priority date Publication date Assignee Title
JP2022126823A (ja) * 2018-09-05 2022-08-30 Nok株式会社 帯電ロール

Families Citing this family (2)

* Cited by examiner, † Cited by third party
Publication number Priority date Publication date Assignee Title
CN113242939B (zh) * 2019-02-27 2023-05-05 Nok株式会社 带电辊
US11714364B2 (en) * 2019-08-29 2023-08-01 Nok Corporation Charging roll

Citations (7)

* Cited by examiner, † Cited by third party
Publication number Priority date Publication date Assignee Title
JPH1048916A (ja) * 1996-04-30 1998-02-20 Hokushin Ind Inc 傾斜抵抗部材およびその製造方法
JP2003202722A (ja) 2001-10-16 2003-07-18 Hokushin Ind Inc 導電性ロール
JP2005091414A (ja) 2003-09-12 2005-04-07 Ricoh Co Ltd 帯電ローラ、帯電ローラの製造方法、プロセスカートリッジ及び画像形成装置
JP3655364B2 (ja) 1994-08-31 2005-06-02 イーストマン コダック カンパニー 長期電気的寿命を有するバイアス性転写部材
JP2008112150A (ja) * 2006-10-06 2008-05-15 Canon Inc 現像ローラ、それを用いた現像装置及び画像形成装置
JP2012014141A (ja) 2010-06-04 2012-01-19 Kyocera Mita Corp 画像形成装置
JP2015121769A (ja) 2013-11-21 2015-07-02 三星電子株式会社Samsung Electronics Co.,Ltd. 帯電部材

Family Cites Families (13)

* Cited by examiner, † Cited by third party
Publication number Priority date Publication date Assignee Title
JPS5615383A (en) 1979-07-16 1981-02-14 Ricoh Co Ltd Carriage supporting device in printer
JPS60129315A (ja) 1983-12-14 1985-07-10 Yamamizu Sangyo Kk 堤体に被覆シ−トを敷設する工法
JP3559665B2 (ja) * 1996-12-27 2004-09-02 キヤノン株式会社 画像形成装置
WO2008044427A1 (en) 2006-10-06 2008-04-17 Canon Kabushiki Kaisha Developing roller, developing apparatus using the same and image forming apparatus
JP2010096267A (ja) 2008-10-16 2010-04-30 Fuji Xerox Co Ltd 弾性ロール、帯電ロール、画像形成装置及びプロセスカートリッジ
JP4423345B2 (ja) * 2009-09-10 2010-03-03 キヤノン株式会社 現像装置及びカートリッジ
JP6155416B1 (ja) * 2015-09-25 2017-06-28 住友理工株式会社 電子写真機器用帯電ロール
KR102125197B1 (ko) * 2016-04-15 2020-06-22 미츠비시 히타치 쓰루 가부시키가이샤 소경 드릴
US10495788B2 (en) * 2016-05-17 2019-12-03 Canon Kabushiki Kaisha Resin molded product, interchangeable lens for camera, and method of manufacturing resin molded product
US10268133B2 (en) 2016-08-04 2019-04-23 Nok Corporation Conductive roll
JP7179438B2 (ja) * 2016-08-25 2022-11-29 キヤノン株式会社 金型の製造方法及び樹脂成形品の製造方法
JP2018132658A (ja) 2017-02-15 2018-08-23 富士ゼロックス株式会社 帯電部材、帯電装置、プロセスカートリッジ、及び画像形成装置
MY207103A (en) 2018-09-05 2025-01-29 Nok Corp Electroconductive roll

Patent Citations (7)

* Cited by examiner, † Cited by third party
Publication number Priority date Publication date Assignee Title
JP3655364B2 (ja) 1994-08-31 2005-06-02 イーストマン コダック カンパニー 長期電気的寿命を有するバイアス性転写部材
JPH1048916A (ja) * 1996-04-30 1998-02-20 Hokushin Ind Inc 傾斜抵抗部材およびその製造方法
JP2003202722A (ja) 2001-10-16 2003-07-18 Hokushin Ind Inc 導電性ロール
JP2005091414A (ja) 2003-09-12 2005-04-07 Ricoh Co Ltd 帯電ローラ、帯電ローラの製造方法、プロセスカートリッジ及び画像形成装置
JP2008112150A (ja) * 2006-10-06 2008-05-15 Canon Inc 現像ローラ、それを用いた現像装置及び画像形成装置
JP2012014141A (ja) 2010-06-04 2012-01-19 Kyocera Mita Corp 画像形成装置
JP2015121769A (ja) 2013-11-21 2015-07-02 三星電子株式会社Samsung Electronics Co.,Ltd. 帯電部材

Cited By (2)

* Cited by examiner, † Cited by third party
Publication number Priority date Publication date Assignee Title
JP2022126823A (ja) * 2018-09-05 2022-08-30 Nok株式会社 帯電ロール
US11762306B2 (en) 2018-09-05 2023-09-19 Nok Corporation Electroconductive roll

Also Published As

Publication number Publication date
MY207103A (en) 2025-01-29
US20210255556A1 (en) 2021-08-19
EP3848760A4 (en) 2021-10-13
CN112437903B (zh) 2023-05-05
US11762306B2 (en) 2023-09-19
CN112437903A (zh) 2021-03-02
JPWO2020050131A1 (ja) 2021-08-26
EP3848760B1 (en) 2022-07-13
EP3848760A1 (en) 2021-07-14
JP2022126823A (ja) 2022-08-30

Similar Documents

Publication Publication Date Title
JP7394928B2 (ja) 帯電ロール
JP2022126823A (ja) 帯電ロール
JP7337176B2 (ja) 帯電ロール
JP7337177B2 (ja) 帯電ロール
JP7342209B2 (ja) 帯電ロール
JP2019191519A (ja) 導電性ロール
WO2019044829A1 (ja) 導電性ロール
CN113242939B (zh) 带电辊
WO2020175436A1 (ja) 帯電ロール
WO2020175437A1 (ja) 帯電ロール
WO2020175434A1 (ja) 帯電ロール
CN113195910A (zh) 带电辊
WO2020175433A1 (ja) 帯電ロール
WO2020175432A1 (ja) 帯電ロール
JP7342136B2 (ja) 帯電ロール
WO2020175435A1 (ja) 帯電ロール

Legal Events

Date Code Title Description
121 Ep: the epo has been informed by wipo that ep was designated in this application

Ref document number: 19858089

Country of ref document: EP

Kind code of ref document: A1

ENP Entry into the national phase

Ref document number: 2020541163

Country of ref document: JP

Kind code of ref document: A

NENP Non-entry into the national phase

Ref country code: DE

ENP Entry into the national phase

Ref document number: 2019858089

Country of ref document: EP

Effective date: 20210406