WO2020031518A1 - 流量計測装置 - Google Patents

流量計測装置 Download PDF

Info

Publication number
WO2020031518A1
WO2020031518A1 PCT/JP2019/024444 JP2019024444W WO2020031518A1 WO 2020031518 A1 WO2020031518 A1 WO 2020031518A1 JP 2019024444 W JP2019024444 W JP 2019024444W WO 2020031518 A1 WO2020031518 A1 WO 2020031518A1
Authority
WO
WIPO (PCT)
Prior art keywords
flow
measurement device
flow path
insertion direction
protrusion
Prior art date
Legal status (The legal status is an assumption and is not a legal conclusion. Google has not performed a legal analysis and makes no representation as to the accuracy of the status listed.)
Ceased
Application number
PCT/JP2019/024444
Other languages
English (en)
French (fr)
Japanese (ja)
Inventor
優介 吉田
誠二 八百幸
和明 上田
健悟 伊藤
Current Assignee (The listed assignees may be inaccurate. Google has not performed a legal analysis and makes no representation or warranty as to the accuracy of the list.)
Denso Corp
Original Assignee
Denso Corp
Priority date (The priority date is an assumption and is not a legal conclusion. Google has not performed a legal analysis and makes no representation as to the accuracy of the date listed.)
Filing date
Publication date
Application filed by Denso Corp filed Critical Denso Corp
Priority to DE112019003970.9T priority Critical patent/DE112019003970T5/de
Publication of WO2020031518A1 publication Critical patent/WO2020031518A1/ja
Priority to US17/168,908 priority patent/US11262223B2/en
Anticipated expiration legal-status Critical
Ceased legal-status Critical Current

Links

Images

Classifications

    • GPHYSICS
    • G01MEASURING; TESTING
    • G01FMEASURING VOLUME, VOLUME FLOW, MASS FLOW OR LIQUID LEVEL; METERING BY VOLUME
    • G01F5/00Measuring a proportion of the volume flow
    • FMECHANICAL ENGINEERING; LIGHTING; HEATING; WEAPONS; BLASTING
    • F02COMBUSTION ENGINES; HOT-GAS OR COMBUSTION-PRODUCT ENGINE PLANTS
    • F02DCONTROLLING COMBUSTION ENGINES
    • F02D41/00Electrical control of supply of combustible mixture or its constituents
    • F02D41/02Circuit arrangements for generating control signals
    • F02D41/18Circuit arrangements for generating control signals by measuring intake air flow
    • FMECHANICAL ENGINEERING; LIGHTING; HEATING; WEAPONS; BLASTING
    • F02COMBUSTION ENGINES; HOT-GAS OR COMBUSTION-PRODUCT ENGINE PLANTS
    • F02MSUPPLYING COMBUSTION ENGINES IN GENERAL WITH COMBUSTIBLE MIXTURES OR CONSTITUENTS THEREOF
    • F02M35/00Combustion-air cleaners, air intakes, intake silencers, or induction systems specially adapted for, or arranged on, internal-combustion engines
    • F02M35/02Air cleaners
    • F02M35/0201Housings; Casings; Frame constructions; Lids; Manufacturing or assembling thereof
    • F02M35/021Arrangements of air flow meters in or on air cleaner housings
    • FMECHANICAL ENGINEERING; LIGHTING; HEATING; WEAPONS; BLASTING
    • F02COMBUSTION ENGINES; HOT-GAS OR COMBUSTION-PRODUCT ENGINE PLANTS
    • F02MSUPPLYING COMBUSTION ENGINES IN GENERAL WITH COMBUSTIBLE MIXTURES OR CONSTITUENTS THEREOF
    • F02M35/00Combustion-air cleaners, air intakes, intake silencers, or induction systems specially adapted for, or arranged on, internal-combustion engines
    • F02M35/10Air intakes; Induction systems
    • F02M35/10373Sensors for intake systems
    • F02M35/10386Sensors for intake systems for flow rate
    • GPHYSICS
    • G01MEASURING; TESTING
    • G01FMEASURING VOLUME, VOLUME FLOW, MASS FLOW OR LIQUID LEVEL; METERING BY VOLUME
    • G01F1/00Measuring the volume flow or mass flow of fluid or fluent solid material wherein the fluid passes through a meter in a continuous flow
    • G01F1/68Measuring the volume flow or mass flow of fluid or fluent solid material wherein the fluid passes through a meter in a continuous flow by using thermal effects
    • G01F1/684Structural arrangements; Mounting of elements, e.g. in relation to fluid flow
    • GPHYSICS
    • G01MEASURING; TESTING
    • G01FMEASURING VOLUME, VOLUME FLOW, MASS FLOW OR LIQUID LEVEL; METERING BY VOLUME
    • G01F1/00Measuring the volume flow or mass flow of fluid or fluent solid material wherein the fluid passes through a meter in a continuous flow
    • G01F1/68Measuring the volume flow or mass flow of fluid or fluent solid material wherein the fluid passes through a meter in a continuous flow by using thermal effects
    • G01F1/684Structural arrangements; Mounting of elements, e.g. in relation to fluid flow
    • G01F1/6842Structural arrangements; Mounting of elements, e.g. in relation to fluid flow with means for influencing the fluid flow
    • GPHYSICS
    • G01MEASURING; TESTING
    • G01FMEASURING VOLUME, VOLUME FLOW, MASS FLOW OR LIQUID LEVEL; METERING BY VOLUME
    • G01F1/00Measuring the volume flow or mass flow of fluid or fluent solid material wherein the fluid passes through a meter in a continuous flow
    • G01F1/72Devices for measuring pulsing fluid flows

Definitions

  • the present disclosure relates to a flow measurement device.
  • a flow measurement device that is a thermal flow meter that includes a housing disposed in a main flow path and a sub flow path provided in the housing and measures the flow rate of a fluid to be measured flowing through the main flow path is known (for example, Patent Document 1).
  • This flow rate measuring device has a tip wing provided at a position deviated downstream on the tip of the housing.
  • the tip wing has a shape that tapers as it moves from the base end to the tip.
  • a lateral vortex may be generated around the inlet of the sub flow path.
  • the fluid to be measured may flow into the sub-flow path due to the lateral vortex and may be measured as an intake air amount. For this reason, an error may occur in the measured flow rate.
  • a flow rate measurement device that is attached to the main flow path while being inserted from the outside of a main flow path through which a measurement target fluid flows, and measures a flow rate of the measurement target fluid in the main flow path. Is done.
  • the flow rate measuring device includes a housing having a side surface extending along a direction in which the flow rate measuring device is inserted into the main flow path and a tip end surface located on the insertion direction side, and the main flow path formed inside the housing, A sub flow path through which a part of the fluid to be detected flows, and an inlet portion provided on the side surface to allow the measured fluid flowing through the main flow path to flow into the sub flow path; and the sub flow path.
  • a protruding portion is disposed on at least one end of the distal end surface, which is an end on the entrance portion side, and the other end, which is an end opposite to the one end. Have been.
  • the protruding portion is disposed at least on one end of the front end surface, which is the end on the inlet side, and on the other end, which is the end opposite to the one end.
  • the flow rate measuring device is used in a case where the measured fluid flowing in the main flow channel flows in any one of the forward flow direction and the reverse flow direction when the inlet portion is attached so as to face the upstream side of the main flow channel. Even if it does, the separation of the intake air occurs at the protruding portion located further distally than the distal end surface. This makes it possible to increase the distance between the position where the lateral vortex is generated due to separation and the entrance, as compared with the case where the protrusion is not provided. Therefore, regardless of whether the flow of the fluid to be measured is a forward flow or a backward flow, the flow measurement device can reduce the measurement error of the flow due to the influence of the lateral vortex.
  • FIG. 1 is a schematic diagram of a combustion system in which the flow measurement device according to the embodiment is used
  • FIG. 2 is a schematic side view of the flow measurement device according to the embodiment
  • FIG. 3 is a schematic top view of the flow measurement device according to the embodiment
  • FIG. 4 is a schematic cross-sectional view of a main flow path around the flow measurement device according to the embodiment
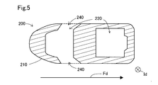
  • FIG. 5 is a schematic cross-sectional view of the flow measurement device according to the embodiment
  • FIG. 6 is a schematic diagram when the attached state of the flow rate measuring device according to the embodiment is viewed from the inlet side
  • FIG. 1 is a schematic diagram of a combustion system in which the flow measurement device according to the embodiment is used
  • FIG. 2 is a schematic side view of the flow measurement device according to the embodiment
  • FIG. 3 is a schematic top view of the flow measurement device according to the embodiment
  • FIG. 4 is a schematic cross-sectional view of a main flow path around the flow measurement device according to the embodiment
  • FIG. 5 is a schematic
  • FIG. 7 is a schematic diagram when the mounting state of the flow measurement device according to the embodiment is viewed from the base end side in the insertion direction
  • FIG. 8 is a schematic diagram of the flow measuring device according to the embodiment when viewed from the front end side
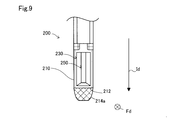
  • FIG. 9 is a first schematic diagram of the flow measurement device according to the first other embodiment when viewed from the inlet side
  • FIG. 10 is a second schematic diagram when the flow measurement device according to the first other embodiment is viewed from the inlet side
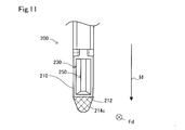
  • FIG. 11 is a third schematic diagram when the flow measurement device according to the first other embodiment is viewed from the inlet side
  • FIG. 12 is a fourth schematic diagram when the flow measurement device according to the first other embodiment is viewed from the inlet side.
  • FIG. 13 is a fifth schematic diagram when the flow measurement device according to the first other embodiment is viewed from the inlet side.
  • FIG. 14 is a sixth schematic diagram when the flow measurement device according to the first other embodiment is viewed from the inlet side.
  • FIG. 15 is a seventh schematic diagram when the flow measurement device according to the first other embodiment is viewed from the inlet side.
  • FIG. 16 is an eighth schematic diagram when the flow measurement device according to the first other embodiment is viewed from the inlet side.
  • FIG. 17 is a ninth schematic diagram when the flow measurement device according to the first other embodiment is viewed from the inlet side.
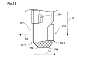
  • FIG. 18 is a first schematic diagram of the flow measurement device according to the first other embodiment when viewed from the side.
  • FIG. 19 is a second schematic diagram of the flow measuring device according to the first other embodiment when viewed from the side
  • FIG. 20 is a third schematic diagram when the flow measurement device according to the first other embodiment is viewed from the side.
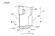
  • FIG. 21 is a fourth schematic diagram when the flow measurement device according to the first other embodiment is viewed from the side.
  • FIG. 22 is a fifth schematic diagram when the flow measurement device according to the first other embodiment is viewed from the side.
  • FIG. 23 is a sixth schematic diagram when the flow measurement device according to the first other embodiment is viewed from the side.
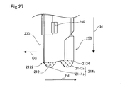
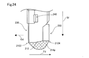
  • FIG. 24 is a seventh schematic diagram when the flow measuring device according to the first other embodiment is viewed from the side.
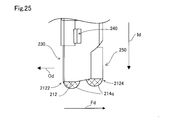
  • FIG. 25 is an eighth schematic diagram when the flow measuring device according to the first other embodiment is viewed from the side.
  • FIG. 26 is a ninth schematic diagram when the flow measurement device according to the first other embodiment is viewed from the side.
  • FIG. 27 is a tenth schematic diagram when the flow measurement device according to the first other embodiment is viewed from the side.
  • FIG. 28 is a first schematic diagram of the flow measuring device according to the first other embodiment when viewed from the distal end side
  • FIG. 29 is a second schematic diagram when the flow measurement device according to the first other embodiment is viewed from the distal end side
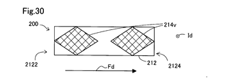
  • FIG. 30 is a third schematic diagram when the flow measurement device according to the first other embodiment is viewed from the distal end side
  • FIG. 31 is a tenth schematic diagram when the flow measurement device according to the first other embodiment is viewed from the inlet side.
  • FIG. 28 is a first schematic diagram of the flow measuring device according to the first other embodiment when viewed from the distal end side
  • FIG. 29 is a second schematic diagram when the flow measurement device according to the first other embodiment is viewed from the distal end side
  • FIG. 30 is a
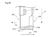
  • FIG. 32 is an eleventh schematic diagram when the flow measurement device according to the first other embodiment is viewed from the side.
  • FIG. 33 is a first schematic diagram of a flow measuring device according to another second embodiment when viewed from the side.
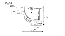
  • FIG. 34 is a second schematic diagram of the flow measuring device according to the second other embodiment when viewed from the side.
  • FIG. 35 is a third schematic diagram of the flow measurement device according to the second other embodiment when viewed from the side.
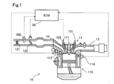
  • a flow measurement device 200 is used for a combustion system 10 including an internal combustion engine 11.
  • the combustion system 10 includes an internal combustion engine 11, a main flow path 12 and an exhaust flow path 13 formed by piping, and an ECU 30.
  • the combustion system 10 is mounted on, for example, a gasoline-powered vehicle and is used as a driving device.
  • the internal combustion engine 11 includes a combustion chamber 110, a spark plug 111, a fuel injection valve 112, a combustion pressure sensor 114, an intake valve 125, and an exhaust valve 131.
  • the internal combustion engine 11 generates power by burning a mixed gas of air supplied through the main flow path 12 and fuel injected from the fuel injection valve 112.
  • the spark plug 111 generates a spark discharge and ignites a mixed gas (mixed gas of fuel and air) in the combustion chamber 110.
  • the fuel injection valve 112 injects fuel into the combustion chamber 110.
  • the combustion pressure sensor 114 detects the combustion pressure in the combustion chamber 110.
  • the main passage 12 and the exhaust passage 13 are connected to the combustion chamber 110.
  • the main flow path 12 is a flow path that guides air to the combustion chamber 110.
  • the exhaust passage 13 is a passage for discharging exhaust gas, which is a gas after combustion, from the combustion chamber 110.
  • the main flow path 12 is provided with an air cleaner 121, a flow rate measuring device 200, and a throttle valve 122 in order from the upstream side.
  • the air cleaner 121 removes dust in the air flowing through the main flow path 12.
  • the throttle valve 122 adjusts the opening degree and adjusts the flow resistance in the main flow path 12.
  • the flow measurement device 200 measures the flow rate of the intake air flowing through the main flow path 12.
  • the ECU 30 is an arithmetic processing circuit including a processor, a storage medium such as a RAM, a ROM, and a flash memory, a microcomputer including an input / output unit, and a power supply circuit.
  • the ECU 30 controls the opening degree of the throttle valve 122 and the fuel injection amount injected from the fuel injection valve 112 using measurement results obtained from the flow measurement device 200 and various sensors, for example, the combustion pressure sensor 114.
  • the flow measurement device 200 includes a housing 210, an inlet 230, an outlet 240, and an outlet 250.
  • the housing 210 has a side surface extending along the insertion direction Id, and a distal end surface 212 located on the insertion direction Id side.
  • the inlet 230 is provided on the one end 2122 side of the distal end surface 212 on the side of the opening Od of the inlet 230.
  • the outlet 250 is provided on the other end 2124 side opposite to the one end 2122 side where the inlet 230 is provided.
  • two outlet portions 240 are provided, and in addition to the outlet portions 240 provided on the side surface side shown in FIG. 2, they are provided on the opposite side surface.
  • the two outlets 240 are respectively provided on surfaces of the side surfaces of the housing 210 that intersect with the surface on which the inlet 230 is provided.
  • a projection 214 is provided on the distal end surface 212 and protrudes from the distal end surface 212 toward the insertion direction Id.
  • the protruding portion 214 protrudes from the distal end surface 212 in the insertion direction Id from one end 2122 to the other end 2124.
  • the protrusion 214 does not have an internal space for flowing the intake air.
  • the appearance of the protrusion 214 is illustrated by cross hatching.
  • the first length W1 from the lower end of the opening of the outlet 250 to the tip of the protrusion 214 in the insertion direction Id is 15% or more of the opening width W2 of the outlet 250 in the present embodiment. It protrudes from the distal end surface 212 so as to have a size.
  • the opening width W2 is the maximum value of the width of the opening of the outlet 250 in the insertion direction Id.
  • the second length W3 from the lower end of the opening of the entrance 230 to the tip of the projection 214 in the insertion direction Id is 15% or more of the opening width W4 of the entrance 230. Projecting from the front end surface 212.
  • the opening width W3 is the maximum value of the width of the opening of the entrance 230 in the insertion direction Id.
  • FIG. 4 shows a cross section of the flow measurement device 200 corresponding to the 4-4 cross section shown in FIG.
  • the housing 210 is a housing made of a synthetic resin, and includes a sub-flow path forming section that forms the sub-flow path 220 therein, and a holding section that holds the flow rate detection section 260.
  • One end 2122 provided with the inlet 230 is located on the upstream side of the main flow channel 12 when the flow measurement device 200 is attached to the main flow channel 12.
  • the other end 2124 is located downstream from the one end 2122 when the flow measurement device 200 is attached to the main flow path 12.
  • the sub flow path 220 is a flow path through which a part of the intake air flowing through the main flow path 12 flows.
  • FIG. 5 which is a schematic view showing a cross section taken along line 5-5 in FIG. I have.
  • Each of the branched sub-flow paths 220 is connected to two outlets 240.
  • the flow rate detector 260 (FIG. 4) is provided in the middle of the sub flow path 220 and detects the flow rate of the fluid to be measured flowing through the sub flow path. It is preferable that the flow rate detector 260 can distinguish whether the flow direction of the fluid to be measured is the forward flow direction or the backward flow direction.
  • the flow rate detection unit 260 employs a temperature difference method that is capable of distinguishing the flow direction.
  • the flow rate detection unit 260 includes a heater (not shown) for heating the fluid to be measured, and a plurality of temperature sensors arranged along the flow direction of the fluid to be measured.
  • the flow rate detection unit 260 of the present embodiment detects the flow rate from the temperature difference between the upstream side and the downstream side of the heater.
  • the temperature sensors are arranged on both the upstream side and the downstream side of the heater.
  • the temperature sensor is a temperature-sensitive resistor
  • the heater is a heating resistor.
  • the housing 210 has a housing main body 2100 that is inserted into the main flow channel 12 when attached to the main flow channel 12. Further, the housing 200 includes a ring holding portion 2101, a flange portion 2102, a connector portion 2103, a protection protrusion 2104, and a temperature sensor 2105 provided integrally with the housing main body 2100.
  • the flange portion 2102 is provided on the base end side of the housing 210 and serves as a fixed portion to the main flow channel 12.
  • Wiring for outputting a measurement result by the flow measurement device 200 to the outside is connected to the connector 2103.
  • the ring holding unit 2101 is attached to the insertion hole 124 via the O-ring 126.
  • Temperature sensor 2105 acquires the temperature of the intake air.
  • a bolt insertion port 270 is formed in the flange portion 2102. A bolt inserted from the bolt insertion port 270 is fixed to a boss 125 provided in the main flow path 12.
  • the flow measurement device 200 is attached so as to pass through the center of the main flow channel 12 when viewed from the inlet 230 side.
  • the flow measurement device 200 is configured such that the opening direction Od of the inlet 230 for taking in the intake air flowing through the main flow path 12 into the flow measurement device 200 is opposite to the flow direction Fd of the inflow air. Attached to. That is, the inlet 230 is arranged so as to face the upstream side of the main flow path 12.
  • a discharge port 250 can be seen on the inner side (+ FD direction side) of the inlet 230. As shown in FIG. 6, the outlet 250 is narrowed so that the opening is smaller than the opening of the inlet 230.
  • the projection 214 has a tapered shape that becomes thinner toward the distal end in the insertion direction when viewed from the entrance 230 side.
  • the size of the protrusion 214 decreases toward the distal end. Due to the tapered shape, the protruding portion 214 can reduce the resistance received from the intake air when disposed in the main flow path 12. Thereby, the intake air is rectified, and the flow of the intake air around the protrusion 214 is smoothed.
  • the protrusion 214 in the present embodiment has an elliptical shape when viewed from the distal end side in the insertion direction Id.
  • one end 2122 and the other end 2124 are round and have an elongated shape as a whole. For this reason, the protrusion 214 can reduce the resistance received from the intake air when disposed in the main flow path 12. Thus, the intake air is rectified, and the flow of the intake air around the protrusion 214 is further smoothed.
  • the protrusion 214 is viewed from a direction orthogonal to the opening direction Od and the insertion direction Id of the inlet 230, that is, from the side surface on which one of the two outlets 240 is provided in the present embodiment.
  • it has a tapered shape that becomes thinner toward the distal end side in the insertion direction Id.
  • the protrusion 214 can reduce the resistance received from the intake air when the protrusion 214 is disposed in the main flow path 12. Thereby, the intake air is rectified, and the flow of the intake air around the protrusion 214 is smoothed.
  • the protrusion 214 has a curved shape when viewed from the side.
  • the flow measurement device 200 when the flow measurement device 200 is disposed in the main flow path 12, friction occurs between the intake air and the housing 210 of the flow measurement device 200, and thus the flow velocity of the intake air flowing around the flow measurement device 200 is , As it goes downstream of the flow. For this reason, the intake air cannot flow along the shape of the flow measurement device 200, and the separation of the intake air may occur. For example, in a forward flow state in which the intake air flows from the upstream side to the downstream side of the main flow path 12, separation may occur on the other end 2124 side. Further, for example, in a reverse flow state in which the intake air flows from the downstream side to the upstream side of the main flow path 12, separation may occur on the one end 2122 side.
  • the lateral vortex is a vortex having a rotation axis that intersects a plane defined by the insertion direction Id and the flow direction Fd.
  • the projecting portion 214 projects at the other end 2124 from the tip end surface 212 in the insertion direction Id, and rectifies the flow of intake air at the other end 2124. Therefore, in the forward flow state, the separation of the intake air from the flow measurement device 200 on the other end 2124 side is reduced as compared with the case where the protrusion 214 is not formed at the other end 2124. Thereby, the lateral vortex generated at the other end 2124 can be reduced.
  • the upstream pressure at the one end 2122 at which the intake air separates tends to be smaller than the pressure in other regions.
  • a side vortex having a rotation axis extending in a direction intersecting the insertion direction Id of the flow measurement device 200 is generated on the one end 2122 side.
  • the discharge of the intake air flowing in from the outlet 250 from the inlet 230 is inhibited, and the intake air flowing from the outlet 250 is prevented. May flow into the sub flow path 220.
  • a measurement error of the flow rate by the flow rate measurement device 200 may occur.
  • the backflow state occurs, for example, when the idling operation is performed in the combustion system 10.
  • the combustion system 10 stops the flow of the intake air into the internal combustion engine 11 by closing the intake valve 125.
  • the pressure of the intake air on the internal passage 11 side of the main passage 12 increases, the pressure on the downstream side of the main passage 12 becomes higher than on the upstream side, and a backflow occurs.
  • the protruding portion 214 protrudes from the distal end surface 212 at the one end 2122 in the insertion direction Id, and rectifies the flow of the intake air on the one end 2122 side. Therefore, in the backflow state, the separation of the intake air from the flow measurement device 200 on the one end 2122 side is reduced as compared with the case where the protrusion 214 is not formed at the other end 2124. Thereby, the lateral vortex generated at the one end 2122 can be reduced.
  • the protrusion 214 has one end 2122 that is the end on the inlet side and the other end opposite to the one end 2122 in the front end surface 212. It protrudes from a certain other end 2124 in the insertion direction Id. Therefore, when the inlet portion 230 is attached to the main flow channel 12 so as to face the flow direction Fd of the main flow channel 12, the flow measuring device 200 causes the separation of the intake air to be located further distally than the distal end surface 212. It occurs at the protrusion 214. Accordingly, the distance between the position where the lateral vortex is generated and the inlet 230 or the outlet 250 can be made larger than when the protrusion 214 is not provided.
  • the influence of the lateral vortex for example, the inhibition of the inflow of the intake air into the inlet 230 and the outlet 250 and the discharge of the intake air due to the lateral vortex are suppressed.
  • the measurement error of the flow rate of the flow rate measuring device 200 due to the occurrence of the lateral vortex is reduced.
  • the projecting portion 214 has a rectifying function which is a function of suppressing generation of a lateral vortex. Thereby, the measurement error of the flow rate of the flow rate measuring device 200 is further reduced.
  • the protrusion 214 is provided from one end 2122 to the other end 2124.
  • a horizontal vortex does not occur between the protrusion on the one end 2122 side and the protrusion on the other end 2124 which may occur in the case of a discontinuous structure. Therefore, the rectifying function is improved as compared with the case where the protruding portions 214 have a discontinuous structure at the one end 2122 side and the other end 2124 side.
  • the projecting portion 214 has the front end surface 212 such that the first length W1 is 15% or more of the opening width W2 of the outlet 250. Projecting from. Therefore, it is easy to increase the distance between the discharge port 250 and the position where the lateral vortex is generated in the forward flow state.
  • the projecting portion 214 projects from the distal end surface 212 such that the second length W3 is equal to or greater than 15% of the opening width W4 of the inlet 230. Therefore, it is easy to improve the effect of suppressing the influence of the lateral vortex in both the forward flow state and the backward flow state.
  • Embodiment B Other Embodiment B1.
  • the shape of the protruding portion 214 in the flow measurement device 200 according to the embodiment can be appropriately changed as long as it protrudes in at least one end 2122 and the other end 2124 in the insertion direction Id. .
  • an example of the shape of the protruding portion 214 that can be employed will be described with reference to FIGS. 9 to 32.
  • the protrusions 214a to 214d may be different from those in the above embodiment as long as the shape when viewed from the entrance 230 is tapered.
  • the end on the insertion direction Id side has a planar shape.
  • the protruding portion 214b shown in FIG. 10 has an end surface on the side of the insertion direction Id which has a flat shape as in the above example, and has a flat side surface and is inclined.
  • the protruding portion 214c shown in FIG. 11 has a flat side surface and is inclined similarly to the protruding portion 214b shown in FIG.
  • the end on the insertion direction Id side has a curved shape.
  • the protruding portion 214d shown in FIG. 12 has a side surface inclined similarly to the protruding portions 214b and 214c shown in FIGS. 10 and 11, but has a sharp end on the insertion direction Id side.
  • the flow measurement device 200 may have a plurality of protrusions 214e and 214f. In this case, as shown in FIG. 13, the plurality of protrusions 214 may be provided adjacent to each other in a direction orthogonal to the insertion direction Id and the opening direction Od. As shown in FIG.
  • the plurality of protrusions 214 may be provided at a distance from each other in a direction orthogonal to the insertion direction Id and the opening direction Od.
  • the plurality of protrusions 214g to 214i may have different shapes.
  • one protrusion 2141g is formed by a curved surface.
  • the other protrusion 2142g has a shape in which the side surface is inclined and the end on the insertion direction Id side is sharp.
  • one of the protrusions 2141h has a flat side surface and is inclined, and an end on the insertion direction Id side has a flat shape.
  • the other protrusion 2142h has a shape in which the side surface is inclined and the end on the insertion direction Id side is sharp.
  • one protrusion 2141i is formed by a curved surface.
  • the other protruding portion 2142i has a shape in which the side surface is inclined and the end on the insertion direction Id side is sharp.
  • the protrusions 214j to 214p are shaped when viewed from a direction orthogonal to both the opening direction Od and the insertion direction Id of the inlet 230, that is, when viewed from the side.
  • the protrusion 214j shown in FIG. 18 when viewed from the side, the one end 2122 side and the other end 2124 side are inclined toward the distal end in the insertion direction Id, and the end on the insertion direction Id side. Is a planar shape.
  • the one end 2122 and the other end 2124 are inclined toward the tip end in the insertion direction Id, and the end on the insertion direction Id side.
  • the part has a pointed shape.
  • the one end 2122 and the other end 2124 when viewed from the side, have a curved shape, and the end in the insertion direction Id has a planar shape.
  • the protrusion 214m shown in FIG. 21 when viewed from the side, the one end 2122 extends along the insertion direction Id, and the other end 2124 is inclined toward the front end in the insertion direction Id. I have.
  • the end on the insertion direction Id side has a planar shape.
  • the one end 2122 when viewed from the side, is inclined toward the distal end in the insertion direction Id, and the other end 2124 extends along the insertion direction Id. ing.
  • the end on the insertion direction Id side has a planar shape.
  • the one end 2122 side when viewed from the side, has a curved surface shape, and the other end 2124 extends along the insertion direction Id.
  • the end of the protruding portion 214o on the insertion direction Id side has a planar shape. Further, for example, in the protrusion 214p shown in FIG. 24, when viewed from the side, the one end 2122 side and the other end 2124 side are inclined toward the distal end side in the insertion direction Id, and The ends are curved.
  • the flow measurement device 200 may have a region where the protrusions 214q to 214s are not provided in a part between the one end 2122 and the other end 2124.
  • the protrusion 214q shown in FIG. 25 has curved protrusions 2141q and 2142q on one end 2122 side and the other end 2124 side, respectively.
  • the region between the one end 2122 and the other end 2124 does not have a region where the protrusions 214r and 214s are not provided, the one end 2122 and the other end 2124 respectively
  • the protrusions 214r and 214s having different shapes may be provided. For example, in the protruding portion 214r shown in FIG.
  • the protruding portion 2141r on the one end 2122 side is inclined at the one end 2122 side and the other end 2124 side, and the end on the insertion direction Id side has a planar shape.
  • the protruding portion 2142r on the other end 2124 side has a shape in which the one end 2122 side and the other end 2124 side are inclined and the end on the insertion direction Id side is sharp.
  • the protruding portion 2141s on the one end 2122 side is inclined on the one end 2122 side and the other end 2124 side, and the end on the insertion direction Id side has a planar shape.
  • the protruding portion 2142s on the other end 2124 side has a curved shape.
  • the shapes of the protrusions 214t to 214v when viewed from the direction opposite to the insertion direction Id, that is, when viewed from the distal end side may be different from those of the embodiment. .
  • the protrusion 214t shown in FIG. 28 has a diamond shape when viewed from the front end side.
  • the flow measuring device 200 may include a plurality of protrusions 214u and 214v. In this case, for example, as shown in FIGS. 29 and 30, the flow rate measuring device 200 may include two protrusions 214u and 214v arranged along the flow direction Fd. Specifically, for example, the protrusion 214u illustrated in FIG.
  • the protrusion 29 has two protrusions 2141u and 2142u that are elliptical when viewed from the distal end side.
  • the protrusion 214v illustrated in FIG. 30 has two protrusions 2141v and 2142v that are rhombic when viewed from the distal end side.
  • the projection 214 has a tapered shape that becomes thinner toward the distal end in the insertion direction when viewed from the direction facing the entrance 230, but the shape of the projection 214 is It is not limited to this.
  • the shape of the protrusion 214w may be a shape having a certain width in the insertion direction Id when viewed from the entrance 230 side.
  • the protrusion 214 when viewed from the side, has a tapered shape that becomes thinner toward the distal end in the insertion direction Id.
  • the shape of the protrusion 214 is not limited to this.
  • the shape of the protrusion 214x may have a certain width in the insertion direction when viewed from the side.
  • a flow measurement device 200A may include a housing 210A having a structure different from that of the embodiment.
  • the flow measurement device 200 ⁇ / b> A may not have a branch flow path downstream of the sub flow path 220.
  • the number of the outlet portion 240 may be one.
  • the outlet 240 may be provided on a wall surface on the other end 2124 side.
  • the flow measuring device 200A may have protrusions 214A and 214B of various shapes.
  • the flow measurement device 200A may include a plurality of protrusions 214A and 214B. For example, as shown in FIG.
  • the two protrusions 2141A and 2142A have side surfaces that are flat and inclined, and the ends on the insertion direction Id side have a flat shape.
  • one of the protrusions 2141B of the two protrusions 214B has a flat side surface and is inclined, and the end on the insertion direction Id side has a pointed shape.
  • the other protruding portion 2142B has a flat side surface and is inclined, and an end portion on the insertion direction Id side has a flat shape.
  • the flow measurement device 200 is partially inserted into the main flow channel 12, but may be mounted in a state where the flow measurement device 200 is entirely inserted into the main flow channel 12. .
  • the flow measurement device 200 may have a different flow path structure.
  • the number of outlets 240 may be three or more.
  • the number of the inlet portions 230 may be two or more.
  • the flow measurement device 200 may not include the outlet 250.
  • the flow measurement device 200 is used in the combustion system 10, but may be used in other than the combustion system 10.
  • the flow measurement device 200 may be attached to an air supply pipe of an air supply system in a fuel cell system using air as an oxidant gas.
  • the protrusion 214 projects from the distal end surface 212 such that the first length W1 is 15% or more of the opening width W2 of the outlet 250.
  • the projecting portion 214 projects from the distal end surface 212 such that the second length W3 is 15% or more of the opening width W4 of the inlet 230.
  • the size of the protrusion 214 is not limited to this.
  • the protrusion 214 only needs to protrude from the distal end surface 212 to an extent that the influence of the lateral vortex can be suppressed in both the forward flow state and the backward flow state.
  • the projecting portion 214 only needs to project, for example, so that the length W1 is equal to or more than 10% of the opening width W2 of the discharge port portion 250. Even in this case, the protrusion 214 can reduce the influence of the lateral vortex in the forward flow state as compared with the case where the first length W1 is less than 10% of the opening width W2.
  • the projecting portion 214 only needs to project so that the second length W3 is equal to or greater than 10% of the opening width W4 of the entrance portion 230. Even in this case, the protrusion 214 can reduce the influence of the lateral vortex in the backflow state as compared with the case where the second length W3 is less than 10% of the opening width W4.
  • the protruding portion 214 protrudes from the distal end surface 212 such that the first length W2 is equal to or greater than 15% of the opening width W3 of the discharge port portion 250. Further, it is preferable that the protruding portion 214 protrudes from the distal end surface 212 such that the second length W3 is 15% or more of the opening width W4.
  • the present disclosure is not limited to the above-described embodiments, and can be implemented with various configurations without departing from the spirit thereof.
  • the technical features in the present embodiment corresponding to the technical features in the respective embodiments described in the summary of the invention may be used to solve some or all of the above-described problems, or to achieve the above-described effects. In order to achieve some or all of them, replacements and combinations can be appropriately performed. Unless the technical features are described as essential in the present specification, they can be deleted as appropriate.

Landscapes

  • Engineering & Computer Science (AREA)
  • Physics & Mathematics (AREA)
  • Fluid Mechanics (AREA)
  • General Physics & Mathematics (AREA)
  • Chemical & Material Sciences (AREA)
  • Combustion & Propulsion (AREA)
  • Mechanical Engineering (AREA)
  • General Engineering & Computer Science (AREA)
  • Manufacturing & Machinery (AREA)
  • Analytical Chemistry (AREA)
  • Measuring Volume Flow (AREA)
PCT/JP2019/024444 2018-08-08 2019-06-20 流量計測装置 Ceased WO2020031518A1 (ja)

Priority Applications (2)

Application Number Priority Date Filing Date Title
DE112019003970.9T DE112019003970T5 (de) 2018-08-08 2019-06-20 Strömungsmesser
US17/168,908 US11262223B2 (en) 2018-08-08 2021-02-05 Flowmeter

Applications Claiming Priority (2)

Application Number Priority Date Filing Date Title
JP2018149045A JP7204370B2 (ja) 2018-08-08 2018-08-08 流量計測装置
JP2018-149045 2018-08-08

Related Child Applications (1)

Application Number Title Priority Date Filing Date
US17/168,908 Continuation US11262223B2 (en) 2018-08-08 2021-02-05 Flowmeter

Publications (1)

Publication Number Publication Date
WO2020031518A1 true WO2020031518A1 (ja) 2020-02-13

Family

ID=69415554

Family Applications (1)

Application Number Title Priority Date Filing Date
PCT/JP2019/024444 Ceased WO2020031518A1 (ja) 2018-08-08 2019-06-20 流量計測装置

Country Status (4)

Country Link
US (1) US11262223B2 (enExample)
JP (1) JP7204370B2 (enExample)
DE (1) DE112019003970T5 (enExample)
WO (1) WO2020031518A1 (enExample)

Citations (5)

* Cited by examiner, † Cited by third party
Publication number Priority date Publication date Assignee Title
JPH10332453A (ja) * 1997-05-28 1998-12-18 Mitsubishi Electric Corp 感熱式流量センサおよび内燃機関の吸気装置
JP2000346688A (ja) * 1999-06-08 2000-12-15 Mitsubishi Electric Corp 流量センサ
JP2010014489A (ja) * 2008-07-02 2010-01-21 Mitsubishi Electric Corp 流量測定装置
JP2011112569A (ja) * 2009-11-27 2011-06-09 Denso Corp 空気流量測定装置
WO2017073276A1 (ja) * 2015-10-28 2017-05-04 日立オートモティブシステムズ株式会社 熱式流量計

Family Cites Families (4)

* Cited by examiner, † Cited by third party
Publication number Priority date Publication date Assignee Title
JP2003329495A (ja) * 2002-05-13 2003-11-19 Mitsubishi Electric Corp 空気流量測定装置およびその取り付け構造
JP4488031B2 (ja) * 2007-06-14 2010-06-23 株式会社デンソー 空気流量測定装置
JP6690899B2 (ja) * 2015-06-29 2020-04-28 株式会社デンソー 空気流量測定装置
DE112018003485T5 (de) * 2017-09-29 2020-03-19 Hitachi Automotive Systems, Ltd. Detektionsvorrichtung für physikalische Größen

Patent Citations (5)

* Cited by examiner, † Cited by third party
Publication number Priority date Publication date Assignee Title
JPH10332453A (ja) * 1997-05-28 1998-12-18 Mitsubishi Electric Corp 感熱式流量センサおよび内燃機関の吸気装置
JP2000346688A (ja) * 1999-06-08 2000-12-15 Mitsubishi Electric Corp 流量センサ
JP2010014489A (ja) * 2008-07-02 2010-01-21 Mitsubishi Electric Corp 流量測定装置
JP2011112569A (ja) * 2009-11-27 2011-06-09 Denso Corp 空気流量測定装置
WO2017073276A1 (ja) * 2015-10-28 2017-05-04 日立オートモティブシステムズ株式会社 熱式流量計

Also Published As

Publication number Publication date
DE112019003970T5 (de) 2021-04-15
US20210156721A1 (en) 2021-05-27
JP7204370B2 (ja) 2023-01-16
JP2020024151A (ja) 2020-02-13
US11262223B2 (en) 2022-03-01

Similar Documents

Publication Publication Date Title
US8701474B2 (en) Air flow measuring device
JP6502573B2 (ja) 熱式流量計
JP6114673B2 (ja) 熱式流量計
JP2022084957A (ja) 物理量計測装置
JP6995020B2 (ja) 物理量検出装置
CN108139248B (zh) 热式流量计
JP6838249B2 (ja) 熱式流量計
WO2020031518A1 (ja) 流量計測装置
US11391610B2 (en) Flow rate measurement device
JP6438707B2 (ja) 熱式流量計
CN113597538A (zh) 物理量检测装置
JP6723075B2 (ja) 熱式流量計
CN113924467B (zh) 物理量检测装置
JP7168390B2 (ja) 流量測定装置
JP2020003294A (ja) 物理量検出装置
US10718647B2 (en) Thermal flowmeter including an inclined passage
WO2020059540A1 (ja) 流量測定装置
WO2019142565A1 (ja) 熱式流量計
JP2020098179A (ja) 物理量測定装置

Legal Events

Date Code Title Description
121 Ep: the epo has been informed by wipo that ep was designated in this application

Ref document number: 19847904

Country of ref document: EP

Kind code of ref document: A1

122 Ep: pct application non-entry in european phase

Ref document number: 19847904

Country of ref document: EP

Kind code of ref document: A1