WO2020027333A1 - 蓄電デバイス用外装材、その製造方法、及び蓄電デバイス - Google Patents

蓄電デバイス用外装材、その製造方法、及び蓄電デバイス Download PDF

Info

Publication number
WO2020027333A1
WO2020027333A1 PCT/JP2019/030582 JP2019030582W WO2020027333A1 WO 2020027333 A1 WO2020027333 A1 WO 2020027333A1 JP 2019030582 W JP2019030582 W JP 2019030582W WO 2020027333 A1 WO2020027333 A1 WO 2020027333A1
Authority
WO
WIPO (PCT)
Prior art keywords
layer
storage device
thickness
power storage
exterior material
Prior art date
Legal status (The legal status is an assumption and is not a legal conclusion. Google has not performed a legal analysis and makes no representation as to the accuracy of the status listed.)
Ceased
Application number
PCT/JP2019/030582
Other languages
English (en)
French (fr)
Japanese (ja)
Inventor
秀仁 畑中
山下 孝典
寛典 上所
Current Assignee (The listed assignees may be inaccurate. Google has not performed a legal analysis and makes no representation or warranty as to the accuracy of the list.)
Dai Nippon Printing Co Ltd
Original Assignee
Dai Nippon Printing Co Ltd
Priority date (The priority date is an assumption and is not a legal conclusion. Google has not performed a legal analysis and makes no representation as to the accuracy of the date listed.)
Filing date
Publication date
Application filed by Dai Nippon Printing Co Ltd filed Critical Dai Nippon Printing Co Ltd
Priority to JP2019571092A priority Critical patent/JP6690800B1/ja
Publication of WO2020027333A1 publication Critical patent/WO2020027333A1/ja
Anticipated expiration legal-status Critical
Ceased legal-status Critical Current

Links

Images

Classifications

    • HELECTRICITY
    • H01ELECTRIC ELEMENTS
    • H01MPROCESSES OR MEANS, e.g. BATTERIES, FOR THE DIRECT CONVERSION OF CHEMICAL ENERGY INTO ELECTRICAL ENERGY
    • H01M50/00Constructional details or processes of manufacture of the non-active parts of electrochemical cells other than fuel cells, e.g. hybrid cells
    • H01M50/10Primary casings; Jackets or wrappings
    • BPERFORMING OPERATIONS; TRANSPORTING
    • B32LAYERED PRODUCTS
    • B32BLAYERED PRODUCTS, i.e. PRODUCTS BUILT-UP OF STRATA OF FLAT OR NON-FLAT, e.g. CELLULAR OR HONEYCOMB, FORM
    • B32B15/00Layered products comprising a layer of metal
    • B32B15/04Layered products comprising a layer of metal comprising metal as the main or only constituent of a layer, which is next to another layer of the same or of a different material
    • B32B15/08Layered products comprising a layer of metal comprising metal as the main or only constituent of a layer, which is next to another layer of the same or of a different material of synthetic resin
    • B32B15/088Layered products comprising a layer of metal comprising metal as the main or only constituent of a layer, which is next to another layer of the same or of a different material of synthetic resin comprising polyamides
    • HELECTRICITY
    • H01ELECTRIC ELEMENTS
    • H01GCAPACITORS; CAPACITORS, RECTIFIERS, DETECTORS, SWITCHING DEVICES, LIGHT-SENSITIVE OR TEMPERATURE-SENSITIVE DEVICES OF THE ELECTROLYTIC TYPE
    • H01G11/00Hybrid capacitors, i.e. capacitors having different positive and negative electrodes; Electric double-layer [EDL] capacitors; Processes for the manufacture thereof or of parts thereof
    • H01G11/78Cases; Housings; Encapsulations; Mountings
    • HELECTRICITY
    • H01ELECTRIC ELEMENTS
    • H01GCAPACITORS; CAPACITORS, RECTIFIERS, DETECTORS, SWITCHING DEVICES, LIGHT-SENSITIVE OR TEMPERATURE-SENSITIVE DEVICES OF THE ELECTROLYTIC TYPE
    • H01G11/00Hybrid capacitors, i.e. capacitors having different positive and negative electrodes; Electric double-layer [EDL] capacitors; Processes for the manufacture thereof or of parts thereof
    • H01G11/84Processes for the manufacture of hybrid or EDL capacitors, or components thereof
    • HELECTRICITY
    • H01ELECTRIC ELEMENTS
    • H01MPROCESSES OR MEANS, e.g. BATTERIES, FOR THE DIRECT CONVERSION OF CHEMICAL ENERGY INTO ELECTRICAL ENERGY
    • H01M50/00Constructional details or processes of manufacture of the non-active parts of electrochemical cells other than fuel cells, e.g. hybrid cells
    • H01M50/10Primary casings; Jackets or wrappings
    • H01M50/14Primary casings; Jackets or wrappings for protecting against damage caused by external factors
    • H01M50/141Primary casings; Jackets or wrappings for protecting against damage caused by external factors for protecting against humidity
    • YGENERAL TAGGING OF NEW TECHNOLOGICAL DEVELOPMENTS; GENERAL TAGGING OF CROSS-SECTIONAL TECHNOLOGIES SPANNING OVER SEVERAL SECTIONS OF THE IPC; TECHNICAL SUBJECTS COVERED BY FORMER USPC CROSS-REFERENCE ART COLLECTIONS [XRACs] AND DIGESTS
    • Y02TECHNOLOGIES OR APPLICATIONS FOR MITIGATION OR ADAPTATION AGAINST CLIMATE CHANGE
    • Y02EREDUCTION OF GREENHOUSE GAS [GHG] EMISSIONS, RELATED TO ENERGY GENERATION, TRANSMISSION OR DISTRIBUTION
    • Y02E60/00Enabling technologies; Technologies with a potential or indirect contribution to GHG emissions mitigation
    • Y02E60/10Energy storage using batteries

Definitions

  • the present disclosure relates to a power storage device exterior material, a method for manufacturing the same, and a power storage device.
  • a packaging material (outer packaging material) is an indispensable member for sealing the power storage device elements such as electrodes and electrolytes.
  • metal exterior materials have been frequently used as exterior materials for power storage devices.
  • a concave portion is generally formed by cold molding, and an electricity storage device element such as an electrode or an electrolytic solution is arranged in a space formed by the concave portion.
  • an electricity storage device element such as an electrode or an electrolytic solution is arranged in a space formed by the concave portion.
  • the present disclosure provides a technology for suppressing curling due to molding of an exterior material for an electric storage device having a base material layer having a polyamide film, having a predetermined thickness, and having excellent insulating properties.
  • the main purpose is to
  • the present inventors have focused on reducing the molding curl by paying attention to the laminated structure of the power storage device exterior material in the exterior storage material for the power storage device using at least the base layer having a polyamide film.
  • the present inventors have found that it is possible to provide an exterior material for an electric storage device in which molding curl is significantly suppressed as compared with a conventional exterior material for an electric storage device.
  • the thickness of the polyamide film layer is set to a range of 10 ⁇ m to 17 ⁇ m, and By setting the thickness of the layer to be in the range of 36 ⁇ m or more and 44 ⁇ m or less, the thickness of the exterior material for the power storage device is relatively thin, and the curl due to molding is effectively suppressed despite having excellent insulating properties. And found it to be an exterior material for use.
  • the present inventors set the total thickness of the laminate constituting the exterior material for an electricity storage device to a specific range of 83.1 ⁇ m or more and 98 ⁇ m or less, and then increased the thickness of the surface coating layer to 0.1 ⁇ m or more and 5 ⁇ m or less.
  • the thickness of the polyamide film layer is in the range of 10 ⁇ m to 17 ⁇ m and the thickness of the barrier layer is in the range of 36 ⁇ m to 44 ⁇ m.
  • the present inventors have found that a curling due to molding can be effectively suppressed to provide an exterior material for a power storage device.
  • Item 1 At least, a base layer, a barrier layer, and a heat-fusible resin layer, which is configured from a laminate including in this order,
  • the base material layer has at least a polyamide film layer,
  • the thickness of the polyamide film layer is 10 ⁇ m or more and 17 ⁇ m or less
  • the thickness of the barrier layer is 36 ⁇ m or more and 44 ⁇ m or less
  • the exterior material for an electric storage device wherein the thickness of the laminate is 83 ⁇ m or more and 93 ⁇ m or less.
  • An adhesive layer is provided between the barrier layer and the heat-fusible resin layer, The thickness of the adhesive layer is 8 ⁇ m or more and 22 ⁇ m or less, Item 2.
  • the exterior material for an electric storage device according to Item 1 wherein the thickness of the heat-fusible resin layer is 8 ⁇ m or more and 22 ⁇ m or less.
  • An adhesive layer is provided between the barrier layer and the heat-fusible resin layer, The thickness of the adhesive layer is 1 ⁇ m or more and 5 ⁇ m or less, Item 2.
  • the exterior material for an electric storage device according to Item 1 wherein the thickness of the heat-fusible resin layer is 18 ⁇ m or more and 34 ⁇ m or less.
  • the laminate has a breaking energy per unit width of 1 m in MD and a breaking energy per unit width of 1 m in TD calculated from a curve of “measured load (N / 15 mm) ⁇ displacement” measured by a tensile test.
  • the base material layer has at least a polyamide film layer,
  • the thickness of the polyamide film layer is 10 ⁇ m or more and 17 ⁇ m or less
  • the thickness of the barrier layer is 36 ⁇ m or more and 44 ⁇ m or less
  • the method for manufacturing an exterior material for an electricity storage device, wherein the thickness of the laminate is 83 ⁇ m or more and 93 ⁇ m or less.
  • a surface coating layer, a base material layer, a barrier layer, and a heat-fusible resin layer which is composed of a laminate including in this order
  • the base material layer has at least a polyamide film layer
  • the thickness of the surface coating layer is 0.1 ⁇ m or more and 5 ⁇ m or less
  • the thickness of the polyamide film layer is 10 ⁇ m or more and 17 ⁇ m or less
  • the thickness of the barrier layer is 36 ⁇ m or more and 44 ⁇ m or less
  • the exterior material for an electric storage device wherein the thickness of the laminate is 83.1 ⁇ m or more and 98 ⁇ m or less.
  • the present disclosure it is possible to provide a technology for suppressing curling due to molding of a power storage device packaging material having a base material layer having a polyamide film, having a predetermined thickness, and having excellent insulation properties. Further, according to the present disclosure, it is also possible to provide a method of manufacturing an exterior material for a power storage device, and a power storage device.
  • 1 is a schematic diagram illustrating an example of a cross-sectional structure of a power storage device exterior material of the present disclosure.
  • 1 is a schematic diagram illustrating an example of a cross-sectional structure of a power storage device exterior material of the present disclosure.
  • 1 is a schematic diagram illustrating an example of a cross-sectional structure of a power storage device exterior material of the present disclosure.
  • 1 is a schematic diagram illustrating an example of a cross-sectional structure of a power storage device exterior material of the present disclosure.
  • 1 is a schematic diagram illustrating an example of a cross-sectional structure of a power storage device exterior material of the present disclosure.
  • 1 is a schematic diagram illustrating an example of a cross-sectional structure of a power storage device exterior material of the present disclosure.
  • FIG. 4 is a schematic diagram for explaining a method of evaluating curl due to molding of an exterior material for a power storage device.
  • FIG. 4 is a schematic diagram for explaining a method of evaluating curl due to molding of an exterior material for a power storage device. It is a schematic diagram of the barrier layer of the test sample after shaping
  • FIG. 5 is a schematic diagram of a measured load (N / 15 mm) -displacement curve (MD) obtained in a tensile test of an exterior material for a power storage device.
  • FIG. 6 is a schematic diagram showing a portion where data of a curve of a measured load (N / 15 mm) -displacement amount is integrated.
  • This disclosure includes the following first disclosure and second disclosure.
  • first disclosure for items that are different between the first disclosure and the second disclosure, it is specified which disclosure is the explanation, and for items that are common to the first disclosure and the second disclosure, The first disclosure and the second disclosure will be described without distinction.
  • An exterior material for a power storage device is configured of a laminate including at least a base layer, a barrier layer, and a heat-fusible resin layer in this order, and the base layer is at least a polyamide film.
  • a thickness of the polyamide film layer is 10 ⁇ m or more and 17 ⁇ m or less
  • a thickness of the barrier layer is 36 ⁇ m or more and 44 ⁇ m or less
  • a thickness of the laminate is 83 ⁇ m or more and 93 ⁇ m or less. It is characterized by.
  • the exterior material for an electricity storage device is configured of a laminate including at least a surface coating layer, a base material layer, a barrier layer, and a heat-fusible resin layer in this order.
  • a laminate including at least a surface coating layer, a base material layer, a barrier layer, and a heat-fusible resin layer in this order.
  • the thickness of the surface coating layer is 0.1 ⁇ m or more and 5 ⁇ m or less
  • the thickness of the polyamide film layer is 10 ⁇ m or more and 17 ⁇ m or less
  • the thickness of the barrier layer is Is not less than 36 ⁇ m and not more than 44 ⁇ m
  • the thickness of the laminate is not less than 83.1 ⁇ m and not more than 98 ⁇ m.
  • a numerical range indicated by “to” means “over” and “below”.
  • the notation of 2 to 15 mm means 2 mm or more and 15 mm or less.
  • the thickness of each layer constituting the laminate is a value rounded off to the first decimal place.
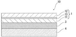
  • the energy storage device exterior material 10 of the first disclosure includes, for example, a base layer 1, a barrier layer 3, and a heat-fusible resin layer 4 in this order, as shown in FIG. It is composed of a laminate.
  • the exterior material 10 for a power storage device according to the second disclosure includes a stack including a surface coating layer 6, a base layer 1, a barrier layer 3, and a heat-fusible resin layer 4 in this order. It is composed of the body.
  • the base material layer 1 is on the outermost layer side
  • the heat-fusible resin layer 4 is on the innermost layer.
  • the peripheral portion is heat-fused with the heat-fusible resin layers 4 of the power storage device exterior material 10 facing each other.
  • the power storage device element is housed in the space formed by the above.
  • the base material layer 1 only needs to have at least the polyamide film layer 11, and may be constituted only by the polyamide film layer 11 as shown in FIG. 1 or as shown in FIGS. For example, it may have a polyamide film layer 11 and a polyester film layer 12. From the viewpoint of more effectively suppressing curling due to molding of the power storage device exterior material of the present disclosure, it is preferable that the base material layer 1 be constituted only by the polyamide film layer 11.
  • any of the polyamide film layer 11 and the polyester film layer 12 may be located on the outermost layer side. It is preferable that the polyamide film layer 11 and the polyester film layer 12 are laminated in order from the barrier layer 3 side, from the viewpoint of enhancing the resistance to the electrolytic solution on the outer surface of the device packaging material.
  • the polyamide film layer 11 and the polyester film layer 12 may be laminated so as to be in contact with each other, or, for example, as shown in FIG.
  • the film layer 12 is adhered by an adhesive, and an adhesive layer 13 may be provided between these layers.
  • the exterior material for a power storage device may include an adhesive layer 2 between a base material layer 1 and a barrier layer 3 for the purpose of enhancing their adhesion. May be provided.
  • an adhesive layer 5 may be provided between the barrier layer 3 and the heat-fusible resin layer 4 as needed for the purpose of enhancing the adhesiveness between them.
  • the outer surface of the base material layer 1 similarly to the second disclosure, as shown in FIG. 6, may have a surface if necessary.
  • a coating layer 6 or the like may be provided.
  • the thickness of the laminate constituting the exterior material for a power storage device of the first disclosure is set to a specific range of 83 to 93 ⁇ m.
  • the thickness of the laminate is set to the range, and the thickness of the polyamide film layer 11 and the barrier layer 3 described later are set to specific ranges, respectively. Curling due to molding is suppressed, despite the relatively small thickness of the exterior material for a power storage device.
  • the thickness of the laminate is preferably at least 85 ⁇ m, more preferably at least 86 ⁇ m, even more preferably at least 87 ⁇ m.
  • the upper limit is preferably 91 ⁇ m or less, more preferably about 90 ⁇ m or less, and still more preferably about 89 ⁇ m or less.
  • the preferred ranges are about 83 to 91 ⁇ m, about 83 to 90 ⁇ m, and about 83 to 89 ⁇ m.
  • the thickness of the laminate is equal to or more than the lower limit, the moldability and the insulating property can be enhanced, and the curl due to the molding can be more effectively suppressed.
  • the thickness of the laminate is equal to or less than the upper limit, curling due to molding of the power storage device exterior material is suppressed, and while the insulating property is increased, the power storage device exterior material is thinned, and the volume of the power storage device element is reduced. To increase the energy density.
  • the thickness of the laminate constituting the exterior material for a power storage device of the second disclosure is set to a specific range of 83.1 to 98 ⁇ m.
  • the thicknesses of the surface coating layer 6, the polyamide film layer 11, and the barrier layer 3 described later are respectively set to specific ranges.
  • the lower limit of the thickness of the laminate is preferably about 85.1 ⁇ m or more.
  • the upper limit is preferably at most about 96 ⁇ m, more preferably at most about 94 ⁇ m, even more preferably at most about 92 ⁇ m, and the preferred range is 83.
  • the thickness of the laminate is equal to or less than the upper limit, curling due to molding of the power storage device exterior material is suppressed, the power storage device exterior material is thinned, and the volume of the power storage device element is increased, Energy density can be increased.
  • the base material layer 1 and the adhesive layer 2 provided as needed with respect to the thickness (total thickness) of the laminate constituting the power storage device packaging material
  • the ratio of the total thickness of the barrier layer 3, the optional adhesive layer 5, the heat-fusible resin layer 4, and the optional surface coating layer 6 is preferably 90% or more, and more preferably. Is 95% or more, more preferably 98% or more.
  • the exterior material for an electricity storage device of the present disclosure includes the base layer 1, the adhesive layer 2, the barrier layer 3, the adhesive layer 5, and the heat-fusible resin layer 4, the exterior material for the electricity storage device is The ratio of the total thickness of each of these layers to the thickness (total thickness) of the laminate constituting No.
  • the lamination constituting the power storage device exterior material 10 is preferably 90% or more, more preferably 95% or more, and even more preferably 98% or more.
  • the lamination constituting the power storage device exterior material 10 is also provided.
  • the ratio of the total thickness of each of these layers to the thickness (total thickness) of the body is preferably 90% or more, more preferably 95% or more, and further preferably 98% or more.
  • the total thickness of the layers located inside the barrier layer 3 is preferably about 16 ⁇ m or more, It is more preferably about 19 ⁇ m or more, and further preferably about 25 ⁇ m or more. Further, the total thickness is preferably about 44 ⁇ m or less, more preferably about 39 ⁇ m or less, and still more preferably about 33 ⁇ m or less.
  • Preferred ranges of the total thickness are about 16 to 44 ⁇ m, about 16 to 39 ⁇ m, about 16 to 33 ⁇ m, about 19 to 44 ⁇ m, about 19 to 39 ⁇ m, about 19 to 33 ⁇ m, about 25 to 44 ⁇ m, about 25 to 39 ⁇ m, and about 25 to 39 ⁇ m.
  • each layer or the thickness of the laminated body of the power storage device packaging material of the present disclosure is determined by cutting the power storage device packaging material in the thickness direction using, for example, a microtome (manufactured by Daiwa Koki Kogyo Co., Ltd .: REM-710 Retorome). Then, the exterior material for a power storage device is divided into two parts, and the obtained cross section can be measured by observing it with, for example, a laser microscope (manufactured by Keyence: VK-9700).
  • the exterior material for an electricity storage device of the present disclosure has a molding depth at which the thickness of a barrier layer 3 described later is 20 ⁇ m (that is, when the exterior material for an electricity storage device of the present disclosure is used for molding,
  • the molding depth when the thickness of the barrier layer 3 becomes 20 ⁇ m) is preferably 4.5 mm or more, more preferably 5.0 mm or more, and the upper limit is preferably 10.0 mm or less, more preferably Is about 8.0 mm or less, and a preferable range is about 4.5 to 10.0 mm, about 4.5 to 8.0 mm, about 5.0 to 10.0 mm, and about 5.0 to 8.0 mm. .
  • the molding depth is, by the method of cold molding, under the condition that the molding depth is increased from 2.0 mm by 0.5 mm at a time, the exterior material for the electricity storage device is molded sequentially, and the barrier layer of the test sample after molding is formed.
  • the relationship between the thickness a of the corner P (see FIG. 9) and the molding depth is plotted, and an approximate straight line is drawn to create a graph. From the graph, the thickness a of the corner P of the barrier layer 3 is 20 ⁇ m. Is obtained. Specifically, it is a value measured by the method described in the examples.
  • the limit forming depth of the exterior material for an electricity storage device of the present disclosure is preferably 4.0 mm or more, more preferably 5.5 mm or more for the lower limit, and preferably 12.0 mm or less for the upper limit. 10.0 mm or less, and a preferable range is about 4.0 to 12.0 mm, about 4.0 to 10.0 mm, about 5.5 to 12.0 mm, and about 5.5 to 10.0 mm.
  • the limit forming depth is defined as the forming depth of a 0.5 mm unit from a forming depth of 0.5 mm at a holding pressure (surface pressure) of 0.25 MPa using a rectangular forming die for an exterior material for a power storage device.
  • the pinhole was formed in the barrier layer, the deepest forming depth where cracks did not occur in all of the 20 samples was Amm, and the pinhole was formed in the barrier layer.
  • the number of samples in which pinholes and the like have occurred at the shallowest molding depth where B and the like have occurred is B, and the value calculated by the following equation is defined as the limit molding depth of the exterior material for a power storage device.
  • Limit forming depth Amm + (0.5 mm / 20 pieces) ⁇ (20 pieces ⁇ B pieces). Specifically, it is a value measured by the method described in the examples. When the limit forming depth is equal to or more than the lower limit, the exterior material for a power storage device can be applied to a high-capacity power storage device.
  • the laminate constituting the exterior material for a power storage device of the present disclosure has a breaking energy (MD (Machine) per unit width of 1 m calculated from a curve of “measured load (N / 15 mm) ⁇ displacement” measured by a tensile test.
  • MD Machine
  • the sum of the breaking energy per unit width in Direction) and the breaking energy per unit width in TD (Transverse Direction) is preferably 100 J or more, more preferably 150 J or more, from the viewpoint of more excellent moldability. More preferably, it is 260 J or more, more preferably 280 J or more, and the upper limit is preferably 650 J or less, more preferably 450 J or less, further preferably 400 J or less, and still more preferably 380 J or less.
  • the breaking energy is a value measured by the method described in Examples.
  • the tensile test means a test of tensile properties.
  • the breaking energy When the breaking energy is equal to or more than the lower limit, the moldability and the insulating property can be improved while curling due to the molding of the exterior material for a power storage device is suppressed. Further, when the breaking energy is equal to or less than the upper limit, curling due to molding of the exterior material for a power storage device can be more effectively suppressed.
  • the materials and thicknesses of the base material layer 1, the barrier layer 3, and the heat-fusible resin layer 4 constituting the laminate are adjusted.
  • the layer that most contributes to the magnitude of the breaking energy includes the base material layer 1.
  • a material constituting the base material layer 1 a material described later is used.
  • a type of a film forming method and conditions at the time of film forming for example, a film forming temperature, a stretching ratio, The cooling temperature, the cooling rate, and the heat setting temperature after stretching
  • the film forming method include a T-die method, a calendar method, and a tubular method.
  • a heating step of the laminate after laminating each layer (for example, a heating step after obtaining a laminate of a base material layer / adhesive layer / barrier layer, and an adhesive layer / In a heating step after laminating the heat-fusible resin layer, etc.), it is preferable to heat at an appropriate temperature and for an appropriate time.
  • the upper limit of the heating temperature in the heating step is preferably about 185 ° C. or lower, more preferably about 180 ° C. or lower, further preferably 178 ° C. or lower, and the lower limit of the heating temperature is preferably 150 ° C.
  • the preferable range of the heating temperature in the heating step is about 150 to 185 ° C, about 150 to 180 ° C, about 150 to 178 ° C, about 160 to 185 ° C, about 160 to 180 ° C, about 160 to 178 ° C, and about 165 to 185 ° C.
  • the upper limit of the heating time in the heating step is preferably 30 minutes or less, more preferably 15 minutes or less, further preferably 10 minutes or less, and the lower limit is preferably 0.1 minutes or more, more preferably 0.5 minutes or more, more preferably 1 minute or more.
  • the heating temperature and the heating time in the heating step are preferably combined from these.
  • the MD (Machine Direction) and the TD (Transverse Direction) in the manufacturing process of the barrier layer 3 described later can be generally distinguished.
  • the barrier layer 3 is made of an aluminum foil
  • a linear streak called a so-called rolling mark is formed on the surface of the aluminum foil in the rolling direction (RD: Rolling Direction) of the aluminum foil. Since the rolling marks extend along the rolling direction, the rolling direction of the aluminum foil can be grasped by observing the surface of the aluminum foil.
  • the MD of the laminate and the RD of the aluminum foil usually match, the surface of the aluminum foil of the laminate is observed, and the rolling direction (RD) of the aluminum foil is specified. Thereby, the MD of the laminate can be specified.
  • the TD of the stacked body is perpendicular to the MD of the stacked body, the TD of the stacked body can be specified.
  • the base material layer 1 is a layer provided for the purpose of, for example, exerting a function as a base material of the exterior material for a power storage device.
  • the base layer 1 is located on the outer layer side of the power storage device exterior material.
  • the base material layer 1 has at least a polyamide film layer 11. As described above, the base material layer 1 may be composed of only the polyamide film layer 11 or may have the polyamide film layer 11 and the polyester film layer 12.
  • the polyamide film layer 11 and the polyester film layer 12 may each be a resin film or may be formed by applying a resin.
  • the resin may contain additives described below.
  • the resin film may be an unstretched film or a stretched film.
  • the stretched film include a uniaxially stretched film and a biaxially stretched film, and a biaxially stretched film is preferable.
  • a stretching method for forming a biaxially stretched film include a sequential biaxial stretching method, an inflation method, and a simultaneous biaxial stretching method.
  • the method for applying the resin include a roll coating method, a gravure coating method, and an extrusion coating method.
  • polyamide constituting the polyamide film layer 11 include aliphatic polyamides such as nylon 6, nylon 66, nylon 610, nylon 12, nylon 46, and a copolymer of nylon 6 and nylon 66; Hexamethylenediamine-isophthalic acid-terephthalic acid copolymers such as nylon 6I, nylon 6T, nylon 6IT, and nylon 6I6T (I represents isophthalic acid and T represents terephthalic acid) containing structural units derived from an acid and / or isophthalic acid Polyamide containing polyamide such as polyamide, polyamide MXD6 (polymethaxylylene adipamide); alicyclic polyamide such as polyamide PACM6 (polybis (4-aminocyclohexyl) methane adipamide); lactam component and 4,4′-diphenylmethane -Diiso Polyamides obtained by copolymerizing isocyanate components such as anates, polyesteramide copolymers and polyetheresteramide
  • the polyamide film layer 11 is preferably made of a stretched polyamide film, furthermore, a biaxially stretched polyamide film, particularly a biaxially stretched nylon film.
  • the base material layer 1 may be a single layer or may be composed of two or more layers.
  • the base material layer 1 may be a laminate in which a resin film is laminated with an adhesive or the like, or may be co-extruded with a resin to form two or more layers. It may be a laminated body of a resin film obtained.
  • a laminate of resin films in which two or more layers are formed by co-extrusion of a resin may be used as the base material layer 1 without stretching, or may be used as the base material layer 1 by uniaxial stretching or biaxial stretching.
  • the thickness of the polyamide film layer 11 is set in a specific range of 10 to 17 ⁇ m. From the viewpoint of enhancing the formability and the insulating property while suppressing the curl due to the molding of the exterior material for a power storage device more preferably, the lower limit of the thickness of the polyamide film layer 11 is preferably about 11 ⁇ m or more, more preferably about 12 ⁇ m or more.
  • the upper limit is preferably about 17 ⁇ m or less, more preferably 16 ⁇ m or less, and still more preferably 15 ⁇ m or less
  • the preferred range is about 10 to 16 ⁇ m, about 10 to 15 ⁇ m, About 11 to 17 ⁇ m, about 11 to 16 ⁇ m, about 11 to 15 ⁇ m, about 12 to 17 ⁇ m, about 12 to 16 ⁇ m, about 12 to 15 ⁇ m, about 13 to 17 ⁇ m, about 13 to 16 ⁇ m, and about 13 to 15 ⁇ m.
  • the thickness of the polyamide film layer 11 is equal to or greater than the lower limit, the moldability can be improved while curling due to molding of the exterior material for an electricity storage device can be improved. Curling due to molding can be effectively suppressed while reducing the thickness of the device exterior material.
  • polyester constituting the polyester film layer 12 examples include polyethylene terephthalate, polybutylene terephthalate, polyethylene naphthalate, polybutylene naphthalate, polyethylene isophthalate, and copolymerized polyester.
  • copolymerized polyester examples include a copolymerized polyester mainly composed of ethylene terephthalate as a repeating unit.
  • a copolymer polyester (hereinafter abbreviated to polyethylene (terephthalate / isophthalate)) which is polymerized with ethylene isophthalate with ethylene terephthalate as a main repeating unit, polyethylene (terephthalate / adipate), polyethylene (terephthalate / Sodium sulfoisophthalate), polyethylene (terephthalate / sodium isophthalate), polyethylene (terephthalate / phenyl-dicarboxylate), polyethylene (terephthalate / decanedicarboxylate) and the like.
  • These polyesters may be used alone or in a combination of two or more.
  • the polyester film layer 12 is preferably made of a biaxially stretched polyester film, particularly a biaxially stretched polyethylene terephthalate film.
  • the thickness of the polyester film layer 12 may be, for example, the thickness of the laminate constituting the exterior material for an electric storage device, the thickness of the polyamide film layer 11, and the thickness of the barrier layer 3.
  • the thickness is not particularly limited as long as it is set within the above-mentioned predetermined range of the present disclosure, and may be, for example, about 17 ⁇ m or less, preferably about 17 to 8 ⁇ m, and more preferably about 17 to 10 ⁇ m.
  • the thickness of the polyester film layer 12 is equal to or more than the above lower limit value, it is possible to increase the insulation while suppressing curling due to the molding of the exterior material for a power storage device.
  • the thickness of the polyester film layer 12 is equal to or less than the upper limit, curling due to molding can be effectively suppressed while reducing the thickness of the exterior material for an electric storage device.
  • the lamination order of the polyamide film layer 11 and the polyester film layer 12 is not particularly limited, but from the viewpoint of improving the electrolytic solution resistance of the exterior material for a power storage device, from the barrier layer 3 side described later. It is preferable that the polyamide film layer 11 and the polyester film layer 12 are laminated in this order.
  • the polyamide film layer 11 and the polyester film layer 12 may be laminated so as to be in contact with each other, or for example, as shown in FIG. And an adhesive layer 13 may be provided between these layers.
  • an adhesive layer 13 may be provided between these layers.
  • a method of bonding in a hot melt state such as a co-extrusion method, a sand laminating method, and a thermal laminating method may be mentioned.
  • the adhesive used may be a two-part curable adhesive or a one-part curable adhesive.
  • the adhesive is not particularly limited, and may be any of a chemical reaction type, a solvent volatilization type, a hot-melt type, a hot pressure type, an ultraviolet curable type, and an electron beam curable type.
  • the thickness of the adhesive layer 13 located between the polyamide film layer 11 and the polyester film layer 12 is preferably about 0.1 to 5 ⁇ m, more preferably about 0.5 to 3 ⁇ m.
  • the adhesive layer 13 may contain the same coloring agent as the adhesive layer 2 described later.
  • the base material layer 1 may further include another layer in addition to the polyamide film layer 11 and the polyester film layer 12 provided as needed.
  • the material forming the other layers is not particularly limited as long as it has insulating properties.
  • a material for forming another layer for example, polyester, polyamide, epoxy resin, acrylic resin, fluororesin, polyurethane, silicon resin, phenolic resin, polyetherimide, polyimide, and mixtures and copolymers thereof And the like.
  • the thickness of the other layer is preferably about 1 to 20 ⁇ m, more preferably about 1 to 10 ⁇ m.
  • additives such as a lubricant, a flame retardant, an antiblocking agent, an antioxidant, a light stabilizer, a tackifier, and an antistatic agent are present on at least one of the surface and the inside of the base material layer 1. Good. Only one type of additive may be used, or two or more types may be mixed and used.
  • a lubricant is present on the surface of the base material layer 1 from the viewpoint of enhancing the moldability of the exterior material for an electric storage device.
  • the lubricant is not particularly limited, but preferably includes an amide-based lubricant exemplified in the heat-fusible resin layer 4 described below.
  • the amount thereof is not particularly limited, but is preferably about 3 mg / m 2 or more, more preferably about 4 to 15 mg / m 2 , and still more preferably 5 to 14 mg / m 2. / M 2 .
  • the lubricant present on the surface of the base material layer 1 may be obtained by oozing out the lubricant contained in the resin constituting the base material layer 1 or by applying the lubricant to the surface of the base material layer 1. You may.
  • the overall thickness of the base material layer 1 may be reduced, while reducing the total thickness of the power storage device packaging material, suppressing curl due to molding, improving moldability and insulating properties, and further improving the insulating properties.
  • the lower limit is preferably at least 10 ⁇ m, more preferably at least 12 ⁇ m or at least 13 ⁇ m
  • the upper limit is preferably at most about 20 ⁇ m, more preferably at most 19 ⁇ m, further preferably at most 17 ⁇ m.
  • Preferred ranges are about 10 to 20 ⁇ m, about 10 to 19 ⁇ m, about 10 to 17 ⁇ m, about 12 to 20 ⁇ m, about 12 to 19 ⁇ m, about 12 to 17 ⁇ m, about 13 to 20 ⁇ m, about 13 to 19 ⁇ m, and about 13 to 19 ⁇ m.
  • the overall thickness of the base material layer 1 is equal to or greater than the lower limit, curling due to molding of the exterior material for a power storage device can be suppressed, and insulation can be improved.
  • the overall thickness of the base material layer 1 is equal to or less than the upper limit, curling due to molding can be effectively suppressed while reducing the thickness of the exterior material for an electric storage device.
  • the base material layer 1 is composed of two or more layers and these layers are bonded by an adhesive layer such as the adhesive layer 13, the entire thickness of the base material layer 1 Does not include the thickness of the adhesive layer.
  • the adhesive layer 2 is a layer provided between the base layer 1 and the barrier layer 3 as necessary for the purpose of enhancing the adhesion between the base layer 1 and the barrier layer 3. .
  • the adhesive layer 2 is formed of an adhesive capable of adhering the base material layer 1 and the barrier layer 3.
  • the adhesive used for forming the adhesive layer 2 is not limited, but may be any of a chemical reaction type, a solvent volatilization type, a hot-melt type, a hot pressure type, and the like. Further, it may be a two-part curable adhesive (two-part adhesive), a one-part curable adhesive (one-part adhesive), or a resin that does not involve a curing reaction. Further, the adhesive used for forming the adhesive layer 2 may be any of a chemical reaction type, a solvent volatilization type, a hot-melt type, a hot pressure type, and the like.
  • the adhesive layer 2 may be a single layer or a multilayer.
  • the adhesive component contained in the adhesive include polyesters such as polyethylene terephthalate, polybutylene terephthalate, polyethylene naphthalate, polybutylene naphthalate, polyethylene isophthalate, and copolyester; polyether; polyurethane; epoxy resin; Phenolic resins; polyamides such as nylon 6, nylon 66, nylon 12, and copolymerized polyamides; polyolefin-based resins such as polyolefins, cyclic polyolefins, acid-modified polyolefins, and acid-modified cyclic polyolefins; polyvinyl acetate; cellulose; Polyimide; Polycarbonate; Amino resin such as urea resin and melamine resin; Rubber such as chloroprene rubber, nitrile rubber, styrene-butadiene rubber; Silicone resin It is.
  • polyesters such as polyethylene terephthalate, polybutylene terephthalate, polyethylene
  • these adhesive components may be used alone, or two or more thereof may be used in combination.
  • a polyurethane adhesive is preferable.
  • these adhesive resins can be used together with an appropriate curing agent to increase the adhesive strength.
  • an appropriate one is selected from polyisocyanate, polyfunctional epoxy resin, oxazoline group-containing polymer, polyamine resin, acid anhydride and the like according to the functional group of the adhesive component.
  • the polyurethane adhesive examples include a polyurethane adhesive containing a main agent containing a polyol compound and a curing agent containing an isocyanate compound.
  • a two-component curing type polyurethane adhesive containing a polyol such as a polyester polyol, a polyether polyol, or an acrylic polyol as a main component and a curing agent of an aromatic or aliphatic polyisocyanate is used.
  • the polyol compound it is preferable to use a polyester polyol having a hydroxyl group in a side chain in addition to the terminal hydroxyl group of the repeating unit. Since the adhesive layer 2 is formed of the polyurethane adhesive, the outer material for an electric storage device has excellent electrolyte resistance, and the base layer 1 is prevented from peeling even when the electrolyte adheres to the side surface. .
  • the adhesive layer 2 may contain a colorant, a thermoplastic elastomer, a tackifier, a filler, and the like.
  • the adhesive layer 2 contains a coloring agent
  • the exterior material for an electric storage device can be colored.
  • Known coloring agents such as pigments and dyes can be used. Further, only one type of colorant may be used, or two or more types may be mixed and used.
  • the type of pigment is not particularly limited as long as the adhesiveness of the adhesive layer 2 is not impaired.
  • the organic pigments include azo, phthalocyanine, quinacridone, anthraquinone, dioxazine, indigothioindigo, perinone-perylene, isoindolenin, and benzimidazolone pigments.
  • the pigment include carbon black pigments, titanium oxide pigments, cadmium pigments, lead pigments, chromium oxide pigments, iron pigments, and the like, and mica (mica) fine powder, fish scale foil and the like.
  • coloring agents for example, carbon black is preferable in order to make the appearance of the exterior material for a power storage device black.
  • the average particle size of the pigment is not particularly limited, and is, for example, about 0.05 to 5 ⁇ m, preferably about 0.08 to 2 ⁇ m.
  • the average particle size of the pigment is a median size measured by a laser diffraction / scattering type particle size distribution measuring device.
  • the content of the pigment in the adhesive layer 2 is not particularly limited as long as the exterior material for an electric storage device is colored, and is, for example, about 5 to 60% by mass, and preferably 10 to 40% by mass.
  • the thickness of the adhesive layer 2 is such that the base layer 1 and the barrier layer 3 are adhered to each other, and the thickness of the laminate constituting the exterior material for the electric storage device, the thickness of the polyamide film layer 11, and the thickness of the barrier layer 3 are determined.
  • the lower limit is, for example, about 1 ⁇ m or more, about 2 ⁇ m or more
  • the upper limit is about 10 ⁇ m or less, about 5 ⁇ m or less
  • a preferred range is about 1 to 10 ⁇ m, about 1 to 5 ⁇ m, about 2 to 10 ⁇ m, and about 2 to 5 ⁇ m.
  • the thickness of the adhesive layer 2 is equal to or more than the above lower limit, the adhesiveness between the base material layer 1 and the barrier layer 3 can be effectively increased.
  • the thickness of the adhesive layer 2 is equal to or less than the above upper limit, curling due to molding is suppressed while thinning the exterior material for an electric storage device, and drying and curing can be performed in a shorter time. Excellent.
  • the coloring layer is a layer provided as needed between the base material layer 1 and the barrier layer 3 (not shown).
  • a colored layer may be provided between the base material layer 1 and the adhesive layer 2 and between the adhesive layer 2 and the barrier layer 3. Further, a colored layer may be provided outside the base material layer 1.
  • the exterior material for a power storage device can be colored.
  • the colored layer can be formed, for example, by applying an ink containing a colorant to the surface of the base material layer 1, the surface of the adhesive layer 2, or the surface of the barrier layer 3.
  • a colorant such as pigments and dyes can be used. Further, only one type of colorant may be used, or two or more types may be mixed and used.
  • coloring agent contained in the coloring layer are the same as those exemplified in the section of [Adhesive Layer 2].
  • the barrier layer 3 is a layer that suppresses at least intrusion of moisture.
  • Examples of the barrier layer 3 include a metal foil having a barrier property, a vapor-deposited film, and a resin layer.
  • Examples of the deposited film include a metal deposited film, an inorganic oxide deposited film, and a carbon-containing inorganic oxide deposited film, and examples of the resin layer include polyvinylidene chloride.
  • Examples of the barrier layer 3 include a resin film provided with at least one of these deposited films and resin layers.
  • a plurality of barrier layers 3 may be provided.
  • the barrier layer 3 preferably includes a layer made of a metal material. Specific examples of the metal material forming the barrier layer 3 include an aluminum alloy, stainless steel, and titanium steel. When the metal material is used as the metal foil, it may include at least one of an aluminum alloy foil and a stainless steel foil. preferable.
  • the aluminum alloy foil is more preferably a soft aluminum alloy foil composed of, for example, an annealed aluminum alloy, from the viewpoint of improving the formability of the exterior material for the power storage device, and further improving the formability. Therefore, it is preferable to use an aluminum alloy foil containing iron.
  • the iron content is preferably 0.1 to 9.0% by mass, and more preferably 0.5 to 2.0% by mass. When the iron content is 0.1% by mass or more, a packaging material for an electric storage device having more excellent moldability can be obtained. When the iron content is 9.0% by mass or less, a packaging material for a power storage device having higher flexibility can be obtained.
  • soft aluminum alloy foil examples include, for example, an aluminum alloy having a composition specified by JIS H4160: 1994 A8021HO, JIS H4160: 1994 A8079HO, JIS H4000: 2014 A8021PO, or JIS H4000: 2014 A8079PO. Foil.
  • the stainless steel foil examples include austenitic, ferritic, austenitic / ferritic, martensitic, and precipitation hardening stainless steel foils. It is preferable that the stainless steel foil is made of austenitic stainless steel from the viewpoint of providing an exterior material for a power storage device having excellent moldability.
  • austenitic stainless steel constituting the stainless steel foil include SUS304, SUS301, SUS316L and the like, among which SUS304 is particularly preferred.
  • the thickness of the barrier layer 3 is set to a specific range of 36 to 44 ⁇ m.
  • the lower limit of the thickness of the barrier layer 3 is preferably 38 ⁇ m or more, more preferably about 39 ⁇ m or more
  • the upper limit is preferably Is about 42 ⁇ m or less, more preferably about 41 ⁇ m or less.
  • Preferred ranges are about 36 to 42 ⁇ m, about 36 to 41 ⁇ m, about 38 to 44 ⁇ m, about 38 to 42 ⁇ m, about 38 to 41 ⁇ m, about 39 to 44 ⁇ m, and about 39 to 44 ⁇ m.
  • the thickness of the barrier layer 3 is equal to or more than the above lower limit, the moldability of the exterior material for a power storage device can be improved. In addition, when the thickness of the barrier layer 3 is equal to or less than the upper limit, curling due to molding can be effectively suppressed while reducing the thickness of the exterior material for the power storage device.
  • the barrier layer 3 is a metal foil, it is preferable to provide a corrosion-resistant coating on at least the surface opposite to the base material layer 1 in order to prevent dissolution and corrosion.
  • the barrier layer 3 may have a corrosion resistant film on both sides.
  • the corrosion-resistant film refers to, for example, a hot-water conversion treatment such as a boehmite treatment, a chemical conversion treatment, an anodic oxidation treatment, and a corrosion prevention treatment of applying a coating agent on the surface of the barrier layer 3.
  • a thin film having corrosion resistance As the treatment for forming the corrosion resistant film, one kind may be performed, or two or more kinds may be combined.
  • the hydrothermal alteration treatment and the anodic oxidation treatment are treatments in which the surface of the metal foil is dissolved by a treating agent to form a metal compound having excellent corrosion resistance. Note that these processes may be included in the definition of the chemical conversion process.
  • the barrier layer 3 has a corrosion-resistant film, the barrier layer 3 includes the corrosion-resistant film.
  • the anti-corrosion film prevents delamination between the barrier layer 3 (for example, aluminum alloy foil) and the base material layer 1 during the formation of the exterior material for an electricity storage device, and the fluoride generated by the reaction between the electrolyte and moisture. Dissolution and corrosion of the surface of the barrier layer 3 by hydrogen, particularly, dissolution and corrosion of aluminum oxide present on the surface of the barrier layer 3 when the barrier layer 3 is an aluminum alloy foil, are prevented. It shows an effect of improving adhesion (wetting), preventing delamination between the base layer 1 and the barrier layer 3 during heat sealing, and preventing delamination between the base layer 1 and the barrier layer 3 during molding.
  • the barrier layer 3 for example, aluminum alloy foil
  • the corrosion-resistant film formed by the chemical conversion treatment various types are known, and at least one of a phosphate, a chromate, a fluoride, a triazine thiol compound, and a rare earth oxide is mainly used. And a corrosion-resistant film containing.
  • a rare earth oxide a cerium compound is preferable, and among them, cerium oxide is preferable.
  • Examples of the chemical conversion treatment using phosphate or chromate include chromate chromate treatment, phosphoric acid chromate treatment, phosphoric acid-chromate treatment, chromate treatment, and the like.
  • Examples of the compound include chromium nitrate, chromium fluoride, chromium sulfate, chromium acetate, chromium oxalate, chromium biphosphate, acetyl chromate, chromium chloride, potassium chromium sulfate, and the like.
  • Examples of the phosphorus compound used for these treatments include sodium phosphate, potassium phosphate, ammonium phosphate, and polyphosphoric acid.
  • Examples of the chromate treatment include an etching chromate treatment, an electrolytic chromate treatment, and a coating type chromate treatment, and a coating type chromate treatment is preferable.
  • the inner layer side of the barrier layer 3 (for example, an aluminum alloy foil) is first coated with a well-known method such as an alkali immersion method, an electrolytic cleaning method, an acid cleaning method, an electrolytic acid cleaning method, and an acid activation method.
  • a phosphoric acid such as a Cr (chromium) salt, a Ti (titanium) phosphate, a Zr (zirconium) phosphate, or a Zn (zinc) salt is applied to the degreasing surface.
  • a treatment liquid mainly containing a metal salt and a mixture of these metal salts, or a treatment liquid mainly containing a non-metallic phosphate and a mixture of these non-metal salts, or a synthetic resin and the like is a process of applying a treatment liquid comprising a mixture of the above by a well-known coating method such as a roll coating method, a gravure printing method, and a dipping method, and drying.
  • Various solvents such as water, alcohol solvents, hydrocarbon solvents, ketone solvents, ester solvents and ether solvents can be used as the treatment liquid, and water is preferred.
  • Examples of the resin component used at this time include polymers such as a phenolic resin and an acrylic resin, and an aminated phenol polymer having a repeating unit represented by the following general formulas (1) to (4).
  • the used chromate treatment is exemplified.
  • the repeating units represented by the following general formulas (1) to (4) may be contained alone or in any combination of two or more. Is also good.
  • the acrylic resin must be polyacrylic acid, acrylic acid methacrylic acid ester copolymer, acrylic acid maleic acid copolymer, acrylic acid styrene copolymer, or a derivative thereof such as a sodium salt, an ammonium salt, or an amine salt. Is preferred.
  • polyacrylic acid means a polymer of acrylic acid.
  • the acrylic resin is also preferably a copolymer of acrylic acid and dicarboxylic acid or dicarboxylic anhydride, ammonium salt, sodium salt of a copolymer of acrylic acid and dicarboxylic acid or dicarboxylic anhydride, Or it is also preferably an amine salt.
  • acrylic resin may be used, or two or more types may be mixed and used.
  • X represents a hydrogen atom, a hydroxy group, an alkyl group, a hydroxyalkyl group, an allyl group or a benzyl group.
  • R 1 and R 2 are the same or different and each represents a hydroxy group, an alkyl group, or a hydroxyalkyl group.
  • examples of the alkyl group represented by X, R 1 and R 2 include a methyl group, an ethyl group, an n-propyl group, an isopropyl group, an n-butyl group, an isobutyl group, A straight-chain or branched alkyl group having 1 to 4 carbon atoms such as a tert-butyl group is exemplified.
  • Examples of the hydroxyalkyl group represented by X, R 1 and R 2 include a hydroxymethyl group, a 1-hydroxyethyl group, a 2-hydroxyethyl group, a 1-hydroxypropyl group, a 2-hydroxypropyl group, A straight or branched chain having 1 to 4 carbon atoms, in which one hydroxy group such as hydroxypropyl group, 1-hydroxybutyl group, 2-hydroxybutyl group, 3-hydroxybutyl group and 4-hydroxybutyl group is substituted And an alkyl group.
  • the alkyl group and the hydroxyalkyl group represented by X, R 1 and R 2 may be the same or different.
  • X is preferably a hydrogen atom, a hydroxy group or a hydroxyalkyl group.
  • the number average molecular weight of the aminated phenol polymer having the repeating units represented by the general formulas (1) to (4) is preferably, for example, about 500 to 1,000,000, and is preferably about 1,000 to 20,000. More preferred.
  • the aminated phenol polymer is produced, for example, by subjecting a phenol compound or a naphthol compound to formaldehyde to polycondensation to produce a polymer comprising a repeating unit represented by the above general formula (I) or (III), And an amine (R 1 R 2 NH) to introduce a water-soluble functional group (—CH 2 NR 1 R 2 ) into the polymer obtained above.
  • the aminated phenolic polymer is used alone or in combination of two or more.
  • the corrosion resistant film is formed by a coating type corrosion prevention treatment in which a coating agent containing at least one selected from the group consisting of a rare earth oxide sol, an anionic polymer and a cationic polymer is applied. Thin film to be formed.
  • the coating agent may further contain a phosphoric acid or a phosphate, and a crosslinking agent for crosslinking the polymer.
  • fine particles of the rare earth oxide for example, particles having an average particle diameter of 100 nm or less
  • the rare earth element oxide include cerium oxide, yttrium oxide, neodymium oxide, and lanthanum oxide.
  • Cerium oxide is preferable from the viewpoint of further improving the adhesion.
  • the rare earth element oxides contained in the corrosion resistant film can be used alone or in combination of two or more.
  • various solvents such as water, an alcohol solvent, a hydrocarbon solvent, a ketone solvent, an ester solvent, and an ether solvent can be used, and water is preferable.
  • the cationic polymer include polyethyleneimine, an ionic polymer complex composed of a polymer having polyethyleneimine and a carboxylic acid, a primary amine-grafted acrylic resin in which a primary amine is graft-polymerized on an acrylic main skeleton, polyallylamine or a derivative thereof.
  • the anionic polymer is preferably a poly (meth) acrylic acid or a salt thereof, or a copolymer containing (meth) acrylic acid or a salt thereof as a main component.
  • the crosslinking agent is at least one selected from the group consisting of a compound having any functional group of an isocyanate group, a glycidyl group, a carboxyl group, and an oxazoline group, and a silane coupling agent.
  • the phosphoric acid or phosphate is preferably condensed phosphoric acid or condensed phosphate.
  • a dispersion of fine particles of a metal oxide such as aluminum oxide, titanium oxide, cerium oxide, tin oxide or barium sulfate in phosphoric acid is applied to the surface of the barrier layer 3, Those formed by performing a baking treatment at 150 ° C. or more are exemplified.
  • the corrosion-resistant film may have a laminated structure in which at least one of a cationic polymer and an anionic polymer is further laminated, if necessary.
  • a cationic polymer and an anionic polymer include those described above.
  • composition of the corrosion-resistant coating can be performed, for example, using a time-of-flight secondary ion mass spectrometry.
  • the amount of the corrosion-resistant film formed on the surface of the barrier layer 3 in the chemical conversion treatment is not particularly limited.
  • a chromic acid compound per 1 m 2 of the surface of the barrier layer 3 is used.
  • the phosphorus compound is, for example, about 0.5 to 50 mg, preferably about 1.0 to 40 mg, in terms of phosphorus
  • the thickness of the corrosion-resistant coating if the thickness of the laminate constituting the exterior material for the power storage device, the thickness of the polyamide film layer 11, and the thickness of the barrier layer 3 are set within the above-described predetermined range of the present disclosure, although not particularly limited, it is preferably about 1 nm to 20 ⁇ m, more preferably about 1 nm to 100 nm, and still more preferably about 1 nm to 50 nm, from the viewpoint of the cohesive force of the film and the adhesion to the barrier layer and the heat-fusible resin layer. Is mentioned.
  • the thickness of the corrosion resistant film can be measured by observation with a transmission electron microscope or a combination of observation with a transmission electron microscope and energy dispersive X-ray spectroscopy or electron beam energy loss spectroscopy.
  • the time-of-flight secondary ion mass spectrometry analysis of the composition of the corrosion resistant coating using, for example, secondary ion consisting Ce and P and O (e.g., Ce 2 PO 4 +, CePO 4 - at least 1, such as species) or, for example, secondary ion of Cr and P and O (e.g., CrPO 2 +, CrPO 4 - peak derived from at least one), such as is detected.
  • a solution containing a compound used for forming a corrosion-resistant film is applied to the surface of the barrier layer 3 by a bar coating method, a roll coating method, a gravure coating method, a dipping method, or the like, and then the barrier layer 3 is coated. This is performed by heating so that the temperature is about 70 to 200 ° C.
  • the barrier layer 3 may be subjected to a degreasing treatment by an alkali immersion method, an electrolytic cleaning method, an acid cleaning method, an electrolytic acid cleaning method, or the like in advance. By performing the degreasing treatment in this manner, the chemical conversion treatment of the surface of the barrier layer 3 can be performed more efficiently.
  • the heat-fusible resin layer 4 corresponds to the innermost layer and has a function of heat-sealing the heat-fusible resin layers together during assembly of the power storage device to seal the power storage device element. (Sealant layer).
  • the resin constituting the heat-fusible resin layer 4 is not particularly limited as long as it is heat-fusible, but a resin containing a polyolefin skeleton such as a polyolefin or an acid-modified polyolefin is preferable.
  • the fact that the resin constituting the heat-fusible resin layer 4 contains a polyolefin skeleton can be analyzed by, for example, infrared spectroscopy, gas chromatography / mass spectrometry, or the like. Further, when the resin constituting the heat-fusible resin layer 4 is analyzed by infrared spectroscopy, it is preferable that a peak derived from maleic anhydride is detected.
  • a peak derived from maleic acid is detected in the vicinity of the wave number of 1760 cm -1 and near the wave number 1780 cm -1.
  • the heat-fusible resin layer 4 is a layer composed of maleic anhydride-modified polyolefin
  • a peak derived from maleic anhydride is detected by infrared spectroscopy.
  • the degree of acid modification is low, the peak may be too small to be detected. In that case, it can be analyzed by nuclear magnetic resonance spectroscopy.
  • polystyrene resin examples include polyethylenes such as low-density polyethylene, medium-density polyethylene, high-density polyethylene, and linear low-density polyethylene; ethylene- ⁇ -olefin copolymers; homopolypropylene, block copolymers of polypropylene (for example, propylene and Polypropylene, such as a block copolymer of ethylene) and a random copolymer of polypropylene (eg, a random copolymer of propylene and ethylene); a propylene- ⁇ -olefin copolymer; and a terpolymer of ethylene-butene-propylene.
  • polypropylene is preferable.
  • the polyolefin resin may be a block copolymer or a random copolymer.
  • One of these polyolefin resins may be used alone, or two or more thereof may be used in combination.
  • the polyolefin may be a cyclic polyolefin.
  • the cyclic polyolefin is a copolymer of an olefin and a cyclic monomer.
  • Examples of the olefin constituting the cyclic polyolefin include ethylene, propylene, 4-methyl-1-pentene, styrene, butadiene, isoprene and the like.
  • cyclic monomer that is a constituent monomer of the cyclic polyolefin examples include a cyclic alkene such as norbornene; and a cyclic diene such as cyclopentadiene, dicyclopentadiene, cyclohexadiene, and norbornadiene. Of these, preferred are cyclic alkenes, and more preferred are norbornenes.
  • the acid-modified polyolefin is a polymer obtained by modifying a polyolefin by block polymerization or graft polymerization with an acid component.
  • the polyolefin to be acid-modified the above-mentioned polyolefin, a copolymer obtained by copolymerizing the above-mentioned polyolefin with a polar molecule such as acrylic acid or methacrylic acid, or a polymer such as a cross-linked polyolefin can also be used.
  • the acid component used for acid modification include carboxylic acids such as maleic acid, acrylic acid, itaconic acid, crotonic acid, maleic anhydride, and itaconic anhydride, and anhydrides thereof.
  • the acid-modified polyolefin may be an acid-modified cyclic polyolefin.
  • the acid-modified cyclic polyolefin is a polymer obtained by copolymerizing a part of the monomers constituting the cyclic polyolefin instead of the acid component, or by subjecting the cyclic polyolefin to block polymerization or graft polymerization of the acid component. is there.
  • the cyclic polyolefin to be acid-modified is the same as described above.
  • the acid component used for the acid modification is the same as the acid component used for the above-mentioned polyolefin modification.
  • Preferred examples of the acid-modified polyolefin include a polyolefin modified with a carboxylic acid or its anhydride, a polypropylene modified with a carboxylic acid or its anhydride, a maleic anhydride-modified polyolefin, and a maleic anhydride-modified polypropylene.
  • the heat-fusible resin layer 4 may be formed of one kind of resin alone, or may be formed of a blend polymer obtained by combining two or more kinds of resins. Further, the heat-fusible resin layer 4 may be formed of only one layer, or may be formed of two or more layers of the same or different resins.
  • a lubricant is preferably present on the surface of the heat-fusible resin layer 4 from the viewpoint of improving the moldability of the exterior material for an electric storage device.
  • a lubricant is present on the surface of the heat-fusible resin layer 4, and by forming the lubricant layer, curl due to molding of the power storage device exterior material is suppressed and moldability of the power storage device exterior material is improved.
  • the lubricant is not particularly limited, and a known lubricant can be used.
  • a lubricant may be used alone or in combination of two or more.
  • the thickness of the lubricant layer is also included in the thickness of the laminate constituting the exterior material for a power storage device of the present disclosure.
  • the lubricant is not particularly limited, but preferably includes an amide lubricant.
  • the amide-based lubricant include, for example, saturated fatty acid amide, unsaturated fatty acid amide, substituted amide, methylolamide, saturated fatty acid bisamide, unsaturated fatty acid bisamide, fatty acid ester amide, aromatic bisamide and the like.
  • Specific examples of the saturated fatty acid amide include lauric amide, palmitic amide, stearic amide, behenic amide, and hydroxystearic amide.
  • Specific examples of the unsaturated fatty acid amide include oleic acid amide and erucic acid amide.
  • substituted amide examples include N-oleyl palmitic amide, N-stearyl stearamide, N-stearyl oleamide, N-oleyl stearamide, N-stearyl erucamide, and the like.
  • methylolamide examples include methylol stearamide.
  • saturated fatty acid bisamide examples include methylene bisstearic acid amide, ethylenebiscapric acid amide, ethylenebislauric acid amide, ethylenebisstearic acid amide, ethylenebishydroxystearic acid amide, ethylenebisbehenic acid amide, hexamethylenebisstearin Acid amide, hexamethylenebisbehenamide, hexamethylenehydroxystearic acid amide, N, N'-distearyladipamide, N, N'-distearylsebacic amide and the like.
  • unsaturated fatty acid bisamides include ethylene bisoleic acid amide, ethylene biserucic acid amide, hexamethylene bis oleic acid amide, N, N'-dioleyl adipamide, N, N'-dioleyl sebacic amide And the like.
  • Specific examples of the fatty acid ester amide include stearoamidoethyl stearate.
  • Specific examples of the aromatic bisamide include m-xylylenebisstearic acid amide, m-xylylenebishydroxystearic acid amide, N, N'-distearylisophthalic acid amide, and the like.
  • One type of lubricant may be used alone, or two or more types may be used in combination.
  • the amount of the lubricant is not particularly limited, but is preferably about 10 to 50 mg / m 2 from the viewpoint of improving the moldability of the exterior material for an electric storage device. And more preferably about 15 to 40 mg / m 2 .
  • the lubricant present on the surface of the heat-fusible resin layer 4 may be formed by exuding the lubricant contained in the resin constituting the heat-fusible resin layer 4, The surface may be coated with a lubricant.
  • the thickness of the heat-fusible resin layer 4 the thickness of the laminate constituting the exterior material for the electricity storage device, the thickness of the polyamide film layer 11, and the thickness of the barrier layer 3 are within the above-mentioned predetermined ranges of the present disclosure. While setting, it can be set according to the presence or absence of the adhesive layer 5, the thickness of the adhesive layer 5, and the like.
  • the upper limit of the thickness of the heat-fusible resin layer 4 is, for example, about 34 ⁇ m or less, preferably about 33 ⁇ m or less, more preferably 32 ⁇ m or less, and the lower limit is about 8 ⁇ m or more, preferably 10 ⁇ m or more, more preferably Is about 12 ⁇ m or more, and a preferable range is about 8 to 34 ⁇ m, about 8 to 33 ⁇ m, about 8 to 32 ⁇ m, about 10 to 34 ⁇ m, about 10 to 33 ⁇ m, about 10 to 32 ⁇ m, about 12 to 34 ⁇ m, or about 12 to 33 ⁇ m About 12 to 32 ⁇ m.
  • the upper limit of the thickness of the heat-fusible resin layer 4 is preferably about 22 ⁇ m or less, more preferably about 21 ⁇ m or less. More preferably, the thickness is about 20 ⁇ m or less, and the lower limit is preferably about 8 ⁇ m or more, more preferably about 9 ⁇ m or more, and still more preferably about 10 ⁇ m or more, and the preferred range is about 8 to 22 ⁇ m or 8 to 22 ⁇ m.
  • the upper limit of the thickness of the heat-fusible resin layer 4 is preferably about 34 ⁇ m or less, more preferably about 33 ⁇ m or less.
  • the thickness is about 32 ⁇ m or less, and the lower limit is preferably about 18 ⁇ m or more, more preferably about 19 ⁇ m or more, and still more preferably about 20 ⁇ m or more, and the preferred range is about 18 to 34 ⁇ m, 18 to 34 ⁇ m.
  • the lower limit is preferably about 18 ⁇ m or more, more preferably about 19 ⁇ m or more, and still more preferably about 20 ⁇ m or more, and the preferred range is about 18 to 34 ⁇ m, 18 to 34 ⁇ m.
  • the adhesive layer 5 is a layer provided as necessary between the barrier layer 3 and the heat-fusible resin layer 4 in order to firmly adhere the layer.
  • the adhesive layer 5 is formed of a resin capable of bonding the barrier layer 3 and the heat-fusible resin layer 4.
  • resin used for forming the adhesive layer 5 polyolefin resins such as the polyolefin, cyclic polyolefin, acid-modified polyolefin, and acid-modified cyclic polyolefin exemplified in the heat-fusible resin layer 4 described above can be suitably used.
  • polyolefin resin polypropylene resins such as polypropylene, cyclic polypropylene, acid-modified polypropylene, and acid-modified cyclic polypropylene can be preferably used.
  • the heat-fusible resin layer 4 and the adhesive layer 5 can be suitably formed by extrusion.
  • the same resin as the adhesive exemplified in the adhesive layer 2 can be used.
  • the polyolefin resin is preferably a polyolefin or an acid-modified polyolefin, and particularly preferably a polypropylene or an acid-modified polypropylene. That is, the resin constituting the adhesive layer 5 may or may not contain a polyolefin skeleton, and preferably contains a polyolefin skeleton.
  • the fact that the resin constituting the adhesive layer 5 contains a polyolefin skeleton can be analyzed by, for example, infrared spectroscopy or gas chromatography / mass spectrometry, and the analysis method is not particularly limited.
  • a peak derived from maleic anhydride is detected.
  • a peak derived from maleic acid is detected in the vicinity of the wave number of 1760 cm -1 and near the wave number 1780 cm -1.
  • the peak may be too small to be detected. In that case, it can be analyzed by nuclear magnetic resonance spectroscopy.
  • the adhesive layer 5 preferably contains an acid-modified polyolefin.
  • the acid-modified polyolefin is a polymer obtained by modifying a polyolefin by block polymerization or graft polymerization with an acid component such as carboxylic acid.
  • the acid component used for the modification include carboxylic acids such as maleic acid, acrylic acid, itaconic acid, crotonic acid, maleic anhydride, and itaconic anhydride, and anhydrides thereof.
  • polystyrene resin examples include polyethylenes such as low-density polyethylene, medium-density polyethylene, high-density polyethylene, and linear low-density polyethylene; homopolypropylene, block copolymers of polypropylene (for example, block copolymers of propylene and ethylene), and polypropylenes.
  • Polypropylene such as a random copolymer (for example, a random copolymer of propylene and ethylene); and a terpolymer of ethylene-butene-propylene.
  • polyethylene and polypropylene are preferred.
  • a maleic anhydride-modified polyolefin particularly, a maleic anhydride-modified polypropylene is preferable.
  • the adhesive layer 5 is made of a resin composition containing an acid-modified polyolefin and a curing agent. More preferably, the cured product is Preferred examples of the acid-modified polyolefin include those described above.
  • the adhesive layer 5 is a cured product of a resin composition containing an acid-modified polyolefin and at least one selected from the group consisting of a compound having an isocyanate group, a compound having an oxazoline group, and a compound having an epoxy group.
  • the cured product is a cured product of a resin composition containing an acid-modified polyolefin and at least one selected from the group consisting of a compound having an isocyanate group and a compound having an epoxy group.
  • the adhesive layer 5 preferably includes at least one selected from the group consisting of a urethane resin, an ester resin, and an epoxy resin, and more preferably includes a urethane resin and an epoxy resin.
  • the ester resin for example, an amide ester resin is preferable.
  • the amide ester resin is generally formed by a reaction between a carboxyl group and an oxazoline group.
  • the adhesive layer 5 is more preferably a cured product of a resin composition containing at least one of these resins and the acid-modified polyolefin.
  • the adhesive layer 5 can be formed by applying the resin composition and curing it by heating or the like.
  • the presence of the unreacted product is determined by, for example, infrared spectroscopy. It can be confirmed by a method selected from Raman spectroscopy, time-of-flight secondary ion mass spectrometry (TOF-SIMS), and the like.
  • the curing agent having a heterocyclic ring include a curing agent having an oxazoline group and a curing agent having an epoxy group.
  • the curing agent having a C—O—C bond examples include a curing agent having an oxazoline group, a curing agent having an epoxy group, and a urethane resin.
  • the fact that the adhesive layer 5 is a cured product of the resin composition containing these curing agents may be determined, for example, by gas chromatography mass spectrometry (GCMS), infrared spectroscopy (IR), time-of-flight secondary ion mass spectrometry (TOF) SIMS) and X-ray photoelectron spectroscopy (XPS).
  • GCMS gas chromatography mass spectrometry
  • IR infrared spectroscopy
  • TOF time-of-flight secondary ion mass spectrometry
  • XPS X-ray photoelectron spectroscopy
  • the compound having an isocyanate group is not particularly limited, but from the viewpoint of effectively improving the adhesion between the acid-resistant film (corrosion-resistant film) and the adhesive layer 5, a polyfunctional isocyanate compound is preferably used.
  • the polyfunctional isocyanate compound is not particularly limited as long as it is a compound having two or more isocyanate groups.
  • polyfunctional isocyanate-based curing agent examples include pentane diisocyanate (PDI), isophorone diisocyanate (IPDI), hexamethylene diisocyanate (HDI), tolylene diisocyanate (TDI), diphenylmethane diisocyanate (MDI), And a mixture thereof, a copolymer with another polymer, and the like.
  • PDI pentane diisocyanate
  • IPDI isophorone diisocyanate
  • HDI hexamethylene diisocyanate
  • TDI tolylene diisocyanate
  • MDI diphenylmethane diisocyanate
  • the content of the compound having an isocyanate group in the adhesive layer 5 is preferably in the range of 0.1 to 50% by mass, more preferably 0.5 to 40% by mass in the resin composition constituting the adhesive layer 5. More preferably, it is within the range.
  • the compound having an oxazoline group is not particularly limited as long as it has a oxazoline skeleton.
  • Specific examples of the compound having an oxazoline group include those having a polystyrene main chain and those having an acrylic main chain. Examples of commercially available products include Epocross series manufactured by Nippon Shokubai Co., Ltd.
  • the proportion of the compound having an oxazoline group in the adhesive layer 5 is preferably in the range of 0.1 to 50% by mass, more preferably in the range of 0.5 to 40% by mass in the resin composition constituting the adhesive layer 5. Is more preferable. Thereby, the adhesion between the barrier layer 3 (or the acid-resistant film (corrosion-resistant film)) and the adhesive layer 5 can be effectively increased.
  • the epoxy resin is not particularly limited as long as it is a resin capable of forming a crosslinked structure by an epoxy group present in the molecule, and a known epoxy resin can be used.
  • the weight average molecular weight of the epoxy resin is preferably about 50 to 2,000, more preferably about 100 to 1,000, and further preferably about 200 to 800.
  • the weight average molecular weight of the epoxy resin is a value measured by gel permeation chromatography (GPC) under conditions using polystyrene as a standard sample.
  • epoxy resin examples include glycidyl ether derivatives of trimethylolpropane, bisphenol A diglycidyl ether, modified bisphenol A diglycidyl ether, novolak glycidyl ether, glycerin polyglycidyl ether, and polyglycerin polyglycidyl ether.
  • One type of epoxy resin may be used alone, or two or more types may be used in combination.
  • the proportion of the epoxy resin in the adhesive layer 5 is preferably in the range of 0.1 to 50% by mass, and more preferably in the range of 0.5 to 40% by mass in the resin composition constituting the adhesive layer 5. Is more preferred. Thereby, the adhesion between the barrier layer 3 (or the acid-resistant film (corrosion-resistant film)) and the adhesive layer 5 can be effectively increased.
  • the adhesive layer 5 is a resin composition containing at least one selected from the group consisting of a compound having an isocyanate group, a compound having an oxazoline group, and an epoxy resin, and the acid-modified polyolefin.
  • the acid-modified polyolefin functions as a main agent, and the compound having an isocyanate group, the compound having an oxazoline group, and the epoxy resin each function as a curing agent.
  • a polycarbodiimide compound having at least two or more carbodiimide groups is preferable.
  • the curing agent may be composed of two or more compounds.
  • the content of the curing agent in the resin composition forming the adhesive layer 5 is preferably in the range of about 0.1 to 50% by mass, more preferably in the range of about 0.1 to 30% by mass. More preferably, it is in the range of about 0.1 to 10% by mass.
  • the adhesive layer 5 can be suitably formed using, for example, an adhesive.
  • the adhesive include a non-crystalline polyolefin resin (A) having a carboxyl group, a polyfunctional isocyanate compound (B), and a tertiary amine having no functional group that reacts with the polyfunctional isocyanate compound (B) ( C) and the polyfunctional isocyanate compound (B) in an amount of 0.3 to 10 mol based on 1 mol of the carboxyl group, based on 1 mol of the carboxyl group.
  • those formed from an adhesive composition containing the tertiary amine (C) in a range of 1 to 10 mol are examples of the adhesive.
  • the adhesive contains a styrene-based thermoplastic elastomer (A), a tackifier (B), and a polyisocyanate (C), and contains a styrene-based thermoplastic elastomer (A) and a tackifier (B). ),
  • the styrene-based thermoplastic elastomer (A) is contained in an amount of 20 to 90% by weight, and the tackifier (B) is contained in an amount of 10 to 80% by weight in 100% by weight of the styrene-based thermoplastic elastomer (A).
  • the tackifier (B) based on 1 mol of the active hydrogen derived from the styrene thermoplastic elastomer (A).
  • the active hydrogen derived from the functional group is 0 to 15 mol
  • the polyisocyanate (C) is composed of the active hydrogen derived from the styrene-based thermoplastic elastomer (A) and the active hydrogen derived from the tackifier (B).
  • the total one mole of the sexual hydrogen may also be mentioned such as those isocyanate groups is formed by three-adhesive composition consisting of those that are included in a range of 150 mol.
  • the thickness of the adhesive layer 5 while the thickness of the laminate constituting the exterior material for the electricity storage device, the thickness of the polyamide film layer 11, and the thickness of the barrier layer 3 are set within the above-mentioned predetermined range of the present disclosure, It can be set according to the thickness of the heat-fusible resin layer 4 and the like.
  • the upper limit of the thickness of the adhesive layer 5 is, for example, about 22 ⁇ m or less, preferably about 21 ⁇ m or less, more preferably 20 ⁇ m or less, and the lower limit is, for example, about 1 ⁇ m or more, preferably 2 ⁇ m or more. Is about 1 to 22 ⁇ m, about 1 to 21 ⁇ m, about 1 to 20 ⁇ m, about 2 to 22 ⁇ m, about 2 to 21 ⁇ m, about 2 to 20 ⁇ m.
  • the lower limit of the thickness of the adhesive layer 5 is preferably about 8 ⁇ m or more, more preferably about 9 ⁇ m or more
  • the upper limit is preferably about 22 ⁇ m or less, more preferably about 21 ⁇ m or less
  • the preferred range is about 8 to 22 ⁇ m, about 8 to 21 ⁇ m, about 9 to 22 ⁇ m, or about 9 to 21 ⁇ m.
  • the adhesive layer 5 it is preferable to use a polyolefin-based resin such as the polyolefin resin exemplified in the heat-fusible resin layer 4 and the acid-modified polyolefin resin.
  • the lower limit of the thickness of the adhesive layer 5 is preferably about 1 ⁇ m or more, more preferably about 2 ⁇ m or more.
  • the upper limit is preferably about 5 ⁇ m or less, more preferably about 4 ⁇ m or less, and the preferred range is about 1 to 5 ⁇ m, about 1 to 4 ⁇ m, about 2 to 5 ⁇ m, or about 2 to 4 ⁇ m.
  • the adhesive layer 5 it is preferable to use a cured product of an acid-modified polyolefin and a curing agent, or the same adhesive as the adhesive exemplified in the adhesive layer 2.
  • the exterior material for a power storage device according to the first disclosure may be provided on the base layer 1 (of the base layer 1 if necessary) for the purpose of improving design properties, electrolytic solution resistance, scratch resistance, moldability, and the like.
  • a surface coating layer 6 may be provided on the side opposite to the barrier layer 3).
  • the exterior material for a power storage device according to the second disclosure includes a surface coating layer 6.
  • the surface coating layer 6 is a layer located on the outermost layer side of the power storage device when the power storage device is assembled using the power storage device exterior material.
  • the surface coating layer 6 can be formed of, for example, a resin such as polyvinylidene chloride, polyester, polyurethane, acrylic resin, or epoxy resin.
  • the resin forming the surface coating layer 6 is a curable resin
  • the resin may be either a one-part curable type or a two-part curable type, but is preferably a two-part curable type.
  • the two-component curable resin include two-component curable polyurethane, two-component curable polyester, and two-component curable epoxy resin.
  • the surface coating layer 6 may contain an additive.
  • the additive include fine particles having a particle size of about 0.5 nm to 5 ⁇ m.
  • the material of the additive is not particularly limited, and may be any of an inorganic substance and an organic substance.
  • the shape of the additive is not particularly limited, and examples thereof include a sphere, a fiber, a plate, an irregular shape, and a balloon.
  • the thickness of the surface coating layer 6 the thickness of the laminate, the thickness of the polyamide film layer 11, and the thickness of the barrier layer 3 that exhibit the above-described function as the surface coating layer 6 and that constitute the exterior material for an electric storage device are described. Is not particularly limited as long as it is set to the predetermined range of the present disclosure, but preferable lower limit is about 0.1 ⁇ m or more, about 0.5 ⁇ m or more, about 1 ⁇ m or more, about 2 ⁇ m or more, and preferable upper limit is About 5 ⁇ m or less, about 4 ⁇ m or less, about 3 ⁇ m or less.
  • Preferred ranges are about 0.1 to 5 ⁇ m, about 0.1 to 4 ⁇ m, about 0.1 to 3 ⁇ m, about 0.5 to 5 ⁇ m, and about 0.5 to 5 ⁇ m.
  • additives include talc, silica, graphite, kaolin, montmorilloid, montmorillonite, synthetic mica, hydrotalcite, silica gel, zeolite, aluminum hydroxide, magnesium hydroxide, zinc oxide, magnesium oxide, aluminum oxide, and oxide.
  • the additives may be used alone or in a combination of two or more.
  • silica, barium sulfate and titanium oxide are preferable from the viewpoint of dispersion stability and cost.
  • various surface treatments such as an insulation treatment and a high dispersibility treatment may be applied to the surface of the additive.
  • at least one of the surface and the inside of the surface coating layer 6 may be provided with a lubricant, an anti-blocking agent, a matting agent, if necessary, depending on the surface coating layer 6 and the functionality to be provided on the surface.
  • It may contain additives such as a flame retardant, an antioxidant, a light stabilizer, a tackifier, an antistatic agent, and an elastomer resin.
  • Specific examples of the lubricant include, for example, the above-mentioned lubricant.
  • the fine particles described above may function as a lubricant, an anti-blocking agent, and a matting agent.
  • the method for forming the surface coating layer 6 is not particularly limited, and includes, for example, a method of applying a resin for forming the surface coating layer 6.
  • a resin mixed with the additive may be applied.
  • the method of manufacturing the exterior material for power storage device of the present disclosure is not particularly limited as long as a laminate in which each layer having a predetermined composition is laminated can be obtained. That is, in the method for manufacturing an exterior material for a power storage device according to the first disclosure, at least the base layer 1, the barrier layer 3, and the heat-fusible resin layer 4 are laminated in this order to form a laminate.
  • the substrate layer 1 has at least the polyamide film layer 11, the polyamide film layer 11 has a thickness of 10 to 17 ⁇ m, the barrier layer 3 has a thickness of 36 to 44 ⁇ m, The thickness of the laminate is 83 to 93 ⁇ m.
  • the surface coating layer 6, the base layer 1, the barrier layer 3, and the heat-fusible resin layer 4 are laminated in this order.
  • the base layer 1 has at least a polyamide film layer 11, the thickness of the surface coating layer is 0.1 to 5 ⁇ m, and the thickness of the polyamide film layer 11 is Is 10 to 17 ⁇ m, the thickness of the barrier layer 3 is 36 to 44 ⁇ m, and the thickness of the laminate is 83.1 to 98 ⁇ m.
  • a laminate in which the base material layer 1, the adhesive layer 2, and the barrier layer 3 are sequentially laminated (hereinafter, sometimes referred to as “laminate A”) is formed.
  • the laminate A is formed by applying an adhesive used for forming the adhesive layer 2 on the base material layer 1 or on the barrier layer 3 whose surface is subjected to a chemical conversion treatment, if necessary, by a gravure coating method, After coating and drying by a coating method such as a roll coating method, the coating can be performed by a dry lamination method in which the barrier layer 3 or the base material layer 1 is laminated and the adhesive layer 2 is cured.
  • the adhesive layer 5 and the heat-fusible resin layer 4 are laminated on the barrier layer 3 of the laminate A in this order.
  • the adhesive for forming the layer 5 is laminated by an extrusion method or solution coating, dried at a high temperature, or baked, or the like, and the heat-fusible resin layer 4 previously formed into a sheet is formed on the adhesive layer 5.
  • Laminate A and heat-fusible resin layer 4 are pasted through layer 5
  • the method (sandwich lamination method), and the like to match.
  • the surface coating layer 6 is laminated on the surface of the base material layer 1 on the side opposite to the barrier layer 3.
  • the surface coating layer 6 can be formed, for example, by applying the above-described resin forming the surface coating layer 6 to the surface of the base material layer 1.
  • the order of the step of laminating the barrier layer 3 on the surface of the substrate layer 1 and the step of laminating the surface coating layer 6 on the surface of the substrate layer 1 are not particularly limited.
  • the barrier layer 3 may be formed on the surface of the base material layer 1 opposite to the surface coating layer 6.
  • it may be further subjected to a heat treatment such as a hot roll contact type, a hot air type, a near infrared type or a far infrared type. The conditions for such a heat treatment are as described above.
  • each layer constituting the laminate improves or stabilizes film forming properties, lamination processing, suitability for final processing of secondary products (pouching, embossing), and the like, as necessary.
  • a surface activation treatment such as a corona treatment, a blast treatment, an oxidation treatment, and an ozone treatment may be performed.
  • the exterior material for power storage device of the present disclosure is used for a package for hermetically containing a power storage device element such as a positive electrode, a negative electrode, and an electrolyte. That is, a power storage device element including at least a positive electrode, a negative electrode, and an electrolyte can be housed in a package formed by the power storage device exterior material of the present disclosure, and can be used as a power storage device.
  • a power storage device element including at least a positive electrode, a negative electrode, and an electrolyte can be housed in a package formed by the power storage device exterior material of the present disclosure, and can be used as a power storage device.
  • At least the positive electrode, the negative electrode, and the power storage device element including the electrolyte in a state where the metal terminals connected to each of the positive electrode and the negative electrode protrude outward with the power storage device exterior material of the present disclosure. Covering the periphery of the power storage device element so that a flange portion (a region where the heat-fusible resin layers contact each other) can be formed, and heat-sealing and sealing the heat-fusible resin layers of the flange portion. Accordingly, a power storage device using the power storage device exterior material is provided.
  • the heat-fusible resin portion of the power storage device exterior material of the present disclosure is on the inner side (the surface in contact with the power storage device element). ) To form a package.
  • the exterior material for a power storage device of the present disclosure can be suitably used for a power storage device such as a battery (including a capacitor and a capacitor). Further, the exterior material for a power storage device of the present disclosure may be used for any of a primary battery and a secondary battery, but is preferably a secondary battery.
  • the type of the secondary battery to which the power storage device packaging material of the present disclosure is applied is not particularly limited.
  • the lithium-ion battery and the lithium-ion polymer battery are preferable examples of the application of the exterior material for a power storage device according to the present disclosure.
  • Example 1 A barrier layer made of an aluminum foil (JIS H4160: 1994 A8021HO, thickness of 40 ⁇ m) having an acid-resistant film formed on both sides on a biaxially stretched nylon film (thickness: 15 ⁇ m) as a base material layer by a dry lamination method. Were laminated. Specifically, a two-component curable urethane adhesive (polyol compound and aromatic isocyanate compound) is applied to one side of an aluminum foil having an acid-resistant film formed on both sides, and an adhesive layer (after curing) is applied on the aluminum foil. (Thickness: 3 ⁇ m). Next, after laminating the adhesive layer on the aluminum foil and the biaxially stretched nylon film, an aging treatment was performed to prepare a laminate of the base material layer / adhesive layer / barrier layer.
  • a two-component curable urethane adhesive polyol compound and aromatic isocyanate compound
  • a lubricant layer was formed on both surfaces of the obtained exterior material for an electricity storage device by allowing erucamide to be present as a lubricant.
  • Example 2 A barrier layer made of an aluminum foil (JIS H4160: 1994 A8021HO, thickness of 40 ⁇ m) having an acid-resistant film formed on both sides on a biaxially stretched nylon film (thickness: 12 ⁇ m) as a base material layer by a dry lamination method. Were laminated. Specifically, a two-component curable urethane adhesive (polyol compound and aromatic isocyanate compound) is applied to one side of an aluminum foil having an acid-resistant film formed on both sides, and an adhesive layer (after curing) is applied on the aluminum foil. (Thickness: 3 ⁇ m). Next, after laminating the adhesive layer on the aluminum foil and the biaxially stretched nylon film, an aging treatment was performed to prepare a laminate of the base material layer / adhesive layer / barrier layer.
  • a two-component curable urethane adhesive polyol compound and aromatic isocyanate compound
  • a maleic anhydride-modified polypropylene (18 ⁇ m in thickness) as an adhesive layer and a polypropylene (15 ⁇ m in thickness) as a heat-fusible resin layer are coextruded on the barrier layer of the obtained laminate.
  • the adhesive layer / heat-fusible resin layer was laminated on the barrier layer.
  • the obtained laminate is aged and heated to obtain a biaxially stretched nylon film (12 ⁇ m) / adhesive layer (3 ⁇ m) / barrier layer (40 ⁇ m) / adhesive layer (18 ⁇ m) / heat-fusible resin
  • An exterior material for an electric storage device (total thickness: 88 ⁇ m) in which layers (15 ⁇ m) were laminated in this order was obtained.
  • Table 1 shows the laminated structure of the power storage device exterior material.
  • erucamide was present as a lubricant on both surfaces of the obtained exterior material for a power storage device to form a lubricant layer.
  • Example 3 A barrier layer made of an aluminum foil (JIS H4160: 1994 A8021HO, thickness of 40 ⁇ m) having an acid-resistant film formed on both sides on a biaxially stretched nylon film (thickness: 12 ⁇ m) as a base material layer by a dry lamination method. Were laminated. Specifically, a two-component curable urethane adhesive (polyol compound and aromatic isocyanate compound) is applied to one side of an aluminum foil having an acid-resistant film formed on both sides, and an adhesive layer (after curing) is applied on the aluminum foil. (Thickness: 3 ⁇ m). Next, after laminating the adhesive layer on the aluminum foil and the biaxially stretched nylon film, an aging treatment was performed to prepare a laminate of the base material layer / adhesive layer / barrier layer.
  • a two-component curable urethane adhesive polyol compound and aromatic isocyanate compound
  • a two-component curable urethane adhesive (a polyol compound and an aromatic isocyanate compound) was applied to the barrier layer side of the obtained laminate to form an adhesive layer (thickness after curing of 3 ⁇ m) on an aluminum foil.
  • an unstretched polypropylene film (CPP, thickness 30 ⁇ m) as a heat-fusible resin layer was laminated on the adhesive layer by a dry lamination method.
  • the obtained laminate is aged and heated to obtain a biaxially stretched nylon film (12 ⁇ m) / adhesive layer (3 ⁇ m) / barrier layer (40 ⁇ m) / adhesive layer (3 ⁇ m) / heat-fusible resin
  • An exterior material for an electric storage device (total thickness: 88 ⁇ m) in which layers (30 ⁇ m) were laminated in this order was obtained.
  • Table 1 shows the laminated structure of the power storage device exterior material.
  • erucamide was present as a lubricant on both surfaces of the obtained exterior material for a power storage device to form a lubricant layer.
  • Example 4 A barrier layer made of an aluminum foil (JIS H4160: 1994 A8021HO, thickness of 40 ⁇ m) having an acid-resistant film formed on both sides on a biaxially stretched nylon film (thickness: 15 ⁇ m) as a base material layer by a dry lamination method. Were laminated. Specifically, a two-component curable urethane adhesive (polyol compound and aromatic isocyanate compound) is applied to one side of an aluminum foil having an acid-resistant film formed on both sides, and an adhesive layer (after curing) is applied on the aluminum foil. (Thickness: 3 ⁇ m). Next, after laminating the adhesive layer on the aluminum foil and the biaxially stretched nylon film, an aging treatment was performed to prepare a laminate of the base material layer / adhesive layer / barrier layer.
  • a two-component curable urethane adhesive polyol compound and aromatic isocyanate compound
  • a two-component curable urethane adhesive (a polyol compound and an aromatic isocyanate compound) was applied to the barrier layer side of the obtained laminate to form an adhesive layer (thickness after curing of 3 ⁇ m) on an aluminum foil.
  • an unstretched polypropylene film (CPP, thickness 30 ⁇ m) as a heat-fusible resin layer was laminated on the adhesive layer by a dry lamination method.
  • erucamide was present as a lubricant on both surfaces of the obtained exterior material for a power storage device to form a lubricant layer.
  • Example 5 In Example 1, in place of the two-component curable urethane adhesive (polyol compound and aromatic isocyanate compound) that bonds the base layer and the barrier layer, a two-component curable urethane adhesive containing a black pigment (A biaxially stretched nylon film (15 ⁇ m) / adhesive layer (black, 3 ⁇ m) / barrier layer (40 ⁇ m) / same as in Example 1 except that a black pigment, a polyol compound and an aromatic isocyanate compound) were used. A laminate (total thickness: 88 ⁇ m) in which an adhesive layer (15 ⁇ m) / a heat-fusible resin layer (15 ⁇ m) was laminated in this order was obtained.
  • a two-component curable urethane adhesive polyol compound and aromatic isocyanate compound
  • sedimentable barium sulfate having an average particle diameter of 1 ⁇ m as a filler, erucamide, and an acrylate resin having an average particle diameter of 2 ⁇ m were used.
  • the resulting resin composition (thickness after curing was 3 ⁇ m) was applied to form a mat-like surface coating layer to obtain an exterior material for an electric storage device (total thickness 91 ⁇ m).
  • the average particle diameter of the sedimentable barium sulfate is a median diameter measured by a laser diffraction / scattering type particle diameter distribution measuring device (“LA-950” manufactured by Horiba, Ltd.). Table 1 shows the laminated structure of the power storage device exterior material.
  • erucamide was present as a lubricant on both surfaces of the obtained exterior material for a power storage device to form a lubricant layer.
  • Example 6 In Example 1, in place of the two-component curable urethane adhesive (polyol compound and aromatic isocyanate compound) that bonds the base layer and the barrier layer, a two-component curable urethane adhesive containing a black pigment (A biaxially stretched nylon film (15 ⁇ m) / adhesive layer (black, 3 ⁇ m) / barrier layer (40 ⁇ m) / same as in Example 1 except that a black pigment, a polyol compound and an aromatic isocyanate compound) were used. A laminate (total thickness: 88 ⁇ m) in which an adhesive layer (15 ⁇ m) / a heat-fusible resin layer (15 ⁇ m) was laminated in this order was obtained.
  • silica having an average particle size of 1.5 ⁇ m as a filler, erucamide, and an acrylate resin having an average particle size of 2.5 ⁇ m were used.
  • the average particle diameter of the sedimentable barium sulfate is a median diameter measured by a laser diffraction / scattering type particle diameter distribution measuring device (“LA-950” manufactured by Horiba, Ltd.). Table 1 shows the laminated structure of the power storage device exterior material.
  • erucamide was present as a lubricant on both surfaces of the obtained exterior material for a power storage device to form a lubricant layer.
  • Comparative Example 1 A barrier layer composed of an aluminum foil (JIS H4160: 1994 A8021HO, thickness of 35 ⁇ m) having an acid-resistant film formed on both sides on a biaxially stretched nylon film (thickness: 15 ⁇ m) as a base material layer by a dry lamination method. Were laminated. Specifically, a two-component curable urethane adhesive (polyol compound and aromatic isocyanate compound) is applied to one side of an aluminum foil having an acid-resistant film formed on both sides, and an adhesive layer (after curing) is applied on the aluminum foil. (Thickness: 3 ⁇ m). Next, after laminating the adhesive layer on the aluminum foil and the biaxially stretched nylon film, an aging treatment was performed to prepare a laminate of the base material layer / adhesive layer / barrier layer.
  • a two-component curable urethane adhesive polyol compound and aromatic isocyanate compound
  • erucamide was present as a lubricant on both surfaces of the obtained exterior material for a power storage device to form a lubricant layer.
  • Comparative Example 2 A barrier layer made of an aluminum foil (JIS H4160: 1994 A8021HO, thickness of 35 ⁇ m) having an acid-resistant film formed on both sides on a biaxially stretched nylon film (thickness of 25 ⁇ m) as a base material layer by a dry lamination method. Were laminated. Specifically, a two-component curable urethane adhesive (polyol compound and aromatic isocyanate compound) is applied to one side of an aluminum foil having an acid-resistant film formed on both sides, and an adhesive layer (after curing) is applied on the aluminum foil. (Thickness: 3 ⁇ m). Next, after laminating the adhesive layer on the aluminum foil and the biaxially stretched nylon film, an aging treatment was performed to prepare a laminate of the base material layer / adhesive layer / barrier layer.
  • a two-component curable urethane adhesive polyol compound and aromatic isocyanate compound
  • a maleic anhydride-modified polypropylene (14 ⁇ m in thickness) as an adhesive layer and a polypropylene (10 ⁇ m in thickness) as a heat-fusible resin layer are coextruded on the barrier layer of the obtained laminate.
  • the adhesive layer / heat-fusible resin layer was laminated on the barrier layer.
  • the obtained laminate is aged and heated to obtain a biaxially stretched nylon film (25 ⁇ m) / adhesive layer (3 ⁇ m) / barrier layer (35 ⁇ m) / adhesive layer (14 ⁇ m) / heat-fusible resin
  • An exterior material for an electric storage device (total thickness: 87 ⁇ m) in which layers (10 ⁇ m) were laminated in this order was obtained.
  • Table 1 shows the laminated structure of the power storage device exterior material.
  • erucamide was present as a lubricant on both surfaces of the obtained exterior material for a power storage device to form a lubricant layer.
  • a barrier layer made of an aluminum foil (JIS H4160: 1994 A8021HO, thickness of 40 ⁇ m) having an acid-resistant film formed on both sides on a biaxially stretched nylon film (thickness of 25 ⁇ m) as a base material layer is dry-laminated.
  • a two-component curable urethane adhesive polyol compound and aromatic isocyanate compound
  • an adhesive layer after curing is applied on the aluminum foil.
  • an aging treatment was performed to prepare a laminate of the base material layer / adhesive layer / barrier layer.
  • a maleic anhydride-modified polypropylene (22.5 ⁇ m in thickness) as an adhesive layer and a polypropylene (22.5 ⁇ m in thickness) as a heat-fusible resin layer were formed on the barrier layer of the obtained laminate.
  • a maleic anhydride-modified polypropylene (22.5 ⁇ m in thickness) as an adhesive layer and a polypropylene (22.5 ⁇ m in thickness) as a heat-fusible resin layer were formed on the barrier layer of the obtained laminate.
  • erucamide was present as a lubricant on both surfaces of the obtained exterior material for a power storage device to form a lubricant layer.
  • Comparative Example 4 A barrier layer made of an aluminum foil (JIS H4160: 1994 A8021HO, thickness of 40 ⁇ m) having an acid-resistant film formed on both sides on a biaxially stretched nylon film (thickness of 25 ⁇ m) as a base material layer is dry-laminated. Were laminated. Specifically, a two-component curable urethane adhesive (polyol compound and aromatic isocyanate compound) is applied to one side of an aluminum foil having an acid-resistant film formed on both sides, and an adhesive layer (after curing) is applied on the aluminum foil. 2 ⁇ m thick). Next, after laminating the adhesive layer on the aluminum foil and the biaxially stretched nylon film, an aging treatment was performed to prepare a laminate of the base material layer / adhesive layer / barrier layer.
  • a two-component curable urethane adhesive polyol compound and aromatic isocyanate compound
  • a maleic anhydride-modified polypropylene (14 ⁇ m in thickness) as an adhesive layer and a polypropylene (10 ⁇ m in thickness) as a heat-fusible resin layer are coextruded on the barrier layer of the obtained laminate.
  • the adhesive layer / heat-fusible resin layer was laminated on the barrier layer.
  • the obtained laminate is aged and heated to obtain a biaxially stretched nylon film (25 ⁇ m) / adhesive layer (2 ⁇ m) / barrier layer (40 ⁇ m) / adhesive layer (14 ⁇ m) / heat-fusible resin
  • An exterior material for an electric storage device (total thickness: 91 ⁇ m) in which layers (10 ⁇ m) were laminated in this order was obtained.
  • Table 1 shows the laminated structure of the power storage device exterior material.
  • erucamide was present as a lubricant on both surfaces of the obtained exterior material for a power storage device to form a lubricant layer.
  • Comparative Example 5 A barrier layer made of an aluminum foil (JIS H4160: 1994 A8021HO, thickness of 40 ⁇ m) having an acid-resistant film formed on both sides on a biaxially stretched nylon film (thickness: 15 ⁇ m) as a base material layer by a dry lamination method. Were laminated. Specifically, a two-component curable urethane adhesive (polyol compound and aromatic isocyanate compound) is applied to one side of an aluminum foil having an acid-resistant film formed on both sides, and an adhesive layer (after curing) is applied on the aluminum foil. (Thickness: 3 ⁇ m). Next, after laminating the adhesive layer on the aluminum foil and the biaxially stretched nylon film, an aging treatment was performed to prepare a laminate of the base material layer / adhesive layer / barrier layer.
  • a two-component curable urethane adhesive polyol compound and aromatic isocyanate compound
  • a maleic anhydride-modified polypropylene (14 ⁇ m in thickness) as an adhesive layer and a polypropylene (10 ⁇ m in thickness) as a heat-fusible resin layer are coextruded on the barrier layer of the obtained laminate.
  • the adhesive layer / heat-fusible resin layer was laminated on the barrier layer.
  • the obtained laminate is aged and heated, so that a biaxially stretched nylon film (15 ⁇ m) / adhesive layer (3 ⁇ m) / barrier layer (40 ⁇ m) / adhesive layer (14 ⁇ m) / heat-fusible resin
  • An exterior material for an electric storage device (total thickness: 82 ⁇ m) in which layers (10 ⁇ m) were laminated in this order was obtained.
  • Table 1 shows the laminated structure of the power storage device exterior material.
  • erucamide was present as a lubricant on both surfaces of the obtained exterior material for a power storage device to form a lubricant layer.
  • Comparative Example 6 In Comparative Example 1, in place of the two-component curable urethane adhesive (polyol compound and aromatic isocyanate compound) for bonding the base material layer and the barrier layer, a two-component curable urethane adhesive containing a black pigment ( Biaxially stretched nylon film (15 ⁇ m) / adhesive layer (black, 3 ⁇ m) / barrier layer (35 ⁇ m) / same as in Comparative Example 1 except that black pigment, polyol compound and aromatic isocyanate compound were used. A laminate (total thickness: 88 ⁇ m) in which an adhesive layer (20 ⁇ m) / a heat-fusible resin layer (15 ⁇ m) was laminated in this order was obtained.
  • a black pigment Biaxially stretched nylon film (15 ⁇ m) / adhesive layer (black, 3 ⁇ m) / barrier layer (35 ⁇ m) / same as in Comparative Example 1 except that black pigment, polyol compound and aromatic isocyanate compound were used.
  • sedimentable barium sulfate having an average particle diameter of 1 ⁇ m as a filler, erucamide, and an acrylate resin having an average particle diameter of 2 ⁇ m were used.
  • the resulting resin composition (thickness after curing was 3 ⁇ m) was applied to form a mat-like surface coating layer to obtain an exterior material for an electric storage device (total thickness 91 ⁇ m).
  • the average particle diameter of the sedimentable barium sulfate is a median diameter measured by a laser diffraction / scattering type particle diameter distribution measuring device (“LA-950” manufactured by Horiba, Ltd.). Table 1 shows the laminated structure of the power storage device exterior material.
  • erucamide was present as a lubricant on both surfaces of the obtained exterior material for a power storage device to form a lubricant layer.
  • the breaking energy per unit width of 1 m in MD and the breaking energy per unit width of 1 m in TD were totaled.
  • five exterior materials for power storage devices to be measured were prepared, and among the fracture energy values of the five samples, the average of three values excluding the maximum value and the minimum value was calculated as the fracture energy of the laminate.
  • Table 2 shows the results.
  • the values of the breaking energy of the laminate shown in Table 2 are values obtained by rounding off the second decimal place of the obtained average value. (Test condition) ⁇ Tensile tester: Shimadzu AGS-XPlus ⁇ Test speed: 50mm / min -Width of test piece: 15mm ⁇ Test piece length: 100mm ⁇ Distance between gauges: 30mm
  • FIG. 10 shows a schematic diagram of a curve of a measured load (N / 15 mm) -displacement obtained in a tensile test (MD) of the exterior material for an electricity storage device.
  • the part where the data of the curve of the measured load (N / 15 mm) -displacement amount was integrated is, for example, as shown in the schematic diagram of FIG. 11, the integral from the start of the tensile test (displacement amount 0) to the breaking point of the laminate. This value corresponds to the area of the hatched portion in FIG.
  • the molding curl (mm) shown in Table 1 is a value obtained by rounding off the second decimal place of the maximum value t.
  • Each power storage device exterior material was cut into a rectangle having a length (MD) of 90 mm and a width (TD) of 150 mm to obtain a test sample.
  • a rectangular mold having a diameter of 32 mm (MD) ⁇ 54 mm (TD) female mold, surface is JIS B 0659-1: 2002, Appendix 1 (reference)
  • the maximum height roughness (nominal value of Rz) specified in Table 2 is 3.2 ⁇ m) and the corresponding molding die (male mold, surface is JIS B 0659-1: 2002 Annex 1) (Reference)
  • a pressing pressure (surface pressure) of 0.25 MPa was set to 0.
  • the forming depth was changed in increments of 0.5 mm from the forming depth of 0.5 mm, and each of the 20 samples was subjected to cold forming (drawing one-step forming). At this time, the test sample was placed on the female mold and molded so that the heat-fusible resin layer side was positioned on the male mold side. The clearance between the male and female molds was 0.5 mm. The sample after cold forming was irradiated with light with a penlight in a dark room, and it was confirmed whether or not pinholes or cracks were generated in the barrier layer due to light transmission.
  • Amm is the deepest molding depth at which pinholes and cracks do not occur in all of the 20 samples in the barrier layer
  • B is the number of samples where pinholes and the like occur at the shallowest molding depth at which the pinholes and the like occur in the barrier layer.
  • the value calculated by the following formula was defined as the critical forming depth of the exterior material for an electricity storage device. Table 1 shows the results.
  • the critical forming depth (mm) shown in Table 1 is a value obtained by rounding off the calculated value to the second decimal place.
  • Limit forming depth Amm + (0.5mm / 20 pieces) x (20 pieces-B pieces)
  • Each power storage device exterior material was cut to produce a strip having a length (MD) of 90 mm and a width (TD) of 150 mm, which was used as a test sample.
  • the specified maximum height roughness (nominal value of Rz) is 1.6 ⁇ m, a corner R2.0 mm, a ridgeline R1.0 mm) and a female mold having a clearance of 0.3 mm from the male mold (surface is: JIS B 0659-1: 2002 Annex 1 (Reference)
  • the maximum height roughness (nominal value of Rz) is 3.2 ⁇ m, as defined in Table 2 of the comparative surface roughness standard piece.
  • test sample was placed on a female mold using a straight mold having a ridge line (1.0 mm) with the heat-fusible resin layer side of the test sample positioned on the male mold side. Pressing with 25MPa pressing pressure (surface pressure), cold forming ( 1-stage molding) was included come.
  • forming is sequentially performed under the condition that the forming depth is increased by 0.5 mm from 2.0 mm, and the thickness a of the corner P of the barrier layer of the test sample after forming (see FIG. 9) ) And the molding depth were plotted, and an approximate straight line was drawn to create a graph. From the graph, the molding depth at which the thickness a of the corner P of the barrier layer was 20 ⁇ m was determined.
  • the molding depth (mm) at which the thickness of the barrier layer is 20 ⁇ m shown in Table 1 is a value obtained by rounding off the calculated value to the second decimal place.
  • the thickness a of the barrier layer of the test sample after molding is such that, when the test sample is viewed in plan from the base material layer side, the microtome (Yamato The package is cut in the thickness direction by Komiki Kogyo Co., Ltd .: REM-710 Retorome, and the exterior material for a power storage device is divided into two parts. -9700).
  • One of the divided test samples had two corners, and the thickness a of the barrier layer was an average value of the thickness a of the barrier layer at these corners.
  • FIG. 9 shows a schematic view of the barrier layer of the test sample after molding.
  • the position of the thickness of the corner P is where the radius of curvature is the smallest in the corner P (curved portion) formed by molding, and usually means a central portion from the start to the end of bending.
  • the positive electrode of the tester was connected to the aluminum plate, and the negative electrode was connected to the exterior material for the electricity storage device.
  • the alligator clip was sandwiched so as to reach the barrier layer from the base material layer side of the power storage device exterior material, and the negative electrode of the tester was electrically connected to the barrier layer.
  • the tester was prepared to generate a conduction (short circuit) signal when the applied voltage became 100 V and the resistance became 200 M ⁇ or less.
  • a voltage of 100 V is applied between the testers, and in this state, at a temperature of 190 ° C., 1 MPa, and a width of 7 mm, the stainless steel wire is interposed between the aluminum plate and the exterior material for the power storage device so as to be orthogonal to the wire.
  • Heat sealing was performed, and the time until a short circuit signal was generated was measured. The measurement was performed five times, and the average value of three points excluding the longest and shortest points was defined as the time until a short circuit.
  • a case where the time until the short circuit was 40.0 seconds or more was determined as A
  • a case where it was less than 40.0 seconds and 13.0 seconds or more was determined as C. If the evaluation is A or B, the insulation is excellent, and the evaluation A is particularly excellent in insulation.
  • ONy is a biaxially stretched nylon film
  • DL is an adhesive layer or an adhesive layer formed by a dry lamination method
  • ALM is an aluminum foil
  • PPa is an adhesive layer formed of maleic anhydride-modified polypropylene
  • PP is polypropylene.
  • CPP mean a heat-fusible resin layer formed of unstretched polypropylene (CPP).
  • SC means a surface coating layer.
  • the numerical value in the laminated structure means the thickness ( ⁇ m).
  • the notation “ONy15” means a biaxially stretched nylon film having a thickness of 15 ⁇ m.
  • the exterior materials for power storage devices of Examples 1 to 6 had a base material layer having a polyamide film layer, and the thickness of the polyamide film layer was 10 ⁇ m or more and 17 ⁇ m or less, The thickness of the barrier layer is not less than 36 ⁇ m and not more than 44 ⁇ m, and the thickness of the laminate is set to not less than 83 ⁇ m and not more than 93 ⁇ m. It can be seen that the molding curl is effectively suppressed.
  • the outer layer materials for power storage devices of Examples 1 to 5 were also excellent in moldability. It can be seen that the outer layer materials for power storage devices of Examples 1, 4, and 5 have a large forming depth at which the thickness of the barrier layer is 20 ⁇ m and a large limit forming depth, and particularly high formability.
  • the power storage device exterior materials of Comparative Examples 1 to 4 and Comparative Example 6 had large curls.
  • the power storage device exterior material of Comparative Example 5 was thinner than 83 ⁇ m, had insufficient insulation, and was not suitable as a power storage device exterior material.

Landscapes

  • Engineering & Computer Science (AREA)
  • Chemical & Material Sciences (AREA)
  • Chemical Kinetics & Catalysis (AREA)
  • Electrochemistry (AREA)
  • General Chemical & Material Sciences (AREA)
  • Power Engineering (AREA)
  • Microelectronics & Electronic Packaging (AREA)
  • Manufacturing & Machinery (AREA)
  • Sealing Battery Cases Or Jackets (AREA)
  • Electric Double-Layer Capacitors Or The Like (AREA)
  • Laminated Bodies (AREA)
PCT/JP2019/030582 2018-08-02 2019-08-02 蓄電デバイス用外装材、その製造方法、及び蓄電デバイス Ceased WO2020027333A1 (ja)

Priority Applications (1)

Application Number Priority Date Filing Date Title
JP2019571092A JP6690800B1 (ja) 2018-08-02 2019-08-02 蓄電デバイス用外装材、その製造方法、及び蓄電デバイス

Applications Claiming Priority (2)

Application Number Priority Date Filing Date Title
JP2018-146257 2018-08-02
JP2018146257 2018-08-02

Publications (1)

Publication Number Publication Date
WO2020027333A1 true WO2020027333A1 (ja) 2020-02-06

Family

ID=69231787

Family Applications (1)

Application Number Title Priority Date Filing Date
PCT/JP2019/030582 Ceased WO2020027333A1 (ja) 2018-08-02 2019-08-02 蓄電デバイス用外装材、その製造方法、及び蓄電デバイス

Country Status (2)

Country Link
JP (2) JP6690800B1 (enExample)
WO (1) WO2020027333A1 (enExample)

Cited By (3)

* Cited by examiner, † Cited by third party
Publication number Priority date Publication date Assignee Title
WO2021157489A1 (ja) 2020-02-07 2021-08-12 凸版印刷株式会社 蓄電装置用外装材及びこれを用いた蓄電装置
JPWO2021162059A1 (enExample) * 2020-02-10 2021-08-19
CN114843664A (zh) * 2022-03-29 2022-08-02 佛山市中技烯米新材料有限公司 一种动力电池铝塑膜

Families Citing this family (3)

* Cited by examiner, † Cited by third party
Publication number Priority date Publication date Assignee Title
WO2020027333A1 (ja) * 2018-08-02 2020-02-06 大日本印刷株式会社 蓄電デバイス用外装材、その製造方法、及び蓄電デバイス
JP2022041469A (ja) * 2020-09-01 2022-03-11 凸版印刷株式会社 蓄電装置用外装材及びこれを用いた蓄電装置
KR20230060457A (ko) 2021-10-27 2023-05-04 가부시키가이샤 레조낙·패키징 전지용 포장재

Citations (4)

* Cited by examiner, † Cited by third party
Publication number Priority date Publication date Assignee Title
JP2017126510A (ja) * 2016-01-15 2017-07-20 大日本印刷株式会社 電池用包装材料
JP2017208172A (ja) * 2016-05-16 2017-11-24 凸版印刷株式会社 蓄電デバイス用外装材及び蓄電デバイス
JP2017224485A (ja) * 2016-06-15 2017-12-21 凸版印刷株式会社 蓄電装置用外装材
JP2018060765A (ja) * 2016-09-29 2018-04-12 ユニチカ株式会社 リチウムイオン二次電池外装材

Family Cites Families (9)

* Cited by examiner, † Cited by third party
Publication number Priority date Publication date Assignee Title
JP6075162B2 (ja) * 2013-03-29 2017-02-08 凸版印刷株式会社 外装材、蓄電池、及び外装材の製造方法
CN106663751B (zh) * 2014-07-17 2020-02-07 大日本印刷株式会社 电池用包装材料
CN106663755B (zh) * 2014-08-28 2019-09-03 大日本印刷株式会社 电池用包装材料
JP6492526B2 (ja) * 2014-10-22 2019-04-03 凸版印刷株式会社 蓄電装置用外装材及び蓄電装置
JP7244206B2 (ja) * 2016-01-29 2023-03-22 大日本印刷株式会社 包装材料及び電池
CN108886113B (zh) * 2016-04-01 2022-04-26 凸版印刷株式会社 蓄电装置用封装材料以及蓄电装置用封装材料的制造方法
CN108886116B (zh) * 2016-04-12 2021-12-21 大日本印刷株式会社 电池用包装材料、其制造方法和电池
JP6319387B2 (ja) * 2016-09-07 2018-05-09 大日本印刷株式会社 電池用包装材料
WO2020027333A1 (ja) * 2018-08-02 2020-02-06 大日本印刷株式会社 蓄電デバイス用外装材、その製造方法、及び蓄電デバイス

Patent Citations (4)

* Cited by examiner, † Cited by third party
Publication number Priority date Publication date Assignee Title
JP2017126510A (ja) * 2016-01-15 2017-07-20 大日本印刷株式会社 電池用包装材料
JP2017208172A (ja) * 2016-05-16 2017-11-24 凸版印刷株式会社 蓄電デバイス用外装材及び蓄電デバイス
JP2017224485A (ja) * 2016-06-15 2017-12-21 凸版印刷株式会社 蓄電装置用外装材
JP2018060765A (ja) * 2016-09-29 2018-04-12 ユニチカ株式会社 リチウムイオン二次電池外装材

Cited By (3)

* Cited by examiner, † Cited by third party
Publication number Priority date Publication date Assignee Title
WO2021157489A1 (ja) 2020-02-07 2021-08-12 凸版印刷株式会社 蓄電装置用外装材及びこれを用いた蓄電装置
JPWO2021162059A1 (enExample) * 2020-02-10 2021-08-19
CN114843664A (zh) * 2022-03-29 2022-08-02 佛山市中技烯米新材料有限公司 一种动力电池铝塑膜

Also Published As

Publication number Publication date
JPWO2020027333A1 (ja) 2020-08-06
JP2020129543A (ja) 2020-08-27
JP6690800B1 (ja) 2020-04-28

Similar Documents

Publication Publication Date Title
JP7622810B2 (ja) 蓄電デバイス用外装材、その製造方法、及び蓄電デバイス
US10128471B2 (en) Battery-packaging material
EP3188278B1 (en) Packaging material for battery
JP6690800B1 (ja) 蓄電デバイス用外装材、その製造方法、及び蓄電デバイス
JP6628009B2 (ja) 電池用包装材料、その製造方法、及び電池
JPWO2019039505A1 (ja) 電池用包装材料及び電池
JPWO2018174056A1 (ja) 電池用包装材料、その製造方法、電池用包装材料用ポリブチレンテレフタレートフィルム、及び電池
JP2020155364A (ja) 蓄電デバイス用外装材、その製造方法、及び蓄電デバイス
JPWO2019027021A1 (ja) 電池用包装材料及び電池
WO2020085463A1 (ja) 蓄電デバイス用外装材、その製造方法、及び蓄電デバイス
WO2023058453A1 (ja) 蓄電デバイス用外装材、その製造方法、及び蓄電デバイス
WO2019070078A1 (ja) 電池用包装材料及び電池
JP2019212433A (ja) 電池用包装材料、その製造方法、電池用包装材料の巻取体、電池
WO2023243696A1 (ja) 蓄電デバイス用外装材、その製造方法、及び蓄電デバイス
CN113646857A (zh) 蓄电器件用外包装材料、其制造方法和蓄电器件
JPWO2017188445A1 (ja) 電池用包装材料及び電池
WO2020085464A1 (ja) 蓄電デバイス用外装材、その製造方法、及び蓄電デバイス
JP6638875B1 (ja) 電池用包装材料、その製造方法、ポリエステルフィルム、及び電池
JP7332072B1 (ja) 蓄電デバイス用外装材、その製造方法、及び蓄電デバイス
JP7347455B2 (ja) 蓄電デバイス用外装材、蓄電デバイス、及びこれらの製造方法
WO2023022086A1 (ja) 蓄電デバイス用外装材、その製造方法、及び蓄電デバイス
WO2020085461A1 (ja) 蓄電デバイス用外装材、その製造方法、及び蓄電デバイス
JP7694416B2 (ja) 蓄電デバイス用外装材、その製造方法、及び蓄電デバイス
JP7722196B2 (ja) 蓄電デバイス用外装材、その製造方法、及び蓄電デバイス
WO2025079718A1 (ja) 蓄電デバイス用外装材、その製造方法、及び蓄電デバイス

Legal Events

Date Code Title Description
ENP Entry into the national phase

Ref document number: 2019571092

Country of ref document: JP

Kind code of ref document: A

121 Ep: the epo has been informed by wipo that ep was designated in this application

Ref document number: 19843606

Country of ref document: EP

Kind code of ref document: A1

NENP Non-entry into the national phase

Ref country code: DE

122 Ep: pct application non-entry in european phase

Ref document number: 19843606

Country of ref document: EP

Kind code of ref document: A1