WO2020004459A1 - 電子素子搭載用基板、電子装置および電子モジュール - Google Patents

電子素子搭載用基板、電子装置および電子モジュール Download PDF

Info

Publication number
WO2020004459A1
WO2020004459A1 PCT/JP2019/025369 JP2019025369W WO2020004459A1 WO 2020004459 A1 WO2020004459 A1 WO 2020004459A1 JP 2019025369 W JP2019025369 W JP 2019025369W WO 2020004459 A1 WO2020004459 A1 WO 2020004459A1
Authority
WO
WIPO (PCT)
Prior art keywords
substrate
electronic element
main surface
view
electronic
Prior art date
Legal status (The legal status is an assumption and is not a legal conclusion. Google has not performed a legal analysis and makes no representation as to the accuracy of the status listed.)
Ceased
Application number
PCT/JP2019/025369
Other languages
English (en)
French (fr)
Japanese (ja)
Inventor
登 北住
陽介 森山
Current Assignee (The listed assignees may be inaccurate. Google has not performed a legal analysis and makes no representation or warranty as to the accuracy of the list.)
Kyocera Corp
Original Assignee
Kyocera Corp
Priority date (The priority date is an assumption and is not a legal conclusion. Google has not performed a legal analysis and makes no representation as to the accuracy of the date listed.)
Filing date
Publication date
Application filed by Kyocera Corp filed Critical Kyocera Corp
Priority to CN201980042360.9A priority Critical patent/CN112368825A/zh
Priority to JP2020527574A priority patent/JP7025545B2/ja
Priority to EP19825844.4A priority patent/EP3817041B1/en
Priority to US17/254,458 priority patent/US20210272868A1/en
Publication of WO2020004459A1 publication Critical patent/WO2020004459A1/ja
Anticipated expiration legal-status Critical
Priority to JP2022019951A priority patent/JP7358525B2/ja
Ceased legal-status Critical Current

Links

Images

Classifications

    • HELECTRICITY
    • H01ELECTRIC ELEMENTS
    • H01LSEMICONDUCTOR DEVICES NOT COVERED BY CLASS H10
    • H01L23/00Details of semiconductor or other solid state devices
    • H01L23/34Arrangements for cooling, heating, ventilating or temperature compensation ; Temperature sensing arrangements
    • H01L23/36Selection of materials, or shaping, to facilitate cooling or heating, e.g. heatsinks
    • H01L23/367Cooling facilitated by shape of device
    • HELECTRICITY
    • H01ELECTRIC ELEMENTS
    • H01LSEMICONDUCTOR DEVICES NOT COVERED BY CLASS H10
    • H01L23/00Details of semiconductor or other solid state devices
    • H01L23/34Arrangements for cooling, heating, ventilating or temperature compensation ; Temperature sensing arrangements
    • H01L23/36Selection of materials, or shaping, to facilitate cooling or heating, e.g. heatsinks
    • H01L23/367Cooling facilitated by shape of device
    • H01L23/3677Wire-like or pin-like cooling fins or heat sinks
    • HELECTRICITY
    • H01ELECTRIC ELEMENTS
    • H01LSEMICONDUCTOR DEVICES NOT COVERED BY CLASS H10
    • H01L23/00Details of semiconductor or other solid state devices
    • H01L23/12Mountings, e.g. non-detachable insulating substrates
    • H01L23/13Mountings, e.g. non-detachable insulating substrates characterised by the shape
    • HELECTRICITY
    • H01ELECTRIC ELEMENTS
    • H01LSEMICONDUCTOR DEVICES NOT COVERED BY CLASS H10
    • H01L23/00Details of semiconductor or other solid state devices
    • H01L23/12Mountings, e.g. non-detachable insulating substrates
    • H01L23/14Mountings, e.g. non-detachable insulating substrates characterised by the material or its electrical properties
    • H01L23/15Ceramic or glass substrates
    • HELECTRICITY
    • H01ELECTRIC ELEMENTS
    • H01LSEMICONDUCTOR DEVICES NOT COVERED BY CLASS H10
    • H01L23/00Details of semiconductor or other solid state devices
    • H01L23/34Arrangements for cooling, heating, ventilating or temperature compensation ; Temperature sensing arrangements
    • H01L23/36Selection of materials, or shaping, to facilitate cooling or heating, e.g. heatsinks
    • H01L23/373Cooling facilitated by selection of materials for the device or materials for thermal expansion adaptation, e.g. carbon
    • HELECTRICITY
    • H01ELECTRIC ELEMENTS
    • H01LSEMICONDUCTOR DEVICES NOT COVERED BY CLASS H10
    • H01L23/00Details of semiconductor or other solid state devices
    • H01L23/48Arrangements for conducting electric current to or from the solid state body in operation, e.g. leads, terminal arrangements ; Selection of materials therefor
    • H01L23/488Arrangements for conducting electric current to or from the solid state body in operation, e.g. leads, terminal arrangements ; Selection of materials therefor consisting of soldered or bonded constructions
    • H01L23/498Leads, i.e. metallisations or lead-frames on insulating substrates, e.g. chip carriers
    • H01L23/49827Via connections through the substrates, e.g. pins going through the substrate, coaxial cables
    • HELECTRICITY
    • H01ELECTRIC ELEMENTS
    • H01LSEMICONDUCTOR DEVICES NOT COVERED BY CLASS H10
    • H01L23/00Details of semiconductor or other solid state devices
    • H01L23/48Arrangements for conducting electric current to or from the solid state body in operation, e.g. leads, terminal arrangements ; Selection of materials therefor
    • H01L23/488Arrangements for conducting electric current to or from the solid state body in operation, e.g. leads, terminal arrangements ; Selection of materials therefor consisting of soldered or bonded constructions
    • H01L23/498Leads, i.e. metallisations or lead-frames on insulating substrates, e.g. chip carriers
    • H01L23/49833Leads, i.e. metallisations or lead-frames on insulating substrates, e.g. chip carriers the chip support structure consisting of a plurality of insulating substrates
    • HELECTRICITY
    • H01ELECTRIC ELEMENTS
    • H01LSEMICONDUCTOR DEVICES NOT COVERED BY CLASS H10
    • H01L23/00Details of semiconductor or other solid state devices
    • H01L23/52Arrangements for conducting electric current within the device in operation from one component to another, i.e. interconnections, e.g. wires, lead frames
    • H01L23/538Arrangements for conducting electric current within the device in operation from one component to another, i.e. interconnections, e.g. wires, lead frames the interconnection structure between a plurality of semiconductor chips being formed on, or in, insulating substrates
    • H01L23/5384Conductive vias through the substrate with or without pins, e.g. buried coaxial conductors
    • HELECTRICITY
    • H05ELECTRIC TECHNIQUES NOT OTHERWISE PROVIDED FOR
    • H05KPRINTED CIRCUITS; CASINGS OR CONSTRUCTIONAL DETAILS OF ELECTRIC APPARATUS; MANUFACTURE OF ASSEMBLAGES OF ELECTRICAL COMPONENTS
    • H05K1/00Printed circuits
    • H05K1/02Details
    • H05K1/03Use of materials for the substrate
    • H05K1/0306Inorganic insulating substrates, e.g. ceramic, glass
    • HELECTRICITY
    • H01ELECTRIC ELEMENTS
    • H01LSEMICONDUCTOR DEVICES NOT COVERED BY CLASS H10
    • H01L2224/00Indexing scheme for arrangements for connecting or disconnecting semiconductor or solid-state bodies and methods related thereto as covered by H01L24/00
    • H01L2224/01Means for bonding being attached to, or being formed on, the surface to be connected, e.g. chip-to-package, die-attach, "first-level" interconnects; Manufacturing methods related thereto
    • H01L2224/26Layer connectors, e.g. plate connectors, solder or adhesive layers; Manufacturing methods related thereto
    • H01L2224/28Structure, shape, material or disposition of the layer connectors prior to the connecting process
    • H01L2224/29Structure, shape, material or disposition of the layer connectors prior to the connecting process of an individual layer connector
    • H01L2224/29001Core members of the layer connector
    • H01L2224/29099Material
    • H01L2224/291Material with a principal constituent of the material being a metal or a metalloid, e.g. boron [B], silicon [Si], germanium [Ge], arsenic [As], antimony [Sb], tellurium [Te] and polonium [Po], and alloys thereof
    • H01L2224/29138Material with a principal constituent of the material being a metal or a metalloid, e.g. boron [B], silicon [Si], germanium [Ge], arsenic [As], antimony [Sb], tellurium [Te] and polonium [Po], and alloys thereof the principal constituent melting at a temperature of greater than or equal to 950°C and less than 1550°C
    • H01L2224/29144Gold [Au] as principal constituent
    • HELECTRICITY
    • H01ELECTRIC ELEMENTS
    • H01LSEMICONDUCTOR DEVICES NOT COVERED BY CLASS H10
    • H01L2224/00Indexing scheme for arrangements for connecting or disconnecting semiconductor or solid-state bodies and methods related thereto as covered by H01L24/00
    • H01L2224/01Means for bonding being attached to, or being formed on, the surface to be connected, e.g. chip-to-package, die-attach, "first-level" interconnects; Manufacturing methods related thereto
    • H01L2224/42Wire connectors; Manufacturing methods related thereto
    • H01L2224/47Structure, shape, material or disposition of the wire connectors after the connecting process
    • H01L2224/48Structure, shape, material or disposition of the wire connectors after the connecting process of an individual wire connector
    • H01L2224/481Disposition
    • H01L2224/48135Connecting between different semiconductor or solid-state bodies, i.e. chip-to-chip
    • H01L2224/48137Connecting between different semiconductor or solid-state bodies, i.e. chip-to-chip the bodies being arranged next to each other, e.g. on a common substrate
    • HELECTRICITY
    • H01ELECTRIC ELEMENTS
    • H01LSEMICONDUCTOR DEVICES NOT COVERED BY CLASS H10
    • H01L2224/00Indexing scheme for arrangements for connecting or disconnecting semiconductor or solid-state bodies and methods related thereto as covered by H01L24/00
    • H01L2224/01Means for bonding being attached to, or being formed on, the surface to be connected, e.g. chip-to-package, die-attach, "first-level" interconnects; Manufacturing methods related thereto
    • H01L2224/42Wire connectors; Manufacturing methods related thereto
    • H01L2224/47Structure, shape, material or disposition of the wire connectors after the connecting process
    • H01L2224/48Structure, shape, material or disposition of the wire connectors after the connecting process of an individual wire connector
    • H01L2224/481Disposition
    • H01L2224/48151Connecting between a semiconductor or solid-state body and an item not being a semiconductor or solid-state body, e.g. chip-to-substrate, chip-to-passive
    • H01L2224/48221Connecting between a semiconductor or solid-state body and an item not being a semiconductor or solid-state body, e.g. chip-to-substrate, chip-to-passive the body and the item being stacked
    • H01L2224/48225Connecting between a semiconductor or solid-state body and an item not being a semiconductor or solid-state body, e.g. chip-to-substrate, chip-to-passive the body and the item being stacked the item being non-metallic, e.g. insulating substrate with or without metallisation
    • H01L2224/48227Connecting between a semiconductor or solid-state body and an item not being a semiconductor or solid-state body, e.g. chip-to-substrate, chip-to-passive the body and the item being stacked the item being non-metallic, e.g. insulating substrate with or without metallisation connecting the wire to a bond pad of the item
    • HELECTRICITY
    • H01ELECTRIC ELEMENTS
    • H01LSEMICONDUCTOR DEVICES NOT COVERED BY CLASS H10
    • H01L2224/00Indexing scheme for arrangements for connecting or disconnecting semiconductor or solid-state bodies and methods related thereto as covered by H01L24/00
    • H01L2224/01Means for bonding being attached to, or being formed on, the surface to be connected, e.g. chip-to-package, die-attach, "first-level" interconnects; Manufacturing methods related thereto
    • H01L2224/42Wire connectors; Manufacturing methods related thereto
    • H01L2224/47Structure, shape, material or disposition of the wire connectors after the connecting process
    • H01L2224/49Structure, shape, material or disposition of the wire connectors after the connecting process of a plurality of wire connectors
    • H01L2224/491Disposition
    • H01L2224/4912Layout
    • HELECTRICITY
    • H01ELECTRIC ELEMENTS
    • H01LSEMICONDUCTOR DEVICES NOT COVERED BY CLASS H10
    • H01L2224/00Indexing scheme for arrangements for connecting or disconnecting semiconductor or solid-state bodies and methods related thereto as covered by H01L24/00
    • H01L2224/73Means for bonding being of different types provided for in two or more of groups H01L2224/10, H01L2224/18, H01L2224/26, H01L2224/34, H01L2224/42, H01L2224/50, H01L2224/63, H01L2224/71
    • H01L2224/732Location after the connecting process
    • H01L2224/73251Location after the connecting process on different surfaces
    • H01L2224/73265Layer and wire connectors
    • HELECTRICITY
    • H01ELECTRIC ELEMENTS
    • H01LSEMICONDUCTOR DEVICES NOT COVERED BY CLASS H10
    • H01L2224/00Indexing scheme for arrangements for connecting or disconnecting semiconductor or solid-state bodies and methods related thereto as covered by H01L24/00
    • H01L2224/80Methods for connecting semiconductor or other solid state bodies using means for bonding being attached to, or being formed on, the surface to be connected
    • H01L2224/83Methods for connecting semiconductor or other solid state bodies using means for bonding being attached to, or being formed on, the surface to be connected using a layer connector
    • H01L2224/838Bonding techniques
    • H01L2224/83801Soldering or alloying
    • HELECTRICITY
    • H01ELECTRIC ELEMENTS
    • H01LSEMICONDUCTOR DEVICES NOT COVERED BY CLASS H10
    • H01L2224/00Indexing scheme for arrangements for connecting or disconnecting semiconductor or solid-state bodies and methods related thereto as covered by H01L24/00
    • H01L2224/91Methods for connecting semiconductor or solid state bodies including different methods provided for in two or more of groups H01L2224/80 - H01L2224/90
    • H01L2224/92Specific sequence of method steps
    • H01L2224/922Connecting different surfaces of the semiconductor or solid-state body with connectors of different types
    • H01L2224/9222Sequential connecting processes
    • H01L2224/92242Sequential connecting processes the first connecting process involving a layer connector
    • H01L2224/92247Sequential connecting processes the first connecting process involving a layer connector the second connecting process involving a wire connector
    • HELECTRICITY
    • H01ELECTRIC ELEMENTS
    • H01LSEMICONDUCTOR DEVICES NOT COVERED BY CLASS H10
    • H01L24/00Arrangements for connecting or disconnecting semiconductor or solid-state bodies; Methods or apparatus related thereto
    • H01L24/01Means for bonding being attached to, or being formed on, the surface to be connected, e.g. chip-to-package, die-attach, "first-level" interconnects; Manufacturing methods related thereto
    • H01L24/26Layer connectors, e.g. plate connectors, solder or adhesive layers; Manufacturing methods related thereto
    • H01L24/31Structure, shape, material or disposition of the layer connectors after the connecting process
    • H01L24/32Structure, shape, material or disposition of the layer connectors after the connecting process of an individual layer connector
    • HELECTRICITY
    • H01ELECTRIC ELEMENTS
    • H01LSEMICONDUCTOR DEVICES NOT COVERED BY CLASS H10
    • H01L2924/00Indexing scheme for arrangements or methods for connecting or disconnecting semiconductor or solid-state bodies as covered by H01L24/00
    • H01L2924/0001Technical content checked by a classifier
    • H01L2924/00014Technical content checked by a classifier the subject-matter covered by the group, the symbol of which is combined with the symbol of this group, being disclosed without further technical details
    • HELECTRICITY
    • H01ELECTRIC ELEMENTS
    • H01LSEMICONDUCTOR DEVICES NOT COVERED BY CLASS H10
    • H01L2924/00Indexing scheme for arrangements or methods for connecting or disconnecting semiconductor or solid-state bodies as covered by H01L24/00
    • H01L2924/10Details of semiconductor or other solid state devices to be connected
    • H01L2924/1015Shape
    • H01L2924/1016Shape being a cuboid
    • H01L2924/10162Shape being a cuboid with a square active surface
    • HELECTRICITY
    • H01ELECTRIC ELEMENTS
    • H01LSEMICONDUCTOR DEVICES NOT COVERED BY CLASS H10
    • H01L2924/00Indexing scheme for arrangements or methods for connecting or disconnecting semiconductor or solid-state bodies as covered by H01L24/00
    • H01L2924/10Details of semiconductor or other solid state devices to be connected
    • H01L2924/11Device type
    • H01L2924/12Passive devices, e.g. 2 terminal devices
    • H01L2924/1204Optical Diode
    • H01L2924/12041LED
    • HELECTRICITY
    • H01ELECTRIC ELEMENTS
    • H01LSEMICONDUCTOR DEVICES NOT COVERED BY CLASS H10
    • H01L2924/00Indexing scheme for arrangements or methods for connecting or disconnecting semiconductor or solid-state bodies as covered by H01L24/00
    • H01L2924/10Details of semiconductor or other solid state devices to be connected
    • H01L2924/11Device type
    • H01L2924/12Passive devices, e.g. 2 terminal devices
    • H01L2924/1204Optical Diode
    • H01L2924/12043Photo diode
    • HELECTRICITY
    • H05ELECTRIC TECHNIQUES NOT OTHERWISE PROVIDED FOR
    • H05KPRINTED CIRCUITS; CASINGS OR CONSTRUCTIONAL DETAILS OF ELECTRIC APPARATUS; MANUFACTURE OF ASSEMBLAGES OF ELECTRICAL COMPONENTS
    • H05K1/00Printed circuits
    • H05K1/02Details
    • H05K1/0201Thermal arrangements, e.g. for cooling, heating or preventing overheating
    • H05K1/0203Cooling of mounted components
    • H05K1/0204Cooling of mounted components using means for thermal conduction connection in the thickness direction of the substrate
    • HELECTRICITY
    • H05ELECTRIC TECHNIQUES NOT OTHERWISE PROVIDED FOR
    • H05KPRINTED CIRCUITS; CASINGS OR CONSTRUCTIONAL DETAILS OF ELECTRIC APPARATUS; MANUFACTURE OF ASSEMBLAGES OF ELECTRICAL COMPONENTS
    • H05K1/00Printed circuits
    • H05K1/02Details
    • H05K1/03Use of materials for the substrate
    • HELECTRICITY
    • H05ELECTRIC TECHNIQUES NOT OTHERWISE PROVIDED FOR
    • H05KPRINTED CIRCUITS; CASINGS OR CONSTRUCTIONAL DETAILS OF ELECTRIC APPARATUS; MANUFACTURE OF ASSEMBLAGES OF ELECTRICAL COMPONENTS
    • H05K1/00Printed circuits
    • H05K1/02Details
    • H05K1/11Printed elements for providing electric connections to or between printed circuits
    • H05K1/111Pads for surface mounting, e.g. lay-out
    • H05K1/112Pads for surface mounting, e.g. lay-out directly combined with via connections
    • H05K1/113Via provided in pad; Pad over filled via
    • HELECTRICITY
    • H05ELECTRIC TECHNIQUES NOT OTHERWISE PROVIDED FOR
    • H05KPRINTED CIRCUITS; CASINGS OR CONSTRUCTIONAL DETAILS OF ELECTRIC APPARATUS; MANUFACTURE OF ASSEMBLAGES OF ELECTRICAL COMPONENTS
    • H05K2201/00Indexing scheme relating to printed circuits covered by H05K1/00
    • H05K2201/03Conductive materials
    • H05K2201/032Materials
    • H05K2201/0323Carbon
    • HELECTRICITY
    • H05ELECTRIC TECHNIQUES NOT OTHERWISE PROVIDED FOR
    • H05KPRINTED CIRCUITS; CASINGS OR CONSTRUCTIONAL DETAILS OF ELECTRIC APPARATUS; MANUFACTURE OF ASSEMBLAGES OF ELECTRICAL COMPONENTS
    • H05K2201/00Indexing scheme relating to printed circuits covered by H05K1/00
    • H05K2201/09Shape and layout
    • H05K2201/09209Shape and layout details of conductors
    • H05K2201/095Conductive through-holes or vias
    • H05K2201/09618Via fence, i.e. one-dimensional array of vias
    • HELECTRICITY
    • H05ELECTRIC TECHNIQUES NOT OTHERWISE PROVIDED FOR
    • H05KPRINTED CIRCUITS; CASINGS OR CONSTRUCTIONAL DETAILS OF ELECTRIC APPARATUS; MANUFACTURE OF ASSEMBLAGES OF ELECTRICAL COMPONENTS
    • H05K2201/00Indexing scheme relating to printed circuits covered by H05K1/00
    • H05K2201/10Details of components or other objects attached to or integrated in a printed circuit board
    • H05K2201/10007Types of components
    • H05K2201/10106Light emitting diode [LED]
    • HELECTRICITY
    • H05ELECTRIC TECHNIQUES NOT OTHERWISE PROVIDED FOR
    • H05KPRINTED CIRCUITS; CASINGS OR CONSTRUCTIONAL DETAILS OF ELECTRIC APPARATUS; MANUFACTURE OF ASSEMBLAGES OF ELECTRICAL COMPONENTS
    • H05K2201/00Indexing scheme relating to printed circuits covered by H05K1/00
    • H05K2201/10Details of components or other objects attached to or integrated in a printed circuit board
    • H05K2201/10007Types of components
    • H05K2201/10151Sensor
    • HELECTRICITY
    • H05ELECTRIC TECHNIQUES NOT OTHERWISE PROVIDED FOR
    • H05KPRINTED CIRCUITS; CASINGS OR CONSTRUCTIONAL DETAILS OF ELECTRIC APPARATUS; MANUFACTURE OF ASSEMBLAGES OF ELECTRICAL COMPONENTS
    • H05K2201/00Indexing scheme relating to printed circuits covered by H05K1/00
    • H05K2201/10Details of components or other objects attached to or integrated in a printed circuit board
    • H05K2201/10227Other objects, e.g. metallic pieces
    • H05K2201/10416Metallic blocks or heatsinks completely inserted in a PCB
    • HELECTRICITY
    • H10SEMICONDUCTOR DEVICES; ELECTRIC SOLID-STATE DEVICES NOT OTHERWISE PROVIDED FOR
    • H10HINORGANIC LIGHT-EMITTING SEMICONDUCTOR DEVICES HAVING POTENTIAL BARRIERS
    • H10H20/00Individual inorganic light-emitting semiconductor devices having potential barriers, e.g. light-emitting diodes [LED]
    • H10H20/80Constructional details
    • H10H20/85Packages
    • H10H20/857Interconnections, e.g. lead-frames, bond wires or solder balls
    • HELECTRICITY
    • H10SEMICONDUCTOR DEVICES; ELECTRIC SOLID-STATE DEVICES NOT OTHERWISE PROVIDED FOR
    • H10HINORGANIC LIGHT-EMITTING SEMICONDUCTOR DEVICES HAVING POTENTIAL BARRIERS
    • H10H20/00Individual inorganic light-emitting semiconductor devices having potential barriers, e.g. light-emitting diodes [LED]
    • H10H20/80Constructional details
    • H10H20/85Packages
    • H10H20/858Means for heat extraction or cooling

Definitions

  • the present invention relates to an electronic element mounting substrate, an electronic device, and an electronic module.
  • an electronic element mounting substrate includes an insulating substrate having a first main surface, a second main surface, and side surfaces, an electronic element mounting portion and a wiring layer located on the first main surface of the insulating substrate.
  • the electronic element is mounted on a mounting portion of the electronic element, and then mounted on an electronic element housing package to form an electronic device (see Japanese Patent Application Laid-Open No. 2013-175508).
  • An electronic element mounting substrate includes a first substrate having a first main surface and a second main surface located on a side opposite to the first main surface, and a first substrate located inside the first substrate in plan view.
  • a second substrate made of a carbon material and having a third main surface located on the first main surface side in a thickness direction and a fourth main surface located on the opposite side to the third main surface;
  • the heat conduction in the direction perpendicular to the direction in which the plurality of via conductors are located with the second substrate interposed therebetween is greater than the heat conduction.
  • An electronic device includes an electronic element mounting substrate configured as described above, an electronic element mounted on the mounting portion of the electronic element mounting substrate, and a wiring board or an electronic element mounted with the electronic element mounting substrate. And a storage package.
  • the electronic module according to the present disclosure includes the electronic device having the above configuration, and a module substrate to which the electronic device is connected.
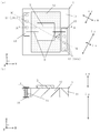
  • FIG. 2A is a top view illustrating the electronic element mounting substrate according to the first embodiment
  • FIG. 2B is a bottom view of FIG.
  • FIG. 2 is an exploded perspective view of a first substrate and a second substrate of the electronic element mounting substrate shown in FIG. 1.
  • FIG. 2 is a vertical cross-sectional view taken along line AA of the electronic element mounting substrate shown in FIG. 1A is a top view showing a state where an electronic element is mounted on the electronic element mounting substrate shown in FIG. 1A
  • FIG. 2B is a longitudinal sectional view taken along line AA of FIG. is there.
  • (A) is a top view which shows the electronic element mounting substrate in 2nd Embodiment
  • (b) is a bottom view of (a).
  • FIG. 1 is a top view illustrating the electronic element mounting substrate according to the first embodiment
  • FIG. 2B is a bottom view of FIG.
  • FIG. 2 is an exploded perspective view of a first substrate and a second substrate of the electronic element mounting substrate shown in FIG.
  • FIG. 5 is an exploded perspective view of a first substrate and a second substrate of the electronic element mounting substrate shown in FIG. 4.
  • 5A is a vertical cross-sectional view taken along line AA of the electronic element mounting substrate shown in FIG. 5A
  • FIG. 5B is an electronic element mounting substrate shown in FIG. 3 is a vertical sectional view taken along line BB of FIG. 5A
  • FIG. 5B is a longitudinal sectional view taken along line AA in FIG. is there.
  • (A) is a top view which shows the electronic element mounting substrate in 3rd Embodiment
  • (b) is a bottom view of (a).
  • FIG. 10 is an exploded perspective view of a first substrate and a second substrate of the electronic element mounting substrate shown in FIG. 9.
  • 9A is a vertical cross-sectional view taken along line AA of the electronic element mounting substrate shown in FIG. 9A
  • FIG. 9B is an electronic element mounting substrate shown in FIG. 9A.
  • 3 is a vertical sectional view taken along line BB of FIG. 9A is a top view showing a state in which an electronic element is mounted on the electronic element mounting substrate shown in FIG. 9A
  • FIG. 9B is a longitudinal sectional view taken along line AA in FIG. is there.
  • (A) and (b) are top views showing another example of a state where an electronic element is mounted on the electronic element mounting substrate shown in FIG. 9 (a).
  • FIG. 15 is an exploded perspective view of a first substrate, a third substrate, a fourth substrate, and a second substrate of the electronic element mounting substrate shown in FIG. 14A is a vertical cross-sectional view taken along line AA of the electronic element mounting substrate shown in FIG. 14A
  • FIG. 14B is an electronic element mounting substrate shown in FIG. 14A.
  • 3 is a vertical sectional view taken along line BB of FIG.
  • (A) is a top view which shows the other example of the electronic element mounting board
  • (b) is a bottom view of (a).
  • FIG. 15 is an exploded perspective view of a first substrate, a third substrate, a fourth substrate, and a second substrate of the electronic element mounting substrate shown in FIG. 14A is a vertical cross-sectional view taken along line AA of the electronic element mounting substrate shown in FIG. 14A
  • FIG. 14B is an electronic element mounting substrate shown in FIG. 14A.
  • 3 is a vertical sectional view taken along line BB of
  • FIG. 18 is an exploded perspective view of a first substrate, a third substrate, a fourth substrate, and a second substrate of the electronic element mounting substrate shown in FIG. 17A is a longitudinal sectional view taken along line AA of the electronic element mounting substrate shown in FIG. 17A
  • FIG. 17B is an electronic element mounting substrate shown in FIG. 3 is a vertical sectional view taken along line BB of FIG.
  • (A) is a top view which shows the other example of the electronic element mounting board
  • (b) is a bottom view of (a).
  • 20A is a vertical cross-sectional view taken along line AA of the electronic element mounting substrate shown in FIG. 20A
  • FIG. 20B is an electronic element mounting substrate shown in FIG. 3 is a vertical sectional view taken along line BB of FIG.
  • the electronic element mounting substrate 1 includes a first substrate 11 and a second substrate 12, as in the examples shown in FIGS.
  • the electronic device includes, for example, a substrate 1 for an electronic element or the like, an electronic element 2 mounted on a mounting portion of the electronic element mounting substrate 1, and a wiring board on which the electronic element mounting substrate 1 is mounted.
  • the electronic device is connected, for example, to a connection pad on a module substrate constituting the electronic module using a bonding material.
  • the electronic element mounting substrate 1 includes a first substrate 11 having a first main surface and a second main surface opposite to the first main surface, and a first substrate 11 inside the first substrate 11 in plan view.
  • a second substrate 12 that is located is made of a carbon material, and has a third main surface located on the first main surface side in the thickness direction and a fourth main surface located on the opposite side to the third main surface; It has a plurality of via conductors 13 located on the first substrate 11 with the second substrate 12 interposed therebetween.
  • the second substrate 12 is formed by a plurality of via conductors 13 due to heat conduction in a direction (x direction in FIGS. 1 to 4) in which the plurality of via conductors 13 are located across the second substrate 12.
  • the heat conduction is large in a direction perpendicular to the direction interposed between them (the y direction in FIGS. 1 to 4).
  • the conductor layers 14 are provided on the first main surface and the second main surface of the first substrate 11, and are connected to both ends of the via conductor 13. 1 to 4, the electronic element 2 is mounted on an xy plane in a virtual xyz space.
  • the upward direction refers to the positive direction of the virtual z-axis.
  • the outer surface of the first substrate 11 and the inner surface of the through-hole 11 a which are invisible in a perspective view, are indicated by dotted lines in the first substrate 11.
  • the second substrate 12 is shaded in the examples shown in FIGS. 1, 2, and 4A.
  • a portion where the side surface of the via conductor 13 and the conductor layer 14 overlap with each other is indicated by a dotted line in plan view.
  • the first substrate 11 has a first main surface (upper surface in FIGS. 1 to 4) and a second main surface (lower surface in FIGS. 1 to 4).
  • the first main surface and the second main surface are located on opposite sides.
  • the first substrate 11 is formed of a single layer or a plurality of insulating layers, and is a rectangular plate having two pairs of opposing sides (four sides) with respect to each of the first main surface and the second main surface in plan view. Shape.
  • the first substrate 11 functions as a support for supporting the electronic element 2 and the second substrate 12.
  • the first substrate 11 for example, ceramics such as an aluminum oxide sintered body (alumina ceramics), an aluminum nitride sintered body, a mullite sintered body, or a glass ceramic sintered body can be used.
  • the first substrate 11 is, for example, an aluminum nitride sintered body
  • the first substrate 11 is suitable for a raw material powder such as aluminum nitride (AlN), erbium oxide (Er 2 O 3 ), yttrium oxide (Y 2 O 3 ).
  • An organic binder and a solvent are added and mixed to produce a slurry.
  • the above-mentioned slurry is formed into a sheet by employing a conventionally known doctor blade method, calender roll method, or the like to produce a ceramic green sheet. If necessary, a plurality of ceramic green sheets are laminated and fired at a high temperature (about 1800 ° C.), whereby the first substrate 11 including a single layer or a plurality of insulating layers is manufactured.
  • the second substrate 12 has a third main surface (upper surface in FIGS. 1 to 4) and a fourth main surface (lower surface in FIGS. 1 to 4) located on the first main surface side of the first substrate 11. I have.
  • the third main surface and the fourth main surface are located on opposite sides of each other.
  • the second substrate 12 is located inside the first substrate 11, as in the examples shown in FIGS.
  • the second substrate 12 has a mounting portion for mounting the electronic element 2 on the third main surface, and functions as a support for supporting the electronic element 2.
  • the second substrate 12 is made of, for example, a carbon material, and is formed as a structure in which graphene in which six-membered rings are connected by a covalent bond is laminated. Each surface is made of a material joined by van der Waals force.
  • the via conductor 13 is provided in the thickness direction of the first substrate 11.
  • the via conductor 13 is provided so as to penetrate the first main surface and the second main surface of the first substrate 11 in the examples shown in FIGS.
  • the conductor layers 14 are provided on the first main surface and the second main surface of the first substrate 11, and are connected to both ends of the via conductor 13.
  • the plurality of via conductors 13 are located on the first substrate 11 with the second substrate 12 interposed therebetween in plan view.
  • the direction in which the plurality of via conductors 13 are located with the second substrate 12 interposed therebetween is the x direction in the examples shown in FIGS.
  • the via conductor 13 and the conductor layer 14 are for electrically connecting, for example, the electronic element 2 and a wiring conductor of a wiring board.
  • the conductor layer 14 is used as a connection portion of the connection member 3 such as a bonding wire and a connection portion with a wiring conductor of a wiring board.
  • the via conductor 13 and the conductor layer 14 generate heat when a current is applied to operate the electronic element 2.
  • the via conductor 13 and the conductor layer 14 are, for example, metal powder metalized mainly containing tungsten (W), molybdenum (Mo), manganese (Mn), silver (Ag) or copper (Cu).
  • W tungsten
  • Mo molybdenum
  • Mn manganese
  • Ag silver
  • Cu copper
  • the first substrate 11 is made of an aluminum nitride sintered body
  • a metallized paste obtained by adding a suitable organic binder and a solvent to a high melting point metal powder such as W, Mo or Mn is mixed.
  • the ceramic green sheet for the first substrate 11 is formed by printing and applying a predetermined pattern in advance by a screen printing method and firing the ceramic green sheet for the first substrate 11 at the same time.
  • the via conductor 13 is formed, for example, by forming a through-hole of a through conductor in a ceramic green sheet for the first substrate 11 by a processing method such as punching by a mold or punching or laser processing.
  • the metallized paste is printed and applied by a printing means such as a screen printing method, filled, and fired together with the ceramic green sheet for the first substrate 11.
  • the conductor layer 14 is formed, for example, by printing and applying a metallized paste for the conductor layer 14 to a predetermined region of the surface of the ceramic green sheet for the first substrate 11 by the above-described printing means, and firing the paste together with the ceramic green sheet for the first substrate 11. It is formed by doing.
  • the metallized paste is prepared by adding an appropriate solvent and binder to the above-mentioned metal powder and kneading the mixture to adjust the viscosity to an appropriate level.
  • glass powder and ceramic powder may be included.
  • a metal plating layer is applied to the surface of the conductor layer 14 exposed from the first substrate 11 by an electroplating method or an electroless plating method.
  • the metal plating layer is made of a metal such as nickel, copper, gold or silver which has excellent corrosion resistance and connection member connection properties.
  • a nickel plating layer having a thickness of about 0.5 to 5 ⁇ m and a gold plating layer having a thickness of about 0.1 to 3 ⁇ m are provided. Are sequentially applied. With the metal plating layer, corrosion of the conductor layer 14 can be effectively suppressed, and the conductor layer 14 is connected to the connection member 3 such as a bonding wire, and the conductor layer 14 is connected to the connection member 3 formed on the module substrate. Bonding with the connection pad 41 can be strengthened.
  • the metal plating layer is not limited to the nickel plating layer / gold plating layer, but may be another metal plating layer including a nickel plating layer / palladium plating layer / gold plating layer.
  • the first substrate 11 is preferably made of an aluminum nitride sintered body having excellent thermal conductivity.
  • the first substrate 11 and the second substrate 12 are bonded to each other by bonding the inner surface of the through hole 11a of the first substrate 11 and the outer surface of the second substrate 12 with an active brazing material such as a TiCuAg alloy or TiSnAgCu. You.
  • the bonding material is disposed between the first substrate 11 and the second substrate 12 with a thickness of about 10 ⁇ m.
  • the first substrate 11 has a square shape in a plan view, and has a square through hole 11a penetrating the first main surface and the second main surface in a plan view.
  • the first substrate 11 may have a frame shape.
  • the second substrate 12 has a square shape in plan view.
  • the square shape is a square shape such as a square shape and a rectangular shape.
  • the first substrate 11 and the second substrate 12 are square in plan view, and a square composite substrate is formed.
  • the substrate thickness T1 of the first substrate 11 is, for example, about 100 ⁇ m to 2000 ⁇ m
  • the substrate thickness T2 of the second substrate 12 is, for example, about 100 ⁇ m to 2000 ⁇ m.
  • the thickness T1 of the first substrate 11 and the thickness T2 of the second substrate 12 are formed to be substantially the same (0.9T1 ⁇ T2 ⁇ 1.1T1).
  • the thermal conductivity ⁇ of the first substrate 11 is substantially constant in the x direction and the y direction in the plane direction, and the z direction in the thickness direction of the first substrate 11 is also constant in the plane direction.
  • Direction and the y direction ( ⁇ x ⁇ ⁇ y ⁇ ⁇ z).
  • a substrate having a thermal conductivity ⁇ of about 100 to 200 W / m ⁇ K is used as the first substrate 11.
  • the thermal conductivity ⁇ of the second substrate 12 differs in magnitude between the x direction and the y direction in the plane direction.
  • the thermal conductivity ⁇ of the second substrate 12 the y direction in the plane direction and the z direction in the thickness direction are equivalent, and the x direction in the plane direction is different.
  • the relationship between the thermal conductivity ⁇ x, ⁇ y, and ⁇ z in each direction of the second substrate 12 shown in FIG. 2 is “thermal conductivity ⁇ y ⁇ thermal conductivity ⁇ z >> thermal conductivity ⁇ x”.
  • the thermal conductivity ⁇ y and the thermal conductivity ⁇ z of the second substrate 12 are about 1000 W / m ⁇ K, and the thermal conductivity ⁇ x of the second substrate 12 is about 4 W / m ⁇ K.
  • some of the thermal conductivity ⁇ x, ⁇ y, ⁇ z, ⁇ x, ⁇ y, ⁇ z are omitted.
  • the electronic device can be manufactured by mounting the electronic element 2 on the mounting portion of the second substrate 12 of the electronic element mounting substrate 1.
  • the electronic element 2 is located on the mounting portion of the second substrate 12 so as to be sandwiched between the via conductors 13 as in the example shown in FIG.
  • the electronic device may be manufactured by mounting the electronic element mounting substrate 1 on which the electronic element 2 is mounted on a wiring board or an electronic element mounting package.
  • the electronic element 2 mounted on the electronic element mounting substrate 1 is, for example, a light emitting element such as an LD (Laser Diode) or an LED (Light Emitting Diode) or a light receiving element such as a PD (Photo Diode).
  • the electrode of the electronic element 2 and the conductor layer 14 are connected via the connection member 3 such as a bonding wire.
  • the connection member 3 such as a bonding wire.
  • the wiring substrate or the electronic element mounting package uses, for example, an insulating base made of ceramics or the like, like the first substrate 11. And has a wiring conductor on the surface.
  • the conductor layer 14 of the electronic element mounting board 1 and the wiring conductor of the wiring board or the electronic element mounting package are electrically connected. Connected to.
  • the first substrate 11 having the first main surface and the second main surface opposite to the first main surface, and the first substrate 11 in plan view.
  • a second substrate 12 which is located inside, is made of a carbon material, has a third main surface located on the first main surface side in the thickness direction, and has a fourth main surface located on the opposite side to the third main surface;
  • the heat conduction in the direction perpendicular to the direction in which the plurality of via conductors 13 are located with the second substrate 12 interposed therebetween is greater than the heat conduction in the direction located at.
  • the via conductor 13 when the via conductor 13 generates heat during operation of the electronic device, the heat transmitted from the via conductor 13 to the second substrate 12 is applied to the second substrate 12 over the entire thickness (z direction) of the via conductor 13. From the outer edge, a plurality of via conductors 13 are transmitted along the outer edge of the first substrate 11 in a direction perpendicular to the direction positioned across the second substrate 12, and heat transfer from the via conductor 13 to the electronic element 2 is performed. Is suppressed, the heat of the via conductor 13 is satisfactorily radiated, and a decrease in the output of the electronic element 2 can be suppressed.
  • a decrease in output of the light emitting element can be suppressed, and an electronic element mounting substrate capable of emitting light from the light emitting element satisfactorily can be obtained.
  • the heat of the electronic element 2 is transmitted in a direction perpendicular to the direction in which the plurality of via conductors 13 of the second substrate 12 are positioned across the second substrate 12 and in the thickness direction of the second substrate 12. 2 can be satisfactorily radiated, and a decrease in the output of the electronic element 2 can be suppressed.
  • the electronic device mounting substrate 1 having the above configuration and the electronic device 2 mounted on the mounting portion of the electronic device mounting substrate 1 have long-term reliability. An excellent electronic device can be obtained.
  • the electronic device of the present embodiment is connected to the conductor layer of the electronic element mounting substrate 1 and the connection pad of the module substrate via a bonding material such as solder, thereby forming an electronic module, and connecting the electronic element 2 and the module substrate.
  • the pads are electrically connected.
  • the electronic device When the electronic device has a wiring board or an electronic element storage package on which the electronic element mounting board 1 is mounted, the wiring conductors of the wiring board or the electronic element storage package and the connection pads of the module substrate are provided. It is connected via a bonding material such as solder to form an electronic module. As described above, the electronic element 2 is electrically connected to the connection pads of the module substrate.
  • the electronic device having the above configuration and the module substrate to which the electronic device is connected have excellent long-term reliability.
  • the second substrate 12 has a thickness direction more than a direction perpendicular to the thickness direction.
  • the heat conduction of the via conductor 13 is large ( ⁇ z >> ⁇ x)
  • the heat of the via conductor 13 transmitted to the second substrate 12 is difficult to stay inside the second substrate 12, and the thickness of the via conductor 13 (z direction)
  • a plurality of via conductors 13 are transmitted from the outer edge of the second substrate 12 along the outer edge of the first substrate 11 in a direction perpendicular to the direction in which the second substrate 12 is interposed.
  • the heat transfer from 13 to the electronic element 2 is suppressed, the heat of the via conductor 13 is radiated well, and the output of the electronic element 2 can be prevented from lowering.
  • the via conductor 13 provided inside the first substrate 11 and the conductor layer 14 provided on the first main surface and the second main surface of the first substrate 11 are formed by the cofire method in the above-described example.
  • the conductor 13 and the conductor layer 14 may be formed by a conventionally known thin film method and plating method.
  • the conductor layer 14 provided on the first main surface or the second main surface of the first substrate 11 may be a conductor layer 14 using a conventionally known post-fire method or the like.
  • the via conductor 13 and the conductor layer 14 are formed by a thin film layer and a plating method, the first substrate 11 and the second substrate 12 are joined with a joining material to produce a composite substrate.
  • the electronic element mounting substrate 1 is favorably formed.
  • the electronic element mounting substrate 1 according to the second embodiment is different from the electronic element mounting substrate 1 according to the above-described embodiment in that, in plan view, the plurality of via conductors 13 allow the second substrate 12 to have high heat conduction. This is a point that continues in the direction (the y direction in FIGS. 5 to 8). In FIG. 7B, the outer edge of the second substrate 12 is indicated by a dotted line for the sake of convenience in order to show the positional relationship between the first substrate 11 and the second substrate 12.
  • a via conductor group 13G is formed by connecting at least two or more via conductors 13 in a direction in which the heat conduction of the second substrate 12 is large in a plan view. .
  • three via conductors 13 are respectively connected in a direction in which the heat conduction of the second substrate 12 is large, and are located on the first substrate 11 with the second substrate 12 interposed therebetween.
  • a plurality of via conductor groups 13G in the electronic element mounting substrate 1 according to the second embodiment, the second substrate 12 has a direction in which a plurality of via conductor groups 13G are located across the second substrate 12 in a plan view (x direction in FIGS. 5 to 8).
  • the heat conduction in the direction perpendicular to the direction in which the plurality of via conductor groups 13G interpose the second substrate 12 is larger than the heat conduction ( ⁇ y ⁇ ⁇ z >>). ⁇ x).
  • the electronic element 2 is located on the mounting portion of the second substrate 12 so as to be sandwiched by a via conductor group 13G including a plurality of via conductors 13, as in the example shown in FIG.
  • the outer surface of the first substrate 11 and the inner surface of the through hole 11a, which are invisible in a perspective view, are indicated by dotted lines in the example shown in FIG.
  • the second substrate 12 is shaded in the examples shown in FIGS. 5, 6, and 8A.
  • a portion where the side surface of the via conductor 13 and the conductor layer 14 overlap with each other is indicated by a dotted line in plan view.
  • the heat transmitted from the via conductor 13 to the second substrate 12 is equal to the thickness of the via conductor 13.
  • a plurality of via conductors 13 located along the outer edge of the first substrate 11 are transmitted from the outer edge of the second substrate 12 in a direction perpendicular to the direction in which the second substrate 12 is sandwiched.
  • a decrease in output of the light emitting element can be suppressed, and an electronic element mounting substrate capable of emitting light from the light emitting element satisfactorily can be obtained.
  • the heat of the electronic element 2 is transmitted to the second substrate 12 in a direction perpendicular to the direction in which the plurality of via conductors 13 are positioned across the second substrate 12 and in a thickness direction of the second substrate 12.
  • the heat of the element 2 can be satisfactorily radiated, and a decrease in the output of the electronic element 2 can be suppressed.
  • the plurality of via conductors 13 are continuous in the direction in which the thermal conductivity of the second substrate 12 is large in plan view, and each via conductor in the plurality of via conductors 13 is formed.
  • the heat of the conductor 13 hardly stays on the first substrate 11, and the heat of the via conductor 13 transmitted to the second substrate 12 increases from the outer edge of the second substrate 12 over the entire thickness (z direction) of the via conductor 13.
  • the plurality of via conductors 13 located along the outer edge of the first substrate 11 are transmitted in a direction perpendicular to the direction located across the second substrate 12, so that heat transfer from the via conductor 13 to the electronic element 2 is suppressed.
  • the heat of the via conductor 13 can be satisfactorily radiated, and the output of the electronic element 2 can be effectively prevented from lowering.
  • the first substrate 11 has a square shape in a plan view, and has a square through hole 11a penetrating the first main surface and the second main surface in a plan view.
  • the first substrate 11 may have a frame shape.
  • the second substrate 12 has a square shape in plan view.
  • the square shape is a square shape such as a square shape and a rectangular shape.
  • the first substrate 11 and the second substrate 12 are square in plan view, and a square composite substrate is formed.
  • the plurality of via conductors 13 located in the same direction are transmitted equally in a direction perpendicular to the direction located across the second substrate 12, heat transfer from the via conductor 13 to the electronic element 2 is suppressed, and Heat can be satisfactorily radiated, and a decrease in the output of the electronic element 2 can be effectively suppressed.
  • the second substrate 12 has a rectangular shape in plan view and the plurality of via conductors 13 (via conductor group 13G) are connected along opposing sides of the second substrate 12, the plurality of via conductors 13
  • the heat of each via conductor 13 in the (via conductor group 13G) is easily transmitted to the second substrate 12 equally, and the heat of the via conductor group 13 transmitted to the second substrate 12 is reduced by the thickness of the via conductor 13 (z direction).
  • a plurality of via conductors 13 located along the outer edge of the first substrate 11 are transmitted from the outer edge of the second substrate 12 in a direction perpendicular to the direction located across the second substrate 12,
  • the heat transfer from the via conductor 13 to the electronic element 2 is suppressed, the heat of the via conductor 13 is satisfactorily radiated, and the decrease in the output of the electronic element 2 can be effectively suppressed.
  • both ends of the second substrate 12 in the direction in which the heat conduction of the second substrate 12 is large are, as in the example shown in FIG.
  • the via conductor 13 is located outside the via conductor 13 located at the end, the heat transmitted from the via conductor 13 to the second substrate 12 is transferred to the second substrate 12 in the direction in which the heat conduction of the second substrate 12 is large.
  • the heat transfer from the end to the electronic element 2 is suppressed, and a decrease in the output of the electronic element 2 can be suppressed.
  • the first substrate 11 is perpendicular to the direction in which the plurality of via conductors 13 located along the outer edge of the first substrate 11 sandwich the second substrate 12.
  • the auxiliary layer 15 is connected to the wiring conductor of the wiring board or the package for housing the electronic element, or to the connection pad of the module substrate, and the heat transmitted to the first substrate 11 is connected. Is transferred to the wiring board, the package for accommodating the electronic element, or the substrate for the module, thereby radiating the heat satisfactorily and effectively preventing the output of the electronic element 2 from being reduced.
  • the electronic element mounting substrate 1 of the second embodiment can be manufactured using the same manufacturing method as the electronic element mounting substrate 1 of the above-described embodiment.
  • the electronic device mounting board 1 according to the third embodiment is different from the electronic element mounting board 1 according to the above-described embodiment in that the opposing sides of the second substrate 12 and the plurality of via conductors 13 are different from each other. Is a point that intersects obliquely with the direction located across the. In FIG. 11B, the outer edge of the second substrate 12 is indicated by a dotted line for convenience to show the positional relationship between the first substrate 11 and the second substrate 12.
  • the electronic element mounting substrate 1 according to the third embodiment forms a via conductor group 13G by connecting two or more via conductors 13 in a plan view. Has formed. 9 to 12, in plan view, three via conductors 13 are continuous, and have two via conductor groups 13G located on the first substrate 11 with the second substrate 12 interposed therebetween.
  • the opposite side of the second substrate 12 obliquely intersects with the direction in which the plurality of via conductors 13 are located across the second substrate 12 means that the opposite side is located on the first substrate 11 across the second substrate 12. This indicates that the virtual straight line NN passing through the via conductor 13 and the opposite side of the second substrate 12 obliquely intersect.
  • the two via conductor groups 13G located on the first substrate 11 with the second substrate 12 interposed therebetween include the first substrate 11, the second substrate 12, and the electronic element as shown in the examples shown in FIGS. They are arranged symmetrically with respect to the center of the mounting substrate 1.
  • the via conductor 13 is a via conductor group 13G
  • a virtual straight line NN passing through the center of the via conductor group 13G located on the first substrate 11 with the second substrate 12 interposed therebetween, and an opposite side of the second substrate 12 Indicate that they intersect at an angle.
  • the plurality of via conductor groups 13G are located across the second substrate 12 due to heat conduction in the direction in which the plurality of via conductor groups 13G are located across the second substrate 12.
  • the heat conduction in the direction perpendicular to the direction is larger ( ⁇ y ⁇ ⁇ z >> ⁇ x). That is, from the direction of a virtual straight line passing through the via conductor 13 (the center of the via conductor group 13G) located on the first substrate 11 with the second substrate 12 interposed therebetween, the via conductor 13 (via conductor group 13G) located on the first substrate 11 is viewed. (Center of the center line), the heat conduction in the direction perpendicular to the direction of the imaginary straight line passing through the center line is large ( ⁇ yz ⁇ z >> ⁇ x).
  • the outer surface of the first substrate 11 and the inner surface of the through hole 11 a which are invisible in a perspective view, are indicated by dotted lines in the first substrate 11.
  • the second substrate 12 is shaded in the examples shown in FIGS. 9, 10, and 12A.
  • a portion where the side surface of the via conductor 13 and the conductor layer 14 overlap in a plan view is indicated by a dotted line.
  • the heat transmitted from the via conductor 13 to the second substrate 12 is equal to the thickness of the via conductor 13.
  • a plurality of via conductors 13 located along the outer edge of the first substrate 11 are transmitted from the outer edge of the second substrate 12 in a direction perpendicular to the direction in which the second substrate 12 is sandwiched.
  • the heat transmitted to the second substrate 12 is transmitted well in a direction perpendicular to a direction of a virtual straight line passing through the via conductor 13 (the center of the via conductor group 13G) located on the first substrate 11, so that the via conductor group 13G, the heat of the adjacent via conductor 13 is transferred well, the heat transfer from the via conductor 13 to the electronic element 2 is suppressed, the heat of the via conductor 13 is radiated well, and the output of the electronic element 2 is reduced. Can be suppressed.
  • a decrease in output of the light emitting element can be suppressed, and an electronic element mounting substrate capable of emitting light from the light emitting element satisfactorily can be obtained.
  • the first substrate 11 has a square shape in a plan view, and has a square through hole 11a penetrating the first main surface and the second main surface in a plan view.
  • the first substrate 11 may have a frame shape.
  • the second substrate 12 has a square shape in plan view.
  • the square shape is a square shape such as a square shape and a rectangular shape.
  • the first substrate 11 and the second substrate 12 are square in plan view, and a square composite substrate is formed.
  • the angle ⁇ between a virtual straight line passing through the via conductor 13 (the center of the via conductor group 13G) located on the first substrate 11 with the second substrate 12 interposed therebetween and the side of the second substrate 12 is 10 to 80 degrees. There may be.
  • the outer side of the electronic element 2 is aligned with the direction of a virtual straight line NN passing through the via conductor 13 (the center of the via conductor group 13G) located on the first substrate 11.
  • the heat transmitted from the plurality of via conductors 13 to the second substrate 12 is separated from the electronic element 2 and easily transmitted, so that the heat transfer from the via conductor 13 to the electronic element 2 is suppressed, The heat of the conductor 13 can be satisfactorily radiated and the output of the electronic element 2 can be prevented from lowering.
  • each of the electronic elements 2 moves in the direction of a virtual straight line NN passing through the via conductors 13 (centers of the via conductor group 13G) located on the first substrate 11.
  • the via conductors 13 centers of the via conductor group 13G located on the first substrate 11.
  • a light-emitting element is used as the electronic element 2
  • the electronic element mounting substrate 1 of the third embodiment can be manufactured using the same manufacturing method as the electronic element mounting substrate 1 of the above-described embodiment.
  • the electronic device mounting substrate 1 of the fourth embodiment differs from the electronic device mounting substrate 1 of the above-described embodiment in that the third main surface or the fourth main surface of the second substrate 12 is provided with another substrate ( It has a third substrate 16 and a fourth substrate 17).
  • the outer edge of the second substrate 12 is indicated by a dotted line for convenience to show the positional relationship between the first substrate 11 and the second substrate 12.
  • a region of the main surface (the upper surface in FIGS. 14 to 16) of the third substrate 16 that overlaps the second substrate 12 is used as a mounting portion for the electronic device 2.
  • the outer surface of the first substrate 11 and the inner surface of the through hole 11a, which are invisible in a perspective view, are indicated by dotted lines.
  • the second substrate 12 is shaded in the example shown in FIG.
  • the portions where the side surface of the second substrate 12, the side surface of the via conductor 13, and the conductor layer 14 overlap each other are shown by dotted lines in plan perspective.
  • the heat transmitted from the via conductor 13 to the second substrate 12 is equal to the thickness of the via conductor 13.
  • a plurality of via conductors 13 located along the outer edge of the first substrate 11 are transmitted from the outer edge of the second substrate 12 in a direction perpendicular to the direction in which the second substrate 12 is sandwiched.
  • the conductor layer 14 is formed large on the main surface (the lower surface in FIGS. 14 to 16) of the fourth substrate 17 as in the examples shown in FIGS. 14 to 16, the wiring of the wiring board or the package for housing the electronic element is formed.
  • the connection with the conductor or the connection pad of the module substrate can be made good, and the heat of the electronic element 2 can be satisfactorily transferred to the wiring board, the package for housing the electronic element, or the module substrate.
  • a decrease in output of the light emitting element can be suppressed, and an electronic element mounting substrate capable of emitting light from the light emitting element satisfactorily can be obtained.
  • the first substrate 11 has a rectangular shape in plan view, and has a rectangular through hole 11 penetrating the first main surface and the second main surface in plan perspective. Note that the first substrate 11 may have a frame shape.
  • the second substrate 12 has a square shape in plan view.
  • the third substrate 16 has a square shape in plan view.
  • the fourth substrate 17 has a square shape in plan view.
  • the inner surface of the through hole 11a of the first substrate 11 is bonded to the side surface of the second substrate 12, and the third main surface of the second substrate 12 and the third substrate 16, and the fourth main surface of the second substrate 12 and the fourth substrate By bonding the composite substrate 17 with the substrate 17, a square composite substrate is formed.
  • first main surface of the first substrate 11 may be bonded to the third substrate 16, and the second main surface of the first substrate 11 may be bonded to the fourth substrate 17.
  • the square shape is a square shape such as a square shape and a rectangular shape.
  • the first substrate 11 and the second substrate 12 are square in plan view, and a square composite substrate is formed.
  • the third substrate 16 and the fourth substrate 17 can be manufactured by the same material and method as the first substrate 11 described above.
  • the thermal conductivity ⁇ 2 of the third substrate 16 and the fourth substrate 17 is substantially constant in the x direction and the y direction in the plane direction, and also in the z direction in the thickness direction of the fourth substrate 14. It is equivalent to the x direction and the y direction in the plane direction ( ⁇ x2 ⁇ ⁇ y2 ⁇ ⁇ z2).
  • a substrate having a thermal conductivity ⁇ 2 of about 100 to 200 W / m ⁇ K is used as the first substrate 16.
  • the first substrate 11 and the second substrate 12 are located between the third substrate 16 and the fourth substrate 17, the mounting of electronic elements due to the difference in thermal expansion between the first substrate 11 and the second substrate 12 Distortion of the electronic substrate 1 is suppressed, and displacement of the electronic element 2 or distortion of the electronic element mounting substrate 1 is suppressed, so that light can be easily emitted favorably.
  • the third substrate 16 and the fourth substrate 17 use an insulator of substantially the same material as the first substrate 11, that is, for example, as the first substrate 11, a 150 W / m ⁇ K aluminum nitride material is used.
  • a 150 W / m ⁇ K aluminum nitride material is used as the third substrate 16 and the fourth substrate 17, the distortion of the electronic element mounting substrate 1 is more effectively achieved. , It is possible to favorably emit light.
  • the thickness T3 of the third substrate 16 is, for example, about 50 ⁇ m to 500 ⁇ m.
  • the thickness T4 of the fourth substrate 17 is, for example, about 50 ⁇ m to 500 ⁇ m.
  • the electronic element can be more effectively used.
  • the thickness of the third substrate T3 is 100 ⁇ m
  • the thickness of the fourth substrate 17 may be 100 ⁇ m (90 ⁇ m to 110 ⁇ m).
  • the thickness T3 of the third substrate 16 is smaller than the thickness T1 of the first substrate 11 and the thickness T2 of the second substrate 12, and the thickness T4 of the fourth substrate 17 is the thickness T1 of the first substrate 11 and the second substrate 12.
  • the thickness is smaller than the thickness T2 of the substrate 12
  • the heat of the electronic element 2 can be satisfactorily transferred to the wiring board, the package for accommodating the electronic element, or the module substrate. By suppressing the distortion, it is possible to favorably emit light.
  • the first substrate 11 has a square frame shape
  • the second substrate 12, the third substrate 16, and the fourth substrate 17 have a rectangular shape.
  • a rectangular composite substrate is formed.
  • the third substrate 16 and the fourth substrate 17 are also provided with the via conductor 13 and the conductor layer.
  • the via conductor 13 and the conductor layer 14 may be formed by a conventionally known thin film method and plating method.
  • a through-hole serving as the via conductor 13 may be formed in the composite substrate, and the via conductor 13 and the conductor layer 14 may be formed.
  • the third substrate 16 or the fourth substrate 17 is, as shown in FIGS. 17 to 19, a third main surface and a fourth main surface of the second substrate 12 and a first main surface of the first substrate 11.
  • the inner surface of the first substrate 11 may be disposed so as to cover the inner edge of the first substrate 11 and the inner surface of the second substrate, as shown in FIGS. 12, the fourth substrate 17 covers the second main surface of the first substrate 11 and the fourth main surface of the second substrate 12, and the conductor layer 14 provided on the first substrate 11 is exposed. It is also possible to adopt a configuration in which a through portion is provided on the third substrate 16 and the fourth substrate 17.
  • the electronic element mounting substrate 1 of the fourth embodiment can be manufactured using the same manufacturing method as the electronic element mounting substrate 1 of the above-described embodiment.
  • the present disclosure is not limited to the above-described embodiments, and various modifications are possible.
  • the composite substrate has a square shape having a notch or a chamfer at a corner of the composite substrate. No problem.
  • the third substrate 16 is disposed on the third main surface of the second substrate 12.
  • the fourth substrate 17 may be arranged on the fourth main surface of the second substrate 12.
  • the electronic element mounting substrate 1 may be a combination of the element mounting substrates 1 of the first to fourth embodiments.
  • the opposite side of the second substrate 12 and the plurality of via conductors 13 The direction located across the substrate 12 may intersect obliquely.

Landscapes

  • Engineering & Computer Science (AREA)
  • Microelectronics & Electronic Packaging (AREA)
  • Physics & Mathematics (AREA)
  • Condensed Matter Physics & Semiconductors (AREA)
  • General Physics & Mathematics (AREA)
  • Computer Hardware Design (AREA)
  • Power Engineering (AREA)
  • Chemical & Material Sciences (AREA)
  • Ceramic Engineering (AREA)
  • Materials Engineering (AREA)
  • Inorganic Chemistry (AREA)
  • Structure Of Printed Boards (AREA)
  • Cooling Or The Like Of Semiconductors Or Solid State Devices (AREA)
  • Led Device Packages (AREA)
  • Semiconductor Lasers (AREA)
  • Production Of Multi-Layered Print Wiring Board (AREA)
PCT/JP2019/025369 2018-06-26 2019-06-26 電子素子搭載用基板、電子装置および電子モジュール Ceased WO2020004459A1 (ja)

Priority Applications (5)

Application Number Priority Date Filing Date Title
CN201980042360.9A CN112368825A (zh) 2018-06-26 2019-06-26 电子元件搭载用基板、电子装置以及电子模块
JP2020527574A JP7025545B2 (ja) 2018-06-26 2019-06-26 電子素子搭載用基板、電子装置および電子モジュール
EP19825844.4A EP3817041B1 (en) 2018-06-26 2019-06-26 Electronic element mounting substrate, electronic device, and electronic module
US17/254,458 US20210272868A1 (en) 2018-06-26 2019-06-26 Electronic element mounting substrate, electronic device, and electronic module
JP2022019951A JP7358525B2 (ja) 2018-06-26 2022-02-10 電子素子搭載用基板、電子装置および電子モジュール

Applications Claiming Priority (2)

Application Number Priority Date Filing Date Title
JP2018-120970 2018-06-26
JP2018120970 2018-06-26

Publications (1)

Publication Number Publication Date
WO2020004459A1 true WO2020004459A1 (ja) 2020-01-02

Family

ID=68984884

Family Applications (1)

Application Number Title Priority Date Filing Date
PCT/JP2019/025369 Ceased WO2020004459A1 (ja) 2018-06-26 2019-06-26 電子素子搭載用基板、電子装置および電子モジュール

Country Status (5)

Country Link
US (1) US20210272868A1 (enExample)
EP (1) EP3817041B1 (enExample)
JP (2) JP7025545B2 (enExample)
CN (1) CN112368825A (enExample)
WO (1) WO2020004459A1 (enExample)

Families Citing this family (1)

* Cited by examiner, † Cited by third party
Publication number Priority date Publication date Assignee Title
CN119232106B (zh) * 2024-09-20 2025-12-05 泉州市三安集成电路有限公司 声表面波器件及其制备方法

Citations (6)

* Cited by examiner, † Cited by third party
Publication number Priority date Publication date Assignee Title
JP2007073654A (ja) * 2005-09-06 2007-03-22 U-Ai Electronics Corp プリント基板
JP2009043851A (ja) * 2007-08-07 2009-02-26 Toshiba Corp 半導体パッケージ
JP2011159662A (ja) * 2010-01-29 2011-08-18 Toyota Central R&D Labs Inc 半導体装置
JP2012028520A (ja) * 2010-07-22 2012-02-09 Denso Corp 半導体冷却装置
JP2012164956A (ja) * 2011-01-18 2012-08-30 Napura:Kk 電子部品支持装置及び電子デバイス
JP2013175508A (ja) 2012-02-23 2013-09-05 Kyocera Corp 配線基板および電子装置ならびに配線基板の製造方法

Family Cites Families (21)

* Cited by examiner, † Cited by third party
Publication number Priority date Publication date Assignee Title
JP4989552B2 (ja) * 2008-05-08 2012-08-01 トヨタ自動車株式会社 電子部品
US8085531B2 (en) * 2009-07-14 2011-12-27 Specialty Minerals (Michigan) Inc. Anisotropic thermal conduction element and manufacturing method
JP2011258755A (ja) * 2010-06-09 2011-12-22 Denso Corp 熱拡散体および発熱体の冷却装置
JP5316602B2 (ja) * 2010-12-16 2013-10-16 株式会社日本自動車部品総合研究所 熱拡散部材の接合構造、発熱体の冷却構造、及び熱拡散部材の接合方法
US9795034B2 (en) * 2012-05-30 2017-10-17 Kyocera Corporation Wiring board and electronic device
WO2014115766A1 (ja) * 2013-01-22 2014-07-31 京セラ株式会社 電子素子搭載用パッケージ、電子装置および撮像モジュール
JP2015122351A (ja) * 2013-12-20 2015-07-02 京セラ株式会社 電子部品搭載基板および回路基板
US20180166373A1 (en) * 2014-03-07 2018-06-14 Bridge Semiconductor Corp. Method of making wiring board with interposer and electronic component incorporated with base board
US20190333850A1 (en) * 2014-03-07 2019-10-31 Bridge Semiconductor Corporation Wiring board having bridging element straddling over interfaces
US20170263546A1 (en) * 2014-03-07 2017-09-14 Bridge Semiconductor Corporation Wiring board with electrical isolator and base board incorporated therein and semiconductor assembly and manufacturing method thereof
US20180040531A1 (en) * 2014-03-07 2018-02-08 Bridge Semiconductor Corporation Method of making interconnect substrate having routing circuitry connected to posts and terminals
US10420204B2 (en) * 2014-03-07 2019-09-17 Bridge Semiconductor Corporation Wiring board having electrical isolator and moisture inhibiting cap incorporated therein and method of making the same
US20160211207A1 (en) * 2014-03-07 2016-07-21 Bridge Semiconductor Corporation Semiconductor assembly having wiring board with electrical isolator and moisture inhibiting cap incorporated therein and method of making wiring board
JP6626735B2 (ja) * 2016-02-22 2019-12-25 京セラ株式会社 電子部品搭載用基板、電子装置および電子モジュール
KR102565119B1 (ko) * 2016-08-25 2023-08-08 삼성전기주식회사 전자 소자 내장 기판과 그 제조 방법 및 전자 소자 모듈
JP6748302B2 (ja) * 2017-05-26 2020-08-26 京セラ株式会社 電子部品搭載用基板、電子装置および電子モジュール
CN111971788B (zh) * 2018-03-28 2024-03-05 京瓷株式会社 电子元件搭载用基板、电子装置以及电子模块
US10672681B2 (en) * 2018-04-30 2020-06-02 Taiwan Semiconductor Manufacturing Co., Ltd. Semiconductor packages
JP7055870B2 (ja) * 2018-06-27 2022-04-18 京セラ株式会社 電子素子搭載用基板、電子装置および電子モジュール
JP2020009879A (ja) * 2018-07-06 2020-01-16 太陽誘電株式会社 回路基板および回路モジュール
US11582858B2 (en) * 2018-08-29 2023-02-14 Kyocera Corporation Wiring substrate, electronic device and electronic module

Patent Citations (6)

* Cited by examiner, † Cited by third party
Publication number Priority date Publication date Assignee Title
JP2007073654A (ja) * 2005-09-06 2007-03-22 U-Ai Electronics Corp プリント基板
JP2009043851A (ja) * 2007-08-07 2009-02-26 Toshiba Corp 半導体パッケージ
JP2011159662A (ja) * 2010-01-29 2011-08-18 Toyota Central R&D Labs Inc 半導体装置
JP2012028520A (ja) * 2010-07-22 2012-02-09 Denso Corp 半導体冷却装置
JP2012164956A (ja) * 2011-01-18 2012-08-30 Napura:Kk 電子部品支持装置及び電子デバイス
JP2013175508A (ja) 2012-02-23 2013-09-05 Kyocera Corp 配線基板および電子装置ならびに配線基板の製造方法

Also Published As

Publication number Publication date
JP2022070956A (ja) 2022-05-13
JP7358525B2 (ja) 2023-10-10
EP3817041B1 (en) 2023-08-16
JPWO2020004459A1 (enExample) 2020-01-02
US20210272868A1 (en) 2021-09-02
EP3817041A4 (en) 2022-03-23
JP7025545B2 (ja) 2022-02-24
CN112368825A (zh) 2021-02-12
EP3817041A1 (en) 2021-05-05

Similar Documents

Publication Publication Date Title
US11145587B2 (en) Electronic component mounting substrate, electronic device, and electronic module
US9848491B2 (en) Wiring board, electronic device, and electronic module
JP6791719B2 (ja) 電子部品搭載用基板、電子装置および電子モジュール
CN105359632B (zh) 布线基板以及电子装置
WO2020004567A1 (ja) 電子素子搭載用基板、電子装置および電子モジュール
JP7460704B2 (ja) 複合基板および電子装置
JP7358525B2 (ja) 電子素子搭載用基板、電子装置および電子モジュール
JP6698826B2 (ja) 電子部品搭載用基板、電子装置および電子モジュール
JP6431191B2 (ja) 配線基板、電子装置および電子モジュール
JP6626735B2 (ja) 電子部品搭載用基板、電子装置および電子モジュール
US20240203818A1 (en) Electronic element mounting substrate, electronic device, and electronic module for improving and obtaining long-term reliability
JP6983178B2 (ja) 電子素子搭載用基板、電子装置および電子モジュール
JPWO2019189612A1 (ja) 電子素子搭載用基板、電子装置および電子モジュール
JP2022169632A (ja) 電子素子搭載用基板、電子装置および電子モジュール
JPWO2018097313A1 (ja) 配線基板、電子装置および電子モジュール
JP7084134B2 (ja) 電子装置
WO2018155434A1 (ja) 配線基板、電子装置および電子モジュール
WO2018155559A1 (ja) 配線基板、電子装置および電子モジュール
JP2021103739A (ja) 電子部品搭載用パッケージ、電子装置および電子モジュール
JPWO2019230826A1 (ja) 電子素子搭載用基板、電子装置および電子モジュール

Legal Events

Date Code Title Description
121 Ep: the epo has been informed by wipo that ep was designated in this application

Ref document number: 19825844

Country of ref document: EP

Kind code of ref document: A1

ENP Entry into the national phase

Ref document number: 2020527574

Country of ref document: JP

Kind code of ref document: A

NENP Non-entry into the national phase

Ref country code: DE

ENP Entry into the national phase

Ref document number: 2019825844

Country of ref document: EP

Effective date: 20210126