WO2019181409A1 - パワーエレメントおよびそれを有する膨張弁 - Google Patents

パワーエレメントおよびそれを有する膨張弁 Download PDF

Info

Publication number
WO2019181409A1
WO2019181409A1 PCT/JP2019/007620 JP2019007620W WO2019181409A1 WO 2019181409 A1 WO2019181409 A1 WO 2019181409A1 JP 2019007620 W JP2019007620 W JP 2019007620W WO 2019181409 A1 WO2019181409 A1 WO 2019181409A1
Authority
WO
WIPO (PCT)
Prior art keywords
valve
power element
diaphragm
hole
outer peripheral
Prior art date
Legal status (The legal status is an assumption and is not a legal conclusion. Google has not performed a legal analysis and makes no representation as to the accuracy of the status listed.)
Ceased
Application number
PCT/JP2019/007620
Other languages
English (en)
French (fr)
Japanese (ja)
Inventor
横田 浩
祐亮 ▲高▼橋
Current Assignee (The listed assignees may be inaccurate. Google has not performed a legal analysis and makes no representation or warranty as to the accuracy of the list.)
Fujikoki Corp
Original Assignee
Fujikoki Corp
Priority date (The priority date is an assumption and is not a legal conclusion. Google has not performed a legal analysis and makes no representation as to the accuracy of the date listed.)
Filing date
Publication date
Application filed by Fujikoki Corp filed Critical Fujikoki Corp
Priority to EP19770738.3A priority Critical patent/EP3770536A4/en
Priority to CN201980012940.3A priority patent/CN111868461B/zh
Publication of WO2019181409A1 publication Critical patent/WO2019181409A1/ja
Anticipated expiration legal-status Critical
Ceased legal-status Critical Current

Links

Images

Classifications

    • FMECHANICAL ENGINEERING; LIGHTING; HEATING; WEAPONS; BLASTING
    • F25REFRIGERATION OR COOLING; COMBINED HEATING AND REFRIGERATION SYSTEMS; HEAT PUMP SYSTEMS; MANUFACTURE OR STORAGE OF ICE; LIQUEFACTION SOLIDIFICATION OF GASES
    • F25BREFRIGERATION MACHINES, PLANTS OR SYSTEMS; COMBINED HEATING AND REFRIGERATION SYSTEMS; HEAT PUMP SYSTEMS
    • F25B41/00Fluid-circulation arrangements
    • F25B41/30Expansion means; Dispositions thereof
    • F25B41/31Expansion valves
    • F25B41/33Expansion valves with the valve member being actuated by the fluid pressure, e.g. by the pressure of the refrigerant
    • FMECHANICAL ENGINEERING; LIGHTING; HEATING; WEAPONS; BLASTING
    • F16ENGINEERING ELEMENTS AND UNITS; GENERAL MEASURES FOR PRODUCING AND MAINTAINING EFFECTIVE FUNCTIONING OF MACHINES OR INSTALLATIONS; THERMAL INSULATION IN GENERAL
    • F16KVALVES; TAPS; COCKS; ACTUATING-FLOATS; DEVICES FOR VENTING OR AERATING
    • F16K31/00Actuating devices; Operating means; Releasing devices
    • F16K31/002Actuating devices; Operating means; Releasing devices actuated by temperature variation
    • FMECHANICAL ENGINEERING; LIGHTING; HEATING; WEAPONS; BLASTING
    • F25REFRIGERATION OR COOLING; COMBINED HEATING AND REFRIGERATION SYSTEMS; HEAT PUMP SYSTEMS; MANUFACTURE OR STORAGE OF ICE; LIQUEFACTION SOLIDIFICATION OF GASES
    • F25BREFRIGERATION MACHINES, PLANTS OR SYSTEMS; COMBINED HEATING AND REFRIGERATION SYSTEMS; HEAT PUMP SYSTEMS
    • F25B41/00Fluid-circulation arrangements
    • F25B41/30Expansion means; Dispositions thereof
    • F25B41/31Expansion valves
    • F25B41/33Expansion valves with the valve member being actuated by the fluid pressure, e.g. by the pressure of the refrigerant
    • F25B41/335Expansion valves with the valve member being actuated by the fluid pressure, e.g. by the pressure of the refrigerant via diaphragms
    • BPERFORMING OPERATIONS; TRANSPORTING
    • B60VEHICLES IN GENERAL
    • B60HARRANGEMENTS OF HEATING, COOLING, VENTILATING OR OTHER AIR-TREATING DEVICES SPECIALLY ADAPTED FOR PASSENGER OR GOODS SPACES OF VEHICLES
    • B60H1/00Heating, cooling or ventilating [HVAC] devices
    • B60H1/00485Valves for air-conditioning devices, e.g. thermostatic valves
    • FMECHANICAL ENGINEERING; LIGHTING; HEATING; WEAPONS; BLASTING
    • F25REFRIGERATION OR COOLING; COMBINED HEATING AND REFRIGERATION SYSTEMS; HEAT PUMP SYSTEMS; MANUFACTURE OR STORAGE OF ICE; LIQUEFACTION SOLIDIFICATION OF GASES
    • F25BREFRIGERATION MACHINES, PLANTS OR SYSTEMS; COMBINED HEATING AND REFRIGERATION SYSTEMS; HEAT PUMP SYSTEMS
    • F25B2500/00Problems to be solved
    • F25B2500/15Hunting, i.e. oscillation of controlled refrigeration variables reaching undesirable values

Definitions

  • the present invention relates to an expansion valve with a built-in temperature sensing mechanism used in a refrigeration cycle, and a power element included in the expansion valve.
  • Such an expansion valve has a valve main body and a power element that is a valve member driving device attached to the valve main body.
  • the valve body is provided with a first refrigerant flow path through which a high-pressure refrigerant flows, which are configured by sequentially connecting an inlet port, a valve chamber, a valve hole, and an outlet port.
  • the valve main body is provided with a second refrigerant flow path that communicates with the power element.
  • a spherical valve member is disposed in the valve chamber. The valve member is pressed toward the valve seat provided in the valve chamber side opening of the valve hole by a coil spring. A valve rod is inserted through the valve hole. One end of the valve stem faces the coil spring through the valve member, and the other end is attached to the power element.
  • the power element is configured by sandwiching a thin diaphragm that is elastically deformed by pressure between the upper lid member and the receiving member.
  • a pressure working chamber is formed between the upper lid member and the diaphragm.
  • a metal stopper member is disposed between the diaphragm and the receiving member. The stopper member is provided with a receiving portion with which the other end of the valve stem is brought into contact.
  • the expansion valve is required to be downsized due to space and weight restrictions when mounted on an automobile.
  • the expansion valve is reduced in size, the second refrigerant flow path and the power element approach each other, so that the heat of the refrigerant is easily transmitted to the pressure working chamber, and the sensitivity to the temperature change of the refrigerant is increased in the power element.
  • This may cause a so-called hunting phenomenon in which the flow rate of the refrigerant repeats fluctuations in a short cycle.
  • Such a hunting phenomenon can be suppressed by adopting a resin stopper member having a low thermal conductivity and optimizing the sensitivity to the temperature change of the refrigerant.
  • the receiving member of the power element is provided with a through hole in the central portion, and the stopper member is prevented from falling off by the flange portion of the stopper member being in contact with the peripheral portion of the through hole.
  • the flange portion be expanded outward.
  • the outer lid is joined by welding so that the upper lid member, the diaphragm, and the receiving member are overlapped and integrated. For this reason, the stopper member may be deformed due to the influence of heat during welding.
  • an object of the present invention is to provide a power element that can suppress deformation of a resin stopper member due to welding heat, and an expansion valve having the power element.
  • the inventors focused on the fact that heat during welding is mainly transmitted to the stopper member through the receiving member, and produced a large number of power elements having different shapes and thicknesses of the receiving member.
  • the effects of heat on the stopper member were studied earnestly.
  • the present inventors have found a configuration that can effectively suppress the influence regardless of the shape and thickness of the receiving member, and have reached the present invention.
  • a power element includes a diaphragm, an upper cover member that is stacked on one surface of the diaphragm, and forms a pressure working chamber between the diaphragm and the diaphragm.
  • a receiving member that overlaps the other surface and forms a refrigerant inflow chamber with the diaphragm; and a resin stopper member that is accommodated in the refrigerant inflow chamber, and penetrates through a central portion of the receiving member A hole is provided, the stopper member has a flange portion in contact with a peripheral edge portion of the through hole of the receiving member, and an outer peripheral portion is welded so that the upper lid member, the receiving member, and the diaphragm are integrated.
  • the radial distance between the portion of the flange portion that contacts the receiving member and the outer peripheral end of the outer peripheral portion is 6 mm or more.
  • a gap is formed between the diaphragm and the stopper member.
  • an expansion valve includes a valve body provided with a refrigerant passage having a valve chamber and a valve hole, a valve member disposed in the valve chamber, A coil spring that presses the valve member toward the valve chamber side opening of the valve hole, a valve rod that is inserted through the valve hole and disposed to face the coil spring via the valve member, and And a power element that drives the valve member via a valve stem, wherein the power element is constituted by the power element.
  • the outer peripheral portion of the upper lid member, the receiving member, and the diaphragm is welded so as to be integrated.
  • the resin stopper member is housed in a refrigerant inflow chamber formed between the diaphragm and the receiving member, and has a flange portion in contact with the peripheral portion of the through hole provided in the central portion of the receiving member. Yes.
  • connects the receiving member in a flange part, and the outer peripheral end of an outer peripheral part is 6 mm or more. Since it did in this way, the heat of welding transmitted to a stopper member through a receiving member can be made small, and the deformation
  • the power element is attached to the valve body by a screw structure.
  • FIG. 1 is a front view of an expansion valve according to a first embodiment of the present invention.
  • FIG. 2 is a longitudinal sectional view of the expansion valve of FIG.
  • FIG. 3 is a cross-sectional view of a power element included in the expansion valve of FIG. 4 is a cross-sectional view showing a configuration of a modification of the power element of FIG.
  • “upper and lower” means upper and lower in each figure.
  • the expansion valve 1 includes a valve body 10, a power element 30, a valve member 40, a support member 45, a coil spring 50, an adjustment screw 55, It has a valve stem 60 and a vibration isolation member 65.
  • the valve main body 10 is obtained, for example, by subjecting a substantially quadrangular prism-shaped extruded body formed by extruding aluminum (or aluminum alloy) in a direction orthogonal to the paper surface of FIG.
  • the valve body 10 is provided with a first refrigerant flow path 11, a second refrigerant flow path 12, a power element attachment portion 20, and an adjustment screw attachment portion 22.
  • the first refrigerant flow path 11 has an inlet port 13, a valve chamber 14, a valve hole 15 and an outlet port 16. These are in sequence.
  • the inlet port 13 is open to the front surface 10 a of the valve body 10.
  • the inlet port 13 communicates with the valve chamber 14 from the side through a small diameter hole 13a.
  • the outlet port 16 opens on the rear surface 10 b of the valve body 10.
  • the outlet port 16 communicates with the valve chamber 14 from above via a valve hole 15 serving as an orifice.
  • a valve seat 17 is provided at the valve chamber side opening of the valve hole 15.
  • the second refrigerant channel 12 is provided above the first refrigerant channel 11.
  • the second refrigerant channel 12 has an inlet provided on the rear surface 10b of the valve body 10 and an outlet provided on the front surface 10a.
  • the second refrigerant channel 12 passes through the valve body 10 linearly from the rear surface 10b to the front surface 10a.
  • valve body 10 is provided with a through hole 18 extending vertically.
  • the valve chamber 14, the valve hole 15, the through hole 18, and the pressure equalizing hole 21 to be described later are arranged so that their central axes are on the same straight line.
  • a large-diameter portion 18a is provided at the end of the through hole 18 on the second refrigerant channel 12 side.
  • the power element mounting portion 20 is a cylindrical hole provided in the upper surface 10c of the valve body 10. An internal thread is cut on the inner peripheral surface of the power element mounting portion 20. A pressure equalizing hole 21 communicating with the second refrigerant channel 12 is provided on the bottom surface of the power element mounting portion 20.
  • the central axis direction (up and down direction in FIG. 2) of the power element mounting portion 20 is orthogonal to the direction (left and right direction in FIG. 2) in which the second refrigerant flow path 12 extends.
  • the adjustment screw mounting portion 22 is a circular hole provided in the lower surface 10d of the valve body 10.
  • the adjusting screw mounting portion 22 communicates with the valve chamber 14.
  • a female screw is cut on the inner peripheral surface of the adjustment screw mounting portion 22.
  • the valve chamber 14 is closed with respect to the outside by closing the opening of the adjustment screw mounting portion 22 with an adjustment screw 55 described later.
  • the front surface 10a of the valve body 10 is provided with a mounting hole 23 for mounting to an evaporator, other parts (not shown) or the like.
  • An internal thread may be cut on the inner peripheral surface of the mounting hole 23.
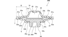
  • the power element 30 includes an upper lid member 31, a receiving member 32, a diaphragm 33, and a stopper member 34.
  • the upper lid member 31, the receiving member 32, and the diaphragm 33 are made of a metal such as stainless steel, for example.
  • the stopper member 34 is made of, for example, a resin such as polyphenylene sulfide (PPS), syndiotactic polystyrene (SPS), or polyamideimide (PAI).
  • PPS polyphenylene sulfide
  • SPS syndiotactic polystyrene
  • PAI polyamideimide
  • the upper lid member 31 has an annular outer peripheral part 31a and a substantially conical inner part 31b connected to the inner peripheral edge of the outer peripheral part 31a.
  • a working gas injection hole 31c is provided at the center of the inner portion 31b.
  • the receiving member 32 has an annular outer peripheral portion 32a having a stepped portion provided with a through hole 35 in the central portion, and extends downward connected to the inner peripheral edge of the outer peripheral portion 32a (the peripheral edge portion 35a of the through hole 35). And a cylindrical portion 32b. A male thread that engages with a female thread of the power element mounting portion 20 is cut on the outer peripheral surface of the cylindrical portion 32b.
  • the diaphragm 33 has an annular outer peripheral portion 33a having a corrugated cross section and a circular flat plate-shaped central portion 33b connected to the inner peripheral edge of the outer peripheral portion 33a.
  • the diaphragm 33 is sandwiched between the upper lid member 31 and the receiving member 32.
  • the outer peripheral portion 31 a of the upper lid member 31 is superimposed on the upper surface (one surface) of the outer peripheral portion 33 a of the diaphragm 33, and the outer peripheral portion 32 a of the receiving member 32 is the lower surface (other surface) of the outer peripheral portion 33 a of the diaphragm 33. Is superimposed on. In a state where these are overlapped, the outer peripheral portion 31a of the upper lid member 31, the outer peripheral portion 32a of the receiving member 32, and the outer peripheral portion 33a of the diaphragm 33 are welded (circular welding) over the entire circumference.
  • the upper lid member 31, the receiving member 32, and the diaphragm 33 are integrated by welding.
  • TIG TUNGSTEN INERT GAS
  • the upper lid member 31 forms a pressure working chamber 36 with the diaphragm 33.
  • Working gas is injected into the pressure working chamber 36 from the working gas injection hole 31c.
  • the working gas injection hole 31c is closed by the sealing plug 38 after the working gas is injected.
  • the receiving member 32 forms a refrigerant inflow chamber 37 between the receiving member 32 and the diaphragm 33.
  • the stopper member 34 includes a cylindrical portion 34a having a slightly smaller diameter than the through hole 35 and an annular flange portion 34b having a larger diameter than the through hole 35 provided at the upper end portion of the cylindrical portion 34a.
  • the column portion 34 a is inserted into the cylindrical portion 32 b of the receiving member 32, and the flange portion 34 b is accommodated in the refrigerant inflow chamber 37.
  • the flange portion 34 b is in contact with the peripheral edge portion 35 a of the through hole 35 of the receiving member 32, thereby preventing the stopper member 34 from falling off the through hole 35.
  • the outer cover portions 31a, 32a, and 33a are welded so that the upper lid member 31, the receiving member 32, and the diaphragm 33 are integrated.
  • connects the receiving member 32 in the flange part 34b, and the outer peripheral end T of outer peripheral part 31a, 32a, 33a is 6 mm or more.
  • the upper surface 34 c of the stopper member 34 is disposed to face the central portion 33 b of the diaphragm 33.
  • the lower surface 34d of the stopper member 34 is provided with a hole-shaped receiving portion 34e into which an upper end portion 61 (the other end portion) of a valve rod 60 described later is inserted.
  • the stopper member 34 when the pressure in the pressure working chamber 36 and the pressure in the refrigerant inflow chamber 37 are equal, such as before the working gas injection hole 31c is closed with the sealing plug 38, there is a gap between the diaphragm 33 and the stopper member 34. It is configured to occur. By doing so, it is possible to prevent the heat of welding from being transmitted to the stopper member 34 through the diaphragm 33. Moreover, in the structure without the said clearance gap, the stopper member 34 is pressed against the receiving member 32 by the diaphragm 33, and there exists a possibility that it may receive the influence of the heat of the receiving member 32 more strongly. Therefore, by providing the gap, the deformation of the stopper member 34 due to the heat of welding can be more effectively suppressed.
  • the male screw of the receiving member 32 is screwed with the female screw of the power element mounting portion 20. That is, the power element 30 is attached to the valve body 10 by a screw structure.
  • the power element 30 is attached to the valve body 10 in a state where an annular seal member 39 is compressed and sandwiched between the receiving member 32 and the valve body 10.
  • the second refrigerant flow path 12 and the refrigerant inflow chamber 37 communicate with each other through the pressure equalizing hole 21.
  • the valve member 40 is a spherical member disposed in the valve chamber 14.
  • the support member 45 supports the valve member 40 so as to face the valve seat 17.
  • the valve member 40 may be fixed to the support member 45.
  • the coil spring 50 is installed in a compressed state between the support member 45 and the adjusting screw 55.
  • the coil spring 50 presses the valve member 40 toward the valve seat 17 via the support member 45.
  • the adjustment screw 55 is screwed into the adjustment screw mounting portion 22 of the valve body 10. By adjusting the screwing amount of the adjusting screw 55, the elastic force (pressing force) of the coil spring 50 can be adjusted.
  • valve rod 60 is inserted into each of the valve hole 15, the through hole 18, and the pressure equalizing hole 21 of the valve body 10.
  • a lower end portion 62 (one end portion) of the valve rod 60 is in contact with the valve member 40 and is disposed so as to face the coil spring 50 through the valve member 40 and the support member 45.
  • the upper end portion 61 of the valve stem 60 is inserted into the receiving portion 34 e of the stopper member 34 of the power element 30. Accordingly, the valve member 40 is driven by the power element 30 via the valve rod 60.
  • the anti-vibration member 65 is disposed in the large diameter portion 18 a of the through hole 18.
  • the anti-vibration member 65 is comprised of a plurality of leaf spring-like members, for example, and presses the valve stem 60 from the periphery. Thereby, the vibration of the valve stem 60 and the valve member 40 is prevented.
  • the refrigerant flows into the inlet port 13, passes through the valve chamber 14 and the valve hole 15, is expanded, flows out from the outlet port 16, and is sent to an evaporator (not shown).
  • the refrigerant that has passed through the evaporator passes through the second refrigerant flow path 12 from the inlet to the outlet, and returns to the compressor (not shown).
  • a part of the refrigerant passing through the second refrigerant flow path 12 flows into the refrigerant inflow chamber 37 of the power element 30 from the pressure equalizing hole 21.
  • the pressure in the pressure working chamber 36 changes according to the temperature change of the refrigerant flowing into the refrigerant inflow chamber 37.
  • the stopper member 34 moves up and down. Then, the movement of the stopper member 34 is transmitted to the valve member 40 via the valve rod 60. Thereby, the expansion valve 1 automatically adjusts the flow rate according to the temperature of the refrigerant.
  • the outer cover portions 31a, 32a, and 33a are welded so that the upper cover member 31, the receiving member 32, and the diaphragm 33 of the power element 30 are integrated.
  • the resin stopper member 34 is accommodated in a refrigerant inflow chamber 37 formed between the diaphragm 33 and the receiving member 32, and is formed in a peripheral portion 35 a of the through hole 35 provided in the central portion of the receiving member 32. It has a flange portion 34b in contact therewith. And the distance D of the radial direction of the part S which contact
  • the portion S in contact with the receiving member 32 in the flange portion 34b and the outer peripheral ends T of the outer peripheral portions 31a, 32a, 33a As shown in FIG. 4, also in the power element 30A in which the above-described power element 30 is downsized as a whole, the portion S in contact with the receiving member 32 in the flange portion 34b and the outer peripheral ends T of the outer peripheral portions 31a, 32a, 33a.
  • the distance D in the radial direction is 6 mm or more, the deformation of the stopper member 34 due to the heat of welding at the time of manufacturing the power element can be suppressed.
  • the power element is attached to the valve body by a caulking structure.
  • FIG. 5 is a front view of the expansion valve according to the second embodiment of the present invention.
  • 6 is a longitudinal sectional view of the expansion valve of FIG.
  • FIG. 7 is a cross-sectional view of a power element included in the expansion valve of FIG.
  • “up and down” refers to the upper and lower sides in each figure.
  • members and the like having the same functions as those of the first embodiment are denoted by the same reference numerals as those of the first embodiment, and description thereof is omitted.
  • the expansion valve 2 includes a valve main body 10 ⁇ / b> B, a power element 30 ⁇ / b> B, a valve member 40, a support member 45, a coil spring 50, and an adjustment screw 55.
  • the valve stem 60 and the vibration isolation member 65 are provided.
  • the valve body 10B is the first except that it has a power element mounting portion 20B having a caulking structure in place of the power element mounting portion 20 formed of a cylindrical hole portion having a female thread on the inner peripheral surface. It has the same configuration as the valve body 10 of the embodiment.
  • the power element mounting portion 20B is integrally provided on the upper surface 10c of the valve body 10B.
  • the power element mounting portion 20B has a cylindrical shape before the power element 30B is mounted. After the power element 30B is accommodated inside, the tip portion facing upward is bent inward to By tightening, the power element 30B is attached to the valve body 10B.
  • the radial distance D between the portion S in contact with the receiving member 32 in the flange portion 34b and the outer peripheral end T of the outer peripheral portions 31a, 32a, 33a is 6 mm or more. . Therefore, the deformation of the stopper member 34 due to the heat of welding at the time of manufacturing the power element can be suppressed.

Landscapes

  • Engineering & Computer Science (AREA)
  • Physics & Mathematics (AREA)
  • General Engineering & Computer Science (AREA)
  • Mechanical Engineering (AREA)
  • Fluid Mechanics (AREA)
  • Thermal Sciences (AREA)
  • Temperature-Responsive Valves (AREA)
  • Check Valves (AREA)
  • Air-Conditioning For Vehicles (AREA)
PCT/JP2019/007620 2018-03-20 2019-02-27 パワーエレメントおよびそれを有する膨張弁 Ceased WO2019181409A1 (ja)

Priority Applications (2)

Application Number Priority Date Filing Date Title
EP19770738.3A EP3770536A4 (en) 2018-03-20 2019-02-27 POWER ELEMENT AND EXPANSION VALVE WITH IT
CN201980012940.3A CN111868461B (zh) 2018-03-20 2019-02-27 动力元件以及具有该动力元件的膨胀阀

Applications Claiming Priority (2)

Application Number Priority Date Filing Date Title
JP2018051857A JP6961232B2 (ja) 2018-03-20 2018-03-20 パワーエレメントおよびそれを有する膨張弁
JP2018-051857 2018-03-20

Publications (1)

Publication Number Publication Date
WO2019181409A1 true WO2019181409A1 (ja) 2019-09-26

Family

ID=67987725

Family Applications (1)

Application Number Title Priority Date Filing Date
PCT/JP2019/007620 Ceased WO2019181409A1 (ja) 2018-03-20 2019-02-27 パワーエレメントおよびそれを有する膨張弁

Country Status (4)

Country Link
EP (1) EP3770536A4 (enExample)
JP (1) JP6961232B2 (enExample)
CN (1) CN111868461B (enExample)
WO (1) WO2019181409A1 (enExample)

Cited By (2)

* Cited by examiner, † Cited by third party
Publication number Priority date Publication date Assignee Title
EP4067714A4 (en) * 2019-11-25 2023-11-22 Fujikoki Corporation Power element and expansion valve using same
EP4067715A4 (en) * 2019-11-25 2024-02-07 Fujikoki Corporation Power element and expansion valve using same

Families Citing this family (2)

* Cited by examiner, † Cited by third party
Publication number Priority date Publication date Assignee Title
JP7366401B2 (ja) 2019-11-25 2023-10-23 株式会社不二工機 パワーエレメント及びこれを用いた膨張弁
CN114251461A (zh) * 2020-09-22 2022-03-29 浙江三花汽车零部件有限公司 一种热力膨胀阀

Citations (4)

* Cited by examiner, † Cited by third party
Publication number Priority date Publication date Assignee Title
JPS51136B2 (enExample) 1972-11-14 1976-01-06
CN102252469A (zh) * 2010-05-20 2011-11-23 浙江三花汽车零部件有限公司 热力膨胀阀
JP2016196982A (ja) 2015-04-03 2016-11-24 株式会社不二工機 カシメ固定型パワーエレメント及びこれを用いた膨張弁
JP2018004234A (ja) * 2016-07-08 2018-01-11 株式会社テージーケー 膨張弁

Family Cites Families (6)

* Cited by examiner, † Cited by third party
Publication number Priority date Publication date Assignee Title
JP3207716B2 (ja) * 1994-12-22 2001-09-10 株式会社不二工機 温度膨張弁
JPH09178006A (ja) * 1995-12-26 1997-07-11 Fuji Koki:Kk 温度膨張弁
JP4081295B2 (ja) * 2002-04-30 2008-04-23 株式会社不二工機 膨張弁
CN100473881C (zh) * 2005-12-02 2009-04-01 浙江三花制冷集团有限公司 热力膨胀阀
CN101799077B (zh) * 2009-07-05 2011-10-19 浙江三花股份有限公司 一种电磁阀
CN102454823A (zh) * 2010-10-16 2012-05-16 浙江三花股份有限公司 气箱头部件及其加工方法和使用该部件的热力膨胀阀

Patent Citations (4)

* Cited by examiner, † Cited by third party
Publication number Priority date Publication date Assignee Title
JPS51136B2 (enExample) 1972-11-14 1976-01-06
CN102252469A (zh) * 2010-05-20 2011-11-23 浙江三花汽车零部件有限公司 热力膨胀阀
JP2016196982A (ja) 2015-04-03 2016-11-24 株式会社不二工機 カシメ固定型パワーエレメント及びこれを用いた膨張弁
JP2018004234A (ja) * 2016-07-08 2018-01-11 株式会社テージーケー 膨張弁

Non-Patent Citations (1)

* Cited by examiner, † Cited by third party
Title
See also references of EP3770536A4

Cited By (2)

* Cited by examiner, † Cited by third party
Publication number Priority date Publication date Assignee Title
EP4067714A4 (en) * 2019-11-25 2023-11-22 Fujikoki Corporation Power element and expansion valve using same
EP4067715A4 (en) * 2019-11-25 2024-02-07 Fujikoki Corporation Power element and expansion valve using same

Also Published As

Publication number Publication date
EP3770536A4 (en) 2021-12-01
CN111868461B (zh) 2022-04-05
JP6961232B2 (ja) 2021-11-05
EP3770536A1 (en) 2021-01-27
CN111868461A (zh) 2020-10-30
JP2019163896A (ja) 2019-09-26

Similar Documents

Publication Publication Date Title
WO2019181409A1 (ja) パワーエレメントおよびそれを有する膨張弁
US10436484B2 (en) Caulking fixation type power element and expansion valve using the same
CN100394126C (zh) 膨胀阀
CN102762935B (zh) 膨胀阀
EP2503267B1 (en) Expansion valve
JP6745636B2 (ja) 膨張弁
JP2017198386A (ja) 膨張弁
JP7624762B2 (ja) パワーエレメント及びこれを用いた膨張弁
EP4067715A1 (en) Power element and expansion valve using same
JP2012197989A (ja) 膨張弁
CN114667422A (zh) 动力元件以及使用了该动力元件的膨胀阀
WO2017038271A1 (ja) 絞り装置及び冷凍サイクル
JP2018004234A (ja) 膨張弁
JP6788887B2 (ja) 膨張弁
JP6611533B2 (ja) 膨張弁
WO2018030115A1 (ja) 膨張弁
CN102252469B (zh) 热力膨胀阀
JP7051091B2 (ja) 膨張弁
JP7599211B2 (ja) パワーエレメント及びそれを備えた膨張弁
JP7519664B2 (ja) 膨張弁
JP7246075B2 (ja) 膨張弁
JP7349706B2 (ja) パワーエレメント及びこれを用いた膨張弁
EP4067777A1 (en) Power element and expansion valve used therein
US10900530B2 (en) Expansion valve
JP4415096B2 (ja) 膨張弁取付構造

Legal Events

Date Code Title Description
121 Ep: the epo has been informed by wipo that ep was designated in this application

Ref document number: 19770738

Country of ref document: EP

Kind code of ref document: A1

NENP Non-entry into the national phase

Ref country code: DE

ENP Entry into the national phase

Ref document number: 2019770738

Country of ref document: EP

Effective date: 20201020

WWW Wipo information: withdrawn in national office

Ref document number: 2019770738

Country of ref document: EP