WO2019159648A1 - インダクタ、基板付きインダクタ及び電気接続箱 - Google Patents

インダクタ、基板付きインダクタ及び電気接続箱 Download PDF

Info

Publication number
WO2019159648A1
WO2019159648A1 PCT/JP2019/002400 JP2019002400W WO2019159648A1 WO 2019159648 A1 WO2019159648 A1 WO 2019159648A1 JP 2019002400 W JP2019002400 W JP 2019002400W WO 2019159648 A1 WO2019159648 A1 WO 2019159648A1
Authority
WO
WIPO (PCT)
Prior art keywords
substrate
inductor
electronic component
conductive path
terminal
Prior art date
Legal status (The legal status is an assumption and is not a legal conclusion. Google has not performed a legal analysis and makes no representation as to the accuracy of the status listed.)
Ceased
Application number
PCT/JP2019/002400
Other languages
English (en)
French (fr)
Japanese (ja)
Inventor
敏之 土田
山根 茂樹
純也 愛知
Current Assignee (The listed assignees may be inaccurate. Google has not performed a legal analysis and makes no representation or warranty as to the accuracy of the list.)
Sumitomo Wiring Systems Ltd
AutoNetworks Technologies Ltd
Sumitomo Electric Industries Ltd
Original Assignee
Sumitomo Wiring Systems Ltd
AutoNetworks Technologies Ltd
Sumitomo Electric Industries Ltd
Priority date (The priority date is an assumption and is not a legal conclusion. Google has not performed a legal analysis and makes no representation as to the accuracy of the date listed.)
Filing date
Publication date
Application filed by Sumitomo Wiring Systems Ltd, AutoNetworks Technologies Ltd, Sumitomo Electric Industries Ltd filed Critical Sumitomo Wiring Systems Ltd
Priority to CN201980010009.1A priority Critical patent/CN111656468B/zh
Priority to DE112019000768.8T priority patent/DE112019000768T5/de
Priority to US16/969,770 priority patent/US11908610B2/en
Publication of WO2019159648A1 publication Critical patent/WO2019159648A1/ja
Anticipated expiration legal-status Critical
Ceased legal-status Critical Current

Links

Images

Classifications

    • HELECTRICITY
    • H05ELECTRIC TECHNIQUES NOT OTHERWISE PROVIDED FOR
    • H05KPRINTED CIRCUITS; CASINGS OR CONSTRUCTIONAL DETAILS OF ELECTRIC APPARATUS; MANUFACTURE OF ASSEMBLAGES OF ELECTRICAL COMPONENTS
    • H05K9/00Screening of apparatus or components against electric or magnetic fields
    • H05K9/0007Casings
    • H05K9/002Casings with localised screening
    • H05K9/0022Casings with localised screening of components mounted on printed circuit boards [PCB]
    • H05K9/0024Shield cases mounted on a PCB, e.g. cans or caps or conformal shields
    • H05K9/0026Shield cases mounted on a PCB, e.g. cans or caps or conformal shields integrally formed from metal sheet
    • HELECTRICITY
    • H01ELECTRIC ELEMENTS
    • H01FMAGNETS; INDUCTANCES; TRANSFORMERS; SELECTION OF MATERIALS FOR THEIR MAGNETIC PROPERTIES
    • H01F27/00Details of transformers or inductances, in general
    • H01F27/28Coils; Windings; Conductive connections
    • H01F27/29Terminals; Tapping arrangements for signal inductances
    • H01F27/292Surface mounted devices
    • HELECTRICITY
    • H01ELECTRIC ELEMENTS
    • H01FMAGNETS; INDUCTANCES; TRANSFORMERS; SELECTION OF MATERIALS FOR THEIR MAGNETIC PROPERTIES
    • H01F27/00Details of transformers or inductances, in general
    • H01F27/02Casings
    • HELECTRICITY
    • H01ELECTRIC ELEMENTS
    • H01FMAGNETS; INDUCTANCES; TRANSFORMERS; SELECTION OF MATERIALS FOR THEIR MAGNETIC PROPERTIES
    • H01F27/00Details of transformers or inductances, in general
    • H01F27/06Mounting, supporting or suspending transformers, reactors or choke coils not being of the signal type
    • HELECTRICITY
    • H01ELECTRIC ELEMENTS
    • H01FMAGNETS; INDUCTANCES; TRANSFORMERS; SELECTION OF MATERIALS FOR THEIR MAGNETIC PROPERTIES
    • H01F27/00Details of transformers or inductances, in general
    • H01F27/24Magnetic cores
    • HELECTRICITY
    • H01ELECTRIC ELEMENTS
    • H01FMAGNETS; INDUCTANCES; TRANSFORMERS; SELECTION OF MATERIALS FOR THEIR MAGNETIC PROPERTIES
    • H01F27/00Details of transformers or inductances, in general
    • H01F27/24Magnetic cores
    • H01F27/26Fastening parts of the core together; Fastening or mounting the core on casing or support
    • H01F27/263Fastening parts of the core together
    • HELECTRICITY
    • H01ELECTRIC ELEMENTS
    • H01FMAGNETS; INDUCTANCES; TRANSFORMERS; SELECTION OF MATERIALS FOR THEIR MAGNETIC PROPERTIES
    • H01F27/00Details of transformers or inductances, in general
    • H01F27/24Magnetic cores
    • H01F27/26Fastening parts of the core together; Fastening or mounting the core on casing or support
    • H01F27/266Fastening or mounting the core on casing or support
    • HELECTRICITY
    • H01ELECTRIC ELEMENTS
    • H01FMAGNETS; INDUCTANCES; TRANSFORMERS; SELECTION OF MATERIALS FOR THEIR MAGNETIC PROPERTIES
    • H01F27/00Details of transformers or inductances, in general
    • H01F27/34Special means for preventing or reducing unwanted electric or magnetic effects, e.g. no-load losses, reactive currents, harmonics, oscillations, leakage fields
    • H01F27/36Electric or magnetic shields or screens
    • H01F27/363Electric or magnetic shields or screens made of electrically conductive material
    • HELECTRICITY
    • H01ELECTRIC ELEMENTS
    • H01FMAGNETS; INDUCTANCES; TRANSFORMERS; SELECTION OF MATERIALS FOR THEIR MAGNETIC PROPERTIES
    • H01F27/00Details of transformers or inductances, in general
    • H01F27/06Mounting, supporting or suspending transformers, reactors or choke coils not being of the signal type
    • H01F2027/065Mounting on printed circuit boards

Definitions

  • Patent Document 1 a recess is formed in a first electronic component that is an inductor component mounted on a mounting board.
  • the second electronic component is mounted on the mounting substrate in the recess of the first electronic component.
  • the mounting area is reduced by the mounting area of the second electronic component, and the mounting substrate is reduced in size.
  • the second electronic component can be reduced in size by arranging the second electronic component in the concave portion of the inductor component, but there is a concern that the second electronic component may be affected by the magnetic field generated from the inductor component.
  • An object of the present invention is to provide an inductor, an inductor with a substrate, and an electrical junction box that can suppress the influence on components.
  • the inductor described in this specification includes a magnetic core, a conductive path that penetrates the magnetic core, a core holding portion that holds the magnetic core, and a core holding portion that is placed on the substrate.
  • a pedestal portion having a support portion that supports the electronic component at a height that can accommodate an electronic component on the substrate side, and provided on the substrate side with respect to the magnetic core, shields a magnetic field generated by energization of the conductive path. And a shield part to be provided.
  • the space increases, the mounting density of electronic components can be increased, and miniaturization becomes possible.
  • the inductor is placed on the board in this way, the distance between the conductive path of the inductor and the electronic component on the board becomes short, and there is a concern about the influence of the magnetic field from the conductive path to the electronic component.
  • the According to this configuration since the magnetic field generated on the electronic component side by energization of the conductive path is shielded by the shield portion, the influence on the electronic component by the magnetic field generated by energization of the conductive path can be suppressed. Accordingly, it is possible to reduce the size of the electronic component mounted on the substrate due to the magnetic field generated by energization of the conductive path in the inductor.
  • a conductive cover portion is provided that covers the opposite side of the magnetic core from the substrate side. If it does in this way, the influence on the exterior of the magnetic field which arises on the opposite side to a substrate side to a magnetic body core with a conductive cover part can be controlled.
  • the shield part is provided over the entire surface of the base part on the substrate side. In this way, it is possible to suppress the influence of the entire conductive path in the inductor on the electronic component mounted on the board.
  • a terminal portion connected to the conductive path and connectable to an external terminal is provided, and the pedestal portion includes a terminal holding portion that holds the terminal portion.
  • the inductor can suppress the influence of the magnetic field generated by energization of the terminal portion on the substrate side while having the function of the terminal block.
  • the substrate comprising: the inductor; a substrate on which the pedestal portion is mounted and having a ground pattern connected to a ground potential; and the electronic component mounted on the substrate and having a terminal connected to the ground pattern
  • An inductor is used. Although there is a concern about the influence on the electronic components connected to the ground pattern of the board due to the influence of the magnetic field from the inductor, according to this configuration, the electronic circuit is easily connected to such a ground pattern and the magnetic field is likely to be affected. The influence on components can be suppressed.
  • the electric junction box includes the inductor, the substrate, the electronic component, and a case that accommodates the inductor, the substrate, and the electronic component.
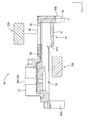
  • Sectional drawing which shows the electrical-connection box of Embodiment 1.
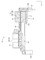
  • Longitudinal sectional view of the position passing through the recess of the pedestal in the inductor with substrate The perspective view which shows the base part in which the conductive path was formed
  • wearing with a division member with respect to a base part Sectional drawing which shows the state by which the magnetic body core was mounted
  • the electrical junction box 10 in which the inductor 30 of the first embodiment is housed is a power supply between a power source such as a battery of a vehicle such as an electric vehicle or a hybrid vehicle and a load composed of an on-vehicle electrical component such as a lamp or a drive motor.
  • a power source such as a battery of a vehicle such as an electric vehicle or a hybrid vehicle
  • a load composed of an on-vehicle electrical component such as a lamp or a drive motor.
  • a DC-DC converter or an inverter for a DC-DC converter or an inverter.
  • the electrical connection box 10 includes an inductor 20 with a substrate and a case 11 that accommodates the inductor 20 with a substrate.
  • the case 11 is made of synthetic resin or metal, and has a lower case 13 and an upper case 12 that fits into the lower case 13.
  • the substrate-equipped inductor 20 includes a substrate 21, a plurality of electronic components 25 mounted on the substrate 21, and an inductor 30 mounted on the substrate 21.
  • the board 21 is a printed board in which an insulating plate made of an insulating material is formed with a pattern 23 made of copper foil or the like by a printed wiring technique.
  • the pattern 23 has a ground pattern 23A connected to the ground potential.
  • the substrate 21 is only a printed board.
  • the present invention is not limited to this.
  • a board in which a metal plate material (bus bar) such as copper or copper alloy is superimposed on the printed board may be used.
  • a plurality of through holes 22 that continue to the pattern 23 are formed through the substrate 21.
  • Each electronic component 25 has a plurality of lead terminals 25 ⁇ / b> A connected to the pattern 23 of the substrate 21.
  • the plurality of lead terminals 25A are soldered to the pattern 23 of the substrate 21, and one lead terminal 25A of the electronic component 25 is connected to the ground pattern 23A.
  • At least one electronic component 25 mounted on the substrate 21 is disposed in a space below the inductor 30.
  • the electronic component 25 it can be set as various electronic components, such as a capacitor, FET (Field
  • the inductor 30 includes a magnetic core 31, a conductive path 34 that penetrates the magnetic core 31, a pedestal portion 40 made of an insulating synthetic resin that holds the magnetic core 31 and the conductive path 34, and energization of the conductive path 34. And a shield part 63 that shields the magnetic field generated by.
  • the magnetic core 31 is made of a magnetic material such as ferrite, and is configured by facing a pair of divided members 32A and 32B having the same shape. A flat plate-like insertion portion 42 of the pedestal portion 40 is inserted between the pair of divided members 32A and 32B.
  • the magnetic core 31 may be fixed by winding a tape from the outside of the pair of divided members 32A and 32B in a state where the pair of divided members 32A and 32B sandwich the insertion portion 42.
  • the conductive path 34 is made of a flat metal plate (bus bar) such as copper or copper alloy, and a plurality of board connection terminals 35 bent at one end side to be L-shaped and connected to the conductive path 34 of the board 21. The other end side is bent in a stepped shape, and a through hole 34A through which the shaft portion of the stud bolt 36 is inserted is formed in the heightened step.
  • a shaft portion of the stud bolt 36 is a terminal portion 36A that can be connected to a mating terminal TE connected to a terminal portion of an external electric wire.
  • the terminal portion 36A is an output terminal that outputs electric power to the outside.
  • another terminal portion (not shown) to which electric power is input from the outside is mounted on the substrate 21.
  • the head of the stud bolt 36 is welded to the hole edge of the through hole 34 ⁇ / b> A in the conductive path 34.
  • the plurality of substrate connection terminals 35 are both rod-shaped, arranged in a line at predetermined intervals, and are inserted into the through holes 22 of the substrate 21 and soldered. Thereby, it is electrically connected to the pattern 23 of the substrate 21.
  • the pedestal portion 40 is made of an insulating synthetic resin, and is in close contact with the entire surface of the conductive path 34 other than the upper surface of the terminal portion 36A, and includes a core holding portion 41 that holds the magnetic core 31, and a terminal portion.
  • the core holding portion 41 is disposed below the insertion portion 42, the insertion portion 42 inserted between the pair of division members 32A, 32B, the recess 44 into which the end portions of the division members 32A, 32B are fitted.
  • a receiving portion 47 for receiving the lower divided member 32B.
  • the insertion portion 42 extends in a flat plate shape in the front-rear direction, and is configured such that resin is in close contact with the entire circumference of the conductive path 34.
  • the insertion portion 42 is provided with a pair of left and right thin spacer portions 45 that do not overlap the conductive path 34.
  • the spacer portion 45 is sandwiched between the divided members 32A and 32B and maintains the space between the divided members 32A and 32B.
  • the concave portions 44 are provided on the upper and lower surfaces of the core holding portion 41 and are recessed in a rectangular shape that is long in the front-rear direction.
  • An annularly extending rib 44A protrudes from the edge of the recess 44.
  • a space 45 is provided between the upper and lower recesses 44.
  • the receiving portion 47 is a U-shaped plate shape into which the dividing member 32B can be fitted, and connects the lower side of the left and right side walls of the core holding portion 41. As shown in FIG.
  • An inclined surface 47A is formed by cutting out in an inclined shape.
  • the upper part of the core holding part 41 is covered with a cover part 50 in a state where the magnetic core 31 is attached to the insertion part 42 of the core holding part 41 as shown in FIG.
  • the cover portion 50 connects the rectangular ceiling wall 50A, the side walls 50B and 50D extending downward from both side edges of the ceiling wall 50A, and the side walls 50B and 50D, thereby connecting the ceiling wall 50A.
  • a pair of connecting walls 50C and 50E extending downward from the front and rear edges.
  • a pair of insertion pieces 51 extend downward in a band shape on the connecting wall 50C. Between each insertion piece 51 and the side walls 50B and 50D, an insertion groove 52 extends in a slit shape in the vertical direction.
  • the connecting wall 50E is shortened by notching the lower side.
  • the pair of side walls 50 ⁇ / b> B and 50 ⁇ / b> D has a locked portion in which the hole edge is locked to the locking portion 48 projecting from the outer surface of the core holding portion 41 to position the cover portion 50. 53 is penetratingly formed in a rectangular shape.
  • the locking part 48 has a lower end protruding in a stepped shape, and a protruding dimension is reduced in an inclined manner toward the upper side.
  • the terminal holding part 56 is formed integrally with the core holding part 41, and as shown in FIG. 3, an insulating wall 57 surrounding three sides of the terminal part 36A, and a groove part 58 arranged around the insulating wall 57, Is provided.
  • the four support portions 60A to 60D are four columnar legs projecting downward at the four corner positions of the pedestal portion 40 (the bottom surfaces of the core holding portion 41 and the terminal holding portion 56).
  • the support portions 60A and 60D on the 56 side are shorter in height than the two support portions 60B and 60C on the core holding portion 41 side, and have a large outer diameter.
  • the support surface 61 of the support portions 60A to 60D is placed on the substrate 21, it is formed with a height dimension that can accommodate the electronic component 25 under the core holding portion 41 and the terminal holding portion 56 (on the substrate 21 side).
  • the substrate connection terminal 35 is embedded, and the lower end portion is tapered and tapered. As shown in FIG.
  • screw holes 61A are formed in the support surface 61 of the support portions 60A and 60D on the terminal holding portion 56 side.
  • the substrate 21 may be fixed by screwing into the screw holes 61A of the support portions 60A and 60D with screws (not shown) from the lower side of the substrate 21.
  • the shield part 63 is attached to the bottom surface of the receiving part 47 in the pedestal part 40.
  • a metal plate material such as aluminum, aluminum alloy, copper, or copper alloy is punched by a press machine and bent. It is made into the box shape which gave.
  • the shield part 63 is fitted to the lower surface side of the core holding part 41, and a pair of a base plate part 63 ⁇ / b> A that covers the entire bottom surface of the receiving part 47 and the side walls 50 ⁇ / b> B and 50 ⁇ / b> D of the core holding part 41.
  • the shield part 63 can be fixed to the core holding part 41 by, for example, an adhesive.
  • the shield part 63 can be fixed using various known fixing means.
  • a locking claw (not shown) is provided on one of the shield part 63 and the core holding part 41, and the shield part 63 is shielded.
  • the shield 63 may be fixed to the core holding part 41 by providing a locked recess to be locked to the locking claw on the other of the part 63 and the core holding part 41.
  • the assembly of the electrical junction box 10 will be described.
  • the electronic component 25 is placed on the substrate 21 to which the solder is applied, and the electronic component 25 is soldered to the substrate 21 by, for example, reflow soldering.
  • the conductive path 34 and the pedestal portion 40 are integrally formed by insert molding in which a stud bolt 36 is welded to the conductive path 34 formed by a press and the conductive path 34 is arranged in the mold (FIG. 3). .
  • one split member 32 ⁇ / b> A is fitted into the upper pair of concave portions 44 from the upper side of the core holding portion 41, and on the inclined surface 47 ⁇ / b> A of the receiving portion 47 from the lower side of the pedestal portion 40.
  • the magnetic core 31 is formed by being fitted in the pair of lower recesses 44 while being slid (FIG. 10).
  • the cover part 50 is put on the magnetic core 31 (see FIG. 4), and the locked part 53 of the cover part 50 is locked to the locking part 48 of the core holding part 41.
  • the inductor 30 is formed by fixing the shield part 63 to the core holding part 41 from below the pedestal part 40 with an adhesive or the like (see FIG. 4).
  • the support portions 60A to 60D of the inductor 30 are placed on the substrate 21 while the substrate connection terminals 35 of the inductor 30 are inserted into the through holes 22 of the substrate 21, and the substrate connection terminals 35 are attached to the substrate 21 by, for example, flow soldering. Solder to the through hole 22.
  • substrate is formed (FIG. 2).
  • the electric connection box 10 is formed by covering the upper case 12 and the lower case 13 on the top and bottom of the inductor 20 with the substrate (FIG. 1).
  • the inductor 30 When the inductor 30 is placed on the substrate 21, the magnetic core 31, the conductive path 34 that penetrates the magnetic core 31, the core holding portion 41 that holds the magnetic core 31, and the core holding portion 41.
  • a pedestal portion 40 having support portions 60A to 60D that support the electronic component 25 at a height that can accommodate the electronic component 25 on the substrate 21 side, and the magnetic core 31 is provided on the substrate 21 side, and is generated by energization of the conductive path 34.
  • a shield part 63 that shields the magnetic field.
  • the electronic component 25 when the support portions 60A to 60D of the inductor 30 are placed on the substrate 21, the electronic component 25 can be accommodated between the core holding portion 41 and the substrate 21.
  • the space in which the electronic component 25 can be accommodated is increased, the mounting density of the electronic component 25 can be increased, and the size can be reduced.
  • the inductor 30 when the inductor 30 is placed on the substrate 21 in this way, the distance between the conductive path 34 of the inductor 30 and the electronic component 25 on the substrate 21 is short, and therefore, when the current is energized, the electrons are transferred from the conductive path 34. There is a concern about the influence of the magnetic field on the component 25.
  • the magnetic field generated on the electronic component 25 side by energization of the conductive path 34 is shielded by the shield part 63, the influence on the electronic component 25 by the magnetic field generated by energization of the conductive path 34 can be suppressed. it can. Therefore, it is possible to suppress the influence on the electronic component 25 mounted on the substrate 21 by the magnetic field generated by energization of the conductive path 34 in the inductor 30 while enabling the miniaturization.
  • the electroconductive cover part 50 which covers the opposite side to the board
  • the terminal portion 36A includes a terminal holding portion 56 that holds the terminal portion 36A.
  • the terminal portion 36A includes a terminal portion 36A that is connected to the conductive path 34 and can be connected to an external terminal. In this way, the inductor 30 can suppress the influence on the electronic component 25 mounted on the substrate 21 by the magnetic field generated by energization of the terminal portion 36A while having the function of the terminal block.
  • the inductor 20 with substrate is mounted on the substrate 21 having the ground pattern 23A on which the inductor 30 and the pedestal portion 40 are mounted and connected to the ground potential, and the lead terminal connected to the ground pattern 23A.
  • an electronic component 25 having 25A is provided. Although there is a concern about the influence on the electronic component 25 connected to the ground pattern 23A due to the influence of the magnetic field from the inductor 30, according to the present embodiment, the influence of the magnetic field is likely to occur due to the connection to the ground pattern 23A. The influence on the electronic component 25 can be suppressed in the configuration.
  • Embodiment 2 will be described with reference to FIG.
  • a shield portion 72 is provided on the bottom surface of the terminal holding portion 56 in addition to the core holding portion 41.
  • the same components as those of the first embodiment are denoted by the same reference numerals and description thereof is omitted.
  • the shield portion 72 is provided over the entire bottom surface (lower surface) of the pedestal portion 40 of the inductor 71.
  • the shield portion is not limited to this, and may be provided on the outer surface or the upper surface of the pedestal portion 40.
  • the shield portion is provided over the entire outer surface (other than the terminal portion 36A) of the pedestal portion 40. It may be.
  • an electronic component 26 such as a capacitor, FET, resistor, or coil may be mounted on the substrate 21 below the terminal holding portion 56 on the substrate 21.
  • the shield portion 72 is provided over the entire surface of the base portion 40 on the substrate 21 side, the entire conductive path 34 in the inductor 71 is mounted on the substrate 21. The influence on 25 and 26 can be suppressed.
  • the technology described in the present specification is not limited to the embodiments described with reference to the above description and the drawings.
  • the following embodiments are also included in the technical scope of the technology described in the present specification.
  • the shape of the shield part 63 is not limited to the box shape described above, and may be various shapes.
  • a flat plate shape that covers only the bottom surface of the core holding portion 41 may be used.
  • the shield part 63 is not limited to a metal plate material, and may be a metal foil such as aluminum or copper, or a mesh braided wire. Further, a conductive resin may be used as the shield part 63.
  • the pedestal portion 40 is made of synthetic resin, but is not limited thereto.
  • the pedestal portion may be made of metal, and the conductive path 34 and the inductor 30 may be insulated by an insulating layer made of an insulating adhesive or the like.
  • the direction of the plate surface of the conductive path 34 extending into the pedestal portion 40 may be a direction different from the above embodiment.
  • a conductive path having a plate surface in a direction orthogonal to the plate surface of the conductive path 34 may be inserted through the magnetic core.
  • the pair of divided members 32A and 32B may be fitted from the left and right directions according to the direction of the plate surface of the conductive path.
  • the inductor 30 is formed by insert molding in which the conductive path 34 is arranged in the mold and the resin is injected into the mold, the invention is not limited thereto.
  • the inductor may be formed by assembling the conductive path to the pedestal portion.

Landscapes

  • Engineering & Computer Science (AREA)
  • Power Engineering (AREA)
  • Microelectronics & Electronic Packaging (AREA)
  • Shielding Devices Or Components To Electric Or Magnetic Fields (AREA)
  • Housings And Mounting Of Transformers (AREA)
  • Coils Or Transformers For Communication (AREA)
  • Coils Of Transformers For General Uses (AREA)
  • Regulation Of General Use Transformers (AREA)
  • Connection Or Junction Boxes (AREA)
PCT/JP2019/002400 2018-02-13 2019-01-25 インダクタ、基板付きインダクタ及び電気接続箱 Ceased WO2019159648A1 (ja)

Priority Applications (3)

Application Number Priority Date Filing Date Title
CN201980010009.1A CN111656468B (zh) 2018-02-13 2019-01-25 电感器、带基板的电感器及电连接箱
DE112019000768.8T DE112019000768T5 (de) 2018-02-13 2019-01-25 Induktor, Anordnung aus Induktor und Leiterplatte und elektrischer Verteilerkasten
US16/969,770 US11908610B2 (en) 2018-02-13 2019-01-25 Inductor, inductor with circuit board, and electrical junction box

Applications Claiming Priority (2)

Application Number Priority Date Filing Date Title
JP2018-022823 2018-02-13
JP2018022823A JP6947071B2 (ja) 2018-02-13 2018-02-13 インダクタ、基板付きインダクタ及び電気接続箱

Publications (1)

Publication Number Publication Date
WO2019159648A1 true WO2019159648A1 (ja) 2019-08-22

Family

ID=67620158

Family Applications (1)

Application Number Title Priority Date Filing Date
PCT/JP2019/002400 Ceased WO2019159648A1 (ja) 2018-02-13 2019-01-25 インダクタ、基板付きインダクタ及び電気接続箱

Country Status (5)

Country Link
US (1) US11908610B2 (enExample)
JP (1) JP6947071B2 (enExample)
CN (1) CN111656468B (enExample)
DE (1) DE112019000768T5 (enExample)
WO (1) WO2019159648A1 (enExample)

Cited By (1)

* Cited by examiner, † Cited by third party
Publication number Priority date Publication date Assignee Title
CN112562989A (zh) * 2019-09-10 2021-03-26 法雷奥电机控制系统公司 形成用于电路的至少一个电感器的部件

Families Citing this family (2)

* Cited by examiner, † Cited by third party
Publication number Priority date Publication date Assignee Title
JP7004212B2 (ja) * 2018-02-13 2022-01-21 住友電装株式会社 回路構成体及び電気接続箱
JP7398412B2 (ja) * 2021-07-28 2023-12-14 矢崎総業株式会社 電気接続構造

Citations (6)

* Cited by examiner, † Cited by third party
Publication number Priority date Publication date Assignee Title
JPH0334316U (enExample) * 1989-08-11 1991-04-04
JPH056821U (ja) * 1991-07-10 1993-01-29 株式会社トーキン 基板型ノイズフイルタ
JP2004103757A (ja) * 2002-09-09 2004-04-02 Seiko Epson Corp Emi低減装置
JP2012104595A (ja) * 2010-11-09 2012-05-31 Kitagawa Ind Co Ltd ノイズ抑制装置
WO2017170817A1 (ja) * 2016-03-31 2017-10-05 株式会社 豊田自動織機 車載用電動圧縮機
JP2018019512A (ja) * 2016-07-28 2018-02-01 北川工業株式会社 出力ノイズ低減装置

Family Cites Families (18)

* Cited by examiner, † Cited by third party
Publication number Priority date Publication date Assignee Title
JPH0648973Y2 (ja) * 1988-04-12 1994-12-12 アルプス電気株式会社 発振器の接続構造
JPH036099A (ja) * 1989-06-02 1991-01-11 Canon Inc 電子機器の実装構造
JPH0334316A (ja) 1989-06-29 1991-02-14 Nec Corp ドライエッチング装置
JPH1041165A (ja) * 1996-07-18 1998-02-13 Tokin Corp ノイズフィルタ
JPH1140426A (ja) * 1997-07-18 1999-02-12 Tdk Corp インダクタンス素子
DE10026353A1 (de) * 2000-05-27 2001-11-29 Mannesmann Vdo Ag Abgeschirmte, elektronische Schaltung
JP2002057047A (ja) * 2000-08-08 2002-02-22 Minebea Co Ltd コモンモードチョークコイル
JP2004152947A (ja) 2002-10-30 2004-05-27 Matsushita Electric Ind Co Ltd 電子部品装置
JP4500726B2 (ja) * 2005-04-21 2010-07-14 アルプス電気株式会社 高周波機器の取付構造
CN102763178B (zh) * 2010-02-19 2014-12-31 村田电源 大电流电感器组件
KR101873407B1 (ko) * 2011-07-13 2018-07-02 엘지전자 주식회사 이동 단말기
JP2014036058A (ja) * 2012-08-07 2014-02-24 Sumitomo Electric Ind Ltd リアクトル、リアクトル用の組物、コンバータ、及び電力変換装置
JP5963359B2 (ja) * 2012-11-16 2016-08-03 新電元工業株式会社 トランスユニット取付構造
JP2015201260A (ja) * 2014-04-04 2015-11-12 矢崎総業株式会社 コネクタ装置
CN204668122U (zh) * 2015-06-02 2015-09-23 胜美达电机(香港)有限公司 电感器
JP2017041400A (ja) * 2015-08-21 2017-02-23 株式会社オートネットワーク技術研究所 フィルタ素子内蔵コネクタ
JP6624593B2 (ja) * 2016-05-20 2019-12-25 パナソニックIpマネジメント株式会社 トランス、電気回路ユニット、回路付電源ユニットおよび燃料電池システム
KR102015441B1 (ko) * 2017-10-23 2019-08-28 엘지전자 주식회사 공기 조화기

Patent Citations (6)

* Cited by examiner, † Cited by third party
Publication number Priority date Publication date Assignee Title
JPH0334316U (enExample) * 1989-08-11 1991-04-04
JPH056821U (ja) * 1991-07-10 1993-01-29 株式会社トーキン 基板型ノイズフイルタ
JP2004103757A (ja) * 2002-09-09 2004-04-02 Seiko Epson Corp Emi低減装置
JP2012104595A (ja) * 2010-11-09 2012-05-31 Kitagawa Ind Co Ltd ノイズ抑制装置
WO2017170817A1 (ja) * 2016-03-31 2017-10-05 株式会社 豊田自動織機 車載用電動圧縮機
JP2018019512A (ja) * 2016-07-28 2018-02-01 北川工業株式会社 出力ノイズ低減装置

Cited By (2)

* Cited by examiner, † Cited by third party
Publication number Priority date Publication date Assignee Title
CN112562989A (zh) * 2019-09-10 2021-03-26 法雷奥电机控制系统公司 形成用于电路的至少一个电感器的部件
CN112562989B (zh) * 2019-09-10 2025-06-03 法雷奥电机控制系统公司 形成用于电路的至少一个电感器的部件

Also Published As

Publication number Publication date
US20200411231A1 (en) 2020-12-31
DE112019000768T5 (de) 2020-10-22
CN111656468A (zh) 2020-09-11
JP6947071B2 (ja) 2021-10-13
JP2019140264A (ja) 2019-08-22
US11908610B2 (en) 2024-02-20
CN111656468B (zh) 2023-10-31

Similar Documents

Publication Publication Date Title
CN108605420B (zh) 电连接箱
JP5995113B2 (ja) 電気接続箱
US10777346B2 (en) Circuit assembly
US20200194159A1 (en) Coil device, coil device with circuit board, and electrical junction box
JP6501116B2 (ja) 電気接続箱
US20220009428A1 (en) Electrical junction box
US20210136948A1 (en) Power conversion apparatus
US20180278034A1 (en) Circuit assembly and electrical junction box
WO2019159648A1 (ja) インダクタ、基板付きインダクタ及び電気接続箱
WO2018123584A1 (ja) 回路構成体及び電気接続箱
CN109727758B (zh) 电抗器
US9899818B2 (en) Circuit assembly and electrical junction box
WO2016002749A1 (ja) 電気接続箱
JP2013123342A (ja) 電気接続箱
CN113228440A (zh) 电连接箱
US11081869B2 (en) Electrical junction box
JP7004212B2 (ja) 回路構成体及び電気接続箱
WO2018216466A1 (ja) コイル装置、基板付きコイル装置及び電気接続箱
WO2020066563A1 (ja) コイル装置及び電気接続箱
JP2020120002A (ja) 回路構成体及び電気接続箱

Legal Events

Date Code Title Description
121 Ep: the epo has been informed by wipo that ep was designated in this application

Ref document number: 19755164

Country of ref document: EP

Kind code of ref document: A1

122 Ep: pct application non-entry in european phase

Ref document number: 19755164

Country of ref document: EP

Kind code of ref document: A1