WO2019131183A1 - 吸収性物品 - Google Patents

吸収性物品 Download PDF

Info

Publication number
WO2019131183A1
WO2019131183A1 PCT/JP2018/045930 JP2018045930W WO2019131183A1 WO 2019131183 A1 WO2019131183 A1 WO 2019131183A1 JP 2018045930 W JP2018045930 W JP 2018045930W WO 2019131183 A1 WO2019131183 A1 WO 2019131183A1
Authority
WO
WIPO (PCT)
Prior art keywords
tape member
adhesive
absorbent article
disposed
fixed
Prior art date
Legal status (The legal status is an assumption and is not a legal conclusion. Google has not performed a legal analysis and makes no representation as to the accuracy of the status listed.)
Ceased
Application number
PCT/JP2018/045930
Other languages
English (en)
French (fr)
Japanese (ja)
Inventor
青 石川
黒田 賢一郎
野田 祐樹
Current Assignee (The listed assignees may be inaccurate. Google has not performed a legal analysis and makes no representation or warranty as to the accuracy of the list.)
Unicharm Corp
Original Assignee
Unicharm Corp
Priority date (The priority date is an assumption and is not a legal conclusion. Google has not performed a legal analysis and makes no representation as to the accuracy of the date listed.)
Filing date
Publication date
Application filed by Unicharm Corp filed Critical Unicharm Corp
Priority to TW107146713A priority Critical patent/TW201936149A/zh
Publication of WO2019131183A1 publication Critical patent/WO2019131183A1/ja
Anticipated expiration legal-status Critical
Ceased legal-status Critical Current

Links

Images

Classifications

    • AHUMAN NECESSITIES
    • A61MEDICAL OR VETERINARY SCIENCE; HYGIENE
    • A61FFILTERS IMPLANTABLE INTO BLOOD VESSELS; PROSTHESES; DEVICES PROVIDING PATENCY TO, OR PREVENTING COLLAPSING OF, TUBULAR STRUCTURES OF THE BODY, e.g. STENTS; ORTHOPAEDIC, NURSING OR CONTRACEPTIVE DEVICES; FOMENTATION; TREATMENT OR PROTECTION OF EYES OR EARS; BANDAGES, DRESSINGS OR ABSORBENT PADS; FIRST-AID KITS
    • A61F13/00Bandages or dressings; Absorbent pads
    • A61F13/15Absorbent pads, e.g. sanitary towels, swabs or tampons for external or internal application to the body; Supporting or fastening means therefor; Tampon applicators
    • A61F13/551Packaging before or after use
    • AHUMAN NECESSITIES
    • A61MEDICAL OR VETERINARY SCIENCE; HYGIENE
    • A61FFILTERS IMPLANTABLE INTO BLOOD VESSELS; PROSTHESES; DEVICES PROVIDING PATENCY TO, OR PREVENTING COLLAPSING OF, TUBULAR STRUCTURES OF THE BODY, e.g. STENTS; ORTHOPAEDIC, NURSING OR CONTRACEPTIVE DEVICES; FOMENTATION; TREATMENT OR PROTECTION OF EYES OR EARS; BANDAGES, DRESSINGS OR ABSORBENT PADS; FIRST-AID KITS
    • A61F13/00Bandages or dressings; Absorbent pads
    • A61F13/15Absorbent pads, e.g. sanitary towels, swabs or tampons for external or internal application to the body; Supporting or fastening means therefor; Tampon applicators
    • A61F13/56Supporting or fastening means
    • AHUMAN NECESSITIES
    • A61MEDICAL OR VETERINARY SCIENCE; HYGIENE
    • A61FFILTERS IMPLANTABLE INTO BLOOD VESSELS; PROSTHESES; DEVICES PROVIDING PATENCY TO, OR PREVENTING COLLAPSING OF, TUBULAR STRUCTURES OF THE BODY, e.g. STENTS; ORTHOPAEDIC, NURSING OR CONTRACEPTIVE DEVICES; FOMENTATION; TREATMENT OR PROTECTION OF EYES OR EARS; BANDAGES, DRESSINGS OR ABSORBENT PADS; FIRST-AID KITS
    • A61F13/00Bandages or dressings; Absorbent pads
    • A61F13/15Absorbent pads, e.g. sanitary towels, swabs or tampons for external or internal application to the body; Supporting or fastening means therefor; Tampon applicators
    • A61F13/56Supporting or fastening means
    • A61F13/58Adhesive tab fastener elements

Definitions

  • the present invention relates to an absorbent article used in a state of being attached to a wearing article such as underwear.
  • Patent Document 1 discloses an absorbent article such as a sanitary napkin provided with a tape portion for post-treatment.
  • the absorbent article of Patent Document 1 has an adhesive part for stopping the absorbent article on a wearing article, a back sheet provided with the adhesive part, and a post-treatment tape member provided on the back sheet. (Refer FIG. 22 of patent document 1).
  • the tape member described in Patent Document 1 has a base and an extension portion connected to the base. The base is fixed to the back sheet (see FIG. 3 of Patent Document 1).
  • the absorbent article of Patent Document 1 is attached to the inside of a wearing article worn by a user when worn.
  • the tape member is fixed to the back sheet and is disposed to face the worn article when worn.
  • the base of the tape member is fixed relative to the back sheet, but the extension of the tape member is not fixed to the back sheet. Therefore, the tape member may be broken or peeled unintentionally when the absorbent article is worn.
  • the tape member when a part of the absorbent article is flipped and the tape member is disposed to face the skin side, the tape member may be rubbed by the skin, and the tape member may be broken or peeled unintentionally. there were. As a result, it may not be possible to smoothly round and discard using the tape member at the time of disposal.
  • an absorbent article which protects the tape member for post-treatment prior to disposal of the absorbent article and can be disposed of cleanly by the tape member at the time of disposal.
  • the absorbent article according to one aspect is disposed in the front-rear direction, the width direction orthogonal to the front-rear direction, the main body having the top sheet, the back sheet, and the absorbent core, and the back sheet, and the absorbent article is absorbent.
  • FIG. 1 is a plan view of the absorbent article according to the embodiment viewed from the skin facing surface side.
  • FIG. 2 is a top view of the absorbent article which concerns on embodiment seen from the non-skin opposing surface side.
  • FIG. 3 is a cross-sectional view of the absorbent article along the line AA shown in FIG.
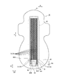
  • FIG. 4 is a perspective view of the absorbent article in a state of being wound in the front-rear direction.
  • FIG. 5 is the top view seen from the non-skin opposing surface side of the absorbent article which concerns on the modification 1.
  • FIG. FIG. 6 is a plan view of a tape member of an absorbent article according to Modifications 2 and 3.
  • the absorbent article according to one aspect is disposed in the front-rear direction, the width direction orthogonal to the front-rear direction, the main body having the top sheet, the back sheet, and the absorbent core, and the back sheet, and the absorbent article is absorbent.
  • the non-fixed portion is sandwiched between the pair of first adhesive portions.
  • the region between the first adhesive parts is maintained in a state of being sandwiched between the wearing article and the back sheet, and is not exposed. Therefore, at the time of wear of the absorbent article, it is possible to suppress a defect that the tape member is broken or peeled unintentionally.
  • a pair of 1st adhesion parts are being fixed to a wearing article at the time of wear. Therefore, even when the absorbent article is partially curled up, the pair of first adhesive portions and the region between them are maintained toward the worn article and are not arranged toward the skin of the wearer . Since the non-fixed portion of the tape member is disposed in the region between the pair of first adhesive portions, the non-fixed portion is not easily rubbed by the skin, and it is possible to suppress a defect that the tape member is broken or peeled off unintentionally.
  • the first adhesive portion extends in the first direction, and has an overlapping region in which the first adhesive portion and the non-fixing portion overlap in the second direction;
  • the length in the first direction is 50% or more of the entire area in the first direction of the non-fixed portion.
  • the length in the first direction of the overlapping area is the length in the first direction of the non-fixed portion.
  • Overturning and peeling of the non-fixed portion can be suppressed over the entire non-fixed portion, and defects such as breakage or peeling of the tape member unintentionally when the absorbent article is worn can be effectively suppressed.
  • the first adhesive portion extends in the first direction, and the first adhesive portion straddles the other end of the tape member in the first direction.
  • the fixed portion is provided on one end side of the non-fixed portion, the end edge on the one end side of the non-fixed portion is not easily flipped.
  • the edge on the other end side of the non-fixed portion is relatively easy to flip.
  • the other end of the tape member is an edge on the other end side of the non-fixed portion. Since the first adhesive portion straddles the other end of the tape member in the first direction, it is possible to suppress the flipping of the end edge on the other end side of the non-fixed portion.
  • the first adhesive portion extends in the first direction, and the first adhesive portion straddles the one end of the tape member in the first direction.
  • the first adhesive portion extends across the one end of the tape member, the end edge on one end side of the fixing portion can be protected, and the problem of unintentional removal of the fixing portion can be suppressed.
  • the adhesive part has a second adhesive part disposed between the first adhesive parts, and the second adhesive part is disposed on the other end side of the tape member. .
  • the second adhesive portion can fix the other end side of the tape member to the worn article, and can protect the edge on the other end side of the non-fixed portion.
  • the adhesive part has a third adhesive part disposed between the first adhesive parts, and the third adhesive part is disposed on the one end side of the tape member.
  • the third adhesive portion can fix one end side of the tape member to the worn article, and can protect the end edge of one end side of the fixing portion. Therefore, it is possible to suppress the problem that the fixing portion is peeled off unintentionally.
  • the absorbent article may be an absorbent article such as a sanitary napkin, panty liner, breast milk pad, adult incontinence pad, fecal pad or sweat sheet.
  • the absorbent article may be an article attached to and used on the inside of a wearing article such as underwear.
  • FIG. 1 is a plan view of the absorbent article 10 according to the first embodiment as viewed from the skin facing surface side.
  • FIG. 2 is a top view of the absorbent article 10 which concerns on 1st Embodiment seen from the non-skin opposing surface side.
  • the "skin facing surface side” corresponds to the side facing the wearer's skin during use.
  • the “non-skin facing side” corresponds to the side that is turned away from the wearer's skin during use.
  • FIG. 3 is a cross-sectional view taken along the line AA shown in FIG. 1, and
  • FIG. 4 is a perspective view of the absorbent article in a state of being wound in the front-rear direction.
  • the absorbent article 10 has a longitudinal direction L and a width direction W.
  • the front-rear direction L is a direction extending from the front side (ventral side) to the rear side (back side) of the wearer, or a direction extending from the rear side to the front side of the wearer.
  • the width direction W is a direction orthogonal to the front-rear direction L.
  • the absorbent article 10 has a main body 20 and a tape member 60 for post-processing.
  • the main body portion 20 includes a top sheet 21 directed to the skin of the wearer, a back sheet 22 directed to the side opposite to the skin of the wearer, and an absorbent core 23 disposed between the top sheet 21 and the back sheet 22. ,including.
  • the top sheet 21 faces the wearer's skin during use.
  • the backsheet 22 is directed away from the wearer's skin during use.
  • the absorbent core 23 includes an absorbent material that absorbs body fluid, and extends along the front-rear direction L of the absorbent article.
  • the main body 20 may have a wing 40 and a hip flap 50.
  • the wings 40 are folded back to the non-skin facing side of the crotch portion of the worn article during use.
  • the hip flap 50 is a portion that bulges in the width direction W behind the wing 40.
  • the hip flap 50 is a portion that bulges outward beyond the outer edge of the absorbent core 23 in the width direction W.
  • the main body portion 20 has a discharge port facing area S1 that faces the discharge port (for example, the vaginal opening) of the wearer during use.
  • the main body portion 20 has a discharge port facing area S1 that faces the discharge port (for example, the vaginal opening) of the wearer during use.
  • the discharge port facing area S1 corresponds to a crotch of the wearer, that is, an area disposed between the legs of the wearer and in which the absorbent core 23 is present.
  • the absorbent article 10 may have a fold extending along the width direction W.
  • the folds of the absorbent article 10 have a first fold F1, a second fold F2, and a third fold F3.
  • the first fold F1 is the fold closest to the front end edge E1 of the absorbent article 10.
  • the second fold line F2 is the fold line closest to the rear end edge E2 of the absorbent article 10.
  • the third fold line F3 is disposed between the first fold line F1 and the second fold line F2.
  • four or more creases may be provided.
  • a fold is a line for folding the absorbent article 10 with the skin-facing surface side of the absorbent article turned inside when the absorbent article is packaged.
  • the main body portion 20 may have an adhesive portion 70 provided on the non-skin facing surface side of the back sheet 22.
  • the adhesive section 70 is an area provided with an adhesive for fastening the absorbent article 10 to the wearing article.
  • Absorbent article 10 can be fixed to wearing articles, such as underwear, by adhesion part 70 provided in the non-skin opposing side of back sheet 22.
  • the adhesive member 70 can fix the tape member 60 in a wound state of the absorbent article 10 and maintain the wound state. Therefore, the adhesion part 70 can be used for two, the use fixed to clothing, and the use which fastens the tape member for post-processing.
  • the adhesive portion 70 is provided in a region overlapping the absorbent core 23 in the thickness direction of the absorbent article 10.
  • the adhesive portion 70 preferably extends continuously or intermittently to the rear of the absorbent article 10 at least from the discharge port facing area S1.
  • a plurality of adhesive portions 70 extend in the front-rear direction and are provided at intervals in the width direction.
  • a plurality of adhesive portions 70 may extend in the width direction W and may be spaced apart in the front-rear direction.
  • the main body 20 may have a wing adhesive portion 42 provided on the wing 40 and a flap adhesive portion 52 provided on the hip flap 50.
  • the absorbent article 10 may have a release sheet 75 covering the adhesive portion 70.
  • the peeling sheet 75 protects the adhesion part 70 so that the adhesion part 70 may not deteriorate before use of the absorbent article 10.
  • the area of the release sheet 75 is larger than the area of the adhesive portion 70 in order to cover the entire adhesive portion 70.
  • the adhesive portion 70 may be protected by a packaging sheet for packaging the absorbent article so that the adhesive portion 70 does not deteriorate before use of the absorbent article 10.
  • the area of the packaging sheet is larger than the area of the adhesive portion 70 in order to cover the entire adhesive portion 70.
  • the tape member 60 is fixed to the main body 20.
  • the tape member 60 may have a fixing portion 62 fixed to the main body portion 20 as shown in FIGS. 3 and 4.
  • the fixing portion 62 may be provided on one end side of the tape member 60.
  • the fixing portion 62 may be fixed to the main body portion 20 by an adhesion means such as an adhesive.
  • the fixing portion 62 may be fixed to the back sheet 22 that constitutes the non-skin facing surface of the main body portion 20.
  • the fixing portion 62 is provided at a rear end edge which is one end 60A in the first direction.
  • the fixing portion may not be coincident with the one end 60A, and may be separated from the one end 60A.
  • the fixing portion 62 may be disposed closer to the one end 60A than the center of the tape member 60 in the first direction.
  • the first direction D1 is a direction extending from the one end 60A side where the fixed portion 62 is provided to the other end 60B side where the non-fixed portion 64 is provided.
  • the second direction D2 is a direction orthogonal to the first direction D1.
  • the first direction D1 may be a direction in which the tape member 60 is pulled out at the time of operation.
  • the first direction D1 may be a direction in which the fixed portion 62 and the non-fixed portion 64 are adjacent to each other.
  • the length of the tape member 60 in the first direction D1 may be longer than the length of the tape member 60 in the second direction D2.
  • the first direction D1 of the present embodiment is the front-rear direction L
  • the second direction D2 is the width direction W.
  • the first direction D1 may be the width direction W
  • the second direction D2 may be the front-rear direction L.
  • the tape member 60 may have a non-fixed portion 64 disposed releasably on the back sheet 22.
  • the non-fixed portion 64 is provided on the other end 60 B side of the tape member 60.
  • the non-fixed portion 64 is provided at the front end edge which is the other end 60B in the first direction D1. Note that at least a portion of the non-fixed portion may be disposed closer to the other end 60B than the center of the tape member 60 in the first direction.
  • the non-fixed portion having a long length in the first direction constitutes the non-fixed portion of the present invention. That is, the non-fixed portion 64 may be provided on both sides in the first direction of the fixed portion 62. In this case, the non-fixed portion 64 having a long length in the first direction is the other end, and the non-fixed portion having a short length in the first direction is one end.
  • the non-fixed portion 64 is a portion that is not fixed to the back sheet 22 and the user operates the tape member 60. More specifically, when using the tape member 60, the user holds the non-fixed portion 64 and folds the non-fixed portion around the fixed portion 62 or extends the non-fixed portion 64 in the first direction. As a result, the non-fixed portion 64 is fixed to the main body portion 20. At least a portion of the non-fixed portion 64 constitutes a gripping portion that can be gripped by the user. The grip portion may be the entire non-fixed portion 64 or may be provided on one end side of the non-fixed portion 64 opposite to the fixed portion 62.
  • the tape member 60 has one end 60A located on the fixed portion 62 side, the other end 60B on the non-fixed portion 64 side, and a pair of side edges 60C extending from the one end 60A to the other end 60B.
  • the tape member 60 is fixed to the main body portion 20 in a state of being wound with the skin facing surface side of the absorbent article facing inward when the absorbent article 10 is discarded, and the absorbent article 10 is maintained in a wound state. It may be configured as follows.
  • the non-fixed portion 64 of the tape member 60 is configured to be attachable to the main body portion 20.
  • the configuration in which the non-fixed portion 64 is fixed to the main body portion 20 may be the adhesive portion 70 or may be a fixing means such as an adhesive provided on the tape member 60 or a hook member.
  • the fixing portion 62 of the tape member 60 may be configured to be attachable to the main body portion 20.
  • the configuration in which the fixing portion 62 is fixed to the main body portion 20 may be an adhesive portion of the main body portion 20 or may be a fixing means such as an adhesive provided on the tape member 60 or a hook member.
  • the non-fixed portion 64 of the tape member 60 of the present embodiment is fixed to the main body portion 20 at the time of disposal via the adhesive portion 70.
  • the non-fixed portion 64 may not be provided with a fixing means such as an adhesive.
  • the tape member 60 may be fixed to at least one of the wing adhesive portion 42 and the flap adhesive portion 52.
  • the tape member 60 is configured to be able to extend outside the outer edge 20E of the main body 20.
  • at least a part of the non-fixed portion 64 extends outward beyond the outer edge 20E of the main body portion 20 by the non-fixed portion 64 being folded back around the fixed portion 62.
  • the tape member 60 may be disposed inside the outer edge 20E of the main body 20 in the unfolded state.
  • the tape member 60 may be hidden by the main body 20 when viewed from the skin facing surface side.
  • the tape member 60 may extend outside the outer edge 20 ⁇ / b> E of the main body 20 in the folded state.
  • the tape member 60 After the user winds the main body 20 in the front-rear direction L after use of the absorbent article 10, the tape member 60 is extended outside the outer edge 20E of the main body 20, and the tape member 60 is fixed to the main body 20. It can be worn (see FIG. 4).
  • the tape member may be configured to be extensible in the extension direction. In this case, when the user pulls the tape member, the tape member extends outward beyond the outer edge 20E of the main body 20.
  • extension includes extension by “elastic deformation” or "plastic deformation”.
  • the tape member 60 may be composed of a stretchable sheet or a film.
  • the tape member may be comprised of a sheet folded in a Z-shape. In this case, when the user pulls on the tip of the tape member, the folded tape member is expanded, whereby the tape member extends outward beyond the outer edge 20E of the main body 20.
  • the tape member 60 is disposed inside the outer edge 20E of the main body portion 20 on the non-skin facing surface side of the back sheet 22. No body fluids like blood.
  • the user can maintain the absorbent article 10 in a rolled state by fastening the tape member 60 extended outward to the adhesive portion 70 or the like after use of the absorbent article 10.
  • no body fluid such as menstrual blood adheres to the tape member 60, it is possible to prevent a reduction in the bonding strength between the tape member 60 and the adhesive unit 70 or a reduction in the bonding strength of the fastening means of the tape member. .
  • the tape member 60 is provided on the non-skin facing surface side of the back sheet 22 and does not extend outside the outer edge 20E of the main body 20, so the tape member 60 is worn Does not hit the person's skin directly. Therefore, discomfort and discomfort during use can be reduced.
  • the tape member 60 is preferably provided on the rear side of the center of the main body portion 20 in the front-rear direction L.
  • the user usually starts to roll in the front-rear direction L from the front end edge E1 or the rear end edge E2 of the absorbent article 10 when the absorbent article 10 is rolled up.
  • the tape member 60 be provided in a region located on the rear side with respect to the center in the front-rear direction L. At least a portion of the tape member 60 may be disposed across the rear end edge of the absorbent core 23 or on the rear side of the rear end edge of the absorbent core.
  • the tape portion 80 may be provided on the rear side of the rearmost second fold line F2 among the first fold line F1 to the third fold line F3. As described above, about 80% of users start winding the used absorbent article 10 from the front side. By providing the tape portion 80 behind the second fold line F 2, many users can start rounding from the front end edge E 1 of the absorbent article 10 and fasten the wound end portion with the tape portion 80.
  • the top sheet may be constituted by an air through non-woven fabric (PE / PET) having a basis weight of 30 g / m 2 .
  • a second sheet may be provided between the top sheet and the absorbent core.
  • the second sheet may be made of the same material as the top sheet.
  • a surface sheet may not be arrange
  • the side sheet may be constituted by an SMS nonwoven fabric (PP) having a basis weight of 13 g / m 2 .
  • the absorbent material of the absorbent core may be composed of softwood kraft pulp and a superabsorbent polymer.
  • the ratio of the weight of superabsorbent polymer to the weight of the whole absorbent material may be 10%.
  • the basis weight of the absorbent core in the area including the excretion port facing area S1 may be higher than the basis weight of the surrounding absorbent core.
  • the basis weight of the absorbent core in the area including the excretion port facing area S1 may be 950 g / m 2
  • the basis weight of the surrounding absorbent core may be 300 g / m 2 .
  • the back sheet may be constituted by a polyethylene film (non-air-permeable type) with a basis weight of 23.5 g / m 2 .
  • the absorbent article may have a pressing portion in which the top sheet and the absorbent core are pressed in the thickness direction.
  • the main body adhesive portion may be made of a rubber-based hot melt adhesive.
  • the basis weight of the adhesive part of the main body may be 27 g / m 2 .
  • the length in the width direction of each main-body adhesive portion may be 5 mm, and the length in the front-rear direction of each main-body adhesive portion may be 320 mm.
  • the length of the absorbent article in the front-rear direction may be 420 mm, and the length of the absorbent article in the width direction may be 200 mm.
  • the tape member for post-treatment may be composed of a polyethylene film having a basis weight of 35 g / m 2 .
  • the longitudinal length of the tape member may be 45 mm, and the lateral length of the tape member may be 25 mm.
  • the tape member may be fixed to the main body by a 100 g / m 2 rubber-based hot melt adhesive.
  • the adhesive may be applied in the range of 21 mm wide and 5 mm long.
  • Printing may be applied to the surface on the back sheet side of the tape member. The printing may use a pink urethane ink.
  • the adhesive unit 70 may have a first adhesive unit 71.
  • the first adhesive portion 71 is disposed across the non-fixed portion 64 in the width direction W which is the second direction D2.
  • the first adhesive portion 71 is disposed outside the non-fixed portion 64 in the first direction.
  • the first adhesive portion 71 may extend in the front-rear direction L, which is the first direction D1.
  • the first adhesive portion 71 may extend in the width direction W which is the second direction.
  • the configuration extending in the first direction may be a configuration having a certain range in the first direction, and the length in the first direction is not limited to the configuration longer than the length in the second direction, and the length in the second direction Is a concept including a configuration longer than the length in the first direction.
  • the first adhesive portion 71 of the present embodiment extends in the first direction, and is provided in at least two rows.
  • the rear end edge that is the outer edge of the first adhesive portion 71 in the first direction D1 is located outside (rear side) in the front-rear direction than the front edge that is the inner edge of the non-fixed portion 64 in the first direction D1. You may In the width direction W which is the second direction, the tape member 60 and the non-fixed portion 64 may overlap.
  • a plurality of adhesive portions may be disposed at intervals, may be disposed at intervals in the first direction, may be disposed at intervals in the second direction, or may be disposed in the first direction. And may be spaced apart in the second direction.
  • an overlapping area RA in which the first adhesive portion 71 and the non-fixing portion 64 overlap in the width direction W which is the second direction may be provided.
  • the overlapping area RA may be an area where the first adhesive portion 71 and the non-fixed portion 64 overlap in a side view from the width direction W.
  • the length of the overlapping region RA in the front-rear direction L corresponds to the front end edge of the non-fixed portion 64 and the first adhesive portion 71 is the distance to the rear end edge.
  • the length of the overlapping region RA in the front-rear direction L is the rear end edge of the non-fixed portion 64. And the front end edge of the first adhesive portion 71.
  • the non-fixed portion 64 is configured to be peelable with respect to the back surface sheet 22, so it is likely to be lifted from the back surface sheet 22, and there is a possibility that it may be accidentally peeled or peeled off.
  • the non-fixed portion 64 is sandwiched by the pair of first adhesive portions 71.
  • the pair of first adhesive parts 71 is fixed to the wearing article (underwear)
  • the region between the first adhesive parts 71 is maintained in a state of being sandwiched between the wearing article and the back sheet 22 and is not exposed. Therefore, when the absorbent article 10 is worn, it is possible to suppress a defect that the tape member 60 is unintentionally broken or peeled off.
  • the pair of first adhesive portions 71 is fixed to the wearing article when worn, even when the absorbent article 10 is partially curled up, the pair of first adhesive portions and the region between them wear The condition toward the article side is maintained, and it is not arranged to face the wearer's skin side. Since the non-fixed portion 64 of the tape member 60 is disposed in the region between the pair of first adhesive portions 71, the non-fixed portion 64 is not easily rubbed by the skin, and the tape member 60 is broken or peeled unintentionally Can be suppressed.
  • the length of the overlapping area RA in the first direction D1 may be 50% or more of the entire area of the non-fixed portion 64 in the first direction. According to such a configuration, it is possible to suppress the turning off and peeling off of the non-fixed portion in the half or more region of the non-fixed portion 64, and it is effective to a defect that the tape member is broken or peeled unintentionally when wearing the absorbent article. Can be suppressed.
  • the length of the overlapping region RA in the first direction D1 may be the length of the non-fixed portion 64 in the first direction D1. According to such a configuration, it is possible to suppress the turning off and peeling off of the non-fixed portion 64 over the entire non-fixed portion 64, and the problem that the tape member is broken or peeled unintentionally when wearing the absorbent article is effective. Can be suppressed.
  • the first adhesive unit 71 may straddle the other end 60B of the tape member 60 in the first direction D1.
  • the first adhesive portion 71 may extend to the outside of the first direction D1 more than the other end 60B of the tape member 60. Since the fixed portion 62 is provided on the one end 60A side of the non-fixed portion 64, the end edge (front end edge) of the one end side of the non-fixed portion is not easily flipped. On the other hand, the end edge (rear end edge) on the other end 60B side of the non-fixed portion 64 is relatively easy to flip.
  • the other end 60 ⁇ / b> B of the tape member 60 is an end edge (front end edge) of the other end of the non-fixed portion 64. Since the first adhesive portion 71 extends across the other end 60B of the tape member 60, it is possible to suppress the turning of the end edge on the other end side of the non-fixed portion 64.
  • the adhesive unit 70 may have a second adhesive unit 72.
  • the second adhesive unit may extend in the first direction between the first adhesive units.
  • the second adhesive unit may be disposed on the other end side of the tape member 60.
  • the second adhesive portion 72 may overlap the tape member 60 in the front-rear direction L which is the first direction.
  • the second adhesive portion 72 in the present embodiment extends to the front side of the tape member 60.
  • the 2nd adhesion part 72 should just be one or more lines.
  • the second adhesive portion 72 can fix the other end 60B side of the tape member to the worn article, and can protect the end edge of the non-fixed portion 64 on the other end 60B side. Therefore, it is possible to suppress the turning-off of the edge on the other end side of the non-fixed portion 64.
  • the tape member 60 may be protected also in a state before wearing.
  • at least a part of the release sheet 75 may be disposed in a region overlapping the tape member 60 in the thickness direction T.
  • the release sheet 75 may overlap the non-fixed portion in the thickness direction.
  • the release sheet 75 may cover the front end edge which is the other end 60 B of the tape member 60.
  • the length of the release sheet 75 in the width direction W may be longer than the length of the width direction W of the tape member 60.
  • the tape member 60 is protected by the release sheet over the entire width, and can prevent the tape member 60 from being unintentionally bent or bent before the absorbent article is used.
  • at least a part of the packaging sheet may be disposed in the area overlapping the tape member 60 in the thickness direction T.
  • FIG. 5 is the top view seen from the non-skin opposing surface side of the absorbent article 10A which concerns on the modification 1.
  • one end 60A of the tape member is a front end edge of the tape member, and the other end 60B of the tape member is a rear end edge of the tape member.
  • the first adhesive unit 71 may straddle one end 60A of the tape member 60 in the first direction.
  • the first adhesive portion 71 may extend to the outside of the tape member 60 in the first direction D1 more than one end 60A of the tape member 60.
  • One end 60A of the tape member 60 is an end edge (rear end edge) of one end side of the fixing portion. Since the first adhesive portion 71 extends across the end 60A of the tape member 60, the end edge on one end side of the fixing portion 62 can be protected, and the problem of unintentional removal of the fixing portion 62 can be suppressed.
  • the adhesive unit 70 may have a third adhesive unit 73.
  • the third adhesive unit 73 may extend in the first direction between the first adhesive units 71.
  • the third adhesive unit may be disposed on one end side of the tape member.
  • the third adhesive portion 73 may overlap the tape member 60 in the front-rear direction L which is the first direction.
  • the third adhesive portion 73 of the present embodiment extends to the front side of the tape member 60.
  • the third adhesive unit 73 may be in one or more rows.
  • the third adhesive portion 73 can fix the one end 60A side of the tape member to the wearing article, and can protect the end edge of the fixing portion 62 on the one end 60A side. Therefore, it is possible to suppress the problem that the fixing portion 62 is peeled off unintentionally.
  • the non-fixed portion 64 of the tape member 60 may be provided with a temporary fixing portion 66 (see FIG. 6).
  • the temporary fixing portion 66 may be releasably joined to the back sheet 22 which is the non-skin opposing surface of the main body portion 20.
  • the bonding force of the temporary fixing portion 66 may be lower than the bonding force of the fixing portion 62. Since the joining force of the temporary fixing part 66 is lower than the joining force of the fixing part 62, the user can easily peel off the temporary fixing part 66 when using the tape member 60 and grip the non-fixed part 64 to operate the tape member 60. can do.
  • a fixing means of the temporary fixing part 66 an adhesive, embossing, heat welding, ultrasonic welding can be exemplified, and the application amount (area, basis weight) of the adhesive is smaller than that of the fixing part 62. Can also weaken the squeezing of the embossing.
  • the temporary fixing portion 66 may be configured by embossing the outer edge of the main body portion.
  • the bonding strength can be measured with a tensile tester (Model 5543, manufactured by Instron Japan Company Limited).
  • the bonding force is measured as follows. First, the test piece of the tape member and the test piece of the back sheet are fixed to the upper fixing portion and the lower fixing portion of the tensile tester.
  • the test piece fixed to the upper fixed part and the lower fixed part shall be 10 mm in width.
  • a fixing surface corresponding to the fixing portion 62 is formed between the test piece fixed to the upper fixing portion and the test piece fixed to the lower fixing portion.
  • the relative displacement speed between the upper fixed part and the lower fixed part of the tensile testing machine is set to 100 mm / min, and the maximum load point while peeling the joint is taken as the bonding strength (adhesive strength).
  • FIG. 6 is a tape member of the absorbent article according to the second modification and the third modification, and shows an example of the temporary fixing portion 66.
  • FIG. 6A is a plan view of a tape member 60D according to the second modification
  • FIG. 6B is a tape member 60E according to the third modification.
  • the tape member 60D and the tape member 60E are provided with an application region to which an adhesive is applied.
  • the application region may have a first application region R1 provided in the fixed portion 62 and a second application region R2 provided in the temporary fixing portion 66 of the non-fixed portion 64.
  • the area ratio of the second application region R2 (the ratio of the area of the application region per unit area) may be lower than the area ratio of the first application region R1.
  • the basis weight of the adhesive in the second application region R2 may be lower than the basis weight of the adhesive in the first application region R1.
  • the basis weight of the second application region R2 may be low, and the area ratio of the first application region may be low.
  • the length in the width direction of R1 of the first application area may be longer than the length in the width direction of the second application area R2.
  • the length in the width direction of the second application region R2 decreases as the distance from the first application region R1 increases. That is, the application amount of the adhesive in the application region is reduced from the one end 60A side of the tape member 60D toward the other end 60B of the tape member 60.
  • the second application area R2 may include an area in which the adhesive is applied to the spots, and an area in which the adhesive is applied in a dotted manner as shown in FIG. 6 (b).
  • the bonding force of the fixing portion 62 can be smaller than the bonding force of the temporary fixing portion 66.
  • a state in which a nozzle or the like for jetting the adhesive is applied to the tape member may be maintained, and the adhesive ejected from the nozzle may be adjusted.
  • the adhesive is jetted toward the area where the fixing portion 62 is provided, and the jetting of the adhesive is stopped in the area of the end of the fixing portion 62.
  • the adhesive is viscous, and the injection amount does not immediately become zero when the injection is stopped, and the injection amount gradually decreases.
  • the temporary fixing portion 66 can be configured by the adhesive whose injection amount gradually decreases.
  • the bonding force gradually decreases with distance from the fixing portion 62.
  • the edge on the other end 60B side of the temporary fixing portion 66 (the edge on the non-fixed portion 64 side) may reach the other end 60B of the tape member 60D.
  • the temporary fixing portion 66 may be provided together with the first adhesive portion 71 according to the present invention, or may be provided instead of the first adhesive portion 71 according to the present invention.
  • the tape member for post-treatment can be protected before disposal of the absorbent article, and the absorbent article can be provided which can be disposed of cleanly by the tape member at the time of disposal.
  • the present invention has been described above in detail using the above embodiments, it is obvious for those skilled in the art that the present invention is not limited to the embodiments described herein.
  • the present invention can be embodied as modifications and alterations without departing from the spirit and scope of the present invention defined by the description of the claims. Accordingly, the description in the present specification is for the purpose of illustration and does not have any limiting meaning on the present invention.
  • the first direction may be the width direction
  • the second direction may be the front-rear direction.

Landscapes

  • Health & Medical Sciences (AREA)
  • Epidemiology (AREA)
  • Engineering & Computer Science (AREA)
  • Biomedical Technology (AREA)
  • Heart & Thoracic Surgery (AREA)
  • Vascular Medicine (AREA)
  • Life Sciences & Earth Sciences (AREA)
  • Animal Behavior & Ethology (AREA)
  • General Health & Medical Sciences (AREA)
  • Public Health (AREA)
  • Veterinary Medicine (AREA)
  • Absorbent Articles And Supports Therefor (AREA)
PCT/JP2018/045930 2017-12-27 2018-12-13 吸収性物品 Ceased WO2019131183A1 (ja)

Priority Applications (1)

Application Number Priority Date Filing Date Title
TW107146713A TW201936149A (zh) 2017-12-27 2018-12-24 吸收性物品

Applications Claiming Priority (2)

Application Number Priority Date Filing Date Title
JP2017252410A JP7083638B2 (ja) 2017-12-27 2017-12-27 吸収性物品
JP2017-252410 2017-12-27

Publications (1)

Publication Number Publication Date
WO2019131183A1 true WO2019131183A1 (ja) 2019-07-04

Family

ID=67063531

Family Applications (1)

Application Number Title Priority Date Filing Date
PCT/JP2018/045930 Ceased WO2019131183A1 (ja) 2017-12-27 2018-12-13 吸収性物品

Country Status (3)

Country Link
JP (1) JP7083638B2 (enExample)
TW (1) TW201936149A (enExample)
WO (1) WO2019131183A1 (enExample)

Citations (2)

* Cited by examiner, † Cited by third party
Publication number Priority date Publication date Assignee Title
JPH04114317U (ja) * 1991-01-17 1992-10-08 賢 熊谷 簡単に衛生的に処理できる生理用ナプキン
WO2010117314A1 (en) * 2009-04-09 2010-10-14 Sca Hygiene Products Ab Absorbent article with integrated tab in order to facilitate disposal

Family Cites Families (1)

* Cited by examiner, † Cited by third party
Publication number Priority date Publication date Assignee Title
JP3313289B2 (ja) * 1996-11-22 2002-08-12 ユニ・チャーム株式会社 体液吸収性着用物品

Patent Citations (2)

* Cited by examiner, † Cited by third party
Publication number Priority date Publication date Assignee Title
JPH04114317U (ja) * 1991-01-17 1992-10-08 賢 熊谷 簡単に衛生的に処理できる生理用ナプキン
WO2010117314A1 (en) * 2009-04-09 2010-10-14 Sca Hygiene Products Ab Absorbent article with integrated tab in order to facilitate disposal

Also Published As

Publication number Publication date
JP2019115575A (ja) 2019-07-18
TW201936149A (zh) 2019-09-16
JP7083638B2 (ja) 2022-06-13

Similar Documents

Publication Publication Date Title
JP5665858B2 (ja) 折り畳み式失禁用品
CN101495076A (zh) 吸收性物品
JP7212458B2 (ja) パンツ型使い捨ておむつ
US20100106125A1 (en) Absorbent article and absorbent body
KR102686113B1 (ko) 흡수성 물품
JP7174532B2 (ja) 吸収性物品
WO2019131182A1 (ja) 吸収性物品
WO2019131183A1 (ja) 吸収性物品
JP6461716B2 (ja) 吸収性物品
JP3237902U (ja) 吸収性物品
JP6866285B2 (ja) 吸収性物品
JP7083640B2 (ja) 吸収性物品
JP3237449U (ja) 吸収性物品
CN111511328B (zh) 吸收性物品
CN111511330B (zh) 吸收性物品
JP6749611B2 (ja) 吸収性物品
JP6857116B2 (ja) 吸収性物品
JP5784256B1 (ja) 吸収性物品
JP6301425B1 (ja) 吸収性物品
WO2024106048A1 (ja) 個装吸収性物品、及び包装シート
JPWO2020130040A1 (ja) 吸収性物品
JP2019180951A (ja) 吸収性物品
WO2020130041A1 (ja) 吸収性物品
TW201831156A (zh) 吸收性物品
JP2019115584A (ja) 吸収性物品

Legal Events

Date Code Title Description
121 Ep: the epo has been informed by wipo that ep was designated in this application

Ref document number: 18893537

Country of ref document: EP

Kind code of ref document: A1

NENP Non-entry into the national phase

Ref country code: DE

122 Ep: pct application non-entry in european phase

Ref document number: 18893537

Country of ref document: EP

Kind code of ref document: A1