WO2019131008A1 - パンツ型吸収性物品 - Google Patents

パンツ型吸収性物品 Download PDF

Info

Publication number
WO2019131008A1
WO2019131008A1 PCT/JP2018/044490 JP2018044490W WO2019131008A1 WO 2019131008 A1 WO2019131008 A1 WO 2019131008A1 JP 2018044490 W JP2018044490 W JP 2018044490W WO 2019131008 A1 WO2019131008 A1 WO 2019131008A1
Authority
WO
WIPO (PCT)
Prior art keywords
basis weight
pants
absorbent article
region
area
Prior art date
Legal status (The legal status is an assumption and is not a legal conclusion. Google has not performed a legal analysis and makes no representation as to the accuracy of the status listed.)
Ceased
Application number
PCT/JP2018/044490
Other languages
English (en)
French (fr)
Japanese (ja)
Inventor
賢一 笹山
大西 和彰
圭 村上
唯 永山
大貴 近藤
Current Assignee (The listed assignees may be inaccurate. Google has not performed a legal analysis and makes no representation or warranty as to the accuracy of the list.)
Unicharm Corp
Original Assignee
Unicharm Corp
Priority date (The priority date is an assumption and is not a legal conclusion. Google has not performed a legal analysis and makes no representation as to the accuracy of the date listed.)
Filing date
Publication date
Application filed by Unicharm Corp filed Critical Unicharm Corp
Priority to CN201880077259.2A priority Critical patent/CN111447903B/zh
Publication of WO2019131008A1 publication Critical patent/WO2019131008A1/ja
Anticipated expiration legal-status Critical
Ceased legal-status Critical Current

Links

Images

Classifications

    • AHUMAN NECESSITIES
    • A61MEDICAL OR VETERINARY SCIENCE; HYGIENE
    • A61FFILTERS IMPLANTABLE INTO BLOOD VESSELS; PROSTHESES; DEVICES PROVIDING PATENCY TO, OR PREVENTING COLLAPSING OF, TUBULAR STRUCTURES OF THE BODY, e.g. STENTS; ORTHOPAEDIC, NURSING OR CONTRACEPTIVE DEVICES; FOMENTATION; TREATMENT OR PROTECTION OF EYES OR EARS; BANDAGES, DRESSINGS OR ABSORBENT PADS; FIRST-AID KITS
    • A61F13/00Bandages or dressings; Absorbent pads
    • A61F13/15Absorbent pads, e.g. sanitary towels, swabs or tampons for external or internal application to the body; Supporting or fastening means therefor; Tampon applicators
    • A61F13/45Absorbent pads, e.g. sanitary towels, swabs or tampons for external or internal application to the body; Supporting or fastening means therefor; Tampon applicators characterised by the shape
    • A61F13/49Absorbent pads, e.g. sanitary towels, swabs or tampons for external or internal application to the body; Supporting or fastening means therefor; Tampon applicators characterised by the shape specially adapted to be worn around the waist, e.g. diapers, nappies
    • AHUMAN NECESSITIES
    • A61MEDICAL OR VETERINARY SCIENCE; HYGIENE
    • A61FFILTERS IMPLANTABLE INTO BLOOD VESSELS; PROSTHESES; DEVICES PROVIDING PATENCY TO, OR PREVENTING COLLAPSING OF, TUBULAR STRUCTURES OF THE BODY, e.g. STENTS; ORTHOPAEDIC, NURSING OR CONTRACEPTIVE DEVICES; FOMENTATION; TREATMENT OR PROTECTION OF EYES OR EARS; BANDAGES, DRESSINGS OR ABSORBENT PADS; FIRST-AID KITS
    • A61F13/00Bandages or dressings; Absorbent pads
    • A61F13/15Absorbent pads, e.g. sanitary towels, swabs or tampons for external or internal application to the body; Supporting or fastening means therefor; Tampon applicators
    • A61F13/45Absorbent pads, e.g. sanitary towels, swabs or tampons for external or internal application to the body; Supporting or fastening means therefor; Tampon applicators characterised by the shape
    • A61F13/49Absorbent pads, e.g. sanitary towels, swabs or tampons for external or internal application to the body; Supporting or fastening means therefor; Tampon applicators characterised by the shape specially adapted to be worn around the waist, e.g. diapers, nappies
    • A61F13/496Absorbent pads, e.g. sanitary towels, swabs or tampons for external or internal application to the body; Supporting or fastening means therefor; Tampon applicators characterised by the shape specially adapted to be worn around the waist, e.g. diapers, nappies in the form of pants or briefs
    • AHUMAN NECESSITIES
    • A61MEDICAL OR VETERINARY SCIENCE; HYGIENE
    • A61FFILTERS IMPLANTABLE INTO BLOOD VESSELS; PROSTHESES; DEVICES PROVIDING PATENCY TO, OR PREVENTING COLLAPSING OF, TUBULAR STRUCTURES OF THE BODY, e.g. STENTS; ORTHOPAEDIC, NURSING OR CONTRACEPTIVE DEVICES; FOMENTATION; TREATMENT OR PROTECTION OF EYES OR EARS; BANDAGES, DRESSINGS OR ABSORBENT PADS; FIRST-AID KITS
    • A61F13/00Bandages or dressings; Absorbent pads
    • A61F13/15Absorbent pads, e.g. sanitary towels, swabs or tampons for external or internal application to the body; Supporting or fastening means therefor; Tampon applicators
    • A61F13/53Absorbent pads, e.g. sanitary towels, swabs or tampons for external or internal application to the body; Supporting or fastening means therefor; Tampon applicators characterised by the absorbing medium
    • AHUMAN NECESSITIES
    • A61MEDICAL OR VETERINARY SCIENCE; HYGIENE
    • A61FFILTERS IMPLANTABLE INTO BLOOD VESSELS; PROSTHESES; DEVICES PROVIDING PATENCY TO, OR PREVENTING COLLAPSING OF, TUBULAR STRUCTURES OF THE BODY, e.g. STENTS; ORTHOPAEDIC, NURSING OR CONTRACEPTIVE DEVICES; FOMENTATION; TREATMENT OR PROTECTION OF EYES OR EARS; BANDAGES, DRESSINGS OR ABSORBENT PADS; FIRST-AID KITS
    • A61F13/00Bandages or dressings; Absorbent pads
    • A61F13/15Absorbent pads, e.g. sanitary towels, swabs or tampons for external or internal application to the body; Supporting or fastening means therefor; Tampon applicators
    • A61F13/53Absorbent pads, e.g. sanitary towels, swabs or tampons for external or internal application to the body; Supporting or fastening means therefor; Tampon applicators characterised by the absorbing medium
    • A61F13/531Absorbent pads, e.g. sanitary towels, swabs or tampons for external or internal application to the body; Supporting or fastening means therefor; Tampon applicators characterised by the absorbing medium having a homogeneous composition through the thickness of the pad
    • A61F13/532Absorbent pads, e.g. sanitary towels, swabs or tampons for external or internal application to the body; Supporting or fastening means therefor; Tampon applicators characterised by the absorbing medium having a homogeneous composition through the thickness of the pad inhomogeneous in the plane of the pad

Definitions

  • the present invention relates to a pant-type absorbent article.
  • the pant-type absorbent article has an absorbent core that absorbs excrement fluid such as urine. Then, by providing slits or the like in a partial region of the absorbent core to lower the rigidity, the absorbent core is easily bent in the low rigidity portion when the pants-type absorbent article is worn, and the wearer's body is Techniques for facilitating three-dimensional deformation along the line are known.
  • the absorbent core is divided in the longitudinal direction into three regions of a ventral side, an intermediate portion, and a back side, and groove-like concave portions are provided in the respective regions.
  • An absorbent article is disclosed which is connected to one another.
  • the fit may be deteriorated because the recesses of the middle portion and the back side are connected to each other while the absorber is easily deformed.
  • the deformation of the middle recess which is the starting point of the bending of the absorbent core in the crotch of the wearer, induces the deformation of the back recess and of the absorbent core along the buttocks shape on the back of the wearer There is a risk that deformation will not occur easily.
  • the present invention has been made in view of the above problems, and an object thereof is to provide a pants-type absorbent article which can realize a good fit in the crotch and buttocks of the absorbent core. It is to do.
  • the main invention for achieving the above object has an absorbent core which has vertical directions, horizontal directions, and front-rear directions which cross each other, and is arranged along the vertical directions, and the lower end in the vertical direction.
  • a pant-type absorbent article having an absorbent main body folded back and forth, wherein the absorbent core has a back side portion which is a portion folded back on the back and forth direction, the absorbent core
  • the rear side is provided with a rear low basic weight area whose average basis weight is lower than that of the surrounding area, and the upper side above the rear low basic weight area in the vertical direction, the rear side And a ridged area having a higher average basis weight than a low basis weight area, and at least a part of a boundary between the rear low basis weight area and the ridged area high basis weight area That it is inclined diagonally downward from the center in the left-right direction toward both sides, It is a pants-type absorbent article and butterflies.
  • Other features of the present invention will be apparent from the description of the present specification and the accompanying
  • the pants-type absorbent article which can implement
  • FIG. 1 is a perspective view of a shorts-type disposable diaper 1; It is the schematic plan view which looked at the diaper 1 of the expansion
  • FIG. 4A is a schematic plan view of the absorbent main body 10 in the unfolded and stretched state as viewed from the skin side.
  • FIG. 4B is a cross-sectional view taken along line AA of FIG. 4A.
  • FIG. 2 is a schematic plan view of the diaper 1 in an unfolded and stretched state, illustrating the positional relationship between various stretchable regions (21s, 22s, 23s) and the absorbent core 11. It is the top view which looked at the absorptive core 11 from the skin side. It is a schematic perspective view explaining the modification of absorptive core 11 at the time of diaper 1 wear.
  • a pant-type absorbent article wherein the absorbent core has a back side portion which is a portion bent back on the front and rear direction, and the absorbent core is a peripheral region on the back side.
  • the absorbent core rises obliquely along the boundary between the rear low basis weight area and the buttocks high basis weight area, and is deformed so as to wrap the buttocks of the wearer.
  • the fit of the absorbent core can be improved in the region extending from the crotch to the buttocks.
  • the rear low basis weight region has a longitudinally long portion along the vertical direction.
  • the absorbent core in the region extending from the crotch to the buttocks, the absorbent core is likely to be bent and deformed starting from the longitudinally long portion. As a result, the absorbent core is likely to be three-dimensionally deformed along the shape of the wearer's crotch to the vicinity of the buttocks.
  • the pants-type absorbent article is provided with a rear side stretchable region that stretches in the left-right direction, and has a rear side belt portion connected to the absorbent main body, and the rear side low basis weight in the vertical direction It is desirable that at least a part of the area overlaps with the rear elastic area.
  • the contraction force in the left-right direction acts on the rear side low basis weight area.
  • the absorbent core is easily contracted and deformed in the overlapping portion, and the external force generated by the movement of the leg of the wearer is easily buffered. Therefore, the fit of the absorbent core is further improved.
  • the buttocks high basis weight region overlaps the rear elastic region in the vertical direction.
  • the highly rigid buttocks-high basis weight region is easily deformed by applying a contraction force by the rear side stretchable region.
  • the contraction force acts from the non-skin side
  • the buttock high basis weight region is pressed to the skin side of the wearer. Therefore, while the buttocks high basis weight area deforms so as to form a curved surface along the roundness of the buttocks of the wearer, it becomes easy to adhere to the wearer's skin, and the fit of the absorbent core can be further improved.
  • the pants-type absorbent article is provided with a rear side stretchable region that stretches in the left-right direction, and has a rear side belt portion connected to the absorbent main body, and the rear side low basis weight in the vertical direction Preferably, at least a portion of the area overlaps the rear belt portion.
  • the rigidity on the non-skin side of the rear low basis weight region is likely to be secured in the portion overlapping the rear belt portion. Therefore, the absorbent core is more likely to be bent to the skin side than the non-skin side, and even if an excessive external force acts on the rear low basis weight region, the external belt is buffered by the rear belt portion and absorbed. It can control that a sex core is damaged.
  • the absorbent core has a lower basis weight in the rear side portion, in which the average basis weight is lower than the surrounding area on the upper side than the basis area of the buttocks. It is desirable to have an area.
  • the low basis weight regions are provided on the upper side (the buttocks side) and the lower side (the crotch side) across the buttocks high basis weight region, so that each region The absorbent core can be more easily deformed naturally.
  • At least a part of the boundary between the buttocks high basis weight area and the buttocks low basis weight area is inclined obliquely downward from the center in the left-right direction toward both outer sides. Is desirable.
  • the region above the buttocks / high basis weight area of the absorbent core rises obliquely along the slope of the boundary, and wraps the roundness of the buttocks of the wearer It becomes easy to form such a curved surface.
  • Such a pants-type absorbent article wherein the smaller one of the angles formed by the boundary between the rear low basis weight area and the buttocks high basis weight area with respect to the left-right direction is the buttocks high basis weight It is desirable that the boundary between the area and the buttock low basis weight area is larger than the smaller one of the angles formed with respect to the lateral direction.
  • the amount of deformation of the absorbent core can be increased by increasing the inclination angle at the boundary closer to the crotch, and bending deformation of the absorbent core occurs. It will be easier. On the other hand, at the boundary portion closer to the buttocks, the absorbent core is easily deformed gently along the roundness of the buttocks by reducing the inclination angle.
  • Such a pants-type absorbent article wherein the length of the boundary between the buttocks high basis weight area and the buttocks low basis weight area in the left and right direction is the back low basis weight area in the left and right direction It is desirable that the length is longer than the length of the boundary with the buttocks / high basis weight region.
  • the buttocks low basis weight region has a plurality of longitudinally long portions along the vertical direction, and in the vertical direction, the upper end position of at least a part of the longitudinally long portions; It is desirable that the upper end position of the absorbent core is the same.
  • the upper end edge of the absorbent core is formed with a portion having a low basis weight and low rigidity, so that the upper end edge portion is easily deformed flexibly. Therefore, the upper end portion of the absorbent core can be easily deformed in accordance with the waist curve on the buttocks side of the wearer, and the skin feel can be softened.
  • the rear low basis weight region has a longitudinally long portion along the vertical direction and a plurality of horizontally long portions intersecting the longitudinally long portion.
  • the absorbent core is further cut at the crotch. It can be made flexible and easy to deform.
  • Such a pants-type absorbent article which is laminated on the non-skin side of the absorbent core at the crotch located on the crotch of the wearer when worn, and has a crotch elastic region which stretches in the vertical direction. It is desirable that a member be provided, and at least a part of the rear low basis weight region overlap the crotch elastic region.
  • the stretchability in the vertical direction from the non-skin side acts on the rear low basis weight region of the absorbent core, thereby, in the rear low basis weight region,
  • the absorbent core deforms to curve along the crotch of the wearer.
  • the absorbent core is easily bent to the skin side, deformation along the body shape of the wearer is promoted.
  • the absorbent core is disposed along the vertical direction at the rear side, below the vertical direction of the buttocks high basis weight area and at the center of the horizontal direction.
  • a central low basis weight area is provided through the
  • the absorbent core when the absorbent core is sandwiched between the legs in the crotch region of the wearer, the absorbent core extends in the vertical direction starting from the central low basis weight area having the lowest rigidity. It is easy to bend and deform so that it has a convex shape on the skin side. This makes it easier for the absorbent core to fit along the crevices of the wearer's void and buttocks.
  • the average basis weight is higher on the lower side in the up-down direction of the rear low basis weight region in the rear side portion than in the rear low basis weight region. It is desirable that a second ridge high basis weight area be provided.
  • FIG. 1 is a schematic perspective view of the diaper 1.
  • FIG. 2 is a schematic plan view of the unfolded and stretched diaper 1 as viewed from the non-skin side.
  • FIG. 3 is a schematic cross-sectional view taken along line II of FIG.
  • the “extended state” of the diaper 1 refers to a state in which the diaper 1 is extended without wrinkles, and the dimensions of the members constituting the diaper 1 (for example, the exterior member 20 described later) match the dimensions of the single member Or, it is in a state of being stretched to a length close to that.
  • the diaper 1 has an up-down direction, a left-right direction, and a front-back direction intersecting with each other, and has a thickness direction in which the respective members are laminated as shown in FIG. 3.
  • the side on the trunk side of the wearer is the upper side
  • the side on the crotch of the wearer is the lower side.
  • the front side of the wearer is referred to as the front side
  • the back side of the wearer is referred to as the back side.
  • the side in contact with the body of the wearer is the skin side
  • the other side is the non-skin side.
  • the diaper 1 has the longitudinal direction and width direction which mutually cross
  • the longitudinal direction is a direction along the vertical direction
  • the width direction is the same as the lateral direction.
  • the diaper 1 has the absorptive main body 10 which is rectangular shape planar view, and the exterior member 20 located in the non-skin side of the absorptive main body 10.
  • the exterior member 20 includes a belly-side exterior member 21 (front belt portion 21) positioned on the front side in the front-rear direction in FIG. 1 and a back-side exterior member 22 (rear belt portion 22) positioned on the rear side in the front-rear direction. And a crotch exterior member 23 (crotch member 23) connecting them.
  • the above members adjacent in the thickness direction are joined by an adhesive or the like.
  • the front side belt portion 21 is positioned at one end side in the longitudinal direction of the absorbent main body 10, and the rear side belt portion 22 is positioned at the other end side in the longitudinal direction of the absorbent main body 10.
  • the side on which the front belt portion 21 is positioned is referred to as the front side
  • the side on which the rear belt portion 22 is positioned is referred to as the rear side. That is, the front side belt portion 21 is located at the front upper end portion of the absorbent main body 10, and the rear side belt portion 22 is located at the rear upper end portion of the absorbent main body 10.
  • the crotch member 23 is positioned closer to the skin than the front side belt portion 21 and the rear side belt portion 22.
  • the exterior member 20 is comprised by three members in the diapar 1 of this embodiment, it does not restrict to this.
  • the front belt portion 21, the rear belt portion 22, and the crotch member 23 may be one member.
  • a configuration without the crotch member 23 or a configuration in which a member different from the exterior member 20 is further laminated on the non-skin side of the exterior member 20 may be used.
  • the absorbent main body 10 is folded back and forth at a predetermined position CL in the longitudinal direction, and both sides in the lateral direction of the front belt portion 21 and both sides in the lateral direction of the rear belt portion 22
  • the parts are joined by welding or the like to form the pants-type shown in FIG. That is, the longitudinal direction of the absorbent main body 10 is along the vertical direction of the diaper 1, and the front belt portion 21 and the rear belt portion 22 are annularly connected to form the waist opening 1a and the pair of leg openings 1b.
  • an end joint region 24 a region where the front belt portion 21 and the rear belt portion 22 are joined.
  • the absorbent main body 10 (absorbent core 11) bent at the predetermined position CL a portion bent to the front side is referred to as “front side portion 10F”, and a portion bent to the rear side It is referred to as “the rear side 10R”. That is, in the longitudinal direction of FIG. 2, the area on the front side of the predetermined position CL of the absorbent main body 10 (absorbent core) 11 is called “front side 10 F”, and the area on the rear side of the predetermined position CL is “rear side It may be called "part 10R".
  • the absorbent main body 10 includes an absorbent core 11, a top sheet 12 positioned on the skin side of the absorbent core 11, and a back sheet 13 positioned on the non-skin side of the absorbent core 11.
  • FIG. 4A is a schematic plan view of the absorbent main body 10 in the unfolded and stretched state as viewed from the skin side.
  • FIG. 4B is a cross-sectional view taken along line AA of FIG. 4A. In FIG. 4B, the low basis weight region (described later) provided in the absorbent core 11 is not displayed for simplification of the description.
  • the absorbent core 11 is a member that absorbs and holds excretory fluid such as urine, and is formed of, for example, a liquid absorbent fiber such as pulp fiber mixed with a superabsorbent polymer (SAP).
  • the absorbent core 11 of the present embodiment has a narrowed portion 11 c having a narrow width in the left-right direction between the front end and the rear end in the longitudinal direction, and the plan view as shown in FIG. 4A It has a substantially hourglass shape.
  • various low basis weight regions which are regions in which the basis weight is lower than that of the surrounding, are formed in the absorbent core 11. Details of the low basis weight region will be described later.
  • the outer peripheral surface of the absorbent core 11 may be covered by a liquid-permeable sheet such as tissue paper or non-woven fabric.
  • the top sheet 12 is a liquid-permeable sheet, and for example, a hydrophilic air through non-woven fabric or a spun-bonded non-woven fabric is used.
  • the back sheet 13 has a two-layer structure of a liquid impermeable sheet 13a and a hydrophobic sheet 13b disposed on the non-skin side.
  • the liquid impermeable sheet 13a for example, a resin film or the like is used
  • the hydrophobic sheet 13b for example, a hydrophobic non-woven fabric having flexibility is used.
  • the back sheet 13 may have a single layer structure of the liquid impermeable sheet 13a.
  • Side sheets 14 are provided on both sides of the back sheet 13 in the left-right direction.
  • the side sheet 14 extends outward in the left-right direction from both ends 11 es, 11 es in the left-right direction of the absorbent core 11, and with the both ends 10 es, 10 es in the left-right direction of the absorbent main body 10 folded back
  • a pair of leakproof walls 40 are formed by being folded back to the skin side in the longitudinal direction.
  • Leakproof wall elastic members 41 and 42 such as thread rubber are fixed to the leakproof wall portion 40 in a state of being extended along the longitudinal direction (vertical direction) of the absorbent main body 10.
  • the pair of leak preventing wall portions 40 stand up on the skin side at both ends in the left and right direction of the absorbent main body 10 and function as a leak preventing wall of the diaper 1 Do.
  • the leakproof wall portion 40 may be formed by extending the back sheet 13 (liquid permeable sheet 13 b) to the outside in the left-right direction of the absorbent core 11 without providing the side sheet 14. .
  • the front side belt portion 21 and the rear side belt portion 22 are, as shown in FIG. 2, respectively, in a waistline area 211, 221 where the end joint area 24 is located in the vertical direction and a lower side than the waistline area 211, 221
  • the crotch region 212, 222 is provided.
  • the waistline regions 211 and 221 have a rectangular shape in plan view.
  • the crotch region 212, 222 has a substantially trapezoidal shape, and the outer edge portion has inclined portions 212s, 222s that are inclined inward in the left-right direction toward the lower side in the up-down direction. That is, the crotch region 212, 222 has a narrower width toward the lower side.
  • the crotch-side region 222 of the rear belt portion 22 is larger than the crotch-side region 221 of the front belt portion 21, and can widely cover the buttocks of the wearer.
  • the front side belt portion 21 and the rear side belt portion 22 are, as shown in FIG. 3, respectively, skin side sheets 213 and 223 located on the skin side, and non-skin side sheets 214 and 224 located on the non-skin side. It has an elastic nonwoven fabric 215, 225 which is located between them and has elasticity at least in the left-right direction of the diaper 1.
  • the skin side sheets 213 and 223 and the non-skin side sheets 214 and 224 are preferably flexible sheets, and for example, a spunbond nonwoven fabric or an SMS nonwoven fabric is used.
  • the stretchable non-woven fabric 215, 225 has, for example, a polyurethane elastomer which is a thermoplastic elastomer fiber having elasticity, and a polypropylene (PP) of a polyolefin resin which is a thermoplastic resin fiber having non-elasticity. And non-woven fabric that has been subjected to an appropriate stretching process such as gear stretching. By this stretching process, the stretchable nonwoven fabrics 215, 225 have stretchability in a predetermined direction.
  • the stretching may be performed in directions orthogonal to each other, or may be performed only in a predetermined direction. When stretching is performed only in a predetermined direction, stretchability in a predetermined direction is developed, but all fibers are not necessarily oriented along the predetermined direction, so stretchability in the direction orthogonal to the predetermined direction is also possible. Is expressed.
  • the skin side sheets 213 and 223, the non-skin side sheets 214 and 224, and the stretchable non-woven fabric 215 and 225 are joined by a plurality of scattered portions 25a and 25b (for example, a region to which ultrasonic welding is performed) For example, compared with the case where it joins by the adhesive which hardens
  • the elastic non-woven fabric 215, 225 shrinks between the welded portions 25a, 25b, causing the skin side sheets 213, 223 and the non-skin side sheets 214, 224 to curve and protrude outward in the thickness direction. Do. That is, since the skin side sheets 213 and 223 and the non-skin side sheets 214 and 224 swell between the welded portions 25a and 25b, the touch becomes softer and it is possible to give the user a visually soft impression.
  • the front belt portion 21 and the rear belt portion 22 have stretchability in the left-right direction (and the vertical direction) of the diaper 1 as a whole.
  • An area in the front belt portion 21 that exhibits elasticity in the left-right direction is referred to as a front elastic area 21s
  • an area in the rear belt unit 22 that expresses elasticity in the left-right direction is referred to as a rear elastic area 22s (see FIG. See the shaded area of 5).
  • welding part 25a, 25b is dotted at comparatively narrow intervals as shown in FIG. Therefore, in the diaper 1 of this embodiment, since it extends in many directions and fine swelling (wrinkle) occurs, and generation of one-way wrinkles (longitudinal wrinkle etc.) peculiar to the diaper can be prevented. Aesthetic is good.
  • the thickness of the stretchable film is substantially uniform, the swelling of the skin side sheets 213 and 223 and the non-skin side sheets 214 and 224 between the welded portions 25a and 25b is easily crushed.
  • the thickness of the stretchable non-woven fabric 215, 225 is increased between the welded portions 25a, 25b, the swelling of the skin side sheets 213, 223 and the non-skin side sheets 214, 224 is hardly crushed, and the softness and beauty of the touch You can keep the sex.
  • the welded portions 25a and 25b are formed in the first dotted area X overlapping in the thickness direction with the absorbent main body 10 and the second dotted area Y other than that.
  • the ratio of the welded portions 25a and 25b per unit area may be made different.
  • substantially rectangular welds 25a inclined 45 degrees or -45 degrees with respect to the left-right direction are alternately arranged.
  • circular welds 25b are arranged in a zigzag.
  • the area of the welded portion 25b per unit area is smaller in the second dotted area Y than in the first dotted area X. Therefore, in the waistline regions 211 and 221 where problems such as sweat and stuffy are likely to occur, it is possible to suppress the air permeability from being hindered by the welded portion 25 b, and it is possible to ensure appropriate air permeability.
  • the contraction of the front belt portion 21 and the rear belt portion 22 can be appropriately suppressed, and the contraction of the absorbent main body 10 in the left-right direction can be reduced.
  • a plurality of waist elastic members 26 such as thread rubber are disposed in a region along the waist opening 1a.
  • a plurality of leg elastics 27 such as thread rubber are disposed in a region along the leg openings 1b. That is, since the waist elastic members 26 and the leg elastic members 27 firmly adhere to the body of the wearer by the waist elastic members 26 and the leg elastics 27, the diaper 1 can be prevented from slipping off or leaking from the legs. On the other hand, since the other portions gently fit the wearer's body over the entire surface by the stretchable nonwoven fabric 215, 225, the feeling of tightening is reduced.
  • the crotch member 23 has a substantially hourglass shape in plan view curved inward in the left-right direction at a central portion in the longitudinal direction. Further, as shown in FIG. 3, the crotch member 23 is positioned between the skin side sheet 231 located on the skin side and the non-skin side sheet 232 located on the non-skin side, and the up-down direction of the diaper 1.
  • the stretchable non-woven fabric 233 which imparts stretchability to (the longitudinal direction of the absorbent main body 10) is provided. These sheets 231 to 233 are joined by a plurality of welds (for example, welds 25b similar to the second dotted area Y).
  • a region in which stretchability along the up and down direction is expressed is taken as a crotch stretch region 23s (see the hatched portion in FIG. 5).
  • the absorbent core 11 can be in close contact with the crotch of the wearer, and the drooping of the diaper 1 can be suppressed even if the weight of the absorbent core 11 increases due to excretion.
  • a plurality of crotch elastic members 28 are disposed in a region along the leg opening 1b of the crotch member 23, and the crotch member 23 is in close contact with the wearer's leg.
  • FIG. 5 is a schematic plan view of the diaper 1 in the unfolded and stretched state, and illustrates the positional relationship between the various stretchable regions (21s, 22s, 23s) and the absorbent core 11.
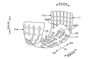
  • FIG. 6 is a plan view of the absorbent core 11 as viewed from the skin side.
  • the absorbent core 11 includes “lower abdomen position 11A” located in the lower abdomen of the wearer when worn, “crotch site 11B” located in the crotch region of the wearer, and the buttocks of the wearer And “the heel region 11C” located at
  • the portion overlapping the front belt portion 21 is a lower abdomen position 11A
  • the portion overlapping the rear belt portion 22 is a heel portion 11C
  • the in-between portion is a crotch portion 11B.
  • the lower abdomen position 11A is a portion located on the front side portion 10F of the diaper 1
  • the heel portion 11C is a portion located on the back side portion 10R of the diaper 1.
  • the crotch region 11B is located at the lower end in the vertical direction of the diaper 1, and is a region provided over the front position 10F and the rear side 10R across the predetermined position CL.
  • crotch region 11B is an example, and is not limited to this. For example, even when the area from the lower end of the end joint area 24 of the front belt portion 21 to the lower end of the end joint area 24 of the rear belt portion 22 in the longitudinal direction is 1/3, good.
  • the absorbent core 11 has a “crotch low basis weight region 36” which is a region in which the basis weight of the absorbent core 11 is lower than that of the periphery at the crotch region 11B.
  • the crotch low basis weight region 36 is formed by the intersection of a vertically long portion 36l along the vertical direction (longitudinal direction of the absorbent core) and a horizontally long portion 36w along the lateral direction (width direction of the absorbent core). ing.
  • a plurality of vertically long portions 36l are provided at intervals in the left-right direction at the crotch region 11B, and a plurality of horizontally long portions 36w are provided at intervals in the vertical direction on each of the vertically long portions 36l.
  • Basis weight of the absorptive core 11 is mass (g / m ⁇ 2 >) of the absorptive core 11 (for example, liquid absorptive fiber which SAP mixed) per unit area.
  • the comparison of the basis weight of the absorbent core 11 between the inseam low basis weight region 36 and the periphery may be performed by a known method. For example, there is a method of comparing visually. In addition, there is a method in which the target site is cut out from the absorbent core 11 as a sample, the mass of each sample and the area of each sample are measured, and the mass per unit area is calculated and compared. The same applies to the other low basis weight regions described below.
  • the absorbent core 11 is easily bent starting from the crotch low basis weight region 36 due to the difference in rigidity between the crotch low basis weight region 36 and the periphery. Therefore, when the diaper 1 is worn, the absorbent core 11 is easily deformed to conform to the unevenness of the wearer's body by bending from the crotch low basis weight region 36, and it becomes easy to fit the wearer's body .
  • the crotch region 11 ⁇ / b> B is a region that is susceptible to compressive force in the left-right direction by being sandwiched between the legs of the wearer when the diaper 1 is worn. Therefore, in the crotch region 11B, the absorbent core 11 is more easily deformed by providing the longitudinally long portion 36l extending along the vertical direction and the horizontally long portion 36w extending along the lateral direction so as to intersect with each other. Can.
  • the absorbent core 11 is more absorbent than the crotch low basis weight region 36 on the upper side in the vertical direction and on the rear side (rear side portion 10R) in the front and rear direction as compared to the surroundings. It has a “second crotch low basis weight region 37” which is a region where the basis weight of the core 11 is lowered.
  • the second inseam low basis weight area 37 has substantially the same configuration as the inseam low basis weight area 36, and the vertically long portion 37l along the vertical direction (longitudinal direction of the absorbent core) and the left and right direction (absorbent) A plurality of laterally long portions 37w along the width direction of the core are formed to intersect with each other.
  • the second crotch low basis weight region 37 is disposed across the crotch region 11B and the heel region 11C.
  • the inseam low basis weight region 36 may be referred to as a "first inseam low basis weight region 36" is there.
  • the absorbent core 11 is an upper side in the vertical direction above the first crotch low basis weight region 36 and a front side (front side portion 10F) in the front-rear direction, and a longitudinally long portion 37l of the second crotch low basis weight region 37
  • a "central low basis weight region 32" which is a region where the basis weight of the absorbent core 11 is lower than that of the surrounding.
  • the central low basis weight region 32 is disposed along the vertical direction (longitudinal direction of the absorbent core 11) at the central portion in the left and right direction of the absorbent core 11, has a lower basis weight than the surroundings, and is lower than the lateral direction. It is a substantially rectangular area which is long in the vertical direction.
  • the absorbent core 11 does not exist in the central low basis weight regions 32 and 33. That is, the central low basis weight regions 32, 33 are holes through which the absorbent core 11 penetrates in the thickness direction.
  • the second crotch low basis weight region 37 (not provided on the front side portion 10F) provided on the rear side 10R and the central low basis weight
  • region 33 is put together and it is set as "the back side low basis weight area
  • the second crotch low basis weight region 37 (and the center low basis weight) is on the upper side (rear side in the longitudinal direction) above and below the rear side low basis weight region 39.
  • a buttock high basis weight region 55 whose basis weight is higher than the region 33).
  • the buttocks high basis weight region 55 is a region continuous in the left and right direction, and the boundary between the rear low basis weight region 39 and the buttocks high basis weight region 55 is diagonally downward from the center in the left and right direction It is inclined in the direction. Accordingly, the buttock high basis weight area 55 is an area having a substantially U-shaped or V-shaped shape as shown in FIG.
  • the “boundary” between the rear low basis weight region 39 and the buttocks high basis weight region 55 is the upper end (the rear end in the longitudinal direction) of the vertically long portion 37 l of the second crotch low basis weight region 37. Also, it is a line (curve) continuously connecting the upper end in the vertical direction of the central low basis weight area 33 (rear end in the longitudinal direction), and is indicated by a broken line in FIG.
  • first boundary portion 55BF the boundary between the rear low basis weight region 39 and the buttocks high basis weight region 55.
  • the “basis weight” of the rear low basis weight area 39 is the average basis weight of the area surrounded by the vertically elongated portions 37l arranged at both ends in the left and right direction in FIG. Say.
  • the basis weight of the buttock high basis weight area 55 refers to the average basis weight of the area sandwiched between the rear low basis weight area 39 and the buttock low basis weight area 38 (described later).
  • the basis weight of the absorbent core 11 is lower on the upper side (rear side in the longitudinal direction) in the vertical direction than the buttocks high basis weight region 55 compared to the surroundings.
  • a "hip portion low basis weight area 38" which is an area.
  • the buttock low basis weight area 38 has substantially the same configuration as the second crotch low basis weight area 37, and has a laterally long portion 38w extending vertically.
  • the boundary between the buttock high basis weight region 55 and the buttock low basis weight region 38 is inclined obliquely downward from the center in the left-right direction toward the outside.
  • the “boundary” between the buttock high basis weight area 55 and the buttock low basis weight area 38 continuously connects the vertically lower end (longitudinal front end) of the vertically long portion 38 l of the buttock low basis weight area 38 It is a line (curved line) and is indicated by a dotted line in FIG.
  • the boundary between the buttock high basis weight region 55 and the buttock low basis weight region 38 is also referred to as a "second boundary portion 55BR".
  • the “basis weight” of the buttock low basis weight region 38 is surrounded by the vertically elongated portions 38l disposed at both ends in the left and right direction in FIG. 6 and the rear side edges of the second boundary portion 55BR and the absorbent core 11 It refers to the average basis weight of the area.
  • FIG. 7 is a schematic perspective view for explaining the deformation of the absorbent core 11 when the diaper 1 is worn.
  • the absorbent core 11 penetrates in the thickness direction, and the rigidity is the lowest. That is, the absorbent core 11 is most likely to be bent and deformed in the central low basis weight regions 32 and 33. Therefore, when the absorbent core 11 is sandwiched between the legs at the crotch of the wearer when the diaper 1 is worn, the absorbent core 11 is vertically moved at the central low basis weight regions 32, 33 (the absorbent core 11 Bend left and right along the longitudinal direction). Thereby, in the crotch region 11B between the central low basis weight regions 32, 33 in the longitudinal direction, as shown in FIG.
  • the absorbent core 11 deforms in a convex shape along the longitudinal direction to the skin side of the wearer, Convex part 11t is formed. That is, the central low basis weight regions 32, 33 have a function as a "folding guide region" for bending the absorbent core 11 along the longitudinal direction in the crotch region 11B.
  • the convex portion 11 t can be easily fitted along the crevice of the wearer's excretion opening and buttocks, and the absorbability of excrement in the crotch region is improved. Can.
  • the absorbent core 11 stands up along the curved surface shape of the abdomen of the wearer.
  • the absorbent core 11 rises along the curved surface shape of the buttocks of the wearer from the crotch region 11B to the heel region 11C.
  • the absorbent core 11 is convex on the skin side of the wearer.
  • the protrusion 11t is continuous along the vertical direction (longitudinal direction of the absorbent core 11). If this convex portion 11t is formed continuously over the entire region in the vertical direction (longitudinal direction), the convex portion 11t is formed on the heel portion 11C, so the convex portion 11t hits the wearer's heel portion There is a possibility that the skin contact in the buttocks may deteriorate.
  • a gap may be generated between the absorbent core 11 and the wearer's skin around the hips on the buttock side, which may cause excrement of excrement.
  • the diaper 1 of the present embodiment by providing the buttocks high basis weight region 55 on the upper side (rear side in the longitudinal direction) of the rear low basic weight region 39 in the rear side 10R.
  • the absorbent core 11 is prevented from being convexly deformed in a region above (rear side) the buttocks high basis weight region 55.
  • the highly rigid buttock high basis weight region 55 blocks the transmission of the force for bending and deforming the absorbent core 11 so as to be convex on the skin side in the crotch portion 11B to the heel portion 11C.
  • the central portion in the left-right direction of the absorbent core 11 is suppressed from being convexly deformed toward the wearer's skin. It will stand on the buttocks side while maintaining the surface shape like.
  • the central low basis weight region 33 which is a through hole in the rear low basis weight region 39 is a region where the rigidity of the absorbent core 11 is the lowest and it is easy to be bent.
  • the crotch region 11B of the absorbent core 11 is sandwiched between the legs of the wearer, and when the wearer moves the legs back and forth during walking, the right and left regions
  • the action of the opposite force tends to cause wrinkles or distortion.
  • wrinkles are less likely to occur in the area on the rear side than the buttock high basis weight region 55.
  • the force acting on the absorbent core 11 in the crotch region 11B is transmitted to the buttocks region 11C on the rear side of the buttocks high basis weight region 55. Being suppressed. Therefore, the absorbent core 11 is easily deformed differently between the crotch region 11B and the heel region 11C with the buttocks high basis weight region 55 interposed therebetween, and the fit in each region is improved.
  • the absorbent core 11 when the absorbent core 11 is deformed, the force acting to compress the absorbent core 11 in the left-right direction in the crotch region 11B is concentrated in the first boundary portion 55BF, and the first boundary portion 55BF Starting from, the absorbent core 11 largely rises to the buttocks side.
  • the region above the buttocks high basis weight area 55 (rear side in the longitudinal direction) of the absorbent core 11 stands up on the buttocks side of the wearer without being deformed into a convex shape as in the crotch 11B. . Therefore, it becomes easy to deform the absorptive core 11 naturally according to a wearer's body shape.
  • the first boundary portion 55BF is inclined from the center in the left-right direction to both outer sides and from the rear side in the longitudinal direction to the front side, the upper side of the absorbent core 11 above the ridge high basis weight region 55 (longitudinal direction The region on the back side of the body rises diagonally along the slope of the boundary and deforms to wrap around the buttocks of the wearer. Thereby, the fit property of the absorptive core 11 in a wearer's buttocks can be improved.
  • a plurality of vertically long portions 37 l are provided in the second crotch low basis weight region 37 that constitutes the rear side low basis weight region 39.
  • This region is a region where a large force is likely to act by being pinched between the legs of the wearer at the crotch region 11B, and is absorbed along the roundness of the wearer's buttocks from the crotch region 11B to the heel region 11C. It is a portion where the sex core 11 starts to rise.
  • the wearer moves the leg, it is an area where wrinkles and the like are easily generated.
  • a plurality of longitudinally elongated portions 37l are provided in this region, and the absorbent core 11 is easily bent and deformed starting from the longitudinally elongated portions 37l.
  • the absorbent core 11 is likely to be three-dimensionally deformed along the body shape near the buttocks of the wearer.
  • the force to form wrinkles on the surface of the absorbent core 11 is dispersed, and formation of wrinkles is suppressed, and the absorbent core 11 and the wearer's body Can be made less likely to occur.
  • the second inseam low basis weight region 37 overlaps with the rear stretchable region 22 s of the rear belt portion 22.
  • the second crotch low basis weight region 37 and the rear stretchable region 22 s overlap in the region on the inner side in the left-right direction and the lower side in the vertical direction (the front side in the longitudinal direction) than the first boundary portion 55BF. ing. Therefore, when the diaper 1 is worn, a contraction force in the left-right direction by the rear stretchable area 22s acts on the second crotch low basis weight area 37 in the overlapping portion.
  • the absorbent core 11 is easily shrunk and deformed, and the external force generated by the movement of the leg of the wearer is easily buffered. Therefore, transmission of force to the buttocks side can be more easily suppressed.
  • the buttocks basis weight region 55 also overlaps with the rear side stretchable region 22 s of the rear side belt portion 22.
  • a region having high rigidity such as the buttock high basis weight region 55 is a region that is basically difficult to be deformed and easily maintain a flat shape, and therefore, it is difficult to fit along the roundness of the wearer's buttocks.
  • the hip portion high basis weight region 55 itself is easily deformed by applying a contraction force by the rear side stretchable region 22s.
  • the contraction force in the left-right direction acts from the non-skin side of the buttock high basis weight area 55, the buttock high basis weight area 55 is pressed against the skin of the wearer.
  • a buttocks basis weight area 55 may form a curved surface along a roundness of a wearer's buttocks, and a fit property of absorptive core 11 in a buttocks is improved more It can be done.
  • the second inseam low basis weight area 37 overlaps with the rear side belt portion 22, the second inseam in the overlapping part.
  • the rigidity on the non-skin side of the low basis weight region 37 is easily secured. Thereby, when the contraction force in the left-right direction acts on the absorbent core 11, the absorbent core 11 is more easily bent to the skin side than the non-skin side, so that the above-described convex deformation is easily generated.
  • the second crotch low basis weight region 37 itself can be freely deformed because of its low rigidity, whereas a plurality of sheet members (213, 214, etc.) are laminated on the non-skin side rear belt portion 22.
  • the absorbent core 11 is broken in the second crotch low basis weight area 37. Large twist is suppressed. That is, even when an excessive external force acts on the absorbent core 11, the external force is buffered by the rear belt portion 22, and breakage of the absorbent core 11 can be suppressed.
  • the buttock low basis weight area 38 is provided on the upper side (rear side in the longitudinal direction) above the buttocks high basis weight area 55 in the vertical direction.
  • the fit of the core 11 can be improved.
  • the absorbent core 11 of the present embodiment is completely different in the upper area (the buttocks side) and the lower side (the crotch side) with respect to the buttocks high basis weight area 55. By providing the low basis weight region in the region, the absorbent core 11 can be more easily deformed naturally.
  • the buttocks low basis weight area 38 is deformed in a curved surface shape so as to wrap the buttocks of the wearer, thereby making the fit in the buttocks It can be enhanced.
  • the buttocks low basis weight region 38 has a plurality of vertically elongated portions 38l, these vertically elongated portions 38l are, as shown in FIG. 6, the absorbent core 11 from the second boundary portion 55BR in the vertical direction. It is provided continuously to the upper end (rear end in the longitudinal direction) of That is, the lower end position of the vertically elongated portion 38l in the vertical direction is an intersection point with the second boundary 55BR, and the upper end position in the vertical direction of the vertically elongated portion 38l is an intersection point with the upper end of the absorbent core 11.
  • the longitudinally long portion 38l is provided to reach the upper end of the absorbent core 11, the stress acting on the buttocks high basis weight region 55 easily escapes to the upper end side of the absorbent core 11, and the absorbability at the heel portion 11C It becomes easy to suppress that wrinkles and distortion arise in core 11. Further, since the upper end position of the vertically elongated portion 38l and the upper end position of the absorbent core 11 are the same in the vertical direction, a portion having a low basis weight and low rigidity is formed at the upper end edge of the absorbent core 11 The edge portion becomes flexible and easily deformed.
  • the upper end portion of the absorbent core 11 is easily deformed in accordance with the waistline shape of the wearer's buttocks side, and the touch of the waistline can be softened. It is not necessary that all of the plurality of longitudinally elongated portions 38 l be provided so as to reach the upper end of the absorbent core 11, as long as some of the longitudinally elongated portions 38 l reach the upper end of the absorbent core 11.
  • the second boundary portion 55BR is substantially V-shaped (U-shaped) inclined obliquely downward from the center in the left-right direction toward both outer sides. Therefore, in the absorbent core 11, the area above the buttocks basis weight area 55 (rear side in the longitudinal direction) rises obliquely along the slope of the second boundary 55BR, and the buttocks of the wearer are rounded. It becomes easy to form a curved surface that wraps around.
  • the inclination angle of the second boundary 55BR with respect to the left-right direction is smaller than the inclination angle of the first boundary 55BF with respect to the left-right direction.
  • the inclination angle with respect to the left-right direction refers to the smaller one of the angles formed by the boundary portions 55BF and 55BR with the left-right direction in the absorbent core 11 in a state of being expanded as shown in FIG.
  • the inclination angle ⁇ 55BR of the second boundary 55BR is smaller than the inclination angle ⁇ 55BF of the first boundary 55BF ( ⁇ 55BR ⁇ 55BF).
  • the deformation amount of the absorbent core 11 at the boundary can be increased by increasing the inclination angle ⁇ 55BF. Therefore, the absorbent core 11 that has been convexly deformed at the crotch region 11B can be easily deformed so as to naturally rise toward the buttocks side.
  • the amount of deformation of the absorbent core 11 is smaller than that of the first boundary 55BF. Therefore, by reducing the inclination angle ⁇ 55BR, the absorbent core 11 becomes gentle along the ridges. To make it easier to
  • the length W55BR of the second boundary 55BR in the left-right direction is longer than the length W55BF of the first boundary 55BF in the left-right direction (W55BR> W55BF).
  • the diaper 1 at least a part of the rear low basis weight region 39 overlaps with the inseam elastic region 23 s.
  • the stretchability in the vertical direction from the non-skin side acts on the back side low basis weight area 39 of the absorbent core 11 so that in the back side low basis weight area 39, the absorbent core 11 is the crotch area of the wearer It deforms to curve along the part.
  • the absorbent core 11 is easily bent to the skin side, the deformation to the above-described convex shape is promoted.
  • the basis weight is higher than the rear side low basis weight region 39 and the first crotch low basis weight region 36 "
  • a second ridge high basis weight area 56 " is provided.
  • the second buttocks high basis weight area 56 is a high basis weight area substantially similar to the buttocks high basis weight area 55, and is continuously formed in the left-right direction, and the rear low basis weight area 39 and the first crotch low basis weight
  • the boundary with the region 36 is a region having a substantially U-shaped or V-shaped shape that is inclined obliquely downward from the center in the left-right direction toward the outer side.
  • the second buttocks high basis weight area 56 By providing the second buttocks high basis weight area 56 at a position closer to the crotch area 11B than the buttocks high basis weight area 55, a large force is exerted by the crotch area 11B being pinched by the wearer's leg or the like. Even in such a case, part of such a force is relieved in the second buttock high basis weight region 56, and it becomes easy to suppress the transmission of a large force to the heel portion 11C. Therefore, the fit of the absorbent core 11 can be further improved.
  • Pants-type disposable diaper (diaper, pants-type absorbent article), 1a waist opening, 1b leg opening, 10 Absorbent body, 10F front side, 10R rear side, 11 absorbent core, 11A lower abdomen position, 11B crotch region, 11C heel region, 11c neck, 11t convex, 12 top sheets, 13 back sheets, 14 side sheets, 20 exterior members, 21 front belt portion (ventral side exterior member), 21s front elastic region, 211 waist area, 212 crotch area, 213 skin side sheet, 214 non-skin side sheet, 215 elastic nonwoven fabric, 22 back belt portion (back exterior member), 22s back stretchable area, 221 waist area, 222 crotch area, 223 skin sheet, 224 non-skin sheet, 225 elastic nonwoven fabric, 23 crotch member (crotch exterior member), 23s crotch stretch area, 231 skin sheet, 232 non-skin sheet, 233 elastic nonwoven fabric, 24 end junction area, 25a, 25b welds, 26

Landscapes

  • Health & Medical Sciences (AREA)
  • Epidemiology (AREA)
  • Engineering & Computer Science (AREA)
  • Biomedical Technology (AREA)
  • Heart & Thoracic Surgery (AREA)
  • Vascular Medicine (AREA)
  • Life Sciences & Earth Sciences (AREA)
  • Animal Behavior & Ethology (AREA)
  • General Health & Medical Sciences (AREA)
  • Public Health (AREA)
  • Veterinary Medicine (AREA)
  • Absorbent Articles And Supports Therefor (AREA)
PCT/JP2018/044490 2017-12-28 2018-12-04 パンツ型吸収性物品 Ceased WO2019131008A1 (ja)

Priority Applications (1)

Application Number Priority Date Filing Date Title
CN201880077259.2A CN111447903B (zh) 2017-12-28 2018-12-04 短裤型吸收性物品

Applications Claiming Priority (2)

Application Number Priority Date Filing Date Title
JP2017-254954 2017-12-28
JP2017254954A JP6600677B2 (ja) 2017-12-28 2017-12-28 パンツ型吸収性物品

Publications (1)

Publication Number Publication Date
WO2019131008A1 true WO2019131008A1 (ja) 2019-07-04

Family

ID=67067147

Family Applications (1)

Application Number Title Priority Date Filing Date
PCT/JP2018/044490 Ceased WO2019131008A1 (ja) 2017-12-28 2018-12-04 パンツ型吸収性物品

Country Status (4)

Country Link
JP (1) JP6600677B2 (enExample)
CN (1) CN111447903B (enExample)
TW (1) TWI693065B (enExample)
WO (1) WO2019131008A1 (enExample)

Families Citing this family (3)

* Cited by examiner, † Cited by third party
Publication number Priority date Publication date Assignee Title
JP7406989B2 (ja) * 2019-12-27 2023-12-28 ユニ・チャーム株式会社 吸収性物品
JP7422044B2 (ja) * 2020-09-30 2024-01-25 大王製紙株式会社 ボクサーパンツ型使い捨ておむつ及びその製造方法
JP7596204B2 (ja) * 2021-03-31 2024-12-09 ユニ・チャーム株式会社 パンツ型吸収性物品

Citations (5)

* Cited by examiner, † Cited by third party
Publication number Priority date Publication date Assignee Title
JP2004195254A (ja) * 1996-08-19 2004-07-15 Uni Charm Corp おむつ
JP2010115368A (ja) * 2008-11-13 2010-05-27 Kao Corp 吸収性物品の個包装体
JP2015536800A (ja) * 2012-12-10 2015-12-24 ザ プロクター アンド ギャンブルカンパニー ポケットを備える吸収性物品
JP2016067626A (ja) * 2014-09-30 2016-05-09 大王製紙株式会社 吸収性物品
JP2016067366A (ja) * 2014-09-26 2016-05-09 大王製紙株式会社 使い捨ておむつ

Family Cites Families (7)

* Cited by examiner, † Cited by third party
Publication number Priority date Publication date Assignee Title
JP5452960B2 (ja) * 2009-03-31 2014-03-26 ユニ・チャーム株式会社 吸収性物品及び吸収性物品の製造方法
JP5486348B2 (ja) * 2010-02-27 2014-05-07 ユニ・チャーム株式会社 使い捨て着用物品
JP5848069B2 (ja) * 2011-09-07 2016-01-27 ユニ・チャーム株式会社 使い捨て着用物品
JP5945446B2 (ja) * 2012-04-23 2016-07-05 ユニ・チャーム株式会社 吸収性物品
CA2967001A1 (en) * 2014-11-06 2016-05-12 The Procter & Gamble Company Patterned apertured webs, laminates, and methods for making the same
JP2016220906A (ja) * 2015-05-29 2016-12-28 日本製紙クレシア株式会社 パンツ型吸収性物品
JP6411309B2 (ja) * 2015-11-09 2018-10-24 ユニ・チャーム株式会社 吸収性物品

Patent Citations (5)

* Cited by examiner, † Cited by third party
Publication number Priority date Publication date Assignee Title
JP2004195254A (ja) * 1996-08-19 2004-07-15 Uni Charm Corp おむつ
JP2010115368A (ja) * 2008-11-13 2010-05-27 Kao Corp 吸収性物品の個包装体
JP2015536800A (ja) * 2012-12-10 2015-12-24 ザ プロクター アンド ギャンブルカンパニー ポケットを備える吸収性物品
JP2016067366A (ja) * 2014-09-26 2016-05-09 大王製紙株式会社 使い捨ておむつ
JP2016067626A (ja) * 2014-09-30 2016-05-09 大王製紙株式会社 吸収性物品

Also Published As

Publication number Publication date
CN111447903A (zh) 2020-07-24
TWI693065B (zh) 2020-05-11
TW201932084A (zh) 2019-08-16
JP2019118557A (ja) 2019-07-22
JP6600677B2 (ja) 2019-10-30
CN111447903B (zh) 2021-07-09

Similar Documents

Publication Publication Date Title
JP5871507B2 (ja) 使い捨て着用物品
TWI691317B (zh) 短褲型吸收性物品
JP6412834B2 (ja) 吸収性物品
JP7350518B2 (ja) パンツ型吸収性物品
WO2019131008A1 (ja) パンツ型吸収性物品
JP6503448B1 (ja) パンツ型吸収性物品
JP7012532B2 (ja) パンツ型吸収性物品
JP6982973B2 (ja) パンツ型吸収性物品
KR20180000064U (ko) 팬츠형 흡수성 물품
JP6385395B2 (ja) 吸収性物品
JP7215951B2 (ja) テープ式使い捨ておむつ
JP7154759B2 (ja) パンツ型吸収性物品
JP6503489B1 (ja) パンツ型使い捨ておむつ
JP2022157103A (ja) パンツ型吸収性物品
CN111491596B (zh) 短裤型吸收性物品
JP2020103721A (ja) パンツ型使い捨ておむつ
KR20200041807A (ko) 흡수성 물품
WO2019131921A1 (ja) パンツ型吸収性物品
JP2019118584A (ja) パンツ型吸収性物品

Legal Events

Date Code Title Description
121 Ep: the epo has been informed by wipo that ep was designated in this application

Ref document number: 18897406

Country of ref document: EP

Kind code of ref document: A1

NENP Non-entry into the national phase

Ref country code: DE

122 Ep: pct application non-entry in european phase

Ref document number: 18897406

Country of ref document: EP

Kind code of ref document: A1