WO2018216506A1 - ワイパ駆動装置 - Google Patents

ワイパ駆動装置 Download PDF

Info

Publication number
WO2018216506A1
WO2018216506A1 PCT/JP2018/018295 JP2018018295W WO2018216506A1 WO 2018216506 A1 WO2018216506 A1 WO 2018216506A1 JP 2018018295 W JP2018018295 W JP 2018018295W WO 2018216506 A1 WO2018216506 A1 WO 2018216506A1
Authority
WO
WIPO (PCT)
Prior art keywords
wiper
stop
wiper blade
motor
windshield
Prior art date
Legal status (The legal status is an assumption and is not a legal conclusion. Google has not performed a legal analysis and makes no representation as to the accuracy of the status listed.)
Ceased
Application number
PCT/JP2018/018295
Other languages
English (en)
French (fr)
Japanese (ja)
Inventor
長谷 智実
光晴 東谷
宣昭 池本
鈴木 秀俊
祥吾 花井
圭祐 小出
Current Assignee (The listed assignees may be inaccurate. Google has not performed a legal analysis and makes no representation or warranty as to the accuracy of the list.)
Denso Corp
Original Assignee
Denso Corp
Priority date (The priority date is an assumption and is not a legal conclusion. Google has not performed a legal analysis and makes no representation as to the accuracy of the date listed.)
Filing date
Publication date
Application filed by Denso Corp filed Critical Denso Corp
Priority to CN201880033235.7A priority Critical patent/CN110650871B/zh
Publication of WO2018216506A1 publication Critical patent/WO2018216506A1/ja
Priority to US16/686,783 priority patent/US11186259B2/en
Anticipated expiration legal-status Critical
Ceased legal-status Critical Current

Links

Images

Classifications

    • BPERFORMING OPERATIONS; TRANSPORTING
    • B60VEHICLES IN GENERAL
    • B60SSERVICING, CLEANING, REPAIRING, SUPPORTING, LIFTING, OR MANOEUVRING OF VEHICLES, NOT OTHERWISE PROVIDED FOR
    • B60S1/00Cleaning of vehicles
    • B60S1/02Cleaning windscreens, windows or optical devices
    • B60S1/04Wipers or the like, e.g. scrapers
    • B60S1/06Wipers or the like, e.g. scrapers characterised by the drive
    • B60S1/16Means for transmitting drive
    • B60S1/18Means for transmitting drive mechanically
    • B60S1/24Means for transmitting drive mechanically by rotary cranks
    • B60S1/245Means for transmitting drive mechanically by rotary cranks with particular rod arrangements between the motor driven axle and the wiper arm axle
    • BPERFORMING OPERATIONS; TRANSPORTING
    • B60VEHICLES IN GENERAL
    • B60SSERVICING, CLEANING, REPAIRING, SUPPORTING, LIFTING, OR MANOEUVRING OF VEHICLES, NOT OTHERWISE PROVIDED FOR
    • B60S1/00Cleaning of vehicles
    • B60S1/02Cleaning windscreens, windows or optical devices
    • B60S1/04Wipers or the like, e.g. scrapers
    • B60S1/0452Position of the wipers relative to the vehicle
    • BPERFORMING OPERATIONS; TRANSPORTING
    • B60VEHICLES IN GENERAL
    • B60SSERVICING, CLEANING, REPAIRING, SUPPORTING, LIFTING, OR MANOEUVRING OF VEHICLES, NOT OTHERWISE PROVIDED FOR
    • B60S1/00Cleaning of vehicles
    • B60S1/02Cleaning windscreens, windows or optical devices
    • B60S1/04Wipers or the like, e.g. scrapers
    • B60S1/06Wipers or the like, e.g. scrapers characterised by the drive
    • B60S1/08Wipers or the like, e.g. scrapers characterised by the drive electrically driven
    • B60S1/0818Wipers or the like, e.g. scrapers characterised by the drive electrically driven including control systems responsive to external conditions, e.g. by detection of moisture, dirt or the like
    • B60S1/0822Wipers or the like, e.g. scrapers characterised by the drive electrically driven including control systems responsive to external conditions, e.g. by detection of moisture, dirt or the like characterized by the arrangement or type of detection means
    • B60S1/0833Optical rain sensor
    • BPERFORMING OPERATIONS; TRANSPORTING
    • B60VEHICLES IN GENERAL
    • B60SSERVICING, CLEANING, REPAIRING, SUPPORTING, LIFTING, OR MANOEUVRING OF VEHICLES, NOT OTHERWISE PROVIDED FOR
    • B60S1/00Cleaning of vehicles
    • B60S1/02Cleaning windscreens, windows or optical devices
    • B60S1/46Cleaning windscreens, windows or optical devices using liquid; Windscreen washers
    • B60S1/48Liquid supply therefor
    • B60S1/52Arrangement of nozzles; Liquid spreading means
    • B60S1/522Arrangement of nozzles; Liquid spreading means moving liquid spreading means, e.g. arranged in wiper arms
    • B60S1/524Arrangement of nozzles; Liquid spreading means moving liquid spreading means, e.g. arranged in wiper arms arranged in wiper blades
    • GPHYSICS
    • G06COMPUTING OR CALCULATING; COUNTING
    • G06TIMAGE DATA PROCESSING OR GENERATION, IN GENERAL
    • G06T7/00Image analysis
    • G06T7/10Segmentation; Edge detection
    • G06T7/12Edge-based segmentation
    • BPERFORMING OPERATIONS; TRANSPORTING
    • B60VEHICLES IN GENERAL
    • B60SSERVICING, CLEANING, REPAIRING, SUPPORTING, LIFTING, OR MANOEUVRING OF VEHICLES, NOT OTHERWISE PROVIDED FOR
    • B60S1/00Cleaning of vehicles
    • B60S1/02Cleaning windscreens, windows or optical devices
    • B60S1/04Wipers or the like, e.g. scrapers
    • B60S1/06Wipers or the like, e.g. scrapers characterised by the drive
    • B60S1/08Wipers or the like, e.g. scrapers characterised by the drive electrically driven
    • BPERFORMING OPERATIONS; TRANSPORTING
    • B60VEHICLES IN GENERAL
    • B60SSERVICING, CLEANING, REPAIRING, SUPPORTING, LIFTING, OR MANOEUVRING OF VEHICLES, NOT OTHERWISE PROVIDED FOR
    • B60S1/00Cleaning of vehicles
    • B60S1/02Cleaning windscreens, windows or optical devices
    • B60S1/04Wipers or the like, e.g. scrapers
    • B60S1/06Wipers or the like, e.g. scrapers characterised by the drive
    • B60S1/16Means for transmitting drive
    • B60S1/163Means for transmitting drive with means for stopping or setting the wipers at their limit of movement

Definitions

  • the present disclosure relates to a wiper driving device.
  • an obstacle or the like existing in front of the vehicle is detected from image data obtained by photographing a region around the front of the vehicle with a camera.
  • the camera is provided in a vehicle interior and captures an area centered on the front of the vehicle through a windshield glass (windshield).
  • the predetermined range of the windshield glass included in the angle of view of the camera is appropriately wiped by a wiper device so that the field of view of the camera is not obstructed by dirt or raindrops.
  • Patent Document 1 discloses an autonomous driving vehicle in which a camera is provided on a vehicle interior side of a windshield glass corresponding to the front side of the upper reversal position of the wiper device.
  • This disclosure is intended to provide a wiper driving device that stops a wiper blade so as not to obstruct the field of view of a camera.
  • the wiper driving device includes a wiper blade so as to wipe an area including an imaged area of the windshield included in a field of view of a camera that captures a predetermined imaging range around the vehicle through the windshield.
  • a wiper blade so as to wipe an area including an imaged area of the windshield included in a field of view of a camera that captures a predetermined imaging range around the vehicle through the windshield.
  • the wiper blade when an abnormality that prevents the wiping operation occurs, the wiper blade is controlled so that the wiper blade stops outside the shooting area on the windshield so as not to obstruct the field of view of the camera. Can be stopped.
  • FIG. 1 is a diagram schematically illustrating a configuration of a wiper device including a wiper driving device according to a first embodiment of the present disclosure.
  • FIG. 2 is a block diagram illustrating an outline of an example of the configuration of the wiper driving device according to the first embodiment of the present disclosure.
  • FIG. 3 is a block diagram illustrating an example of a drive circuit when the wiper motor according to the first embodiment of the present disclosure is a brushless motor.
  • FIG. 4 is a block diagram illustrating an example of a drive circuit in the case where the wiper motor according to the first embodiment of the present disclosure is a brushed motor.
  • FIG. 1 is a diagram schematically illustrating a configuration of a wiper device including a wiper driving device according to a first embodiment of the present disclosure.
  • FIG. 2 is a block diagram illustrating an outline of an example of the configuration of the wiper driving device according to the first embodiment of the present disclosure.
  • FIG. 3 is a block diagram illustrating an example of a drive circuit when the
  • FIG. 5 is a flowchart illustrating an example of a wiper retracting process of the wiper driving device according to the first embodiment of the present disclosure.
  • FIG. 6 is a flowchart illustrating an example of a wiper retracting process during automatic driving of the vehicle according to the first embodiment of the present disclosure.
  • FIG. 7 is an explanatory diagram illustrating an example of a speed map in which the rotational speed of the output shaft of the wiper motor in the wiper drive device according to the first embodiment of the present disclosure is determined in advance according to the position of the wiper blade on the windshield glass.
  • FIG. 8 is an example of a schematic diagram in which the speed map of the low speed operation mode is compared with the speed map of the high speed operation mode in the first embodiment of the present disclosure.
  • FIG. 8 is an example of a schematic diagram in which the speed map of the low speed operation mode is compared with the speed map of the high speed operation mode in the first embodiment of the present disclosure.
  • FIG. 9A is a time chart showing an example of energization timing when rotating the brushless motor
  • FIG. 9B is a time chart illustrating an example of the timing of reverse energization to the brushless motor during regenerative braking.
  • FIG. 10 is an explanatory diagram showing the operation of the stop-time protruding member according to the second embodiment of the present disclosure
  • FIG. 11A is a diagram schematically illustrating an example of a state of a projecting member at a stop when the wiper blade is performing a wiping operation in the second embodiment of the present disclosure
  • FIG. 11B is a diagram schematically illustrating an example of a state of the protruding member when stopped when the wiper blade is stopped;
  • FIG. 12 is a block diagram illustrating an outline of an example of the configuration of the wiper driving device according to the second embodiment of the present disclosure.
  • FIG. 13A is a diagram schematically illustrating a modification of the second embodiment of the present disclosure.
  • FIG. 13B is a diagram schematically illustrating a modification of the second embodiment of the present disclosure.
  • FIG. 14 is a block diagram illustrating an example of a wiper driving device according to the third embodiment of the present disclosure.
  • FIG. 15 is a block diagram illustrating a modified example of the wiper driving device according to the third embodiment of the present disclosure.
  • FIG. 1 is a schematic diagram illustrating a configuration of a wiper device 100 including a wiper driving device 10 according to the present embodiment.
  • the wiper device 100 is, for example, for wiping the windshield glass 12 provided in a vehicle such as a passenger car, and includes a pair of wipers 14, 16, a wiper motor 18, a link mechanism 20, and a wiper driving device 10. And.
  • the wipers 14 and 16 are composed of wiper arms 24 and 26 and wiper blades 28 and 30, respectively.
  • the base end portions of the wiper arms 24 and 26 are respectively fixed to pivot shafts 42 and 44 described later, and the wiper blades 28 and 30 are respectively fixed to the distal end portions of the wiper arms 24 and 26.
  • the wiper blades 28 and 30 reciprocate on the windshield glass 12 as the wiper arms 24 and 26 operate, and the wiper blades 28 and 30 wipe the windshield glass 12.
  • the wiper motor 18 has an output shaft 32 that can rotate forward and reverse via a speed reduction mechanism 52 mainly composed of a worm gear.
  • the link mechanism 20 includes a crank arm 34, a first link rod 36, a pair of pivot levers 38 and 40, a pair of pivot shafts 42 and 44, and a second link rod 46.
  • crank arm 34 is fixed to the output shaft 32, and the other end side of the crank arm 34 is operably connected to one end side of the first link rod 36.
  • the other end side of the first link rod 36 is operatively connected to a position near the end different from the end having the pivot shaft 42 of the pivot lever 38, and the end of the pivot lever 38 having the pivot shaft 42 is connected to the end of the first link rod 36.
  • Both ends of the second link rod 46 are operably connected to different ends and the end of the pivot lever 40 corresponding to the end of the pivot lever 38.
  • the pivot shafts 42 and 44 are operatively supported by a pivot holder (not shown) provided on the vehicle body, and ends of the pivot levers 38 and 40 having the pivot shafts 42 and 44 are interposed via the pivot shafts 42 and 44.
  • the wiper arms 24 and 26 are fixed.
  • the wiper device 100 including the wiper drive device 10 when the output shaft 32 is rotated forward and backward at a rotation angle ⁇ 1 within a predetermined range, the rotational force of the output shaft 32 is transmitted via the link mechanism 20.
  • the wiper blades 28 and 30 are reciprocated between the lower reversal position P2 and the upper reversal position P1 on the windshield glass 12 as the wiper arms 24 and 26 are reciprocated.
  • the value of ⁇ 1 can take various values depending on the configuration of the link mechanism of the wiper drive device 10 and the like, but is 140 ° as an example in the present embodiment.
  • the crank arm 34 and the first link rod 36 is a linear configuration.
  • the storage position P3 is provided below the lower inversion position P2.
  • the wiper blades 28 and 30 are moved to the retracted position P3 by rotating the output shaft 32 by ⁇ 2 from the state where the wiper blades 28 and 30 are in the lower inversion position P2.
  • the value of ⁇ 2 can take various values depending on the configuration of the link mechanism of the wiper drive device 10 and the like, but is 10 ° as an example in the present embodiment.
  • the wiper motor 18 is connected to a wiper motor control circuit 22 for controlling the rotation of the wiper motor 18.
  • the wiper motor control circuit 22 includes a microcomputer and a drive circuit 56 that generates a voltage to be applied to the coil of the wiper motor 18.
  • the microcomputer 58 of the wiper motor control circuit 22 controls the rotation speed of the wiper motor 18 based on the detection result of the rotation angle sensor 54 that detects the rotation speed and rotation angle of the output shaft 32 of the wiper motor 18.
  • the rotation angle sensor 54 is provided in the speed reduction mechanism 52 of the wiper motor 18 and detects a magnetic field (magnetic force) of a sensor magnet that rotates in conjunction with the output shaft 32 by converting it into a current.
  • the rotation speed and rotation angle of the output shaft 32 are not the same as the rotation speed and rotation angle of the wiper motor main body.
  • the wiper motor main body and the speed reduction mechanism 52 are inseparably configured, hereinafter, the rotation speed and rotation angle of the output shaft 32 are regarded as the rotation speed and rotation angle of the wiper motor 18. .
  • the microcomputer 58 can calculate the position of the wiper blades 28 and 30 on the windshield glass 12 and the rotation speed of the output shaft 32 from the rotation angle of the output shaft 32 detected by the rotation angle sensor 54, and outputs it according to the position.
  • the drive circuit 56 is controlled so that the rotational speed of the shaft 32 changes.
  • the drive circuit 56 is a circuit that generates a voltage to be applied to the wiper motor 18 based on the control of the wiper motor control circuit 22, and generates a voltage to be applied to the wiper motor 18 by switching the power of the vehicle battery as a power source.
  • the wiper switch 50 is connected to the microcomputer 58 of the wiper motor control circuit 22 through a main ECU (Electronic Control Unit) 92 that controls the engine of the vehicle.
  • the wiper switch 50 is a switch that turns on or off the power supplied from the vehicle battery to the wiper motor 18.
  • the wiper switch 50 includes a low speed operation mode selection position (LOW) for operating the wiper blades 28 and 30 at a low speed, a high speed operation mode selection position (HIGH) for operating at a high speed, and an intermittent operation mode selection for intermittent operation at a constant cycle.
  • the position (INT) can be switched to an AUTO (auto) operation mode selection position (AUTO) and a stop mode selection position (OFF) that are operated when the rain sensor 98 detects a water droplet.
  • a command signal for rotating the wiper motor 18 according to the selected position in each mode is output to the microcomputer 58 via the main ECU 92.
  • the wiper switch 50 rotates the wiper motor 18 at a high speed at the high speed operation mode selection position, rotates the wiper motor 18 at a low speed at the low speed operation mode selection position, and intermittently rotates the wiper motor 18 at the intermittent operation mode selection position.
  • the microcomputer 58 When a signal output from the wiper switch 50 according to the selected position of each mode is input to the microcomputer 58 via the main ECU 92, the microcomputer 58 performs control corresponding to the command signal from the wiper switch 50. Specifically, the microcomputer 58 controls the voltage applied to the wiper motor 18 based on the command signal from the wiper switch 50 so that the wiper blades 28 and 30 are operated at a desired reciprocating wiping cycle.
  • a rain sensor 98 that detects water on the surface of the windshield glass 12 and outputs a signal corresponding to the amount of water on the surface of the windshield glass 12 is provided on the surface of the windshield glass 12 on the vehicle interior side. It is connected to the microcomputer 58 via the ECU 92.
  • the rain sensor 98 includes, for example, an LED that is an infrared light emitting element, a photodiode that is a light receiving element, a lens that forms an infrared optical path, and a control circuit.
  • the infrared rays emitted from the LED are totally reflected by the windshield glass 12, but if there are water droplets (moisture) on the surface of the windshield glass 12, some of the infrared rays pass through the water droplets and are emitted to the outside.
  • the amount of reflection at the glass 12 is reduced.
  • the amount of light entering the photodiode that is the light receiving element is reduced.
  • the amount of rain is calculated from the amount of decrease in the amount of infrared light received by the photodiode, and the wiper driving device 10 is controlled.
  • an in-vehicle camera 94 that acquires image data in front of the vehicle is provided on the vehicle interior side of the windshield glass 12.
  • the image data acquired by the in-vehicle camera 94 is used for controlling automatic driving of the vehicle.
  • the in-vehicle camera 94 according to the present embodiment is a so-called stereo camera that includes a right imaging unit 94R and a left imaging unit 94L so that the distance to the subject can be calculated from the acquired image data. If the vehicle includes a device that can separately detect an obstacle in front of the vehicle such as a millimeter wave radar and detect the distance to the obstacle, the in-vehicle camera may not be a stereo camera.
  • the rain sensor 98 and the vehicle-mounted camera 94 are connected to the main ECU 92.
  • the main ECU 92 outputs a command signal for operating the wiper driving device 10 to the wiper motor control circuit 22 based on the signal output from the rain sensor 98, and performs automatic driving of the vehicle based on the image data acquired by the in-vehicle camera 94. Control.
  • the rain sensor 98 and the in-vehicle camera 94 are provided in a functional area 96 near the upper center of the windshield glass 12.
  • the functional area 96 is a predetermined range that can cover the detection range of the rain sensor 98 and the field of view of the in-vehicle camera 94.
  • FIG. 2 is a block diagram showing an outline of an example of the configuration of the wiper drive device 10 according to the present embodiment.
  • the wiper drive device 10 shown in FIG. 2 includes a drive circuit 56 that generates a voltage to be applied to the winding terminal of the wiper motor 18, and a microcomputer 58 that controls on and off of switching elements constituting the drive circuit 56. And a wiper motor control circuit 22.
  • the power of the battery 80 is supplied to the microcomputer 58 via the diode 68, and the voltage of the power supplied from the battery 80 is supplied by a voltage detection circuit 60 provided between the diode 68 and the microcomputer 58. The detection result is output to the microcomputer 58.
  • an electrolytic capacitor C1 having one end connected between the diode 68 and the microcomputer 58 and the other end ( ⁇ ) grounded is provided.
  • the electrolytic capacitor C1 is a capacitor for stabilizing the power supply of the microcomputer 58.
  • the electrolytic capacitor C1 protects the microcomputer 58 by storing a sudden high voltage such as a surge and discharging it to the ground region.
  • the microcomputer 58 receives a signal for instructing the rotational speed of the wiper motor 18 from the wiper switch 50 via the signal input circuit 62 and the main ECU 92 and the signal input circuit 62.
  • the microcomputer 58 is connected to a rotation angle sensor 54 that detects a magnetic field of the sensor magnet 70 that changes in accordance with the rotation of the output shaft 32.
  • the microcomputer 58 specifies the position of the wiper blades 28 and 30 on the windshield glass 12 by calculating the rotation angle of the output shaft based on the signal output from the rotation angle sensor 54.
  • the microcomputer 58 refers to the rotation speed data of the wiper motor 18 defined according to the position of the wiper blades 28 and 30 stored in the memory 48, and the rotation of the wiper motor 18 determines the specified wiper blade 28. , The drive circuit 56 is controlled so that the number of rotations corresponds to the position of 30.
  • the drive circuit 56 includes a pre-driver 56A that generates a drive signal for turning on and off the switching element of the voltage generation circuit 56B from the control signal of the drive circuit 56 output from the microcomputer 58, and a switching element according to the drive signal output from the pre-driver 56A. And a voltage generation circuit 56B that generates a voltage to be applied to the coil of the wiper motor 18 by operating the.
  • the drive circuit 56 has a different configuration depending on whether the wiper motor 18 is a brushless motor or a brushed motor, as will be described later.
  • a reverse connection protection circuit 64 and a noise prevention coil 66 are provided between the battery 80 as a power source and the drive circuit 56, and the electrolytic capacitor C ⁇ b> 2 is parallel to the drive circuit 56. Is provided.
  • the noise prevention coil 66 is an element for suppressing noise generated by switching of the drive circuit 56.
  • the electrolytic capacitor C2 mitigates noise generated from the drive circuit 56, accumulates a sudden high voltage such as a surge, and discharges it to the ground region, thereby preventing an excessive current from being input to the drive circuit 56. It is an element for.
  • the reverse connection protection circuit 64 is a circuit for protecting the elements constituting the wiper driving device 10 when the positive electrode and the negative electrode of the battery 80 are connected in the reverse direction as shown in FIG.
  • the reverse connection protection circuit 64 is configured by a so-called diode-connected FET or the like in which its drain and gate are connected.
  • a chip thermistor RT that detects the temperature of the substrate as a resistance value is mounted on the substrate of the wiper driving apparatus 10 according to the present embodiment.
  • the chip thermistor RT used in the present embodiment is an NTC thermistor whose resistance decreases with increasing temperature.
  • NTC is an abbreviation for Negative Temperature Coefficient.
  • PTC is an abbreviation for Positive Temperature Coefficient.
  • the chip thermistor RT constitutes a kind of voltage dividing circuit, and a voltage that changes based on the resistance value of the chip thermistor RT is output from the output terminal of the voltage dividing circuit constituted by the chip thermistor RT.
  • the microcomputer 58 calculates the temperature of the substrate of the wiper driving device 10 based on the voltage output from the output terminal of the voltage dividing circuit constituted by the chip thermistor RT, and when the temperature exceeds a predetermined threshold temperature. As will be described later, a process for stopping the operation of the wiper driving device 10 is performed.
  • a current detection unit 82 for detecting the current of the voltage generation circuit 56B is provided between each source of the switching elements constituting the voltage generation circuit 56B and the battery 80.
  • the current detector 82 detects a potential difference between both ends of the shunt resistor 82A having a resistance value of about 0.2 m ⁇ to several ⁇ and the shunt resistor 82A that changes according to the current of the voltage generation circuit 56B, and outputs a signal of the detected potential difference.
  • an amplifier 82B for amplification The microcomputer 58 calculates the current value of the voltage generation circuit 56B from the signal output from the amplifier 82B, and stops the operation of the wiper driving device 10 as described later when the current value exceeds a predetermined threshold value. Process.
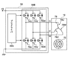
  • FIG. 3 is a block diagram showing an example of the drive circuit 56 when the wiper motor 18 is a brushless motor.
  • the voltage generation circuit 56B includes a three-phase (U-phase, V-phase, W-phase) inverter.
  • the rotation control of the wiper motor 18 When the wiper motor 18 is a brushless motor, the rotation control of the wiper motor 18 generates a voltage approximate to a three-phase alternating current with a phase corresponding to the position of the magnetic pole of the permanent magnet of the rotating rotor 72, and coils 78 U and 78 V of the stator 78. , 78 W must be applied.
  • a rotating magnetic field that rotates the rotor 72 is generated in the coils 78U, 78V, and 78W to which the voltage is applied, and the rotor 72 rotates according to the rotating magnetic field.
  • the position of the magnetic pole of the rotor 72 is determined by detecting a change in the magnetic field of the rotor 72 or a sensor magnet having a magnetic pole corresponding to the rotor 72 with a Hall sensor or the like (not shown) using a Hall element.
  • the microcomputer 58 calculates.
  • the microcomputer 58 receives a signal for instructing the rotational speed of the wiper motor 18 (rotor 72) from the wiper switch 50 via the main ECU 92.
  • the microcomputer 58 calculates the phase of the voltage applied to the coil of the wiper motor 18 based on the position of the magnetic pole of the rotor 72, and is driven based on the calculated phase and the rotation speed of the rotor 72 indicated by the wiper switch 50.
  • a control signal for controlling the circuit 56 is generated and output to the pre-driver 56A.
  • the pre-driver 56A generates a drive signal for operating the switching element of the voltage generation circuit 56B based on the input control signal, and outputs the drive signal to the voltage generation circuit 56B.
  • the voltage generation circuit 56B includes three N-type field effect transistors (FETs) 74U, 74V, and 74W (hereinafter referred to as FETs 74U, 74V, and 74W) each serving as an upper stage switching element.
  • FETs 74U, 74V, and 74W Three N-type field effect transistors 76U, 76V, and 76W (hereinafter referred to as FETs 76U, 76V, and 76W) as lower-stage switching elements are provided.
  • FET74 The FETs 74U, 74V, and 74W and the FETs 76U, 76V, and 76W are collectively referred to as “FET74” and “FET76” when they do not need to be distinguished from each other, and “U” when they need to be distinguished from each other. , “V”, “W” are attached with symbols.
  • the source of the FET 74U and the drain of the FET 76U are connected to the terminal of the coil 78U
  • the source of the FET 74V and the drain of the FET 76V are connected to the terminal of the coil 78V
  • the source of the FET 74W and the FET 76W is connected to the terminal of the coil 78W.
  • the gates of the FET 74 and FET 76 are connected to the pre-driver 56A, and a drive signal is input.
  • the FET 74 and the FET 76 are turned on when an H level drive signal is input to the gate, and current flows from the drain to the source. Further, when an L level drive signal is input to the gate, the transistor is turned off and no current flows from the drain to the source.
  • Each of the FETs 74 and 76 of the voltage generation circuit 56B is changed according to the position of the magnetic pole of the rotor 72 by PWM for turning on and off according to the drive signal, and the rotor 72 is rotated at the rotation speed designated by the wiper switch 50.
  • the voltage to be generated is generated.
  • PWM is an abbreviation for Pulse Width Modulation.
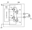
  • FIG. 4 is a block diagram showing an example of the drive circuit 56 when the wiper motor 18 is a brush motor.
  • the voltage generation circuit 56B uses transistors T1, T2, T3, and T4, which are N-type FETs, as switching elements.
  • the drains of the transistors T1 and T2 are connected to the battery 80 via the noise prevention coil 66, and the sources are connected to the drains of the transistors T3 and T4, respectively.
  • the sources of the transistors T3 and T4 are grounded.
  • the source of the transistor T1 and the drain of the transistor T3 are connected to one end of the winding of the wiper motor 18, and the source of the transistor T2 and the drain of the transistor T4 are connected to the other end of the winding of the wiper motor 18. .
  • the transistors T1 and T4 When an H level drive signal is input to the gates of the transistors T1 and T4, the transistors T1 and T4 are turned on, and the wiper motor 18 has a clock when the wiper blades 28 and 30 are viewed from the passenger compartment side, for example. A current for operating around flows. Further, when one of the transistor T1 and the transistor T4 is on-controlled, the other voltage is controlled on and off by PWM, whereby the voltage of the current can be modulated.
  • the transistors T2 and T3 are turned on, and the wiper motor 18 sees, for example, the wiper blades 28 and 30 from the passenger compartment side. Current flows to operate counterclockwise. Further, when one of the transistor T2 and the transistor T3 is on-controlled, the other voltage is controlled on and off by PWM, whereby the voltage of the current can be modulated.
  • FIG. 5 is a flowchart showing an example of the wiper retracting process of the wiper driving apparatus 10 according to the present embodiment.
  • the abnormality information of the wiper drive device 10 is acquired.
  • the abnormality information that can be acquired is, for example, when the temperature of the substrate of the wiper driving device 10 detected by the chip thermistor RT exceeds a predetermined threshold temperature or when the current of the voltage generation circuit 56B detected by the current detection unit 82 is a predetermined value. For example, when the threshold current is exceeded.
  • information on the power supply voltage supplied to the wiper drive device 10 is acquired from the information of SOC (State Of Charge) that is the amount of power stored in the battery 80 and the voltage detection circuit 60 via the main ECU.
  • the main ECU is connected to a charge / discharge control device (not shown) of the battery 80 and acquires information on the SOC of the battery 80 from the charge / discharge control device.
  • S504 it is determined whether or not the wiper drive device 10 needs to be stopped based on the acquired abnormality information, SOC information, and power supply voltage information. For example, when the current of the voltage generation circuit 56B exceeds a predetermined threshold current, when the temperature of the substrate of the wiper driving device 10 exceeds a predetermined threshold temperature, when the SOC is equal to or lower than a predetermined reference value, the power supply voltage is predetermined. When the value is equal to or lower than the lower limit value, an affirmative determination is made that an abnormality that hinders the wiping operation of the wiper drive device 10 has occurred. If a negative determination is made in S504, the process is returned.
  • step S506 it is determined in step S506 whether the wiper blades 28 and 30 are likely to stop in the functional area 96.
  • the rotational speed of the output shaft 32 related to the position of the wiper blades 28 and 30 on the windshield glass 12 and the wiping speed is calculated from the rotational angle of the output shaft 32 detected by the rotational angle sensor 54.
  • the microcomputer 58 determines whether or not the stop position of the wiper blades 28 and 30 is within the function area 96 from the current positions of the wiper blades 28 and 30 and the rotation speed of the output shaft 32.
  • FIG. 6 is a flowchart showing an example of wiper evacuation processing during automatic driving of the vehicle.
  • automatic driving information such as image information for automatic driving is acquired from the in-vehicle camera 94 or the like.
  • the abnormality information of the wiper drive device 10 is acquired.
  • the abnormality information that can be acquired is, for example, when the temperature of the substrate of the wiper driving device 10 detected by the chip thermistor RT exceeds a predetermined threshold temperature or when the current of the voltage generation circuit 56B detected by the current detection unit 82 is a predetermined value. For example, when the threshold current is exceeded.
  • step S604 information on the power supply voltage supplied to the wiper drive device 10 is acquired from the information on the SOC (State Of Charge) that is the amount of power stored in the battery 80 and the voltage detection circuit 60 via the main ECU.
  • SOC State Of Charge
  • step S608 it is determined in step S608 whether or not the wiper driving device 10 needs to be stopped based on the acquired abnormality information, SOC information, and power supply voltage information. For example, when the current of the voltage generation circuit 56B exceeds a predetermined threshold current, when the temperature of the substrate of the wiper driving device 10 exceeds a predetermined threshold temperature, when the SOC is equal to or lower than a predetermined reference value, the power supply voltage is predetermined. When the value is equal to or lower than the lower limit value, an affirmative determination is made that an abnormality that hinders the wiping operation of the wiper drive device 10 has occurred. If a negative determination is made in S608, the process is returned.
  • step S610 it is determined in step S610 whether the wiper blades 28 and 30 are likely to stop within the functional area 96.
  • FIG. 7 is an example of a speed map 102 in which the rotational speed of the output shaft 32 of the wiper motor 18 in the wiper drive device 10 according to the present embodiment is determined in advance according to the position of the wiper blades 28 and 30 on the windshield glass 12. is there.
  • FIG. 7 shows the speed map 102 in the fast operating mode.
  • the rotation speed of the output shaft 32 gradually increases from “0”.
  • the rotational speed of the output shaft 32 decreases as the wiper blades 28 and 30 approach the upper inversion position P1, and then the upper inversion position P1.
  • the rotation speed of the output shaft 32 becomes “0”.
  • the microcomputer 58 refers to the speed map 102 and a speed map 112 to be described later according to the positions of the wiper blades 28 and 30 on the windshield glass 12 based on the rotation angle of the output shaft 32 detected by the rotation angle sensor 54.
  • the control for causing the drive circuit 56 to generate a voltage for rotating the output shaft 32 at the rotation speed is executed.
  • FIG. 7A is a speed map related to the wiper blade 28 for wiping the left side of the windshield glass 12 as viewed from the passenger compartment.
  • FIG. 7B is a view of the windshield glass 12 as viewed from the passenger compartment. It is a speed map which concerns on the wiper blade 30 which wipes off the right side.
  • the wiper blades 28 and 30 are wiped with one output shaft 32, so the speed maps 102 shown in FIGS. 7A and 7B are the same.
  • FIG. 7A is a range in which the wiper blade 28 may interfere with the functional area 96.
  • FIG. R 2 in FIG. 7B is a range where the wiper blade 30 may interfere with the functional area 96. Therefore, in the present embodiment, control is performed so that the wiper blades 28 and 30 do not stop within the range of R3 including R1 and R2.
  • the resistance of the wiper blades 28 and 30 to the windshield glass 12 surface during the wiping operation is affected by the presence or absence of water droplets on the surface of the windshield glass 12.
  • the resistance of the wiping operation of the wiper blades 28 and 30 is reduced.
  • the wiper blades 28 and 30 The resistance of the wiping action increases.
  • the time from when the power supply to the wiper motor 18 is stopped until the wiper blades 28 and 30 are actually stopped is longer than when the resistance of the wiping operation is large. Further, when the resistance of the wiping operation is large, the time from when the power supply to the wiper motor 18 is stopped until the wiper blades 28 and 30 are actually stopped is shorter than when the resistance of the wiping operation is small.
  • the microcomputer 58 estimates the stop position of the wiper blades 28 and 30 from the current position of the wiper blades 28 and 30 and the rotational speed of the output shaft 32 related to the wiping speed of the wiper blades 28 and 30.
  • the length of the stop time depending on the presence or absence of water droplets on the windshield glass 12 is also taken into account in estimating the stop position.
  • the rain sensor 98 detects water droplets on the surface of the windshield glass 12, and the wiper blades 28 and 30 are powered during the wiping operation from the lower inversion position P2 to the upper inversion position P1 in the high speed operation mode.
  • the position of the wiper blades 28 and 30 when the abnormal stop occurs may be before the stop limit point 108W or between the stop limit point 110W and the upper reverse position P1. For example, it is determined that the wiper arms 24 and 26 and the wiper blades 28 and 30 do not interfere with the functional area 96.
  • the wiper motor 18 abnormally stops while the wiper blades 28 and 30 are wiping from the lower inversion position P2 to the upper inversion position P1 in the high speed operation mode. If the position of the wiper blades 28, 30 when an abnormal stop occurs is before the stop limit point 108D or between the stop limit point 110D and the upper reversal position P1, the wiper arms 24, 26 and the wiper blades 28, 30 are provided. Is determined not to interfere with the functional area 96.
  • the rain sensor 98 detects water droplets on the surface of the windshield glass 12, and the wiper blades 28 and 30 are wiping from the lower inversion position P2 to the upper inversion position P1 in the high speed operation mode. If the wiper motor 18 is abnormally stopped due to an abnormality in the power supply voltage or the like, and the wiper blades 28 and 30 are located between the stop limit point 108W and the stop limit point 110W when the abnormal stop occurs, the wiper blade 28 , 30 are determined to interfere with the functional area 96.
  • the wiper motor 18 abnormally stops while the wiper blades 28 and 30 are wiping from the lower inversion position P2 to the upper inversion position P1 in the high speed operation mode. If the position of the wiper blades 28 and 30 when an abnormal stop occurs is between the stop limit point 108D and the stop limit point 110D, the wiper arms 24 and 26 and the wiper blades 28 and 30 interfere with the functional area 96. judge.
  • the wiper motor 18 when it is determined that the wiper blades 28 and 30 interfere with the functional area 96, for example, the wiper motor 18 is rotated until the wiper blades 28 and 30 reach the upper reversal position P1, and the wiper arm 24 is rotated. , 26 and wiper blades 28, 30 are prevented from interfering with the functional area 96.
  • the rotation of the wiper motor 18 is suddenly stopped by brake energization, which will be described later, to prevent the wiper arms 24 and 26 and the wiper blades 28 and 30 from interfering with the functional area 96.
  • the rotational speed of the output shaft 32 is reduced by the deceleration maps 104W, 104D, 106W, and 106D shown in FIG. 7 so that the wiper arms 24 and 26 and the wiper blades 28 and 30 are provided in the function area 96. You may stop so that it may not interfere.
  • the stop position of the wiper blades 28, 30 is determined from the current position of the wiper blades 28, 30 and the rotational speed of the output shaft 32 related to the wiping speed of the wiper blades 28, 30. Has substantially the same effect as the determination of whether or not it interferes with the functional area 96.
  • the wiper blades 28 and 30 stop the wiping operation due to an abnormality in the power supply voltage or the like during the wiping operation from the lower inversion position P2 to the upper inversion position P1, water drops are detected on the surface of the windshield glass 12 by the rain sensor 98.
  • the rotational speed of the output shaft 32 is reduced by the deceleration map 104W, and the wiper arms 24 and 26 and the wiper blades 28 and 30 are moved to the function area 96. Stop so as not to interfere.
  • the rain sensor 98 causes water droplets to be applied to the surface of the windshield glass 12. If not detected, the rotational speed of the output shaft 32 is reduced by the deceleration map 104D before the wiper blades 28 and 30 reach the stop limit point 108D closer to the upper reversal position P1 than the stop limit point 108W. The wiper arms 24 and 26 and the wiper blades 28 and 30 are stopped so as not to interfere with the functional area 96.
  • the microcomputer 58 determines that the wiping operation of the wiper blades 28 and 30 is stopped due to an abnormality in the power supply voltage or the like, the timing when the wiper blades 28 and 30 approach the upper inversion position P1 beyond the stop limit point 108W.
  • the wiper blades 28, 30 exceed the stop limit point 110W, the rotational speed of the output shaft 32 is reduced by the deceleration map 106W, and the wiper arms 24, 26 and the wiper blades 28, 30 do not interfere with the functional area 96. To stop.
  • the wiper when the timing at which the microcomputer 58 determines that the wiping operation of the wiper blades 28 and 30 is stopped is the timing at which the wiper blades 28 and 30 approach the upper inversion position P1 beyond the stop limit point 108D, the wiper When the blades 28 and 30 exceed the stop limit point 110D, the rotational speed of the output shaft 32 is reduced by the deceleration map 106D and stopped so that the wiper arms 24 and 26 and the wiper blades 28 and 30 do not interfere with the functional area 96. To do.
  • FIG. 8 is an example of an explanatory diagram in which the speed map 102 in the low speed operation mode is compared with the speed map 102 in the high speed operation mode.
  • the rotation speed of the output shaft 32 is suppressed lower than that in the speed map 102 in the high speed operation mode.
  • the rain sensor 98 detects water droplets on the surface of the windshield glass 12, and the wiper blades 28 and 30 are powered during the wiping operation from the lower inversion position P2 to the upper inversion position P1 in the low speed operation mode.
  • the position of the wiper blades 28 and 30 when the abnormal stop occurs may be before the stop limit point 108WL or between the stop limit point 110WL and the upper inversion position P1. For example, it is determined that the wiper arms 24 and 26 and the wiper blades 28 and 30 do not interfere with the functional area 96.
  • the rain sensor 98 detects water droplets on the surface of the windshield glass 12, and the wiper blades 28 and 30 are wiping from the lower inversion position P2 to the upper inversion position P1 in the low speed operation mode. If the wiper motor 18 is abnormally stopped due to an abnormality in the power supply voltage or the like, and the wiper blades 28 and 30 are located between the stop limit point 108WL and the stop limit point 110WL when the abnormal stop occurs, the wiper arm 24, 26 and wiper blades 28 and 30 are determined to interfere with the functional area 96.
  • the wiper motor 18 when it is determined that the wiper arms 24 and 26 and the wiper blades 28 and 30 interfere with the functional area 96, for example, the wiper motor 18 is rotated until the wiper blades 28 and 30 reach near the upper reverse position P1. Thus, the wiper arms 24 and 26 and the wiper blades 28 and 30 are prevented from interfering with the functional area 96.
  • the rotation of the wiper motor 18 is suddenly stopped by brake energization, which will be described later, to prevent the wiper arms 24 and 26 and the wiper blades 28 and 30 from interfering with the functional area 96.
  • the wiper blades 28 and 30 perform the wiping operation due to an abnormality in the power supply voltage or the like during the wiping operation of the windshield glass 12 where water droplets are present in the low speed operation mode from the lower inversion position P2 to the upper inversion position P1.
  • the rotational speed of the output shaft 32 is reduced by the deceleration map 104WL, so that the wiper arms 24, 26 and the wiper blades 28, 30 are in the functional area 96. Stop so as not to interfere with.
  • the wiper blades 28 and 30 are wiped by the abnormality of the power supply voltage or the like during the wiping operation of the windshield glass 12 with water droplets in the low speed operation mode from the lower inversion position P2 to the upper inversion position P1.
  • the microcomputer 58 determines that the wiper blades 28 and 30 have approached the upper inversion position P1 beyond the stop limit point 108WL and the wiper blades 28 and 30 have set the stop limit point 110WL.
  • the rotational speed of the output shaft 32 is reduced by the deceleration map 106WL, and the wiper arms 24 and 26 and the wiper blades 28 and 30 are stopped so as not to interfere with the functional area 96.
  • the deceleration map 104WL in the low speed operation mode may be determined so as to be partially in common with the deceleration map 104W in the high speed operation mode. However, like the deceleration map 106WL shown in FIG. It may be determined in a mode different from the deceleration map 106W and optimized for deceleration in the low speed operation mode.
  • the wiper motor 18 is abnormally stopped based on the stop limit points 108D, 108W, 108WL, 110D, 110W, and 110WL determined according to the wiping speed and the presence or absence of water droplets on the surface of the windshield glass 12.
  • the stop limit point is determined based on the rotation speed of the wiper motor 18 (ie, the wiping speed), the rotation angle (ie, the position of the wiper blades 28 and 30), the wetness of the windshield glass 12, and the vehicle speed (ie, the degree of traveling wind). May be determined in advance.
  • the stop limit point may be stored in the memory 48 as a threshold value for determining whether or not the wiper arms 24 and 26 and the wiper blades 28 and 30 enter the functional area 96 and stop.
  • the wiping operation of the wiper blades 28 and 30 is actively braked by using a brake energization or a regenerative brake together.
  • Brake energization can be executed by short-circuiting the brushes of the wiper motor 18 if the wiper motor 18 is a motor with a brush. Specifically, the transistor T1 and the transistor T2 of the voltage generation circuit 56B shown in FIG. 4 constituting the H-bridge circuit are turned on, and the transistor T3 and the transistor T4 are turned off.
  • the energization of the brake can be performed even if the transistors T3 and T4 of the voltage generation circuit 56B shown in FIG. 4 are turned on and the transistors T1 and T2 are turned off.
  • Brake energization can be performed by short-circuiting the phases of the wiper motor 18 if the wiper motor 18 is a brushless motor. Specifically, the FET 74U, FET 74V, and FET 74W of the voltage generation circuit 56B shown in FIG. 3 constituting the three-phase inverter are turned on, and the FET 76U, FET 76V, and FET 76W are turned off.
  • the energization of the brake can be performed even if the FETs 76U, 76V, and 76W of the voltage generation circuit 56B shown in FIG. 3 are turned on and the FETs 74U, 74V, and 74W are turned off.
  • the transistors T1 to T4 of the voltage generation circuit 56B shown in FIG. 3 are switched so as to rotate the wiper motor 18 in a direction opposite to the rotation direction before braking. 18 is energized in the direction opposite to that before braking (reverse energization). Specifically, when the transistor T1 and the transistor T4 are turned on, and the wiper motor 18 is rotated with the transistors T2 and T3 turned off, the transistors T2 and T3 are turned on and the transistors T1 and T3 are turned on. Regenerative braking is executed by turning off the transistors T4.
  • the regenerative brake performs reverse energization even when the wiper motor 18 is a brushless motor, but the brushless motor requires reverse energization to each phase in accordance with the rotational speed of the rotor 72.
  • FIG. 9A is a time chart showing an example of energization timing when the brushless motor is rotated.
  • Energizations 122U, 122V, and 122W and energizations 124U, 124V, and 124W indicated by rectangles in FIG. 9A indicate timings when the coils 78U, 78V, and 78W are energized.
  • energizations 122U, 122V, 122W, 124U, 124V, 124W, 126U, 126V, 126W, 128U, 128V, and 128W are shown as rectangles for convenience.
  • a pulse-modulated voltage is applied to the coils 78U, 78V, 78W.
  • the unit time (for example, between time t0 and time t1) of FIG. 9A and FIG. 9A is a timing corresponding to the position of the magnetic pole of the rotor 72 detected by a Hall sensor or the like (not shown).
  • the FET 74W and the FET 76V are turned on, and the coil 78W is energized to the coil 78V.
  • the FET 74U and the FET 76V are turned on, and the coil 78U is energized from the coil 78V.
  • the FET 74U and the FET 76W are turned on, and the coil 78U is energized from the coil 78W.
  • the FET 74V and the FET 76W are turned on, and the coil 78V is energized from the coil 78W.
  • FIG. 9B is a time chart showing an example of the timing of reverse energization to the brushless motor during regenerative braking.
  • the energization direction shown in FIG. 9B is opposite to the energization direction shown in FIG. 9A. Specifically, from time t0 to time t1, the FET 74V and the FET 76W are turned on, and the coil 78V is energized from the coil 78W. From time t1 to time t2, the FET 74V and the FET 76U are turned on, and the coil 78V is energized from the coil 78U.
  • Regenerative braking causes the wiper motor 18 to function as a generator, thus generating electric power.
  • the generated electric power is used for charging the battery 80.
  • the generated electric power may be consumed by an element such as a resistor.
  • the wiper blades 28 and 30 are positioned outside the functional area 96 due to the inertia of the wiping operation of the wiper blades 28 and 30 after the energization to the wiper motor 18 is stopped, the above-described brake energization or regenerative braking is performed to perform the wiper blade 28. , 30 may be stopped.
  • the wiper blades 28 and 30 when the wiping operation of the wiper blades 28 and 30 is stopped due to an abnormality in the power supply voltage or the like, the deceleration maps 104D, 104W, 104WL, and 106D shown in FIGS. 106W and 106WL, the wiper blades 28 and 30 are stopped so as to avoid the functional area 96 where the in-vehicle camera 94 is provided, so that the wiper blade can be stopped so as not to obstruct the field of view of the in-vehicle camera 94.
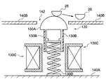
  • the protrusion member 130 when the wiping operation of the wiper blades 28 and 30 is stopped due to an abnormality in the power supply voltage or the like, the protrusion member 130 is protruded when stopped, and the wiper arm 26 is repelled by the protrusion member 130 when stopped. Is prevented from interfering with the functional area 96.
  • FIG. 11A shows an example of the state of the protruding member 130 when stopped when the wiper blades 28 and 30 are wiping
  • FIG. 11B shows an example of the state of the protruding member 130 when stopped when the wiper blades 28 and 30 are stopped. It is the shown schematic.
  • the solenoid 130C is energized to attract the magnetic body 130B disposed on the protrusion 130A, so that the spring 130D is applied to the vehicle structure 140A.
  • the projecting body 130A to which the spring 130D is connected and compressed is stored in the vehicle side inside of the opening 142 provided in the vehicle structure 140B.
  • the energization to the solenoid 130C is stopped to release the restraint of the protrusion 130A due to the magnetic force of the solenoid 130C.
  • the protrusion 130 ⁇ / b> A protrudes from the opening 142 due to the elastic force (biasing force) of the spring 130 ⁇ / b> D that is an urging member, repels the wiper arm 26, and prevents the wiper blades 28 and 30 from interfering with the functional area 96.
  • the top of the projecting body 130A has a substantially hemispherical shape, but the top may have a so-called wedge shape with a triangular cross section.
  • the same configuration as that of the protrusion member 130 at the time of stop may be provided not only on the wiper arm 26 side but also on the wiper arm 24 side.
  • a stop-time protruding member 132 may be provided on the pivot lever 40 as shown by a broken line in FIG.
  • the pivot lever 38 may be provided.
  • FIG. 12 is a block diagram showing an outline of an example of the configuration of the wiper drive device 200 according to the present embodiment.
  • the wiper drive device 200 shown in FIG. 12 includes the wiper drive device 10 according to the first embodiment in that the wiper drive device 200 includes a solenoid 130C related to the operation of the projecting member 130 when stopped, and a solenoid switch 130E that turns on and off the energization of the solenoid 130C.
  • the other configuration is the same as that of the first embodiment, and a detailed description of the other configuration is omitted.
  • the microcomputer 58 turns off the solenoid switch 130E when stopping the wiping operation of the wiper blades 28 and 30 due to an abnormality in the power supply voltage or the like. As a result, the restraint of the projecting body 130A by the magnetic force of the solenoid 130C is released, and the projecting body 130A projects from the opening 142 by the elasticity of the spring 130D.
  • FIG. 13A and FIG. 13B are schematic diagrams showing a modification of the present embodiment.
  • the vicinity of the pivot shaft 44 of the wiper arm 26 and the vehicle structure 140B are connected by a spring 144.
  • the elastic force of the spring 144 allows the wiper blades 28 and 30 to move the functional area 96 when the wiping operation is stopped. Prevent interference.
  • one end of the pivot lever 40 and the vehicle structure 140B are connected by a spring 146, and the wiper blades 28 and 30 move the functional area 96 when the wiping operation is stopped by the elasticity of the spring 146. Interference may be prevented.
  • the wiper blades 28 and 30 can be wiped when the wiping operation is stopped due to abnormal power supply voltage or the like. It is possible to prevent the blades 28 and 30 from interfering with the functional area 96 more reliably than in the first embodiment.
  • FIG. 14 is a block diagram showing an example of a wiper driving device 300 according to the present embodiment.
  • This embodiment is different from the first embodiment in that it includes an auxiliary power supply 150 that is a capacitor or a secondary battery, and switches 152 and 154, but the other configurations are the same as those of the first embodiment.
  • the microcomputer 158 turns on the switch 152 and the switch 154 to supply the power of the battery 80 as the main power source to the wiper motor 18 and charges the auxiliary power source 150.
  • the microcomputer 158 When the wiping operation of the wiper blades 28 and 30 is stopped due to a power supply voltage abnormality or the like, if the stop position of the wiper blades 28 and 30 detected by the rotation angle sensor 54 interferes with the function area 96, the microcomputer 158 The switch 152 is turned off and the switch 154 is turned on to supply the power of the auxiliary power supply 150 to the wiper motor 18 to rotate the wiper motor 18 so that the wiper blades 28 and 30 move out of the functional area 96.
  • the microcomputer 158 wipes with the power of the auxiliary power supply 150 or the battery 80.
  • the blades 28 and 30 may be moved outside the functional area 96.
  • an auxiliary power source 160 shared with other components 170 such as an auxiliary machine, a light, and an air conditioner may be provided.
  • the microcomputer 258 turns on the switch 162 and turns off the switch 164 to supply the power of the battery 80 as the main power source to the wiper motor 18 and other components 170.
  • the switch 162 When the wiping operation of the wiper blades 28 and 30 is stopped due to a power supply voltage abnormality or the like, if the stop position of the wiper blades 28 and 30 detected by the rotation angle sensor 54 interferes with the function area 96, the switch 162 is set. In addition to turning off the switch 164, the power of the auxiliary power supply 160 is supplied to the wiper motor 18, and the wiper motor 18 is rotated so that the wiper blades 28 and 30 move outside the functional area 96.
  • a mode in which the wiper blades 28 and 30 are moved outside the functional area by the power of the auxiliary power supply 150 or the auxiliary power supply 160 is as follows.
  • the microcomputers 158 and 258 are voltages that reversely rotate the output shaft 32 with respect to the current rotation direction from the power of the auxiliary power supplies 150 and 160. Is generated by the drive circuit 56, and the rotation of the output shaft 32 is suddenly braked.
  • the microcomputer 158 and 258 causes the drive circuit 56 to generate a voltage for rotating the output shaft 32 in the current rotation direction from the power of the auxiliary power sources 150 and 160.
  • the wiper blades 28 and 30 are moved to areas other than the function area 96.
  • the wiper motor 18 is driven by the auxiliary power supplies 150 and 160. By actuating, it is possible to prevent the wiper blades 28 and 30 from interfering with the functional area.
  • the wiper driving device wipes a region including a photographing region of the windshield included in the field of view of the camera that photographs a predetermined photographing range around the vehicle through the windshield.
  • the wiper blade should be And a stop section for stopping in the outside area.
  • the wiper blade when an abnormality that prevents the wiping operation occurs, the wiper blade is controlled so that the wiper blade stops outside the shooting area on the windshield so as not to obstruct the field of view of the camera. Can be stopped.
  • the stop unit continues the wiping operation until the wiper blade moves out of the imaging area when the wiper blade is located in the imaging area. After controlling the driving unit, the wiper blade may be stopped.
  • the wiper blade can be stopped so as not to obstruct the field of view of the camera by continuing the wiping operation until the wiper blade moves out of the imaging region.
  • the drive unit includes a wiper motor whose output shaft is coupled to the wiper blade, and a power supply unit that supplies power for causing the wiper motor to wipe the wiper blade
  • the stop unit includes the wiper motor.
  • An angle detection unit that detects the rotation angle of the output shaft, an abnormality detection unit that detects whether or not an abnormality that interferes with the wiping operation has occurred, and the wiper blade position and wiping speed from the rotation angle detected by the angle detection unit
  • the wiper blade is moved outside the imaged area of the windshield based on the wiper blade position and wiping speed derived by the derivation unit.
  • a stop control unit that controls the power supply unit to stop the power supply unit.
  • the field of view of the camera is not obstructed by controlling the power supply unit so that the wiper blade is stopped outside the imaged area of the windshield based on the wiping speed and the position of the wiper blade. So that the wiper blade can be stopped.
  • the stop control unit may execute control to decelerate and stop the rotation of the output shaft when the wiper blade is stopped in an area outside the imaging area of the windshield.
  • the wiper blade can be stopped so as not to obstruct the field of view of the camera by executing the control to decelerate and stop the rotation of the output shaft.
  • the stop control unit may execute control for causing the wiper motor to generate regenerative power to decelerate and stop the rotation of the output shaft.
  • the wiper blade can be stopped by a so-called regenerative brake so as not to obstruct the field of view of the camera.
  • the stop control unit may execute a control to short-circuit between the brushes of the wiper motor to decelerate and stop the rotation of the output shaft.
  • the wiper blade can be stopped by the so-called brake energization so as not to obstruct the field of view of the camera.
  • the stop control unit may execute control to short-circuit between phases of the wiper motor to stop the rotation of the output shaft by decelerating.
  • the wiper blade can be stopped by the so-called brake energization so as not to obstruct the field of view of the camera.
  • the auxiliary power supply further includes a small-capacity auxiliary power supply as compared to the main power supply of the wiper motor, and the stop control unit is configured to stop the auxiliary power supply when stopping the wiper blade in an area outside the imaging area of the windshield.
  • the wiper blade can be stopped so as not to obstruct the field of view of the camera by rotating the output shaft of the wiper motor reversely with respect to the current rotation direction by the power of the auxiliary power source.
  • the stop control unit when the stop position of the wiper blade derived based on the wiper blade position and the wiping speed derived by the derivation unit is within the imaging region, the stop control unit is configured to You may perform control which makes a power supply part produce
  • the stop control unit sets the output shaft of the wiper motor with the power of the auxiliary power source. By rotating in the rotation direction, the wiper blade can be stopped so as not to obstruct the field of view of the camera.
  • the stop control unit stops the power supply from the power supply unit to the wiper motor, and the wiper blade is positioned outside the imaging area due to the inertia of the wiping operation.
  • control for decelerating and stopping the rotation of the output shaft may be executed.
  • this wiper driving device when the wiper blade is positioned outside the imaging area due to the inertia of the wiping operation of the wiper blade after the voltage generation by the driving unit is stopped, the brake energization or the regenerative brake is applied to the camera.
  • the wiper blade can be stopped so as not to obstruct the visual field.
  • the present disclosure further includes a moisture detector that detects moisture on the surface of the windshield, and the stop controller detects moisture on the surface of the windshield when the moisture detector detects moisture on the surface of the windshield.
  • the stop position of the wiper blade may be derived by extending the time until the rotation of the output shaft is decelerated and stopped as compared with the case where no is detected.
  • the wiper blade when moisture is detected on the surface of the windshield, the wiper blade is stopped by increasing the time until the rotation of the output shaft is decelerated and stopped, compared with the case where moisture is not detected on the surface of the windshield. By deriving the position, even when the windshield is wet, the wiper blade can be stopped so as not to obstruct the field of view of the camera.
  • it may further include a movable mechanism that moves the wiper blade out of the imaged area when an abnormality occurs.
  • the wiper blade can be stopped so as not to obstruct the field of view of the camera by the movable mechanism that moves the wiper blade out of the imaging region.
  • the movable mechanism may contact the wiper arm that transmits the driving force of the wiper motor to the wiper blade to move the wiper blade to an area outside the imaging area.
  • the wiper blade can be stopped so as not to obstruct the field of view of the camera by moving the wiper blade out of the imaged area by the movable mechanism coming into contact with the wiper arm.
  • the movable mechanism includes a magnet that can be excited and a magnetic body that is attracted to the excited coil, and protrudes to the wiper arm by the biasing force of the biasing member when the excitation of the coil is stopped.
  • the stop portion may execute control for stopping excitation of the coil when an abnormality occurs.
  • the wiper blade can be stopped so as not to obstruct the field of view of the camera by causing the movable mechanism to protrude and come into contact with the wiper arm by stopping the excitation of the coil.
  • the stop unit may stop the wiper blade in an area outside the imaging area of the windshield when an abnormality occurs during automatic driving of the vehicle.
  • this wiper drive device it is possible to prevent the wiper blade from obstructing information acquisition in front of the vehicle necessary for automatic driving by stopping the wiper blade outside the imaged area of the windshield during automatic driving. .
  • the stop unit may execute control to move any of the plurality of wiper blades to an area outside the imaging area.
  • the flowchart described in this application, or the process of the flowchart includes a plurality of steps (or referred to as sections), and each step is expressed as, for example, S500. Further, each step can be divided into a plurality of sub-steps, while a plurality of steps can be combined into one step.

Landscapes

  • Engineering & Computer Science (AREA)
  • Mechanical Engineering (AREA)
  • Automation & Control Theory (AREA)
  • Computer Vision & Pattern Recognition (AREA)
  • Physics & Mathematics (AREA)
  • General Physics & Mathematics (AREA)
  • Theoretical Computer Science (AREA)
  • Water Supply & Treatment (AREA)
  • Control Of Electric Motors In General (AREA)
  • Control Of Direct Current Motors (AREA)
PCT/JP2018/018295 2017-05-22 2018-05-11 ワイパ駆動装置 Ceased WO2018216506A1 (ja)

Priority Applications (2)

Application Number Priority Date Filing Date Title
CN201880033235.7A CN110650871B (zh) 2017-05-22 2018-05-11 雨刮器驱动装置
US16/686,783 US11186259B2 (en) 2017-05-22 2019-11-18 Wiper drive device

Applications Claiming Priority (2)

Application Number Priority Date Filing Date Title
JP2017100797A JP6717259B2 (ja) 2017-05-22 2017-05-22 ワイパ駆動装置
JP2017-100797 2017-05-22

Related Child Applications (1)

Application Number Title Priority Date Filing Date
US16/686,783 Continuation US11186259B2 (en) 2017-05-22 2019-11-18 Wiper drive device

Publications (1)

Publication Number Publication Date
WO2018216506A1 true WO2018216506A1 (ja) 2018-11-29

Family

ID=64395521

Family Applications (1)

Application Number Title Priority Date Filing Date
PCT/JP2018/018295 Ceased WO2018216506A1 (ja) 2017-05-22 2018-05-11 ワイパ駆動装置

Country Status (4)

Country Link
US (1) US11186259B2 (enExample)
JP (1) JP6717259B2 (enExample)
CN (1) CN110650871B (enExample)
WO (1) WO2018216506A1 (enExample)

Cited By (1)

* Cited by examiner, † Cited by third party
Publication number Priority date Publication date Assignee Title
EP3778317A1 (en) * 2019-08-14 2021-02-17 Rosemount Aerospace Inc. Dynamic sweep angle measurement for fault monitoring of windshield wiper systems

Families Citing this family (9)

* Cited by examiner, † Cited by third party
Publication number Priority date Publication date Assignee Title
US11420594B2 (en) 2017-08-28 2022-08-23 Rosemount Aerospace Inc. Configurable variable sweep variable speed wiper system
JP6962209B2 (ja) * 2018-01-18 2021-11-05 株式会社デンソー ワイパ制御装置
JP7142538B2 (ja) * 2018-10-30 2022-09-27 株式会社Subaru 車両認識装置および車両制御装置
FR3104857B1 (fr) * 2019-12-13 2021-12-10 Valeo Systemes Dessuyage Procédé de commande d’un moteur électrique à courant continu sans balai
DE102021205006A1 (de) 2021-05-18 2022-11-24 Psa Automobiles Sa Optikvorrichtung für ein Kraftfahrzeug sowie Kraftfahrzeug
US20240265693A1 (en) * 2021-07-29 2024-08-08 Hitachi Astemo, Ltd. Image processing apparatus and image processing system
KR20230081287A (ko) * 2021-11-30 2023-06-07 현대자동차주식회사 차량 및 그 제어 방법
CN114715078B (zh) * 2022-04-14 2025-06-27 上海技涵电子科技有限公司 一种雨刷器控制装置及控制方法
CN119018097A (zh) * 2024-07-31 2024-11-26 北京汽车研究总院有限公司 雨量模式检测方法、装置、车辆及计算机程序产品

Citations (6)

* Cited by examiner, † Cited by third party
Publication number Priority date Publication date Assignee Title
JPH0872641A (ja) * 1994-08-31 1996-03-19 Suzuki Motor Corp 車両用画像認識装置
JP2003220929A (ja) * 2002-01-28 2003-08-05 Jidosha Denki Kogyo Co Ltd ワイパ装置とその制御方法
JP2008236530A (ja) * 2007-03-22 2008-10-02 Hitachi Kokusai Electric Inc テレビカメラ装置
US20150189172A1 (en) * 2013-12-27 2015-07-02 Mando Corporation Controlling device and method of vehicle camera
JP2016203690A (ja) * 2015-04-16 2016-12-08 トヨタ自動車株式会社 周辺情報検出センサの配設構造及び自動運転車両
JP2017024610A (ja) * 2015-07-24 2017-02-02 藤田 保宏 ワイパー装置

Family Cites Families (9)

* Cited by examiner, † Cited by third party
Publication number Priority date Publication date Assignee Title
EP0939014A3 (en) * 1998-02-27 2002-06-12 Mitsuba Corporation Co., Ltd. Wiper system with translational motion
JPH11245774A (ja) * 1998-02-27 1999-09-14 Honda Motor Co Ltd 平行払拭型ワイパ装置
CN101456406B (zh) * 2007-12-14 2010-12-08 东风汽车有限公司 一种雨刮臂升降装置及控制方法
DE102009000005A1 (de) * 2009-01-02 2010-07-08 Robert Bosch Gmbh Kameraanordnung und Verfahren zur Erfassung einer Fahrzeugumgebung
JP5808625B2 (ja) * 2011-09-13 2015-11-10 株式会社ミツバ ワイパ装置
CN104272579B (zh) * 2012-04-16 2018-01-12 株式会社美姿把 无刷电动机及雨刮装置
JP5864500B2 (ja) * 2013-09-26 2016-02-17 富士重工業株式会社 ワイパウォッシャ装置
JP5965449B2 (ja) * 2014-09-30 2016-08-03 富士重工業株式会社 車両用ワイパ装置
JP6550807B2 (ja) * 2015-03-16 2019-07-31 日産自動車株式会社 車両用撮影装置

Patent Citations (6)

* Cited by examiner, † Cited by third party
Publication number Priority date Publication date Assignee Title
JPH0872641A (ja) * 1994-08-31 1996-03-19 Suzuki Motor Corp 車両用画像認識装置
JP2003220929A (ja) * 2002-01-28 2003-08-05 Jidosha Denki Kogyo Co Ltd ワイパ装置とその制御方法
JP2008236530A (ja) * 2007-03-22 2008-10-02 Hitachi Kokusai Electric Inc テレビカメラ装置
US20150189172A1 (en) * 2013-12-27 2015-07-02 Mando Corporation Controlling device and method of vehicle camera
JP2016203690A (ja) * 2015-04-16 2016-12-08 トヨタ自動車株式会社 周辺情報検出センサの配設構造及び自動運転車両
JP2017024610A (ja) * 2015-07-24 2017-02-02 藤田 保宏 ワイパー装置

Cited By (4)

* Cited by examiner, † Cited by third party
Publication number Priority date Publication date Assignee Title
EP3778317A1 (en) * 2019-08-14 2021-02-17 Rosemount Aerospace Inc. Dynamic sweep angle measurement for fault monitoring of windshield wiper systems
US20210046902A1 (en) * 2019-08-14 2021-02-18 Rosemount Aerospace Inc. Dynamic sweep angle measurement for fault monitoring of windshield wiper systems
US11772608B2 (en) 2019-08-14 2023-10-03 Rosemount Aerospace Inc. Dynamic sweep angle measurement for fault monitoring of windshield wiper systems
US11999320B2 (en) 2019-08-14 2024-06-04 Rosemount Aerospace Inc. Dynamic sweep angle measurement for fault monitoring of windshield wiper systems

Also Published As

Publication number Publication date
JP6717259B2 (ja) 2020-07-01
US11186259B2 (en) 2021-11-30
CN110650871B (zh) 2023-02-17
JP2018193029A (ja) 2018-12-06
CN110650871A (zh) 2020-01-03
US20200079324A1 (en) 2020-03-12

Similar Documents

Publication Publication Date Title
JP6717259B2 (ja) ワイパ駆動装置
CN111095783B (zh) 雨刷装置
US10682984B2 (en) Wiper control device
CN110267854B (zh) 雨刮器装置
US10829090B2 (en) Wiper control device
WO2016059779A1 (ja) モータ制御装置
JP7006492B2 (ja) ワイパ装置
CN100342640C (zh) 马达控制方法及马达控制装置
US11305734B2 (en) Wiper device
JP4615885B2 (ja) モータ制御方法及びモータ制御装置
JP2008296790A (ja) ワイパー装置
US12447930B2 (en) Wiper device for vehicle and control method thereof
JP2019018614A (ja) 車両用ワイパ装置
US11661034B2 (en) Wiper control device
JP6717118B2 (ja) 車載バッテリの冷却装置
JP7102779B2 (ja) ワイパ制御装置
JP6518560B2 (ja) ブラシモータ
JP5535803B2 (ja) モータ制御回路
JP2020066367A (ja) ワイパモータおよび制御方法

Legal Events

Date Code Title Description
121 Ep: the epo has been informed by wipo that ep was designated in this application

Ref document number: 18806599

Country of ref document: EP

Kind code of ref document: A1

NENP Non-entry into the national phase

Ref country code: DE

122 Ep: pct application non-entry in european phase

Ref document number: 18806599

Country of ref document: EP

Kind code of ref document: A1