WO2018198609A1 - エジェクタ式冷凍サイクル - Google Patents

エジェクタ式冷凍サイクル Download PDF

Info

Publication number
WO2018198609A1
WO2018198609A1 PCT/JP2018/011266 JP2018011266W WO2018198609A1 WO 2018198609 A1 WO2018198609 A1 WO 2018198609A1 JP 2018011266 W JP2018011266 W JP 2018011266W WO 2018198609 A1 WO2018198609 A1 WO 2018198609A1
Authority
WO
WIPO (PCT)
Prior art keywords
refrigerant
ejector
nozzle
evaporator
pressure
Prior art date
Legal status (The legal status is an assumption and is not a legal conclusion. Google has not performed a legal analysis and makes no representation as to the accuracy of the status listed.)
Ceased
Application number
PCT/JP2018/011266
Other languages
English (en)
French (fr)
Japanese (ja)
Inventor
康太 武市
尾形 豪太
押谷 洋
Current Assignee (The listed assignees may be inaccurate. Google has not performed a legal analysis and makes no representation or warranty as to the accuracy of the list.)
Denso Corp
Original Assignee
Denso Corp
Priority date (The priority date is an assumption and is not a legal conclusion. Google has not performed a legal analysis and makes no representation as to the accuracy of the date listed.)
Filing date
Publication date
Application filed by Denso Corp filed Critical Denso Corp
Publication of WO2018198609A1 publication Critical patent/WO2018198609A1/ja
Anticipated expiration legal-status Critical
Ceased legal-status Critical Current

Links

Images

Classifications

    • FMECHANICAL ENGINEERING; LIGHTING; HEATING; WEAPONS; BLASTING
    • F25REFRIGERATION OR COOLING; COMBINED HEATING AND REFRIGERATION SYSTEMS; HEAT PUMP SYSTEMS; MANUFACTURE OR STORAGE OF ICE; LIQUEFACTION SOLIDIFICATION OF GASES
    • F25BREFRIGERATION MACHINES, PLANTS OR SYSTEMS; COMBINED HEATING AND REFRIGERATION SYSTEMS; HEAT PUMP SYSTEMS
    • F25B1/00Compression machines, plants or systems with non-reversible cycle
    • FMECHANICAL ENGINEERING; LIGHTING; HEATING; WEAPONS; BLASTING
    • F25REFRIGERATION OR COOLING; COMBINED HEATING AND REFRIGERATION SYSTEMS; HEAT PUMP SYSTEMS; MANUFACTURE OR STORAGE OF ICE; LIQUEFACTION SOLIDIFICATION OF GASES
    • F25BREFRIGERATION MACHINES, PLANTS OR SYSTEMS; COMBINED HEATING AND REFRIGERATION SYSTEMS; HEAT PUMP SYSTEMS
    • F25B40/00Subcoolers, desuperheaters or superheaters
    • FMECHANICAL ENGINEERING; LIGHTING; HEATING; WEAPONS; BLASTING
    • F25REFRIGERATION OR COOLING; COMBINED HEATING AND REFRIGERATION SYSTEMS; HEAT PUMP SYSTEMS; MANUFACTURE OR STORAGE OF ICE; LIQUEFACTION SOLIDIFICATION OF GASES
    • F25BREFRIGERATION MACHINES, PLANTS OR SYSTEMS; COMBINED HEATING AND REFRIGERATION SYSTEMS; HEAT PUMP SYSTEMS
    • F25B5/00Compression machines, plants or systems, with several evaporator circuits, e.g. for varying refrigerating capacity
    • F25B5/02Compression machines, plants or systems, with several evaporator circuits, e.g. for varying refrigerating capacity arranged in parallel

Definitions

  • the present disclosure relates to an ejector refrigeration cycle including an ejector.
  • an ejector-type refrigeration cycle which is a vapor compression refrigeration cycle apparatus including an ejector
  • the pressure of the refrigerant sucked into the compressor can be increased by the pressure increasing action of the diffuser portion of the ejector.
  • the power consumption of the compressor can be reduced and the coefficient of performance (COP) of the cycle can be improved.
  • Patent Document 1 discloses an ejector-type refrigeration cycle including two evaporators. More specifically, in the ejector-type refrigeration cycle of Patent Document 1, the refrigerant that has flowed out of the first evaporator on the side where the refrigerant evaporation pressure is high flows into the nozzle portion of the ejector, and the second evaporation on the side where the refrigerant evaporation pressure is low. It has a cycle configuration in which the refrigerant flowing out of the container is sucked from the refrigerant suction port of the ejector.
  • the ejector-type refrigeration cycle of Patent Document 1 includes a liquid storage mechanism that stores liquid phase refrigerant on the inlet side of the nozzle portion, and allows gas-liquid two-phase refrigerant to flow into the nozzle portion.
  • a liquid storage mechanism that stores liquid phase refrigerant on the inlet side of the nozzle portion, and allows gas-liquid two-phase refrigerant to flow into the nozzle portion.
  • the refrigerant flowing into the nozzle portion of the ejector is a gas-liquid two-phase refrigerant, so that it is difficult to further improve COP.
  • the reason is that if the refrigerant flowing into the nozzle portion is a gas-liquid two-phase refrigerant, it is difficult to increase the recovery energy of the ejector.
  • the loss of velocity energy when the refrigerant is decompressed at the nozzle portion is recovered by sucking the refrigerant from the refrigerant suction port by the suction action of the injected refrigerant. Then, the recovered energy (hereinafter referred to as “recovered energy”) is converted into pressure energy by the diffuser unit, thereby increasing the pressure of the refrigerant. Therefore, in order to further improve the COP, it is effective to increase the amount of recovered energy.
  • the recovered energy is the amount of decrease in the enthalpy of the refrigerant when the refrigerant is isentropically depressurized at the nozzle portion, that is, the amount of the injected refrigerant immediately after being injected from the nozzle portion from the enthalpy of the refrigerant flowing into the nozzle portion. It can be expressed by an enthalpy difference obtained by subtracting enthalpy. Furthermore, the slope of the isentropic line on the Mollier diagram decreases as the enthalpy of the refrigerant increases.
  • the amount of pressure reduction in the nozzle portion is constant, the amount of recovered energy can be increased by increasing the enthalpy of the refrigerant flowing into the nozzle portion.
  • the present disclosure aims to sufficiently improve the coefficient of performance of an ejector-type refrigeration cycle in which the refrigerant that has flowed out of the evaporator flows into the nozzle portion of the ejector.
  • An ejector-type refrigeration cycle includes a compressor that compresses and discharges a refrigerant, a radiator that dissipates heat from the refrigerant discharged from the compressor, and a flow of the refrigerant that flows out of the radiator.
  • a branching unit a first decompression unit that depressurizes one refrigerant branched in the branching unit, a first evaporator that evaporates the refrigerant decompressed in the first decompression unit, and the other branched in the branching unit
  • a second decompression unit that decompresses the refrigerant, a second evaporator that evaporates the refrigerant decompressed by the second decompression unit, and an injection refrigerant that is injected from a nozzle unit that decompresses the refrigerant that has flowed out of the first evaporator
  • An ejector that sucks the refrigerant that has flowed out of the second evaporator by the suction action from the refrigerant suction port, mixes the injected refrigerant and the suction refrigerant sucked from the refrigerant suction port, and boosts the pressure in the boosting unit;
  • the ejector refrigeration cycle is configured such that the
  • the injection refrigerant is a gas phase refrigerant having a superheat degree
  • the refrigerant flowing into the nozzle portion is also a gas phase refrigerant having a relatively high enthalpy. Therefore, the amount of recovered energy can be increased, and the coefficient of performance of the ejector refrigeration cycle can be sufficiently improved.
  • an enthalpy raising part for raising the enthalpy of the refrigerant flowing into the nozzle part so that the injected refrigerant becomes a gas phase refrigerant having a superheat degree.
  • the injection refrigerant can be a gas-phase refrigerant having a superheat degree by the enthalpy increasing portion, the COP of the ejector refrigeration cycle can be reliably and sufficiently improved.
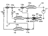
  • This refrigeration cycle device for a vehicle has a function of cooling indoor air blown into a vehicle compartment in a refrigerated vehicle, and a function of cooling internal blown air sent into a refrigerator arranged in a loading platform of the vehicle Fulfill. Therefore, the temperature adjustment target fluids of the ejector refrigeration cycle 10 of the present embodiment are indoor blowing air and internal blowing air.
  • the ejector refrigeration cycle 10 employs an HFC refrigerant (specifically, R134a) as a refrigerant, and a vapor compression subcritical refrigeration cycle in which the refrigerant pressure on the high pressure side does not exceed the critical pressure of the refrigerant. It is composed. Furthermore, refrigeration oil for lubricating the compressor 11 is mixed in the refrigerant, and a part of the refrigeration oil circulates in the cycle together with the refrigerant.
  • HFC refrigerant specifically, R134a
  • a vapor compression subcritical refrigeration cycle in which the refrigerant pressure on the high pressure side does not exceed the critical pressure of the refrigerant. It is composed.
  • refrigeration oil for lubricating the compressor 11 is mixed in the refrigerant, and a part of the refrigeration oil circulates in the cycle together with the refrigerant.
  • the compressor 11 sucks the refrigerant in the ejector refrigeration cycle 10 and compresses and discharges the refrigerant until it becomes a high-pressure refrigerant. More specifically, the compressor 11 of the present embodiment is an electric compressor that is configured by housing a fixed capacity type compression mechanism and an electric motor that drives the compression mechanism in one housing.
  • various compression mechanisms such as a scroll-type compression mechanism and a vane-type compression mechanism can be employed.
  • the electric motor has a rotational speed controlled by a control signal output from the control device 40 described later, and any type of an AC motor or a DC motor may be employed.
  • the refrigerant inlet side of the radiator 12 is connected to the discharge port of the compressor 11.
  • the radiator 12 heat-exchanges the high-pressure refrigerant discharged from the compressor 11 and the vehicle exterior air (that is, outside air) blown by the cooling fan 12a to dissipate the high-pressure refrigerant and cool it. It is.
  • the cooling fan 12 a is an electric blower in which the rotation speed (that is, the amount of blown air) is controlled by a control voltage output from the control device 40.
  • the refrigerant outlet of the radiator 12 is connected to the inlet side of the high-pressure side refrigerant passage 13 a of the nozzle side internal heat exchanger 13.
  • the nozzle-side internal heat exchanger 13 is a heat exchanger that exchanges heat between the high-pressure refrigerant flowing through the high-pressure side refrigerant passage 13a and the low-pressure refrigerant flowing through the low-pressure side refrigerant passage 13b.
  • Such a nozzle-side internal heat exchanger 13 has a double-tube heat exchanger structure in which an inner tube that forms a low-pressure side refrigerant passage 13b is arranged inside an outer tube that forms a high-pressure side refrigerant passage 13a. Things can be adopted.
  • FIG. 1 for clarity of explanation, the specific configuration of the nozzle-side internal heat exchanger 13 is not illustrated, and the high-pressure side refrigerant passage 13 a and the low-pressure for each component device of the ejector refrigeration cycle 10 are not illustrated.
  • the connection relation of the side refrigerant passage 13b is schematically shown.
  • the refrigerant paths through which the corresponding heat exchange target refrigerant flows are indicated by broken-line arrows. The same applies to the suction side internal heat exchanger 17 described later.
  • the inlet side of the three-way joint 14a is connected to the outlet of the high-pressure side refrigerant passage 13a of the nozzle side internal heat exchanger 13.
  • the three-way joint 14 a is a branching part that branches the flow of the refrigerant that has flowed out of the radiator 12.
  • the three-way joint 14a has three inlets and outlets, one of the three inlets and outlets being a refrigerant inlet and the other two being refrigerant outlets.
  • the three-way joint 14a may be formed by joining a plurality of pipes, or may be formed by providing a plurality of refrigerant passages in a metal block or a resin block.
  • the inlet side of the first expansion valve 15 as the first pressure reducing part is connected to one refrigerant outlet of the three-way joint 14a.
  • the first expansion valve 15 is an electric variable throttle mechanism having a valve body that changes the throttle opening and an electric actuator (specifically, a stepping motor) that displaces the valve body.
  • the first expansion valve 15 is controlled in its operation (ie, throttle opening) by a control signal (specifically, a control pulse) output from the control device 40.
  • the refrigerant inlet side of the first evaporator 16 is connected to the outlet side of the first expansion valve 15.
  • the first evaporator 16 exchanges heat between the low-pressure refrigerant decompressed by the first expansion valve 15 and the indoor blowing air blown into the vehicle interior from the first blower 16a, and evaporates the low-pressure refrigerant to absorb heat. Is an endothermic heat exchanger.
  • the first blower 16 a is an indoor electric blower in which the rotation speed (that is, the amount of blown air) is controlled by a control voltage output from the control device 40.
  • the refrigerant outlet of the first evaporator 16 is connected to the inlet side of the low pressure side refrigerant passage 13b of the nozzle side internal heat exchanger 13. Furthermore, the inlet side of the nozzle part 20a of the ejector 20 mentioned later is connected to the exit of the low voltage
  • the high-pressure refrigerant flowing through the high-pressure side refrigerant passage 13a of the nozzle-side internal heat exchanger 13 is refrigerant that has flowed out of the radiator 12 and is upstream of the three-way joint 14a.
  • the low-pressure refrigerant flowing through the low-pressure side refrigerant passage 13b of the nozzle-side internal heat exchanger 13 is a refrigerant that has flowed out of the first evaporator 16 and flows into the nozzle portion 20a of the ejector 20.
  • the nozzle-side internal heat exchanger 13 exchanges heat between the refrigerant flowing out of the radiator 12 and the refrigerant flowing into the nozzle portion 20a. Furthermore, the nozzle-side internal heat exchanger 13 is an enthalpy raising portion that raises the enthalpy of the refrigerant flowing into the nozzle portion 20a by heating the refrigerant flowing into the nozzle portion 20a.
  • the inlet side of the high-pressure side refrigerant passage 17a of the suction side internal heat exchanger 17 is connected to the other refrigerant outlet of the three-way joint 14a.
  • the suction side internal heat exchanger 17 is a heat exchanger that exchanges heat between the high-pressure refrigerant flowing through the high-pressure side refrigerant passage 17a and the low-pressure refrigerant flowing through the low-pressure side refrigerant passage 17b.
  • the basic configuration of the suction side internal heat exchanger 17 is the same as that of the nozzle side internal heat exchanger 13.
  • the inlet side of the second expansion valve 18 as a second pressure reducing unit is connected to the outlet of the high pressure side refrigerant passage 17a of the suction side internal heat exchanger 17.
  • the basic configuration of the second expansion valve 18 is the same as that of the first expansion valve 15. Therefore, the operation of the second expansion valve 18 is controlled by the control signal output from the control device 40.
  • the refrigerant inlet side of the second evaporator 19 is connected to the outlet side of the second expansion valve 18.
  • the second evaporator 19 exchanges heat between the low-pressure refrigerant decompressed by the second expansion valve 18 and the internal blown air circulated into the refrigerator from the second blower 19a to evaporate the low-pressure refrigerant.
  • An endothermic heat exchanger that exhibits an endothermic effect.
  • the second blower 19 a is an internal electric blower in which the rotation speed (that is, the amount of blown air) is controlled by a control voltage output from the control device 40.
  • the inlet of the low-pressure side refrigerant passage 17b of the suction side internal heat exchanger 17 is connected to the refrigerant outlet of the second evaporator 19. Further, the refrigerant suction port 20c side of the ejector 20 is connected to the outlet of the low-pressure side refrigerant passage 17b.
  • the high-pressure refrigerant flowing through the high-pressure side refrigerant passage 17a of the suction-side internal heat exchanger 17 is the refrigerant that has flowed out of the radiator 12 and branched by the three-way joint 14a.
  • the low-pressure refrigerant flowing through the low-pressure side refrigerant passage 17b of the suction-side internal heat exchanger 17 is refrigerant that has flowed out of the second evaporator 19 and is sucked into the refrigerant suction port 20c of the ejector 20.
  • the suction-side internal heat exchanger 17 exchanges heat between the refrigerant flowing out of the radiator 12 and the refrigerant sucked into the refrigerant suction port 20c. Further, the suction-side internal heat exchanger 17 is an enthalpy raising part that balances the cycle so that the enthalpy of the refrigerant flowing into the nozzle part 20a rises by heating the refrigerant sucked into the refrigerant suction port 20c.
  • the ejector 20 functions as a refrigerant decompression device that decompresses the refrigerant that has flowed out of the first evaporator 16. Further, the ejector 20 functions as a refrigerant circulation device that sucks and circulates the refrigerant from outside by the suction action of the refrigerant injected from the refrigerant injection port of the nozzle portion 20a.
  • the ejector 20 converts the kinetic energy of the mixed refrigerant of the refrigerant injected from the nozzle portion 20a and the suction refrigerant sucked from the refrigerant suction port 20c into pressure energy, and increases the pressure of the mixed refrigerant. Acts as a device.
  • the ejector 20 has a nozzle portion 20a and a body portion 20b.
  • the nozzle portion 20a is formed of a substantially cylindrical metal (in this embodiment, a stainless alloy) that gradually tapers in the flow direction of the refrigerant.
  • the nozzle part 20a expands the refrigerant under reduced pressure in an isentropic manner in a refrigerant passage formed inside.
  • the refrigerant passage formed inside the nozzle portion 20a includes a throat portion that reduces the passage cross-sectional area the most, and a divergent portion in which the passage cross-sectional area gradually increases from the throat toward the refrigerant injection port that injects the refrigerant. Is formed. That is, the nozzle part 20a of this embodiment is configured as a Laval nozzle.
  • the nozzle unit 20a is set such that the flow rate of the injected refrigerant that is injected from the refrigerant injection port during the normal operation of the cycle is equal to or higher than the speed of sound.
  • the body part 20b is formed of a substantially cylindrical metal (in this embodiment, aluminum).
  • the body portion 20b functions as a fixing member that supports and fixes the nozzle portion 20a therein and forms an outer shell of the ejector 20. More specifically, the nozzle portion 20a is fixed by press-fitting so as to be housed inside the longitudinal end of the body portion 20b.
  • the body part 20b may be formed of resin.
  • a portion corresponding to the outer peripheral side of the nozzle 20a is formed with a refrigerant suction port 20c that penetrates the inside and outside of the body 20b and communicates with the refrigerant injection port of the nozzle 20a.
  • the refrigerant suction port 20c is a through hole that sucks the refrigerant on the outlet side of the second evaporator 19 into the ejector 20 by the suction action of the jet refrigerant jetted from the nozzle portion 20a.
  • a suction passage 20e that guides the suction refrigerant sucked from the refrigerant suction port 20c to the refrigerant injection port side of the nozzle portion 20a, and a pressure increase portion that increases the pressure by mixing the suction refrigerant and the injection refrigerant.
  • a diffuser portion 20d is formed inside the body portion 20b.
  • the suction passage 20e is formed in a space between the outer peripheral side around the tapered tip of the nozzle portion 20a and the inner peripheral side of the body portion 20b, and the refrigerant passage area of the suction passage 20e is in the refrigerant flow direction. It is gradually shrinking. Thereby, the flow rate of the suction refrigerant flowing through the suction passage 20e is gradually increased, and the energy loss (that is, the mixing loss) when the suction refrigerant and the injection refrigerant are mixed in the diffuser portion 20d is reduced.
  • the diffuser portion 20d is a frustoconical refrigerant passage disposed so as to be continuous with the outlet of the suction passage 20e.
  • the passage cross-sectional area gradually increases toward the downstream side of the refrigerant flow.
  • the diffuser portion 20d converts the kinetic energy of the mixed refrigerant into pressure energy by such a passage shape.
  • the cross-sectional shape of the inner peripheral wall surface of the body portion 20b that forms the diffuser portion 20d of the present embodiment is formed by combining a plurality of curves. And since the degree of spread of the refrigerant passage cross-sectional area of the diffuser portion 20d gradually increases in the refrigerant flow direction and then decreases again, the refrigerant can be increased in an isentropic manner.
  • a suction side of the compressor 11 is connected to an outlet of the diffuser portion 20d.
  • the control device 40 is composed of a well-known microcomputer including a CPU, ROM, RAM, and its peripheral circuits. Then, various calculations and processes are performed based on the control program stored in the ROM, and the operations of the various control target devices 11, 12a, 15, 16a, 18, 19a, etc. connected to the output side are controlled.
  • the inside air temperature sensor 41, the outside air temperature sensor 42, the solar radiation sensor 43, the discharge temperature sensor 44, the discharge pressure sensor 45, and the first evaporator temperature sensor 46a On the input side of the control device 40, as shown in the block diagram of FIG. 2, the inside air temperature sensor 41, the outside air temperature sensor 42, the solar radiation sensor 43, the discharge temperature sensor 44, the discharge pressure sensor 45, and the first evaporator temperature sensor 46a.
  • a sensor group such as the second evaporator temperature sensor 46b, the internal temperature sensor 47, the nozzle temperature sensor 48a, and the nozzle pressure sensor 48b is connected. Then, detection signals from these sensor groups are input to the control device 40.
  • the inside air temperature sensor 41 is an inside air temperature detecting unit that detects a vehicle interior temperature (that is, inside air temperature) Tr.
  • the outside air temperature sensor 42 is an outside air temperature detecting unit that detects an outside temperature (that is, outside air temperature) Tam.
  • the solar radiation sensor 43 is a solar radiation amount detection unit that detects the solar radiation amount As irradiated into the vehicle interior.
  • the discharge temperature sensor 44 is a discharge temperature detection unit that detects the discharge temperature Td of the refrigerant discharged from the compressor 11.
  • the discharge pressure sensor 45 is a discharge pressure detection unit that detects the discharge pressure Pd of the refrigerant discharged from the compressor 11.
  • the first evaporator temperature sensor 46a is a first evaporator temperature detector that detects the refrigerant evaporation temperature (that is, the first evaporator temperature) Te1 in the first evaporator 16.
  • the second evaporator temperature sensor 46b is a second evaporator temperature detector that detects the refrigerant evaporation temperature (that is, the second evaporator temperature) Te2 in the second evaporator 19.
  • the internal temperature sensor 47 is an internal temperature detection unit that detects the temperature in the freezer.
  • the nozzle part temperature sensor 48a detects the inlet side temperature Tnoz of the refrigerant flowing out from the low pressure side refrigerant passage 13b of the nozzle side internal heat exchanger 13 and flowing into the nozzle part 20a of the ejector 20, and the inlet side temperature of the nozzle part 20a. It is a detection unit.
  • the nozzle part pressure sensor 48b flows out of the low pressure side refrigerant passage 13b of the nozzle side internal heat exchanger 13 and detects the inlet side pressure Pnoz of the refrigerant flowing into the nozzle part 20a of the ejector 20, and the inlet side pressure of the nozzle part 20a. It is a detection unit.
  • an operation panel 50 disposed near the instrument panel in the front part of the vehicle interior is connected to the input side of the control device 40, and various operation switches provided on the operation panel 50 are connected to the input side.
  • An operation signal is input to the control device 40.
  • an operation switch of a vehicle refrigeration cycle device for requesting that interior cooling and vehicle interior air conditioning are performed a temperature setting switch for setting a set temperature Tset in the vehicle interior
  • An air volume setting switch or the like of the first blower 16a that blows indoor air is provided.
  • control device 40 of the present embodiment is configured such that control means for controlling the operation of various devices to be controlled connected to the output side is integrally configured.
  • a configuration that is, hardware and software for controlling the operation of the device constitutes a control means for each control target device.
  • the configuration for controlling the operation of the compressor 11 constitutes the discharge capacity control unit 40a.
  • operation of the 1st expansion valve 15 and the 2nd expansion valve 18 comprises the pressure reduction control part 40b.
  • control device 40 executes a previously stored control program.
  • the inside air temperature Tr detected by the inside air temperature sensor 41, the outside air temperature Tam detected by the outside air temperature sensor 42, the solar radiation amount As detected by the solar radiation sensor 43, and the temperature setting switch of the operation panel 50 are set. Based on the set temperature Tset, the target blowing temperature TAO of the vehicle interior blown air is determined.
  • control device 40 allows the electric motor of the compressor 11, the cooling fan 12a, the first expansion valve 15, the first blower 16a, the second expansion valve 18, and the second blower 19a to obtain the determined control state. Control the operation of etc.
  • the refrigerant flows as shown by the thick line arrows in FIG. 1, and the state of the refrigerant changes as shown in the Mollier diagram of FIG.
  • the control device 40 operates the compressor 11, the compressor 11 sucks the refrigerant, compresses it, and discharges it.
  • the high-temperature and high-pressure discharged refrigerant (point a3 in FIG. 3) discharged from the compressor 11 flows into the radiator 12.
  • the refrigerant flowing into the radiator 12 exchanges heat with the blown air (outside air) blown from the cooling fan 12a, dissipates heat and condenses (point a3 ⁇ b3 in FIG. 3).
  • the refrigerant that has flowed out of the radiator 12 flows into the high-pressure side refrigerant passage 13a of the nozzle-side internal heat exchanger 13, and exchanges heat with the low-pressure refrigerant that flows through the low-pressure side refrigerant passage 13b of the nozzle-side internal heat exchanger 13. Decrease enthalpy (b3 point ⁇ c3 point in FIG. 3).
  • the flow of the refrigerant flowing out from the high-pressure side refrigerant passage 13a of the nozzle side internal heat exchanger 13 is branched by the three-way joint 14a.
  • One refrigerant branched by the three-way joint 14a flows into the first expansion valve 15 and is decompressed in an isoenthalpy manner (point c3 ⁇ point d3 in FIG. 3).
  • the control device 40 causes the refrigerant to flow into the nozzle portion 20a calculated based on the inlet side temperature Tnoz detected by the nozzle portion temperature sensor 48a and the inlet side pressure Pnoz detected by the nozzle portion pressure sensor 48b (The operation of the first expansion valve 15 is controlled so that the superheat degree SHnoz at point f3 in FIG. 3 becomes the reference superheat degree KSHnoz.
  • the reference superheat degree KSHnoz is determined with reference to a control map stored in advance in the control device 40 based on the discharge pressure Pd detected by the discharge pressure sensor 45 and the like.
  • the reference superheat degree KSHnoz is determined so that the injected refrigerant (point k3 in FIG. 3) immediately after being injected from the nozzle portion 20a becomes a gas phase refrigerant having a superheat degree.
  • the refrigerant decompressed by the first expansion valve 15 flows into the first evaporator 16, absorbs heat from the indoor blown air blown by the first blower 16a, and evaporates (point d3 ⁇ point e3 in FIG. 3). ). Thereby, the indoor blowing air is cooled.
  • the refrigerant flowing out of the first evaporator 16 flows into the low-pressure side refrigerant passage 13b of the nozzle-side internal heat exchanger 13, and exchanges heat with the high-pressure refrigerant flowing through the high-pressure side refrigerant passage 13a to raise the enthalpy (FIG. 3 e3 point-> f3 point).
  • the superheat degree SHnoz of the refrigerant (point f3 in FIG. 3) flowing out from the low-pressure side refrigerant passage 13b becomes the reference superheat degree KSHnoz.
  • the refrigerant that has flowed out of the low-pressure side refrigerant passage 13 b flows into the nozzle portion 20 a of the ejector 20.
  • the refrigerant flowing into the nozzle portion 20a is isentropically decompressed and injected (point f3 ⁇ point k3 in FIG. 3).
  • coolant (j3 point of FIG. 3) which flowed out from the low voltage
  • the refrigerant sucked from the refrigerant suction port 20c flows through the suction passage 20e formed inside the ejector 20, the refrigerant is isentropically reduced to slightly reduce the pressure (point j3 ⁇ m3 in FIG. 3). ).
  • the refrigerant injected from the nozzle portion 20a and the suction refrigerant sucked from the refrigerant suction port 20c flow into the diffuser portion 20d of the ejector 20 (k3 point ⁇ n3 point, m3 point ⁇ n3 point in FIG. 3).
  • the velocity energy of the refrigerant is converted into pressure energy by expanding the refrigerant passage area.
  • the pressure of the mixed refrigerant of the injection refrigerant and the suction refrigerant increases (n3 point ⁇ o3 point in FIG. 3).
  • the refrigerant that has flowed out of the diffuser section 20d is sucked into the compressor 11 and compressed again (point o3 ⁇ point a3 in FIG. 3).
  • the other refrigerant branched at the three-way joint 14a flows into the high-pressure side refrigerant passage 17a of the suction-side internal heat exchanger 17, and flows through the low-pressure side refrigerant passage 17b of the suction-side internal heat exchanger 17.
  • the enthalpy is reduced by exchanging heat with the refrigerant (point c3 ⁇ point g3 in FIG. 3).
  • the refrigerant that has flowed out of the high-pressure side refrigerant passage 17a of the suction-side internal heat exchanger 17 flows into the second expansion valve 18 and is decompressed in an enthalpy manner (g3 point ⁇ h3 point in FIG. 3).
  • the control device 40 controls the operation of the second expansion valve 18 so that the refrigerant evaporation temperature in the second evaporator 19 becomes the reference temperature for the refrigerator (5 ° C. in the present embodiment).
  • the control device 40 refers to a control map stored in advance in the control device 40 on the basis of the discharge pressure Pd detected by the discharge pressure sensor 45 and the like. The opening is determined.
  • the refrigerant depressurized by the second expansion valve 18 flows into the second evaporator 19 and absorbs heat from the blast air in the cabinet circulated by the second blower 19a to evaporate (point h3 in FIG. 3 ⁇ i3 points). As a result, the internal blown air is cooled.
  • the refrigerant flowing out of the second evaporator 19 flows into the low-pressure side refrigerant passage 17b of the suction-side internal heat exchanger 17 and exchanges heat with the high-pressure refrigerant flowing through the high-pressure side refrigerant passage 17a to raise the enthalpy (FIG. 3 i3 point-> j3 point).
  • the refrigerant flowing out from the low-pressure side refrigerant passage 17b becomes a gas phase refrigerant having a superheat degree.
  • the refrigerant that has flowed out of the low-pressure side refrigerant passage 17b is sucked from the refrigerant suction port 20c of the ejector 20 as described above.
  • the ejector refrigeration cycle 10 operates as described above, and can cool indoor air blown into the vehicle interior and internal blown air circulated into the refrigerator.
  • the refrigerant evaporation pressure (refrigerant evaporation temperature) of the first evaporator 16 and the refrigerant evaporation pressure (refrigerant evaporation temperature) of the second evaporator 19 can be set to different values. Can be cooled with a belt.
  • the jet refrigerant (point k3 in FIG. 3) injected from the nozzle portion 20a of the ejector 20 is a gas-phase refrigerant having a superheat degree.
  • the refrigerant flowing into the portion 20a (point f3 in FIG. 3) is also a gas phase refrigerant having a relatively high enthalpy.
  • the amount of energy recovered by the ejector 20 can be increased as compared with a cycle in which the refrigerant flowing into the nozzle portion 20a of the ejector 20 becomes a gas-liquid two-phase refrigerant.
  • the COP of the cycle can be sufficiently improved.
  • the nozzle side internal heat exchange which is an enthalpy raising part that raises the enthalpy of the refrigerant flowing into the nozzle part 20a so that the injected refrigerant becomes a gas phase refrigerant having a superheat degree.
  • a suction side internal heat exchanger 17 are provided. According to this, the COP of the ejector refrigeration cycle 10 can be reliably and sufficiently improved.
  • a nozzle-side internal heat exchanger 13 for exchanging heat between the refrigerant flowing out of the radiator 12 and the refrigerant flowing into the nozzle portion 20a is provided as an enthalpy raising portion. According to this, the refrigerant flowing into the nozzle portion 20a can be directly heated with the high-pressure refrigerant, and the jet refrigerant can be converted into a gas phase refrigerant having a superheat degree.
  • the enthalpy of the refrigerant flowing into the first evaporator 16 can be reduced by the nozzle side internal heat exchanger 13. Therefore, the enthalpy difference obtained by subtracting the enthalpy of the first evaporator 16 inlet-side refrigerant from the enthalpy of the first evaporator 16 outlet-side refrigerant is increased to increase the refrigeration capacity exhibited by the first evaporator 16. it can.
  • the suction-side internal heat exchanger 17 that heats the refrigerant sucked into the refrigerant suction port 20c by exchanging heat between the refrigerant flowing out of the radiator 12 and the refrigerant sucked into the refrigerant suction port 20c. It has. According to this, it is easy to balance the cycle so that the enthalpy of the refrigerant flowing into the nozzle portion 20a increases.
  • the enthalpy of the refrigerant flowing into the second evaporator 19 can be reduced by the suction side internal heat exchanger 17. Therefore, the enthalpy difference obtained by subtracting the enthalpy of the refrigerant on the inlet side of the second evaporator 19 from the enthalpy of the refrigerant on the outlet side of the second evaporator 19 can be increased to increase the refrigerating capacity exhibited by the second evaporator 19. it can.
  • the COP of the ejector refrigeration cycle 10 can be reliably and sufficiently improved.
  • the high-pressure refrigerant flowing through the high-pressure side refrigerant passage 13a of the nozzle-side internal heat exchanger 13 is refrigerant that has flowed out of the radiator 12, and is upstream of the three-way joint 14a. It is a refrigerant. Further, the high-pressure refrigerant flowing through the high-pressure side refrigerant passage 17a of the suction side internal heat exchanger 17 is the other refrigerant branched by the three-way joint 14a.
  • the temperature of the high-pressure refrigerant flowing through the high-pressure side refrigerant passage 13 a of the nozzle-side internal heat exchanger 13 is higher than the temperature of the high-pressure refrigerant flowing through the high-pressure side refrigerant passage 17 a of the suction-side internal heat exchanger 17.
  • the refrigerant flowing into the nozzle portion 20a can be efficiently heated, and the injection refrigerant can be changed to a gas phase refrigerant having a superheat degree.
  • the decompression control unit 40b of the control device 40 causes the first expansion valve 15 so that the superheat degree SHnoz of the refrigerant flowing into the nozzle part 20a becomes the reference superheat degree KSHnoz.
  • the operation is controlled. Therefore, in the ejector-type refrigeration cycle 10, the refrigerant injected from the nozzle portion 20a can be reliably used as a gas phase refrigerant having a superheat degree, and the COP of the cycle can be improved more reliably.
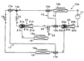
  • the basic configuration of the high-stage ejector 21 is the same as that of the ejector 20. Therefore, the high stage side ejector 21 has the high stage side nozzle part 21a and the high stage side body part 21b. Further, a high stage side refrigerant suction port 21c is formed in the high stage side body portion 21b. Inside the high-stage body section 21b, a high-stage diffuser section 21d, which is a high-stage booster section, and a high-stage suction passage 21e are formed inside the high-stage body section 21b.
  • the high-stage nozzle portion 21a is one of the refrigerants branched at the three-way joint 14a, and injects the refrigerant that has flowed out of the first expansion valve 15 with further reduced pressure.
  • the inlet side of the gas-liquid separator 22 is connected to the outlet side of the high stage side diffuser portion 21d.
  • the gas-liquid separator 22 is a gas-liquid separator that separates the gas-liquid of the refrigerant that has flowed out of the high stage side diffuser portion 21d.
  • the gas-phase refrigerant outlet of the gas-liquid separator 22 is connected to the inlet side of the low-pressure side refrigerant passage 13 b of the nozzle-side internal heat exchanger 13.
  • a refrigerant inlet side of the first evaporator 16 is connected to a liquid phase refrigerant outlet of the gas-liquid separator 22 via a fixed throttle 23.
  • the refrigerant outlet of the first evaporator 16 is connected to the high stage side refrigerant suction port 21 c side of the high stage side ejector 21.
  • the fixed throttle 23 is for depressurizing the liquid-phase refrigerant flowing out from the liquid-phase refrigerant outlet.
  • a fixed throttle 23 an orifice, a capillary tube, or a nozzle can be employed. That is, the high stage ejector 21 and the fixed throttle 23 of the present embodiment constitute a first pressure reducing unit together with the first expansion valve 15.
  • Other configurations of the ejector refrigeration cycle 10a are the same as those in the first embodiment.
  • the refrigerant decompressed by the first expansion valve 15 flows into the high-stage nozzle portion 21 a of the high-stage ejector 21.
  • the refrigerant that has flowed into the high-stage nozzle portion 21a is decompressed and injected in an isentropic manner.
  • the refrigerant flowing out of the first evaporator 16 is sucked from the high-stage side refrigerant suction port 21c of the high-stage side ejector 21 by the suction action of the high-stage side injected refrigerant.
  • the mixed refrigerant of the high stage side injection refrigerant and the high stage side suction refrigerant sucked from the high stage side refrigerant suction port 21c is pressurized by the high stage side diffuser portion 21d.
  • the refrigerant that has flowed out of the high stage side diffuser portion 21d flows into the gas-liquid separator 22 and is gas-liquid separated.
  • the liquid-phase refrigerant separated by the gas-liquid separator 22 is depressurized by the fixed throttle 23 and flows into the first evaporator 16.
  • the refrigerant flowing into the first evaporator 16 absorbs heat from the blown air blown by the first blower 16a and evaporates. Thereby, the indoor blowing air is cooled.
  • the gas-phase refrigerant separated by the gas-liquid separator 22 flows into the low-pressure side refrigerant passage 13 b of the nozzle side internal heat exchanger 13.
  • the ejector-type refrigeration cycle 10a of the present embodiment includes the high-stage ejector 21, the pressure of the refrigerant flowing into the low-pressure side refrigerant passage 13b of the nozzle-side internal heat exchanger 13 is changed in the first evaporator 16.
  • the refrigerant evaporation pressure can be increased. Therefore, the power consumption of the compressor 11 can be reduced, and the COP of the cycle can be further improved.
  • the saturated gas phase refrigerant separated by the gas-liquid separator 22 is caused to flow into the low pressure side refrigerant passage 13b of the nozzle side internal heat exchanger 13. Therefore, the superheat degree SHnoz of the refrigerant flowing into the nozzle portion 20a of the ejector 20 can be made closer to the reference superheat degree KSHnoz than when the gas-liquid two-phase refrigerant is caused to flow into the low-pressure side refrigerant passage 13b.
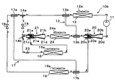
  • the high-stage side three-way joint 14b is a high-stage side branch that branches the flow of the refrigerant flowing out from the first expansion valve 15.
  • the inlet side of the high stage side nozzle portion 21a of the high stage side ejector 21 is connected to one refrigerant outlet of the high stage side three-way joint 14b.
  • the refrigerant inlet side of the third evaporator 24 is connected to the outlet side of the high stage side diffuser portion 21 d of the high stage side ejector 21.
  • the basic configuration of the third evaporator 24 is the same as that of the first evaporator 16.
  • the third evaporator 24 exchanges heat between the refrigerant flowing out of the high stage side diffuser portion 21d and the indoor blowing air blown into the vehicle interior from the third blower 24a, thereby evaporating the low-pressure refrigerant and exerting an endothermic effect. This is an endothermic heat exchanger.
  • the refrigerant outlet of the third evaporator 24 is connected to the inlet side of the low-pressure side refrigerant passage 13 b of the nozzle side internal heat exchanger 13.
  • the refrigerant inlet side of the first evaporator 16 is connected to the other refrigerant outlet of the high stage side three-way joint 14b via a fixed throttle 23.
  • the refrigerant outlet of the first evaporator 16 is connected to the refrigerant suction port 21 c side of the high-stage ejector 21. That is, the fixed throttle 23 of the present embodiment constitutes a first pressure reducing unit together with the first expansion valve 15.
  • the configuration of the other ejector refrigeration cycle 10b is the same as that of the ejector refrigeration cycle 10 of the first embodiment.
  • the flow of the refrigerant decompressed by the first expansion valve 15 is branched by the high stage side three-way joint 14b.
  • One refrigerant branched by the high-stage side three-way joint 14 b flows into the high-stage nozzle portion 21 a of the high-stage ejector 21.
  • coolant which flowed out from the 1st evaporator 16 is attracted
  • the mixed refrigerant of the high stage side injection refrigerant and the high stage side suction refrigerant sucked from the high stage side refrigerant suction port 21c is pressurized by the high stage side diffuser portion 21d.
  • the refrigerant that has flowed out of the high stage side diffuser portion 21 d flows into the third evaporator 24.
  • the refrigerant that has flowed into the third evaporator 24 absorbs heat from the indoor air blown from the third blower 24a and evaporates. Thereby, the indoor blowing air is cooled.
  • the refrigerant that has flowed out of the third evaporator 24 flows into the low-pressure side refrigerant passage 13b of the nozzle-side internal heat exchanger 13.
  • One refrigerant branched by the high-stage side three-way joint 14 b is decompressed and flows into the first evaporator 16 when flowing through the fixed throttle 23.
  • the refrigerant flowing into the first evaporator 16 absorbs heat from the blown air blown by the first blower 16a and evaporates. Thereby, the indoor blowing air is cooled.
  • the ejector refrigeration cycle 10b of the present embodiment includes the high stage side ejector 21, the pressure of the refrigerant flowing into the low pressure side refrigerant passage 13b of the nozzle side internal heat exchanger 13 is changed in the first evaporator 16.
  • the refrigerant evaporation pressure can be increased. Therefore, the COP of the cycle can be further improved.
  • the superheat degree SHnoz of the refrigerant flowing into the nozzle portion 20a of the ejector 20 can be easily brought close to the reference superheat degree KSHnoz.
  • the refrigerant decompressed by the fixed throttle 23 flows into the first evaporator 16, and the refrigerant is pressurized by the high stage side diffuser portion 21d of the high stage side ejector 21. Is allowed to flow into the third evaporator 24.
  • the refrigerant evaporation pressure (refrigerant evaporation temperature) in the first evaporator 16 is lower than the refrigerant evaporation pressure (refrigerant evaporation temperature) of the third evaporator 24, the first evaporator 16 and the third evaporation.
  • the room blower air can be cooled in different temperatures in the vessel 24.
  • the ejector-type refrigeration cycle 10c has a function of cooling or heating indoor blown air (hereinafter simply referred to as blown air in the present embodiment) blown into a vehicle interior that is an air-conditioning target space in a vehicle air conditioner. Fulfill. Therefore, the temperature adjustment target fluid of the ejector refrigeration cycle 10c is blown air.
  • the ejector refrigeration cycle 10c can switch the refrigerant circuit in order to perform air conditioning in the passenger compartment.
  • the ejector refrigeration cycle 10c includes a cooling mode refrigerant circuit for cooling the blown air to cool the vehicle interior, and a heating mode for heating the blown air to heat the vehicle interior.
  • the refrigerant circuit can be switched.
  • the refrigerant flow in the refrigerant circuit in the cooling mode is indicated by a white arrow
  • the refrigerant flow in the refrigerant circuit in the heating mode is indicated by a black arrow.
  • the radiator 12 of the present embodiment is disposed in the air conditioning case 31 of the indoor air conditioning unit 30 of the vehicle air conditioner 1 described later. Furthermore, the radiator 12 of the present embodiment causes heat exchange between the high-pressure refrigerant discharged from the compressor 11 and the blown air blown from the first blower 16a. In the ejector refrigeration cycle 10c, the cooling fan 12a is eliminated.
  • the radiator 12 of the present embodiment not only functions as a heat dissipation heat exchanger that dissipates high-pressure refrigerant, but also functions as a heating heat exchanger that heats the blown air.
  • the inlet side of the three-way joint 14 a is connected to the outlet of the radiator 12.
  • the ejector refrigeration cycle 10c of the present embodiment includes second to fourth three-way joints 14c to 14e.
  • the basic configuration of the second to fourth three-way joints 14c to 14e is the same as that of the three-way joint 14a. Therefore, in the following description, the three-way joint 14a is referred to as a first three-way joint 14a for clarification of the description.
  • the inlet side of the high-pressure side refrigerant passage 13a of the nozzle-side internal heat exchanger 13 is connected to one refrigerant outlet of the first three-way joint 14a.
  • One outlet of the second three-way joint 14 c is connected to the outlet of the high-pressure side refrigerant passage 13 a of the nozzle-side internal heat exchanger 13 via the first expansion valve 15.
  • the inlet side of the high-pressure side refrigerant passage 17a of the suction side internal heat exchanger 17 is connected to the other refrigerant outlet of the first three-way joint 14a.
  • the refrigerant inlet side of the second evaporator 19 is connected to the outlet of the high-pressure side refrigerant passage 17 a of the suction side internal heat exchanger 17 via the second expansion valve 18.
  • the ejector refrigeration cycle 10 c includes a third expansion valve 25 in addition to the first expansion valve 15 and the second expansion valve 18.
  • the basic configuration of the third expansion valve 25 is the same as that of the first expansion valve 15 and the second expansion valve 18.
  • the first to third expansion valves 15, 18, 25 of the present embodiment have a fully open function that functions as a simple refrigerant passage without substantially exhibiting a flow rate adjusting action and a refrigerant pressure reducing action by fully opening the valve opening, and It has a fully-closed function of closing the refrigerant passage by fully closing the valve opening.
  • the first to third expansion valves 15, 18, and 25 can switch between the cooling mode refrigerant circuit and the heating mode refrigerant circuit in each operation mode described above by the fully open function and the fully closed function. Accordingly, the first to third expansion valves 15, 18, 25 also have a function as a refrigerant circuit switching device.
  • the second evaporator 19 of the present embodiment is disposed on the front side in the vehicle hood, that is, outside the passenger compartment.
  • the 2nd evaporator 19 of this embodiment functions as an outdoor heat exchanger which heat-exchanges the refrigerant
  • the second evaporator 19 functions as a radiator that dissipates high-pressure refrigerant in the cooling mode, and functions as an evaporator that evaporates low-pressure refrigerant in the heating mode.
  • the inlet side of the third three-way joint 14d is connected to the refrigerant outlet of the second evaporator 19, which is an outdoor heat exchanger.
  • the other inlet of the second three-way joint 14c is connected to one outlet of the third three-way joint 14d via the third expansion valve 25.
  • the refrigerant inlet side of the first evaporator 16 is connected to the outlet of the second three-way joint 14c.
  • the first evaporator 16 of the present embodiment is disposed in the air conditioning case 31 of the indoor air conditioning unit 30.
  • the refrigerant outlet of the first evaporator 16 is connected to the inlet side of the low pressure side refrigerant passage 13b of the nozzle side internal heat exchanger 13.
  • the inlet side of the three-way valve 26 is connected to the outlet of the low pressure side refrigerant passage 13 b of the nozzle side internal heat exchanger 13.
  • the three-way valve 26 bypasses the refrigerant circuit that guides the refrigerant flowing out from the low-pressure side refrigerant passage 13b of the nozzle-side internal heat exchanger 13 to the inlet side of the nozzle portion 20a of the ejector 20, and the fourth three-way joint.
  • the refrigerant circuit that leads to the suction side of the compressor 11 via 14e is switched.
  • the three-way valve 26 is a refrigerant circuit switching device together with the first to third expansion valves 15, 18, and 25.
  • the operation of the three-way valve 26 is controlled by a control signal output from the control device 40.
  • the inlet side of the low-pressure side refrigerant passage 17b of the suction side internal heat exchanger 17 is connected to the other outlet of the third three-way joint 14d.
  • the refrigerant suction port 20 c side of the ejector 20 is connected to the outlet of the low pressure side refrigerant passage 17 b of the suction side internal heat exchanger 17.
  • Other configurations of the ejector refrigeration cycle 10c are the same as those of the ejector refrigeration cycle 10 of the first embodiment.
  • the indoor air conditioning unit 30 is disposed inside the instrument panel (instrument panel) at the forefront of the vehicle interior.
  • the indoor air conditioning unit 30 performs a function of switching a ventilation path for appropriately blowing out the blown air whose temperature has been adjusted by the ejector refrigeration cycle 10c.
  • the indoor air conditioning unit 30 includes a first blower 16a, a first evaporator 16, a radiator 12, and the like in an air passage formed in an air conditioning case 31 that forms an outer shell thereof.
  • the air conditioning case 31 forms an air passage for the blown air blown into the vehicle interior.
  • an inside / outside air switching device 33 that switches and introduces inside air (vehicle compartment air) and outside air (vehicle compartment outside air) into the air conditioning case 31 is disposed.
  • the inside / outside air switching device 33 continuously adjusts the opening area of the inside air introduction port through which the inside air is introduced into the air conditioning case 31 and the outside air introduction port through which the outside air is introduced by the inside / outside air switching door. The rate of introduction with the amount of air introduced is changed.
  • the inside / outside air switching door is driven by an electric actuator for the inside / outside air switching door. The operation of the electric actuator is controlled by a control signal output from the control device 40.
  • the first blower 16 a is disposed on the downstream side of the blown air flow of the inside / outside air switching device 33. Furthermore, the 1st evaporator 16 and the heat radiator 12 are arrange
  • a bypass passage 35 is provided in which the blown air that has passed through the first evaporator 16 flows around the radiator 12.
  • An air mix door 34 is disposed on the downstream side of the blower air flow of the first evaporator 16 in the air conditioning case 31 and on the upstream side of the blower air flow of the radiator 12.
  • the air mix door 34 adjusts the air volume ratio between the air volume of the blown air passing through the radiator 12 and the air volume ratio of the blown air passing through the bypass passage 35 in the blown air after passing through the first evaporator 16. It is an adjustment unit.
  • the air mix door 34 is driven by an electric actuator for the air mix door. The operation of the electric actuator is controlled by a control signal output from the control device 40.
  • the blast air heated by exchanging heat with the refrigerant in the radiator 12 and the blast air not heated through the bypass passage 35 merge.
  • a space is formed.
  • an opening hole for blowing out the blast air mixed in the mixing space (that is, conditioned air) into the vehicle interior, which is the air-conditioning target space, is disposed in the blast air flow downstream portion of the air conditioning case 31.
  • the air mix door 34 can adjust the temperature of the conditioned air mixed in the mixing space by adjusting the air volume ratio between the air volume that passes through the radiator 12 and the air volume that passes through the bypass passage 35. . Thereby, the temperature of the blowing air (air-conditioning wind) blown out from each blower outlet to the vehicle interior can be adjusted.
  • cooling and heating of the passenger compartment can be performed. Further, in the ejector refrigeration cycle 10c, the cooling mode refrigerant circuit and the heating mode refrigerant circuit can be switched.
  • Switching of each operation mode of the ejector refrigeration cycle 10c is performed by executing a control program stored in advance by the control device 40.
  • the control program of this embodiment when the target blowing temperature TAO of the vehicle interior blown air is lower than the predetermined cooling reference temperature, the mode is switched to the cooling mode, and when it is higher than the predetermined heating reference temperature, the mode is switched to the heating mode.
  • the operation in each operation mode will be described below.
  • (A) Cooling mode In the cooling mode, the control device 40 sets the first expansion valve 15 to a fully closed state, sets the second expansion valve 18 to a fully open state, and sets the third expansion valve 25 to a throttling state that exerts a pressure reducing action. . At this time, the control device 40 adjusts the throttle opening degree of the third expansion valve 25 so that the refrigerant sucked into the compressor 11 approaches a predetermined reference dryness (5 ° C. in the present embodiment). .
  • control device 40 displaces the air mix door 34 so that the ventilation path on the radiator 12 side is fully closed and the bypass passage 35 side is fully opened. Further, the control device 40 controls the operation of the three-way valve 26 so that the refrigerant flowing out from the low pressure side refrigerant passage 13b of the nozzle side internal heat exchanger 13 is guided to the suction side of the compressor 11 by bypassing the ejector 20. .
  • the compressor 11 ( ⁇ the radiator 12 ⁇ the high-pressure side refrigerant passage 17a of the suction-side internal heat exchanger 17 ⁇ the second expansion Vapor compression type in which refrigerant circulates in the order of valve 18) ⁇ second evaporator 19 ⁇ third expansion valve 25 ⁇ first evaporator 16 ( ⁇ low pressure side refrigerant passage 13b of nozzle side internal heat exchanger 13) ⁇ compressor 11.
  • the refrigeration cycle is configured.
  • the air mix door 34 is displaced so that the ventilation path on the radiator 12 side is fully closed, so that the refrigerant hardly dissipates heat in the radiator 12.
  • the second evaporator 19 that is an outdoor heat exchanger functions as a radiator that radiates the refrigerant
  • the first evaporator 16 functions as an evaporator that evaporates the refrigerant.
  • the vehicle interior can be cooled by blowing the blown air cooled by the first evaporator 16 into the vehicle interior.
  • the high-pressure side refrigerant passage 13a of the nozzle-side internal heat exchanger 13 is connected to one outlet side of the three-way joint 14a. Therefore, in the cooling mode, high-pressure refrigerant does not flow through the high-pressure side refrigerant passage 13a of the nozzle-side internal heat exchanger 13, and unnecessary heat exchange is performed in the nozzle-side internal heat exchanger 13. There is nothing.
  • (B) Heating mode In the heating mode, the control device 40 brings the first expansion valve 15 into the throttle state, the second expansion valve 18 into the throttle state, and the third expansion valve 25 into the fully closed state. At this time, the control device 40 adjusts the throttle openings of the first expansion valve 15 and the second expansion valve 18 as in the first embodiment.
  • control device 40 displaces the air mix door 34 so that the bypass passage 35 side is fully closed and the ventilation path on the radiator 12 side is fully opened. Further, the control device 40 controls the operation of the three-way valve so as to guide the refrigerant flowing out from the low pressure side refrigerant passage 13b of the nozzle side internal heat exchanger 13 to the inlet side of the nozzle portion 20a of the ejector 20.
  • the refrigerant circulates in the order of 15 ⁇ first evaporator 16 ⁇ low pressure side refrigerant passage 13b ⁇ nozzle side internal heat exchanger 13 ⁇ ejector 20 ⁇ compressor 11 and the high pressure side of the radiator 12 ⁇ suction side internal heat exchanger 17
  • An ejector-type refrigeration cycle in which the refrigerant circulates in the order of the refrigerant passage 17a ⁇ second expansion valve 18 ⁇ second evaporator 19 ⁇ low-pressure side refrigerant passage 17b of the suction-side internal heat exchanger 17 ⁇ refrigerant suction port 20c of the ejector 20 is configured.
  • the air mix door 34 is displaced so that the ventilation path on the radiator 12 side is fully opened. Therefore, in the ejector refrigeration cycle 10c in the heating mode, the radiator 12 functions as a radiator that radiates the refrigerant, and the first evaporator 16 and the second evaporator 19 function as an evaporator that evaporates the refrigerant.
  • the dehumidifying and heating in the vehicle interior is performed by reheating the blown air cooled and dehumidified by the first evaporator 16 in the radiator 12 and blown out into the vehicle interior. It can be carried out.
  • the enthalpy of the refrigerant flowing into the nozzle portion 20a in the nozzle-side internal heat exchanger 13 is controlled by controlling the first expansion valve 15 and the like in the same manner as in the first embodiment.
  • the jet refrigerant can be a gas phase refrigerant having a superheat degree.
  • the amount of energy recovered by the ejector 20 can be increased and the COP of the cycle can be sufficiently improved as compared with a cycle in which the refrigerant flowing into the nozzle portion 20a of the ejector 20 becomes a gas-liquid two-phase refrigerant. .
  • the present invention may be applied to a stationary type freezer / refrigerator.
  • the first evaporator 16 cools the food, drinking water, etc., to the refrigerator compartment where the food is stored at a low temperature (specifically, 0 ° C. to 10 ° C.).
  • the room blower air is cooled, and the second evaporator 19 blows air to the freezer room where the food is frozen and stored at a very low temperature (specifically, -20 ° C to -10 ° C). You may make it cool.
  • the cooling target spaces of the first evaporator 16 and the third evaporator 24 are not described in detail, but the same cooling target space is used in the first evaporator 16 and the third evaporator 24.
  • the air blown to the cooling air may be cooled, or the air blown to a different cooling target space may be cooled.
  • the first evaporator 16 and the third evaporator 24 are integrally formed.
  • the blown air cooled by one of the evaporators may be further cooled by the other evaporator.
  • the enthalpy rising portion is not limited to this.
  • a heater using an external heat source may be employed as the enthalpy raising portion.
  • an electric heater whose heating capacity can be adjusted by a control voltage output from the control device 40 may be employed as the heater.
  • a heating device that heats the refrigerant by using waste heat of other in-vehicle devices (for example, an internal combustion engine, an inverter, etc.) as a heat source may be adopted.
  • the refrigerant to be heat-exchanged by the nozzle side internal heat exchanger 13 and the suction side internal heat exchanger 17 is not limited to the combination disclosed in the above-described embodiment. That is, if the enthalpy of the refrigerant flowing into the nozzle portion 20a can be increased, the nozzle-side internal heat exchanger 13 and the suction-side internal heat exchanger 17 have a low pressure different from the combinations disclosed in the above embodiments. Heat exchange may be performed between the refrigerant and the high-pressure refrigerant.
  • the high-pressure refrigerant in the region X high-pressure refrigerant flowing through the refrigerant flow path from the refrigerant outlet side of the radiator 12 to the inlet side of the three-way joint 14 a
  • the high-pressure refrigerant in the region Y three-way joint
  • High-pressure refrigerant flowing in the refrigerant flow path from one refrigerant outlet of 14a to the inlet side of the first expansion valve 15, and high-pressure refrigerant in region Z from the other refrigerant outlet of the three-way joint 14a to the second expansion valve 18).
  • control device 40 controls the operation of the first expansion valve 15 so that the injection refrigerant becomes a gas-phase refrigerant having a superheat degree.
  • the control mode for obtaining the gas phase refrigerant is not limited to this.
  • the control device 40 may control the operation of the second expansion valve 18 so that the injected refrigerant becomes a gas phase refrigerant having a superheat degree, or both the first expansion valve 15 and the second expansion valve 18 may be controlled. Operation may be controlled.
  • an expansion valve or a fixed throttle constituted by a mechanical mechanism may be employed as the first pressure reducing part and the second pressure reducing part.
  • a temperature-type expansion valve that includes a temperature-sensing portion having a diaphragm that is displaced according to the temperature and pressure of the refrigerant flowing into the nozzle portion 20a as the first pressure reducing portion, and that changes the throttle opening according to the displacement of the diaphragm. It may be adopted.
  • Components constituting the ejector refrigeration cycles 10 to 10c are not limited to those disclosed in the above-described embodiment.
  • an engine-driven compressor driven by a rotational driving force transmitted from a vehicle travel engine via a pulley, a belt, or the like may be employed.
  • the variable capacity compressor that can adjust the refrigerant discharge capacity by changing the discharge capacity, or the refrigerant discharge capacity can be adjusted by changing the operating rate of the compressor by intermittently connecting the electromagnetic clutch A fixed-capacity compressor can be employed.
  • a receiver-integrated condenser having a receiver unit that separates the gas-liquid refrigerant flowing out from the heat exchange unit for condensation and stores the separated liquid-phase refrigerant may be employed.
  • the high-pressure refrigerant and the high-pressure refrigerant are formed by brazing and joining the refrigerant pipe that forms the high-pressure side refrigerant path and the refrigerant pipe that forms the low-pressure side refrigerant path.
  • a configuration that allows heat exchange with the low-pressure refrigerant may be adopted.
  • variable nozzle unit includes a needle valve that is arranged inside the nozzle unit and adjusts the refrigerant passage area of the nozzle unit, and an electric drive unit that displaces the needle valve in the axial direction of the nozzle unit.
  • the control apparatus 40 should just control the action
  • the 1st expansion valve 15 and the high stage side ejector 21 can be integrated substantially, and the 1st expansion valve 15 can be abolished.
  • coolant is not limited to this.
  • R1234yf, R600a, R410A, R404A, R32, R407C, etc. may be adopted.

Landscapes

  • Engineering & Computer Science (AREA)
  • Physics & Mathematics (AREA)
  • Mechanical Engineering (AREA)
  • Thermal Sciences (AREA)
  • General Engineering & Computer Science (AREA)
  • Jet Pumps And Other Pumps (AREA)
PCT/JP2018/011266 2017-04-24 2018-03-22 エジェクタ式冷凍サイクル Ceased WO2018198609A1 (ja)

Applications Claiming Priority (2)

Application Number Priority Date Filing Date Title
JP2017-085457 2017-04-24
JP2017085457A JP6708161B2 (ja) 2017-04-24 2017-04-24 エジェクタ式冷凍サイクル

Publications (1)

Publication Number Publication Date
WO2018198609A1 true WO2018198609A1 (ja) 2018-11-01

Family

ID=63918941

Family Applications (1)

Application Number Title Priority Date Filing Date
PCT/JP2018/011266 Ceased WO2018198609A1 (ja) 2017-04-24 2018-03-22 エジェクタ式冷凍サイクル

Country Status (2)

Country Link
JP (1) JP6708161B2 (enExample)
WO (1) WO2018198609A1 (enExample)

Cited By (3)

* Cited by examiner, † Cited by third party
Publication number Priority date Publication date Assignee Title
CN110806033A (zh) * 2019-10-29 2020-02-18 中机国能炼化工程有限公司 双过冷器串联膨胀机耦合跨临界co2双温区系统及应用
CN111023363A (zh) * 2019-12-17 2020-04-17 海信(山东)空调有限公司 一种空调器及控制方法
WO2021094787A1 (en) * 2019-11-15 2021-05-20 University Of Hull A heat pump adaptor system

Families Citing this family (3)

* Cited by examiner, † Cited by third party
Publication number Priority date Publication date Assignee Title
EP3699515B1 (de) * 2019-02-20 2023-01-11 Weiss Technik GmbH Temperierkammer und verfahren
DE102021000482A1 (de) 2021-02-01 2022-08-04 Mercedes-Benz Group AG Temperiervorrichtung für ein Fahrzeug
WO2025211019A1 (ja) * 2024-04-01 2025-10-09 株式会社デンソー 冷凍サイクル装置

Citations (3)

* Cited by examiner, † Cited by third party
Publication number Priority date Publication date Assignee Title
JP2013200057A (ja) * 2012-03-23 2013-10-03 Sanden Corp 冷凍サイクル及び冷凍ショーケース
JP2015064194A (ja) * 2013-08-29 2015-04-09 株式会社デンソー エジェクタ式冷凍サイクル
JP2015224861A (ja) * 2014-05-30 2015-12-14 株式会社デンソー エジェクタ式冷凍サイクル

Family Cites Families (1)

* Cited by examiner, † Cited by third party
Publication number Priority date Publication date Assignee Title
JP5962596B2 (ja) * 2013-06-18 2016-08-03 株式会社デンソー エジェクタ式冷凍サイクル

Patent Citations (3)

* Cited by examiner, † Cited by third party
Publication number Priority date Publication date Assignee Title
JP2013200057A (ja) * 2012-03-23 2013-10-03 Sanden Corp 冷凍サイクル及び冷凍ショーケース
JP2015064194A (ja) * 2013-08-29 2015-04-09 株式会社デンソー エジェクタ式冷凍サイクル
JP2015224861A (ja) * 2014-05-30 2015-12-14 株式会社デンソー エジェクタ式冷凍サイクル

Cited By (4)

* Cited by examiner, † Cited by third party
Publication number Priority date Publication date Assignee Title
CN110806033A (zh) * 2019-10-29 2020-02-18 中机国能炼化工程有限公司 双过冷器串联膨胀机耦合跨临界co2双温区系统及应用
WO2021094787A1 (en) * 2019-11-15 2021-05-20 University Of Hull A heat pump adaptor system
CN111023363A (zh) * 2019-12-17 2020-04-17 海信(山东)空调有限公司 一种空调器及控制方法
CN111023363B (zh) * 2019-12-17 2021-10-29 海信(山东)空调有限公司 一种空调器及控制方法

Also Published As

Publication number Publication date
JP6708161B2 (ja) 2020-06-10
JP2018185066A (ja) 2018-11-22

Similar Documents

Publication Publication Date Title
JP6547781B2 (ja) 冷凍サイクル装置
CN106233082B (zh) 喷射器式制冷循环
JP5967022B2 (ja) 冷凍サイクル装置
CN104487786B (zh) 制冷循环装置
JP6011507B2 (ja) 冷凍サイクル装置
WO2018198609A1 (ja) エジェクタ式冷凍サイクル
JP6102552B2 (ja) 冷凍サイクル装置
JP5359231B2 (ja) エジェクタ式冷凍サイクル
JP2017072291A (ja) 冷凍サイクル装置
US11480197B2 (en) Ejector module
WO2017212820A1 (ja) エジェクタ式冷凍サイクル装置
WO2017217142A1 (ja) 冷凍サイクル装置
JP6720934B2 (ja) エジェクタモジュール
JP6547698B2 (ja) エジェクタ式冷凍サイクル
JP6720932B2 (ja) エジェクタ式冷凍サイクル
JP2022088798A (ja) 冷凍サイクル装置
JP2009204183A (ja) 冷凍サイクル装置
JP2016050761A (ja) エジェクタ式冷凍サイクル
WO2018159321A1 (ja) エジェクタモジュール
JP2019190795A (ja) エジェクタ式冷凍サイクル

Legal Events

Date Code Title Description
121 Ep: the epo has been informed by wipo that ep was designated in this application

Ref document number: 18791447

Country of ref document: EP

Kind code of ref document: A1

NENP Non-entry into the national phase

Ref country code: DE

122 Ep: pct application non-entry in european phase

Ref document number: 18791447

Country of ref document: EP

Kind code of ref document: A1