WO2018190068A1 - 物理量計測装置 - Google Patents

物理量計測装置 Download PDF

Info

Publication number
WO2018190068A1
WO2018190068A1 PCT/JP2018/010140 JP2018010140W WO2018190068A1 WO 2018190068 A1 WO2018190068 A1 WO 2018190068A1 JP 2018010140 W JP2018010140 W JP 2018010140W WO 2018190068 A1 WO2018190068 A1 WO 2018190068A1
Authority
WO
WIPO (PCT)
Prior art keywords
flow path
passage
inflow
ceiling
measurement
Prior art date
Legal status (The legal status is an assumption and is not a legal conclusion. Google has not performed a legal analysis and makes no representation as to the accuracy of the status listed.)
Ceased
Application number
PCT/JP2018/010140
Other languages
English (en)
French (fr)
Japanese (ja)
Inventor
昇 北原
Current Assignee (The listed assignees may be inaccurate. Google has not performed a legal analysis and makes no representation or warranty as to the accuracy of the list.)
Denso Corp
Original Assignee
Denso Corp
Priority date (The priority date is an assumption and is not a legal conclusion. Google has not performed a legal analysis and makes no representation as to the accuracy of the date listed.)
Filing date
Publication date
Application filed by Denso Corp filed Critical Denso Corp
Priority to DE112018001992.6T priority Critical patent/DE112018001992T5/de
Publication of WO2018190068A1 publication Critical patent/WO2018190068A1/ja
Priority to US16/594,403 priority patent/US11067421B2/en
Anticipated expiration legal-status Critical
Ceased legal-status Critical Current

Links

Images

Classifications

    • GPHYSICS
    • G01MEASURING; TESTING
    • G01FMEASURING VOLUME, VOLUME FLOW, MASS FLOW OR LIQUID LEVEL; METERING BY VOLUME
    • G01F1/00Measuring the volume flow or mass flow of fluid or fluent solid material wherein the fluid passes through a meter in a continuous flow
    • G01F1/68Measuring the volume flow or mass flow of fluid or fluent solid material wherein the fluid passes through a meter in a continuous flow by using thermal effects
    • G01F1/684Structural arrangements; Mounting of elements, e.g. in relation to fluid flow
    • G01F1/6842Structural arrangements; Mounting of elements, e.g. in relation to fluid flow with means for influencing the fluid flow
    • FMECHANICAL ENGINEERING; LIGHTING; HEATING; WEAPONS; BLASTING
    • F02COMBUSTION ENGINES; HOT-GAS OR COMBUSTION-PRODUCT ENGINE PLANTS
    • F02MSUPPLYING COMBUSTION ENGINES IN GENERAL WITH COMBUSTIBLE MIXTURES OR CONSTITUENTS THEREOF
    • F02M35/00Combustion-air cleaners, air intakes, intake silencers, or induction systems specially adapted for, or arranged on, internal-combustion engines
    • F02M35/10Air intakes; Induction systems
    • F02M35/10006Air intakes; Induction systems characterised by the position of elements of the air intake system in direction of the air intake flow, i.e. between ambient air inlet and supply to the combustion chamber
    • FMECHANICAL ENGINEERING; LIGHTING; HEATING; WEAPONS; BLASTING
    • F02COMBUSTION ENGINES; HOT-GAS OR COMBUSTION-PRODUCT ENGINE PLANTS
    • F02MSUPPLYING COMBUSTION ENGINES IN GENERAL WITH COMBUSTIBLE MIXTURES OR CONSTITUENTS THEREOF
    • F02M35/00Combustion-air cleaners, air intakes, intake silencers, or induction systems specially adapted for, or arranged on, internal-combustion engines
    • F02M35/10Air intakes; Induction systems
    • F02M35/10373Sensors for intake systems
    • F02M35/10386Sensors for intake systems for flow rate
    • GPHYSICS
    • G01MEASURING; TESTING
    • G01FMEASURING VOLUME, VOLUME FLOW, MASS FLOW OR LIQUID LEVEL; METERING BY VOLUME
    • G01F1/00Measuring the volume flow or mass flow of fluid or fluent solid material wherein the fluid passes through a meter in a continuous flow
    • G01F1/68Measuring the volume flow or mass flow of fluid or fluent solid material wherein the fluid passes through a meter in a continuous flow by using thermal effects
    • G01F1/684Structural arrangements; Mounting of elements, e.g. in relation to fluid flow
    • GPHYSICS
    • G01MEASURING; TESTING
    • G01KMEASURING TEMPERATURE; MEASURING QUANTITY OF HEAT; THERMALLY-SENSITIVE ELEMENTS NOT OTHERWISE PROVIDED FOR
    • G01K13/00Thermometers specially adapted for specific purposes
    • G01K13/02Thermometers specially adapted for specific purposes for measuring temperature of moving fluids or granular materials capable of flow
    • GPHYSICS
    • G01MEASURING; TESTING
    • G01LMEASURING FORCE, STRESS, TORQUE, WORK, MECHANICAL POWER, MECHANICAL EFFICIENCY, OR FLUID PRESSURE
    • G01L11/00Measuring steady or quasi-steady pressure of a fluid or a fluent solid material by means not provided for in group G01L7/00 or G01L9/00

Definitions

  • This disclosure relates to a physical quantity measuring apparatus.
  • Patent Document 1 discloses a physical quantity measuring device that measures the flow rate of intake air taken into an internal combustion engine.
  • This physical quantity measuring device has a discharge passage for discharging the fluid that has flowed in, and a branch passage branched from the discharge passage, and a flow rate detector is provided in the branch passage. While the branch passage is curved so as to rotate once, the discharge passage is not largely curved.
  • foreign matters that flow into the discharge passage together with the fluid foreign matters having a relatively large mass are likely to travel straight ahead of the fluid.
  • Patent Document 1 described above, a foreign substance having a relatively large mass is easily discharged from the outlet of the discharge passage without entering the branch passage, and as a result, the detection accuracy of the flow rate detection unit is lowered due to the presence of the foreign matter. This is said to be suppressed.
  • the main purpose of the present disclosure is to provide a physical quantity measuring device capable of suppressing foreign substances from reaching the physical quantity detection unit.
  • a first aspect of the present disclosure is a physical quantity measuring device for measuring a physical quantity of a fluid, which has an inlet and an outlet, and fluid that enters and exits from the inlet and the outlet passes.
  • a physical quantity detector that detects a physical quantity of the fluid, and a partition top that is an upstream end of the flow path partition is not exposed from the inflow port.
  • the tip of the flow path partitioning portion is not exposed from the inflow port, even if a relatively large foreign object such as a relatively large foreign material enters the passage flow channel from the inflow port together with the fluid, The foreign matter cannot reach the partition top of the flow path partition only by going straight ahead. That is, it is difficult for the foreign matter that has entered the passage channel from the inflow port to enter the branch channel unless the traveling direction changes. In this case, it can suppress that a foreign material approachs into a branch flow path, and can suppress that a foreign material reaches
  • a second aspect of the present disclosure is a physical quantity measuring device for measuring a physical quantity of a fluid, which has an inflow port and an outflow port, and fluid that enters and exits from the inflow port and the outflow port passes therethrough.
  • a physical quantity detection unit that detects a physical quantity of the fluid in a pair, and, of the inner peripheral surface of the passage channel, a pair facing each other with a flow channel boundary portion that is a boundary between the passage flow channel and the branch flow channel and an inflow port interposed therebetween
  • the direction in which the opposing surfaces are aligned is referred to as the width direction
  • the direction perpendicular to the width direction and perpendicular to the inflow direction of the fluid to the inlet is referred to as the height direction.
  • the surface on the flow path boundary side in the direction is called the ceiling surface, and is opposite to the ceiling surface in the height direction
  • This surface is called the floor surface, and on the upstream side of the channel boundary, the tip of the ceiling convex portion that protrudes from the ceiling surface toward the floor surface side, and the floor convexity that protrudes from the floor surface toward the ceiling surface side
  • the angle between the connecting line and the flow path partitioning portion and the crossing angle facing the side opposite to the branch flow path is more than 90 degrees. It is a large physical quantity measuring device.
  • the angle between the reference imaginary line and the partition tangent is larger than 90 degrees, the foreign matter that has traveled straight from the inflow port and collided with the flow path partitioning portion Instead, it bounces back to the passage channel side. Therefore, it can suppress that a foreign material enters into a branch channel. That is, it can suppress that a foreign material reaches
  • the drawing The front view which looked at the airflow meter of the state attached to the intake pipe in 1st Embodiment from the upstream. II-II sectional view taken on the line of FIG.
  • the figure of the passage flow path periphery in FIG. The figure for demonstrating the structure from which the ceiling surface of a passage passage does not have a level
  • the figure of the passage flow path periphery in FIG. The enlarged view around a step surface.
  • the figure of the passage flow path periphery in 3rd Embodiment. The figure which looked at the inflow port circumference of an air flow meter from the upper stream side.
  • the figure of the passage flow path periphery in modification C 1.
  • the figure of the passage flow path periphery in modification C2. The figure of the passage flow path periphery in modification C3.
  • the figure of the passage flow path periphery in modification C4, C5. The figure of the passage flow path periphery in modification C5.
  • the figure of the passage flow path periphery in 4th Embodiment The figure for demonstrating how a large foreign material advances. Unlike 4th Embodiment, the figure for demonstrating the structure which the partition top part exposed to the upstream from the inflow port.
  • region, and a close-up surface The figure of the passage flow path periphery in the modification E4.
  • An air flow meter 10 shown in FIGS. 1 and 2 is a physical quantity measuring device that measures a physical quantity such as a flow rate, temperature, humidity, and pressure for a fluid such as air.
  • the air flow meter 10 is mounted on a vehicle having an internal combustion engine 11 such as an engine.
  • the internal combustion engine 11 has an intake passage 12 and an exhaust passage, and the air flow meter 10 is attached to the intake passage 12.
  • the fluid to be measured by the air flow meter 10 is intake air flowing through the intake passage 12.
  • This intake air is a gas supplied to the combustion chamber of the internal combustion engine 11.
  • the air flow meter 10 is disposed on the downstream side of the air cleaner in the intake passage 12. In this case, in the intake passage 12, for the air flow meter 10, the air cleaner side is the upstream side, and the combustion chamber side is the downstream side.
  • the air flow meter 10 is detachably attached to an intake pipe 12a that forms an intake passage 12.
  • the air flow meter 10 is inserted into a sensor insertion hole 12b formed so as to penetrate the cylindrical wall of the intake pipe 12a, and at least a part thereof is positioned in the intake passage 12.
  • the intake pipe 12a has a flange portion 12c extending from the sensor insertion hole 12b toward the outer peripheral side.
  • the flange portion 12c extends along the peripheral edge portion of the sensor insertion hole 12b and has, for example, an annular shape.
  • the front end surface of the flange portion 12c extends in a direction orthogonal to the center line of the flange portion 12c. In this case, the front end surface of the flange portion 12c extends in the longitudinal direction of the intake passage 12, that is, the direction in which intake air flows in the intake passage 12.
  • the air flow meter 10 has a housing 21 and a flow rate detection unit 22.
  • the housing 21 is formed of, for example, a resin material.
  • the housing 21 is attached to the intake pipe 12 a so that the flow rate detection unit 22 can come into contact with the intake air flowing through the intake passage 12.
  • the housing 21 has a flow path forming part 24, a fitting part 25, an O-ring 26, a flange part 27, and a connector part 28.
  • the flow path forming unit 24 forms flow paths 31 and 32.
  • the flow paths 31 and 32 are formed by the internal space of the flow path forming portion 24, and introduce a part of the intake air flowing through the intake passage 12 into the housing 21.
  • the passage passage 31 penetrates the passage formation portion 24, and an upstream end portion of the passage passage 31 is referred to as an inlet 33a, and a downstream end portion thereof is referred to as an outlet 33b.
  • the measurement flow path 32 is a branched flow path branched from an intermediate portion of the passage flow path 31 and has a curved portion and circulates inside the flow path forming unit 24.
  • the measurement flow path 32 does not make one round, and the portion near the upstream end portion and the portion near the downstream end portion of the measurement flow path 32 do not overlap in the width direction of the flow path forming portion 24. . Further, the passage channel 31 and the measurement channel 32 do not overlap in the width direction of the channel forming part 24.
  • the downstream end of the measurement flow path 32 is opened in the same manner as the downstream end of the passage flow path 31, and this downstream end is referred to as a measurement outlet 33c.
  • the measurement flow path 32 has two measurement outlets 33c by being branched toward the downstream end, and these measurement outlets 33c are arranged side by side at positions separated from each other in the width direction of the flow path forming part 24. Is arranged.
  • the passages 31 and the measurement passages 32 are not overlapped in the width direction of the passage formation part 24, and therefore the measurement outlets 33c and the outlets 33b are also connected to the passages. There is no overlap in the width direction of the formation portion 24.
  • the intake passage 12 may be referred to as a main passage, and the passage passage 31 and the measurement passage 32 may be collectively referred to as a sub passage. Further, the measurement outlet 33c corresponds to a branch outlet.
  • the fitting portion 25 is a portion that is fitted into the sensor insertion hole 12b via the O-ring 26.
  • the O-ring 26 is a member that seals the intake passage 12 and the outside of the intake pipe 12a.
  • the O-ring 26 is externally fitted to the fitting portion 25, and is interposed between the fitting portion 25 and the sensor insertion hole 12b in a state of entering the inner peripheral side of the flange portion 12c.
  • the flange portion 27 is disposed on the opposite side of the flow path forming portion 24 with the fitting portion 25 interposed therebetween, and covers the sensor insertion hole 12b from the outer peripheral side of the intake pipe 12a.
  • the flange portion 27 restricts the housing 21 from entering the intake passage 12 too much by being hooked on the distal end portion of the flange portion 12c of the intake pipe 12a.
  • the flange portion 27 has a flange surface 27a facing the flow path forming portion 24 side.
  • the flange surface 27a extends in parallel to the front end surface of the flange portion 12c, and overlaps the front end surface of the flange portion 12c.
  • the connector part 28 is a part surrounding a plurality of terminals. A plug part is inserted into the connector part 28.
  • the plug portion is provided at an end of a connection line that is directly or indirectly electrically connected to an engine control device such as an ECU, and is fitted to the connector portion 28.
  • the flow rate detection unit 22 is a thermal flow rate sensor using a heating unit such as a heating resistor or a heater unit, and the detection surface of the flow rate detection unit 22 is formed of a membrane.
  • the flow rate detection unit 22 is disposed at an intermediate position of the measurement flow path 32. By attaching the housing 21 to the intake pipe 12a, intake air flowing through the measurement flow path 32 is supplied to the flow rate detection unit 22.
  • the flow rate detection unit 22 is electrically connected to a plurality of terminals provided on the connector unit 28.
  • the flow rate detection unit 22 outputs a sensor signal corresponding to the intake flow rate and corresponding to the flow velocity of the air flowing through the measurement flow path 32 as a flow rate signal to the engine control device.
  • the flow rate detector 22 detects the flow rate of the intake air flowing through the intake passage 12 by detecting the flow rate of the intake air flowing through the measurement flow path 32.
  • the flow rate detection unit 22 corresponds to a “physical quantity detection unit” that detects the flow rate of intake air as a physical quantity.
  • the flow rate detection unit 22 is not limited to a thermal flow rate sensor, and may be a movable flap flow rate sensor, a Karman vortex flow rate sensor, or the like.
  • the air flow meter 10 includes, in addition to the flow rate detection unit 22, a temperature detection unit that detects temperature and a humidity detection unit that detects humidity.
  • the temperature detection unit and the humidity detection unit are provided on the outer peripheral side of the housing 21 and output a sensor signal corresponding to the temperature and humidity of the intake air flowing through the intake passage 12 as a temperature signal and a humidity signal.
  • the air flow meter 10 has a support body that supports these detection units on the outer peripheral side of the housing 21, and this support body is fixed to the housing 21.
  • the direction in which the two measurement outlets 33c are arranged is referred to as the width direction X
  • the direction in which the flow path forming portion 24 and the flange portion 27 are aligned is referred to as the height direction Y
  • the direction in which the passage flow path 31 extends is defined. This is referred to as the depth direction Z.
  • the width direction X, the height direction Y, and the depth direction Z are orthogonal to each other, and the flange surface 27a of the flange portion 27 extends in parallel to both the width direction X and the depth direction Z.
  • the inflow port 33a faces the upstream side of the intake passage 12, and the outflow port 33b and the measurement outlet 33c face the downstream side.
  • the direction in which the intake air flows in the intake passage 12 is the depth direction Z
  • the inflow direction of the inflow air from the inflow port 33a is likely to be the same as the depth direction Z.
  • the intake air that has flowed in from the inflow port 33 a flows out of the outflow port 33 b and each of the measurement outlets 33 c by passing through the passage channel 31 and the measurement channel 32.
  • a flow path boundary 34 that is a boundary between the flow path 31 and the measurement flow path 32, an intermediate portion of the flow path 31 is opened toward the flange portion 27 in the height direction Y.
  • the intermediate portion of the passage channel 31 and the upstream end of the measurement channel 32 are connected, and the upstream end of the measurement channel 32 can also be referred to as a measurement inlet.
  • the measurement channel 32 has a portion extending in the depth direction Z between the channel boundary 34 and the measurement outlet 33c, and the flow rate detection unit 22 is disposed in this portion.
  • the present embodiment it is possible to suppress the large foreign matter bounced off from the inner peripheral surface 31a of the passage passage 31 from entering the measurement passage 32.
  • small foreign matters such as a foreign matter having a relatively small mass and a comparatively small foreign matter are likely to change their traveling direction in accordance with the flow of the intake air, and to bend before colliding with the inner peripheral surface 31a of the passage passage 31. it is conceivable that.
  • the inner peripheral surface 31 a of the passage 31 has a ceiling surface 36, a floor surface 37, and a pair of wall surfaces 38.
  • the pair of wall surfaces 38 are a pair of facing surfaces that face each other across the flow path boundary 34, the inflow port 33 a, and the outflow port 33 b in the width direction X.
  • the ceiling surface 36 and the floor surface 37 are the wall surfaces 38. It becomes a pair of opposing surface which opposes on both sides.
  • a part of the ceiling surface 36 is opened, and the upstream end portion of the measurement flow path 32 is connected to the opened portion to form a flow path boundary 34.
  • the ceiling surface 36 has an inflow ceiling surface portion 36a between the inflow port 33a and the flow path boundary portion 34, and an outflow ceiling surface portion 36b between the flow path boundary portion 34 and the outflow port 33b.
  • the flow path boundary portion 34 has an upstream boundary portion 34a located on the most upstream side and a downstream boundary portion 34b located on the most downstream side.
  • the upstream boundary portion 34a is downstream. It is in a position farther from the flange portion 27 than the boundary portion 34b.
  • the upstream end of the measurement flow path 32 is open toward the outlet 33b instead of the inlet 33a. For this reason, even if a foreign substance traveling straight in the depth direction Z enters from the inflow port 33a, it is difficult for the foreign substance to enter the measurement flow path 32 as it is. In this configuration, for example, even if a person looks into the passage channel 31 from the inlet 33a in the depth direction Z, the upstream end portion of the measurement channel 32 cannot be visually recognized.
  • the inflow ceiling surface portion 36a and the outflow ceiling surface portion 36b have step surfaces 41a and 41b and connection surfaces 42a and 42b, respectively, thereby forming a step toward the inflow port 33a.
  • a plurality of inflow step surfaces 41a are arranged at a depth interval Da along the arrangement direction of the inflow port 33a and the flow path boundary 34 in the inflow ceiling surface portion 36a.
  • a plurality of outflow step surfaces 41b are arranged at a depth interval Db along the arrangement direction of the flow path boundary 34 and the outflow port 33b in the outflow ceiling surface portion 36b, and the depth interval Db is smaller than the depth interval Da.
  • the step surfaces 41 a and 41 b extend toward the floor surface 37 on the ceiling surface 36, face the inflow port 33 a side, and are in a state of being spanned across a pair of wall surfaces 38.
  • Each inflow step surface 41a and each outflow step surface 41b extend in the same direction, and specifically, both extend in a direction orthogonal to the depth direction Z.
  • the inflow connection surface 42a connects the downstream end portion of the upstream inflow step surface 41a and the upstream end portion of the downstream inflow step surface 41a among the adjacent inflow step surfaces 41a in the inflow ceiling surface portion 36a.
  • a plurality of inflow stepped surfaces 41a are provided.
  • the outflow connection surface 42b connects the downstream end of the upstream outflow step surface 41b and the upstream end of the downstream outflow step surface 41b among the adjacent outflow step surfaces 41b in the outflow ceiling surface portion 36b.
  • a plurality of the outlet step surfaces 41b are provided.
  • the connection surfaces 42a and 42b extend in the same direction, and specifically, both extend in a direction orthogonal to the height direction Y.
  • each inflow connection surface 42a is orthogonal to the inflow step surface 41a
  • each outflow connection surface 42b is orthogonal to the outflow step surface 41b.
  • the depth dimensions of the connection surfaces 42a and 42b are the same as the depth intervals Da and Db of the adjacent step surfaces 41a and 41b.
  • the inflow ceiling surface portion 36a and the outflow ceiling surface portion 36b are stepped as a whole by the step surfaces 41a and 41b and the connection surfaces 42a and 42a.
  • the level difference gradually increases toward the downstream side.
  • the depth interval Da is uniform at each step, while the height dimension Ha of the inflow step surface 41a in the height direction Y gradually increases as the distance from the inflow port 33a increases.
  • the height dimension Ha is smaller than the depth interval Da, but the difference between the height dimension Ha and the depth interval Da gradually decreases as it approaches the flow path boundary 34, and the flow path boundary 34
  • the height dimension Ha and the depth interval Da have substantially the same value at the level difference close to.
  • the height dimension Ha may be smaller than the depth interval Da.
  • the step is gradually reduced toward the downstream side.
  • the height dimension Hb of the outflow step surface 41b in the height direction Y gradually decreases as it approaches the outflow port 33b.
  • the height dimension Hb is larger than the depth interval Db, but the difference between the height dimension Hb and the depth interval Db gradually decreases toward the outlet port 33b, and is closer to the outlet port 33b.
  • the height dimension Hb is larger than the depth interval Db.
  • the overall inclination angle of the outflow ceiling surface portion 36b with respect to the depth direction Z is larger than the overall inclination angle of the inflow ceiling surface portion 36a with respect to the depth direction Z.
  • the separation distance in the height direction Y is referred to as a height distance Hay
  • the separation distance in the depth direction Z is referred to as a depth distance Daz.
  • the separation distance in the height direction Y is referred to as a height distance Hby
  • the separation distance in the depth direction Z is referred to as a depth distance Daz.
  • the value of Hby / Dbz indicating the inclination degree of the outflow ceiling surface portion 36b is larger than the value of Hay / Daz indicating the inclination degree of the inflow ceiling surface portion 36a.
  • the inflow ceiling surface portion 36a is curved so that an intermediate portion in the width direction X swells toward the flange portion 27 side according to the shape of the inflow port 33a.
  • both the upstream end portion and the downstream end portion are curved.
  • the inflow connection surface 42a is curved so as to connect adjacent inflow step surfaces 41a.
  • the outflow port 33b is substantially rectangular, and the outflow ceiling surface portion 36b is not curved.
  • the inflow ceiling surface portion 36a has the inflow step surface 41a, the foreign matter entering from the inflow port 33a is difficult to enter the measurement flow path 32.
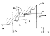
  • the large foreign matter F1 entering from the inflow port 33a goes straight in the depth direction Z and collides with the inflow step surface 41a of the inflow ceiling surface portion 36a, the large foreign matter F1 Is likely to return to the inlet 33a side. In this way, the large foreign matter F1 is less likely to travel downstream by colliding with the inflow stepped surface 41a of the inflow ceiling surface portion 36a in the passage channel 31, and is less likely to enter the measurement channel 32.
  • the inflow ceiling surface portion 36a is orthogonal to the depth direction Z. Absent. For this reason, it is conceivable that the large foreign matter F1 collides with the inflow ceiling surface portion 36a that is inclined as a whole and proceeds downstream while changing the traveling direction. In this case, depending on the angle at which the large foreign matter F1 bounces off at the inflow ceiling surface portion 36a, as shown by the solid line in FIG. 4, the large foreign matter F1 bounces off at the floor surface 37 following the inflow ceiling surface portion 36a and proceeds downstream. Therefore, there is a concern that it is easy to enter the measurement flow path 32.
  • the traveling direction of the large foreign matter F1 changes in the height direction Y along with the rebound at the inflow ceiling surface portion 36a, the possibility that the large foreign matter F1 flows into the measurement flow path 32 is likely to increase.
  • a configuration is realized in which the traveling direction of the large foreign matter F1 bounced off the inflow step surface 41a of the inflow ceiling surface portion 36a is not easily changed in the height direction Y. It is possible to suppress the entry into the road 32 easily.
  • the detection accuracy of the flow rate detection unit 22 is lowered if the flow velocity of the intake air flowing through the measurement flow path 32 is too small.
  • the cross-sectional area of the passage channel 31 is reduced while increasing the open area of the inflow port 33a as much as possible. It can be reduced stepwise toward the boundary 34. For this reason, it can suppress that the inflow amount of the intake air to the measurement flow path 32 runs short, suppressing the large foreign material approaching into the measurement flow path 32 by the inflow level
  • the inflow ceiling surface portion 36a is included in the inflow ceiling surface portion 36a, the inflow ceiling surface portion 36a is gradually separated from the flange portion 27 as it approaches the flow channel boundary portion 34 from the inflow port 33a. Can be made.
  • the intake air G flowing in from the inflow port 33a is likely to gradually move away from the flow path boundary 34 in the Y direction. Even small foreign matters that are easy to flow can be prevented from flowing into the measurement flow path 32.
  • the rate of change in the traveling direction of the intake air that has flowed in from the inflow port 33a. can be gradually increased. In this case, it is less likely that the flow of the intake air is disturbed due to the generation of a vortex or the like, compared to a case where the rate of change in the direction of intake air is rapidly increased. For this reason, it is difficult for the intake air to flow into the measurement flow path 32 due to the flow disturbance, and the flow velocity of the intake air in the measurement flow path 32 is insufficient, or the foreign matter caught up in the flow disturbance is measured. It is possible to suppress the entry to 32.
  • the inflow connection surface 42a extends in parallel with the depth direction Z. For this reason, it is possible to prevent the inflow connection surface 42a from becoming an obstacle to the foreign matter when the foreign matter entering from the inflow port 33a and traveling straight in the depth direction Z reaches the inflow step surface 41a.
  • the inflow step surface 41a since the inflow step surface 41a extends in parallel with the height direction Y, the inflow step surface 41a is orthogonal to the depth direction Z that tends to be the intake air ingress direction from the inflow port 33a. Become. For this reason, the foreign matter collided and bounced against the inflow stepped surface 41a proceeds downstream in a direction inclined with respect to the height direction Y, enters the measurement channel 32 by colliding with the floor surface 37 and bounced, etc. That can be suppressed.
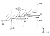
  • the outflow ceiling surface portion 36b since the outflow ceiling surface portion 36b has the outflow step surface 41b, the foreign matter that enters from the inflow port 33a and passes through the flow channel boundary portion 34 is less likely to enter the measurement flow channel 32. Yes.
  • the large foreign matter F2 that has entered from the inflow port 33a goes straight in the depth direction Z and collides with the outflow step surface 41b of the outflow ceiling surface portion 36b, the large foreign matter F2 Is likely to return to the inlet 33a side.
  • the large foreign matter F2 collides with the outflow step surface 41b of the outflow ceiling surface portion 36b in the passage channel 31, and thus passes through the measurement channel 32 once passed in the opposite direction. It becomes easy to advance toward the upstream side at an angle that makes it difficult to enter the measurement flow path 32.
  • the outflow ceiling surface portion 36b is orthogonal to the depth direction Z. Absent. For this reason, it is conceivable that the large foreign matter F2 collides with the outflow ceiling surface portion 36b that is inclined as a whole and enters the measurement flow path 32 while changing the traveling direction. Specifically, depending on the angle at which the large foreign matter F2 bounces off at the outflow ceiling surface portion 36b, the large foreign matter F2 bounces off at the floor surface 37 following the outflow ceiling surface portion 36b, as shown by a broken line in FIG. There is a concern that it will be easy to enter the measurement flow path 32 by proceeding.
  • the traveling direction of the large foreign matter F2 changes in the height direction Y along with the rebound at the outflow ceiling surface portion 36b, the possibility that the large foreign matter F2 flows into the measurement flow path 32 is likely to increase.
  • a configuration is realized in which the traveling direction of the large foreign matter F2 bounced off the outflow step surface 41b of the outflow ceiling surface portion 36b is not easily changed in the height direction Y. It is possible to suppress the tendency to easily flow into the path 32.
  • the passage passage 31 is narrowed by reducing the cross-sectional area of the passage passage 31 by the outflow step surface 41b on the downstream side of the passage boundary 34. .
  • the pressure of the intake air in the passage channel 31 becomes moderately high, the intake air easily flows into the measurement channel 32, and the flow rate of the intake air in the measurement channel 32 becomes moderately large. For this reason, it can suppress by the outflow level
  • the degree of restriction of the passage channel 31 is reduced toward the outlet port 33b on the downstream side of the channel boundary 34. Can be gradually increased.
  • the degree of restriction of the passage passage 31 is rapidly increased toward the outlet port 33b, it is less likely that the flow of the intake air is disturbed due to the generation of a vortex. For this reason, it can suppress that the foreign material caught in the disturbance of a flow approachs into the measurement flow path 32.
  • the height dimension Hb is smaller toward the outflow step surface 41b closer to the outflow port 33b. For this reason, the area around the channel boundary 34 in the passage channel 31 can be made as large as possible in the height direction Y. Accordingly, it is possible to realize a configuration in which the passage channel 31 is gradually narrowed by the outflow step surface 41b toward the outlet port 33b while creating a situation in which the intake air easily flows into the measurement channel 32 from the passage channel 31.
  • the outflow connection surface 42b extends in parallel with the depth direction Z. For this reason, the outflow connection surface 42b becomes an obstacle to the foreign matter when the foreign matter that passes through the flow path boundary 34 and goes straight in the depth direction Z toward the outlet 33b reaches the outflow step surface 41b. Can be suppressed.
  • the outflow step surface 41b since the outflow step surface 41b extends in parallel with the height direction Y, the outflow step surface 41b is perpendicular to the depth direction Z, which is likely to be the traveling direction of the intake air from the inflow port 33a. Become. For this reason, the foreign matter colliding with the outflow stepped surface 41b and bounced back flows upstream in the direction inclined with respect to the height direction Y, and collides with the floor surface 37 and bounces back into the measurement flow path 32. It is possible to suppress entry.
  • the first embodiment can be applied to various embodiments and combinations without departing from the scope of the present disclosure.
  • the inflow level difference surface 41a only one of the upstream end and the downstream end may be curved in accordance with the shape of the inflow port 33a, or both may not be curved.
  • the inflow ceiling surface part 36a may be curved irrespective of the shape of the inflow port 33a, and may not be curved.
  • the inflow step surface 41a and the inflow connection surface 42a may be curved.
  • the outlet 33b may not be rectangular.
  • the outflow step surface 41b and the outflow connection surface 42b may be curved outward or inward according to the shape of the outflow port 33b.
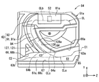
  • the air flow meter 50 shown in FIGS. 5 to 8 is a physical quantity detection device that detects the physical quantity of the intake air in the intake passage 12 in a state of being attached to the intake pipe 12a, like the air flow meter 10 of the first embodiment. is there.
  • the air flow meter 50 includes a housing 51 and a flow rate detection unit 52, and the housing 51 includes a flow path forming unit 54, an O-ring 56, a flange unit 57, a flange surface 57 a, and a connector unit 58. These members and parts correspond to the members and parts having the same names in the first embodiment.
  • the O-ring 56 of the present embodiment does not enter the inner peripheral side of the flange portion 12c, but is sandwiched between the tip portion of the flange portion 12c and the flange portion 57.
  • the flange surface 57 a faces the front end surface of the flange portion 12 c through the O-ring 56.
  • a flow path forming portion 54 is formed by the housing main body 51a, the front cover 51b, and the back cover 51c.
  • the housing main body 51a extends from the flange portion 57 in the height direction Y, and the front cover 51b and the back cover 51c are attached to the housing main body 51a in a state of facing in parallel across the housing main body 51a in the width direction X. ing.
  • Both the housing main body 51a and the flange portion 57 are integrally formed by molding a synthetic resin material.
  • the front cover 51b and the back cover 51c are also formed of a synthetic resin material.
  • the flow path forming unit 54 includes a passage flow path 61 and a measurement flow path 62.
  • the passage flow path 61 includes an inlet 63a, an outlet 63b, a measurement outlet 63c, a channel boundary 64, and an upstream boundary 64a. And a downstream boundary portion 64b.
  • the inner peripheral surface 61a of the passage passage 61 has a passage ceiling surface 66, an inflow ceiling surface portion 66a, an outflow ceiling surface portion 66b, a passage floor surface 67, a passage wall surface 68, an inflow step surface 71a, and an inflow connection surface 72a.
  • These members and parts correspond to the members and parts having the same names in the first embodiment.
  • the passing floor surface 67 extends parallel to the depth direction Z.
  • the inner peripheral surface 61a of the passage channel 61 does not have an outflow step surface and an outflow connection surface.
  • the inflow port 63a is formed in the rectangular shape, and the inflow ceiling surface part 66a is not curved. For this reason, both the front-end
  • the inflow connection surface 72a also extends linearly in the width direction X.
  • the flow path boundary 34 extends in parallel to the depth direction Z. Even in this case, since the upstream end portion of the measurement flow path 62 is not opened toward the inlet 63a side, even if a foreign substance that goes straight in the depth direction Z enters from the inlet 63a, the foreign substance However, it is difficult to occur in the measurement channel 62 as it is.
  • the step is not large or small toward the downstream side. Specifically, the depth interval Da and the height dimension Ha have the same value at each step. In this case, the overall inclination angle of the inflow ceiling surface portion 66a is the same between the portion near the inflow port 63a and the portion near the flow path boundary portion 64.
  • the flow path forming unit 54 has a sub flow path 75 in addition to the passage flow path 61 and the measurement flow path 62.
  • the sub flow path 75 is provided between the flange portion 57 and the measurement flow path 62 in the height direction Y, and extends in the depth direction Z.
  • the sub-inlet 75a is disposed between the flange portion 57 and the inflow port 33a in the height direction Y.
  • the sub outlet 75b is disposed between the flange portion 57 and the outlet 33b.
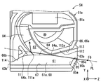
  • the air flow meter 50 includes a pressure detection unit 76, a humidity detection unit 77, and a temperature detection unit 78 in addition to the flow rate detection unit 52, and the pressure detection unit 76 and the humidity detection unit 77 are sucked in the sub flow path 75. Detect air pressure and humidity.
  • the housing body 51a is integrally provided with a circuit board 81 by insert molding when the housing body 51a is molded.
  • the circuit board 81 is provided with at least one detection element for detecting a physical quantity of intake air flowing through the intake passage 12 and a circuit unit for processing a signal detected by the detection element.
  • the detection element is provided on the front surface or the back surface of the circuit board 81 at a position exposed to the intake air, that is, a portion exposed to the intake air 12 or the measurement flow channel 62 or the sub flow channel 75 and in contact with the intake air. ing.
  • the electrical connection portion between the circuit board 81 and the detection element is sealed with a synthetic resin material.
  • the circuit portion is disposed in the circuit chamber Rc sealed by the front cover 51b.
  • the housing body 51a is provided with a groove opened toward one side or the other side in the width direction X and a hole penetrating the housing body 51a in the width direction X.
  • a passage channel 61, a measurement channel 62, and a sub channel 75 are formed.
  • a sensor chamber Rs is provided at an intermediate position of the sub flow path 75, and a pressure detection unit 76 and a humidity detection unit 77 as detection elements provided on the back surface of the circuit board 81 are provided in the sensor chamber Rs. It has been.
  • the pressure detection unit 76 and the humidity detection unit 77 can detect the pressure and humidity of the intake air flowing through the sub flow path 75.
  • the circuit board 81 is provided in a state orthogonal to the width direction X at the intermediate position of the housing body 51a in the width direction X, thereby partitioning the circuit chamber Rc and the sensor chamber Rs.
  • the circuit chamber Rc is formed between the front cover 51 b and the circuit board 81, and the sensor chamber Rs is formed between the back cover 51 c and the circuit board 81.
  • the circuit chamber Rc is sealed by attaching the front cover 51b to the housing 51, and is completely isolated from the outside.
  • the flow path forming portion 54 has a partition wall 84 that partitions the measurement flow path 62 and the sub flow path 75 in the height direction Y.
  • the circuit board 81 penetrates the partition wall 84 in the height direction Y and protrudes into the measurement flow path 62, and the flow rate detection unit 52 is provided in the measurement board part 81a which is the protruding part.
  • the intermediate position between the inlet 63a and the sub inlet 75a in the height direction Y is arranged at a position overlapping or close to the center line of the intake pipe 12a.
  • the air flow meter 50 can measure the physical quantity of the gas in the part away from the inner wall surface of the intake passage 12, and can reduce the measurement error of the physical quantity related to the heat and the decrease in the flow velocity near the inner wall surface.
  • the flow path forming portion 54 has an inflow restricting portion 85 that restricts the intake air from flowing in from the inflow port 63a.
  • the inflow restricting portion 85 is a convex portion that extends from the passage floor surface 67 of the passage passage 61 toward the passage ceiling surface 66.
  • the inflow restricting portion 85 has a downstream side surface 85a facing the downstream side and an upper surface 85b facing the passing ceiling surface 66 side (hereinafter also referred to as a ceiling side), and the downstream side surface 85a and the upper surface 85b pass therethrough. It is included in the floor surface 67.
  • the inflow restricting portion 85 is provided in the inflow port 63a, and the upstream end portion of the upper surface 85b is included in the inflow port 63a.
  • the downstream side surface 85a extends obliquely upward toward the upstream side, and the upper surface 85b extends parallel to the depth direction Z.
  • the inflow restricting portion 85 is in a state of being stretched over a pair of passage wall surfaces 68, and the opening area of the inflow port 63a is reduced by reducing the height dimension of the inflow port 63a in the height direction.
  • the inflow restricting portion 85 does not extend in parallel to the height direction Y, but is inclined with respect to the height direction Y by extending in the direction away from the outlet 63b toward the passing ceiling surface 66. .
  • a groove is formed in the housing main body 51a, so that the passage flow path 61 is provided between the housing main body 51a and the back cover 51c.
  • the measurement flow path 62 has an upstream measurement path 91, an intermediate measurement path 92, and a downstream measurement path 93.
  • the upstream measurement path 91 extends from the flow path boundary 64 to the downstream side of the measurement flow path 62, and is provided between the housing main body 51 a and the back cover 51 c, similarly to the passage flow path 61.
  • the downstream measurement path 93 extends from the measurement outlet 63c to the upstream side of the measurement flow path 62, and is provided between the housing body 51a and the front cover 51b.
  • the downstream measurement path 93 is disposed on the opposite side of the upstream measurement path 91 and the passage flow path 61 across the housing main body 51a in the width direction X.
  • the intermediate measurement path 92 is a portion that connects the upstream measurement path 91 and the downstream measurement path 93 in the measurement flow path 62, and is arranged in a portion where a hole is formed in the housing body 51a. It is provided between the cover 51b and the back cover 51c.
  • the intermediate measurement path 92 extends in the depth direction Z. In the intermediate measurement path 92, the intake air flows in the direction opposite to the intake passage 12.
  • the intermediate measurement path 92 is partitioned from the sub flow path 75 by the partition wall 84, and the measurement board portion 81 a of the circuit board 81 is disposed in the intermediate measurement path 92. For this reason, the flow rate detection unit 52 provided in the intermediate measurement path 92 detects the flow rate of the intake air flowing through the intermediate measurement path 92.
  • the width dimension of the intermediate measurement path 92 is larger than the width dimension of the upstream measurement path 91 and the downstream measurement path 93.
  • the upstream measurement path 91 has a width increasing portion 91 a whose width dimension gradually increases as it approaches the intermediate measurement path 92, and the downstream measurement path 93 has a width dimension that moves away from the intermediate measurement path 92.
  • the width reduction part 93a which becomes gradually small is provided.
  • the housing body 51a has a width increasing surface 94 that forms the width increasing portion 91a, and a width reducing surface 95 that forms the width reducing portion 93a.
  • the width increasing surface 94 is included in a surface of the housing main body 51a that faces the back cover 51c, is not orthogonal to the width direction X, and is inclined with respect to the width direction X by facing the intermediate measurement path 92 side. ing.
  • the width reduction surface 95 is included in the surface of the housing main body 51a that faces the front cover 51b, and is inclined with respect to the width direction X by facing the intermediate measurement path 92 side, like the width increase surface 94. .
  • the flow rate detector 52 is disposed on the surface of the measurement board 81a that faces the front cover 51b. In the intermediate measurement path 92, the flow rate detection unit 52 is disposed on the downstream side of the width increasing surface 94. In this case, since the flow rate detection unit 52 is hidden behind the width increasing surface 94, even if a foreign object enters the measurement channel 62 from the passage channel 61, the width increasing surface 94 is obstructed. It becomes a thing and it becomes difficult for a foreign material to reach the flow rate detection unit 52.
  • the inflow ceiling surface portion 66a has the inflow step surface 71a, so that foreign matter that has entered from the inflow port 63a enters the measurement flow path 62. It is difficult to do.
  • the inflow stepped surface 71a is orthogonal to the depth direction Z. For this reason, as shown in FIG. 8, as shown in FIG. 8, when the large foreign matter F1 entering from the inflow port 63a goes straight in the depth direction Z and collides with the inflow stepped surface 71a, the large foreign matter F1 follows its own trajectory. It is considered that the possibility of returning to the inflow port 63a side is high.
  • FIG. 8 unlike the present embodiment, as in FIG.
  • the inflow ceiling surface portion 66a in the configuration in which the inflow ceiling surface portion 66a does not have the inflow step surface 71a as shown in FIG. Not orthogonal to For this reason, there is a concern that the large foreign matter F1 collides with the inflow ceiling surface portion 66a inclined as a whole and enters the measurement flow path 62 while changing the traveling direction.
  • the inflow ceiling surface portion 66a restricts the rebound direction of the large foreign matter F1, so that the large foreign matter F1 can be prevented from entering the measurement flow path 62.
  • the inflow restricting portion 85 is provided on the passage floor surface 67 on the opposite side of the inflow stepped surface 71a with the inflow port 63a interposed therebetween, foreign matters that enter the inflow port 63a and go straight ahead are provided.
  • the probability of colliding with the inflow stepped surface 71a can be increased. This is because a region of the inflow port 63a that does not face the inflow step surface 71a, that is, a region that is not aligned with the inflow step surface 71a in the depth direction Z can be blocked by the inflow step surface 71a. For this reason, it can suppress that a foreign material approachs into the measurement flow path 62, without colliding with the inflow level
  • the second embodiment can be applied to various embodiments and combinations without departing from the gist of the present disclosure.
  • the inflow stepped surface 71a may not be parallel to the depth direction Z.
  • the inflow stepped surface 71a is configured to extend obliquely upward toward the upstream side.
  • the inflow connection surface 72a is orthogonal to the inflow step surface 71a, and the inflow connection surface 72a extends obliquely downward toward the upstream side.
  • the angle between the inflow step surface 71a and the depth direction Z is referred to as a step angle ⁇ z
  • the angle between the inflow connection surface 72a and the height direction Y is referred to as a connection angle ⁇ y
  • the step angle ⁇ z and the connection angle ⁇ y Is at the same angle.
  • angles ⁇ z and ⁇ y are positive and relatively small absolute values such as several degrees to several tens of degrees. For this reason, for example, even if the large foreign matter F1 straightly traveling in the depth direction Z collides with the inflow step surface 71a or the inflow connection surface 72a, the large foreign matter F1 enters the inlet 63a in the same direction as the depth direction Z. It is easier to go back.
  • the inflow step surface 71a is configured to extend obliquely downward toward the upstream side.
  • the inflow connection surface 72a is orthogonal to the inflow step surface 71a, and the inflow connection surface 72a extends obliquely downward toward the downstream side.
  • the step angle ⁇ z and the connection angle ⁇ y are negative and relatively small absolute values such as several degrees to several tens of degrees. Even in this case, the large foreign matter F1 bounced off from the inflow step surface 71a or the inflow connection surface 72a is easily returned toward the inflow port 63a in the same direction as the depth direction Z.
  • the inflow step surface 71a and the inflow connection surface 72a may not be orthogonal to each other.
  • the angle between the inflow step surface 71a and the inflow connection surface 72a may be smaller than 90 degrees or larger than 90 degrees. The difference between this angle and 90 degrees is that when the large foreign matter F1 straightly traveling in the depth direction Z collides with the inflow stepped surface 71a or the inflow connection surface 72a, the large foreign matter F1 is almost in the same direction as the depth direction Z. It is preferable that it is small enough to return toward the inflow port 63a.
  • Preferred values include relatively small absolute values such as several degrees to several degrees.
  • the height dimension Ha of the inflow stepped surface 71a may not be the same in each step of the inflow ceiling surface portion 66a.
  • the height dimension Ha of the inflow stepped surface 71a is gradually reduced as the distance from the inflow port 63a increases.
  • the depth interval Da is the same for each step.
  • the height dimension Ha of the inflow stepped surface 71a may gradually increase as the distance from the inflow port 63a increases.
  • both the height dimension Ha and the depth interval Da of the inflow step surface 71a may be different.
  • both the height dimension Ha and the depth interval Da gradually increase as the distance from the inflow port 63a increases. It should be noted that both the height dimension Ha and the depth interval Da may be gradually reduced with distance from the inflow port 63a.
  • the air flow meter 50 of the second embodiment may have an outflow step surface and an outflow connection surface.
  • the outflow ceiling surface portion 66b of the passage ceiling surface 66 has an outflow step surface 71b and an outflow connection surface 72b.
  • the outflow step surface 71b and the outflow connection surface 72b correspond to the parts having the same names in the first embodiment
  • the inflow ceiling surface portion 66a has the inflow step surface 71a and the inflow connection surface 72a in this configuration. Not done. Even in this configuration, the outflow step surface 71b is orthogonal to the depth direction. Therefore, as shown in FIG.
  • the outflow ceiling surface portion 66b in the configuration in which the outflow ceiling surface portion 66b does not have the outflow step surface 71b as shown in FIG. 16, the outflow ceiling surface portion 66b extends in the depth direction. It does not have an orthogonal part. For this reason, there is a concern that the large foreign matter F2 collides with the outflow ceiling surface portion 66b that is inclined as a whole, and enters the measurement channel 62 while changing the traveling direction. In this regard, in the present embodiment, the outflow ceiling surface portion 66b restricts the rebound direction of the large foreign matter F2, so that the large foreign matter F2 can be prevented from entering the measurement flow path 62.
  • the said modification B1 is applied to the said modification B4, and the outflow level
  • the outflow step surface 71b extends obliquely upward or obliquely downward toward the upstream side can be given.
  • the said modification B2 is applied to the said modification B4, and the outflow level
  • the passage ceiling surface 66 has an inflow step surface 71a and an inflow connection surface 72a in addition to the outflow step surface 71b and the outflow connection surface 72b. May be.
  • both the large foreign matter F1 colliding with the inflow ceiling surface portion 66a and the large foreign matter F2 colliding with the outflow ceiling surface portion 66b are deterring power against entering the measurement channel 62. Can be demonstrated.
  • a step may not be formed on the entire inflow ceiling surface portion 66a.
  • the inflow ceiling surface portion 66a has an inflow non-step surface 73a in addition to the inflow step surface 71a and the inflow connection surface 72a.
  • the inflow non-step surface 73a extends obliquely downward toward the downstream side from the downstream end portion of the inflow step surface 71a disposed on the most downstream side, and the downstream end portion of the inflow non-step surface 73a extends to the upstream boundary portion 64a. Is arranged. Even in this configuration, the inflow stepped surface 71a can exert a deterring force against the large foreign matter F1 entering the measurement flow path 62.
  • the inflow non-step surface 73a may be disposed upstream of any of the inflow step surfaces 71a, or may be disposed between the plurality of inflow step surfaces 71a. Further, the inflow non-step surface 73a may extend obliquely upward toward the downstream side, or may extend in parallel to the depth direction Z.
  • the modification B7 is applied to the modification B4, and the step may not be formed on the entire outflow ceiling surface portion 66b.
  • the outflow ceiling surface portion 66b has an outflow non-step surface 73b in addition to the outflow step surface 71b and the outflow connection surface 72b.
  • the outflow non-step surface 73b extends obliquely downward toward the downstream side from the downstream end portion of the outflow step surface 71b disposed on the most downstream side, and the downstream end portion of the outflow non-step surface 73b is disposed at the outflow port 63b. Has been.
  • the outflow non-step surface 73b may be disposed upstream of any of the outflow step surfaces 71b, or may be disposed between the plurality of outflow step surfaces 71b.
  • the outflow non-step surface 73b may extend obliquely upward toward the downstream side, or may extend in parallel to the depth direction Z.
  • the passing floor surface 67 may be inclined with respect to the depth direction Z.
  • the passing floor surface 67 is configured to extend obliquely upward toward the upstream side.
  • the passage floor surface 67 inclined with respect to the depth direction Z extends across the inflow port 63a and the outflow port 63b in a state of extending straight.
  • the flow path forming portion 54 does not have the inflow restricting portion 85.
  • the flow path forming unit 54 may not have the inflow restricting unit 85.
  • the depth direction Z at least a part of the outflow ceiling surface portion 66b is not covered with the inflow restricting portion 85 from the upstream side. For this reason, all the outflow level
  • the passing floor surface 67 may have a step.
  • the passing floor surface 67 has a floor step surface 67a and a floor connection surface 67b.
  • the floor step surface 67a is orthogonal to the depth direction Z, and a plurality of floor step surfaces 67a are arranged at a predetermined interval in the depth direction Z.
  • the installation interval of the floor step surface 67a is larger than the depth interval Da of the inflow step surface 71a and the depth interval Db of the outflow step surface 71b.
  • the floor connection surface 67b extends parallel to the depth direction Z and connects the adjacent floor step surfaces 67a.
  • the passage ceiling surface 66 may not have the inflow step surface 71a and the outflow step surface 71b. In this case, it is possible to exert a deterrent against both the large foreign matter colliding with the passing floor surface 67 and changing the traveling direction of the large foreign matter and entering the measurement flow path 62.
  • the passage wall surface 68 may have a step.
  • the passage wall surface 68 has a wall step surface 68a and a wall connection surface 68b.
  • the wall step surface 68a is orthogonal to the depth direction Z, and a plurality of wall step surfaces 68a are arranged at a predetermined interval in the depth direction Z.
  • the installation interval of the wall step surface 68a is larger than the depth interval Da of the inflow step surface 71a and the depth interval Db of the outflow step surface 71b, and is, for example, the same as the installation interval of the floor step surface 67a.
  • the wall step surface 68a and the floor step surface 67a are connected.
  • the wall connection surface 68b extends in parallel with the depth direction Z and connects the adjacent wall step surfaces 68a, similarly to the floor connection surface 67b of Modification B10.
  • the wall step surface 68a and the wall connection surface 68b are formed on at least one of the pair of passage wall surfaces 68.
  • the depth interval Da of the inflow step surface 71a may not be larger than the depth interval Db of the outflow step surface 71b.
  • the depth interval Da may be the same as or smaller than the depth interval Db.
  • one inflow level difference surface 71a may be provided for each of the inflow ceiling surface portion 66a and the outflow ceiling surface portion 66b. Further, only one inflow step surface 71a may be provided on one of the inflow ceiling surface portion 66a and the outflow ceiling surface portion 66b.
  • the air flow meter 50 according to the third embodiment has a parallel region that extends straight in parallel to the depth direction Z. In the present embodiment, the difference from the second embodiment will be mainly described.
  • the passage channel 61 has a parallel region 101, a ceiling side region 102, and a hidden region 103.
  • the parallel region 101 is a region that extends straight in the depth direction Z so as to connect the inflow port 63a and the outflow port 63b.
  • the upstream end portion of the parallel region 101 is included in the inflow port 63a, and the downstream end portion is the flow direction. It is included in the outlet 63b.
  • the ceiling side region 102 is a region closer to the ceiling than the parallel region 101 in the height direction Y, and extends from the inflow port 63a toward the downstream side. In this case, the upstream end portion of the ceiling side region 102 is included in the inflow port 63a.
  • the hidden region 103 is a region located on the passing floor surface 67 side (hereinafter also referred to as a floor side) with respect to the parallel region 101 in the height direction Y, and extends from the outflow port 63b toward the upstream side. In this case, the downstream end of the hidden region 103 is included in the outlet 63b. Note that the areas 101 to 103 are all virtual areas, and the passage channel 61 is not actually divided into the areas 101 to 103. In FIGS. 23 to 25, the parallel region 101 is illustrated by dot hatching.
  • the inflow port 63a has a first inlet region 63a1 included in the parallel region 101 and a second inlet region 63a2 included in the ceiling side region 102.
  • the first inlet region 63a1 is disposed closer to the flange tip side than the second inlet region 63a2, and these regions 63a1 and 63a2 are arranged in the height direction Y so as to divide the inflow port 63a into two. It is out.
  • the parallel region 101 is a region obtained by projecting the first inlet region 63a1 toward the downstream side, and this projected region reaches the outlet 63b.
  • the ceiling side region 102 extends downstream in the depth direction Z because the inflow ceiling surface portion 66a gradually approaches the passage floor surface 67 as it approaches the flow path boundary portion 64. It is in a state of being blocked by the inflow ceiling surface portion 66a. In this case, the ceiling side region 102 is disposed upstream of the inflow ceiling surface portion 66a.
  • the outlet 63b has a first outlet region 63b1 included in the parallel region 101 and a second outlet region 63b2 included in the hidden region 103.
  • the first outlet region 63b1 is disposed on the flange base end side with respect to the second outlet region 63b2, and these regions 63b1 and 63b2 are arranged in the height direction Y so as to divide the outlet 63b into two.
  • the parallel region 101 can also be referred to as a region obtained by projecting the first outlet region 63b1 toward the upstream side.
  • the hidden region 103 extends toward the upstream side along the passing floor surface 67, but the inflow restricting portion 85 protrudes from the passing floor surface 67, and thus in the depth direction Z. Extending to the upstream side is blocked by the inflow restricting portion 85.
  • the hidden region 103 is disposed on the downstream side of the inflow restricting portion 85 and is in a state of being covered and hidden from the upstream side by the inflow restricting portion 85.
  • the inner peripheral surface 61a of the passage 61 has a height restricting surface 105.
  • the height throttle surface 105 is included in the passage floor surface 67 and extends in parallel with the width direction X in a state of being spanned across the pair of passage wall surfaces 68.
  • the height restricting surface 105 is disposed on the outlet 63b side of the flow path boundary 64 in the depth direction Z, and extends from the outlet 63b toward the upstream side.
  • the height restricting surface 105 gradually reduces the height dimension Hc of the passage passage 61 as it approaches the outlet 63b.
  • the height throttle surface 105 gradually approaches the passing ceiling surface 66 as it approaches the outlet 63b, and continuously throttles the passage channel 61.
  • the width dimension of the passage passage 61 is uniform, and the height dimension Hc of the passage passage 61 gradually decreases as it approaches the outlet 63b, so that the cross-sectional area of the passage passage 61 also gradually increases. It is getting smaller.
  • both the height dimension Hc and the cross-sectional area are the smallest at the outlet 63b on the downstream side of the passage boundary 64 in the passage passage 61.
  • the height dimension of the parallel region 101 is uniform in any part in the depth direction Z.
  • the height dimension of the ceiling side region 102 gradually decreases as the distance from the inflow port 63a increases.
  • the passing floor surface 67 has a parallel floor surface portion 106 extending in parallel with the depth direction Z in addition to the height throttle surface 105, and the parallel floor surface portion 106 is an upstream end portion of the height throttle surface 105. It extends toward the upstream side.
  • the height dimension of the hidden region 103 is uniform in any part in the range where the parallel floor surface portion 106 is present, but gradually in the range where the height throttle surface 105 is present as it approaches the outlet 63b. It is getting smaller.
  • the height dimension of the parallel region 101 is smaller than the height dimension of the ceiling side region 102. That is, the height dimension of the first inlet region 63a1 is smaller than the height dimension of the second inlet region 63a2. In this case, with the parallel region 101 secured, the second inlet region 63a2 and the ceiling-side region 102 prevent the amount of intake air flowing into the passage channel 61 from being insufficient.
  • the height dimension of the parallel region 101 is smaller than the height dimension of the hidden region 103. That is, the height dimension of the 1st exit area
  • the height restricting surface 105 is arranged on the downstream side of the inflow restricting portion 85 in the depth direction Z, and is covered by the inflow restricting portion 85 from the upstream side. For this reason, in the depth direction Z, the height restricting surface 105 is not exposed upstream from the inflow port 63a due to the presence of the inflow restricting portion 85. For example, when a person looks into the passage 61 from the inflow port 63a in the depth direction Z, the line of sight is blocked by the inflow restricting portion 85 so that the height restricting surface 105 cannot be visually recognized.
  • the height throttle surface 105 is exposed from the inflow port 63a, and a person who looks into the back side of the inflow restricting portion 85 from that direction It can be said that the height diaphragm surface 105 can be visually recognized.
  • the large foreign matter F3 straightly traveling in the depth direction Z enters the passage 61 from the first inlet region 63a1 of the inflow port 63a
  • the large foreign matter F3 simply travels straight through the parallel region 101, thereby causing the outlet 63b.
  • the first exit area 63b1 will be exited.
  • the large foreign matter F3 that goes straight in the depth direction Z that goes straight through the parallel region 101 collides with the height restricting surface 105.
  • the entry into the measurement channel 62 is less likely to occur.
  • the foreign matter collides with the height throttle surface 105 and bounces back.
  • the measurement channel 32 may be easily entered.
  • the straight line travels in the depth direction Z. It is assumed that the large foreign matter F4 colliding with the height restricting surface 105.
  • the large foreign matter F4 bounces off at the outflow ceiling surface portion 66b following the height restricting surface 105 and proceeds to the upstream side. May be easier to enter.
  • the traveling direction of the large foreign matter F4 bounced off at the height restricting surface 105 changes in the height direction Y, the possibility that the large foreign matter F4 enters the measurement flow path 62 is likely to increase.
  • the large foreign matter F4 that goes straight in the depth direction Z does not easily collide with the height restricting surface 105, the large foreign matter F4 may enter the measurement flow path 62. It is suppressed.
  • the outflow ceiling surface part 66b and the flow path boundary part 64 extend in parallel to the depth direction Z, and the upstream end of the measurement flow path 62 is open to the flange front end side in the height direction Y. In this case, the upstream end portion of the measurement flow path 62 is not open to either the inflow port 63a side or the outflow port 63b side.
  • the parallel region 101 extends in parallel with the flow channel boundary 64, and the outflow ceiling surface portion 66 b and the flow channel boundary 64 define a range on the ceiling side of the parallel region 101. Due to the fact that the flow path boundary 64 extends in parallel with the depth direction Z, the flow path boundary 64 is not exposed upstream from the inflow port 63a.
  • the parallel region 101 extends in parallel with the upper surface 85 b of the inflow restricting portion 85, and the upper surface 85 b defines the floor side range of the parallel region 101.
  • the parallel region 101 is secured as a projection region of the first inlet region 63a1 of the inflow port 63a. For this reason, the foreign matter that goes straight in the depth direction Z through the parallel region 101 can easily come out from the outlet 63b without colliding with any part of the inner peripheral surface 61a of the passage channel 61.
  • the possibility that a foreign object collides with the inner peripheral surface 61a of the passage channel 61 compared to a configuration in which the region extending straight in the depth direction Z is not secured in the passage channel 61, The entry of foreign matter into the measurement channel 62 can be suppressed.
  • the height restricting surface 105 restricts the passage passage 61 on the downstream side of the passage boundary 64, the amount of intake air flowing from the passage passage 61 into the measurement passage 62 is likely to increase.
  • the flow rate detection unit 52 is a thermal flow rate sensor
  • the flow of the intake air in the measurement flow path 62 is somewhat fast in order to keep the detection accuracy of the flow rate detection unit 52 appropriate. It is preferable. That is, it is preferable that the inflow amount of the intake air from the passage channel 61 to the measurement channel 62 is large to some extent.
  • the amount of inflow into the measurement flow path 62 increases or decreases according to the relationship between the cross-sectional area and the flow path length of the passage flow path 61 and the measurement flow path 62.
  • the height restriction surface 105 is not provided. In comparison, the amount of inflow into the measurement flow path 62 is increased. Thereby, the detection accuracy of the flow rate detection unit 52 in the measurement flow path 62 can be optimized.
  • the flow path boundary 64 is not exposed upstream from the inlet 63 a in the depth direction Z, the foreign matter that has entered from the inlet 63 a collides with the inner peripheral surface 61 a of the passage 61. Without entering the measurement flow path 62 as it is. Accordingly, it is possible to exert a deterrent against a decrease in detection accuracy of the flow rate detection unit 52 due to foreign matter adhering to the flow rate detection unit 52 or the like.
  • the height restricting surface 105 is an inclined surface, the height dimension Hc and the cross-sectional area of the passage channel 61 are gradually reduced. For this reason, for example, the turbulence of the airflow is less likely to occur in the vicinity of the height restricting surface 105 than in the configuration in which the height dimension Hc and the cross-sectional area of the passage channel 61 are rapidly reduced. In this case, since it is difficult for disturbance to occur in the intake air flowing into the measurement flow path 62, it is possible to suppress a decrease in detection accuracy of the flow rate detection unit 52 due to disturbance of the airflow generated in the measurement flow path 62.
  • the passing floor surface 67 has the parallel floor surface portion 106 extending in parallel with the parallel region 101.
  • the flow of the intake air in the parallel region 101 is less disturbed than in a configuration in which the passing floor surface 67 does not have a portion extending in parallel to the parallel region 101.
  • the parallel floor surface part 106 can prompt the foreign object that goes straight in the depth direction Z to go out from the outlet 63b as it is.
  • the inflow restricting portion 85 is simply provided so as to cover the height throttle surface 105 from the upstream side, so that a foreign object that travels straight in the depth direction Z collides with the height throttle surface 105. It has become difficult.
  • the height restricting surface 105 is to be hidden behind the inflow ceiling surface portion 66a, the position of the channel boundary 64 and the measurement with respect to the passage channel 61 are performed at the design change stage. There are concerns that many considerations such as the branching angle of the flow path 62 may occur.
  • the entire outlet 63b is not included in the parallel region 101, but the first outlet region 63b1 of the outlet 63b is included in the parallel region 101, while the second outlet region 63 b 2 is not included in the parallel region 101.
  • the turbulence of the airflow occurs in the passage passage 61, for example, it is possible to ensure the possibility that the turbulence is included in the hidden region 103 instead of the parallel region 101, for example.
  • it is possible to ensure the possibility that air turbulence or the like is released not from the first outlet region 63b1 but from the second outlet region 63b2.
  • the third embodiment can be applied to various embodiments and combinations without departing from the gist of the present disclosure.
  • the inflow ceiling surface portion 66a may have a step.
  • the second embodiment is applied and the inflow ceiling surface portion 66a has an inflow step surface 71a and an inflow connection surface 72a as shown in FIG.
  • the ceiling-side region 102 is formed between the inflow ceiling surface portion 66a and the parallel region 101.
  • the foreign object collides with the inflow stepped surface 71 a and bounces back to the inflow port 63 a, thereby The entry is suppressed.
  • the height diaphragm surface 105 may have a step.
  • the modified example B10 is applied, and the height throttle surface 105 has a floor step surface 67a and a floor connection surface 67b as shown in FIG.
  • the height restricting surface 105 of this configuration does not restrict the passage passage 61 continuously as it approaches the outlet 63b, but restricts it stepwise.
  • the height dimension Hc and the cross-sectional area of the passage channel 61 are gradually reduced toward the outflow port 63b.
  • the downstream end of the floor connection surface 67b arranged on the most downstream side is included in the outlet 63b, and in the passage channel 61, the height dimension Hc of the portion formed by the floor connection surface 67b.
  • the cross-sectional area is the smallest.
  • the modification C3 the modification C1 and the modification C2 may be combined, and both the inflow ceiling surface portion 66a and the height throttle surface 105 may have a step.
  • the inflow ceiling surface portion 66a has an inflow step surface 71a and an inflow connection surface 72a
  • the height throttle surface 105 has a floor step surface 67a and a floor connection surface 67b.
  • the inner peripheral surface 61a of the passage channel 61 may have a plurality of height restricting surfaces.
  • the inner peripheral surface 61a has a floor throttle surface 105a and a ceiling throttle surface 105b as height throttle surfaces.
  • the floor throttle surface 105 a is the height throttle surface 105 of the third embodiment and is included in the passing floor surface 67.
  • the ceiling throttle surface 105b is included in the outflow ceiling surface portion 66b, and is in a state of being spanned over a pair of passage wall surfaces 68, like the floor throttle surface 105a.
  • the downstream end portion of the ceiling throttle surface 105b is included in the outlet 63b, and the ceiling throttle surface 105b gradually approaches the passage floor 67 as it approaches the outlet 63b in the height direction Y. Further, almost the entire outflow ceiling surface portion 66b is a ceiling throttle surface 105b. In this configuration, since both the floor throttle surface 105a and the ceiling throttle surface 105b restrict the passage passage 61, the degree of restriction of the passage passage 61 can be increased as much as possible.
  • the passage channel 61 may have a plurality of hidden regions.
  • the passage 61 has a floor hidden area 103a and a ceiling hidden area 103b as hidden areas.
  • the floor hidden area 103 a is the hidden area 103 of the third embodiment, and is formed between the parallel area 101 and the passing floor surface 67.
  • the ceiling hidden area 103b is an area formed between the parallel area 101 and the outflow ceiling surface portion 66b.
  • the ceiling hidden region 103b may extend from the outlet 63b toward the downstream side, for example, as shown in FIG.
  • the outlet 63b has a plurality of second outlet areas 63b2, the floor hidden area 103a extends from the second outlet area 63b2 on the floor side, and the ceiling hidden area 103b extends from the second outlet area 63b2 on the ceiling side. It extends toward the upstream side.
  • the ceiling hidden area 103b is disposed on the downstream side of the inflow ceiling surface portion 66a in the depth direction Z, and is covered with the inflow ceiling surface portion 66a from the upstream side.
  • the ceiling hidden area 103b may be formed independently of the outflow port 63b, for example, as shown in FIG.
  • the downstream boundary portion 64 b of the flow path boundary portion 64 is disposed at a position away from the passage floor surface 67 as compared to the third embodiment.
  • the flow path boundary portion 64 does not extend in parallel to the depth direction Z but is inclined with respect to the depth direction Z by extending obliquely toward the floor side toward the downstream side.
  • the upstream end of the ceiling throttle surface 105b is included in the outlet 63b.
  • the passage channel 61 has a shape in which a portion around the downstream boundary portion 64b swells toward the opposite side of the passage floor surface 67, and this portion is a ceiling hidden region 103b.
  • the ceiling hidden area 103 b is an area surrounded by the ceiling diaphragm surface 105 b, the flow path boundary 64, and the parallel area 101.
  • the inner peripheral surface 61a of the passage passage 61 may have a width restriction surface that restricts the passage passage 61 in the width direction as it approaches the outlet 63b.
  • at least one of the pair of passage wall surfaces 68 may include a width diaphragm surface.
  • the width diaphragm surface 107 is included in one of the pair of passage wall surfaces 68.
  • the width-squeezed surface 107 extends in parallel to the height direction Y in a state of being spanned between the outflow ceiling surface portion 66 b and the passage floor surface 67.
  • the width restricting surface 107 is disposed on the outflow port 63b side with respect to the channel boundary 64 in the depth direction Z, and extends from the outflow port 63b toward the upstream side.
  • the width restricting surface 107 gradually decreases the width dimension Wa of the passage passage 61 as it approaches the outlet 63b.
  • the narrowed surface 107 gradually approaches the other passage wall 68 as it approaches the outlet 63b, and the width dimension Wa and the cross-sectional area of the passage 61 are continuously reduced.
  • the parallel region 101 is a region between the width diaphragm surface 107 and the passage wall surface 68 without the width diaphragm surface 107 in the width direction X.
  • the passage flow channel 61 has a side region 104 provided on the side of the parallel region 101 in the width direction X.
  • the side region 104 is a region extending from the inflow port 63a toward the downstream side, and is disposed on the upstream side of the width restricting surface 107.
  • the passage wall surface 68 having the width diaphragm surface 107 has a parallel wall surface portion 108 extending parallel to the depth direction Z.
  • the parallel wall surface portion 108 extends from the upstream end portion of the width restricting surface 107 toward the upstream side, and the upstream end portion of the parallel wall surface portion 108 is included in the inflow port 63a.
  • the parallel wall surface portion 108 urges the foreign object that travels straight in the depth direction Z through the parallel region 101 to travel straight through and exit from the outlet 63b.
  • the width diaphragm surface 107 may have a step instead of an inclined surface.
  • the width diaphragm surface 107 similarly to the passing ceiling surface 66 of the second embodiment, has a step surface and a connection surface.
  • the portion with the smallest height dimension Hc and cross-sectional area in the passage channel 61 may not be the outflow port 63b.
  • it may be an intermediate portion between the flow path boundary portion 64 and the outlet 63b in the depth direction Z.
  • the height restricting surface 105 is configured to restrict the passage passage 61, the flow of the intake air in the measurement passage 62 can be appropriately accelerated.
  • the parallel region 101 may include the entirety of at least one of the inflow port 63a and the outflow port 63b.
  • the outlet 63b is configured to have only the first outlet region 63b1 out of the first outlet region 63b1 and the second outlet region 63b2.
  • the downstream boundary part 64b of the flow path boundary part 64 may be arranged on the floor side with respect to the upstream boundary part 64a.
  • the downstream boundary portion 64b is exposed upstream from the inflow port 63a.
  • the outflow ceiling surface portion 66b extends parallel to the depth direction Z, the outflow ceiling surface portion 66b narrows the passage channel 61 at a position exposed upstream from the inflow port 63a in the depth direction Z. Not applicable.
  • the passing floor surface 67 may not have the parallel floor surface portion 106.
  • the height throttle surface 105 it is assumed that almost the entire passing floor surface 67 is the height throttle surface 105.
  • the height restricting surface 105 extends from the base end portion of the inflow restricting portion 85 toward the downstream side. In this case, the height restricting surface 105 is in a state of being stretched over the inflow restricting portion 85 and the outflow port 63b.
  • the flow path forming part 54 has a flow path partitioning part 111 that partitions the passage flow path 61 and the measurement flow path 62 so as to branch the measurement flow path 62 from the passage flow path 61.
  • the channel partition 111 is provided on the downstream side of the channel boundary 64 in the depth direction Z and on the side opposite to the passing floor surface 67 with the passing channel 61 interposed in the height direction Y.
  • a partition top portion 111 a that is an upstream end portion of the flow path partition portion 111 forms a downstream boundary portion 64 b of the flow path boundary portion 64. In this case, it can also be said that the partition top portion 111a is at the same position as the downstream boundary portion 64b.
  • the height dimension of the flow path partitioning portion 111 gradually decreases as it approaches the flow path boundary portion 64 in the depth direction Z, and the smallest portion of this height dimension is the partition top portion 111a.
  • the partition top portion 111a is a top side extending in the width direction X. It can also be said that the flow path partitioning part 111 partitions the passage flow path 61 and the measurement flow path 62 vertically in the height direction Y.
  • the flow path partition 111 is included in the housing main body 51 a in the housing 51.
  • the surface facing the floor side forms the outflow ceiling surface portion 66 b, and the surface facing the side opposite to the passing floor surface 67 forms the inner peripheral surface of the measurement flow channel 62. .
  • the flow path forming part 54 has a ceiling convex part 112 that protrudes toward the floor side in addition to the flow path partition part 111.
  • the ceiling convex portion 112 is provided on the upstream side of the outflow ceiling surface portion 66b.
  • a ceiling top portion 112 a that is an end portion on the floor side of the ceiling convex portion 112 forms an upstream boundary portion 64 a of the flow path boundary portion 64.
  • the ceiling top portion 112a is in the same position as the upstream boundary portion 64a.
  • the depth dimension of the ceiling convex portion 112 in the depth direction Z gradually decreases as it approaches the passing floor surface 67 in the height direction Y, and the portion having the smallest depth dimension is the ceiling top portion 112a.
  • the ceiling top portion 112a is a top side extending in the width direction X.
  • the ceiling convex portion 112 is included in the housing main body 51 a in the housing 51.
  • the surface facing the upstream side in the depth direction Z forms the inflow ceiling surface portion 66 a
  • the surface facing the downstream side forms the inner peripheral surface of the measurement channel 62.
  • the partition top 111a is not exposed to the upstream side from the inflow port 63a.
  • the partition top 111a cannot be visually recognized even if the direction of the look is changed.
  • the partition top portion 111a is covered from the upstream side by the inflow restricting portion 85 and the ceiling convex portion 112, and the line of sight of the person from the inflow port 63a is caused by the inflow restricting portion 85 and the ceiling convex portion 112. Blocked.
  • the fact that the partition top 111a is not exposed means that the flow path boundary 64 is not exposed upstream from the inflow port 63a.
  • the inflow restricting portion 85 corresponds to a “floor convex portion” protruding from the passing floor surface 67 toward the ceiling side.
  • the upper surface 85 b can also be referred to as the upper end portion of the inflow restricting portion 85, and when the upstream end portion of the upper surface 85 b is referred to as the restricted top portion 85 c, this restricted top portion 85 c is also the upper end of the inflow restricting portion 85. It will be included in the part.
  • a virtual line connecting the restricted top portion 85c of the inflow restricting portion 85 and the ceiling top portion 112a of the ceiling convex portion 112 is referred to as a connecting line PL.
  • the connecting line PL can also be referred to as a virtual line representing a line of sight in which a part close to the partition top 111a can be seen when, for example, a person looks into the passage 61 from the inflow port 63a.
  • connection line PL a virtual line that connects the tip portion of each ceiling convex portion and the tip portion of the floor convex portion Among these, the virtual line having the maximum connection angle ⁇ a that is the inclination angle with respect to the depth direction Z is referred to as a connection line PL.
  • connection angle ⁇ a is an angle of a portion opened toward the downstream side between the connection line PL and the depth reference line Za.
  • the connecting angle ⁇ a is a side where the downstream portion of the connecting line PL is away from the passing floor surface 67 and becomes a positive value
  • the side approaching the passing floor surface 67 is a side where the negative value becomes larger.
  • the connecting angle ⁇ a is a positive value.
  • the connecting angle ⁇ a is a negative value.
  • the inner peripheral surface 61 a of the passage channel 61 has an inflow upper end portion 113 and an outflow upper end portion 114.
  • the inflow upper end portion 113 is an end portion of the inflow port 63a opposite to the passing floor surface 67 in the height direction Y, and the outflow upper end portion 114 in the height direction Y is the passage floor surface 67 of the outflow port 63b. Is the opposite end.
  • the inflow upper end portion 113 is located farther from the passing floor surface 67 than the ceiling top portion 112a in the height direction Y. Further, the inflow upper end portion 113 is located farther from the passage floor surface 67 than the partition top portion 111a in the height direction Y.
  • the inflow upper end part 113 is arranged at a position as far as possible from the passage floor surface 67, so that the open area of the inflow port 63a is made as large as possible. For this reason, it is suppressed that the inflow amount of the intake air from the inflow port 63a is insufficient and the detection accuracy of the flow rate detection unit 52 is lowered.
  • the outflow upper end portion 114 is located on the floor side of the ceiling top portion 112a in the height direction Y.
  • the outflow upper end portion 114 is arranged as close to the passing floor surface 67 as possible, so that the open area of the outflow port 63b is made as small as possible. For this reason, since the pressure of the intake air flowing out from the outlet 63b is increased, the intake air easily flows into the measurement flow path 62, and the flow rate of the intake air into the measurement flow path 62 is insufficient. It is suppressed that the detection accuracy falls. Further, the outflow upper end portion 114 is located farther from the passing floor surface 67 than the restricted top portion 85c in the height direction Y.
  • the partition top portion 111a is arranged on the opposite side of the passing floor surface 67 across the connecting line PL, so that the partition top portion 111a is not exposed to the upstream side from the inflow port 63a.
  • the connecting line PL passes between the partition top portion 111a and the passing floor surface 67, and the ceiling convex portion 112 enters between the partition top portion 111a and the restricted top portion 85c. Therefore, as shown by a solid line in FIG. 34, when the large foreign matter F5 that has entered the passage channel 61 from the inflow port 63a is traveling straight along the connecting line PL, the large foreign matter F5 is in the height direction Y.
  • the large foreign matter F6 moves straight along the connecting line PL. If there is, there is a concern that the large foreign matter F6 enters the measurement channel 62 as it is. In this case, the large foreign matter F6 enters the measurement flow path 62 even though the traveling direction does not change without colliding with the inner peripheral surface 61a.
  • the connecting line PL passes through the opposite side of the passage floor surface 67 across the partition top 111a, and the upstream end of the measurement channel 62 and the channel boundary 64 are the inlet.
  • the passage 61 has a straight region 115.
  • the straight region 115 is a region extending straight so as to connect the inflow port 63a and the outflow port 63b.
  • the upstream end of the straight region 115 is included in the inflow port 63a, and the downstream end is included in the outflow port 63b. It is.
  • the straight region 115 is not parallel to the depth direction Z and is inclined with respect to the depth direction Z.
  • the straight region 115 is inclined with respect to the depth direction Z so as to approach the passing floor surface 67 toward the downstream side.
  • This inclination direction is opposite to the connecting line PL, and the straight angle ⁇ b indicating the inclination angle with respect to the depth direction Z is a negative value.
  • the straight angle ⁇ b is an angle of a portion opened toward the downstream side between the straight region 115 and the reference line Za.
  • the height dimension of the straight region 115 is uniform in any part in the depth direction Z.
  • the large foreign matter F7 flowing in from the inflow port 63a goes straight along the straight region 115
  • the large foreign matter F7 simply goes straight through the straight region 115 and exits from the outflow port 63b. go.
  • the inclination direction with respect to the depth direction Z is opposite between the straight region 115 and the connecting line PL.
  • the air flow meter 50 is installed in the intake passage 12 so that the foreign matters contained in the intake air increase in the number of large foreign matters F7 that go straight along the straight region 115, the large amount that advances along the connecting line PL.
  • the number of foreign matters such as the foreign matter F5 tends to decrease. For this reason, it becomes easy to exhibit the deterrent against the foreign matter which entered the passage channel 61 from the inlet 63a entering the measurement channel 62 as it is without colliding with the inner peripheral surface 61a.
  • the partition top 111a and the downstream boundary portion 64b coincide with each other. Therefore, by realizing a configuration in which the partition top 111a is not exposed to the upstream side from the inflow port 63a, the flow path boundary 64 also flows. A configuration that is not exposed to the upstream side from the inlet 63a can be realized. For this reason, it can suppress more reliably that foreign materials, such as the large foreign material F5 which goes straight through the passage flow path 61, approach the measurement flow path 62 as it is, without colliding with the internal peripheral surface 61a.
  • the connecting line PL passes through the passage floor surface 67 side of the partition top portion 111a, a configuration in which the partition top portion 111a is not exposed to the upstream side from the inflow port 63a can be realized.
  • the partition top 111a and the upstream boundary portion 64a coincide. That is, the upstream boundary portion 64a is not disposed on the floor side of the partition top portion 111a. For this reason, the upstream end of the measurement flow path 62 and the flow path boundary 64 are exposed from the inflow port 63a to the upstream side, even though the partition top 111a is not exposed to the upstream side from the inflow port 63a. Can be avoided. As a result, it is possible to reliably prevent foreign matters such as the large foreign matter F5 that travels straight along the connecting line PL from entering the measurement flow path 62 as they are.
  • the ceiling top portion 112a in the height direction Y, since the ceiling top portion 112a is disposed at a height position between the partition top portion 111a and the restricted top portion 85c, a straight region 115 is secured in the passage passage 61. be able to.
  • the straight region 115 is defined in the configuration in which the ceiling top portion 112a in the height direction Y is arranged at a position closer to the passage floor surface 67 than any of the partition top portion 111a and the restricted top portion 85c. It becomes difficult to secure the passage 61 in an appropriate state.
  • the straight region 115 is also appropriately set to the passage passage 61. It becomes difficult to secure in a state.
  • the positional relationship between the partition top portion 111a, the restricted top portion 85c, and the ceiling top portion 112a is set so that the straight region 115 can be secured in an appropriate state. For this reason, it is possible to suppress the foreign matter such as the large foreign matter F6 that goes straight through the passage passage 61 from entering the measurement passage 62 as it is, and to further promote the foreign matter such as the large foreign matter F7 to leave the outlet 63b as it is. realizable.
  • examples of the configuration in which the straight region 115 can be secured in an appropriate state include a configuration in which the inclination angle of the straight region 115 with respect to the depth direction Z is not too large, and a configuration in which the cross-sectional area of the straight region 115 is not too small. .
  • the inflow restricting portion 85 since the inflow restricting portion 85 has a function of defining the angle of the connecting line PL as a floor convex portion, the dedicated member or the dedicated portion that specifies the angle of the connecting line PL in the passage channel 61. There is no need to install a new one. For this reason, it can be suppressed that the configuration of the air flow meter 50 is complicated, or that the flow of the inflow air in the passage passage 61 tends to be disturbed due to an increase in the number of dedicated members and dedicated portions.
  • the partition top portion 111a in the depth direction Z, is arranged at a position hidden behind the inflow restricting portion 85 and the ceiling convex portion 112, so the partition top portion 111a is exposed to the upstream side from the inflow port 63a. Can be reliably suppressed.
  • a configuration in which the partition top 111a is not exposed to the upstream side from the inflow port 63a is realized using the shapes of the passage ceiling surface 66 and the inflow port 63a. For this reason, for example, it is not necessary to newly install a dedicated member or a dedicated part for covering the partition top 111a.
  • the fourth embodiment can be applied to various embodiments and combinations without departing from the scope of the present disclosure.
  • the floor convex portion may not be the inflow restricting portion 85.
  • the floor convex portion 117 is provided at a position spaced downstream from the inflow port 63a.
  • the floor convex portion 117 is provided on the upstream side of the ceiling top portion 112a, and is disposed between the inflow port 63a and the ceiling top portion 112a in the depth direction Z.
  • the floor convex portion 117 has a floor top portion 117a which is a tip portion thereof. Even in this configuration, the connecting line PL that connects the ceiling top portion 112a and the floor top portion 117a passes through the floor side from the partition top portion 111a. Yes. Thereby, the partition top part 111a is not exposed to the upstream side from the inflow port 63a.
  • the floor tops such as the restricted top part 85c may be provided on the downstream side of the ceiling top part 112a.
  • the floor top portion 117a is provided on the downstream side of the ceiling top portion 112a.
  • the floor top portion 117a is disposed between the ceiling top portion 112a and the inflow port 63a, and the floor convex portion 117 enters between the ceiling top portion 112a and the partition top portion 111a.
  • the ceiling convex part 112 is provided in the inflow port 63a, for example.
  • the connecting line PL connecting the ceiling top part 112a and the floor top part 117a passes through the floor side rather than the partition top part 111a.
  • the ceiling top portion 112a is not configured to form the upstream boundary portion 64a.
  • the connecting line PL may be inclined toward the floor toward the downstream side. That is, the connecting angle ⁇ a may be a negative value.
  • the restricted top portion 85c is configured to be separated from the passing floor surface 67 more than the ceiling top portion 112a. In this configuration, the downstream end portion of the upper surface 85b of the inflow restricting portion 85 becomes the restricting top portion 85c.
  • the inclination direction of the connecting line PL with respect to the depth direction Z is the same as the inclination direction of the straight region 115 with respect to the depth direction Z. Even in this configuration, the partition top 111a is not exposed to the upstream side from the inflow port 63a.
  • the distal end portion that is the upstream end portion of the flow path partitioning portion 111 may have a flat distal end surface.
  • the front end surface 111b of the flow path partition 111 is a flat surface
  • the connecting line PL intersects the front end surface 111b.
  • the end of the front end surface 111b opposite to the floor is the partition top 111a
  • the floor end 111c opposite to the partition top 111a forms the downstream boundary portion 64b.
  • the partition top part 111a and the downstream boundary part 64b do not correspond, the partition top part 111a is not exposed to the upstream side from the inflow port 63a even in this configuration.
  • the large foreign matter F8 that goes straight along the connecting line PL collides with the inner peripheral surface of the measurement flow path 62 even if it once enters the measurement flow path 62 beyond the flow path boundary 64. It is easy to return from the measurement flow path 62 to the passage flow path 61 by rebounding. That is, the large foreign object F8 is easy to go out from the outlet 63b.
  • the straight region 115 may extend parallel to the depth direction Z in the same manner as the parallel region 101 of the third embodiment. Even in this configuration, the connecting line PL and the straight region 115 are relatively inclined, that is, the connecting angle ⁇ a and the straight angle ⁇ b are different, so that the partition top 111a is exposed to the upstream side from the inflow port 63a. Can be realized.
  • a part of the tip portion that is the upstream end portion of the flow path partitioning portion 111 may be exposed to the upstream side from the inflow port 63a.
  • the front end surface of the flow path partition portion 111 is flat or curved, the range of the front end portion cannot be clearly specified in the flow path partition portion 111, and the flow path boundary portion 64 is also clearly defined. The case where it cannot be identified is assumed.
  • the front end surface 111b of the flow path partition 111 and the connecting line PL intersect each other.
  • the intersection angle ⁇ c between the connecting line PL and the tip surface 111b is greater than 90 degrees.
  • the distal end surface 111b is a curved surface that is curved so as to protrude toward the upstream side.
  • a point where the connecting line PL intersects the tip surface 111b is referred to as an intersection Ca
  • a tangent line of the tip surface 111b at the intersection Ca is referred to as a partition tangent line TL
  • the intersection angle ⁇ c is equal to the connecting line PL and the partition tangent line. This is the angle of the portion opened toward the downstream side with respect to TL.
  • the large foreign matter F9 that travels straight along the connecting line PL collides with the front end surface 111b of the flow path partitioning portion 111 and then moves upstream in the height direction Y. Easy to bounce off the floor. That is, the large foreign matter F9 is likely to bounce toward the opposite side of the measurement flow path 62. Thereby, it can suppress that foreign materials, such as the large foreign material F9, will approach the measurement flow path 62 easily by bouncing off at the front end surface 111b.
  • the present modification D6 in the configuration in which the intersection angle ⁇ c is smaller than 90 degrees, it is considered that the large foreign matter F9 tends to bounce toward the upstream side and the opposite side to the floor side. That is, it is considered that the large foreign matter F9 enters the measurement flow path 62 by rebounding at the front end surface 111b of the flow path partition 111.
  • the connecting line PL passes through the floor side of the curved partition center line Cb.
  • the front end surface 111b and the partition center line Cb extend in parallel in the width direction X, and the flow path boundary portion 64 is disposed at a position overlapping the virtual line connecting the partition center line Cb and the ceiling top portion 112a.
  • the angle between the tangent to the front end surface 111b and the connection line PL is greater than 90 degrees at the point where the connection line PL and the front end surface 111b intersect as in the modification D6.
  • the foreign substance that goes straight along the connecting line PL is likely to travel to the side opposite to the measurement flow path 62 by bouncing off at the front end surface 111 b of the flow path partitioning portion 111. For this reason, it can suppress that a foreign material enters into the measurement flow path 62.
  • the air flow meter 50 of the fifth embodiment has a close-up surface that brings a foreign object that is likely to go straight to one of the pair of wall surfaces in the width direction X.
  • differences from the second embodiment will be mainly described.
  • the pair of passage wall surfaces 68 in the second embodiment is a pair of passage wall surfaces 68c and 68d, and these passage wall surfaces 68c and 68d correspond to passage-opposing surfaces.
  • One front passage wall surface 68c is formed by the front cover 51b and the housing body 51a
  • the other back passage wall surface 68d is formed by the back cover 51c and the housing body 51a.
  • the inner peripheral surface 61 a of the passage passage 61 has a close surface 121.
  • the approach surface 121 is included in the inflow ceiling surface portion 66a, and is provided in a state of being spanned between the pair of passage wall surfaces 68c and 68d, like the inflow restriction portion 85.
  • one end portion of the approaching surface 121 is disposed on the floor side with respect to the other end portion.
  • the housing body 51a corresponds to a partition wall that partitions the passage channel 61 and the measurement channel 62 in the width direction X.
  • the end portion on the front passage wall surface 68c side is arranged on the floor side from the end portion on the back passage wall surface 68d side in the approaching surface 121.
  • the approach surface 121 is an inclined surface that gradually separates from the floor surface 67 as it approaches the back passage wall surface 68d in the width direction X.
  • the inclination angle of the approach surface 121 with respect to the width direction X is, for example, several degrees to several tens of degrees smaller than 45 degrees.
  • the width dimension in the width direction X is larger than the height dimension in the height direction Y.
  • the approach surface 121 extends from the inflow port 63a toward the downstream side, and forms almost the entire inflow ceiling surface portion 66a.
  • the passage center line CLa is an imaginary line connecting the center C1 of the inflow port 63a and the center C2 of the outflow port 63b (see FIG. 42). ).
  • the measurement center line CLb is a virtual line connecting the center C3 of the flow path boundary 64 and the center C4 of the measurement outlet 63c (see FIG. 44).
  • the flow path center line CL includes the entire passage center line CLa and the measurement center. Part of the line CLb is included.
  • the flow path center line CL includes a connection center line CLc as a virtual line connecting the passage center line CLa and the measurement center line CLb.
  • the connection center line CLc is connected to the passage center line CLa by extending from the center C3 of the passage boundary portion 64 toward the upstream side in the passage passage 61.
  • the inner peripheral surface 62a of the measurement flow path 62 has a measurement ceiling surface 126, a measurement floor surface 127, and a pair of measurement wall surfaces 128a and 128b.
  • the pair of measurement wall surfaces 128a and 128b are opposed to each other across the flow path boundary portion 64 and the measurement outlet 63c in the width direction X, and correspond to branch facing surfaces.
  • the front measurement wall surface 128a is formed by the front cover 51b and the housing body 51a similarly to the front passage wall surface 68c
  • the back measurement wall surface 128b is formed by the back cover 51c and the housing body 51a similarly to the back passage wall surface 68d.
  • the front measurement wall surface 128 a has a width increasing surface 94
  • the back measurement wall surface 128 b has a width reducing surface 95.
  • the width increasing surface 94 and the width decreasing surface 95 are formed by the housing body 51a.
  • the measurement ceiling surface 126 extends from the downstream end portion of the inflow ceiling surface portion 66a toward the downstream side of the measurement flow path 62, and is in a state of being spanned between the inflow ceiling surface portion 66a and the measurement outlet 63c.
  • the measurement floor surface 127 extends from the upstream end portion of the outflow ceiling surface portion 66b toward the downstream side of the measurement flow path 62, and is in a state of being spanned between the outflow ceiling surface portion 66b and the measurement outlet 63c. In this case, the measurement ceiling surface 126 and the measurement floor surface 127 are opposed to each other with the measurement wall surfaces 128a and 128b interposed therebetween.
  • the configuration of the passage channel 61 and the measurement channel 62 is described using the lateral direction ⁇ , the longitudinal direction ⁇ , and the channel direction ⁇ .
  • the horizontal direction ⁇ has only the component of the width direction X.
  • a pair of passage wall surfaces 68c and 68d are arranged, and a pair of measurement wall surfaces 128a and 128b are arranged.
  • the flow path direction ⁇ is basically a direction in which the passage flow path 61 and the measurement flow path 62 extend and does not have a component in the width direction X, but has a component in the height direction Y and a component in the depth direction Z. .
  • the vertical direction ⁇ is orthogonal to both the horizontal direction ⁇ and the flow direction ⁇ , and, like the flow direction ⁇ , does not have a component in the width direction X, but has a component in the height direction Y and a depth. It has a component of direction Z.
  • the passage ceiling surface 66 and the passage floor surface 67 are opposed to each other, and the measurement ceiling surface 126 and the measurement floor surface 127 are opposed to each other.
  • the vertical direction ⁇ and the flow direction ⁇ are different depending on the positions of the flow paths 61 and 62 due to the bending of the passage flow path 61 and the measurement flow path 62.
  • the passage channel 61 and the measurement channel 62 are extended along the channel center line CL in the longitudinal direction ⁇ and measured from the measurement ceiling surface 126 side.
  • the figure which looked at the floor 127 is shown.
  • the flow path direction ⁇ of the inflow port 63a matches the depth direction Z
  • the width direction X and the horizontal direction ⁇ match
  • the height direction Y and the vertical direction ⁇ match.
  • the depth direction Z and the flow path direction ⁇ coincide with each other.
  • the passage channel 61 and the measurement channel 62 include an inflow region 131 and a side-by-side region 132, and these regions 131 and 132 extend along the channel direction ⁇ .
  • the inflow region 131 is a region obtained by projecting the inflow port 63a in the flow path direction ⁇ , and extends from the inflow port 63a toward the measurement outlet 63c. In the present embodiment, the inflow region 131 extends to the downstream end of the intermediate measurement path 92.
  • the side-by-side regions 132 are arranged side by side in the inflow region 131 in the lateral direction ⁇ .
  • the side-by-side region 132 is disposed on the front measurement wall surface 128a side, and the inflow region 131 is disposed on the back measurement wall surface 128b side.
  • the side-by-side region 132 is disposed on the downstream side of the width increasing surface 94 in the flow path direction ⁇ , and does not extend from the inflow port 63a. For this reason, the side-by-side region 132 does not include a region in which the inflow port 63a is projected in the flow path direction ⁇ .
  • the side-by-side region 132 includes a portion in which the width dimension of the width increasing portion 91a and the intermediate measurement path 92 in the lateral direction ⁇ is larger than the width dimension of the upstream portion of the width increasing portion 91a in the upstream measurement path 91, This is an increased area in the measurement channel 62.
  • the width dimension of the inflow region 131 is larger than the width dimension of the side-by-side region 132.
  • the width dimension of the inflow region 131 may be the same as the width dimension of the side-by-side region 132 or may be smaller than that.
  • the width dimension of the part with the largest width dimension is compared.
  • the upstream measurement path 91 corresponds to the upstream branch path
  • the intermediate measurement path 92 corresponds to the intermediate branch path
  • the downstream measurement path 93 corresponds to the downstream branch path.
  • the inflow region 131 and the side by side region 132 are both virtual regions, like the parallel region 101, and the passage channel 61 and the measurement channel 62 are actually divided into the inflow region 131 and the side by side region 132. I don't mean. Further, in FIG. 44, the inflow region 131 is illustrated by thin dot hatching, and the side-by-side region 132 is illustrated by dark dot hatching.
  • the flow rate detection unit 52 is arranged in the side-by-side region 132 in the intermediate measurement path 92.
  • the measurement board portion 81a is arranged at a position straddling the inflow region 131 and the side-by-side region 132 in the lateral direction ⁇ so that the side of the substrate on which the flow rate detection unit 52 is mounted is included in the side-by-side region 132.
  • the flow rate detector 52 is disposed at a position that does not overlap the inlet 63a in the flow path direction ⁇ . In other words, the flow rate detection unit 52 is hidden from the upstream side by the portion forming the width increasing surface 94 and the width increasing surface 94 in the housing main body 51a in the flow path direction ⁇ .
  • substrate part 81a may be arrange
  • the separation distance between the flow rate detection unit 52 and the width increase surface 94 and the separation distance between the measurement board portion 81a and the width increase surface 94 are both smaller than the length dimension of the width increase surface 94. Yes.
  • the measurement board portion 81a and the flow rate detection portion 52 are disposed at positions relatively close to the width increasing surface 94.
  • the inclination angle of the width increasing surface 94 with respect to the flow path direction ⁇ is smaller than 45 degrees, for example. In this case, the width dimension of the measurement flow path 62 in the lateral direction ⁇ does not increase rapidly as it approaches the intermediate measurement path 92, but gradually increases. Is less likely to occur.
  • the approaching surface 121 of the passage passage 61 is not orthogonal to the longitudinal direction ⁇ because it is inclined toward the back cover 51c while facing the floor. Further, as described above, the approach surface 121 is gradually inclined to the floor side as the inflow ceiling surface portion 66a approaches the flow path boundary portion 64, so that it is exposed to the upstream side from the inflow port 63a in the depth direction Z. ing. Therefore, as shown in FIG. 43, when a large foreign object F10 that travels straight in the depth direction Z collides with the approaching surface 121, the traveling direction of the large foreign object F10 is the back passage wall surface 68d side in the width direction X and the height direction Y. And it will incline toward the passing floor surface 67 side. In other words, the traveling direction of the large foreign matter F10 is not a direction parallel to the flow path direction ⁇ but a direction inclined with respect to the flow path direction ⁇ so as to include components in the horizontal direction ⁇ and the vertical direction ⁇ .
  • the large foreign matter F11, F12 that travels straight in the flow path direction ⁇ collides with the approaching surface 121
  • the large foreign matter F11, F12 is the same as the large foreign matter F10 described in FIG.
  • the process proceeds in a direction inclined with respect to the flow path direction ⁇ toward the back cover 51c.
  • the large foreign object F11 collides with the approaching surface 121 at a position near the front cover 51b in the lateral direction ⁇
  • the large foreign object F12 collides with the approaching surface 121 at a position near the back cover 51c.
  • the inclination angle of the approaching surface 121 with respect to the lateral direction ⁇ is relatively small, and due to this, the change in the traveling direction of the large foreign matters F11 and F12 by the approaching surface 121 is relatively small. For this reason, the advancing direction of the large foreign matter F11, F12 is likely to coincide with the flow path direction ⁇ again by moving along the flow of the intake air after being changed by the approach surface 121.
  • the large foreign matter F11 that has collided with the approaching surface 121 proceeds obliquely from the position near the front cover 51b toward the back cover 51c, and then takes in the intake air at a position before reaching the back cover 51c.
  • the traveling direction gradually changes with the flow of, the flow proceeds in the flow path direction ⁇ .
  • the back cover 51c that is relatively far from the measurement board portion 81a and the side-by-side region 132 in the horizontal direction ⁇ . Pass the close position. For this reason, even if the traveling direction of the large foreign matter F11 slightly changes in the direction facing the front cover 51b, it is difficult for the large foreign matter F1 to enter the side-by-side region 132 from the inflow region 131.
  • the large foreign matter F11 is directly measured in the horizontal direction ⁇ as shown by a broken line in FIG. It will pass through a position relatively close to 132. For this reason, even if the traveling direction of the large foreign matter F11 slightly changes in the direction of the front cover 51b, the large foreign matter F11 easily enters the side-by-side region 132 from the inflow region 131. In this case, there is a concern that the large foreign matter F11 passes between the flow rate detection unit 52 and the front cover 51b and adheres to the flow rate detection unit 52.
  • the large foreign matter F12 that has collided with the approaching surface 121 at a position closer to the back cover 51c than the large foreign matter F11 advances obliquely toward the back cover 51c side as shown by a solid line in FIG. And, along with this, proceeds diagonally toward the front cover 51b side. Thereafter, at a position slightly away from the back cover 51c, the flow proceeds in the flow path direction ⁇ by proceeding along the flow of the intake air. Even in this case, similarly to the large foreign matter F11, the large foreign matter F12 reaches the intermediate measurement path 92 and is closest to the measurement board portion 81a. It passes through a position closer to the back cover 51c, which is a distant position.
  • the flow rate detection unit 52 is provided in the side-by-side region 132 that is a region that is not projected along the flow path direction ⁇ from the inflow port 63a. Reaching the flow rate detection unit 52 can be suppressed. Moreover, since the passing surface 61 is provided in the passage channel 61 to bring the foreign substance away from the side-by-side region 132 in the lateral direction ⁇ , the foreign matter that has reached the intermediate measurement path 92 passes through a position close to the side-by-side region 132. It is hard to happen. Thereby, it can suppress more reliably that a foreign material reaches
  • the foreign material can be brought closer by the approach surface 121 in the entire range in the lateral direction ⁇ in the passage channel 61. . For this reason, the probability that the foreign matter that has entered the measurement flow path 62 passes through a position close to the side-by-side region 132 in the horizontal direction ⁇ can be reduced.
  • the separation distance between the approach surface 121 and the side-by-side region 132 in the flow direction ⁇ is appropriate. Can be secured.
  • the foreign material travel direction is again determined by the flow of the intake air until the foreign material reaches the intermediate measurement path 92. A distance and time for matching with the direction ⁇ can be secured. For this reason, it is difficult for the foreign matter to reach the intermediate measurement path 92 and enter the side-by-side region 132 while the traveling direction of the foreign matter is inclined with respect to the flow direction ⁇ by the approaching surface 121. ing.
  • the width increasing surface 94 included in the front measurement wall surface 128a forms the side-by-side region 132 by gradually moving away from the back measurement wall surface 128b as it approaches the measurement outlet 63c.
  • the intake air reaching the side-by-side region 132 is less likely to be disturbed such as a vortex. For this reason, it is possible to prevent foreign matter from entering the side-by-side region 132 due to the entanglement of the intake air.
  • the upstream measurement path 91 is between the housing body 51a and the back cover 51c, whereas the intermediate measurement path 92 is between the front cover 51b and the back cover 51c.
  • the inflow region 131 and the side-by-side region 132 are secured.
  • the structure of the housing 51 becomes complicated, or the dedicated member or the like is sucked in the measurement channel 62. It is possible to avoid disturbing the air flow.
  • the separation distance between the flow rate detection unit 52 and the width increasing surface 94 in the flow path direction ⁇ is smaller than the length dimension of the width increasing surface 94. That is, the flow rate detection unit 52 is disposed at a position relatively close to the width increasing surface 94.
  • the separation distance between the flow rate detection unit 52 and the width increasing surface 94 in the flow path direction ⁇ is smaller than the length dimension of the width increasing surface 94. That is, the flow rate detection unit 52 is disposed at a position relatively close to the width increasing surface 94.
  • the fifth embodiment can be applied to various embodiments and combinations without departing from the scope of the present disclosure.
  • the approach surface 121 may not be included in the passing ceiling surface 66 but may be included in the passing floor surface 67 and the passing wall surfaces 68c and 68d.
  • the approach surface 121 is included in the passing floor surface 67 in a state of being spanned between the pair of wall surfaces 68c and 68d, or the approach surface 121 is included in the front passing wall surface 68c.
  • the front passage wall surface 68c protrudes toward the back passage wall surface 68d
  • the approach surface 121 is formed by the surface of the protrusion on the back passage wall surface 68d side. ing.
  • the position of the foreign matter in the lateral direction ⁇ can be moved to a position closer to the back cover 51c by temporarily inclining the traveling direction of the foreign matter colliding with the approaching surface 121 toward the back cover 51c. .
  • the approach surface 121 may be provided at a position separated from the inflow port 63a on the downstream side in the passage passage 61.
  • the approach surface 121 is configured to be provided at an intermediate position between the inflow port 63a and the flow path boundary portion 64.
  • a part of the inflow ceiling surface portion 66a protrudes toward the floor at an intermediate position between the inflow port 63a and the flow path boundary portion 64, and the approach surface 121 is formed by the floor side surface of the protrusion. .
  • the approach surface 121 may be included in the inner peripheral surface 62a of the measurement flow path 62.
  • the approach surface 121 is included in the measurement floor 127.
  • the approach surface 121 is stretched over the pair of measurement wall surfaces 128a and 128b in the lateral direction ⁇ .
  • the approach surface 121 extends from the channel boundary 64 to the width increasing surface 94 in the channel direction ⁇ , and is formed on almost the entire measurement floor 127.
  • the separation distance between the side-by-side region 132 and the approach surface 121 is smaller in the flow path direction ⁇ .
  • the modified examples E1 and E2 may be applied, and the approach surface 121 may be included in the measurement floor surface 127 and the measurement wall surfaces 128a and 128b in the measurement flow path 62.
  • the approach surface 121 may be disposed on the downstream side of the flow path boundary 64 in the passage flow path 61.
  • the approach surface 121 is configured to be included in the outflow ceiling surface portion 66b. Even in this configuration, as in the fifth embodiment, the approaching surface 121 is spanned across the pair of passage wall surfaces 68c and 68d.
  • the approach surface 121 extends from the channel boundary 64 to the outlet 63b in the channel direction ⁇ , and is formed on almost the entire outflow ceiling surface 66b.
  • a virtual line connecting the center C2 of the outlet 63b and the center C4 of the measurement outlet 63c is referred to as an outflow center line CM.
  • the outflow center line CM includes a return center line CLd as a virtual line connecting the passage center line CLa and the measurement center line CLb.
  • the return center line CLd is connected to the passage center line CLa by extending from the center C3 of the passage boundary 64 toward the downstream side in the passage passage 61.
  • the modified examples E1 and E2 are applied, and the approach surface 121 is included in the passing floor surface 67 and the passing wall surfaces 68c and 68d on the downstream side of the flow path boundary portion 64 in the passing flow path 61. It may be.
  • a plurality of the approach surfaces 121 may be provided.
  • the approach surface 121 is configured to be included in each of the inflow ceiling surface portion 66a, the outflow ceiling surface portion 66b, and the measurement floor surface 127.
  • the foreign matter that has entered the measurement flow path 62 from the upstream side in the passage flow path 61 can be positioned toward the back cover 51 c by the two approach surfaces 121.
  • both foreign substances that have entered the measurement flow path 62 by returning from the downstream side to the upstream side can be positioned toward the back cover 51c by the three abutting surfaces 121. Therefore, it is possible to more reliably suppress the foreign matter that has reached the intermediate measurement path 92 from entering the side-by-side region 132.
  • a cover 136 that covers the flow rate detection unit 52 from the upstream side may be provided.
  • the cover 136 is provided in the measurement flow path 62.
  • the cover portion 136 is disposed at a position spaced downstream from the inflow port 63a in the flow path direction ⁇ , and the cover portion 136 is disposed between the inflow port 63a and the side-by-side region 132.
  • the side-by-side region 132 is hidden from the downstream side of the cover 136 so that the inflow port 63a is not included in the region projected in the flow path direction ⁇ .
  • a region formed closer to the inflow port 63 a than the cover 136 is referred to as a near side region 134.
  • the near side region 134 is arranged side by side in the inflow region 131 together with the side by side region 132 in the lateral direction ⁇ .
  • the covering portion 136 has a covering surface 136a and an orthogonal surface 136b.
  • the cover surface 136a has a function of guiding the foreign matter traveling toward the downstream side to the back cover 51c side, and faces the back cover 51c side.
  • the cover surface 136a is an inclined surface that moves away from the back cover 51c as it approaches the inflow port 63a, and is inclined so as to face the inflow port 63a side with respect to the flow path direction ⁇ . In the lateral direction ⁇ , the width dimension of the cover portion 136 gradually decreases as it approaches the inflow port 63a.
  • the cover part 136 is included in the housing main body 51a, and the cover surface 136a is included in the front measurement wall surface 128a.
  • the inclination angle of the cover surface 136a with respect to the front cover 51b is, for example, several degrees to several tens of degrees smaller than 45 degrees.
  • the orthogonal surface 136b is orthogonal to the flow path direction ⁇ , and faces the measurement outlet 63c side in the flow path direction ⁇ .
  • the flow rate detector 52 is disposed between the orthogonal surface 136b and the measurement outlet 63c.
  • the orthogonal surface 136b extends parallel to the lateral direction ⁇ , but may be inclined with respect to the lateral direction ⁇ .
  • the foreign matter is guided to the back cover 51c side by colliding with the covering surface 136a. That is, it is guided to a position away from the side-by-side region 132 in the horizontal direction ⁇ . Therefore, it is possible to suppress the entry of the foreign matter traveling in the inflow region 131 and the foreign matter traveling in the near side region 134 into the side-by-side region 132.
  • the approaching surface 121 may approach the side-by-side region 132 side instead of bringing the foreign matter toward the inflow region 131 side in the lateral direction ⁇ . That is, the approaching surface 121 may face the front cover 51b side instead of facing the back cover 51c side.
  • the large foreign matter F11, F12 is the reverse of the fifth embodiment, Proceed in a direction inclined with respect to the flow path direction ⁇ toward the cover 51b.
  • the large foreign matters F11 and F12 reach the cover surface 136a by proceeding not in the inflow region 131 but in the front region 134, and are easily guided to the back cover 51c side by colliding with the cover surface 136a. .
  • the large foreign matters F11 and F12 pass through a position relatively far from the side-by-side region 132, and as a result, the large foreign matters F11 and F12 can be prevented from entering the side-by-side region 132.
  • the flow rate detection unit 52 is not separated from the width increasing surface 94 toward the measurement outlet 63c in the flow path direction ⁇ , but at least a part of the flow rate detecting unit 52 is in the width increasing surface 94 in the lateral direction ⁇ . You may line up. In this case, since the flow rate detection unit 52 can be disposed in the immediate vicinity of the width increasing surface 94, it is more certain that the foreign matter enters the side-by-side region 132 at a position before the flow rate detection unit 52 passes through the inflow region 131. Can be suppressed.
  • all the inflow step surfaces 71a are not orthogonal to the depth direction Z but are inclined with respect to the depth direction Z. Yes.
  • the inflow stepped surface 71a is inclined with respect to the width direction X, but is not inclined with respect to the height direction Y and extends in parallel.
  • the inflow stepped surface 71a is inclined so that the end on the front passage wall surface 68c side is disposed closer to the inlet 63a than the end on the back passage wall surface 68d side.
  • the inclined surface faces the 68d side.
  • the inclining angle of the inflow step surface 71a with respect to the width direction X is, for example, several degrees to several tens of degrees smaller than 45 degrees.
  • the inflow level difference surface 71a has a function as the approach surface 121 of the fifth embodiment. For example, when a large foreign object that travels straight in the depth direction Z collides with the inflow stepped surface 71a and bounces back, the large foreign object does not travel in parallel to the depth direction Z toward the inflow port 63a, but on the back passage wall surface 68d side. It will move toward. In this case, for example, even if a large foreign object that has bounced off the inflow stepped surface 71a proceeds again toward the downstream side by the flow of the intake air, the large foreign object is positioned closer to the back passage wall surface 68d. Will proceed. In this way, the inflow step surface 71a corresponds to a close-up surface, and as shown in FIG. 56, the inflow ceiling surface portion 66a is provided with a plurality of inflow step surfaces 71a. It corresponds to being.
  • the flow rate detection unit in the lateral direction ⁇ Even if the large foreign matter moving in the flow path direction ⁇ near the back wall surface 68d reaches the intermediate measurement path 92 in the same manner as the large foreign matters F11 and F12 of the fifth embodiment, the flow rate detection unit in the lateral direction ⁇ . It will pass through a position relatively far from 52. For this reason, even if the traveling direction of the large foreign matter changes a little in the direction facing the front cover 51b, it is difficult for the large foreign matter to enter the side-by-side region 132 from the inflow region 131.
  • the inflow ceiling surface portion 66a that partitions the ceiling side region 102 has the inflow step surface 71a.
  • the foreign matter that has entered the ceiling side region 102 from the inflow port 63a is bounced back to the inflow port 63a side at the inflow ceiling surface portion 66a, and thus proceeds further downstream than the ceiling side region 102 in the passage channel 61 itself. Is suppressed.
  • the foreign matter that has entered the parallel region 101 from the inflow port 63a easily goes out to the outside from the outflow port 63b by proceeding straight in the depth direction Z as it is.
  • the foreign substance that goes straight in the direction inclined with respect to the depth direction Z is also measured as it is in a straight line state because the partition top 111a is not exposed upstream from the inflow port 63a. It is less likely to enter. Even if there is a foreign matter that has entered the measurement flow path 62, the foreign matter is likely to be brought closer to the position near the back cover 51c by colliding with the inflow stepped surface 71a that functions as a close-up surface. . For this reason, the foreign matter that has reached the intermediate measurement path 92 is prevented from entering the side-by-side region 132.
  • the sixth embodiment can be applied to various embodiments and combinations without departing from the gist of the present disclosure.
  • a function as a close-up surface may be provided to the inflow connection surface 72a.
  • the inflow connection surface 72a is not perpendicular to the height direction Y, but is an inclined surface facing the passing floor surface 67 side and the back cover 51c side. It may be.
  • the function as a close-up surface may be provided to the outflow step surface 71b and the outflow connection surface 72b.
  • the function as the approach surface may not be provided to all the inflow step surfaces 71a, but the function as the approach surface may be provided to at least one inflow step surface 71a.
  • the inflow stepped surface 71a arranged on the most downstream side among the plurality of inflow stepped surfaces 71a is inclined with respect to the depth direction Z, thereby having a function as a close-up surface.
  • the other inflow step surface 71a does not have a function as a close-up surface by being orthogonal to the depth direction Z.
  • the inflow stepped surface 71a of the second embodiment, the parallel region 101 and the height throttle surface 105 of the third embodiment, and the partition top 111a of the fourth embodiment are not exposed from the inflow port 63a, You may have at least 2 structure among the side by side area
  • the flow rate detection unit is provided as a physical quantity detection unit in the measurement flow path.
  • the physical quantity detection unit provided in the measurement flow path includes a humidity detection unit, a temperature detection unit, and a pressure detection Part.
  • the measurement flow path has a circular shape, but the measurement flow path may have a shape extending in the depth direction Z without rotating.

Landscapes

  • Engineering & Computer Science (AREA)
  • Physics & Mathematics (AREA)
  • Chemical & Material Sciences (AREA)
  • General Physics & Mathematics (AREA)
  • Combustion & Propulsion (AREA)
  • Mechanical Engineering (AREA)
  • General Engineering & Computer Science (AREA)
  • Fluid Mechanics (AREA)
  • Analytical Chemistry (AREA)
  • Measuring Volume Flow (AREA)
  • Measuring Temperature Or Quantity Of Heat (AREA)
PCT/JP2018/010140 2017-04-13 2018-03-15 物理量計測装置 Ceased WO2018190068A1 (ja)

Priority Applications (2)

Application Number Priority Date Filing Date Title
DE112018001992.6T DE112018001992T5 (de) 2017-04-13 2018-03-15 Physikalische grössenmessvorrichtung
US16/594,403 US11067421B2 (en) 2017-04-13 2019-10-07 Physical quantity measurement device having a flow channel partition not directly exposed to the flow through the inflow port

Applications Claiming Priority (2)

Application Number Priority Date Filing Date Title
JP2017079879A JP6756297B2 (ja) 2017-04-13 2017-04-13 物理量計測装置
JP2017-079879 2017-04-13

Related Child Applications (1)

Application Number Title Priority Date Filing Date
US16/594,403 Continuation US11067421B2 (en) 2017-04-13 2019-10-07 Physical quantity measurement device having a flow channel partition not directly exposed to the flow through the inflow port

Publications (1)

Publication Number Publication Date
WO2018190068A1 true WO2018190068A1 (ja) 2018-10-18

Family

ID=63793131

Family Applications (1)

Application Number Title Priority Date Filing Date
PCT/JP2018/010140 Ceased WO2018190068A1 (ja) 2017-04-13 2018-03-15 物理量計測装置

Country Status (4)

Country Link
US (1) US11067421B2 (cg-RX-API-DMAC7.html)
JP (1) JP6756297B2 (cg-RX-API-DMAC7.html)
DE (1) DE112018001992T5 (cg-RX-API-DMAC7.html)
WO (1) WO2018190068A1 (cg-RX-API-DMAC7.html)

Cited By (3)

* Cited by examiner, † Cited by third party
Publication number Priority date Publication date Assignee Title
US10907762B2 (en) 2017-04-13 2021-02-02 Denso Corporation Physical quantity measurement device
US11002617B2 (en) 2017-04-13 2021-05-11 Denso Corporation Physical quantity measurement device having a stepped portion to prevent particles from entering the measurement flow channel
US11047718B2 (en) 2017-04-13 2021-06-29 Denso Corporation Physical quantity measurement device including a passage flow channel having an inner surface with a height narrowing surface

Families Citing this family (2)

* Cited by examiner, † Cited by third party
Publication number Priority date Publication date Assignee Title
JP2020169930A (ja) * 2019-04-04 2020-10-15 株式会社デンソー 物理量計測装置
JP7059992B2 (ja) * 2019-09-04 2022-04-26 株式会社デンソー 空気流量測定装置

Citations (4)

* Cited by examiner, † Cited by third party
Publication number Priority date Publication date Assignee Title
JP2001174305A (ja) * 1999-10-06 2001-06-29 Ngk Spark Plug Co Ltd 流量及び流速測定装置
WO2010031629A1 (de) * 2008-09-17 2010-03-25 Robert Bosch Gmbh Sensoranordnung zur bestimmung eines parameters eines fluiden mediums
JP2013053965A (ja) * 2011-09-05 2013-03-21 Denso Corp 空気流量測定装置
US20140174166A1 (en) * 2012-12-20 2014-06-26 Robert Bosch Gmbh Sensor device for detecting at least one flow property of a fluid medium

Family Cites Families (14)

* Cited by examiner, † Cited by third party
Publication number Priority date Publication date Assignee Title
KR20010039993A (ko) * 1999-10-06 2001-05-15 오카무라 가네오 유량 및 유속 측정장치
US7305877B2 (en) * 2003-07-14 2007-12-11 Robert Bosch Gmbh Device for determining at least one parameter of a medium flowing in a line having diversion surface
DE102006045656A1 (de) * 2006-09-27 2008-04-03 Robert Bosch Gmbh Strömungsdynamisch verbesserter Steckfühler
JP4412357B2 (ja) * 2007-06-14 2010-02-10 株式会社デンソー 空気流量測定装置
JP5496027B2 (ja) * 2010-09-09 2014-05-21 日立オートモティブシステムズ株式会社 熱式空気流量計
JP5170209B2 (ja) * 2010-10-28 2013-03-27 株式会社デンソー 流量測定装置
JP5321563B2 (ja) * 2010-10-29 2013-10-23 株式会社デンソー 空気流量測定装置
JP5327262B2 (ja) * 2011-04-04 2013-10-30 株式会社デンソー 熱式空気流量計
JP5338870B2 (ja) * 2011-07-16 2013-11-13 株式会社デンソー 空気流量測定装置
JP5348196B2 (ja) * 2011-07-27 2013-11-20 株式会社デンソー 空気流量測定装置
JP6184915B2 (ja) 2014-07-30 2017-08-23 日立オートモティブシステムズ株式会社 物理量検出装置
JP6658660B2 (ja) 2017-04-13 2020-03-04 株式会社デンソー 物理量計測装置
JP6756296B2 (ja) 2017-04-13 2020-09-16 株式会社デンソー 物理量計測装置
JP6658659B2 (ja) 2017-04-13 2020-03-04 株式会社デンソー 物理量計測装置

Patent Citations (4)

* Cited by examiner, † Cited by third party
Publication number Priority date Publication date Assignee Title
JP2001174305A (ja) * 1999-10-06 2001-06-29 Ngk Spark Plug Co Ltd 流量及び流速測定装置
WO2010031629A1 (de) * 2008-09-17 2010-03-25 Robert Bosch Gmbh Sensoranordnung zur bestimmung eines parameters eines fluiden mediums
JP2013053965A (ja) * 2011-09-05 2013-03-21 Denso Corp 空気流量測定装置
US20140174166A1 (en) * 2012-12-20 2014-06-26 Robert Bosch Gmbh Sensor device for detecting at least one flow property of a fluid medium

Cited By (4)

* Cited by examiner, † Cited by third party
Publication number Priority date Publication date Assignee Title
US10907762B2 (en) 2017-04-13 2021-02-02 Denso Corporation Physical quantity measurement device
US11002617B2 (en) 2017-04-13 2021-05-11 Denso Corporation Physical quantity measurement device having a stepped portion to prevent particles from entering the measurement flow channel
US11047718B2 (en) 2017-04-13 2021-06-29 Denso Corporation Physical quantity measurement device including a passage flow channel having an inner surface with a height narrowing surface
US11555723B2 (en) 2017-04-13 2023-01-17 Denso Corporation Physical quantity measurement device having a stepped portion to prevent particles from entering the measurement flow channel

Also Published As

Publication number Publication date
US11067421B2 (en) 2021-07-20
US20200033171A1 (en) 2020-01-30
DE112018001992T5 (de) 2019-12-24
JP2018179765A (ja) 2018-11-15
JP6756297B2 (ja) 2020-09-16

Similar Documents

Publication Publication Date Title
WO2018190069A1 (ja) 物理量計測装置
WO2018190066A1 (ja) 物理量計測装置
WO2018190068A1 (ja) 物理量計測装置
WO2018190067A1 (ja) 物理量計測装置
JP5408195B2 (ja) 空気流量測定装置
JP4904024B2 (ja) 導管内を流動する媒体の少なくとも1つのパラメータを測定するための装置
JP5273024B2 (ja) 空気流量測定装置
JP6194852B2 (ja) 湿度検出機能付き空気流量測定装置
KR20060039904A (ko) 관 내에 흐르는 매체의 적어도 하나의 파라미터를 결정하기위한 장치
CN100405023C (zh) 用于确定在管道中流动的介质的至少一个参数的装置
JP5464294B2 (ja) 空気流量測定装置
JP6477195B2 (ja) 流量測定装置
JP2004053600A (ja) 管路内を流動する媒体の少なくとも1つのパラメータを測定するための装置
JP2022084957A (ja) 物理量計測装置
JP6365388B2 (ja) 流量測定装置
JP6069504B2 (ja) 温湿度センサ
WO2019156048A1 (ja) 物理量計測装置
JP2020106320A (ja) 物理量計測装置
JP2020106429A (ja) 物理量計測装置
JP2020106431A (ja) 物理量計測装置

Legal Events

Date Code Title Description
121 Ep: the epo has been informed by wipo that ep was designated in this application

Ref document number: 18784425

Country of ref document: EP

Kind code of ref document: A1

122 Ep: pct application non-entry in european phase

Ref document number: 18784425

Country of ref document: EP

Kind code of ref document: A1