WO2018181009A1 - プラント評価システム、プラント評価方法及びプログラム - Google Patents

プラント評価システム、プラント評価方法及びプログラム Download PDF

Info

Publication number
WO2018181009A1
WO2018181009A1 PCT/JP2018/011744 JP2018011744W WO2018181009A1 WO 2018181009 A1 WO2018181009 A1 WO 2018181009A1 JP 2018011744 W JP2018011744 W JP 2018011744W WO 2018181009 A1 WO2018181009 A1 WO 2018181009A1
Authority
WO
WIPO (PCT)
Prior art keywords
plant
performance
evaluation
cost
information
Prior art date
Legal status (The legal status is an assumption and is not a legal conclusion. Google has not performed a legal analysis and makes no representation as to the accuracy of the status listed.)
Ceased
Application number
PCT/JP2018/011744
Other languages
English (en)
French (fr)
Japanese (ja)
Inventor
鈴木 直樹
熊野 信太郎
安部 克彦
圭介 山本
真人 岸
由起彦 井上
瞬 新妻
Current Assignee (The listed assignees may be inaccurate. Google has not performed a legal analysis and makes no representation or warranty as to the accuracy of the list.)
Mitsubishi Heavy Industries Ltd
Mitsubishi Power Ltd
Original Assignee
Mitsubishi Heavy Industries Ltd
Mitsubishi Hitachi Power Systems Ltd
Priority date (The priority date is an assumption and is not a legal conclusion. Google has not performed a legal analysis and makes no representation as to the accuracy of the date listed.)
Filing date
Publication date
Application filed by Mitsubishi Heavy Industries Ltd, Mitsubishi Hitachi Power Systems Ltd filed Critical Mitsubishi Heavy Industries Ltd
Priority to DE112018001764.8T priority Critical patent/DE112018001764T5/de
Priority to CN201880021250.XA priority patent/CN110506289B/zh
Priority to US16/496,665 priority patent/US11461727B2/en
Publication of WO2018181009A1 publication Critical patent/WO2018181009A1/ja
Anticipated expiration legal-status Critical
Ceased legal-status Critical Current

Links

Images

Classifications

    • GPHYSICS
    • G06COMPUTING OR CALCULATING; COUNTING
    • G06QINFORMATION AND COMMUNICATION TECHNOLOGY [ICT] SPECIALLY ADAPTED FOR ADMINISTRATIVE, COMMERCIAL, FINANCIAL, MANAGERIAL OR SUPERVISORY PURPOSES; SYSTEMS OR METHODS SPECIALLY ADAPTED FOR ADMINISTRATIVE, COMMERCIAL, FINANCIAL, MANAGERIAL OR SUPERVISORY PURPOSES, NOT OTHERWISE PROVIDED FOR
    • G06Q10/00Administration; Management
    • G06Q10/06Resources, workflows, human or project management; Enterprise or organisation planning; Enterprise or organisation modelling
    • G06Q10/063Operations research, analysis or management
    • G06Q10/0637Strategic management or analysis, e.g. setting a goal or target of an organisation; Planning actions based on goals; Analysis or evaluation of effectiveness of goals
    • GPHYSICS
    • G06COMPUTING OR CALCULATING; COUNTING
    • G06QINFORMATION AND COMMUNICATION TECHNOLOGY [ICT] SPECIALLY ADAPTED FOR ADMINISTRATIVE, COMMERCIAL, FINANCIAL, MANAGERIAL OR SUPERVISORY PURPOSES; SYSTEMS OR METHODS SPECIALLY ADAPTED FOR ADMINISTRATIVE, COMMERCIAL, FINANCIAL, MANAGERIAL OR SUPERVISORY PURPOSES, NOT OTHERWISE PROVIDED FOR
    • G06Q10/00Administration; Management
    • G06Q10/06Resources, workflows, human or project management; Enterprise or organisation planning; Enterprise or organisation modelling
    • G06Q10/063Operations research, analysis or management
    • G06Q10/0639Performance analysis of employees; Performance analysis of enterprise or organisation operations
    • G06Q10/06393Score-carding, benchmarking or key performance indicator [KPI] analysis
    • FMECHANICAL ENGINEERING; LIGHTING; HEATING; WEAPONS; BLASTING
    • F01MACHINES OR ENGINES IN GENERAL; ENGINE PLANTS IN GENERAL; STEAM ENGINES
    • F01DNON-POSITIVE DISPLACEMENT MACHINES OR ENGINES, e.g. STEAM TURBINES
    • F01D25/00Component parts, details, or accessories, not provided for in, or of interest apart from, other groups
    • FMECHANICAL ENGINEERING; LIGHTING; HEATING; WEAPONS; BLASTING
    • F01MACHINES OR ENGINES IN GENERAL; ENGINE PLANTS IN GENERAL; STEAM ENGINES
    • F01KSTEAM ENGINE PLANTS; STEAM ACCUMULATORS; ENGINE PLANTS NOT OTHERWISE PROVIDED FOR; ENGINES USING SPECIAL WORKING FLUIDS OR CYCLES
    • F01K23/00Plants characterised by more than one engine delivering power external to the plant, the engines being driven by different fluids
    • F01K23/02Plants characterised by more than one engine delivering power external to the plant, the engines being driven by different fluids the engine cycles being thermally coupled
    • F01K23/06Plants characterised by more than one engine delivering power external to the plant, the engines being driven by different fluids the engine cycles being thermally coupled combustion heat from one cycle heating the fluid in another cycle
    • F01K23/10Plants characterised by more than one engine delivering power external to the plant, the engines being driven by different fluids the engine cycles being thermally coupled combustion heat from one cycle heating the fluid in another cycle with exhaust fluid of one cycle heating the fluid in another cycle
    • FMECHANICAL ENGINEERING; LIGHTING; HEATING; WEAPONS; BLASTING
    • F02COMBUSTION ENGINES; HOT-GAS OR COMBUSTION-PRODUCT ENGINE PLANTS
    • F02CGAS-TURBINE PLANTS; AIR INTAKES FOR JET-PROPULSION PLANTS; CONTROLLING FUEL SUPPLY IN AIR-BREATHING JET-PROPULSION PLANTS
    • F02C7/00Features, components parts, details or accessories, not provided for in, or of interest apart form groups F02C1/00 - F02C6/00; Air intakes for jet-propulsion plants
    • FMECHANICAL ENGINEERING; LIGHTING; HEATING; WEAPONS; BLASTING
    • F02COMBUSTION ENGINES; HOT-GAS OR COMBUSTION-PRODUCT ENGINE PLANTS
    • F02CGAS-TURBINE PLANTS; AIR INTAKES FOR JET-PROPULSION PLANTS; CONTROLLING FUEL SUPPLY IN AIR-BREATHING JET-PROPULSION PLANTS
    • F02C9/00Controlling gas-turbine plants; Controlling fuel supply in air- breathing jet-propulsion plants
    • GPHYSICS
    • G05CONTROLLING; REGULATING
    • G05BCONTROL OR REGULATING SYSTEMS IN GENERAL; FUNCTIONAL ELEMENTS OF SUCH SYSTEMS; MONITORING OR TESTING ARRANGEMENTS FOR SUCH SYSTEMS OR ELEMENTS
    • G05B13/00Adaptive control systems, i.e. systems automatically adjusting themselves to have a performance which is optimum according to some preassigned criterion
    • G05B13/02Adaptive control systems, i.e. systems automatically adjusting themselves to have a performance which is optimum according to some preassigned criterion electric
    • G05B13/04Adaptive control systems, i.e. systems automatically adjusting themselves to have a performance which is optimum according to some preassigned criterion electric involving the use of models or simulators
    • GPHYSICS
    • G06COMPUTING OR CALCULATING; COUNTING
    • G06NCOMPUTING ARRANGEMENTS BASED ON SPECIFIC COMPUTATIONAL MODELS
    • G06N20/00Machine learning
    • GPHYSICS
    • G06COMPUTING OR CALCULATING; COUNTING
    • G06NCOMPUTING ARRANGEMENTS BASED ON SPECIFIC COMPUTATIONAL MODELS
    • G06N5/00Computing arrangements using knowledge-based models
    • G06N5/04Inference or reasoning models
    • GPHYSICS
    • G06COMPUTING OR CALCULATING; COUNTING
    • G06QINFORMATION AND COMMUNICATION TECHNOLOGY [ICT] SPECIALLY ADAPTED FOR ADMINISTRATIVE, COMMERCIAL, FINANCIAL, MANAGERIAL OR SUPERVISORY PURPOSES; SYSTEMS OR METHODS SPECIALLY ADAPTED FOR ADMINISTRATIVE, COMMERCIAL, FINANCIAL, MANAGERIAL OR SUPERVISORY PURPOSES, NOT OTHERWISE PROVIDED FOR
    • G06Q10/00Administration; Management
    • G06Q10/06Resources, workflows, human or project management; Enterprise or organisation planning; Enterprise or organisation modelling
    • G06Q10/063Operations research, analysis or management
    • G06Q10/0631Resource planning, allocation, distributing or scheduling for enterprises or organisations
    • G06Q10/06315Needs-based resource requirements planning or analysis
    • GPHYSICS
    • G06COMPUTING OR CALCULATING; COUNTING
    • G06QINFORMATION AND COMMUNICATION TECHNOLOGY [ICT] SPECIALLY ADAPTED FOR ADMINISTRATIVE, COMMERCIAL, FINANCIAL, MANAGERIAL OR SUPERVISORY PURPOSES; SYSTEMS OR METHODS SPECIALLY ADAPTED FOR ADMINISTRATIVE, COMMERCIAL, FINANCIAL, MANAGERIAL OR SUPERVISORY PURPOSES, NOT OTHERWISE PROVIDED FOR
    • G06Q50/00Information and communication technology [ICT] specially adapted for implementation of business processes of specific business sectors, e.g. utilities or tourism
    • G06Q50/06Energy or water supply
    • YGENERAL TAGGING OF NEW TECHNOLOGICAL DEVELOPMENTS; GENERAL TAGGING OF CROSS-SECTIONAL TECHNOLOGIES SPANNING OVER SEVERAL SECTIONS OF THE IPC; TECHNICAL SUBJECTS COVERED BY FORMER USPC CROSS-REFERENCE ART COLLECTIONS [XRACs] AND DIGESTS
    • Y02TECHNOLOGIES OR APPLICATIONS FOR MITIGATION OR ADAPTATION AGAINST CLIMATE CHANGE
    • Y02EREDUCTION OF GREENHOUSE GAS [GHG] EMISSIONS, RELATED TO ENERGY GENERATION, TRANSMISSION OR DISTRIBUTION
    • Y02E20/00Combustion technologies with mitigation potential
    • Y02E20/16Combined cycle power plant [CCPP], or combined cycle gas turbine [CCGT]

Definitions

  • the present invention relates to a plant evaluation system, a plant evaluation method, and a program.
  • Patent Document 1 describes a computer that operates a plant design simulator.
  • this computer accepts selection of equipment such as a gas turbine, a steam turbine, and a condenser constituting the power plant
  • the computer calculates not only the model of each selected equipment but also the thermal equilibrium characteristics among the equipment by the thermal efficiency calculation module.
  • the plant performance is evaluated and the cost is calculated using the result.
  • a computer optimizes the structure of the apparatus installed in a plant with the calculation result.
  • Patent Document 1 it is described that the plant is optimized by using the model of each device at the time of design and the thermal equilibrium characteristics between the devices. There was no description of the plant evaluation method considering the selection of various optional parts to be supplemented. For this reason, there was a possibility that the performance evaluated at the time of design could not be exhibited while actually operating the plant.
  • the present invention provides a plant evaluation system, a plant evaluation method, and a program that can solve the above-described problems.
  • a plant evaluation system includes a plant configuration information acquisition unit that receives input of plant configuration information that defines a combination of configurations of devices installed in a plant, and an evaluation of the plant indicated by the plant configuration information.
  • a condition acquisition unit that receives an input of a condition related to the condition, a performance information calculation unit that calculates the performance of the plant reflecting the secular change that occurs in the plant in the evaluation target period included in the condition, and the device included in the plant
  • An optional component selection unit that selects a component that is used for at least one of the components and improves the performance of the device, and the performance information calculation unit performs the performance of the device according to the component selected by the optional component selection unit. The performance of the plant reflecting the improvement is calculated.
  • the component improves the performance of the device and improves the performance of the plant including the device
  • the performance information calculation unit includes: The performance of the plant reflecting the improvement in the performance of the plant by the component selected by the optional component selection unit may be calculated.
  • the performance information calculation unit may calculate the influence of the component on the plant according to the configuration of the selected device. .
  • the initial cost of the selected device, the cost required to add the part, and the running cost based on the performance improved by the addition of the part are calculated.
  • a cost calculation unit may be further provided.
  • the plant is a power plant
  • the cost calculation unit can reduce the cost of fuel that can be reduced by improving the performance of the plant by adding the parts.
  • the profit from the increase in power sales may be calculated.
  • the cost calculation unit is configured to generate a power sale profit according to the power generation amount based on a prediction model of a power sale price and the power generation amount by the power plant. May be calculated.
  • the cost calculation unit calculates a fuel price required for power generation based on a fuel price prediction model and a fuel amount required for power generation by the power plant. May be.
  • the device in the plant evaluation system, may be a gas turbine, and the component may be a HEPA (High Efficiency Particulate Air Filter).
  • HEPA High Efficiency Particulate Air Filter
  • a plant evaluation method in which a plant evaluation system receives an input of plant configuration information that defines a combination of configurations of devices to be installed in a plant, and a plant indicated by the plant configuration information. At least one of the step of receiving an input of conditions related to the evaluation, the step of calculating the performance of the plant reflecting the secular change occurring in the plant during the evaluation target period included in the conditions, and the equipment included in the plant And selecting a part that improves the performance of the device, and calculating the performance of the plant, the step reflecting the improvement in the performance of the device by the component that has received the selection. Calculate plant performance.
  • the program includes a computer included in the plant evaluation system, means for receiving input of plant configuration information that defines a combination of configurations of devices installed in the plant, and the plant indicated by the plant configuration information.
  • At least one of means for receiving an input of conditions relating to evaluation, means for calculating the performance of the plant reflecting the secular change occurring in the plant in the evaluation target period included in the conditions, and the equipment included in the plant The means for selecting a component used to improve the performance of the equipment, and the means for calculating the performance of the plant reflect the improvement in the performance of the equipment by the part that has received the selection. Is calculated.
  • the plant evaluation system According to the plant evaluation system, the plant evaluation method, and the program described above, it is possible to evaluate an appropriate plant in consideration of the aging of the plant and the improvement measures for the change.
  • FIG. 1 a plant evaluation apparatus according to a first embodiment of the present invention will be described with reference to FIGS. It is a functional block diagram of the plant evaluation apparatus in the first embodiment according to the present invention.
  • the plant evaluation system of this embodiment calculates the economic evaluation value of a plant in consideration of performance deterioration due to secular change, performance improvement due to application of optional parts, and the like.
  • the plant evaluation system is configured by a computer such as one or a plurality of server terminal devices.
  • the plant evaluation apparatus 10 of FIG. 1 is an example of a plant evaluation system in the case where it is configured by one computer.
  • the case where the plant to be evaluated is a power plant (GTCC: gas turbine combined cycle) will be described as an example.
  • the plant evaluation apparatus 10 includes a setting information reception unit 11, a control unit 12, a performance information calculation unit 13, a deterioration degree calculation unit 14, an optional component selection unit 15, and a cost calculation unit 16. And an output unit 17 and a storage unit 18.
  • the setting information receiving unit 11 receives input of configuration information of a plant to be evaluated and information indicating various conditions related to the evaluation of the plant.
  • the plant configuration information is information that defines a combination of configurations of devices installed in the plant. For example, there are plant forms such as (form 1) 1 gas turbine and 1 steam turbine, (form 2) 2 gas turbines and 1 steam turbine, (form 3) 3 gas turbines and 2 steam turbines, etc. To do.
  • Various conditions (simulation setting information) related to the evaluation of the plant include plant operating environment information, operation pattern information, economic index values, and the like.
  • the plant operating environment information includes, for example, a place where the plant is laid (such as a coastal area or an inland area), temperature, humidity, SO 2 concentration, NO x , and the amount of dust in the atmosphere.
  • the operating environment information includes deterioration factor information that advances the deterioration of the plant.
  • the plant operation pattern information includes a target output, a target fuel reduction amount (target fuel consumption), a plant evaluation period, an evaluation unit time, an application component start time to be described later, and the like. Economic index values include the unit price of fuel and the unit price of electricity sales.
  • the control unit 12 performs various controls such as starting and stopping the plant evaluation apparatus 10 and starting and ending the plant evaluation process.
  • the performance information calculation unit 13 calculates performance information for the devices included in the plant and the entire plant. In particular, in the present embodiment, the performance information calculation unit 13 calculates the performance of a single device or the entire plant that reflects the aging that occurs in the plant and the effect of performance improvement due to optional components.
  • performance refers to the magnitude of power generation output, power generation efficiency, fuel consumption, and the like.
  • the deterioration degree calculation unit 14 calculates the deterioration degree of each device and the deterioration degree of the device performance due to the influence thereof based on the secular change model stored in the storage unit 18.
  • deterioration of equipment includes corrosion, wear, cracks, and the like.
  • the degree of performance degradation is a change in thermal efficiency or material balance.
  • the optional component selection unit 15 is used for at least one of the devices included in the plant, and specifies a component that improves the performance of the device. For example, the optional component selection unit 15 identifies a component that compensates for the degradation of the performance of the device due to the degradation factor with a high priority of countermeasures according to the degradation of the device calculated by the degradation level calculation unit 14. To do.
  • the cost calculation unit 16 applies the fuel unit price and the power sale unit price to the performance information (output, fuel consumption) calculated by the performance information calculation unit 13, and obtains the cost required for the operation of the plant during the evaluation period and the obtained cost. Calculate the profit.
  • the cost and profit calculated by the cost calculation unit 16 are values that reflect the aging that occurs in the plant and the effect of the performance improvement due to optional parts.
  • the output unit 17 displays the performance information calculated by the performance information calculation unit 13 and the cost information calculated by the cost calculation unit 16 on a display connected to the plant evaluation apparatus 10.
  • the storage unit 18 stores various information necessary for the plant evaluation process. For example, the storage unit 18 stores a plant information database 181, a secular change calculation model 182, an option parts database 183, and a cost information database 184.
  • the plant information database 181 stores plant form information.
  • the plant configuration information includes device configuration information indicating how many devices are installed in the plant.
  • the plant information database 181 may store plant configuration information related to an existing (operating) plant. In this case, conditions related to plant evaluation such as operation environment information and operation pattern information of the existing plant may be recorded together.
  • the plant information database 181 records performance models of a single device or a plurality of devices as a whole.
  • the performance model is performance information such as mass balance, heat balance, thermal efficiency, and output design value for each device, heat balance in a plurality of devices as a whole, thermal efficiency based on the output, and output.
  • the performance model stored in the plant information database 181 is an ideal model at the time of design and does not take into account changes over time.
  • a performance model in the device configuration is recorded for each plant form.
  • the performance model includes 2on1 (two gas turbines and one steam turbine) illustrated in FIG. 4 (a) and 3on2 (three gas turbines and two steam turbines) illustrated in FIG. 4 (b). With respect to the configuration, it is determined how to calculate the performance of the entire plant based on the output of each device.
  • the aging calculation model 182 is a model for simulating the degree of deterioration of equipment due to aging.
  • the secular change calculation model 182 is a model constructed on the basis of actual data such as changes over time, deterioration, and failure of each device included in the past operation data of the same type of plant, for example.
  • the deterioration degree calculation unit 14 inputs an elapsed time t1 from the start of plant operation and an operation pattern during that time (for example, continued operation at a rated load) to the aging calculation model 182, the aging calculation model 182 Deterioration information such as cracks and corrosion generated in the equipment corresponding to the elapsed time t1 is output.
  • the aging calculation model 182 operates in response to (1) the degree of deterioration of the performance of the device due to the deterioration (for example, the output is 90%), (2) the output of the device caused by the deterioration of the performance of the device. Information such as the degradation of the performance of the downstream equipment, and (3) the degradation of the performance of the entire plant is calculated and output.
  • the secular change calculation model 182 may output a mass balance or a heat balance reflecting the secular change for each device.
  • the performance information calculation unit 13 uses the calculation result of the aging calculation model 182 to calculate the performance of a single device and the entire plant reflecting the influence of aging that occurs in the plant.
  • the performance information calculation unit 13 is a plant in the designated plant form, operating environment, and operation pattern. 80% of the calculated output value is the output of the plant at the elapsed time t1.
  • the option component database 183 stores information on components that can be mounted on the device for each device. For example, the standard part A used for the gas turbine, the part A1 that improves the output performance of the gas turbine than the part A, the part B that does not improve the output performance but is less likely to deteriorate than the part A, Information such as initial cost of parts, performance information (how much to improve), influence on other equipment and the whole plant (how much to improve the performance of other equipment and plant, etc.) is stored in the optional parts database 183. Has been recorded.
  • the optional component database 183 may record mass balance and heat balance when the component is applied. These performance information and impact information on other devices are information based on actual data measured when the part is applied to the actual machine, and are realistic numerical values indicating the actual effect of the optional parts.
  • the option component selection unit 15 selects an effective component from the option component database 183 with respect to deterioration of a device having a high priority of countermeasures. For example, when the optional component selection unit 15 selects the component A1 for the component A, the performance information calculation unit 13 increases the output of the gas turbine alone based on the information recorded in the optional component database 183. It is possible to calculate how much the performance of the equipment (for example, a steam turbine) existing downstream is improved and how much the performance is improved as a whole plant. What is registered in the option component database 183 is not limited to the standard component and its replacement component, but may be a component to be added at all. Replacing parts does not always have a positive effect on other equipment.
  • Cost information database 184 stores fuel unit price and power selling unit price.
  • the cost calculation unit 16 calculates the power sale profit by multiplying the integrated value of the power plant output calculated by the performance information calculation unit 13 by the power sale unit price.
  • the cost calculation unit 16 multiplies the fuel efficiency improvement integrated value calculated by the performance information calculation unit 13 by the fuel unit price to calculate the cost reduced by the fuel efficiency improvement.
  • the plant evaluation apparatus 10 can be realized using, for example, a general computer 500.
  • FIG. 2 shows an example of the configuration of the computer 500.
  • FIG. 2 is a diagram illustrating an example of a hardware configuration of the plant evaluation apparatus according to the first embodiment of the present invention.
  • the computer 500 includes a CPU (Central Processing Unit) 501, a RAM (Random Access Memory) 502, a ROM (Read Only Memory) 503, a storage device 504, an external I / F (Interface) 505, an input device 506, an output device 507, and a communication I. / F508 etc. These devices transmit and receive signals to and from each other via the bus B.
  • the CPU 501 is an arithmetic unit that realizes each function of the computer 500 by reading a program and data stored in the ROM 503, the storage device 504, and the like onto the RAM 502 and executing processing.
  • the setting information reception unit 11, the control unit 12, the performance information calculation unit 13, the deterioration degree calculation unit 14, the optional component selection unit 15, the cost calculation unit 16, and the output unit 17 are programs that the CPU 501 stores in the ROM 503 or the like.
  • a RAM 502 is a volatile memory used as a work area for the CPU 501.
  • the ROM 503 is a nonvolatile memory that retains programs and data even when the power is turned off.
  • the storage device 504 is realized by, for example, an HDD (Hard Disk Drive), an SSD (Solid State Drive) or the like, and stores an OS (Operation System), application programs, various data, and the like.
  • the external I / F 505 is an interface with an external device. Examples of the external device include a recording medium 509.
  • the computer 500 can read and write the recording medium 509 via the external I / F 505.
  • the recording medium 509 includes, for example, an optical disk, a magnetic disk, a memory card, a USB (Universal Serial Bus) memory, and the like.
  • the input device 506 includes, for example, a mouse and a keyboard, and inputs various operations and the like to the computer 500 in response to instructions from the operator.
  • the output device 507 is realized by a liquid crystal display, for example, and displays a processing result by the CPU 501.
  • the communication I / F 508 is an interface that connects the computer 500 to a network such as the Internet by wired communication or wireless communication.
  • the bus B is connected to each of the above constituent devices, and transmits and receives various control signals and the like between the control devices.
  • FIG. 3 is a first diagram for explaining the effect of the optional component in the first embodiment according to the present invention.
  • FIG. 3A shows a plant 100 in the case where optional parts are not added, and a graph showing the configuration of devices included in the plant 100 and the change in performance of each device over time.
  • the plant 100 includes a gas turbine 101, a steam turbine 102, a condenser 103, a cooling system 104, and one HRSG (Heat Recovery Steam Generators) 105, and other equipment 106. (Piping etc.) each device is included.
  • the device described on the left side of the page may be referred to as an upstream device, and the device described on the right side may be referred to as a downstream device.
  • a graph 101a shows a change with time of the output of the gas turbine 101.
  • the horizontal axis of the graph 101a indicates time, and the vertical axis indicates the output of the gas turbine 101.
  • graph 102a is the output of steam turbine 102
  • graph 103a is the output of condenser 103
  • graph 104a is the efficiency of cooling system 104
  • graph 105a is the efficiency of HRSG 105
  • graph 106a is the efficiency of other equipment 106 over time.
  • Graphs 101a to 106a are graphs showing changes over time when, for example, a rated operation with an output of 100% is performed for 70% of the entire operation and a partial load operation with an output of 20% is performed for 30% of the entire operation pattern.
  • the performance such as output and efficiency of each device included in the plant 100 decreases with time.
  • the graphs 101a to 106a are information calculated by the secular change calculation model 182 (storage unit 18).
  • FIG. 3 (b) shows the plant 100 ′ when an optional HEPA (High Efficiency Particulate Air Filter) 107 is added, the configuration of the devices included in the plant 100 ′, and the change in performance of each device over time.
  • the graph shown is shown.
  • the plant 100 ′ includes a gas turbine 101 ′ instead of the gas turbine 101.
  • Other equipment downstream from the steam turbine 102 is the same as that shown in FIG.
  • the gas turbine 101 ′ is equipped with a HEPA 107.
  • the HEPA 107 is attached to the suction side of the compressor included in the gas turbine 101 ′, and has a function of not taking in harmful substances that cause deterioration of the gas turbine 101 ′ and the plant 100 ′.
  • the performance curve of each apparatus when HEPA107 is attached to the lower stage of FIG.3 (b) is shown.
  • the graph 101b shows the change with time of the output of the gas turbine 101 ′ after the HEPA 107 is applied.
  • the graph 102a shows a change with time of the output of the steam turbine 102 when the HEPA 107 is applied to the gas turbine 101 ′.
  • graphs 103b, 104b, 105b, and graph 106b show changes over time in the output or efficiency of the condenser 103, the cooling system 104, the HRSG 105, and other equipment 106 when the HEPA 107 is applied to the gas turbine 101 ′. ing.
  • the HEPA 107 has an effect of restoring the efficiency of the compressor, and the output of the gas turbine 101 ′ is improved as shown in the graph 101b.
  • the steam turbine 102 (graph 102b), condenser 103 (graph 103b), cooling system 104 (graph 104b), HRSG (graph 105b), and other equipment 106 ( The output or performance of the graph 106b) is also improved.
  • harmful substances in the atmosphere may cause corrosion of equipment.
  • HEPA 107 is introduced, harmful substances can be removed and adverse effects due to equipment corrosion can be suppressed. Thereby, the performance of the HRSG 105 is improved.
  • the plant evaluation method makes it possible to propose the introduction of optional parts to customers with confidence while presenting long-term cost advantages for optional parts that have not been proposed to customers.
  • FIG. 4 is a second view for explaining the effect of the optional component in the first embodiment according to the present invention.
  • FIG. 4A there is a configuration in which one steam turbine (ST1) is provided for two gas turbines (GT1, GT2). In this case, HEPA is added only to GT1. In this case, for example, one steam turbine is considered to have half the performance improvement effect of HEPA.
  • FIG. 4B there is a configuration in which two steam turbines (ST1, ST2) are provided for three gas turbines (GT1, GT2, GT3). In this case, HEPA is added only to GT1. In this case, for example, one steam turbine is considered to be 1/3 of the performance improvement effect of HEPA.
  • performance information is registered for each plant form as illustrated in FIG. 4 with respect to information on the influence on other devices, and the performance information calculation unit 13 uses HEPA according to the plant form. Calculate the performance improvement. For example, in the configuration of FIG. 4A, when the performance of GT1, GT2, and ST1 before application of HEPA is 1, respectively, when HEPA is added to GT1, the performance of GT1 is 1 + ⁇ , the performance of GT2 is 1, The performance of ST1 is calculated as 1 + ⁇ / 2.
  • the performance information calculation unit 13 uses the performance calculation model for each plant form stored in the plant information database 181 to calculate the output of the entire plant by combining the output of each device reflecting the performance improvement by the above HEPA. To do.
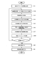
  • FIG. 5 is a flowchart showing an example of a plant evaluation process in the first embodiment according to the present invention.
  • the existing plant configuration may be configuration information of a plant to be introduced from now on, or configuration information of a plant that is already in operation.
  • the setting information receiving unit 11 acquires the plant form information, and the control unit 12 sets it as simulation setting information for the plant evaluation process (step S11).
  • the person in charge of the evaluation such as the location of the plant to be evaluated (coast or inland), operating environment information such as atmospheric temperature, target output, target fuel consumption reduction, evaluation period, application component start time, etc. Input various conditions for plant evaluation.
  • the setting information receiving unit 11 acquires such information, and the control unit 12 sets operating environment information and the like as simulation setting information for the plant evaluation process (step S12).
  • the person in charge of evaluation inputs information such as the evaluation period of the plant, the evaluation unit time (how much time simulation is performed), the application start time of the optional parts, and the like.
  • the person in charge of evaluation may input the amount of power sale profit and fuel cost as the target of the plant evaluation process.
  • the setting information receiving unit 11 acquires these pieces of information, and the control unit 12 sets operating environment information and the like as simulation setting information for the plant evaluation process (step S13).
  • the person in charge of the evaluation performs an operation to instruct the plant evaluation apparatus 10 to start the plant evaluation process.
  • the control unit 12 instructs each functional unit to start the plant evaluation process.
  • the deterioration degree calculation unit 14 simulates the deterioration state in the evaluation period (step S14). Specifically, the degradation degree calculation unit 14 generates cracks and corruption that occur in each device for each evaluation unit time over the evaluation target period based on the degree of deterioration of each device recorded in the aging calculation model 182. Simulates deterioration.
  • the performance information calculation unit 13 evaluates over the evaluation target period based on the performance model of each device and the entire device recorded in the plant information database 181 and the degree of deterioration of each device by the aging calculation model 182. Simulate the degree of degradation of the performance of each device per unit time.
  • the respective graphs 101a to 106a illustrated in the lower part of FIG.
  • the performance information calculation unit 13 generates a plant for each evaluation unit time based on the performance information of each device reflecting the aging (deterioration degree) calculated by the deterioration degree calculation unit 14 and the performance model of the entire device. Calculate performance information for the whole.
  • the performance information of the entire plant includes the transition of the power generation output and the transition of the fuel consumption necessary for the power generation.
  • the deterioration of a single device mechanical deterioration such as cracking and wear
  • corrosion caused by multiple devices due to circulation of harmful substances through each device are used.
  • the deterioration situation that occurs can also be simulated.
  • the option component selection unit 15 specifies a measure (option component) for the deterioration factor (step S15). For example, the option component selection unit 15 selects an option component effective as a countermeasure against degradation (for example, corrosion) having a high priority from the degradation status simulated in step S14 from the option component database 183. It is assumed that the degradation status having a high priority and optional parts effective as countermeasures are determined in advance and recorded in the storage unit 18. For example, mechanical deterioration such as cracking and wear that occurs in the gas turbine occurs in the gas turbine alone and is often considered to affect only the gas turbine alone.
  • a measure for the deterioration factor
  • the optional component selection unit 15 selects HEPA as an optional component based on a predetermined relationship between the deterioration state and the countermeasure.
  • the optional parts may be selected by the optional parts selection unit 15, and when the step S14 is completed, the evaluation person displays on the display the deterioration state occurring in the plant, the degree of performance deterioration, the option part candidates, and the like. Then, the evaluation person may be prompted to select an optional part, and the optional part selected by the evaluation person may be taken as a countermeasure against the deterioration factor.
  • the optional component selection unit 15 calculates an improvement value when the specified countermeasure is implemented (optional component is applied to the device) (step S16).
  • the performance information calculation unit 13 performs the performance of each device at the application start time of the optional component specified in step S11 (for example, the output and efficiency of the application time in the lower graph of FIG. 3A) and the entire plant.
  • the performance information for the application device of the application target option component recorded in the option component database 183 and the performance information for the other device are applied to calculate the performance information after the application of the optional component.
  • the performance information calculation unit 13 A value that is 1.2 times (120%) the output of the gas turbine at the application time is taken as the gas turbine output after the application of HEPA.
  • the performance information calculation unit 13 sets the value obtained by multiplying the output of the steam turbine by 1.1 times (110%) at the application time as the steam turbine output after applying the HEPA.
  • the performance information calculation unit 13 calculates the output of the power plant (GTCC) after application of HEPA based on the performance model of the entire plant.
  • the performance information calculation unit 13 performs the following based on the performance information (power generation output, fuel consumption, etc.) of each device and plant calculated in step S16 and the secular change calculation model 182 (step S16).
  • the performance information of each device and plant is calculated every evaluation unit time until the end of the evaluation period.
  • the performance information calculation unit 13 may calculate the heat balance of each device for each evaluation unit time. Thereby, performance information for the entire evaluation period is calculated (step S17). At this time, the performance information calculation unit 13 calculates the performance information for each evaluation unit time for the period until the end of the evaluation period even when the optional component is not introduced.
  • the cost calculation unit 16 calculates profits and costs for each year (step S18). Specifically, the cost calculation unit 16 acquires performance information for each evaluation unit time during the evaluation period from the performance information calculation unit 13, and is recorded in the cost information database 184 in the total output for each year during the evaluation period. Multiply the electricity sales unit price to calculate the electricity sales profit. The cost calculation unit 16 calculates the fuel cost by multiplying the total fuel consumption per year during the evaluation period by the fuel unit price recorded in the cost information database 184. The cost calculation unit 16 calculates an initial cost due to the introduction of optional parts.
  • the cost calculation unit 16 calculates the power sales profit and the fuel cost when the optional part is not introduced for the period until the end of the evaluation period, based on the performance information when the optional part is not introduced. .
  • the cost calculation unit 16 outputs the calculated profit and cost information (when optional parts are introduced or not) and the performance information for each evaluation unit time acquired from the performance information calculation unit 13 to the output unit 17 and the control unit 12. To do.
  • the output unit 17 displays profit and cost information and performance information on the display. At this time, the output unit 17 may display performance information such as output, fuel consumption, and heat balance as a time-series graph.
  • control unit 12 determines whether or not to continue (re-evaluate) the plant evaluation process (step S19). For example, if the profit or cost calculated in step S18 does not reach the target power sale profit or target fuel cost input by the evaluator in step S13, the control unit 12 determines to re-evaluate. For example, if the total output calculated in step S17 has not reached the target output input by the evaluator in step S12, the control unit 12 determines to re-evaluate.
  • the evaluator instructs the re-evaluation by the evaluator when referring to the performance information displayed on the display, for example, when it is determined that another optional component is added and the simulation is to be executed. It is determined to be reevaluated based on the operation.
  • step S19; Yes If it is determined to be re-evaluated (step S19; Yes), the processing from step S11 is repeated. At this time, the person in charge of the evaluation can reset various conditions, for example, by changing the application component application start time and the evaluation period.
  • the control part 12 sets the structure of a plant apparatus as fixed information (step S20).
  • the output unit 17 displays the confirmed information on the display.
  • an example of the confirmation information displayed on the display will be described.
  • the configuration information plant form
  • the optional part to be added the application component start time
  • the initial cost of the optional part are applied to the confirmation information
  • the total output the graph showing the change with time in the output, the total amount of fuel used, the graph showing the change with time in the amount of fuel used, the power sales profit, the fuel cost, etc.
  • the evaluator can determine the initial cost when introducing optional parts, the increase in profits from power sales due to the subsequent performance recovery due to the introduction of optional parts, and the timing of investment recovery due to the reduction of fuel costs due to improved power generation efficiency. Can be considered.
  • the manufacturer can propose a plant maintenance plan with excellent economic efficiency. Customers who have introduced optional parts to the plant can increase profits by increasing output and reducing fuel consumption by recovering performance deterioration, and further reducing total cost by extending inspection period of each equipment and extending service life by recovering deterioration. You can enjoy the benefits.
  • FIG. 6 is a functional block diagram of the plant evaluation apparatus in the second embodiment according to the present invention.
  • the same reference numerals are given to the same configurations as the functional units configuring the plant evaluation apparatus 10 according to the first embodiment, and the descriptions thereof are omitted.
  • the plant evaluation apparatus 10A includes a setting information receiving unit 11, a control unit 12, a performance information calculating unit 13, a deterioration degree calculating unit 14, an optional component selecting unit 15, a cost calculating unit 16A, and an output.
  • the storage unit 18 stores a plant information database 181, a secular change calculation model 182, an option parts database 183, and a cost calculation model 185.
  • the cost calculation unit 16A calculates a power sale profit and a fuel cost using a cost calculation model. For example, the cost calculation unit 16A calculates a predicted value of the power sale price at the evaluation time by using a function that associates the predicted value of the power sale price and the time included in the cost calculation model, and the calculated power sale price Multiply the predicted value and the power generation amount (power generation output) at that time to calculate the power selling profit at the evaluation time. For example, the cost calculation unit 16A calculates the power selling profit for each evaluation unit time, estimates the power selling profit during the evaluation unit time, and calculates the total to calculate the total power selling profit for the entire evaluation period. May be.
  • the cost calculation unit 16A calculates the predicted value of the fuel unit price at the evaluation time by using a function that associates the predicted value of the fuel price and the time included in the cost calculation model, and The fuel cost at the evaluation time is calculated by multiplying the amount of fuel used at that time. For example, the cost calculation unit 16A calculates the fuel cost for each evaluation unit time, estimates the fuel cost during the evaluation unit time, adds them, and calculates the total fuel cost for the entire evaluation period.
  • the cost calculation model acquisition unit 19 receives an input of a cost calculation model used for prediction of a power sale unit price and a fuel price.
  • the unit price of electric power sales and the fuel price depend on the fuel acquisition route and the price setting with the power selling destination, and therefore may vary depending on the customer who operates the plant. Therefore, the person in charge of evaluation inputs the cost calculation model to the plant evaluation apparatus 10A according to the plant to be evaluated.
  • the cost calculation model 185 includes prediction model data used for prediction of a power sale unit price and a fuel price.
  • FIG. 7 is a flowchart showing an example of a plant evaluation process in the second embodiment according to the present invention.
  • the control part 12 sets the plant form information (step S11).
  • the person in charge of evaluation inputs the cost calculation model 185 together with various conditions such as operating environment information (atmospheric temperature, etc.) of the plant to be evaluated.
  • the cost calculation model acquisition unit 19 records the input cost calculation model 185 in the storage unit 18 (step S121).
  • the setting information receiving unit 11 acquires information regarding simulation processing conditions, and the control unit 12 sets such information as simulation setting information (step S13).
  • the control unit 12 instructs each functional unit to start the plant evaluation process.
  • the deterioration degree calculation unit 14 simulates the deterioration state in the evaluation period (step S14).
  • the option component selection unit 15 specifies a measure (option component) for the deterioration factor (step S15).
  • the option component selection unit 15 calculates an improvement value when the specified countermeasure is implemented (step S16).
  • the performance information calculation unit 13 calculates performance information for the entire evaluation period (step S17).
  • the cost calculation unit 16A next calculates a profit cost trend (step S181). Specifically, the cost calculation unit 16 ⁇ / b> A reads the cost calculation model 185 from the storage unit 18.
  • a predicted value of the fuel unit price and a predicted value of the power selling unit price for each evaluation unit time during the evaluation period are calculated.
  • the cost calculation unit 16A calculates the fuel cost by multiplying the predicted value of the fuel unit price by the fuel consumption at the time of the evaluation target.
  • the cost calculation unit 16A calculates the power sale profit by multiplying the predicted value of the power sale unit price by the output of the power plant at the evaluation target time point.
  • the cost calculation unit 16A calculates the total fuel cost and the total power sales profit during the evaluation period by integrating the fuel cost and the power sales profit at each point in the evaluation target period.
  • the predicted value of the fuel unit price and the predicted value of the power sale unit price at each time point may be calculated by linear interpolation, for example.
  • control unit 12 determines whether or not to continue (re-evaluate) the plant evaluation process (step S19). If it is determined to be re-evaluated (step S19; Yes), the processing from step S11 is repeated. At this time, the person in charge of evaluation can perform the economic evaluation of the plant according to the prediction patterns of various fuel unit prices and power unit prices by inputting a cost calculation model 185 different from the previous one. On the other hand, when it determines with not re-evaluating (step S19; No), the control part 12 sets the structure of a plant apparatus as fixed information (step S20). The output unit 17 displays the confirmed information on the display. FIG. 8 shows an example of information displayed by the output unit 17.
  • FIG. 8 is a diagram showing an example of a plant evaluation result in the second embodiment according to the present invention.
  • FIG. 8A shows the profit cost trend as a result of performing the plant evaluation process with the value increased by ⁇ % as the target output with the addition of optional parts
  • FIG. 8B shows the increase of ⁇ %.
  • the profit cost trend as a result of performing the plant evaluation process with the measured value set as the target output is shown.
  • ⁇ > ⁇ . 8A and 8B the vertical axis indicates the amount of money, and the horizontal axis indicates time.
  • a graph 81a shows a change with time of the total of the profit due to the increase in the amount of power sold when the output ⁇ % increases and the profit due to the fuel cost reduction.
  • the graph 82a shows the change over time in the profit due to the fuel cost reduction when the output ⁇ % increases.
  • a graph 83a shows a change over time in profit due to an increase in the amount of power sold when the output ⁇ % increases.
  • a graph 81b shows a change over time of the total of the profit due to the increase in the amount of power sold when the output ⁇ % increases and the profit due to the reduction in fuel cost.
  • a graph 82b shows a change with time of the profit due to the fuel cost reduction when the output ⁇ % increases.
  • a graph 83b shows a change over time in profit due to an increase in the amount of power sold when the output ⁇ % increases.
  • the evaluator can change the target output or change the contents of the cost calculation model 185 as appropriate to obtain an efficient operation method and profit of the plant. You can check the unit price of electricity sales and the unit price of fuel. By introducing the cost calculation model 185, the economic value of the power plant in the future can be grasped more accurately.
  • the evaluation target period It is possible to obtain an effect that it is possible to grasp the transition of profit and cost in
  • the plant evaluation devices 10 and 10A described above are an example of a plant evaluation device.
  • Each process in the plant evaluation devices 10 and 10A is stored in a computer-readable recording medium in the form of a program, and the above processing is performed by the computer of the plant evaluation devices 10 and 10A reading and executing the program.
  • the computer-readable recording medium means a magnetic disk, a magneto-optical disk, a CD-ROM, a DVD-ROM, a semiconductor memory, or the like.
  • the computer program may be distributed to the computer via a communication line, and the computer that has received the distribution may execute the program.
  • the program may be for realizing a part of the functions described above. Furthermore, what can implement
  • the plant evaluation apparatuses 10 and 10A may be configured by a single computer, or may be configured by a plurality of computers connected so as to be communicable.
  • a setting information reception part is an example of a plant form information acquisition part, and is an example of a condition acquisition part.
  • Fuel cost is an example of running cost.
  • the plant evaluation system According to the plant evaluation system, the plant evaluation method, and the program described above, it is possible to evaluate an appropriate plant in consideration of the aging of the plant and the improvement measures for the change.

Landscapes

  • Engineering & Computer Science (AREA)
  • Business, Economics & Management (AREA)
  • Human Resources & Organizations (AREA)
  • Economics (AREA)
  • Theoretical Computer Science (AREA)
  • General Physics & Mathematics (AREA)
  • Physics & Mathematics (AREA)
  • Strategic Management (AREA)
  • Entrepreneurship & Innovation (AREA)
  • General Engineering & Computer Science (AREA)
  • Combustion & Propulsion (AREA)
  • Chemical & Material Sciences (AREA)
  • Tourism & Hospitality (AREA)
  • Marketing (AREA)
  • Educational Administration (AREA)
  • General Business, Economics & Management (AREA)
  • Health & Medical Sciences (AREA)
  • Software Systems (AREA)
  • Development Economics (AREA)
  • Mechanical Engineering (AREA)
  • Game Theory and Decision Science (AREA)
  • Operations Research (AREA)
  • Quality & Reliability (AREA)
  • Artificial Intelligence (AREA)
  • Evolutionary Computation (AREA)
  • Mathematical Physics (AREA)
  • Data Mining & Analysis (AREA)
  • Computing Systems (AREA)
  • Primary Health Care (AREA)
  • Computer Vision & Pattern Recognition (AREA)
  • Medical Informatics (AREA)
  • General Health & Medical Sciences (AREA)
  • Water Supply & Treatment (AREA)
  • Public Health (AREA)
  • Computational Linguistics (AREA)
  • Automation & Control Theory (AREA)
  • Management, Administration, Business Operations System, And Electronic Commerce (AREA)
  • Engine Equipment That Uses Special Cycles (AREA)
  • Testing And Monitoring For Control Systems (AREA)
PCT/JP2018/011744 2017-03-29 2018-03-23 プラント評価システム、プラント評価方法及びプログラム Ceased WO2018181009A1 (ja)

Priority Applications (3)

Application Number Priority Date Filing Date Title
DE112018001764.8T DE112018001764T5 (de) 2017-03-29 2018-03-23 Anlagenbewertungssystem, anlagenbewertungsverfahren und programm
CN201880021250.XA CN110506289B (zh) 2017-03-29 2018-03-23 成套设备评价系统、成套设备评价方法以及程序
US16/496,665 US11461727B2 (en) 2017-03-29 2018-03-23 Plant evaluation system, plant evaluation method, and program

Applications Claiming Priority (2)

Application Number Priority Date Filing Date Title
JP2017-065957 2017-03-29
JP2017065957A JP6998119B2 (ja) 2017-03-29 2017-03-29 プラント評価システム、プラント評価方法及びプログラム

Publications (1)

Publication Number Publication Date
WO2018181009A1 true WO2018181009A1 (ja) 2018-10-04

Family

ID=63676067

Family Applications (1)

Application Number Title Priority Date Filing Date
PCT/JP2018/011744 Ceased WO2018181009A1 (ja) 2017-03-29 2018-03-23 プラント評価システム、プラント評価方法及びプログラム

Country Status (6)

Country Link
US (1) US11461727B2 (enExample)
JP (1) JP6998119B2 (enExample)
CN (1) CN110506289B (enExample)
DE (1) DE112018001764T5 (enExample)
TW (1) TWI703420B (enExample)
WO (1) WO2018181009A1 (enExample)

Cited By (2)

* Cited by examiner, † Cited by third party
Publication number Priority date Publication date Assignee Title
WO2020255173A3 (en) * 2019-06-20 2021-02-11 Tata Consultancy Services Limited Method and system for optimization of combined cycle gas turbine operation
WO2021152894A1 (ja) * 2020-01-27 2021-08-05 株式会社日立製作所 意思決定支援システム、意思決定支援方法

Families Citing this family (4)

* Cited by examiner, † Cited by third party
Publication number Priority date Publication date Assignee Title
US11875371B1 (en) 2017-04-24 2024-01-16 Skyline Products, Inc. Price optimization system
JP7373927B2 (ja) * 2019-06-27 2023-11-06 三菱重工業株式会社 演算装置、プラント、演算方法及びプログラム
JP7514632B2 (ja) * 2020-02-28 2024-07-11 三菱重工業株式会社 制御パラメータ最適化装置、プラント及び制御パラメータ最適化方法
JP7363840B2 (ja) * 2021-03-10 2023-10-18 横河電機株式会社 解析装置、解析方法およびプログラム

Citations (4)

* Cited by examiner, † Cited by third party
Publication number Priority date Publication date Assignee Title
JP2001273006A (ja) * 2000-03-27 2001-10-05 Osaka Gas Co Ltd エネルギープラントの運用評価システム
JP2004170225A (ja) * 2002-11-20 2004-06-17 Toshiba Corp プラントのライフサイクル保全計画立案システム
JP2004211587A (ja) * 2002-12-27 2004-07-29 Toshiba Corp 発電プラントの運用支援システム
JP2006011769A (ja) * 2004-06-25 2006-01-12 Tokyo Electric Power Co Inc:The 発電設備に対する投資の効果を評価するための情報処理方法及び装置

Family Cites Families (19)

* Cited by examiner, † Cited by third party
Publication number Priority date Publication date Assignee Title
JP3186866B2 (ja) * 1992-11-20 2001-07-11 株式会社東芝 構造部材の劣化・損傷予測方法およびその予測装置
JP4078150B2 (ja) 2002-08-22 2008-04-23 株式会社日立ハイテクノロジーズ 半導体製造装置
JP2004280172A (ja) * 2003-03-12 2004-10-07 Seiko Epson Corp エネルギー評価支援システム、プログラム、情報記憶媒体およびエネルギー評価支援方法
JP2006072716A (ja) * 2004-09-02 2006-03-16 Hitachi Ltd 発電の経済性評価方法および装置
JP4134997B2 (ja) * 2005-04-20 2008-08-20 ダイキン工業株式会社 余寿命予測プログラム及び余寿命予測システム
JP2007002673A (ja) * 2005-06-21 2007-01-11 Ishikawajima Harima Heavy Ind Co Ltd ガスタービン性能の分析予測方法
US7447611B2 (en) * 2006-05-09 2008-11-04 Hsb Solomon Associates, Llc Power generation performance analysis system and method
JP4487990B2 (ja) * 2006-08-21 2010-06-23 ダイキン工業株式会社 設備機器の推定コスト計算システム
JP2008232531A (ja) 2007-03-20 2008-10-02 Toshiba Corp リモート性能監視装置及びリモート性能監視方法
JP5642156B2 (ja) * 2010-03-18 2014-12-17 株式会社東芝 プラント運転支援システム、プラント運転支援プログラム及びプラント運転支援方法
US20130046519A1 (en) 2011-08-19 2013-02-21 General Electric Company Method and system for modeling a power plant
US8214692B1 (en) 2011-09-30 2012-07-03 Google Inc. System and method for enforcing a third-party factory test
US10502136B2 (en) * 2014-10-06 2019-12-10 Bha Altair, Llc Filtration system for use in a gas turbine engine assembly and method of assembling thereof
US9932907B2 (en) 2015-03-03 2018-04-03 General Electric Company Methods and systems for enhancing control of power plant generating units
JP6545060B2 (ja) 2015-09-29 2019-07-17 Hoya株式会社 ガラス素子、およびガラス素子の製造方法
SE539464C2 (en) * 2016-02-24 2017-09-26 Camfil Ab System, method and computer program product for air filter management
US10294869B2 (en) * 2016-06-14 2019-05-21 General Electric Company System and method to enhance corrosion turbine monitoring
CN106289836B (zh) * 2016-07-29 2019-04-19 北京京丰燃气发电有限责任公司 一种燃气轮机进气过滤器的性能检测分析方法
US10401881B2 (en) * 2017-02-14 2019-09-03 General Electric Company Systems and methods for quantification of a gas turbine inlet filter blockage

Patent Citations (4)

* Cited by examiner, † Cited by third party
Publication number Priority date Publication date Assignee Title
JP2001273006A (ja) * 2000-03-27 2001-10-05 Osaka Gas Co Ltd エネルギープラントの運用評価システム
JP2004170225A (ja) * 2002-11-20 2004-06-17 Toshiba Corp プラントのライフサイクル保全計画立案システム
JP2004211587A (ja) * 2002-12-27 2004-07-29 Toshiba Corp 発電プラントの運用支援システム
JP2006011769A (ja) * 2004-06-25 2006-01-12 Tokyo Electric Power Co Inc:The 発電設備に対する投資の効果を評価するための情報処理方法及び装置

Non-Patent Citations (1)

* Cited by examiner, † Cited by third party
Title
SHINGU, N. ET AL.: "Development of Technology to Prevent Performance Degradation by Improving Intake Air Filtration Systems for Large Gas Turbines", THE THERMAL AND NUCLEAR POWER, vol. 54, no. 2, 15 February 2003 (2003-02-15), pages 42 - 48, ISSN: 0387-1029 *

Cited By (7)

* Cited by examiner, † Cited by third party
Publication number Priority date Publication date Assignee Title
WO2020255173A3 (en) * 2019-06-20 2021-02-11 Tata Consultancy Services Limited Method and system for optimization of combined cycle gas turbine operation
JP2022537440A (ja) * 2019-06-20 2022-08-25 タタ コンサルタンシー サービシズ リミテッド コンバインド・サイクル・ガス・タービン運転の最適化のための方法及びシステム
JP7314323B2 (ja) 2019-06-20 2023-07-25 タタ コンサルタンシー サービシズ リミテッド コンバインド・サイクル・ガス・タービン運転の最適化のための方法及びシステム
US12173625B2 (en) 2019-06-20 2024-12-24 Tata Consultancy Services Limited Method and system for optimization of combination cycle gas turbine operation
WO2021152894A1 (ja) * 2020-01-27 2021-08-05 株式会社日立製作所 意思決定支援システム、意思決定支援方法
JP2021117781A (ja) * 2020-01-27 2021-08-10 株式会社日立製作所 意思決定支援システム、意思決定支援方法
JP7313294B2 (ja) 2020-01-27 2023-07-24 株式会社日立製作所 意思決定支援システム、意思決定支援方法

Also Published As

Publication number Publication date
US11461727B2 (en) 2022-10-04
JP2018169759A (ja) 2018-11-01
DE112018001764T5 (de) 2019-12-19
TWI703420B (zh) 2020-09-01
CN110506289B (zh) 2023-09-05
TW201901322A (zh) 2019-01-01
JP6998119B2 (ja) 2022-01-18
CN110506289A (zh) 2019-11-26
US20200265361A1 (en) 2020-08-20

Similar Documents

Publication Publication Date Title
WO2018181009A1 (ja) プラント評価システム、プラント評価方法及びプログラム
JP4237610B2 (ja) 保守支援方法及びプログラム
JP5179423B2 (ja) エネルギーシステム最適化方法、エネルギーシステム最適化装置及びプログラム
JP7233964B2 (ja) 運転指標提示装置、運転指標提示方法、およびプログラム
JP2016053925A (ja) 電力市場価格予測装置、電力市場価格予測方法およびプログラム
JP2018169759A5 (enExample)
JP2023049369A (ja) 新規事業シミュレーションプログラム
JP2015125643A (ja) 分散型エネルギーシステムの設備計画方法、プログラムおよび装置
JP7359535B2 (ja) 演算装置、システム、演算方法及びプログラム
JP6635253B2 (ja) 発電プラント分析装置、発電プラントの分析方法、およびプログラム
JP2012221020A (ja) 原価シミュレーション装置
JP2017173945A (ja) 契約電力最適化装置
JP4607632B2 (ja) 電力取引評価支援システム、方法、およびプログラム
JP7373927B2 (ja) 演算装置、プラント、演算方法及びプログラム
JP7364382B2 (ja) 運転比較装置、運転比較方法およびプログラム
Fleten et al. A stochastic game model applied to the Nordic electricity market
JP6230315B2 (ja) マーケットインパクト減衰係数算出装置、マーケットインパクト減衰係数算出方法、約定シミュレーションシステム、及び約定シミュレーション方法
WO2025074532A1 (ja) 最適運用分析装置、最適運用分析システム及び最適運用分析方法
JP2019083601A (ja) 発電計画策定装置、発電計画策定方法、および発電計画策定プログラム
JP2024016988A (ja) 売買取引支援装置及び方法
JP2004272864A (ja) Lpガス販売店の経営状態把握用シミュレーション方法

Legal Events

Date Code Title Description
121 Ep: the epo has been informed by wipo that ep was designated in this application

Ref document number: 18775988

Country of ref document: EP

Kind code of ref document: A1

122 Ep: pct application non-entry in european phase

Ref document number: 18775988

Country of ref document: EP

Kind code of ref document: A1