WO2018159006A1 - 露光装置、基板処理装置、基板の露光方法および基板処理方法 - Google Patents

露光装置、基板処理装置、基板の露光方法および基板処理方法 Download PDF

Info

Publication number
WO2018159006A1
WO2018159006A1 PCT/JP2017/036258 JP2017036258W WO2018159006A1 WO 2018159006 A1 WO2018159006 A1 WO 2018159006A1 JP 2017036258 W JP2017036258 W JP 2017036258W WO 2018159006 A1 WO2018159006 A1 WO 2018159006A1
Authority
WO
WIPO (PCT)
Prior art keywords
substrate
exposure
unit
processing chamber
mode
Prior art date
Legal status (The legal status is an assumption and is not a legal conclusion. Google has not performed a legal analysis and makes no representation as to the accuracy of the status listed.)
Ceased
Application number
PCT/JP2017/036258
Other languages
English (en)
French (fr)
Japanese (ja)
Inventor
友宏 松尾
靖博 福本
孝文 大木
正也 浅井
将彦 春本
田中 裕二
知佐世 中山
幸司 金山
Current Assignee (The listed assignees may be inaccurate. Google has not performed a legal analysis and makes no representation or warranty as to the accuracy of the list.)
Screen Holdings Co Ltd
Original Assignee
Screen Holdings Co Ltd
Priority date (The priority date is an assumption and is not a legal conclusion. Google has not performed a legal analysis and makes no representation as to the accuracy of the date listed.)
Filing date
Publication date
Application filed by Screen Holdings Co Ltd filed Critical Screen Holdings Co Ltd
Publication of WO2018159006A1 publication Critical patent/WO2018159006A1/ja
Anticipated expiration legal-status Critical
Ceased legal-status Critical Current

Links

Images

Classifications

    • GPHYSICS
    • G03PHOTOGRAPHY; CINEMATOGRAPHY; ANALOGOUS TECHNIQUES USING WAVES OTHER THAN OPTICAL WAVES; ELECTROGRAPHY; HOLOGRAPHY
    • G03FPHOTOMECHANICAL PRODUCTION OF TEXTURED OR PATTERNED SURFACES, e.g. FOR PRINTING, FOR PROCESSING OF SEMICONDUCTOR DEVICES; MATERIALS THEREFOR; ORIGINALS THEREFOR; APPARATUS SPECIALLY ADAPTED THEREFOR
    • G03F7/00Photomechanical, e.g. photolithographic, production of textured or patterned surfaces, e.g. printing surfaces; Materials therefor, e.g. comprising photoresists; Apparatus specially adapted therefor
    • G03F7/20Exposure; Apparatus therefor
    • GPHYSICS
    • G03PHOTOGRAPHY; CINEMATOGRAPHY; ANALOGOUS TECHNIQUES USING WAVES OTHER THAN OPTICAL WAVES; ELECTROGRAPHY; HOLOGRAPHY
    • G03FPHOTOMECHANICAL PRODUCTION OF TEXTURED OR PATTERNED SURFACES, e.g. FOR PRINTING, FOR PROCESSING OF SEMICONDUCTOR DEVICES; MATERIALS THEREFOR; ORIGINALS THEREFOR; APPARATUS SPECIALLY ADAPTED THEREFOR
    • G03F7/00Photomechanical, e.g. photolithographic, production of textured or patterned surfaces, e.g. printing surfaces; Materials therefor, e.g. comprising photoresists; Apparatus specially adapted therefor
    • G03F7/26Processing photosensitive materials; Apparatus therefor
    • G03F7/30Imagewise removal using liquid means
    • HELECTRICITY
    • H01ELECTRIC ELEMENTS
    • H01LSEMICONDUCTOR DEVICES NOT COVERED BY CLASS H10
    • H01L21/00Processes or apparatus adapted for the manufacture or treatment of semiconductor or solid state devices or of parts thereof
    • H01L21/02Manufacture or treatment of semiconductor devices or of parts thereof
    • H01L21/027Making masks on semiconductor bodies for further photolithographic processing not provided for in group H01L21/18 or H01L21/34

Definitions

  • the present invention relates to an exposure apparatus that performs exposure processing on a substrate, a substrate processing apparatus, a substrate exposure method, and a substrate processing method.
  • Patent Document 1 describes an exposure apparatus that performs an exposure process on a film (DSA film) containing an induced self-assembled material on a substrate.
  • the exposure apparatus has a light emitting part capable of emitting a vacuum ultraviolet ray having a cross-sectional band shape, and is configured to be movable from the front position to the rear position of the light emitting part so that the substrate crosses the path of the vacuum ultraviolet ray from the light emitting part.
  • the illuminance of vacuum ultraviolet rays is detected in advance by an illuminance sensor, and the moving speed of the substrate is calculated based on the detected illuminance so that a desired amount of vacuum ultraviolet rays is irradiated.
  • the DSA film on the substrate is irradiated with a desired amount of vacuum ultraviolet light by moving the substrate at the calculated moving speed.
  • the light emitting portion of the exposure apparatus is provided with a glass plate that transmits vacuum ultraviolet rays.
  • a foreign substance made of an organic material generated by the exposure process adheres to the glass plate of the light emitting part.
  • the glass plate is clouded or cloudy
  • the light transmittance of the glass plate is lowered and the light transmittance is locally non-uniform. For this reason, the efficiency and accuracy of the exposure process are reduced.
  • the maintenance worker frequently removes foreign matters attached to the glass plate, the burden on the maintenance worker increases. Further, since a long time is required for the maintenance work, the operation stop time of the exposure apparatus is prolonged and the operation efficiency is lowered.
  • An object of the present invention is to provide an exposure apparatus, a substrate processing apparatus, an exposure method, and a substrate processing method capable of maintaining the efficiency and accuracy of exposure processing over a long period while reducing the burden on maintenance workers.
  • An exposure apparatus is an exposure apparatus that exposes a substrate, and includes a switching unit that switches an operation mode of the exposure apparatus between an exposure mode and a maintenance mode, and a translucent window member.
  • a processing chamber that accommodates a substrate to be processed in the exposure mode, a light source unit that is capable of emitting vacuum ultraviolet rays into the processing chamber through the window member, an exhaust unit for exhausting the atmosphere in the processing chamber, and an exposure mode.
  • a first exhaust control unit that controls the exhaust unit so that the oxygen concentration in the processing chamber becomes a first concentration lower than the oxygen concentration in the atmosphere; and in the exposure mode, the oxygen concentration in the processing chamber is the first concentration.
  • the first light emission control unit that controls the light source unit to expose the substrate by irradiating the substrate in the processing chamber with vacuum ultraviolet rays, and the oxygen concentration in the processing chamber is the first in the maintenance mode. While a second concentration higher than the degree, and a second light projecting control unit for controlling the light source unit so as to generate ozone by irradiating vacuum ultraviolet rays in the atmosphere in the processing chamber.
  • the operation mode can be switched between the exposure mode and the maintenance mode.
  • a substrate to be processed is accommodated in a processing chamber in which a translucent window member is attached.
  • the atmosphere in the processing chamber is exhausted by the exhaust unit so that the oxygen concentration in the processing chamber becomes a first concentration lower than the oxygen concentration in the atmosphere.
  • the substrate is exposed by irradiating the substrate in the processing chamber with vacuum ultraviolet rays through the window member from the light source unit.
  • the maintenance mode in the state where the oxygen concentration in the processing chamber is a second concentration higher than the first concentration, vacuum ultraviolet rays are irradiated from the light source unit through the window member to the atmosphere in the processing chamber, thereby Ozone is generated.
  • the operation stop time of the exposure apparatus is minimized.
  • the operating efficiency of the exposure apparatus is improved.
  • the window member is prevented from being clouded and clouded by foreign matter, and the window member is maintained in a highly permeable state, so that the efficiency and accuracy of the exposure process are prevented from being lowered even when the exposure apparatus is used for a long time. Is done.
  • the efficiency and accuracy of the exposure process can be maintained over a long period while reducing the burden on the maintenance worker.
  • the exposure apparatus may further include a second exhaust control unit that controls the exhaust unit to exhaust the generated ozone in the processing chamber in the maintenance mode.
  • a second exhaust control unit that controls the exhaust unit to exhaust the generated ozone in the processing chamber in the maintenance mode.
  • ozone remaining in the processing chamber can be easily exhausted after the foreign matters attached to the window member are removed.
  • the second concentration may be an oxygen concentration in the atmosphere. In this case, in the maintenance mode, the second concentration state higher than the first concentration can be easily realized.
  • the first concentration may be an oxygen concentration at which ozone is not generated by vacuum ultraviolet rays emitted from the light source unit.
  • the substrate in the exposure mode, the substrate can be irradiated without attenuating the vacuum ultraviolet rays. Thereby, the efficiency of exposure processing can be improved.
  • the exposure apparatus may further include an air supply unit that supplies an inert gas into the processing chamber in the exposure mode.
  • an air supply unit that supplies an inert gas into the processing chamber in the exposure mode.
  • the oxygen concentration in the processing chamber in the exposure mode can be easily and sufficiently reduced.
  • the light source unit may be configured to emit vacuum ultraviolet rays having a planar cross section.
  • vacuum ultraviolet rays are emitted in a wide range. Therefore, in the exposure mode, the substrate exposure process can be completed in a short time. Further, since a sufficient amount of ozone can be easily generated in the maintenance mode, the decomposition or removal of the foreign matter attached to the window member can be completed in a short time.
  • the emission area of the vacuum ultraviolet rays by the light source unit may be larger than the area of the substrate. In this case, since the entire surface of the substrate can be exposed in the exposure mode, the substrate exposure process can be completed in a shorter time. In the maintenance mode, the decomposition or removal of the foreign matter adhering to the window member can be completed in a shorter time.
  • a substrate processing apparatus includes a coating processing unit that forms a film on a substrate by applying a processing liquid to the substrate, and a thermal processing unit that heat-treats the substrate on which the film is formed by the coating processing unit. And an exposure apparatus according to one aspect of the present invention that exposes the substrate heat treated by the heat treatment section in an exposure mode, and a development processing section that develops a film on the substrate by supplying a solvent to the substrate exposed by the exposure apparatus. Prepare.
  • a film is formed on the substrate by applying the processing liquid to the substrate by the coating processing unit.
  • the substrate on which the film is formed by the coating processing unit is heat-treated by the heat treatment unit.
  • the substrate that has been heat-treated by the heat-treatment unit is exposed in the exposure mode by the above-described exposure apparatus.
  • the film on the substrate is developed by supplying a solvent to the substrate exposed by the exposure apparatus by the development processing unit.
  • the exposure apparatus when the substrate is exposed in the exposure mode, a foreign material made of an organic material gradually adheres to the window member attached to the processing chamber. Even in this case, the foreign matter adhering to the window member is decomposed or removed by ozone generated in the processing chamber in the maintenance mode. Thereby, the efficiency and precision of substrate processing by the substrate processing apparatus can be maintained over a long period of time while reducing the burden on the maintenance worker.
  • the treatment liquid may contain an induced self-organizing material.
  • microphase separation occurs on one surface of the substrate by heat-treating the substrate coated with the treatment liquid containing the induced self-organizing material. Further, the substrate on which two types of polymer patterns are formed by microphase separation is exposed and developed. Thereby, one of the two types of polymers is removed, and a fine pattern can be formed.
  • An exposure method is a substrate exposure method using an exposure apparatus, the step of switching an operation mode of the exposure apparatus between an exposure mode and a maintenance mode, The step of accommodating the substrate to be processed in the processing chamber to which the optical window member is attached, and the exhaust section so that the oxygen concentration in the processing chamber becomes a first concentration lower than the oxygen concentration in the atmosphere in the exposure mode. And evacuating the substrate in the processing chamber through the window member from the light source unit in a state where the oxygen concentration in the processing chamber is the first concentration in the exposure mode and the step of exhausting the atmosphere in the processing chamber by the exposure mode.
  • processing is performed from the light source unit through the window member in a state where the oxygen concentration in the processing chamber is a second concentration higher than the first concentration.
  • the foreign material made of an organic material gradually adheres to the portion of the window member attached to the processing chamber. Even in this case, the foreign matter attached to the window member is decomposed or removed by ozone generated in the processing chamber in the maintenance mode. As a result, the efficiency and accuracy of the exposure process can be maintained over a long period while reducing the burden on the maintenance worker.
  • a substrate processing method includes a step of forming a film on a substrate by applying a processing liquid to the substrate by a coating processing unit, and heat-treating the substrate on which the film has been formed by the coating processing unit.
  • a foreign substance made of an organic material gradually adheres to the window member attached to the processing chamber when the substrate is exposed in the exposure mode of the exposure apparatus. Even in this case, the foreign matter attached to the window member is decomposed or removed by ozone generated in the processing chamber in the maintenance mode of the exposure apparatus. Thereby, the efficiency and precision of substrate processing can be maintained over a long period of time while reducing the burden on maintenance workers.
  • the efficiency and accuracy of exposure processing can be maintained over a long period of time while reducing the burden on maintenance workers.
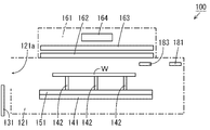
  • FIG. 1 is a schematic sectional view showing the arrangement of an exposure apparatus according to an embodiment of the present invention.
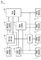
  • FIG. 2 is a functional block diagram showing the configuration of the control unit of FIG.
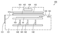
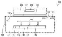
  • FIG. 3 is a schematic diagram for explaining the operation of the exposure apparatus in the exposure mode.
  • FIG. 4 is a schematic diagram for explaining the operation of the exposure apparatus in the exposure mode.
  • FIG. 5 is a schematic diagram for explaining the operation of the exposure apparatus in the exposure mode.
  • FIG. 6 is a schematic diagram for explaining the operation of the exposure apparatus in the exposure mode.
  • FIG. 7 is a flowchart showing an example of exposure processing performed by the control unit of FIG. 2 in the exposure mode.
  • FIG. 8 is a flowchart showing an example of an exposure process performed by the control unit of FIG. 2 in the exposure mode.
  • FIG. 9 is a flowchart showing an example of maintenance processing performed by the control unit of FIG. 2 in the maintenance mode.
  • FIG. 10 is a schematic block diagram showing the overall configuration of the substrate processing apparatus provided with the exposure apparatus of FIG.
  • FIG. 11 is a schematic view showing an example of substrate processing by the substrate processing apparatus of FIG.
  • a substrate means a semiconductor substrate, a liquid crystal display device or an FPD (Flat Panel Display) substrate such as an organic EL (Electro Luminescence) display device, an optical disk substrate, a magnetic disk substrate, or a magneto-optical disk. It refers to a substrate, a photomask substrate, a solar cell substrate, or the like.
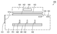
  • FIG. 1 is a schematic sectional view showing a configuration of an exposure apparatus according to an embodiment of the present invention.
  • the exposure apparatus 100 includes a control unit 110, a processing chamber 120, a closing unit 130, a delivery unit 140, an elevating unit 150, a light projecting unit 160, a replacement unit 170, and a measuring unit 180.
  • the control unit 110 acquires measurement values from the measurement unit 180 and controls operations of the blocking unit 130, the lifting unit 150, the light projecting unit 160, and the replacement unit 170. The function of the control unit 110 will be described later.
  • the processing chamber 120 includes a casing 121 having an upper opening and an internal space, an annular member 122, and a covering member 123.
  • a transport opening 121 a for transporting the substrate W to be processed is formed between the inside and the outside of the housing 121.
  • a film containing an induced self-organizing material hereinafter referred to as a DSA (Directed Self Assembly) film
  • a connecting member 152 of an elevating unit 150 described later passes is formed on the bottom surface of the housing 121.
  • the housing 161 of the light projecting unit 160 which will be described later, is disposed on the top of the housing 121 via the annular member 122, whereby the upper opening of the housing 121 is closed.
  • Seal members s1 and s2 are attached between the casing 121 and the annular member 122 and between the annular member 122 and the housing 161, respectively.
  • a covering member 123 is attached between the housing 121 and the housing 161 so as to cover the outer peripheral surface of the annular member 122.
  • the closing part 130 includes a shutter 131, a rod-shaped connecting member 132, and a driving device 133.
  • the connecting member 132 connects the shutter 131 and the driving device 133.
  • the drive device 133 is a stepping motor, for example.
  • the driving device 133 moves the shutter 131 between an open position where the shutter 131 opens the transport opening 121a and a closed position where the shutter 131 closes the transport opening 121a.
  • a seal member 131 a is attached to the shutter 131.
  • the inside of the housing 121 is hermetically sealed by the seal member 131a being in close contact with a portion of the housing 121 surrounding the transport opening 121a.
  • the driving device 133 moves the shutter 131 away from the casing 121 when moving the shutter 131 between the open position and the closed position. Move up and down in the state.
  • Position sensors 133 a and 133 b for detecting the upper limit position and the lower limit position of the shutter 131 are attached to the drive device 133.
  • the position sensors 133a and 133b give the detection result to the control unit 110.
  • the delivery unit 140 includes, for example, a disk-shaped support plate 141 and a plurality (three in this example) of support pins 142.
  • the support plate 141 is disposed in a horizontal posture within the housing 121.
  • an opening 141a is formed through which a connecting member 152 of an elevating unit 150 described later passes.
  • the plurality of support pins 142 extend upward from the upper surface of the support plate 141 so as to surround the opening 141a.
  • the substrate W to be processed can be placed on the upper ends of the plurality of support pins 142.
  • the elevating unit 150 includes a plate-shaped mounting plate 151, a rod-shaped connecting member 152, and a driving device 153.
  • the mounting plate 151 is disposed in a horizontal posture above the support plate 141 of the delivery unit 140 in the housing 121.
  • a plurality of through holes 151 a corresponding to the plurality of support pins 142 of the support plate 141 are formed in the mounting plate 151.
  • the connecting member 152 is disposed to extend vertically through the opening 121 b of the housing 121 and the opening 141 a of the support plate 141, and the driving device 153 is disposed below the housing 121.
  • the connecting member 152 connects the mounting plate 151 and the driving device 153.
  • a seal member s3 is disposed between the outer peripheral surface of the connecting member 152 and the inner peripheral surface of the opening 121b so that the connecting member 152 can slide in the vertical direction.
  • the driving device 153 is, for example, a stepping motor, and moves the mounting plate 151 between a processing position above the upper ends of the plurality of support pins 142 and a standby position below the upper ends of the plurality of support pins 142. Move up and down. In the state where the mounting plate 151 is in the standby position, the plurality of support pins 142 are inserted through the plurality of through holes 151a, respectively.
  • Position sensors 153 a and 153 b for detecting the upper limit position and the lower limit position of the mounting plate 151 are attached to the driving device 153. The position sensors 153a and 153b give the detection result to the control unit 110.
  • the light projecting unit 160 includes a housing 161 having a lower opening and an internal space, a translucent plate 162, a planar light source unit 163, and a power supply device 164.
  • translucent plate 162 is a quartz glass plate.
  • the housing 161 is disposed on the upper portion of the housing 121 so as to close the upper opening of the housing 121.
  • the translucent plate 162 is attached to the housing 161 so as to close the lower opening of the housing 161.
  • the internal space of the housing 121 and the internal space of the housing 161 are separated by a translucent plate 162 so as to be optically accessible.
  • the light source unit 163 and the power supply device 164 are accommodated in the housing 161.
  • the light source unit 163 is configured by horizontally arranging a plurality of rod-shaped light sources that emit vacuum ultraviolet rays having a wavelength of about 120 nm or more and about 230 nm or less at predetermined intervals.
  • Each light source may be, for example, a xenon excimer lamp, or another excimer lamp or a deuterium lamp.
  • the light source unit 163 emits vacuum ultraviolet rays having a substantially uniform light amount distribution in the housing 121 through the translucent plate 162.
  • the area of the emission surface of the vacuum ultraviolet ray in the light source unit 163 is larger than the area of the surface to be processed of the substrate W.
  • the power supply device 164 supplies power to the light source unit 163.
  • the replacement unit 170 includes pipes 171p, 172p, 173p, valves 171v, 172v, and a suction device 173.
  • the pipes 171p and 172p are connected between an air supply port of the casing 121 and an inert gas supply source.
  • the inert gas is, for example, nitrogen gas.
  • Valves 171v and 172v are inserted in the pipes 171p and 172p.
  • the inert gas is supplied into the housing 121 from the side of the support plate 141 through the pipe 171p.
  • An inert gas is supplied into the housing 121 from below the support plate 141 through the pipe 172p.
  • the flow rate of the inert gas is adjusted by valves 171v and 172v.
  • nitrogen gas is used as the inert gas.
  • the pipe 173p branches into a branch pipe 173a and a branch pipe 173b.
  • the branch pipe 173 a is connected to the exhaust port of the casing 121, and the end of the branch pipe 173 b is disposed between the casing 121 and the shutter 131.
  • a suction device 173 is inserted into the pipe 173p.
  • a valve 173v is inserted in the branch pipe 173b.
  • the suction device 173 is, for example, an ejector.
  • the pipe 173p is connected to the exhaust facility. The suction device 173 discharges the atmosphere in the housing 121 through the branch pipe 173a and the pipe 173p.
  • the suction device 173 discharges the atmosphere between the housing 121 and the shutter 131 through the branch pipe 173b and the pipe 173p together with dust and the like generated by the movement of the shutter 131.
  • the gas discharged by the suction device 173 is rendered harmless by the exhaust facility.
  • the measuring unit 180 includes an oxygen concentration meter 181, an ozone concentration meter 182, and an illuminance meter 183.
  • the oxygen concentration meter 181, the ozone concentration meter 182, and the illuminance meter 183 are connected to the control unit 110 through connection ports p 1, p 2, and p 3 provided in the housing 121.
  • the oxygen concentration meter 181 is, for example, a galvanic cell type oxygen sensor or a zirconia type oxygen sensor, and measures the oxygen concentration in the housing 121.
  • the ozone concentration meter 182 measures the ozone concentration in the housing 121.
  • the illuminance meter 183 includes a light receiving element such as a photodiode, and measures the illuminance of vacuum ultraviolet rays from the light source unit 163 irradiated on the light receiving surface of the light receiving element.
  • the illuminance is a work rate of vacuum ultraviolet rays irradiated per unit area of the light receiving surface.
  • the unit of illuminance is represented by “W / m 2 ”, for example.
  • the exposure apparatus 100 selectively operates in an exposure mode for performing an exposure process on the substrate W and a maintenance mode for performing a maintenance process on the light transmitting plate 162 of the light projecting unit 160.
  • exposure processing is performed by irradiating the substrate W from the light source unit 163 with vacuum ultraviolet rays.
  • the oxygen concentration in the housing 121 is high, oxygen molecules absorb vacuum ultraviolet rays and are separated into oxygen atoms, and ozone is generated by recombining the separated oxygen atoms with other oxygen molecules.
  • the vacuum ultraviolet rays that reach the substrate W are attenuated.
  • the attenuation of vacuum ultraviolet rays is greater than the attenuation of ultraviolet rays with wavelengths longer than about 230 nm. Therefore, in the exposure mode, the atmosphere in the housing 121 is replaced with an inert gas by the replacement unit 170. Thereby, the oxygen concentration in the housing 121 is reduced.
  • the substrate W is irradiated with vacuum ultraviolet rays.
  • the oxygen concentration in the atmosphere is the oxygen concentration in the atmosphere in which the component adjustment is not performed, for example, the oxygen concentration in the air in the standard state.
  • the exposure concentration is preferably an oxygen concentration (for example, 1%) at which ozone is not generated by the vacuum ultraviolet rays emitted from the light source unit 163.
  • the exposure amount of the vacuum ultraviolet rays applied to the substrate W reaches a predetermined set exposure amount, the irradiation of the vacuum ultraviolet rays is stopped and the exposure process is ended.
  • the exposure amount is the energy of vacuum ultraviolet rays irradiated per unit area of the surface to be processed of the substrate W during the exposure process.
  • the unit of the exposure amount is represented by “J / m 2 ”, for example. Therefore, the exposure amount of vacuum ultraviolet rays is acquired by integrating the illuminance of vacuum ultraviolet rays measured by the illuminance meter 183.
  • the maintenance mode vacuum ultraviolet rays are emitted from the light source unit 163 in a state where the oxygen concentration in the housing 121 is higher than the exposure concentration.
  • ozone is generated in the housing 121.
  • the oxygen concentration in the housing 121 in the maintenance mode may be an oxygen concentration in the atmosphere.
  • FIG. 2 is a functional block diagram showing the configuration of the control unit 110 in FIG.
  • the control unit 110 includes a block control unit 1, a lift control unit 2, an exhaust control unit 3, an air supply control unit 4, a concentration acquisition unit 5, a concentration comparison unit 6, an illuminance acquisition unit 7, and an exposure amount.
  • a calculation unit 8, an exposure amount comparison unit 9, a light projection control unit 10, and a switching unit 11 are included.
  • the control unit 110 includes, for example, a CPU (Central Processing Unit) and a memory.
  • a control program is stored in advance in the memory of the control unit 110.
  • the function of each unit of the control unit 110 is realized by the CPU of the control unit 110 executing the control program stored in the memory.
  • the closing control unit 1 controls the driving device 133 so that the shutter 131 moves between the closing position and the opening position based on the detection results of the position sensors 133a and 133b in FIG.
  • the elevation control unit 2 controls the driving device 153 so that the mounting plate 151 moves between the standby position and the processing position based on the detection results of the position sensors 153a and 153b in FIG.
  • the exhaust control unit 3 controls the suction device 173 and the valve 173v so as to discharge the atmosphere in the casing 121 and the atmosphere between the casing 121 and the shutter 131 in FIG.
  • the air supply control unit 4 controls the valves 171v and 172v in FIG. 1 so as to supply an inert gas.
  • the concentration acquisition unit 5 acquires the value of the oxygen concentration measured by the oxygen concentration meter 181 of FIG.
  • the concentration comparison unit 6 compares the oxygen concentration measured by the concentration acquisition unit 5 with the exposure concentration.
  • the illuminance acquisition unit 7 acquires the illuminance value of vacuum ultraviolet rays measured by the illuminometer 183 in FIG.
  • the exposure amount calculation unit 8 calculates the exposure amount of the vacuum ultraviolet rays irradiated to the substrate W based on the illuminance of the vacuum ultraviolet rays acquired by the illuminance acquisition unit 7 and the emission time of the vacuum ultraviolet rays from the light source unit 163 in FIG. calculate.
  • the exposure amount comparison unit 9 compares the exposure amount calculated by the exposure amount calculation unit 8 with a predetermined set exposure amount.
  • the light projection control unit 10 controls the power supply device 164 so that the light source unit 163 of FIG. 1 emits vacuum ultraviolet rays based on the comparison result by the density comparison unit 6 and the comparison result by the exposure amount comparison unit 9. Further, the light projection control unit 10 controls the power supply device 164 so that the light source unit 163 emits vacuum ultraviolet rays for a predetermined time (hereinafter referred to as “cleaning time”) at a predetermined time. Further, the light projection control unit 10 gives the exposure amount calculation unit 8 the control time of the power supply device 164 as the emission time of the vacuum ultraviolet rays from the light source unit 163.
  • the switching unit 11 switches the operation mode of the exposure apparatus 100 between the exposure mode and the maintenance mode. Specifically, the switching unit 11 switches the operation mode so that the exposure apparatus 100 operates in the maintenance mode during a period in which the exposure apparatus 100 does not operate in the exposure mode.
  • Each unit of the control unit 110 operates in the operation mode switched by the switching unit 11. Details of the operation of each part of the controller 110 in the exposure mode and the maintenance mode will be described later.
  • the switching unit 11 may switch the operation mode from the exposure mode to the maintenance mode when a preset number of substrates W are exposed in the exposure mode or when a preset time has elapsed in the exposure mode. Good. Further, the switching unit 11 may switch the operation mode from the maintenance mode to the exposure mode when the maintenance process is completed in the maintenance mode.
  • FIGS. 3 to 6 are schematic diagrams for explaining the operation of the exposure apparatus 100 in the exposure mode. 3 to 6, in order to facilitate the visual recognition of the configuration inside the casing 121 and the housing 161, some of the configurations are not shown, and the outlines of the casing 121 and the housing 161 are indicated by alternate long and short dashed lines.
  • 7 and 8 are flowcharts showing an example of exposure processing performed by the control unit 110 of FIG. 2 in the exposure mode.
  • the exposure processing by the control unit 110 will be described with reference to FIGS.
  • the shutter 131 is in the closed position and the mounting plate 151 is in the standby position. Further, the oxygen concentration in the housing 121 is constantly or periodically measured by the oxygen concentration meter 181 and acquired by the concentration acquisition unit 5. At this time, the oxygen concentration in the housing 121 measured by the oxygen concentration meter 181 is equal to the oxygen concentration in the atmosphere.
  • the closing control unit 1 moves the shutter 131 to the open position as shown in FIG. 4 (step S1).
  • the substrate W to be processed can be placed on the upper ends of the plurality of support pins 142 through the transport opening 121a.
  • the substrate W is placed on the upper ends of the plurality of support pins 142 by the transfer device 220 shown in FIG.
  • the elevation controller 2 determines whether or not the substrate W is placed on the upper ends of the plurality of support pins 142 (step S2). When the substrate W is not placed, the elevation control unit 2 waits until the substrate W is placed on the upper ends of the plurality of support pins 142. When the substrate W is placed, the elevation control unit 2 moves the shutter 131 to the closed position as shown in FIG. 5 (step S3).
  • the exhaust control unit 3 discharges the atmosphere in the casing 121 by the suction device 173 of FIG. 1 (step S4). Further, the air supply control unit 4 supplies an inert gas into the housing 121 from the pipes 171p and 172p in FIG. 1 (step S5). Either of the processes of steps S4 and S5 may be started first, or may be started simultaneously. Thereafter, as shown in FIG. 6, the elevation controller 2 moves the placement plate 151 to the processing position (step S6). As a result, the substrate W is transferred from the plurality of support pins 142 to the mounting plate 151 and is brought close to the translucent plate 162.
  • the concentration comparison unit 6 determines whether or not the oxygen concentration in the casing 121 has been reduced to the exposure concentration (step S7). When the oxygen concentration is not reduced to the exposure concentration, the concentration comparison unit 6 stands by until the oxygen concentration is reduced to the exposure concentration. When the oxygen concentration is reduced to the exposure concentration, the light projection control unit 10 emits vacuum ultraviolet rays from the light source unit 163 (step S8). Thereby, vacuum ultraviolet rays are irradiated onto the substrate W from the light source unit 163 through the light transmitting plate 162, and the DSA film formed on the surface to be processed is exposed.
  • the illuminance acquisition unit 7 causes the illuminance meter 183 to start measuring the illuminance of vacuum ultraviolet rays, and acquires the measured illuminance from the illuminance meter 183 (step S9).
  • the processes of steps S8 and S9 are started substantially simultaneously.
  • the exposure amount calculation unit 8 calculates the exposure amount of the vacuum ultraviolet ray irradiated to the substrate W by integrating the illuminance of the vacuum ultraviolet ray acquired by the illuminance acquisition unit 7 (step S10).
  • the exposure amount comparison unit 9 determines whether or not the exposure amount calculated by the exposure amount calculation unit 8 has reached the set exposure amount (step S11). When the exposure amount has not reached the set exposure amount, the exposure amount comparison unit 9 stands by until the exposure amount reaches the set exposure amount. When the exposure amount reaches the set exposure amount, the light projection control unit 10 stops the emission of vacuum ultraviolet rays from the light source unit 163 (step S12). In addition, the illuminance acquisition unit 7 stops the measurement of illuminance by the illuminometer 183 (step S13).
  • the elevation controller 2 moves the mounting plate 151 to the standby position (step S14).
  • the substrate W is transferred from the placement plate 151 to the plurality of support pins 142.
  • the exhaust control unit 3 stops the exhaust of the atmosphere in the housing 121 by the suction device 173 (step S15).
  • the air supply control unit 4 stops the supply of the inert gas from the pipes 171p and 172p into the housing 121 (Step S16). Any of the processes in steps S14 to S16 may be started first, or may be started simultaneously.
  • the closing control unit 1 moves the shutter 131 to the open position as shown in FIG. 4 (step S17). Accordingly, the exposed substrate W can be collected from the plurality of support pins 142 through the transport opening 121a. In this example, the substrate W is recovered from the plurality of support pins 142 by the transfer device 220 shown in FIG.
  • the closing control unit 1 determines whether or not the substrate W has been collected from the plurality of support pins 142 (step S18). When the substrate W has not been collected, the closing control unit 1 stands by until the substrate W is collected from the plurality of support pins 142. When the substrate W is collected, the closing control unit 1 moves the shutter 131 to the closing position as shown in FIG. 3 (step S19), and ends the exposure process. By repeating the above operation, exposure processing can be sequentially performed on the plurality of substrates W.
  • FIG. 9 is a flowchart showing an example of maintenance processing performed by the control unit 110 of FIG.
  • the maintenance process by the control unit 110 will be described with reference to FIGS. 3 and 9.
  • the shutter 131 is in the closed position and the mounting plate 151 is in the standby position.
  • the oxygen concentration in the housing 121 is constantly or periodically measured by the oxygen concentration meter 181 and acquired by the concentration acquisition unit 5. At this time, it is measured by the oxygen concentration meter 181.
  • the oxygen concentration in the housing 121 is equal to the oxygen concentration in the atmosphere.
  • the light projection control unit 10 emits vacuum ultraviolet rays from the light source unit 163 (step S21).
  • vacuum ultraviolet rays are irradiated from the light source unit 163 through the translucent plate 162 to oxygen molecules in the housing 121, and ozone is generated in the housing 121.
  • the foreign material adhering to the translucent plate 162 is cleaned by the generated ozone, and is decomposed or removed.
  • the mounting plate 151 may be moved to the processing position, and vacuum ultraviolet light may be emitted in the state of being close to the light transmitting plate 162. In this case, the foreign matter is efficiently cleaned and decomposed or removed in a narrow space.
  • the light projection control unit 10 determines whether or not the cleaning time has elapsed (step S22). When the cleaning time has not elapsed, the light projection control unit 10 stands by until the cleaning time has elapsed. When the cleaning time has elapsed, the light projection control unit 10 stops the emission of the vacuum ultraviolet rays from the light source unit 163 (step S23).
  • the exhaust control unit 3 discharges the atmosphere in the casing 121 by the suction device 173 of FIG. 1 (step S24). Further, the air supply control unit 4 supplies an inert gas into the housing 121 from the pipes 171p and 172p in FIG. 1 (step S25). Either of the processes of steps S24 and S25 may be started first, or may be started simultaneously. As a result, ozone generated in the housing 121 is discharged through the suction device 173, and ozone is prevented from diffusing around the exposure apparatus 100. Thereafter, the closing control unit 1 moves the shutter 131 to the open position (step S26). Thereby, outside air is introduced into the housing 121 and the oxygen concentration in the housing 121 increases.
  • the concentration comparison unit 6 determines whether or not the oxygen concentration in the casing 121 has increased to a predetermined value or more (step S27). If the oxygen concentration has not increased above the predetermined value, the concentration comparison unit 6 stands by until the oxygen concentration increases above the predetermined value.
  • the exhaust control unit 3 stops the exhaust of the atmosphere in the housing 121 by the suction device 173 (step S28). Further, the air supply control unit 4 stops the supply of the inert gas from the pipes 171p and 172p into the housing 121 (step S29). Either of the processes of steps S28 and S29 may be started first, or may be started simultaneously. Finally, the closing control unit 1 moves the shutter 131 to the closing position (step S30) and ends the maintenance process.
  • FIG. 10 is a schematic block diagram showing the overall configuration of a substrate processing apparatus provided with the exposure apparatus 100 of FIG.
  • processing using block copolymer induced self-assembly is performed.
  • a processing liquid containing an induction self-organizing material is applied on the surface of the substrate W to be processed.
  • two types of polymer patterns are formed on the surface to be processed of the substrate W by microphase separation that occurs in the induced self-assembled material.
  • One of the two types of polymers is removed by the solvent.
  • the treatment liquid containing the induced self-organizing material is called DSA liquid.
  • DSA liquid a process for removing one of the two types of polymer patterns formed on the surface to be processed of the substrate W by microphase separation
  • a developer a solvent used for the development process
  • the substrate processing apparatus 200 includes a control device 210, a transport device 220, a heat treatment device 230, a coating device 240, and a developing device 250.
  • the control device 210 includes, for example, a CPU and a memory or a microcomputer, and controls operations of the transport device 220, the heat treatment device 230, the coating device 240, and the developing device 250. Further, the control device 210 gives a command for controlling the operations of the closing unit 130, the lifting unit 150, the light projecting unit 160, and the replacement unit 170 of the exposure apparatus 100 of FIG.
  • the transport apparatus 220 transports the substrate W between the exposure apparatus 100, the heat treatment apparatus 230, the coating apparatus 240, and the development apparatus 250 while holding the substrate W to be processed.
  • the heat treatment apparatus 230 heat-treats the substrate W before and after the coating process by the coating apparatus 240 and the development process by the developing apparatus 250.
  • the coating apparatus 240 performs a film coating process by supplying a DSA liquid to the surface of the substrate W to be processed.
  • a block copolymer composed of two types of polymers is used as the DSA liquid.
  • Examples of combinations of two types of polymers include polystyrene-polymethyl methacrylate (PS-PMMA), polystyrene-polydimethylsiloxane (PS-PDMS), polystyrene-polyferrocenyldimethylsilane (PS-PFS), and polystyrene-polyethylene oxide.
  • PS-PEO polystyrene-polyvinylpyridine
  • PS-PHOST polystyrene-polyhydroxystyrene
  • PMMA-PMAPOSS polymethyl methacrylate-polymethacrylate polyhedral oligomeric silsesquioxane
  • the developing device 250 supplies the developer to the surface to be processed of the substrate W, thereby developing the film.
  • a solvent for the developer for example, toluene, heptane, acetone, propylene glycol monomethyl ether acetate (PGMEA), propylene glycol monomethyl ether (PGME), cyclohexanone, acetic acid, tetrahydrofuran, isopropyl alcohol (IPA) or tetramethylammonium hydroxide (TMAH) ) And the like.
  • FIG. 11 is a schematic diagram showing an example of processing of the substrate W by the substrate processing apparatus 200 of FIG.
  • the state of the substrate W that changes each time processing is performed is shown in a cross-sectional view.
  • the base layer L1 is formed so as to cover the surface to be processed of the substrate W as shown in FIG.
  • a guide pattern L2 made of, for example, a photoresist is formed on L1.
  • the operation of the substrate processing apparatus 200 will be described with reference to FIGS. 10 and 11.
  • the transfer device 220 sequentially transfers the substrate W to be processed to the heat treatment device 230 and the coating device 240.
  • the temperature of the substrate W is adjusted to a temperature suitable for forming the DSA film L3.
  • the coating apparatus 240 the DSA liquid is supplied to the surface to be processed of the substrate W, and the coating process is performed.
  • a DSA film L3 composed of two types of polymers is formed in a region on the base layer L1 where the guide pattern L2 is not formed.
  • the transfer device 220 sequentially transfers the substrate W on which the DSA film L3 is formed to the heat treatment device 230 and the exposure device 100.
  • the heat treatment apparatus 230 performs the heat treatment of the substrate W, thereby causing microphase separation in the DSA film L3.
  • a pattern Q1 made of one polymer and a pattern Q2 made of the other polymer are formed.
  • the linear pattern Q1 and the linear pattern Q2 are directionally formed along the guide pattern L2.
  • the substrate W is cooled in the heat treatment apparatus 230. Further, in the exposure apparatus 100, the entire DSA film L3 after microphase separation is irradiated with vacuum ultraviolet rays for modifying the DSA film L3, and exposure processing is performed. Thereby, the bond between one polymer and the other polymer is cut, and the pattern Q1 and the pattern Q2 are separated.
  • the transport device 220 sequentially transports the substrate W after the exposure processing by the exposure device 100 to the heat treatment device 230 and the developing device 250.
  • the substrate W is cooled in the heat treatment apparatus 230.
  • a developer is supplied to the DSA film L3 on the substrate W, and development processing is performed.
  • the pattern Q1 is removed as shown in FIG. 11D, and finally the pattern Q2 remains on the substrate W.
  • the transport device 220 collects the substrate W after the development processing from the development device 250.
  • the operation mode is switched between the exposure mode and the maintenance mode.
  • the foreign material made of an organic material gradually adheres to the portion of the light transmitting plate 162 that is in contact with the processing chamber 120. Even in such a case, the foreign matter attached to the translucent plate 162 is decomposed or removed by ozone generated in the processing chamber 120 in the maintenance mode. Therefore, the maintenance worker does not need to frequently remove the foreign matter on the light transmitting plate 162. Therefore, the burden on the maintenance worker is reduced.
  • the operation stop time of the exposure apparatus 100 is minimized. Thereby, the operating efficiency of the exposure apparatus 100 is improved.
  • the translucent plate 162 is prevented from being fogged and turbid due to foreign matter, and the translucent plate 162 is maintained in a highly transparent state, so that the efficiency and accuracy of the exposure process can be improved even when the exposure apparatus 100 is used for a long period of time. Decrease is prevented. As a result, the efficiency and accuracy of the exposure process can be maintained over a long period while reducing the burden on the maintenance worker.
  • a DSA liquid is used as the processing liquid, but the present invention is not limited to this. Other processing liquids different from the DSA liquid may be used.
  • the vacuum ultraviolet light exit surface is larger than the surface to be processed of the substrate W, and the entire surface of the substrate W is exposed.
  • the emission surface of the vacuum ultraviolet ray may be smaller than the surface to be processed of the substrate W, or the vacuum ultraviolet ray having a linear cross section may be emitted without having a planar cross section.
  • the vacuum ultraviolet ray is irradiated on the entire surface of the substrate W to be processed by relatively moving the vacuum ultraviolet ray emitting surface and the surface of the substrate W to be processed.
  • an inert gas is supplied into the casing 121 during the exposure process, but the present invention is not limited to this. If the oxygen concentration in the housing 121 can be sufficiently reduced during the exposure processing, the inert gas may not be supplied into the housing 121.
  • the oxygen concentration in the casing 121 in the maintenance mode is the atmospheric oxygen concentration, but the present invention is not limited to this.
  • the oxygen concentration in the housing 121 may be higher or lower than the oxygen concentration in the atmosphere.
  • the substrate W is an example of a substrate
  • the exposure apparatus 100 is an example of an exposure apparatus
  • the translucent plate 162 is an example of a window member
  • the processing chamber 120 is an example of a processing chamber
  • the light source unit 163 is an example of the light source unit.
  • the suction device 173 is an example of an exhaust unit
  • the exhaust control unit 3 is an example of first and second exhaust control units
  • the light projection control unit 10 is an example of first and second light projection control units.
  • the pipes 171p and 172p are examples of the air supply unit.
  • the coating device 240 is an example of a coating processing unit
  • the thermal processing device 230 is an example of a thermal processing unit
  • the developing device 250 is an example of a developing processing unit
  • the substrate processing device 200 is an example of a substrate processing device.

Landscapes

  • Physics & Mathematics (AREA)
  • General Physics & Mathematics (AREA)
  • Engineering & Computer Science (AREA)
  • Condensed Matter Physics & Semiconductors (AREA)
  • Manufacturing & Machinery (AREA)
  • Computer Hardware Design (AREA)
  • Microelectronics & Electronic Packaging (AREA)
  • Power Engineering (AREA)
  • Exposure And Positioning Against Photoresist Photosensitive Materials (AREA)
  • Photosensitive Polymer And Photoresist Processing (AREA)
  • Exposure Of Semiconductors, Excluding Electron Or Ion Beam Exposure (AREA)
PCT/JP2017/036258 2017-03-01 2017-10-05 露光装置、基板処理装置、基板の露光方法および基板処理方法 Ceased WO2018159006A1 (ja)

Applications Claiming Priority (2)

Application Number Priority Date Filing Date Title
JP2017038237A JP6872385B2 (ja) 2017-03-01 2017-03-01 露光装置、基板処理装置、基板の露光方法および基板処理方法
JP2017-038237 2017-03-01

Publications (1)

Publication Number Publication Date
WO2018159006A1 true WO2018159006A1 (ja) 2018-09-07

Family

ID=63369850

Family Applications (1)

Application Number Title Priority Date Filing Date
PCT/JP2017/036258 Ceased WO2018159006A1 (ja) 2017-03-01 2017-10-05 露光装置、基板処理装置、基板の露光方法および基板処理方法

Country Status (3)

Country Link
JP (1) JP6872385B2 (enExample)
TW (1) TWI682433B (enExample)
WO (1) WO2018159006A1 (enExample)

Cited By (1)

* Cited by examiner, † Cited by third party
Publication number Priority date Publication date Assignee Title
WO2025110042A1 (ja) * 2023-11-22 2025-05-30 東京エレクトロン株式会社 処理装置及び処理方法

Families Citing this family (2)

* Cited by examiner, † Cited by third party
Publication number Priority date Publication date Assignee Title
JP6985803B2 (ja) * 2017-03-01 2021-12-22 株式会社Screenホールディングス 露光装置、基板処理装置、基板の露光方法および基板処理方法
TWI747490B (zh) 2019-09-19 2021-11-21 日商斯庫林集團股份有限公司 曝光裝置

Citations (4)

* Cited by examiner, † Cited by third party
Publication number Priority date Publication date Assignee Title
JP2000091207A (ja) * 1998-09-14 2000-03-31 Nikon Corp 投影露光装置及び投影光学系の洗浄方法
JP2002164267A (ja) * 2000-11-22 2002-06-07 Nikon Corp 露光装置及びデバイスの製造方法
JP2015126044A (ja) * 2013-12-26 2015-07-06 ウシオ電機株式会社 真空紫外光照射処理装置
JP2016183990A (ja) * 2015-03-25 2016-10-20 株式会社Screenホールディングス 露光装置、基板処理装置、基板の露光方法および基板処理方法

Family Cites Families (3)

* Cited by examiner, † Cited by third party
Publication number Priority date Publication date Assignee Title
JP2001284224A (ja) * 2000-03-30 2001-10-12 Nikon Corp 露光装置及び露光方法
JP2003115433A (ja) * 2001-10-02 2003-04-18 Nikon Corp 露光方法及び露光装置
JP4677833B2 (ja) * 2004-06-21 2011-04-27 株式会社ニコン 露光装置、及びその部材の洗浄方法、露光装置のメンテナンス方法、メンテナンス機器、並びにデバイス製造方法

Patent Citations (4)

* Cited by examiner, † Cited by third party
Publication number Priority date Publication date Assignee Title
JP2000091207A (ja) * 1998-09-14 2000-03-31 Nikon Corp 投影露光装置及び投影光学系の洗浄方法
JP2002164267A (ja) * 2000-11-22 2002-06-07 Nikon Corp 露光装置及びデバイスの製造方法
JP2015126044A (ja) * 2013-12-26 2015-07-06 ウシオ電機株式会社 真空紫外光照射処理装置
JP2016183990A (ja) * 2015-03-25 2016-10-20 株式会社Screenホールディングス 露光装置、基板処理装置、基板の露光方法および基板処理方法

Cited By (1)

* Cited by examiner, † Cited by third party
Publication number Priority date Publication date Assignee Title
WO2025110042A1 (ja) * 2023-11-22 2025-05-30 東京エレクトロン株式会社 処理装置及び処理方法

Also Published As

Publication number Publication date
TWI682433B (zh) 2020-01-11
TW201842543A (zh) 2018-12-01
JP6872385B2 (ja) 2021-05-19
JP2018146617A (ja) 2018-09-20

Similar Documents

Publication Publication Date Title
CN109541890B (zh) 曝光装置、基板处理装置、曝光方法以及基板处理方法
TWI608871B (zh) Substrate processing method, substrate processing apparatus, substrate processing system, and memory medium
TWI659275B (zh) 曝光裝置、基板處理裝置、曝光方法、及基板處理方法
WO2018159006A1 (ja) 露光装置、基板処理装置、基板の露光方法および基板処理方法
WO2018173344A1 (ja) 露光装置、基板処理装置、基板の露光方法および基板処理方法
CN108535965B (zh) 曝光装置、基板处理装置、曝光方法及基板处理方法
WO2018190273A1 (ja) 露光装置、基板処理装置、基板の露光方法および基板処理方法
WO2018221115A1 (ja) 露光装置および基板処理装置
JP6768561B2 (ja) 露光装置、基板処理装置、基板の露光方法および基板処理方法
JP2019057640A (ja) 露光装置、基板処理装置、露光方法および基板処理方法
JP7002262B2 (ja) 露光装置、基板処理装置、露光方法および基板処理方法

Legal Events

Date Code Title Description
121 Ep: the epo has been informed by wipo that ep was designated in this application

Ref document number: 17899025

Country of ref document: EP

Kind code of ref document: A1

NENP Non-entry into the national phase

Ref country code: DE

122 Ep: pct application non-entry in european phase

Ref document number: 17899025

Country of ref document: EP

Kind code of ref document: A1