WO2018105311A1 - 電子キー - Google Patents

電子キー Download PDF

Info

Publication number
WO2018105311A1
WO2018105311A1 PCT/JP2017/040516 JP2017040516W WO2018105311A1 WO 2018105311 A1 WO2018105311 A1 WO 2018105311A1 JP 2017040516 W JP2017040516 W JP 2017040516W WO 2018105311 A1 WO2018105311 A1 WO 2018105311A1
Authority
WO
WIPO (PCT)
Prior art keywords
key
mechanical
housing
electronic
charging terminal
Prior art date
Legal status (The legal status is an assumption and is not a legal conclusion. Google has not performed a legal analysis and makes no representation as to the accuracy of the status listed.)
Ceased
Application number
PCT/JP2017/040516
Other languages
English (en)
French (fr)
Japanese (ja)
Inventor
哲之 安西
Current Assignee (The listed assignees may be inaccurate. Google has not performed a legal analysis and makes no representation or warranty as to the accuracy of the list.)
Denso Corp
Original Assignee
Denso Corp
Priority date (The priority date is an assumption and is not a legal conclusion. Google has not performed a legal analysis and makes no representation as to the accuracy of the date listed.)
Filing date
Publication date
Application filed by Denso Corp filed Critical Denso Corp
Priority to DE112017006215.2T priority Critical patent/DE112017006215T5/de
Publication of WO2018105311A1 publication Critical patent/WO2018105311A1/ja
Priority to US16/419,402 priority patent/US20190270430A1/en
Anticipated expiration legal-status Critical
Ceased legal-status Critical Current

Links

Images

Classifications

    • BPERFORMING OPERATIONS; TRANSPORTING
    • B60VEHICLES IN GENERAL
    • B60RVEHICLES, VEHICLE FITTINGS, OR VEHICLE PARTS, NOT OTHERWISE PROVIDED FOR
    • B60R25/00Fittings or systems for preventing or indicating unauthorised use or theft of vehicles
    • B60R25/20Means to switch the anti-theft system on or off
    • B60R25/24Means to switch the anti-theft system on or off using electronic identifiers containing a code not memorised by the user
    • BPERFORMING OPERATIONS; TRANSPORTING
    • B60VEHICLES IN GENERAL
    • B60RVEHICLES, VEHICLE FITTINGS, OR VEHICLE PARTS, NOT OTHERWISE PROVIDED FOR
    • B60R25/00Fittings or systems for preventing or indicating unauthorised use or theft of vehicles
    • B60R25/40Features of the power supply for the anti-theft system, e.g. anti-theft batteries, back-up power supply or means to save battery power
    • EFIXED CONSTRUCTIONS
    • E05LOCKS; KEYS; WINDOW OR DOOR FITTINGS; SAFES
    • E05BLOCKS; ACCESSORIES THEREFOR; HANDCUFFS
    • E05B19/00Keys; Accessories therefor
    • EFIXED CONSTRUCTIONS
    • E05LOCKS; KEYS; WINDOW OR DOOR FITTINGS; SAFES
    • E05BLOCKS; ACCESSORIES THEREFOR; HANDCUFFS
    • E05B19/00Keys; Accessories therefor
    • E05B19/0082Keys or shanks being removably stored in a larger object, e.g. a remote control or a key fob
    • EFIXED CONSTRUCTIONS
    • E05LOCKS; KEYS; WINDOW OR DOOR FITTINGS; SAFES
    • E05BLOCKS; ACCESSORIES THEREFOR; HANDCUFFS
    • E05B19/00Keys; Accessories therefor
    • E05B19/04Construction of the bow or head of the key; Attaching the bow to the shank
    • E05B19/046Construction of the bow or head of the key; Attaching the bow to the shank the shank being slidingly mounted on the bow, e.g. for storage
    • EFIXED CONSTRUCTIONS
    • E05LOCKS; KEYS; WINDOW OR DOOR FITTINGS; SAFES
    • E05BLOCKS; ACCESSORIES THEREFOR; HANDCUFFS
    • E05B49/00Electric permutation locks; Circuits therefor ; Mechanical aspects of electronic locks; Mechanical keys therefor
    • EFIXED CONSTRUCTIONS
    • E05LOCKS; KEYS; WINDOW OR DOOR FITTINGS; SAFES
    • E05BLOCKS; ACCESSORIES THEREFOR; HANDCUFFS
    • E05B49/00Electric permutation locks; Circuits therefor ; Mechanical aspects of electronic locks; Mechanical keys therefor
    • E05B49/002Keys with mechanical characteristics, e.g. notches, perforations, opaque marks
    • GPHYSICS
    • G07CHECKING-DEVICES
    • G07CTIME OR ATTENDANCE REGISTERS; REGISTERING OR INDICATING THE WORKING OF MACHINES; GENERATING RANDOM NUMBERS; VOTING OR LOTTERY APPARATUS; ARRANGEMENTS, SYSTEMS OR APPARATUS FOR CHECKING NOT PROVIDED FOR ELSEWHERE
    • G07C9/00Individual registration on entry or exit
    • G07C9/00174Electronically operated locks; Circuits therefor; Nonmechanical keys therefor, e.g. passive or active electrical keys or other data carriers without mechanical keys
    • G07C9/00309Electronically operated locks; Circuits therefor; Nonmechanical keys therefor, e.g. passive or active electrical keys or other data carriers without mechanical keys operated with bidirectional data transmission between data carrier and locks
    • HELECTRICITY
    • H04ELECTRIC COMMUNICATION TECHNIQUE
    • H04BTRANSMISSION
    • H04B1/00Details of transmission systems, not covered by a single one of groups H04B3/00 - H04B13/00; Details of transmission systems not characterised by the medium used for transmission
    • H04B1/38Transceivers, i.e. devices in which transmitter and receiver form a structural unit and in which at least one part is used for functions of transmitting and receiving
    • HELECTRICITY
    • H04ELECTRIC COMMUNICATION TECHNIQUE
    • H04BTRANSMISSION
    • H04B1/00Details of transmission systems, not covered by a single one of groups H04B3/00 - H04B13/00; Details of transmission systems not characterised by the medium used for transmission
    • H04B1/38Transceivers, i.e. devices in which transmitter and receiver form a structural unit and in which at least one part is used for functions of transmitting and receiving
    • H04B1/3827Portable transceivers
    • H04B1/3888Arrangements for carrying or protecting transceivers
    • HELECTRICITY
    • H05ELECTRIC TECHNIQUES NOT OTHERWISE PROVIDED FOR
    • H05KPRINTED CIRCUITS; CASINGS OR CONSTRUCTIONAL DETAILS OF ELECTRIC APPARATUS; MANUFACTURE OF ASSEMBLAGES OF ELECTRICAL COMPONENTS
    • H05K5/00Casings, cabinets or drawers for electric apparatus
    • H05K5/06Hermetically-sealed casings
    • EFIXED CONSTRUCTIONS
    • E05LOCKS; KEYS; WINDOW OR DOOR FITTINGS; SAFES
    • E05BLOCKS; ACCESSORIES THEREFOR; HANDCUFFS
    • E05B47/00Operating or controlling locks or other fastening devices by electric or magnetic means
    • E05B2047/0048Circuits, feeding, monitoring
    • GPHYSICS
    • G07CHECKING-DEVICES
    • G07CTIME OR ATTENDANCE REGISTERS; REGISTERING OR INDICATING THE WORKING OF MACHINES; GENERATING RANDOM NUMBERS; VOTING OR LOTTERY APPARATUS; ARRANGEMENTS, SYSTEMS OR APPARATUS FOR CHECKING NOT PROVIDED FOR ELSEWHERE
    • G07C9/00Individual registration on entry or exit
    • G07C9/00174Electronically operated locks; Circuits therefor; Nonmechanical keys therefor, e.g. passive or active electrical keys or other data carriers without mechanical keys
    • G07C9/00944Details of construction or manufacture
    • G07C2009/00952Electronic keys comprising a mechanical key within their housing, e.g. extractable or retractable emergency key
    • GPHYSICS
    • G07CHECKING-DEVICES
    • G07CTIME OR ATTENDANCE REGISTERS; REGISTERING OR INDICATING THE WORKING OF MACHINES; GENERATING RANDOM NUMBERS; VOTING OR LOTTERY APPARATUS; ARRANGEMENTS, SYSTEMS OR APPARATUS FOR CHECKING NOT PROVIDED FOR ELSEWHERE
    • G07C9/00Individual registration on entry or exit
    • G07C9/00174Electronically operated locks; Circuits therefor; Nonmechanical keys therefor, e.g. passive or active electrical keys or other data carriers without mechanical keys
    • G07C2009/00968Electronically operated locks; Circuits therefor; Nonmechanical keys therefor, e.g. passive or active electrical keys or other data carriers without mechanical keys shape of the data carrier
    • G07C2009/00992Electronically operated locks; Circuits therefor; Nonmechanical keys therefor, e.g. passive or active electrical keys or other data carriers without mechanical keys shape of the data carrier mechanical key

Definitions

  • the present disclosure relates to an electronic key, and particularly to an electronic key having a mechanical key.
  • An electronic key is known that realizes the same function as when the mechanical key is inserted into the key cylinder by transmitting and receiving electronic information by wireless communication instead of inserting the mechanical key into the key cylinder.
  • an electronic key is provided with a mechanical key in consideration of a case where electronic information cannot be transmitted or received such as when a built-in battery has reached the end of its life.
  • the built-in battery is a rechargeable battery and a charging terminal is provided on the electronic key.
  • the charging terminal is generally blocked when not in use.
  • a charging terminal is provided on the electronic key, if a cover for closing the charging terminal is further provided, the number of parts increases.
  • This disclosure is intended to provide an electronic key that can block a charging terminal while suppressing an increase in the number of parts.
  • the electronic key includes a mechanical key, a key casing on which the mechanical key is mounted, and a charging terminal.
  • the mechanical key is detachable from the key housing.
  • the charging terminal is the surface of the key housing, and when the mechanical key is attached to the key housing, it is covered by the mechanical key, and the mechanical key is moved relative to the position attached to the key housing. It is arranged on the key facing surface which is the surface exposed to the surface.
  • the key facing surface is a surface covered with the mechanical key when the mechanical key is mounted on the key housing. Since the charging terminal is disposed on the key facing surface, the charging terminal is blocked by the mechanical key when the mechanical key is attached to the key casing. Therefore, there is no need to add a dedicated part for closing the charging terminal. Therefore, the electronic key of the present disclosure can block the charging terminal while suppressing an increase in the number of parts.
  • FIG. 3 is a sectional view taken along line III-III in FIG. 2. It is an external appearance perspective view of the electronic key of 2nd Embodiment.
  • FIG. 5 is a cross-sectional view taken along line VV in FIG. 4. It is an external appearance perspective view of the electronic key of 3rd Embodiment. It is the VII-VII sectional view taken on the line of FIG.
  • FIG. It is a perspective view of a waterproof cover and a terminal port waterproof sheet. It is a top view of the electronic key of the modification 1.
  • FIG. It is a top view of the electronic key of the modification 2.
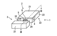
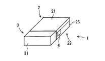
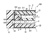
  • An electronic key 1 according to the first embodiment shown in FIG. 1 includes a key housing 2 and a mechanical key 3.
  • the electronic key 1 of the present embodiment is for a vehicle, and if the user carries the electronic key 1 by communication between the electronic key 1 and the vehicle-mounted device, the user can lock and unlock the door without touching the electronic key 1. Used in systems that can
  • the external shape of the key casing 2 of this embodiment is a rectangular parallelepiped shape.
  • the shape of the key housing 2 is not limited to a rectangular parallelepiped shape, and may be various shapes such as a shape in which a corner portion is a curved surface and a shape in which one entire end surface is a curved surface.
  • the key housing 2 is configured by combining an upper case 21 and a lower case 22.
  • the upper case 21 and the lower case 22 are made of the same resin. As the resin, a material called plastic can be used.
  • the names of the two cases constituting the key housing 2 are referred to as the upper case 21 and the lower case 22 for the sake of convenience based on the attitude of the electronic key 1 in FIG.
  • the posture of the electronic key 1 is various when it is carried. That is, the names of the upper case 21 and the lower case 22 do not indicate the relative positions of the upper case 21 and the lower case 22 when being carried.
  • the mechanical key 3 has the grip portion 31 exposed from the key housing 2 in the state shown in FIG.
  • the grip portion 31 is unlocked when the user houses the mechanical key 3 in the key housing 2, that is, when the user attaches the mechanical key 3 or removes the mechanical key 3 from the key housing 2, and uses the mechanical key 3. This is the part to be gripped when performing
  • the key housing 2 has a release button 4 on one side 23.
  • the release button 4 When the release button 4 is pressed, the mechanical key 3 can move relative to the key housing 2, and the mechanical key 3 can be removed from the key housing 2. That is, the mechanical key 3 can be attached to and detached from the key housing 2.
  • FIG. 2 shows a state in which the rod-like portion 32 of the mechanical key 3 is partially inserted into the key housing 2.
  • the key facing surface 24 which is one surface of the key housing 2 is exposed as shown in FIG.
  • the key facing surface 24 is a surface facing the grip portion 31 of the mechanical key 3 in a state where the mechanical key 3 is accommodated in the key housing 2.
  • the key facing surface 24 is a surface in contact with the grip portion 31 via a waterproof ring 6 described later in a state where the mechanical key 3 is accommodated in the key housing 2.
  • the rod-like portion 32 of the mechanical key 3 is inserted into the key facing surface 24.
  • the rod-like portion 32 of the mechanical key 3 is not visible from the outside when the mechanical key 3 is accommodated in the key housing 2.
  • the rod-like portion 32 is a portion that is inserted into the key cylinder when the mechanical key 3 is used, and corresponds to an insertion portion.
  • the grip portion 31 of the mechanical key 3 is a portion that is exposed from the key cylinder and can be gripped by the user when the rod-shaped portion 32 is inserted into the key cylinder.
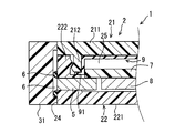
  • the charging terminal 5 is disposed on the key facing surface 24 of the key casing 2. That is, the opening of the charging terminal 5 is exposed on the key facing surface 24, and the opening of the charging terminal 5 is located on substantially the same plane as the key facing surface 24.
  • the charging terminal 5 is a terminal into which a charging cable for supplying electric power to a battery 8 (see FIG. 3) disposed inside the key housing 2 is inserted.
  • a waterproof ring 6, which is made of an elastic resin and corresponds to a terminal port waterproof member, is fixed to a portion around the opening of the charging terminal 5 on the key facing surface 24.
  • silicon rubber can be used as the elastic resin.
  • silicon means a silicon resin sometimes described as silicone.
  • the waterproof ring 6 can be molded by, for example, composite molding (two-color molding, insert molding, etc.) together with the lower case 22.
  • the upper case 21 includes a flat plate-like main body 211 and an engagement protrusion 212 protruding vertically from the main body 211.
  • the lower case 22 includes a flat plate-like main body portion 221 and a side wall portion 222 that rises vertically from the edge of the main body portion 221 and forms the side surface 23 of the key housing 2, the key facing surface 24, and the like.
  • the key housing 2 including the housing space 25 is formed.
  • the housing space 25 houses a circuit board 7, a battery 8, a waterproof cover 9, and the like to which a wireless circuit element for performing wireless communication with the vehicle-mounted device is mounted.
  • the battery 8 supplies power to the radio circuit element attached to the circuit board 7.
  • the battery 8 is a secondary battery, and is charged by supplying power through a charging cable connected to the charging terminal 5.
  • the waterproof cover 9 is made of silicon rubber and is attached to the inner side surface of the upper case 21 and is in close contact with the inner side surface.
  • the end of the waterproof cover 9 is configured to close the gap between the lower case 22 and the upper case 21, and in FIG. 3, the edge 91 of the waterproof cover 9 is formed by the tip of the upper case 21 and the lower case 22. The state of being sandwiched and compressed is shown.
  • the waterproof ring 6 is pressed by the grip portion 31 when the mechanical key 3 is attached to the key housing 2. Therefore, in the state shown in FIG. 3, the grip part 31 and the waterproof ring 6 are in close contact. When the grip portion 31 and the waterproof ring 6 are in close contact with each other, the waterproof ring 6 is compressed and water is prevented from entering the charging terminal 5.
  • the charging terminal 5 is disposed on the key facing surface 24, and the key facing surface 24 of the mechanical key 3 is in a state where the mechanical key 3 is attached to the key housing 2. Covered by the grip portion 31. Therefore, it is not necessary to add a dedicated component for closing the charging terminal 5. Therefore, the electronic key 1 of this embodiment can block the charging terminal 5 while suppressing an increase in the number of parts.
  • the charging terminal 5 cannot be visually recognized from the outside in a state where the mechanical key 3 is mounted on the key housing 2, so that the design is improved.
  • the opening / closing operation of the charging terminal 5 is an operation of moving the gripping part 31 of the mechanical key 3, the charging terminal 5 can be moved as compared with the case where the charging terminal 5 is closed by a rubber cover or the like. Easy to open and close.
  • a waterproof ring 6 surrounding the opening of the charging terminal 5 is disposed around the opening of the charging terminal 5 on the key facing surface 24.
  • the waterproof ring 6 is in close contact with the grip portion 31 of the mechanical key 3 and compressed when the mechanical key 3 is attached to the key housing 2. Thereby, it can suppress that water penetrates into the charging terminal 5.
  • FIG. 4 is an external perspective view of the electronic key 100 of the second embodiment.
  • the shape of the electronic key 100 is similar to the electronic key 1 of the first embodiment.
  • the difference between the electronic key 100 of the second embodiment and the electronic key 1 of the first embodiment is that the electronic key 100 is provided with an outer cover 10 made of silicon rubber on the outer surface of the key housing 2. is there.
  • the outer surface means a surface exposed to the outside.
  • the outer cover 10 also has an upper cover 11 that covers the outer surface of the upper case 21 and a lower side that covers the outer surface of the lower case 22. And a cover 12.
  • the upper cover 11 and the lower cover 12 are made of silicon rubber in this embodiment.
  • the electronic key 100 of the second embodiment includes a waterproof ring 106 made of silicon rubber at the same position as the waterproof ring 6 of the first embodiment.
  • FIG. 5 shows a cross-sectional view taken along line VV in FIG.
  • the waterproof ring 106 is integrally formed with the lower cover 12 made of silicon rubber, like the waterproof ring 106.
  • the waterproof ring 106 and the lower cover 12 can be molded at a time by composite molding (two-color molding, insert molding, etc.), so the number of manufacturing steps can be reduced. it can.
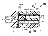
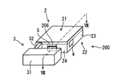
  • FIG. 6 is an external perspective view of the electronic key 200 according to the third embodiment.
  • the terminal port waterproof sheet 206 in contact with the key facing surface 24 is exposed.
  • the terminal port waterproof sheet 206 corresponds to a terminal port waterproof part.
  • the terminal port waterproof sheet 206 is an integrally molded body with the waterproof cover 209 attached to the inner surface of the upper case 21.
  • the waterproof cover 209 and the terminal opening waterproof sheet 206 are made of silicon rubber.
  • the waterproof cover 209 includes a cover body portion 2091, a standing portion 2092, a protruding portion 2093, and an extending portion 2094.
  • the cover main body portion 2091 is a part in contact with the inner side surface of the upper case 21, and the shape of the cover main body portion 2091 of this embodiment is a rectangular sheet shape in accordance with the shape of the inner side surface of the upper case 21.
  • the standing portion 2092 is a portion that rises substantially vertically from the peripheral edge of the cover main body portion 2091.
  • the protruding portion 2093 is a portion protruding from the tip of the standing portion 2092 to the outer side in the circumferential direction of the upper case 21.
  • the extending portion 2094 extends from the side where the key facing surface 24 of the cover main body portion 2091 exists in a state where the waterproof cover 209 is attached to the upper case 21 and the upper case 21 and the lower case 22 are fitted together.
  • the cover body 2091 extends in parallel.
  • the end of the extended portion 2094 opposite to the cover main body portion 2091 is connected to the connecting portion 2061 of the terminal port waterproof sheet 206.
  • the length of the extending portion 2094 in the width direction that is, the length in the direction orthogonal to the direction in which the extending portion 2094 protrudes from the cover main body portion 2091 in the plane including the extending portion 2094 is determined by the connection of the terminal port waterproof sheet 206. This is the same as the length in the width direction of the portion 2061.
  • the terminal opening waterproof sheet 206 includes a connecting portion 2061 and a ring portion 2062.
  • the connecting portion 2061 connects the ring portion 2062 and the extending portion 2094 of the waterproof cover 209.
  • the ring portion 2062 has the same shape as the waterproof ring 6 of the first embodiment.
  • FIG. 8 also shows the engaging protrusion 212 of the upper case 21.
  • the main body 211 of the upper case 21 is omitted in order to show the relationship between the engaging protrusion 212 and the waterproof cover 209.
  • the engagement protrusion 212 has a rectangular ring shape with the lower surface 2121 corresponding to the protrusion 2093 of the waterproof cover 209, and in a state where the waterproof cover 209 is attached to the upper case 21, the engagement protrusion 212 is waterproof with the lower surface 2121 of the engagement protrusion 212.
  • the protrusion 2093 of the cover 209 is in contact with it.
  • the engaging protrusion 212 moves relative to the waterproof cover 209 as shown by the arrows in FIG.
  • the standing portion 2092 of the waterproof cover 209 is in contact with the inner surface of the protruding portion 212, and the extended portion 2094 and the terminal port waterproof sheet 206 are led out of the protruding portion 212 through the window 2122.
  • a part of the standing portion 2092 is in contact with the inner side surface of the engaging protrusion 212.
  • a part of the protrusion 2093 is interposed between the engaging protrusion 212 and the side wall 222 of the lower case 22, and is sandwiched between the engaging protrusion 212 and the side wall 222 of the lower case 22.
  • the terminal port waterproof sheet 206 is in contact with the key facing surface 24, and the ring portion 2062 of the terminal port waterproof sheet 206 surrounds the opening of the charging terminal 5.
  • the terminal port waterproof sheet 206 is formed integrally with the waterproof cover 209. Therefore, since the terminal opening waterproof sheet 206 and the waterproof cover 209 can be formed at a time, the number of manufacturing steps can be reduced.
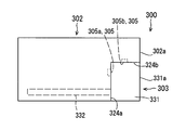
  • FIG. 9 shows an electronic key 300 according to the first modification.
  • the grip portion 331 of the mechanical key 303 does not protrude from the key housing 302.
  • the top surface 331a of the grip portion 331 and the narrow end surface 302a of the key housing 302 are located on substantially the same plane.
  • the key housing 302 includes two key facing surfaces 324a and 324b, and the bar-shaped portion 332 of the mechanical key 303 is inserted into the key housing 302 from the key facing surface 324a parallel to the narrow end surface 302a. .
  • the rod-shaped part 332 corresponds to an insertion part.
  • the charging terminal 305a is disposed on the key facing surface 324a
  • the charging terminal 305b is disposed on the key facing surface 324b.
  • two charging terminals 305, a charging terminal 305a and a charging terminal 305b, are disclosed in order to show that the charging terminals 305a and 305b can be arranged on both of the two key facing surfaces 324a and 324b. Of course, only one of these two charging terminals 305 may be provided.
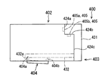
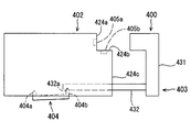
  • FIG. 10 shows an electronic key 400 according to the second modification.
  • the key housing 402 includes three key facing surfaces 424a, 424b, and 424c.
  • the mechanical key 403 includes a grip portion 431 and a rod-like portion 432, and the rod-like portion 432 is inserted into the key housing 402 from the key facing surface 424c. Note that the rod-shaped portion 432 corresponds to an insertion portion.
  • the charging terminals 405a and 405b are disposed on the key facing surfaces 424a and 424b, respectively. Also in the modification 2, in order to show that the charging terminals 405a and 405b can be arranged on both of the two key facing surfaces 424a and 424b, two charging terminals 405, that is, a charging terminal 405a and a charging terminal 405b are disclosed. Of course, only one of these two charging terminals 405 may be provided.
  • the key facing surface 424 b is a surface parallel to the moving direction of the mechanical key 403 with respect to the key housing 402, and when the mechanical key 403 is inserted into and removed from the key housing 402, the rod-like portion of the mechanical key 403. It is a surface that does not face 432.
  • the charging terminal 405b provided on the key facing surface 424b can easily charge the charging terminal 405b even when the rod-like portion 432 of the mechanical key 403 is not completely removed from the key housing 402. You can plug in the cable.
  • the rod-like portion 432 is not inserted even when the rod-like portion 432 is partially inserted into the key housing 402. It is preferably fixed to the key housing 402. In this way, the possibility that the mechanical key 403 is lost during charging can be reduced.
  • the electronic key 400 includes a seesaw-type release button 404 for fixing the rod-shaped portion 432 to the key housing 402 in a state where the rod-shaped portion 432 is partially inserted into the key housing 402.
  • the release button 404 includes two protrusions 404a and 404b whose longitudinal positions of the rod-like portion 432 are different from each other when the mechanical key 403 is inserted into the key housing 402.
  • the release button 404 can be in a state in which the protrusion 404 a relatively enters the inside of the key housing 402 and a state in which the protrusion 404 b relatively enters the inside of the key housing 402.
  • the protrusion 404 a is engaged with a recess 432 a formed at the tip of the rod-like portion 432.
  • the protrusion 404b is engaged with the recess 432a.
  • the seesaw-type release button 404 is an example of a configuration that fixes the mechanical key 403 at two positions shown in FIGS. 10 and 11.
  • the mechanical key 403 may be fixed at two positions, that is, the mounting position shown in FIG. 10 and the intermediate position shown in FIG.
  • FIG. 12 shows an electronic key 500 of the third modification.
  • the mechanical key 503 is attached to the key casing 502 by being fitted into a key recess 504 formed in the key casing 502. Therefore, the key recess 504 corresponds to the key facing surface.
  • a charging terminal 505 is disposed in the key recess 504. Therefore, the charging terminal 505 is covered with the mechanical key 503 in a state where the mechanical key 503 is fitted in the key recess 504.
  • the electronic key 500 further includes a lid 509, and a lid recess 507 is formed in the key housing 502. Normally, the lid 509 is fitted into the lid recess 507.
  • the key recess 504 is formed in a part of the lid recess 507.
  • the waterproof ring 6 may be provided around the charging terminals 305a, 305b, 405a, 405b, and 505.
  • ⁇ Modification 5> instead of silicon rubber, another elastic resin, for example, a kind of resin called an elastomer may be used. It can be said that the elastic resin is a resin having rubber elasticity.
  • the electronic keys 1, 100, 200, 300, 400, and 500 may be used as keys other than those for vehicles.
  • the upper case 21 and the lower case 22 are coupled by engagement, but an adhesive, double-sided tape, ultrasonic welding, laser welding, or the like may be used for coupling the upper case 21 and the lower case 22. Good.

Landscapes

  • Engineering & Computer Science (AREA)
  • Computer Networks & Wireless Communication (AREA)
  • Mechanical Engineering (AREA)
  • Signal Processing (AREA)
  • Physics & Mathematics (AREA)
  • General Physics & Mathematics (AREA)
  • Microelectronics & Electronic Packaging (AREA)
  • Lock And Its Accessories (AREA)
PCT/JP2017/040516 2016-12-09 2017-11-10 電子キー Ceased WO2018105311A1 (ja)

Priority Applications (2)

Application Number Priority Date Filing Date Title
DE112017006215.2T DE112017006215T5 (de) 2016-12-09 2017-11-10 Elektronischer Schlüssel
US16/419,402 US20190270430A1 (en) 2016-12-09 2019-05-22 Electronic key

Applications Claiming Priority (2)

Application Number Priority Date Filing Date Title
JP2016239713A JP6575498B2 (ja) 2016-12-09 2016-12-09 電子キー
JP2016-239713 2016-12-09

Related Child Applications (1)

Application Number Title Priority Date Filing Date
US16/419,402 Continuation US20190270430A1 (en) 2016-12-09 2019-05-22 Electronic key

Publications (1)

Publication Number Publication Date
WO2018105311A1 true WO2018105311A1 (ja) 2018-06-14

Family

ID=62491833

Family Applications (1)

Application Number Title Priority Date Filing Date
PCT/JP2017/040516 Ceased WO2018105311A1 (ja) 2016-12-09 2017-11-10 電子キー

Country Status (4)

Country Link
US (1) US20190270430A1 (enExample)
JP (1) JP6575498B2 (enExample)
DE (1) DE112017006215T5 (enExample)
WO (1) WO2018105311A1 (enExample)

Families Citing this family (1)

* Cited by examiner, † Cited by third party
Publication number Priority date Publication date Assignee Title
CN112687034A (zh) * 2020-12-18 2021-04-20 隆鑫通用动力股份有限公司 车用钥匙

Citations (4)

* Cited by examiner, † Cited by third party
Publication number Priority date Publication date Assignee Title
JPH07297744A (ja) * 1994-04-21 1995-11-10 Matsushita Electric Ind Co Ltd 防水型電子機器
JP2007277926A (ja) * 2006-04-06 2007-10-25 Tokai Rika Co Ltd キー装置
US20150204108A1 (en) * 2014-07-14 2015-07-23 Lear Corporation Key Fob Having Electrical Port Concealed by Removable Key
JP2016204918A (ja) * 2015-04-20 2016-12-08 株式会社東海理化電機製作所 電子キー

Family Cites Families (1)

* Cited by examiner, † Cited by third party
Publication number Priority date Publication date Assignee Title
JP5480043B2 (ja) * 2010-07-08 2014-04-23 株式会社東海理化電機製作所 携帯機

Patent Citations (4)

* Cited by examiner, † Cited by third party
Publication number Priority date Publication date Assignee Title
JPH07297744A (ja) * 1994-04-21 1995-11-10 Matsushita Electric Ind Co Ltd 防水型電子機器
JP2007277926A (ja) * 2006-04-06 2007-10-25 Tokai Rika Co Ltd キー装置
US20150204108A1 (en) * 2014-07-14 2015-07-23 Lear Corporation Key Fob Having Electrical Port Concealed by Removable Key
JP2016204918A (ja) * 2015-04-20 2016-12-08 株式会社東海理化電機製作所 電子キー

Also Published As

Publication number Publication date
JP2018096066A (ja) 2018-06-21
DE112017006215T5 (de) 2019-08-29
JP6575498B2 (ja) 2019-09-18
US20190270430A1 (en) 2019-09-05

Similar Documents

Publication Publication Date Title
CN102472238B (zh) 发动机的起动/停止开关装置
JP4057437B2 (ja) 携帯機
CN100547923C (zh) 电子装置
CN103459738B (zh) 电子钥匙
US10866126B2 (en) Connection unit for connecting external device to measurement device
EP3012391A1 (en) Vehicle door handle
WO2016088643A1 (ja) モジュール及びこのモジュールを用いた電子キー
JP2013062243A (ja) 防水装置及び防水加工方法
KR101975693B1 (ko) 환상 부재의 고정 구조 및 전자 키
JP6575498B2 (ja) 電子キー
CN109600693A (zh) 一种防水骨传导蓝牙耳机
JP2004068417A (ja) キーレスエントリー装置の携帯機及びその製造方法
CN214576323U (zh) 电子钥匙的壳体结构及电子钥匙
US20200256095A1 (en) Motor vehicle door handle assembly having an antenna
KR101789925B1 (ko) 푸시버튼 스위치 조립체 및 그의 제작 방법
JP2013110642A (ja) 携帯端末
JP2010219590A (ja) 遠隔操作携帯機
US20150179369A1 (en) Button assembley of engine start/stop switch for vehicles and engine start/stop switch for vehicles including the same
KR102888835B1 (ko) 방수 구조 및 이를 포함하는 전자 장치
JP2001200664A (ja) キーレスエントリー装置の携帯機
JPH068213Y2 (ja) キー装置
EP3030057A1 (en) Circuit board and electronic key using same
WO2016088642A1 (ja) 電子キー
JP2005019603A (ja) 小型電気装置用防水ケース
JP2018014234A (ja) カードコネクタ

Legal Events

Date Code Title Description
121 Ep: the epo has been informed by wipo that ep was designated in this application

Ref document number: 17878985

Country of ref document: EP

Kind code of ref document: A1

122 Ep: pct application non-entry in european phase

Ref document number: 17878985

Country of ref document: EP

Kind code of ref document: A1