WO2018056074A1 - エネルギー変換装置 - Google Patents

エネルギー変換装置 Download PDF

Info

Publication number
WO2018056074A1
WO2018056074A1 PCT/JP2017/032415 JP2017032415W WO2018056074A1 WO 2018056074 A1 WO2018056074 A1 WO 2018056074A1 JP 2017032415 W JP2017032415 W JP 2017032415W WO 2018056074 A1 WO2018056074 A1 WO 2018056074A1
Authority
WO
WIPO (PCT)
Prior art keywords
medium
unit
energy
conversion device
condensable
Prior art date
Legal status (The legal status is an assumption and is not a legal conclusion. Google has not performed a legal analysis and makes no representation as to the accuracy of the status listed.)
Ceased
Application number
PCT/JP2017/032415
Other languages
English (en)
French (fr)
Japanese (ja)
Inventor
卓哉 布施
萩原 康正
上田 元彦
孝一 柳澤
雄一 大野
幸克 尾▲崎▼
稲垣 孝治
中村 健二
Current Assignee (The listed assignees may be inaccurate. Google has not performed a legal analysis and makes no representation or warranty as to the accuracy of the list.)
Denso Corp
Original Assignee
Denso Corp
Priority date (The priority date is an assumption and is not a legal conclusion. Google has not performed a legal analysis and makes no representation as to the accuracy of the date listed.)
Filing date
Publication date
Application filed by Denso Corp filed Critical Denso Corp
Publication of WO2018056074A1 publication Critical patent/WO2018056074A1/ja
Anticipated expiration legal-status Critical
Ceased legal-status Critical Current

Links

Images

Classifications

    • FMECHANICAL ENGINEERING; LIGHTING; HEATING; WEAPONS; BLASTING
    • F03MACHINES OR ENGINES FOR LIQUIDS; WIND, SPRING, OR WEIGHT MOTORS; PRODUCING MECHANICAL POWER OR A REACTIVE PROPULSIVE THRUST, NOT OTHERWISE PROVIDED FOR
    • F03GSPRING, WEIGHT, INERTIA OR LIKE MOTORS; MECHANICAL-POWER PRODUCING DEVICES OR MECHANISMS, NOT OTHERWISE PROVIDED FOR OR USING ENERGY SOURCES NOT OTHERWISE PROVIDED FOR
    • F03G7/00Mechanical-power-producing mechanisms, not otherwise provided for or using energy sources not otherwise provided for
    • F03G7/025Mechanical-power-producing mechanisms, not otherwise provided for or using energy sources not otherwise provided for characterised by its use
    • F03G7/0254Mechanical-power-producing mechanisms, not otherwise provided for or using energy sources not otherwise provided for characterised by its use pumping or compressing fluids, e.g. microfluidic devices
    • FMECHANICAL ENGINEERING; LIGHTING; HEATING; WEAPONS; BLASTING
    • F01MACHINES OR ENGINES IN GENERAL; ENGINE PLANTS IN GENERAL; STEAM ENGINES
    • F01KSTEAM ENGINE PLANTS; STEAM ACCUMULATORS; ENGINE PLANTS NOT OTHERWISE PROVIDED FOR; ENGINES USING SPECIAL WORKING FLUIDS OR CYCLES
    • F01K21/00Steam engine plants not otherwise provided for
    • F01K21/02Steam engine plants not otherwise provided for with steam-generation in engine-cylinders
    • FMECHANICAL ENGINEERING; LIGHTING; HEATING; WEAPONS; BLASTING
    • F02COMBUSTION ENGINES; HOT-GAS OR COMBUSTION-PRODUCT ENGINE PLANTS
    • F02GHOT GAS OR COMBUSTION-PRODUCT POSITIVE-DISPLACEMENT ENGINE PLANTS; USE OF WASTE HEAT OF COMBUSTION ENGINES; NOT OTHERWISE PROVIDED FOR
    • F02G1/00Hot gas positive-displacement engine plants
    • F02G1/04Hot gas positive-displacement engine plants of closed-cycle type
    • FMECHANICAL ENGINEERING; LIGHTING; HEATING; WEAPONS; BLASTING
    • F03MACHINES OR ENGINES FOR LIQUIDS; WIND, SPRING, OR WEIGHT MOTORS; PRODUCING MECHANICAL POWER OR A REACTIVE PROPULSIVE THRUST, NOT OTHERWISE PROVIDED FOR
    • F03GSPRING, WEIGHT, INERTIA OR LIKE MOTORS; MECHANICAL-POWER PRODUCING DEVICES OR MECHANISMS, NOT OTHERWISE PROVIDED FOR OR USING ENERGY SOURCES NOT OTHERWISE PROVIDED FOR
    • F03G7/00Mechanical-power-producing mechanisms, not otherwise provided for or using energy sources not otherwise provided for
    • F03G7/06Mechanical-power-producing mechanisms, not otherwise provided for or using energy sources not otherwise provided for using expansion or contraction of bodies due to heating, cooling, moistening, drying or the like
    • F03G7/061Mechanical-power-producing mechanisms, not otherwise provided for or using energy sources not otherwise provided for using expansion or contraction of bodies due to heating, cooling, moistening, drying or the like characterised by the actuating element
    • F03G7/06112Mechanical-power-producing mechanisms, not otherwise provided for or using energy sources not otherwise provided for using expansion or contraction of bodies due to heating, cooling, moistening, drying or the like characterised by the actuating element using the thermal expansion or contraction of enclosed fluids
    • F03G7/06113Mechanical-power-producing mechanisms, not otherwise provided for or using energy sources not otherwise provided for using expansion or contraction of bodies due to heating, cooling, moistening, drying or the like characterised by the actuating element using the thermal expansion or contraction of enclosed fluids the fluids subjected to phase change
    • FMECHANICAL ENGINEERING; LIGHTING; HEATING; WEAPONS; BLASTING
    • F25REFRIGERATION OR COOLING; COMBINED HEATING AND REFRIGERATION SYSTEMS; HEAT PUMP SYSTEMS; MANUFACTURE OR STORAGE OF ICE; LIQUEFACTION SOLIDIFICATION OF GASES
    • F25BREFRIGERATION MACHINES, PLANTS OR SYSTEMS; COMBINED HEATING AND REFRIGERATION SYSTEMS; HEAT PUMP SYSTEMS
    • F25B9/00Compression machines, plants or systems, in which the refrigerant is air or other gas of low boiling point

Definitions

  • the present disclosure relates to an energy conversion device that performs energy conversion between thermal energy and acoustic energy.
  • the energy conversion device includes a stack provided inside a sealed pipe, a low-temperature heat exchanger provided on one end side of the stack, and a high-temperature heat exchanger provided on the other end side of the stack. By forming a temperature gradient at both ends, a sound wave that is thermoacoustic self-excited vibration is generated.
  • Patent Document 1 proposes to use a mixture of a non-condensable medium and a condensable medium in order to improve energy conversion efficiency.
  • the temperature of the low temperature side of the stack and the temperature of the pipe are often the same, and a part of the condensable medium vaporized on the high temperature side of the stack may condense on the pipe surface. Such condensation of the medium on the pipe surface causes an energy loss and deteriorates the energy balance of the energy conversion device.
  • This disclosure aims to provide an energy conversion device using a gas-liquid phase change medium with improved energy conversion efficiency.
  • the energy conversion device includes a piping unit, an input unit, and an output unit.
  • the pipe portion is filled with a medium capable of changing the gas-liquid phase, and can transmit acoustic energy through the medium.
  • An input part is provided in a piping part, can input heat energy, and converts heat energy into acoustic energy.
  • the output unit is provided in the piping unit and converts acoustic energy into different types of energy.
  • the input unit is provided with a regeneration unit that can develop a temperature gradient based on the input of thermal energy and changes the medium into a gas phase and a liquid phase based on the temperature gradient.
  • the reproducing unit is provided with a medium holding material capable of holding and releasing the medium.
  • the medium vaporized on the high temperature side of the reproduction unit moves preferentially to the low temperature side of the reproduction unit rather than the piping unit. For this reason, it can suppress that the medium vaporized in the reproduction
  • regeneration part moves to a piping part, and can suppress the energy loss by condensing a condensable medium in a piping part as much as possible.
  • FIG. 4 is a partially enlarged view of an end surface of the reproduction unit in FIG. 3. It is a graph which shows the vapor pressure of a condensable medium. It is a figure which shows the movement of the condensable medium in the reproducing
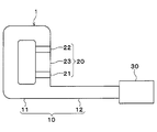
  • the energy conversion device 1 includes a piping unit 10, an input unit 20, and an output unit 30.
  • the piping part 10 is a hollow cylindrical member and constitutes a sealed space.
  • the piping part 10 of this embodiment has a loop-shaped loop piping part 11 on one end side and a linear straight piping part 12 on the other end side.
  • the piping unit 10 has an internal space filled with a medium.
  • the piping part 10 can transmit acoustic energy through a medium.
  • the medium includes a non-condensable medium and a condensable medium.
  • the non-condensable medium is a fluid that does not change in gas-liquid phase in the operating temperature range of the energy conversion device 1
  • the condensable medium is a fluid that changes in gas-liquid phase in the operating temperature range of the energy conversion device 1.
  • air is used as the non-condensable medium
  • water is used as the condensable medium.
  • the input unit 20 is provided in the loop piping unit 11.
  • the input unit 20 can convert heat energy input from the outside into acoustic energy.
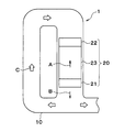
  • the input unit 20 includes a high temperature heat exchange unit 21, a low temperature heat exchange unit 22, and a regeneration unit 23. These are arranged coaxially along the axial direction of the loop piping portion 11.
  • the high temperature heat exchange unit 21 is disposed on one end side of the regeneration unit 23, and the low temperature heat exchange unit 22 is disposed on the other end side of the regeneration unit 23. These heat exchange units 21 and 22 are in thermal contact with the regeneration unit 23.
  • the high-temperature heat exchange unit 21 can input heat energy from the outside.
  • the exhaust heat of the internal combustion engine can be used as heat energy by circulating the cooling water of the internal combustion engine through the high-temperature heat exchange unit 21. Thereby, the temperature of the one end side of the reproduction
  • the low-temperature heat exchange unit 22 can exchange heat with the outside air.
  • the temperature on the other end side of the reproducing unit 23 can be set to around room temperature.
  • the other end side of the reproducing unit 23 can be made lower in temperature than the one end side, and a temperature gradient can be formed in the reproducing unit 23.
  • the reproducing unit 23 is configured as a stack in which a large number of pores are formed. As shown in FIG. 3, the reproducing unit 23 of the present embodiment is configured as a honeycomb structure in which medium flow paths 23a through which a medium can flow are provided in parallel. The medium flow path 23a is partitioned by the wall part 23b. Further, it is desirable that the reproducing unit 23 uses a material having a low heat transfer coefficient in the medium flow direction in order to easily form a temperature gradient in the medium flow direction. In the present embodiment, a ceramic honeycomb that is a ceramic porous body is used as the reproducing unit 23.
  • a temperature gradient is formed in the flow direction of the medium, so that the medium existing in the medium flow path 23a is compressed, heated, expanded, and cooled, and a sound wave that is thermoacoustic self-excited vibration is generated. . That is, in the reproducing unit 23, conversion from thermal energy to acoustic energy is performed. The acoustic energy generated by the input unit 20 is transmitted to the output unit 30.
  • the output unit 30 can convert the acoustic energy generated by the input unit 20 into different types of energy, and output the converted energy to the outside.
  • the output unit 30 may be provided with a piston that can reciprocate by acoustic energy, and the acoustic energy may be converted into kinetic energy and output.
  • the output unit 30 may be provided with a linear generator having a piston that can reciprocate by acoustic energy, and the acoustic energy may be converted into electrical energy and output.
  • the input unit 20 converts thermal energy into acoustic energy
  • the output unit 30 converts the acoustic energy back into thermal energy, and outputs cold energy. You may make it do.
  • the output unit 30 is configured as a heat pump, a high temperature heat exchange unit, a low temperature heat exchange unit, and a regeneration unit (stack) similar to those of the input unit 20 may be provided.
  • the condensable medium contained in the medium undergoes a gas-liquid phase change. That is, the condensable medium evaporates when the medium is heated, and the condensable medium condenses when the medium is cooled. As a result, the volume change when the medium is heated and cooled can be increased, and the generated acoustic energy can be increased.
  • the condensable medium is vaporized on the side close to the high temperature heat exchanger 21 in the regeneration unit 23. As shown in FIG. 2, the vaporized condensable medium can flow in a direction A that approaches the low-temperature heat exchange unit 22 inside the regeneration unit 23 and a direction B that diffuses outside the regeneration unit 23.
  • the condensable medium flowing in the direction A is used for conversion from thermal energy to acoustic energy inside the reproduction unit 23.
  • a part of the condensable medium flowing in the direction B may be condensed on the inner wall surface of the pipe 10.
  • the condensable medium in the reproducing unit 23 is reduced, and the volume change when the medium is heated and cooled is reduced. As a result, energy loss occurs when conversion from thermal energy to acoustic energy is performed in the reproduction unit 23.
  • a medium holding member 23 c is provided in the medium flow path 23 a of the reproducing unit 23.
  • the medium holding member 23c is carried on the surface of the wall portion 23b as a base material.
  • the medium holding member 23c is made of a material that can hold the condensable medium by interaction such as adsorption and absorption, and can release the held condensable medium. Adsorption and absorption may be performed by a chemical reaction, or may be performed using the structure of the medium holding material 23c.
  • an inorganic moisture absorbent When water is used as the condensable medium as in the present embodiment, an inorganic moisture absorbent, an organic moisture absorbent, a metal organic structure (MOF), or the like can be used as the medium holding material 23c.
  • the inorganic hygroscopic material include metal halides (CaCl 2 , LiCl, CaBr 2 , LiBr, etc.), metal hydroxides (LiOH), zeolite (hasley), and the like.
  • the organic hygroscopic material include a water-absorbing polymer (polyacrylic acid).
  • calcium chloride is used as the medium holding material 23c. Calcium chloride absorbs water and forms a hydrate.
  • FIG. 5 shows the vapor pressure of the condensable medium of this embodiment in which the medium holding material 23c is provided and the vapor pressure of the condensable medium of the comparative example in which the medium holding material 23c is not provided.
  • the vapor pressure of the condensable medium in the medium flow path 23 a can be reduced by providing the reproducing unit 23 with the medium holding material 23 c.
  • the vapor pressure of the condensable medium in the medium flow path 23 a is reduced from 40 kPa to 7 kPa by providing the medium holding member 23 c in the reproducing unit 23. Further, at 30 ° C., the vapor pressure of the condensable medium in the medium flow path 23a is reduced from 4 kPa to 0.4 kPa by providing the medium holding member 23c in the reproducing unit 23.
  • FIG. 6A and 6B show the moving state of the condensable medium in the reproducing unit 23.
  • FIG. 6A shows this embodiment in which the medium holding material 23c is provided
  • FIG. 6B shows a comparative example in which the medium holding material 23c is not provided.
  • the right side in the drawing is a high temperature side close to the high temperature heat exchange unit 21
  • the left side in the drawing is a low temperature side close to the low temperature heat exchange unit 22.
  • 6A and 6B in the medium flow path 23a, the temperature on the high temperature side is 80 ° C.
  • the temperature on the low temperature side is 30 ° C.
  • the temperature of the piping part 10 is set to 30 ° C. which is the same as the low temperature side of the medium flow path 23a.
  • the comparative example shown in FIG. 6B will be described.
  • the vapor pressure of the condensable medium in the low temperature side of the medium flow path 23a and the piping unit 10 is the same 4 kPa.
  • the condensable medium vaporized on the high temperature side of the medium flow path 23a moves to both the low temperature side of the medium flow path 23a and the piping section 10.
  • the gas phase condensable medium that has moved to the pipe unit 10 is condensed on the inner wall surface of the pipe unit 10 to form droplets W.
  • the present embodiment shown in FIG. 6A will be described.
  • the vapor pressure of the condensable medium in the pipe portion 10 is 4 kPa
  • the vapor pressure of the condensable medium on the low temperature side of the medium flow path 23a is 0.4 kPa. It has become. For this reason, the condensable medium vaporized on the high temperature side of the medium flow path 23a moves preferentially to the low temperature side of the medium flow path 23a whose vapor pressure is lower than that of the pipe portion 10.
  • the degree of absorption of the condensable medium by the medium holding material 23c becomes larger on the low temperature side than on the high temperature side of the medium flow path 23a. For this reason, a concentration gradient in which the concentration of the condensable medium decreases from the low temperature side toward the high temperature side occurs in the medium holding material 23c. Using this concentration gradient as a driving force, the condensable medium can move from the low temperature side to the high temperature side inside the medium holding material 23c.
  • the condensable medium vaporized on the high temperature side of the medium flow path 23a moves to the low temperature side and is absorbed by the medium holding material 23c, and the condensable medium moves from the low temperature side to the high temperature side inside the medium holding material 23c.
  • a cycle in which the condensable medium circulates is formed inside the reproduction unit 23, it is possible to avoid uneven distribution of the condensable medium inside the reproduction unit 23.
  • the condensable medium Even if the condensable medium is condensed in the piping unit 10 during the operation of the energy conversion device 1, the condensable medium enters the medium flow path 23 a having a lower vapor pressure than the piping unit 10 while the energy conversion device 1 is stopped. Moving. For this reason, the condensable medium condensed in the piping part 10 can be collected again in the reproducing part 23.
  • the condensable medium vaporized in the regenerator 23 moves to the pipe unit 10 by providing the medium holding material 23c capable of holding the condensable medium in the medium flow path 23a of the regenerator 23. Can be suppressed. Thereby, the energy loss by a condensable medium condensing in the piping part 10 can be suppressed as much as possible.
  • the regeneration unit 23 is configured as a honeycomb structure, but the present invention is not limited thereto, and the regeneration unit may be configured differently.
  • the reproducing unit 24 is a mesh laminate in which a plurality of mesh bodies 24a are laminated.
  • a metal mesh can be used for the mesh body 24a.
  • a medium holding material 24b is supported on a mesh-like mesh body 24a as a base material.
  • the regeneration unit 25 is a pellet aggregate in which a large number of pellets 25a are aggregated.
  • the pellet 25a is configured by supporting a medium holding material on particles as a base material.
  • the pellet 25a can be made into an aggregate by filling a container, for example.
  • the reproducing units 23, 24, and 25 carry the medium holding material as a separate member.
  • the present invention is not limited to this, and the reproducing unit itself may be configured by the medium holding material.
  • the medium holding material may be formed into a honeycomb structure, the medium holding material may be formed into a mesh, and these may be laminated to form a mesh laminated body, or the medium holding material may be formed into a pellet, May be formed into a pellet aggregate.
  • air is used as the non-condensable medium.
  • the present invention is not limited to this, and helium, nitrogen, argon, or the like may be used.
  • water is used as the condensable medium.
  • the present invention is not limited to this, and a different type of condensable medium may be used.
  • the piping unit 10 is configured by the loop piping unit 11 and the straight piping unit 12.
  • the present invention is not limited thereto, and the entire piping unit 10 may be configured in a straight line. May be configured in a loop shape, or may be configured such that a loop piping portion is provided at both ends of the straight piping portion.
  • a single input unit 20 is provided.
  • the present invention is not limited to this, and a plurality of input units 20 are arranged in series, and acoustic energy is amplified by the plurality of input units 20. You may make it do.

Landscapes

  • Engineering & Computer Science (AREA)
  • Chemical & Material Sciences (AREA)
  • Combustion & Propulsion (AREA)
  • Mechanical Engineering (AREA)
  • General Engineering & Computer Science (AREA)
  • Dispersion Chemistry (AREA)
  • Physics & Mathematics (AREA)
  • Thermal Sciences (AREA)
  • Heat-Exchange Devices With Radiators And Conduit Assemblies (AREA)
  • Cooling Or The Like Of Electrical Apparatus (AREA)
PCT/JP2017/032415 2016-09-20 2017-09-08 エネルギー変換装置 Ceased WO2018056074A1 (ja)

Applications Claiming Priority (2)

Application Number Priority Date Filing Date Title
JP2016182480A JP6574745B2 (ja) 2016-09-20 2016-09-20 エネルギー変換装置
JP2016-182480 2016-09-20

Publications (1)

Publication Number Publication Date
WO2018056074A1 true WO2018056074A1 (ja) 2018-03-29

Family

ID=61689520

Family Applications (1)

Application Number Title Priority Date Filing Date
PCT/JP2017/032415 Ceased WO2018056074A1 (ja) 2016-09-20 2017-09-08 エネルギー変換装置

Country Status (2)

Country Link
JP (1) JP6574745B2 (enExample)
WO (1) WO2018056074A1 (enExample)

Cited By (1)

* Cited by examiner, † Cited by third party
Publication number Priority date Publication date Assignee Title
CN109458315A (zh) * 2018-12-26 2019-03-12 浙江大学 伴随气液相变的闭式行波型热声发动机

Families Citing this family (4)

* Cited by examiner, † Cited by third party
Publication number Priority date Publication date Assignee Title
JP7032987B2 (ja) * 2018-04-24 2022-03-09 株式会社Soken 熱音響装置
JP2019200015A (ja) * 2018-05-18 2019-11-21 株式会社Soken 熱音響装置
JP7057224B2 (ja) * 2018-06-01 2022-04-19 株式会社Soken 熱音響装置
JP2019210647A (ja) * 2018-06-01 2019-12-12 株式会社Soken 水製造装置

Citations (5)

* Cited by examiner, † Cited by third party
Publication number Priority date Publication date Assignee Title
JP2000088378A (ja) * 1998-07-17 2000-03-31 Idotai Tsushin Sentan Gijutsu Kenkyusho:Kk ループ管気柱音響波動冷凍機
US20030101734A1 (en) * 2001-12-04 2003-06-05 University Of Mississippi Thermoacoustic refrigeration device and method
JP2009074722A (ja) * 2007-09-19 2009-04-09 Aisin Seiki Co Ltd 相変化型熱音響機関
JP2011099599A (ja) * 2009-11-05 2011-05-19 Aisin Seiki Co Ltd 熱輸送管
JP2012237295A (ja) * 2011-05-13 2012-12-06 Nippon Telegr & Teleph Corp <Ntt> 熱音響装置用スタックおよび熱音響装置用スタックの製造方法

Patent Citations (5)

* Cited by examiner, † Cited by third party
Publication number Priority date Publication date Assignee Title
JP2000088378A (ja) * 1998-07-17 2000-03-31 Idotai Tsushin Sentan Gijutsu Kenkyusho:Kk ループ管気柱音響波動冷凍機
US20030101734A1 (en) * 2001-12-04 2003-06-05 University Of Mississippi Thermoacoustic refrigeration device and method
JP2009074722A (ja) * 2007-09-19 2009-04-09 Aisin Seiki Co Ltd 相変化型熱音響機関
JP2011099599A (ja) * 2009-11-05 2011-05-19 Aisin Seiki Co Ltd 熱輸送管
JP2012237295A (ja) * 2011-05-13 2012-12-06 Nippon Telegr & Teleph Corp <Ntt> 熱音響装置用スタックおよび熱音響装置用スタックの製造方法

Non-Patent Citations (2)

* Cited by examiner, † Cited by third party
Title
SLATON, WILLIAM V.: "The effect of the physical properties of the tube wall on the attenuation of sound in evaporating and condensing gas- vapor mixtures", J. ACOUST. SOC. AM., vol. 108, no. 5, November 2000 (2000-11-01), pages 2120 - 2124, XP012001987 *
YUKIO TADA: "Sohenka o Riyo shita Netsuonkyo Engine ni Okeru Onpa Hassei Kiko", DAI 52 KAI NATIONAL HEAT TRANSFER SYMPOSIUM OF JAPAN KOEN RONBUNSHU( CD-ROM, vol. 52, June 2015 (2015-06-01) *

Cited By (2)

* Cited by examiner, † Cited by third party
Publication number Priority date Publication date Assignee Title
CN109458315A (zh) * 2018-12-26 2019-03-12 浙江大学 伴随气液相变的闭式行波型热声发动机
CN109458315B (zh) * 2018-12-26 2024-06-11 浙江大学 伴随气液相变的闭式行波型热声发动机

Also Published As

Publication number Publication date
JP2018048556A (ja) 2018-03-29
JP6574745B2 (ja) 2019-09-11

Similar Documents

Publication Publication Date Title
JP6574745B2 (ja) エネルギー変換装置
JP6369997B2 (ja) 電子機器
JP5077419B2 (ja) 化学蓄熱装置
JP5821834B2 (ja) 化学蓄熱反応器、化学蓄熱システム
JP2012211713A (ja) 化学蓄熱反応器及び化学蓄熱システム
JP5482681B2 (ja) 蓄熱装置
US8640489B2 (en) Heat pump
JP4567996B2 (ja) 蓄熱式ヒートポンプシステム
JP2013072558A (ja) 熱回収式加熱装置
JP2005024231A5 (enExample)
JP6745247B2 (ja) エネルギ変換システム
JP5917811B2 (ja) 熱輸送装置及び熱交換型反応器
JP2017218492A (ja) 化学蓄熱材及び化学蓄熱材を使用した蓄熱容器
JP5453950B2 (ja) 熱音響機関
JP6372126B2 (ja) 熱輸送装置
JP6364198B2 (ja) 蓄熱反応器及び蓄熱システム
CN117968426B (zh) 一种热管理系统的热管装置、热管理系统及其使用方法
JP6400926B2 (ja) 蓄熱システム
Raymond Investigation of microparticle to system level phenomena in thermally activated adsorption heat pumps
Kumar et al. A Review and Development of Solar Thermal Adsorption Refrigeration Technology
Juul et al. Development of a low-temperature heat engine using rapid thermal swing adsorption of CO2 onto activated carbon
Vasiliev et al. Heat Pipes in new power sources technology
Vasiliev et al. Heat pipes− good tool for fuel cells thermal management
Çağlar Design and experimental testing of an adsorbent bed for a thermal wave adsorption cooling cycle
Vasiliev et al. Sorption Heat Pipe-A New Thermal Control Device for Space Applications

Legal Events

Date Code Title Description
121 Ep: the epo has been informed by wipo that ep was designated in this application

Ref document number: 17852851

Country of ref document: EP

Kind code of ref document: A1

NENP Non-entry into the national phase

Ref country code: DE

122 Ep: pct application non-entry in european phase

Ref document number: 17852851

Country of ref document: EP

Kind code of ref document: A1