WO2018021083A1 - 冷凍サイクル装置 - Google Patents

冷凍サイクル装置 Download PDF

Info

Publication number
WO2018021083A1
WO2018021083A1 PCT/JP2017/025870 JP2017025870W WO2018021083A1 WO 2018021083 A1 WO2018021083 A1 WO 2018021083A1 JP 2017025870 W JP2017025870 W JP 2017025870W WO 2018021083 A1 WO2018021083 A1 WO 2018021083A1
Authority
WO
WIPO (PCT)
Prior art keywords
refrigerant
heat exchanger
section
outdoor heat
supercooling
Prior art date
Legal status (The legal status is an assumption and is not a legal conclusion. Google has not performed a legal analysis and makes no representation as to the accuracy of the status listed.)
Ceased
Application number
PCT/JP2017/025870
Other languages
English (en)
French (fr)
Japanese (ja)
Inventor
功嗣 三浦
加藤 吉毅
竹内 雅之
橋村 信幸
慧伍 佐藤
憲彦 榎本
賢吾 杉村
アリエル マラシガン
Current Assignee (The listed assignees may be inaccurate. Google has not performed a legal analysis and makes no representation or warranty as to the accuracy of the list.)
Denso Corp
Original Assignee
Denso Corp
Priority date (The priority date is an assumption and is not a legal conclusion. Google has not performed a legal analysis and makes no representation as to the accuracy of the date listed.)
Filing date
Publication date
Application filed by Denso Corp filed Critical Denso Corp
Priority to CN201780046078.9A priority Critical patent/CN109477668B/zh
Priority to DE112017003778.6T priority patent/DE112017003778T5/de
Publication of WO2018021083A1 publication Critical patent/WO2018021083A1/ja
Priority to US16/256,202 priority patent/US10989447B2/en
Anticipated expiration legal-status Critical
Ceased legal-status Critical Current

Links

Images

Classifications

    • FMECHANICAL ENGINEERING; LIGHTING; HEATING; WEAPONS; BLASTING
    • F25REFRIGERATION OR COOLING; COMBINED HEATING AND REFRIGERATION SYSTEMS; HEAT PUMP SYSTEMS; MANUFACTURE OR STORAGE OF ICE; LIQUEFACTION SOLIDIFICATION OF GASES
    • F25BREFRIGERATION MACHINES, PLANTS OR SYSTEMS; COMBINED HEATING AND REFRIGERATION SYSTEMS; HEAT PUMP SYSTEMS
    • F25B13/00Compression machines, plants or systems, with reversible cycle
    • FMECHANICAL ENGINEERING; LIGHTING; HEATING; WEAPONS; BLASTING
    • F25REFRIGERATION OR COOLING; COMBINED HEATING AND REFRIGERATION SYSTEMS; HEAT PUMP SYSTEMS; MANUFACTURE OR STORAGE OF ICE; LIQUEFACTION SOLIDIFICATION OF GASES
    • F25BREFRIGERATION MACHINES, PLANTS OR SYSTEMS; COMBINED HEATING AND REFRIGERATION SYSTEMS; HEAT PUMP SYSTEMS
    • F25B41/00Fluid-circulation arrangements
    • F25B41/30Expansion means; Dispositions thereof
    • F25B41/39Dispositions with two or more expansion means arranged in series, i.e. multi-stage expansion, on a refrigerant line leading to the same evaporator
    • FMECHANICAL ENGINEERING; LIGHTING; HEATING; WEAPONS; BLASTING
    • F25REFRIGERATION OR COOLING; COMBINED HEATING AND REFRIGERATION SYSTEMS; HEAT PUMP SYSTEMS; MANUFACTURE OR STORAGE OF ICE; LIQUEFACTION SOLIDIFICATION OF GASES
    • F25BREFRIGERATION MACHINES, PLANTS OR SYSTEMS; COMBINED HEATING AND REFRIGERATION SYSTEMS; HEAT PUMP SYSTEMS
    • F25B1/00Compression machines, plants or systems with non-reversible cycle
    • FMECHANICAL ENGINEERING; LIGHTING; HEATING; WEAPONS; BLASTING
    • F25REFRIGERATION OR COOLING; COMBINED HEATING AND REFRIGERATION SYSTEMS; HEAT PUMP SYSTEMS; MANUFACTURE OR STORAGE OF ICE; LIQUEFACTION SOLIDIFICATION OF GASES
    • F25BREFRIGERATION MACHINES, PLANTS OR SYSTEMS; COMBINED HEATING AND REFRIGERATION SYSTEMS; HEAT PUMP SYSTEMS
    • F25B29/00Combined heating and refrigeration systems, e.g. operating alternately or simultaneously
    • FMECHANICAL ENGINEERING; LIGHTING; HEATING; WEAPONS; BLASTING
    • F25REFRIGERATION OR COOLING; COMBINED HEATING AND REFRIGERATION SYSTEMS; HEAT PUMP SYSTEMS; MANUFACTURE OR STORAGE OF ICE; LIQUEFACTION SOLIDIFICATION OF GASES
    • F25BREFRIGERATION MACHINES, PLANTS OR SYSTEMS; COMBINED HEATING AND REFRIGERATION SYSTEMS; HEAT PUMP SYSTEMS
    • F25B39/00Evaporators; Condensers
    • F25B39/04Condensers
    • FMECHANICAL ENGINEERING; LIGHTING; HEATING; WEAPONS; BLASTING
    • F25REFRIGERATION OR COOLING; COMBINED HEATING AND REFRIGERATION SYSTEMS; HEAT PUMP SYSTEMS; MANUFACTURE OR STORAGE OF ICE; LIQUEFACTION SOLIDIFICATION OF GASES
    • F25BREFRIGERATION MACHINES, PLANTS OR SYSTEMS; COMBINED HEATING AND REFRIGERATION SYSTEMS; HEAT PUMP SYSTEMS
    • F25B40/00Subcoolers, desuperheaters or superheaters
    • FMECHANICAL ENGINEERING; LIGHTING; HEATING; WEAPONS; BLASTING
    • F25REFRIGERATION OR COOLING; COMBINED HEATING AND REFRIGERATION SYSTEMS; HEAT PUMP SYSTEMS; MANUFACTURE OR STORAGE OF ICE; LIQUEFACTION SOLIDIFICATION OF GASES
    • F25BREFRIGERATION MACHINES, PLANTS OR SYSTEMS; COMBINED HEATING AND REFRIGERATION SYSTEMS; HEAT PUMP SYSTEMS
    • F25B40/00Subcoolers, desuperheaters or superheaters
    • F25B40/02Subcoolers
    • FMECHANICAL ENGINEERING; LIGHTING; HEATING; WEAPONS; BLASTING
    • F25REFRIGERATION OR COOLING; COMBINED HEATING AND REFRIGERATION SYSTEMS; HEAT PUMP SYSTEMS; MANUFACTURE OR STORAGE OF ICE; LIQUEFACTION SOLIDIFICATION OF GASES
    • F25BREFRIGERATION MACHINES, PLANTS OR SYSTEMS; COMBINED HEATING AND REFRIGERATION SYSTEMS; HEAT PUMP SYSTEMS
    • F25B41/00Fluid-circulation arrangements
    • F25B41/30Expansion means; Dispositions thereof
    • F25B41/385Dispositions with two or more expansion means arranged in parallel on a refrigerant line leading to the same evaporator
    • FMECHANICAL ENGINEERING; LIGHTING; HEATING; WEAPONS; BLASTING
    • F25REFRIGERATION OR COOLING; COMBINED HEATING AND REFRIGERATION SYSTEMS; HEAT PUMP SYSTEMS; MANUFACTURE OR STORAGE OF ICE; LIQUEFACTION SOLIDIFICATION OF GASES
    • F25BREFRIGERATION MACHINES, PLANTS OR SYSTEMS; COMBINED HEATING AND REFRIGERATION SYSTEMS; HEAT PUMP SYSTEMS
    • F25B6/00Compression machines, plants or systems, with several condenser circuits
    • F25B6/04Compression machines, plants or systems, with several condenser circuits arranged in series
    • FMECHANICAL ENGINEERING; LIGHTING; HEATING; WEAPONS; BLASTING
    • F25REFRIGERATION OR COOLING; COMBINED HEATING AND REFRIGERATION SYSTEMS; HEAT PUMP SYSTEMS; MANUFACTURE OR STORAGE OF ICE; LIQUEFACTION SOLIDIFICATION OF GASES
    • F25BREFRIGERATION MACHINES, PLANTS OR SYSTEMS; COMBINED HEATING AND REFRIGERATION SYSTEMS; HEAT PUMP SYSTEMS
    • F25B2400/00General features or devices for refrigeration machines, plants or systems, combined heating and refrigeration systems or heat-pump systems, i.e. not limited to a particular subgroup of F25B
    • F25B2400/04Refrigeration circuit bypassing means
    • F25B2400/0403Refrigeration circuit bypassing means for the condenser
    • FMECHANICAL ENGINEERING; LIGHTING; HEATING; WEAPONS; BLASTING
    • F25REFRIGERATION OR COOLING; COMBINED HEATING AND REFRIGERATION SYSTEMS; HEAT PUMP SYSTEMS; MANUFACTURE OR STORAGE OF ICE; LIQUEFACTION SOLIDIFICATION OF GASES
    • F25BREFRIGERATION MACHINES, PLANTS OR SYSTEMS; COMBINED HEATING AND REFRIGERATION SYSTEMS; HEAT PUMP SYSTEMS
    • F25B2400/00General features or devices for refrigeration machines, plants or systems, combined heating and refrigeration systems or heat-pump systems, i.e. not limited to a particular subgroup of F25B
    • F25B2400/04Refrigeration circuit bypassing means
    • F25B2400/0409Refrigeration circuit bypassing means for the evaporator
    • FMECHANICAL ENGINEERING; LIGHTING; HEATING; WEAPONS; BLASTING
    • F25REFRIGERATION OR COOLING; COMBINED HEATING AND REFRIGERATION SYSTEMS; HEAT PUMP SYSTEMS; MANUFACTURE OR STORAGE OF ICE; LIQUEFACTION SOLIDIFICATION OF GASES
    • F25BREFRIGERATION MACHINES, PLANTS OR SYSTEMS; COMBINED HEATING AND REFRIGERATION SYSTEMS; HEAT PUMP SYSTEMS
    • F25B2400/00General features or devices for refrigeration machines, plants or systems, combined heating and refrigeration systems or heat-pump systems, i.e. not limited to a particular subgroup of F25B
    • F25B2400/13Economisers
    • FMECHANICAL ENGINEERING; LIGHTING; HEATING; WEAPONS; BLASTING
    • F25REFRIGERATION OR COOLING; COMBINED HEATING AND REFRIGERATION SYSTEMS; HEAT PUMP SYSTEMS; MANUFACTURE OR STORAGE OF ICE; LIQUEFACTION SOLIDIFICATION OF GASES
    • F25BREFRIGERATION MACHINES, PLANTS OR SYSTEMS; COMBINED HEATING AND REFRIGERATION SYSTEMS; HEAT PUMP SYSTEMS
    • F25B2600/00Control issues
    • F25B2600/25Control of valves
    • F25B2600/2501Bypass valves

Definitions

  • This disclosure relates to a refrigeration cycle apparatus in which refrigerant is condensed and evaporated.
  • Patent Document 1 describes a refrigeration cycle apparatus in which a compressor, a condenser, a first expansion valve, an outdoor heat exchanger, a second expansion valve, and an evaporator are connected in series.
  • the cooling mode and the heating mode can be switched by adjusting the opening degree of the first expansion valve and the second expansion valve.
  • the gas-phase refrigerant is condensed in the outdoor heat exchanger to be changed into a liquid-phase refrigerant, and the liquid-phase refrigerant is evaporated in the evaporator to be changed into a gas-phase refrigerant.
  • the heating mode the gas-phase refrigerant is condensed in the condenser and changed into a liquid-phase refrigerant, and the liquid-phase refrigerant is evaporated in the outdoor heat exchanger and changed into a gas-phase refrigerant.
  • This disclosure is intended to obtain a good cycle performance coefficient in both the first mode in which the refrigerant is condensed in the outdoor heat exchanger and the second mode in which the refrigerant is evaporated in the outdoor heat exchanger.
  • the refrigeration cycle apparatus includes a compressor that sucks and compresses and discharges a refrigerant, a condenser that exchanges heat and condenses the refrigerant discharged from the compressor, and refrigerant that flows out of the condenser.
  • a first decompression unit that decompresses and expands, an outdoor heat exchanger that exchanges heat between the refrigerant that flows out from the first decompression unit and the outside air, a second decompression unit that decompresses and expands the refrigerant that flows out from the outdoor heat exchanger, and a second decompression unit
  • an evaporator for evaporating the refrigerant flowing out from the heat exchanger.
  • the predetermined part of the part through which the refrigerant flows from the condenser to the first pressure reducing part is the condenser outlet part
  • the predetermined part of the part through which the refrigerant flows from the first pressure reducing part to the outdoor heat exchanger is the outdoor heat exchanger.
  • the volume of the condenser outlet part is that of the inlet part of the outdoor heat exchanger. It is larger than the volume.
  • the volume of the outlet portion of the condenser is less than or equal to the volume of the inlet portion of the outdoor heat exchanger
  • the volume of the portion in which the liquid refrigerant flows in the second mode becomes larger.
  • the appropriate amount of refrigerant increases. Therefore, since the difference in the appropriate refrigerant amount between the first mode and the second mode can be reduced, a good cycle performance coefficient can be obtained in both the first mode and the second mode.
  • the refrigeration cycle according to the second aspect of the present disclosure includes a compressor that sucks and compresses and discharges the apparatus refrigerant, a condenser that exchanges heat to condense the refrigerant discharged from the compressor, and refrigerant that flows out of the condenser.
  • a first decompression unit that decompresses and expands, an outdoor heat exchanger that exchanges heat between the refrigerant that flows out from the first decompression unit and the outside air, a second decompression unit that decompresses and expands the refrigerant that flows out from the outdoor heat exchanger, and a second decompression unit
  • an evaporator for evaporating the refrigerant flowing out from the heat exchanger.
  • the predetermined part of the part through which the refrigerant flows from the condenser to the first pressure reducing part is the condenser outlet part
  • the predetermined part of the part through which the refrigerant flows from the first pressure reducing part to the outdoor heat exchanger is the outdoor heat exchanger.
  • the volume of the condenser outlet part is that of the outdoor heat exchanger outlet part. It is larger than the volume.
  • the volume of the portion where the liquid refrigerant flows in the second mode increases, The volume of the portion where the phase refrigerant flows is reduced.
  • the refrigeration cycle according to the third aspect of the present disclosure includes a compressor that sucks, compresses, and discharges apparatus refrigerant, a condenser that condenses the refrigerant discharged from the compressor by heat exchange, and refrigerant that flows out of the condenser.
  • a first decompression unit that decompresses and expands, an outdoor heat exchanger that exchanges heat between the refrigerant that flows out from the first decompression unit and the outside air, a second decompression unit that decompresses and expands the refrigerant that flows out from the outdoor heat exchanger, and a second decompression unit
  • An evaporator that heats and evaporates the refrigerant that has flowed out of the section
  • a bypass pipe that forms a bypass flow path in which the refrigerant that has flowed out of the outdoor heat exchanger bypasses the second decompression section and the evaporator, and a bypass pipe And an on-off valve that opens and closes the bypass flow path.
  • the predetermined part of the part through which the refrigerant flows from the condenser to the first pressure reducing part is the condenser outlet part
  • the predetermined part of the part through which the refrigerant flows from the first pressure reducing part to the outdoor heat exchanger is the outdoor heat exchanger.
  • the predetermined part of the part through which the refrigerant flows from the outdoor heat exchanger to the second decompression part as the inlet part is the outdoor heat exchanger outlet part
  • the volume of the part into which a liquid phase refrigerant flows at the time of 2nd mode is large.
  • the volume of the portion where the liquid refrigerant flows in the first mode is reduced.
  • the cooling mode and the heating mode can be switched by adjusting the opening degree of the first expansion valve and the second expansion valve.
  • the amount of refrigerant for which the cycle coefficient of performance (COP) is appropriate differs between the cooling mode and the heating mode.
  • the refrigerant pressure is higher than in the heating mode, so that the refrigerant density is high and the necessary refrigerant amount (appropriate refrigerant amount) is increased.
  • refrigerant pipes that have different refrigerant phase states (specifically, a liquid phase state, a gas-liquid two-phase state, and a gas phase state) between the cooling mode and the heating mode.
  • the amount of refrigerant required in the refrigerant pipe differs depending on the mode.
  • Refrigerant piping in which the refrigerant phase state is different between the cooling mode and the heating mode is a major factor in causing a difference in required refrigerant amount (appropriate refrigerant amount).
  • a refrigeration cycle apparatus 10 shown in FIG. 1 is a vehicular refrigeration cycle apparatus that is used to adjust a vehicle interior space to an appropriate temperature.
  • the refrigeration cycle apparatus 10 is applied to a hybrid vehicle that obtains driving force for vehicle travel from an engine (internal combustion engine) and a travel electric motor.
  • the hybrid vehicle according to the present embodiment is configured as a plug-in hybrid vehicle that can charge power supplied from an external power source (commercial power source) when the vehicle is stopped to a battery (vehicle battery) mounted on the vehicle.
  • a battery vehicle battery
  • the battery for example, a lithium ion battery can be used.
  • the driving force output from the engine is used not only for driving the vehicle but also for operating the generator.
  • the electric power generated by the generator and the electric power supplied from the external power source can be stored in the battery, and the electric power stored in the battery constitutes the refrigeration cycle apparatus 10 as well as the electric motor for traveling. It is supplied to various in-vehicle devices such as electric components.
  • the refrigeration cycle apparatus 10 is a vapor compression refrigerator that includes a compressor 11, a condenser 12, a first expansion valve 13, an outdoor heat exchanger 14, a second expansion valve 15, and an evaporator 16.
  • a chlorofluorocarbon refrigerant is used as the refrigerant, and a subcritical refrigeration cycle in which the high-pressure side refrigerant pressure does not exceed the refrigerant critical pressure is configured.
  • the compressor 11, the condenser 12, the first expansion valve 13, the outdoor heat exchanger 14, the second expansion valve 15 and the evaporator 16 are arranged in series with each other in the refrigerant flow.
  • the compressor 11 is an electric compressor driven by electric power supplied from a battery or a variable capacity compressor driven by a belt, and sucks, compresses and discharges the refrigerant of the refrigeration cycle apparatus 10.
  • the condenser 12 is a condenser that condenses the high-pressure side refrigerant by exchanging heat between the high-pressure side refrigerant discharged from the compressor 11 and the cooling water of the high-temperature cooling water circuit 21.
  • the cooling water of the high-temperature cooling water circuit 21 is a fluid as a heat medium.
  • the cooling water of the high temperature cooling water circuit 21 is a high temperature heat medium.
  • at least ethylene glycol, dimethylpolysiloxane, a liquid containing nanofluid, or an antifreeze liquid is used as the cooling water of the high-temperature cooling water circuit 21.
  • the first expansion valve 13 is a first decompression unit that decompresses and expands the liquid refrigerant flowing out of the condenser 12.
  • the first expansion valve 13 is an electric variable throttle mechanism, and includes a valve body and an electric actuator.
  • the valve body is configured to be able to change the passage opening (throttle opening) of the refrigerant passage.
  • the electric actuator has a stepping motor that changes the throttle opening of the valve body.
  • the first expansion valve 13 is composed of a variable throttle mechanism with a fully open function that fully opens the refrigerant passage when the throttle opening is fully opened. That is, the first expansion valve 13 can prevent the refrigerant from depressurizing by fully opening the refrigerant passage.
  • the operation of the first expansion valve 13 is controlled by a control signal output from the control device 40.
  • the outdoor heat exchanger 14 is a refrigerant outdoor air heat exchanger that exchanges heat between the refrigerant flowing out of the first expansion valve 13 and the outside air. Outside air is blown to the outdoor heat exchanger 14 by an outdoor blower 17.
  • the outdoor blower 17 is a blower that blows outside air toward the outdoor heat exchanger 14.
  • the outdoor blower 17 is an electric blower that drives a fan with an electric motor.
  • the outdoor heat exchanger 14 and the outdoor blower 17 are disposed in the foremost part of the vehicle. Accordingly, the traveling wind can be applied to the outdoor heat exchanger 14 when the vehicle is traveling.
  • the outdoor heat exchanger 14 When the temperature of the refrigerant flowing through the outdoor heat exchanger 14 is lower than the temperature of the outside air, the outdoor heat exchanger 14 functions as a heat absorber that causes the refrigerant to absorb the heat of the outside air. When the temperature of the refrigerant flowing through the outdoor heat exchanger 14 is higher than the temperature of the outside air, the outdoor heat exchanger 14 functions as a radiator that radiates the heat of the refrigerant to the outside air.
  • the second expansion valve 15 is a second decompression unit that decompresses and expands the liquid-phase refrigerant that has flowed out of the outdoor heat exchanger 14.
  • the second expansion valve 15 is an electric variable throttle mechanism, and includes a valve body and an electric actuator.
  • the valve body is configured to be able to change the passage opening (throttle opening) of the refrigerant passage.
  • the electric actuator has a stepping motor that changes the throttle opening of the valve body.
  • the second expansion valve 15 is composed of a variable throttle mechanism with a fully open function that fully opens the refrigerant passage when the throttle opening is fully opened. That is, the second expansion valve 15 can prevent the refrigerant from depressurizing by fully opening the refrigerant passage.
  • the operation of the second expansion valve 15 is controlled by a control signal output from the control device 40.
  • the cooling mode is a first mode in which the outdoor heat exchanger 14 releases heat from the refrigerant.
  • the heating mode is a second mode in which the outdoor heat exchanger 14 absorbs heat from the refrigerant.
  • the first expansion valve 13 and the second expansion valve 15 are operation mode switching units that switch between a cooling mode and a heating mode.
  • the evaporator 16 is an evaporator that evaporates the low-pressure refrigerant by exchanging heat between the low-pressure refrigerant flowing out of the second expansion valve 15 and the cooling water of the low-temperature cooling water circuit 22.
  • the gas-phase refrigerant evaporated in the evaporator 16 is sucked into the compressor 11 and compressed.
  • the cooling water in the low-temperature cooling water circuit 22 is a fluid as a heat medium.
  • the cooling water in the low-temperature cooling water circuit 22 is a low-temperature heat medium.
  • a liquid containing at least ethylene glycol, dimethylpolysiloxane or nanofluid, or an antifreeze liquid is used as the cooling water of the low-temperature cooling water circuit 22.
  • a condenser inlet pipe 31 is connected between the refrigerant outlet 11 a of the compressor 11 and the refrigerant inlet 12 a of the condenser 12.
  • a condenser outlet pipe 32 is connected between the refrigerant outlet 12 b of the condenser 12 and the refrigerant inlet 13 a of the first expansion valve 13.
  • An outdoor heat exchanger inlet pipe 33 is connected between the refrigerant outlet 13 b of the first expansion valve 13 and the refrigerant inlet 14 a of the outdoor heat exchanger 14.
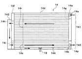
  • the outdoor heat exchanger 14 has a heat exchange unit 141.
  • the outdoor heat exchanger 14 is integrated with an outdoor heat exchanger liquid storage part 142 and an outdoor heat exchanger subcooling part 143.
  • the heat exchanging unit 141 of the outdoor heat exchanger 14 exchanges heat between the refrigerant flowing out of the first expansion valve 13 and the outside air.
  • the outdoor heat exchanger liquid storage part 142 of the outdoor heat exchanger 14 is a refrigerant storage part that separates the gas-liquid refrigerant flowing out of the heat exchange part 141 of the outdoor heat exchanger 14 and stores excess refrigerant.
  • the outdoor heat exchanger subcooling unit 143 of the outdoor heat exchanger 14 exchanges heat between the liquid refrigerant flowing out of the outdoor heat exchanger liquid storage unit 142 of the outdoor heat exchanger 14 and the outside air in the cooling mode, and the liquid phase refrigerant. Overcool.
  • the refrigerant inlet 14 a of the outdoor heat exchanger 14 is provided in the heat exchange unit 141.
  • the first refrigerant outlet 14 b of the outdoor heat exchanger 14 is provided in the outdoor heat exchanger subcooling unit 143.
  • the second refrigerant outlet 14 c of the outdoor heat exchanger 14 is provided in the outdoor heat exchanger liquid storage part 142.
  • a supercooling section outlet pipe 34 is connected between the first refrigerant outlet 14 b of the outdoor heat exchanger 14 and the refrigerant inlet 15 a of the second expansion valve 15.
  • a supercooling section bypass pipe 35 is connected between the second refrigerant outlet 14 c of the outdoor heat exchanger 14 and the supercooling section outlet pipe 34.
  • the subcooling section bypass pipe 35 is a bypass section in which the refrigerant that has flowed through the outdoor heat exchanger liquid storage section 142 of the outdoor heat exchanger 14 bypasses the outdoor heat exchanger subcooling section 143.
  • the supercooling section outlet pipe 34 and the supercooling section bypass pipe 35 are outdoor heat exchanger outlet pipes that connect the refrigerant outlets 14 b and 14 c of the outdoor heat exchanger 14 and the refrigerant inlet 15 a of the second expansion valve 15.
  • the supercooling bypass opening / closing valve 18 is disposed in the supercooling section bypass pipe 35.
  • the supercooling bypass opening / closing valve 18 is a bypass opening adjustment unit that adjusts the flow opening of the supercooling unit bypass pipe 35.
  • the supercooling bypass opening / closing valve 18 is an electromagnetic valve and is controlled by the control device 40.
  • An evaporator inlet pipe 36 is connected between the refrigerant outlet 15 b of the second expansion valve 15 and the refrigerant inlet 16 a of the evaporator 16.
  • An evaporator outlet pipe 37 is connected between the refrigerant outlet 16 b of the evaporator 16 and the refrigerant inlet 11 b of the compressor 11.
  • the high temperature cooling water circuit 21 is provided with a condenser 12, a high temperature side pump 23, and a heater core 24.
  • An evaporator 16, a low temperature side pump 25 and a cooler core 26 are arranged in the low temperature cooling water circuit 22.
  • the high temperature side pump 23 and the low temperature side pump 25 are heat medium pumps that suck and discharge the cooling water.
  • the high temperature side pump 23 and the low temperature side pump 25 are electric pumps.
  • the high temperature side pump 23 is a high temperature side flow rate adjusting unit that adjusts the flow rate of the cooling water circulating in the high temperature cooling water circuit 21.
  • the low temperature side pump 25 is a low temperature side flow rate adjusting unit that adjusts the flow rate of the cooling water circulating in the low temperature cooling water circuit 22.
  • the heater core 24 is a high-temperature side heat medium heat exchanger that heats the air blown into the vehicle interior by exchanging heat between the cooling water of the high-temperature coolant circuit 21 and the air blown into the vehicle interior.
  • the cooling water radiates heat to the air blown into the vehicle interior due to the change in sensible heat. That is, in the heater core 24, even if the cooling water radiates heat to the air blown into the vehicle interior, the cooling water remains in a liquid phase and does not change phase.
  • the cooler core 26 is a low-temperature heat medium heat exchanger that cools the air blown into the vehicle interior by exchanging heat between the cooling water of the low-temperature coolant circuit 22 and the air blown into the vehicle interior.
  • the cooling water absorbs heat from the air blown into the vehicle interior due to the change in sensible heat. That is, in the cooler core 26, even if the cooling water absorbs heat from the air blown into the passenger compartment, the cooling water remains in a liquid phase and does not change phase.
  • the cooler core 26 and the heater core 24 are accommodated in a casing (hereinafter referred to as an air conditioning casing) of an indoor air conditioning unit (not shown).
  • the air conditioning casing is an air passage forming member that forms an air passage.
  • the heater core 24 is disposed on the air flow downstream side of the cooler core 26 in the air passage in the air conditioning casing.
  • the air conditioning casing is disposed in the vehicle interior space.
  • an inside / outside air switching box (not shown) and an indoor fan (not shown) are arranged.
  • the inside / outside air switching box is an inside / outside air switching unit that switches between introduction of inside air and outside air into an air passage in the air conditioning casing.
  • the indoor blower sucks and blows the inside air and the outside air introduced into the air passage in the air conditioning casing through the inside / outside air switching box.
  • An air mix door (not shown) is arranged between the cooler core 26 and the heater core 24 in the air passage in the air conditioning casing.
  • the air mix door adjusts the air volume ratio between the cool air that flows into the heater core 24 out of the cool air that has passed through the cooler core 26 and the cool air that bypasses the heater core 24 and flows.
  • the air mix door is a rotary door having a rotary shaft that is rotatably supported with respect to the air conditioning casing, and a door base plate portion coupled to the rotary shaft.
  • the rotary shaft of the air mix door is driven by a servo motor.
  • the operation of the servo motor is controlled by the control device 40.
  • the control device 40 is composed of a well-known microcomputer including a CPU, a ROM, a RAM and the like and its peripheral circuits. The control device 40 performs various calculations and processes based on a control program stored in the ROM. Various devices to be controlled are connected to the output side of the control device 40. The control device 40 is a control unit that controls operations of various devices to be controlled.
  • the control target devices controlled by the control device 40 include the compressor 11, the first expansion valve 13, the second expansion valve 15, the outdoor blower 17, the supercooling bypass opening / closing valve 18, the high temperature side pump 23, the low temperature side pump 25, and the like. is there.
  • Software and hardware for controlling the electric motor of the compressor 11 in the control device 40 is a refrigerant discharge capacity control unit.
  • Software and hardware for controlling the first expansion valve 13 in the control device 40 is a first throttle control unit.
  • Software and hardware for controlling the second expansion valve 15 in the control device 40 is a second throttle control unit.
  • Software and hardware for controlling the outdoor blower 17 in the control device 40 are an outside air blowing capacity control unit.
  • Software and hardware for controlling the supercooling bypass opening / closing valve 18 in the control device 40 is a bypass opening control unit.
  • Software and hardware for controlling the high temperature side pump 23 in the control device 40 are a high temperature side heat medium flow control unit.
  • Software and hardware for controlling the low temperature side pump 25 in the control device 40 is a low temperature side heat medium flow control unit.
  • air conditioning control sensors such as an inside air temperature sensor (not shown), an outside air temperature sensor (not shown), and a solar radiation amount sensor (not shown) are connected to the input side of the control device 40.
  • the inside air temperature sensor detects the passenger compartment temperature Tr.
  • the outside air temperature sensor detects the outside air temperature Tam.
  • the solar radiation amount sensor detects the solar radiation amount Ts in the passenger compartment.
  • control switches are connected to the input side of the control device 40.
  • Various operation switches are provided on an operation panel (not shown) and are operated by a passenger.
  • the operation panel is arranged near the instrument panel at the front of the passenger compartment. Operation signals from various operation switches are input to the control device 40.
  • the various operation switches are air conditioner switches, temperature setting switches, and the like.
  • the air conditioner switch sets whether or not to cool the air blown into the vehicle interior by the indoor air conditioning unit.
  • the temperature setting switch sets a set temperature in the passenger compartment.
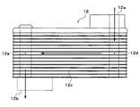
  • the condenser 12 is formed by laminating a large number of plate-like members and joining them together. A space through which the refrigerant flows is formed between the plate-like members.
  • the condenser 12 is formed with a condenser core part 12c, a condenser inlet tank part 12d, and a condenser outlet tank part 12e.
  • the arrows in FIG. 2 indicate the flow direction of the refrigerant in the condenser 12.
  • the internal space of the condenser inlet tank portion 12d is a refrigerant distribution space that communicates with the refrigerant inlet 12a of the condenser 12 and distributes the refrigerant to the multiple refrigerant flow paths of the condenser core portion 12c.
  • the internal space of the condenser outlet tank section 12e is a refrigerant collecting space that communicates with the refrigerant outlet 12b of the condenser 12 and collects the refrigerant that has flowed through a large number of refrigerant flow paths of the condenser core section 12c.
  • the basic configuration of the first expansion valve 13 and the second expansion valve 15 is the same. Therefore, in FIG. 3, the first expansion valve 13 is illustrated, the reference numerals corresponding to the second expansion valve 15 are given in parentheses in FIG. 3, and the second expansion valve 15 is not shown.
  • the first expansion valve 13 includes a first inlet channel portion 13c, a first valve body 13d, a first valve seat 13e, and a first outlet channel portion 13f.
  • the first valve body 13 d is a throttle opening degree adjusting unit that adjusts the throttle opening degree of the first expansion valve 13.
  • the first valve body 13 d is a pressure reduction amount adjusting unit that adjusts the pressure reduction amount of the first expansion valve 13.
  • the first valve seat 13e is a seating portion on which the first valve body 13d is seated.
  • the first inlet channel portion 13c is a refrigerant channel positioned upstream of the first valve seat 13e in the refrigerant flow.
  • the first inlet channel portion 13c is a refrigerant channel through which the refrigerant before being decompressed and expanded flows among the refrigerant channels of the first expansion valve 13.
  • the first inlet channel portion 13c is a first reduced pressure inlet portion.
  • the first outlet channel portion 13f is a refrigerant channel located downstream of the first valve seat 13e in the refrigerant flow.
  • the first outlet channel portion 13f is a refrigerant channel through which the refrigerant after being decompressed and expanded flows among the refrigerant channels of the first expansion valve 13.
  • the first outlet channel portion 13f is a first reduced pressure outlet portion.
  • the second expansion valve 15 includes a second inlet flow passage portion 15c, a second valve body 15d, a second valve seat 15e, and a second outlet flow passage portion 15f.
  • the second valve body 15 d is a throttle opening degree adjusting unit that adjusts the throttle opening degree of the second expansion valve 15.
  • the second valve body 15 d is a pressure reduction amount adjusting unit that adjusts the pressure reduction amount of the second expansion valve 15.
  • the second valve seat 15e is a seating portion on which the second valve body 15d is seated.
  • the second inlet channel portion 15c is located upstream of the second valve seat 15e in the refrigerant flow.
  • the second inlet channel portion 15c is a refrigerant channel through which the refrigerant before being decompressed and expanded flows among the refrigerant channels of the second expansion valve 15.
  • the second inlet channel portion 15c is a second reduced pressure inlet portion.
  • the second outlet channel portion 15f is located downstream of the second valve seat 15e in the refrigerant flow.
  • the second outlet channel portion 15f is a refrigerant channel through which the refrigerant after decompression and expansion flows among the refrigerant channels of the second expansion valve 15.
  • the second outlet channel portion 15f is a second decompression outlet portion.
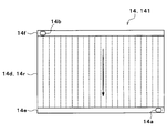
  • the outdoor heat exchanger 14 has an outdoor heat exchanger core part 14d, a first refrigerant tank part 14e, and a second refrigerant tank part 14f.
  • the arrows in FIG. 4 indicate the flow direction of the refrigerant in the outdoor heat exchanger 14.
  • the outdoor heat exchanger core 14d has a large number of tubes and a large number of fins. Multiple tubes and multiple fins are alternately stacked and joined together. The gap between the tube and the fin forms an outside air passage through which outside air flows.
  • the tube is a refrigerant flow path forming member that forms a refrigerant flow path therein.
  • the fins are heat exchange promoting members that increase the heat transfer area and promote heat exchange between the refrigerant and the outside air.
  • the first refrigerant tank section 14e has a heat exchange section inlet tank section 14g, a heat exchange section outlet tank section 14h, and a supercooling section inlet tank section 14i.
  • the internal spaces of the heat exchange part inlet tank part 14g, the heat exchange part outlet tank part 14h, and the supercooling part inlet tank part 14i are partitioned from each other by two partition parts 14k and 14m.
  • the refrigerant inlet 14a is formed in the heat exchange part inlet tank part 14g.
  • the internal space of the heat exchange section outlet tank section 14h communicates with the internal space of the outdoor heat exchanger liquid storage section 142 through a communication hole (not shown).
  • the internal space of the supercooling portion inlet tank portion 14i communicates with the internal space of the outdoor heat exchanger liquid storage portion 142 through a communication hole (not shown).
  • a second refrigerant outlet 14c is formed in the supercooling part inlet tank part 14i.
  • the heat exchanger inlet tank 14g and the supercooler inlet tank 14i distribute the refrigerant to the tubes of the outdoor heat exchanger core 14d.
  • the heat exchange part outlet tank part 14h collects the refrigerant that has flowed through the tube of the outdoor heat exchanger core part 14d.
  • the second refrigerant tank portion 14f has a heat exchange portion intermediate tank portion 14n and a supercooling portion outlet tank portion 14p.
  • the internal spaces of the heat exchange part intermediate tank part 14n and the supercooling part outlet tank part 14p are partitioned from each other by a partition part 14q.
  • a first refrigerant outlet 14b is formed in the supercooling part outlet tank part 14p.
  • the heat exchange unit intermediate tank unit 14n collects the refrigerant that has flowed through the tube of the outdoor heat exchanger core unit 14d and distributes the refrigerant to the tube of the outdoor heat exchanger core unit 14d.
  • the supercooling part outlet tank part 14p collects the refrigerant that has flowed through the tube of the outdoor heat exchanger core part 14d.
  • a portion between the heat exchange part inlet tank part 14g and the heat exchange part outlet tank part 14h constitutes a heat exchange core part 14r of the heat exchange part 141.
  • the heat exchange core portion 14r exchanges heat between the refrigerant flowing from the refrigerant inlet 14a of the outdoor heat exchanger 14 and the outside air.
  • a portion between the supercooling part inlet tank part 14i and the supercooling part outlet tank part 14p constitutes a supercooling core part 14s of the outdoor heat exchanger supercooling part 143.
  • the supercooling core section 14s supercools the liquid phase refrigerant by exchanging heat between the liquid phase refrigerant flowing out of the outdoor heat exchanger liquid storage section 142 and the outside air in the cooling mode.
  • the heat exchange unit inlet tank unit 14g, the heat exchange core unit 14r, the heat exchange unit intermediate tank unit 14n, and the heat exchange unit outlet tank unit 14h constitute a heat exchange unit 141.
  • the supercooling section inlet tank section 14 i, the supercooling core section 14 s and the supercooling section outlet tank section 14 p constitute an outdoor heat exchanger subcooling section 143.
  • the control device 40 switches the air conditioning mode to either the heating mode or the cooling mode based on the target blowing temperature TAO or the like.
  • the target air temperature TAO is the target temperature of the air that is blown out into the passenger compartment.
  • the control device 40 calculates the target blowing temperature TAO based on the following mathematical formula.
  • TAO Kset ⁇ Tset ⁇ Kr ⁇ Tr ⁇ Kam ⁇ Tam ⁇ Ks ⁇ Ts + C
  • Tset is the vehicle interior set temperature set by the temperature setting switch on the operation panel
  • Tr is the inside air temperature detected by the inside air temperature sensor
  • Tam is the outside air temperature detected by the outside air temperature sensor
  • Ts is the solar radiation amount sensor. Is the amount of solar radiation detected by.
  • Kset, Kr, Kam, Ks are control gains
  • C is a correction constant.
  • the cooling mode is a first mode in which the outdoor heat exchanger 14 releases heat from the refrigerant.
  • the heating mode is a second mode in which the outdoor heat exchanger 14 absorbs heat from the refrigerant.
  • (Cooling mode) In the cooling mode, the control device 40 sets the first expansion valve 13 to a fully open state and sets the second expansion valve 15 to a throttle state. In the cooling mode, the control device 40 stops the high temperature side pump 23 and drives the low temperature side pump 25.
  • the control device 40 determines the operating states (control signals output to the various control devices) of the various control devices connected to the control device 40 based on the target blowing temperature TAO, the detection signal of the sensor group, and the like.
  • COP coefficient of performance
  • the air mix door closes the air passage of the heater core 24 so that the entire flow rate of the blown air that has passed through the cooler core 26 flows bypassing the heater core 24. It is determined.
  • the high-pressure refrigerant discharged from the compressor 11 flows into the condenser 12 as indicated by a point a1 in FIG.
  • the cooling water of the high temperature cooling water circuit 21 does not circulate in the condenser 12. Therefore, the refrigerant that has flowed into the condenser 12 flows out of the condenser 12 with little heat exchange with the cooling water in the high-temperature cooling water circuit 21.
  • the refrigerant that has flowed out of the condenser 12 flows into the first expansion valve 13. At this time, since the first expansion valve 13 fully opens the refrigerant passage, the refrigerant flowing out of the condenser 12 flows into the outdoor heat exchanger 14 without being depressurized by the first expansion valve 13.
  • the refrigerant flowing into the outdoor heat exchanger 14 radiates heat to the outside air blown from the outdoor blower 17 by the outdoor heat exchanger 14.
  • the refrigerant flowing out of the outdoor heat exchanger 14 flows into the second expansion valve 15 and is decompressed and expanded at the second expansion valve 15 until it becomes a low-pressure refrigerant. .
  • the low-pressure refrigerant decompressed by the second expansion valve 15 flows into the evaporator 16 and absorbs heat from the cooling water in the low-temperature cooling water circuit 22 to evaporate. Thereby, since the cooling water of the low-temperature cooling water circuit 22 is cooled, the vehicle interior blown air is cooled by the cooler core 26.
  • the refrigerant condensed in the heat exchange unit 141 is separated into gas and liquid by the outdoor heat exchanger liquid storage unit 142, and excess liquid phase refrigerant is stored.
  • the control device 40 closes the supercooling bypass opening / closing valve 18. As a result, the liquid-phase refrigerant that has flowed out of the outdoor heat exchanger storage part 142 flows through the outdoor heat exchanger subcooling part 143 and is supercooled.
  • the vehicle interior air cooled by the cooler core 26 can be blown into the vehicle interior. Thereby, cooling of a vehicle interior is realizable.
  • Heating mode In the heating mode, the control device 40 brings the first expansion valve 13 into a throttled state and the second expansion valve 15 into a fully opened state. In the heating mode, the control device 40 drives the high temperature side pump 23 and stops the low temperature side pump 25.
  • the control device 40 determines the operating states (control signals output to the various control devices) of the various control devices connected to the control device 40 based on the target blowing temperature TAO, the detection signal of the sensor group, and the like.
  • the control signal output to the first expansion valve 13 is determined so that the supercooling degree of the refrigerant flowing into the first expansion valve 13 approaches a predetermined target supercooling degree.
  • the target degree of supercooling is determined so that the coefficient of performance (COP) of the cycle approaches the maximum value.
  • the air mix door fully opens the air passage of the heater core 24 so that the total flow rate of the blown air that has passed through the cooler core 26 passes through the air passage of the heater core 24. To be determined.
  • the high-pressure refrigerant discharged from the compressor 11 flows into the condenser 12, and dissipates heat by exchanging heat with the cooling water in the high-temperature cooling water circuit 21. Thereby, the cooling water of the high temperature cooling water circuit 21 is heated.
  • the refrigerant flowing out of the condenser 12 flows into the first expansion valve 13 and is decompressed until it becomes a low-pressure refrigerant.
  • the low-pressure refrigerant decompressed by the first expansion valve 13 flows into the outdoor heat exchanger 14 and absorbs heat from the outside air blown from the outdoor blower 17. Evaporate.
  • the refrigerant that has flowed out of the outdoor heat exchanger 14 flows into the second expansion valve 15. At this time, since the second expansion valve 15 is fully opened, the refrigerant flowing out of the outdoor heat exchanger 14 flows into the evaporator 16 without being depressurized by the second expansion valve 15.
  • the cooling water of the low temperature cooling water circuit 22 does not circulate in the evaporator 16. Therefore, the low-pressure refrigerant flowing into the evaporator 16 hardly absorbs heat from the cooling water in the low-temperature cooling water circuit 22. Then, as indicated by points b4 and b1 in FIG. 6, the refrigerant that has flowed out of the evaporator 16 flows to the suction side of the compressor 11 and is compressed again by the compressor 11.
  • the control device 40 opens the supercooling bypass opening / closing valve 18.
  • the refrigerant that has flowed out of the outdoor heat exchanger storage part 142 of the outdoor heat exchanger 14 flows through the subcooling part bypass pipe 35, so that the refrigerant pressure in the outdoor heat exchanger subcooling part 143 of the outdoor heat exchanger 14 Loss can be reduced.
  • the heat of the high-pressure refrigerant discharged from the compressor 11 by the condenser 12 is radiated to the cooling water of the high-temperature cooling water circuit 21, and the cooling water of the high-temperature cooling water circuit 21 is heated by the heater core 24.
  • the heat of the vehicle can be dissipated to the air blown into the vehicle interior, and the heated air blown into the vehicle interior can be blown out. Thereby, heating of a vehicle interior is realizable.
  • the gas phase refrigerant flows through the condenser inlet pipe 31, the condenser outlet pipe 32, and the outdoor heat exchanger inlet pipe 33, and the liquid phase refrigerant flows through the supercooling section outlet pipe 34 and the supercooling section bypass pipe 35.
  • a gas-liquid two-phase refrigerant flows through the evaporator inlet pipe 36 and a gas-phase refrigerant flows through the evaporator outlet pipe 37.
  • the gas-phase refrigerant flows through the condenser inlet pipe 31, the liquid-phase refrigerant flows through the condenser outlet pipe 32, the gas-liquid two-phase refrigerant flows through the outdoor heat exchanger inlet pipe 33, and the supercooling section outlet pipe 34.
  • the gas-phase refrigerant flows through the supercooling section bypass pipe 35, the evaporator inlet pipe 36, and the evaporator outlet pipe 37.
  • a predetermined part of the part through which the refrigerant flows from the condenser 12 to the first expansion valve 13 is referred to as a condenser outlet.
  • circulates is called an outdoor heat exchanger inlet_port
  • circulates is called an outdoor heat exchanger exit part.
  • the appropriate refrigerant amount in the cooling mode and the heating mode can be set.
  • the difference can be reduced, and as a result, a good cycle performance coefficient (COP) can be obtained in both the cooling mode and the heating mode.
  • COP good cycle performance coefficient
  • the volume of the condenser outlet is larger than the volume of the outdoor heat exchanger inlet.
  • the volume of the portion where the liquid-phase refrigerant flows is increased in the heating mode.
  • the amount increases.
  • the volume of the condenser outlet is larger than the volume of the outdoor heat exchanger outlet.
  • the volume of the portion where the liquid refrigerant flows in the heating mode increases, and the liquid refrigerant flows in the cooling mode. Since the volume of the portion through which the refrigerant flows becomes small, the appropriate amount of refrigerant in the heating mode increases and the appropriate amount of refrigerant in the cooling mode decreases. As a result, the difference in the appropriate refrigerant amount between the cooling mode and the heating mode can be reduced, and as a result, a good cycle performance coefficient can be obtained in both the cooling mode and the heating mode.
  • the condenser outlet part is the condenser outlet pipe 32.
  • the volume relationship may be satisfied by lengthening the condenser outlet piping 32, or the volume relationship may be satisfied by thickening the condenser outlet piping 32.
  • the condenser outlet pipe 32 may be locally thickened.
  • the condenser outlet part may be the condenser outlet tank part 12e and the first inlet channel part 13c.
  • the condenser outlet part may be the condenser outlet tank part 12e, the condenser outlet pipe 32, and the first inlet channel part 13c.
  • the condenser outlet part may be a part of the condenser 12 where the refrigerant is in a liquid phase and the first inlet channel part 13c.
  • the part of the condenser 12 where the refrigerant is in the liquid phase is the part of the heat exchange core part 12c of the condenser 12 where the refrigerant is in the liquid phase and the condenser outlet tank part 12e. is there.
  • FIG. 9 is a graph showing the condenser heat exchange section liquid ratio in relation to the condenser outlet supercooling degree.
  • the condenser heat exchange part liquid ratio is the volume of the part of the heat exchange core part 12c of the condenser 12 where the refrigerant is in the liquid phase, and the part of the heat exchange core part 12c of the condenser 12 where the refrigerant circulates. It is the ratio divided by the total volume.
  • the condenser outlet supercooling degree is the refrigerant subcooling degree at the condenser 12 outlet.
  • the ratio of the liquid in the heat exchanger of the condenser varies depending on various conditions, but is about 40 to 60% at maximum, 0% at minimum, and about 5 to 25% on average.
  • the condenser heat exchange section liquid ratio exceeds 40-60%, the performance may be extremely reduced.
  • the degree of supercooling of the refrigerant at the outlet of the condenser 12 falls within an appropriate range (for example, about 2 to 6 K), the condenser heat exchange section liquid ratio is about 5 to 25%.
  • the condenser outlet part may be a part of the condenser 12 where the refrigerant is in a liquid phase, the condenser outlet pipe 32 and the first inlet channel part 13c.
  • the outdoor heat exchanger inlet portion is the outdoor heat exchanger inlet pipe 33.
  • the outdoor heat exchanger inlet may be the first outlet channel 13f and the heat exchanger inlet tank 14g.
  • the outdoor heat exchanger inlet part may be the first outlet channel part 13f, the outdoor heat exchanger inlet pipe 33, and the heat exchanger inlet tank part 14g.
  • the outdoor heat exchanger outlet part is a supercooling part outlet pipe 34 and a supercooling part bypass pipe 35.
  • the outdoor heat exchanger outlet part may be the supercooling part outlet pipe 34, the supercooling part bypass pipe 35, and the second inlet channel part 15c.
  • the outdoor heat exchanger outlet part is a supercooling part inlet tank part 14i, a supercooling part outlet tank part 14p, a supercooling part outlet pipe 34, a supercooling part bypass pipe 35, and a second inlet flow path part 15c. Also good.
  • the outdoor heat exchanger outlet part includes a heat exchange part outlet tank part 14h, a supercooling part inlet tank part 14i, a supercooling core part 14s, a supercooling part outlet tank part 14p, a supercooling part outlet pipe 34, and a supercooling part.
  • the bypass pipe 35 and the second inlet channel portion 15c may be used.
  • the outdoor heat exchanger outlet part may be the outdoor heat exchanger supercooling part 143, the supercooling part outlet pipe 34, the supercooling part bypass pipe 35, and the second inlet flow path part 15c.
  • the outdoor heat exchanger outlet part includes a heat exchange part outlet tank part 14h, an outdoor heat exchanger liquid storage part 142, a supercooling part inlet tank part 14i, a supercooling core part 14s, a supercooling part outlet tank part 14p,
  • the cooling part outlet piping 34, the supercooling part bypass piping 35, and the 2nd inlet flow path part 15c may be sufficient.
  • the outdoor heat exchanger outlet part is an outdoor heat exchanger liquid storage part 142, an outdoor heat exchanger subcooling part 143, a supercooling part outlet pipe 34, a supercooling part bypass pipe 35, and a second inlet channel part 15c. There may be.
  • the condenser 12 is formed with the condenser inlet tank portion 12d and the condenser outlet tank portion 12e.
  • the condenser 12 is formed with a condenser inlet tank portion 12d, a condenser outlet tank portion 12e, and a condenser intermediate tank portion 12f.
  • a condenser inlet tank part 12d, a condenser outlet tank part 12e, a first intermediate tank part 12g, and a second intermediate tank part 12h are formed.
  • the condenser inlet tank portion 12d and the condenser outlet tank portion 12e are partitioned from each other by a partitioning portion 12i.
  • the condenser intermediate tank portion 12f distributes the refrigerant to the multiple refrigerant flow paths of the condenser core portion 12c and collects the refrigerant that has flowed through the multiple refrigerant flow paths of the condenser core portion 12c.
  • the condenser inlet tank part 12d and the first intermediate tank part 12g are separated from each other by the first partition part 12k, and the condenser outlet tank part 12e and the second intermediate tank part 12h are They are partitioned from each other by the second partition 12m.
  • the first intermediate tank portion 12g and the second intermediate tank portion 12h distribute the refrigerant to a large number of refrigerant flow paths of the condenser core portion 12c, and the refrigerant that has flowed through the large number of refrigerant flow paths of the condenser core portion 12c. Collect.
  • the appropriate refrigerant amount in the cooling mode and the heating mode is set by appropriately setting the volumes of the condenser outlet, the outdoor heat exchanger inlet, and the outdoor heat exchanger outlet as in the above embodiment. Can be reduced, and as a result, a good cycle performance coefficient can be obtained in both the cooling mode and the heating mode.
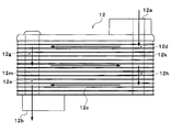
  • the condenser 12 includes a condensing unit 121, a condenser liquid storage unit 122, and a condenser subcooling unit 123.
  • the condenser 121 condenses the refrigerant discharged from the compressor 11 by exchanging heat with the cooling water of the high-temperature cooling water circuit 21.
  • the condenser liquid storage unit 122 is a refrigerant storage unit that separates the gas-liquid refrigerant flowing out from the condensing unit 121 of the condenser 12 and stores excess refrigerant.
  • the condenser subcooling unit 123 supercools the liquid phase refrigerant by exchanging heat between the liquid phase refrigerant flowing out of the condenser liquid storage unit 122 and the cooling water of the high-temperature cooling water circuit 21.
  • the refrigerant condensed in the condensing unit 121 is gas-liquid separated in the condenser liquid storage unit 122 and the excess liquid phase refrigerant is stored.
  • the liquid-phase refrigerant that has flowed out of the condenser storage part 122 flows through the condenser subcooling part 123 and is supercooled.
  • the appropriate refrigerant amount in the cooling mode and the heating mode is set by appropriately setting the volumes of the condenser outlet, the outdoor heat exchanger inlet, and the outdoor heat exchanger outlet as in the above embodiment. Can be reduced, and as a result, a good cycle performance coefficient can be obtained in both the cooling mode and the heating mode.
  • the condenser outlet part may be the condenser condenser subcooling part 123 and the first inlet channel part 13c.
  • the condenser outlet part may be the condenser condenser subcooling part 123, the condenser outlet pipe 32, and the first inlet channel part 13c.
  • the appropriateness of the cooling mode and the heating mode is set by appropriately setting the volumes of the condenser outlet, the outdoor heat exchanger inlet, and the outdoor heat exchanger outlet as in the first embodiment.
  • the difference in the refrigerant amount can be reduced, and as a result, a good cycle performance coefficient can be obtained in both the cooling mode and the heating mode.
  • the outdoor heat exchanger 14 does not have an outdoor heat exchanger liquid storage part 142 and an outdoor heat exchanger subcooling part 143.
  • An outdoor heat exchanger outlet pipe 34 is connected between the refrigerant outlet 14 b of the outdoor heat exchanger 14 and the refrigerant inlet 15 a of the second expansion valve 15.
  • the outdoor heat exchanger 14 is a cross flow type heat exchanger as shown in FIG.
  • the outdoor heat exchanger 14 may be a downflow type heat exchanger as shown in FIG.
  • the appropriate refrigerant amount in the cooling mode and the heating mode is set by appropriately setting the volumes of the condenser outlet, the outdoor heat exchanger inlet, and the outdoor heat exchanger outlet as in the above embodiment. Can be reduced, and as a result, a good cycle performance coefficient can be obtained in both the cooling mode and the heating mode.
  • the subcooling bypass unit 144 is a bypass unit in which the refrigerant that has flowed through the outdoor heat exchanger liquid storage unit 142 of the outdoor heat exchanger 14 bypasses the outdoor heat exchanger subcooling unit 143.
  • the supercooling bypass opening / closing valve 18 is arranged in the supercooling bypass section 144.
  • the supercooling bypass opening / closing valve 18 adjusts the flow path opening degree of the supercooling bypass unit 144.
  • An outdoor heat exchanger outlet pipe 34 is connected between the refrigerant outlet 14 b of the outdoor heat exchanger 14 and the refrigerant inlet 15 a of the second expansion valve 15.
  • the appropriate refrigerant amount in the cooling mode and the heating mode is set by appropriately setting the volumes of the condenser outlet, the outdoor heat exchanger inlet, and the outdoor heat exchanger outlet as in the above embodiment. Can be reduced, and as a result, a good cycle performance coefficient can be obtained in both the cooling mode and the heating mode.
  • the outdoor heat exchanger outlet may be the supercooling bypass 144 and the outdoor heat exchanger outlet pipe 34.
  • the outdoor heat exchanger outlet may be the supercooling bypass 144, the outdoor heat exchanger outlet pipe 34, and the second inlet flow passage 15c.
  • the outdoor heat exchanger outlet part is a supercooling part inlet tank part 14i, a supercooling bypass part 144, a supercooling part outlet tank part 14p, an outdoor heat exchanger outlet pipe 34, and a second inlet channel part 15c. Also good.
  • the outdoor heat exchanger outlet part includes a heat exchange part outlet tank part 14h, a supercooling part inlet tank part 14i, a supercooling core part 14s, a supercooling bypass part 144, a supercooling part outlet tank part 14p, and an outdoor heat exchanger.
  • the outlet pipe 34 and the second inlet channel portion 15c may be used.
  • the outdoor heat exchanger outlet section may be the outdoor heat exchanger subcooling section 143, the supercooling bypass section 144, the outdoor heat exchanger outlet piping 34, and the second inlet flow path section 15c.
  • the outdoor heat exchanger outlet part includes a heat exchange part outlet tank part 14h, an outdoor heat exchanger liquid storage part 142, a supercooling part inlet tank part 14i, a supercooling core part 14s, a supercooling bypass part 144, and a supercooling part.
  • the outlet tank part 14p, the outdoor heat exchanger outlet pipe 34, and the second inlet channel part 15c may be used.
  • the outdoor heat exchanger outlet section includes an outdoor heat exchanger storage section 142, an outdoor heat exchanger subcooling section 143, a supercooling bypass section 144, an outdoor heat exchanger outlet pipe 34, and a second inlet flow path section 15c. There may be.
  • an accumulator 50 may be disposed in the evaporator outlet pipe 37 between the evaporator 16 and the compressor 11.
  • the accumulator 50 is a gas-liquid separator that separates the gas-liquid refrigerant flowing out of the evaporator 16 and stores excess refrigerant.
  • a refrigerant suction port 11 b of the compressor 11 is connected to the gas phase refrigerant outlet of the accumulator 50.
  • the accumulator 50 functions to prevent liquid phase refrigerant from being sucked into the compressor 11 and prevent liquid compression in the compressor 11.
  • an accumulator 50 is added to the configuration of the fourth embodiment.
  • an accumulator 50 is added to the configuration of the fifth embodiment.
  • An accumulator 50 may be added to the configurations of the first, second, third, and sixth embodiments.
  • the appropriate refrigerant amount in the cooling mode and the heating mode is set by appropriately setting the volumes of the condenser outlet, the outdoor heat exchanger inlet, and the outdoor heat exchanger outlet as in the above embodiment.
  • a good cycle performance coefficient can be obtained in both the cooling mode and the heating mode, and the accumulator 50 can be downsized.
  • the 1st expansion valve 13 and the 2nd expansion valve 15 are comprised by the variable throttle mechanism with a full open function which opens a refrigerant path fully, when a throttle opening is fully opened, in this embodiment,
  • the first expansion valve 13 and the second expansion valve 15 are configured by a variable throttle mechanism that cannot fully open the throttle opening.
  • the refrigeration cycle apparatus 10 includes a first expansion valve bypass pipe 51, a first bypass on-off valve 52, a second expansion valve bypass pipe 53, and a second bypass on-off valve 54.
  • FIG. 22 illustrates the first expansion valve bypass pipe 51 and the first bypass on / off valve 52, and the reference numerals corresponding to the second expansion valve bypass pipe 53 and the second bypass on / off valve 54 are given in parentheses in FIG.
  • the second expansion valve bypass pipe 53 and the second bypass on-off valve 54 are not shown.
  • the first expansion valve bypass pipe 51 forms a refrigerant flow path through which the refrigerant flows by bypassing the first expansion valve 13.
  • the first bypass opening / closing valve 52 opens and closes the refrigerant flow path of the first expansion valve bypass pipe 51.
  • the operation of the first bypass opening / closing valve 52 is controlled by a control signal output from the control device 40.
  • the one expansion valve 13 can prevent the refrigerant from depressurizing.
  • the second expansion valve bypass pipe 53 forms a refrigerant flow path through which the refrigerant bypasses the second expansion valve 15.
  • the second bypass opening / closing valve 54 opens and closes the refrigerant flow path of the second expansion valve bypass pipe 53.
  • the operation of the second bypass opening / closing valve 54 is controlled by a control signal output from the control device 40.
  • the second bypass opening / closing valve 54 opens the refrigerant flow path of the second expansion valve bypass pipe 53, the refrigerant flows through the refrigerant flow path of the second expansion valve bypass pipe 53 and does not flow through the second expansion valve 15.
  • the two expansion valves 15 can prevent the refrigerant from depressurizing.
  • the first expansion valve bypass pipe 51, the first bypass on-off valve 52, the second expansion valve bypass pipe 53, and the second bypass on-off valve 54 are operation mode switching units that switch between a cooling mode and a heating mode.
  • the appropriate refrigerant amount in the cooling mode and the heating mode is set by appropriately setting the volumes of the condenser outlet, the outdoor heat exchanger inlet, and the outdoor heat exchanger outlet as in the above embodiment. Can be reduced, and as a result, a good cycle performance coefficient can be obtained in both the cooling mode and the heating mode.
  • the first expansion valve 13 and the second expansion valve 15 may be a fixed throttle, a temperature type expansion valve or the like that cannot fully open the throttle opening.
  • the fixed throttle is an orifice, a capillary tube, or the like.
  • the temperature type expansion valve is an expansion valve having a temperature-sensitive passage and a mechanical mechanism for adjusting a throttle passage area. The mechanical mechanism of the temperature type expansion valve adjusts the throttle passage area so that the degree of superheat of the refrigerant flowing through the temperature sensitive passage falls within a predetermined range.
  • an evaporator bypass pipe 38 is provided.
  • the evaporator bypass pipe 38 forms a bypass flow path in which the refrigerant flowing out of the outdoor heat exchanger 14 bypasses the second expansion valve 15 and the evaporator 16 and flows to the suction side of the compressor 11.
  • An evaporator bypass opening / closing valve 39 is disposed in the evaporator bypass pipe 38.
  • the evaporator bypass on-off valve 39 is an on-off valve that opens and closes the bypass flow path of the evaporator bypass pipe 38.
  • an evaporator bypass pipe 38 and an evaporator bypass on / off valve 39 are added to the configuration of the first embodiment.
  • One end of the evaporator bypass pipe 38 is connected to a portion of the supercooling section outlet pipe 34 between the junction with the supercooling section bypass pipe 35 and the refrigerant inlet 15 a of the second expansion valve 15.
  • the other end of the evaporator bypass pipe 38 is connected to the evaporator outlet pipe 37.
  • a portion of the evaporator bypass pipe 38 on the upstream side of the refrigerant flow with respect to the evaporator bypass on / off valve 39 is referred to as a bypass pipe inlet 38 a, and the refrigerant bypass passage on the evaporator bypass pipe 38 with respect to the refrigerant flow downstream of the evaporator bypass on / off valve 39.
  • the portion on the side is defined as a bypass pipe downstream portion 38b.
  • the volume of the condenser outlet is larger than the total volume of the outdoor heat exchanger outlet and the bypass pipe inlet 38a.
  • the volume of the portion through which the liquid refrigerant flows in the heating mode is larger. Since the volume of the portion where the liquid-phase refrigerant flows during the cooling mode becomes small, the appropriate amount of refrigerant in the heating mode increases and the appropriate amount of refrigerant in the cooling mode decreases. As a result, the difference in the appropriate refrigerant amount between the cooling mode and the heating mode can be reduced, and as a result, a good cycle performance coefficient can be obtained in both the cooling mode and the heating mode.
  • an evaporator bypass pipe 38 and an evaporator bypass on / off valve 39 are added to the configuration of the first embodiment.
  • One end of the evaporator bypass pipe 38 is connected to a part of the supercooling section bypass pipe 35 that is upstream of the refrigerant flow with respect to the supercooling bypass opening / closing valve 18.
  • the other end of the evaporator bypass pipe 38 is connected to the evaporator outlet pipe 37.
  • an evaporator bypass pipe 38 and an evaporator bypass on / off valve 39 are added to the configuration of the first embodiment.
  • One end of the evaporator bypass pipe 38 is connected to a part of the supercooling section bypass pipe 35 that is downstream of the supercooling bypass on / off valve 18 and the refrigerant flow.
  • the other end of the evaporator bypass pipe 38 is connected to the evaporator outlet pipe 37.
  • an evaporator bypass pipe 38 and an evaporator bypass on / off valve 39 are added to the configuration of the first embodiment.
  • One end of the evaporator bypass pipe 38 is connected to a portion of the supercooling section outlet pipe 34 between the first refrigerant outlet 14 b of the outdoor heat exchanger 14 and the junction of the supercooling section bypass pipe 35.
  • the other end of the evaporator bypass pipe 38 is connected to the evaporator outlet pipe 37.
  • an evaporator bypass pipe 38 and an evaporator bypass on / off valve 39 are added to the configuration of the first embodiment.
  • One end of the evaporator bypass pipe 38 is connected to the outdoor heat exchanger liquid storage part 142.
  • the other end of the evaporator bypass pipe 38 is connected to the evaporator outlet pipe 37.
  • an evaporator bypass pipe 38 and an evaporator bypass on / off valve 39 are added to the configuration of the fourth embodiment.
  • One end of the evaporator bypass pipe 38 is connected to the supercooling section outlet pipe 34.
  • the other end of the evaporator bypass pipe 38 is connected to the evaporator outlet pipe 37.
  • an evaporator bypass pipe 38 and an evaporator bypass on-off valve 39 are added to the configuration of the fourth embodiment.
  • One end of the evaporator bypass pipe 38 is connected to the outdoor heat exchanger liquid storage part 142.
  • the other end of the evaporator bypass pipe 38 is connected to the evaporator outlet pipe 37.
  • an evaporator bypass pipe 38 and an evaporator bypass on / off valve 39 are added to the configuration of the fifth embodiment.
  • One end of the evaporator bypass pipe 38 is connected to the outdoor heat exchanger outlet pipe 34.
  • the other end of the evaporator bypass pipe 38 is connected to the evaporator outlet pipe 37.
  • an evaporator bypass pipe 38 and an evaporator bypass on / off valve 39 are added to the configuration of the sixth embodiment.
  • One end of the evaporator bypass pipe 38 is connected to the outdoor heat exchanger outlet pipe 34.
  • the other end of the evaporator bypass pipe 38 is connected to the evaporator outlet pipe 37.
  • an evaporator bypass pipe 38 and an evaporator bypass on / off valve 39 are added to the configuration of the sixth embodiment.
  • One end of the evaporator bypass pipe 38 is connected to a part of the supercooling section bypass pipe 35 that is upstream of the refrigerant flow with respect to the supercooling bypass opening / closing valve 18.
  • the other end of the evaporator bypass pipe 38 is connected to the evaporator outlet pipe 37.
  • an evaporator bypass pipe 38 and an evaporator bypass on / off valve 39 are added to the configuration of the first example of the seventh embodiment.
  • One end of the evaporator bypass pipe 38 is connected to the supercooling section outlet pipe 34.
  • the other end of the evaporator bypass pipe 38 is connected to a portion of the evaporator outlet pipe 37 between the refrigerant outlet 16 b of the evaporator 16 and the accumulator 50.
  • an evaporator bypass pipe 38 and an evaporator bypass on / off valve 39 are added to the configuration of the first example of the seventh embodiment.
  • One end of the evaporator bypass pipe 38 is connected to the outdoor heat exchanger liquid storage part 142.
  • the other end of the evaporator bypass pipe 38 is connected to a portion of the evaporator outlet pipe 37 between the refrigerant outlet 16 b of the evaporator 16 and the accumulator 50.
  • an evaporator bypass pipe 38 and an evaporator bypass on-off valve 39 are added to the configuration of the second example of the seventh embodiment.
  • One end of the evaporator bypass pipe 38 is connected to the outdoor heat exchanger outlet pipe 34.
  • the other end of the evaporator bypass pipe 38 is connected to a portion of the evaporator outlet pipe 37 between the refrigerant outlet 16 b of the evaporator 16 and the accumulator 50.
  • the volume of the condenser outlet part is the total volume of the outdoor heat exchanger outlet part and the bypass pipe inlet part 38a, as in the first example of the present embodiment. Therefore, the same effect as the first example of the present embodiment can be obtained.
  • the supercooling bypass opening / closing valve 18 may not be disposed in the supercooling portion bypass pipe 35 and the supercooling bypass portion 144.
  • the cooling water is used as the heat medium for adjusting the temperature of the temperature adjustment target device, but various media such as oil may be used as the heat medium.
  • Nanofluid may be used as the heat medium.
  • a nanofluid is a fluid in which nanoparticles having a particle size of the order of nanometers are mixed.
  • the effect of improving the thermal conductivity in a specific temperature range the effect of increasing the heat capacity of the heat medium, the effect of preventing the corrosion of metal pipes and the deterioration of rubber pipes, and the heat medium at an extremely low temperature
  • liquidity of can be acquired.
  • Such an effect varies depending on the particle configuration, particle shape, blending ratio, and additional substance of the nanoparticles.
  • the thermal conductivity can be improved, it is possible to obtain the same cooling efficiency even with a small amount of heat medium as compared with the cooling water using ethylene glycol.
  • the amount of cold storage heat due to the sensible heat of the heat medium itself can be increased.
  • the aspect ratio of the nanoparticles is preferably 50 or more. This is because sufficient thermal conductivity can be obtained.
  • the aspect ratio is a shape index that represents the ratio of the vertical and horizontal dimensions of the nanoparticles.
  • Nanoparticles containing any of Au, Ag, Cu and C can be used. Specifically, Au nanoparticle, Ag nanowire, CNT, graphene, graphite core-shell nanoparticle, Au nanoparticle-containing CNT, and the like can be used as the constituent atoms of the nanoparticle.
  • the CNT is a carbon nanotube.
  • the graphite core-shell nanoparticle is a particle body having a structure such as a carbon nanotube surrounding the atom.
  • a chlorofluorocarbon refrigerant is used as the refrigerant, but the type of refrigerant is not limited to this, and various refrigerants may be used.

Landscapes

  • Engineering & Computer Science (AREA)
  • Physics & Mathematics (AREA)
  • Mechanical Engineering (AREA)
  • Thermal Sciences (AREA)
  • General Engineering & Computer Science (AREA)
  • Air-Conditioning For Vehicles (AREA)
  • Compression-Type Refrigeration Machines With Reversible Cycles (AREA)
  • Details Of Heat-Exchange And Heat-Transfer (AREA)
PCT/JP2017/025870 2016-07-26 2017-07-18 冷凍サイクル装置 Ceased WO2018021083A1 (ja)

Priority Applications (3)

Application Number Priority Date Filing Date Title
CN201780046078.9A CN109477668B (zh) 2016-07-26 2017-07-18 制冷循环装置
DE112017003778.6T DE112017003778T5 (de) 2016-07-26 2017-07-18 Kältekreislaufvorrichtung
US16/256,202 US10989447B2 (en) 2016-07-26 2019-01-24 Refrigeration cycle device

Applications Claiming Priority (2)

Application Number Priority Date Filing Date Title
JP2016146363A JP6623962B2 (ja) 2016-07-26 2016-07-26 冷凍サイクル装置
JP2016-146363 2016-07-26

Related Child Applications (1)

Application Number Title Priority Date Filing Date
US16/256,202 Continuation US10989447B2 (en) 2016-07-26 2019-01-24 Refrigeration cycle device

Publications (1)

Publication Number Publication Date
WO2018021083A1 true WO2018021083A1 (ja) 2018-02-01

Family

ID=61016698

Family Applications (1)

Application Number Title Priority Date Filing Date
PCT/JP2017/025870 Ceased WO2018021083A1 (ja) 2016-07-26 2017-07-18 冷凍サイクル装置

Country Status (5)

Country Link
US (1) US10989447B2 (enExample)
JP (1) JP6623962B2 (enExample)
CN (1) CN109477668B (enExample)
DE (1) DE112017003778T5 (enExample)
WO (1) WO2018021083A1 (enExample)

Cited By (2)

* Cited by examiner, † Cited by third party
Publication number Priority date Publication date Assignee Title
CN109539614A (zh) * 2018-11-09 2019-03-29 珠海格力电器股份有限公司 一种空调系统及其能量调节方法
CN112204334A (zh) * 2018-06-29 2021-01-08 三电汽车空调系统株式会社 热交换器、车辆用空气调节装置

Families Citing this family (5)

* Cited by examiner, † Cited by third party
Publication number Priority date Publication date Assignee Title
JP6838535B2 (ja) * 2017-09-21 2021-03-03 株式会社デンソー 冷凍サイクル装置
KR102803788B1 (ko) * 2020-04-21 2025-05-07 현대자동차주식회사 차량용 공조 시스템
JP2021181860A (ja) * 2020-05-20 2021-11-25 株式会社デンソー 冷却システム
CN112720040B (zh) * 2020-12-04 2022-05-27 珠海格力智能装备有限公司 冷却装置及冷却控制方法
US11976840B2 (en) * 2021-01-11 2024-05-07 Rheem Manufacturing Company Devices and systems for air conditioning units having a subcooling line

Citations (10)

* Cited by examiner, † Cited by third party
Publication number Priority date Publication date Assignee Title
JPS5043346U (enExample) * 1973-08-15 1975-05-01
JPH0282060A (ja) * 1988-09-19 1990-03-22 Matsushita Refrig Co Ltd ヒートポンプ式空気調和機
JP2000055483A (ja) * 1998-08-11 2000-02-25 Matsushita Electric Ind Co Ltd 空気調和装置およびその施工方法
JP2003090643A (ja) * 2001-09-18 2003-03-28 Denso Corp 冷凍サイクル装置
JP2003207219A (ja) * 2002-01-18 2003-07-25 Matsushita Electric Ind Co Ltd 冷凍サイクル装置
JP2003254641A (ja) * 2002-02-28 2003-09-10 Showa Denko Kk 冷凍システム、冷凍サイクル用凝縮装置及びその装置の冷媒出口構造
JP2004361019A (ja) * 2003-06-05 2004-12-24 Sharp Corp 空気調和機
JP2006284074A (ja) * 2005-03-31 2006-10-19 Sanyo Electric Co Ltd 冷却装置の制御装置
JP2007255730A (ja) * 2006-03-20 2007-10-04 Mitsubishi Electric Corp 空気調和機
JP2014119150A (ja) * 2012-12-14 2014-06-30 Sharp Corp 空気調和機

Family Cites Families (12)

* Cited by examiner, † Cited by third party
Publication number Priority date Publication date Assignee Title
JPS5229344A (en) 1975-08-30 1977-03-05 Brother Ind Ltd Machine with automatic thread cutter
JP3644077B2 (ja) * 1995-07-18 2005-04-27 株式会社デンソー 冷凍サイクル
EP2516942B1 (en) * 2009-08-17 2020-10-28 Johnson Controls Technology Company Heat-pump chiller with improved heat recovery features
WO2012120868A1 (ja) * 2011-03-07 2012-09-13 三菱電機株式会社 空気調和機
DE102012205200B4 (de) 2011-04-04 2020-06-18 Denso Corporation Kältemittelkreislaufvorrichtung
JP5929372B2 (ja) 2011-04-04 2016-06-08 株式会社デンソー 冷凍サイクル装置
JP5492845B2 (ja) * 2011-09-07 2014-05-14 日立アプライアンス株式会社 冷蔵庫
JP6097065B2 (ja) * 2012-12-12 2017-03-15 サンデンホールディングス株式会社 ヒートポンプシステム
CN103604245B (zh) * 2013-07-22 2016-04-13 陈恩鉴 一种装有能效增大器的蒸气压缩式空调系统
CN203908104U (zh) * 2013-12-27 2014-10-29 宁波奥克斯空调有限公司 制冷剂质量补偿热泵空调器
WO2017098795A1 (ja) 2015-12-10 2017-06-15 株式会社デンソー 冷凍サイクル装置
JP6114440B2 (ja) 2016-05-16 2017-04-12 矢崎総業株式会社 接続端子の製造方法

Patent Citations (10)

* Cited by examiner, † Cited by third party
Publication number Priority date Publication date Assignee Title
JPS5043346U (enExample) * 1973-08-15 1975-05-01
JPH0282060A (ja) * 1988-09-19 1990-03-22 Matsushita Refrig Co Ltd ヒートポンプ式空気調和機
JP2000055483A (ja) * 1998-08-11 2000-02-25 Matsushita Electric Ind Co Ltd 空気調和装置およびその施工方法
JP2003090643A (ja) * 2001-09-18 2003-03-28 Denso Corp 冷凍サイクル装置
JP2003207219A (ja) * 2002-01-18 2003-07-25 Matsushita Electric Ind Co Ltd 冷凍サイクル装置
JP2003254641A (ja) * 2002-02-28 2003-09-10 Showa Denko Kk 冷凍システム、冷凍サイクル用凝縮装置及びその装置の冷媒出口構造
JP2004361019A (ja) * 2003-06-05 2004-12-24 Sharp Corp 空気調和機
JP2006284074A (ja) * 2005-03-31 2006-10-19 Sanyo Electric Co Ltd 冷却装置の制御装置
JP2007255730A (ja) * 2006-03-20 2007-10-04 Mitsubishi Electric Corp 空気調和機
JP2014119150A (ja) * 2012-12-14 2014-06-30 Sharp Corp 空気調和機

Cited By (3)

* Cited by examiner, † Cited by third party
Publication number Priority date Publication date Assignee Title
CN112204334A (zh) * 2018-06-29 2021-01-08 三电汽车空调系统株式会社 热交换器、车辆用空气调节装置
CN109539614A (zh) * 2018-11-09 2019-03-29 珠海格力电器股份有限公司 一种空调系统及其能量调节方法
CN109539614B (zh) * 2018-11-09 2019-10-18 珠海格力电器股份有限公司 一种空调系统及其能量调节方法

Also Published As

Publication number Publication date
DE112017003778T5 (de) 2019-04-18
US10989447B2 (en) 2021-04-27
JP6623962B2 (ja) 2019-12-25
JP2018017427A (ja) 2018-02-01
CN109477668B (zh) 2021-03-30
CN109477668A (zh) 2019-03-15
US20190154311A1 (en) 2019-05-23

Similar Documents

Publication Publication Date Title
US11299014B2 (en) Refrigeration cycle device
CN108369042B (zh) 制冷循环装置
US11498391B2 (en) Air conditioner
CN111278670B (zh) 车辆用热管理系统
CN104781627B (zh) 热交换器
JP6623962B2 (ja) 冷凍サイクル装置
US10759257B2 (en) Refrigeration cycle device
JP6201434B2 (ja) 冷凍サイクル装置
CN103282735B (zh) 制冷剂散热器
CN110997369B (zh) 制冷循环装置
US20170197490A1 (en) Refrigeration cycle device
WO2018042859A1 (ja) 冷凍サイクル装置
WO2019031123A1 (ja) 空調装置
WO2017098795A1 (ja) 冷凍サイクル装置
JP2020076566A (ja) 冷凍サイクル装置
WO2024053334A1 (ja) 冷凍サイクル装置
WO2017010239A1 (ja) 冷凍サイクル装置
CN115735086A (zh) 制冷循环装置

Legal Events

Date Code Title Description
121 Ep: the epo has been informed by wipo that ep was designated in this application

Ref document number: 17834091

Country of ref document: EP

Kind code of ref document: A1

122 Ep: pct application non-entry in european phase

Ref document number: 17834091

Country of ref document: EP

Kind code of ref document: A1