WO2018003417A1 - ヘッドレスト装置 - Google Patents

ヘッドレスト装置 Download PDF

Info

Publication number
WO2018003417A1
WO2018003417A1 PCT/JP2017/020849 JP2017020849W WO2018003417A1 WO 2018003417 A1 WO2018003417 A1 WO 2018003417A1 JP 2017020849 W JP2017020849 W JP 2017020849W WO 2018003417 A1 WO2018003417 A1 WO 2018003417A1
Authority
WO
WIPO (PCT)
Prior art keywords
headrest
gear
backrest
shaft
arm
Prior art date
Legal status (The legal status is an assumption and is not a legal conclusion. Google has not performed a legal analysis and makes no representation as to the accuracy of the status listed.)
Ceased
Application number
PCT/JP2017/020849
Other languages
English (en)
French (fr)
Japanese (ja)
Inventor
水谷 元
Current Assignee (The listed assignees may be inaccurate. Google has not performed a legal analysis and makes no representation or warranty as to the accuracy of the list.)
Takara Belmont Corp
Original Assignee
Takara Belmont Corp
Priority date (The priority date is an assumption and is not a legal conclusion. Google has not performed a legal analysis and makes no representation as to the accuracy of the date listed.)
Filing date
Publication date
Application filed by Takara Belmont Corp filed Critical Takara Belmont Corp
Publication of WO2018003417A1 publication Critical patent/WO2018003417A1/ja
Anticipated expiration legal-status Critical
Ceased legal-status Critical Current

Links

Images

Classifications

    • AHUMAN NECESSITIES
    • A47FURNITURE; DOMESTIC ARTICLES OR APPLIANCES; COFFEE MILLS; SPICE MILLS; SUCTION CLEANERS IN GENERAL
    • A47CCHAIRS; SOFAS; BEDS
    • A47C1/00Chairs adapted for special purposes
    • A47C1/04Hairdressers' or similar chairs, e.g. beauty salon chairs
    • A47C1/10Hairdressers' or similar chairs, e.g. beauty salon chairs with head-rests; with paper holders
    • AHUMAN NECESSITIES
    • A47FURNITURE; DOMESTIC ARTICLES OR APPLIANCES; COFFEE MILLS; SPICE MILLS; SUCTION CLEANERS IN GENERAL
    • A47CCHAIRS; SOFAS; BEDS
    • A47C7/00Parts, details, or accessories of chairs or stools
    • A47C7/36Supports for the head or the back
    • A47C7/38Supports for the head or the back for the head, e.g. detachable
    • AHUMAN NECESSITIES
    • A61MEDICAL OR VETERINARY SCIENCE; HYGIENE
    • A61GTRANSPORT, PERSONAL CONVEYANCES, OR ACCOMMODATION SPECIALLY ADAPTED FOR PATIENTS OR DISABLED PERSONS; OPERATING TABLES OR CHAIRS; CHAIRS FOR DENTISTRY; FUNERAL DEVICES
    • A61G15/00Operating chairs; Dental chairs; Accessories specially adapted therefor, e.g. work stands
    • A61G15/10Parts, details or accessories
    • A61G15/12Rests specially adapted therefor, e.g. for the head or feet

Definitions

  • the present invention relates to a headrest device provided in a chair used in, for example, a barber / beauty facility or a medical facility.
  • a chair on which a patient is seated when performing treatment at a hairdressing facility or a medical facility has a mechanism for adjusting the headrest to various positions and angles according to the posture of the patient.
  • a mechanism for adjusting the headrest to various positions and angles according to the posture of the patient there is a height and angle adjustment device for a headrest of a treatment chair described in Patent Document 1 below.
  • This device has a headrest connected to a backrest via a headrest support.
  • the headrest support is in the form of a long straight line with gear shafts at both ends.
  • This gear shaft is provided with its axis directed in the lateral width direction of the headrest. Therefore, the headrest is disposed at a position where the angle changes with respect to the backrest with the gear shaft as an axis and is lowered forward by the length of the headrest support.
  • the headrest whose position is adjusted is stopped by the gear fixed to the gear shaft. More specifically, the gear is a crown gear having a gear shaft as an axis, and is coaxially facing another gear which is another crown gear engaged with the gear.
  • an operation lever is connected to the gear shaft, and when the operation lever is pressed, the gear shaft moves back and forth in the axial direction, and the gears are engaged or separated. That is, when the operation lever is not operated and the gears are engaged with each other, the rotation of the gear shaft is restricted, so that the movement of the headrest stops. On the other hand, when the operation lever is operated to move the gear shaft and the gears are separated from each other, the gear shaft can be freely rotated, so that the position of the headrest is freely changed.
  • the operation lever has a longitudinal linear shape like the headrest support, and is provided on the headrest support.
  • the gears are coaxially facing each other, and the gears are engaged or separated from each other. Since the position of the headrest is adjusted, backlash is required as gear play.
  • the operation lever since the operation lever has a longitudinal linear shape like the headrest support, the gears may not be appropriately engaged depending on the pressed position. That is, if the operating lever is pushed straight from the gear shaft, the gear moves straight and the gears engage with each other, but if the operating lever is pushed at a position away from the gear shaft, the gear is pushed. As a result, the applied external force does not act straight on the shaft, and the gear may be eccentric. In this case, a large backlash is required for the gear eccentricity. If the backlash is large, the gears may not be properly engaged with each other, and the backlash may increase.
  • an object of the present invention is to provide a headrest device that can reduce backlash.
  • a headrest device is a headrest in which a chair backrest and a headrest are connected via a connecting portion, and the headrest is operated with respect to the backrest via the connecting portion.
  • the connecting portion is configured by a first gear and a second gear meshing on the same axis, and the interval between the tooth portions of the first gear is formed narrower on the other side than one side on the shaft, The width of the tooth portion of the second gear is formed narrower on the other side than one side on the shaft, and the locked state in which the headrest is stopped by engaging the first gear and the second gear;
  • An operation unit for selecting a release state in which the headrest is operated by separating the first gear and the second gear is disposed away from the axis.
  • the headrest device according to the present invention is characterized in that the first gear is an external gear and the second gear is an internal gear.
  • the first gear is an internal gear whose other side is reduced in diameter from one side
  • the second gear is an external gear whose other side is reduced in diameter from one side. It is characterized by that.
  • the inner gear is formed on one of the backrest and the headrest, and the other is an engagement support portion that engages the other side of the external gear on the shaft.
  • the external gear is engaged with the engagement support portion and the internal gear in the locked state, and is separated from the internal gear in the release state and is engaged with the engagement support portion.
  • the first gear is formed on one of the backrest and the headrest, and the other is engaged with one side of the second gear on the shaft.
  • a support portion is formed, and the second gear is engaged with the engagement support portion and the first gear in the locked state, and is separated from the first gear in the released state, and the engagement It is characterized by being engaged with the joint support part.
  • the first gear of the backrest side connecting portion is formed on either one of the backrest portion or one end of the arm portion, and on the other side of the backrest side connecting portion, A back-side engagement support portion that engages with one side of the second gear of the back-side coupling portion on the shaft is formed, and the first gear of the headrest-side coupling portion is the other of the headrest or the arm portion.
  • a headrest side engagement support portion that is formed on either one of the end portions and engages with one side of the second gear of the headrest side coupling portion on the axis of the headrest side coupling portion is formed on either one of the ends. It is characterized by that.
  • the headrest device is characterized in that an elastic member is provided on the shaft, is in the locked state by the elastic force of the elastic member, and is in the released state by operation of the operation unit.
  • the headrest device according to the present invention is characterized in that the operation portion is provided in the arm portion.
  • the headrest device according to the present invention is characterized in that the arm portion is formed longer than a linear distance between the backrest side connecting portion and the headrest side connecting portion.
  • the headrest device has the above-described configuration. That is, the first gear is formed with one side wide and the other side narrow in the interval (pitch) between the first tooth portions that are teeth of the first gear, and the second tooth portion that is the teeth of the second gear. The same applies to the width of. Therefore, the backlash is formed on the other side of each gear, and the backlash is gradually reduced toward the one side. With this configuration, when the second gear is engaged with the first gear at the connecting portion, it is easily engaged by backlash on one side, and then firmly engaged on the other side. Therefore, backlash can be minimized and rattling can be prevented.
  • the operation unit since the operation unit is disposed at a position away from the shaft, even if the gear is eccentric when the operation unit is operated, the second gear is changed to the first gear at the connection unit. When engaged, it is easily engaged by backlash on one side and then firmly engaged on the other side. Therefore, backlash can be minimized even if the operation unit is arranged away from the axis, and rattling can be prevented.
  • the first gear is an external gear and the second gear is an internal gear.
  • the external gear in the interval (pitch) between the external gear teeth that are the teeth of the external gear, one side is formed wide and the other side is formed narrow, and the same applies to the width of the internal gear that is the teeth of the internal gear. . Therefore, the backlash is formed on the other side of each gear, and the backlash is gradually reduced toward the one side. With this configuration, when the external gear engages with the internal gear at the connecting portion, it is easily engaged by backlash on one side, and then firmly engaged on the other side. Therefore, backlash can be minimized and rattling can be prevented.
  • the headrest device includes an internal gear whose other side has a smaller diameter than one side, and an external gear whose other side has a smaller diameter than one side. That is, the internal gear that is the first gear and the external gear that is the second gear are formed in a tapered shape from one side to the other side. Therefore, backlash can be minimized and rattling can be prevented.
  • the first gear is formed on one of the backrest and the headrest, and the other side is formed with an engagement support portion that engages with one side of the second gear on the shaft.
  • the second gear is engaged with the engagement support portion and the first gear in the locked state, and is separated from the first gear and engaged with the engagement support portion in the released state. That is, the engagement support portion is disposed coaxially with the first gear and the second gear. Therefore, on the shaft, the second gear engages with the first gear and the engagement support portion to be in a locked state, and the first gear and the engagement support portion rotate relatively on the shaft. Regulated by the second gear. That is, the relative angle on the axis of the backrest and the headrest is fixed.
  • the headrest can be freely operated in the released state, while the headrest can be prevented from rattling in the locked state.
  • the headrest device includes an arm portion between the backrest portion and the headrest, and includes a backrest side connecting portion that connects one end portion of the arm portion and the backrest portion, and the other end portion of the arm portion and the headrest.
  • the headrest side connection part to connect is provided.
  • the first gear of the backrest side connecting portion is formed on either the backrest portion or one end of the arm portion, and on the other side, the backrest side on the axis of the backrest side connecting portion
  • a backrest side engagement support portion that engages with one side of the second gear of the connecting portion is formed, and the first gear of the headrest side connecting portion is formed on either one of the headrest or the other end portion of the arm portion.
  • a headrest side engagement support portion that engages with one side of the second gear of the headrest side connection portion on the axis of the headrest side connection portion is formed.
  • the second gear engages with the first gear and the backrest side engaging support portion so that the backrest side connecting portion is locked, and similarly, the shaft of the headrest side connecting portion is In the upper part, the second gear engages with the first gear and the headrest-side engagement support portion, so that the headrest-side connection portion is locked. Accordingly, the second gear restricts the first gear and each engagement support portion from rotating relative to each other on the shaft. That is, the relative angle on the axis between the backrest and the arm is fixed, and similarly, the relative angle on the axis between the headrest and the arm is fixed.
  • the second gear when the second gear is separated from the first gear on the shaft of the back side coupling portion, the second gear is released, and the first gear and the back side engagement support portion rotate relatively freely on the shaft.
  • the second gear separates from the first gear on the shaft of the headrest side coupling portion to be released, and the first gear and the headrest side engagement support portion rotate relatively freely on the shaft. . Therefore, the headrest and the arm portion can be freely operated in the released state, while the headrest and the arm portion can be prevented from rattling in the locked state.
  • the headrest device is provided with an elastic member on the shaft, is locked by the elastic force of the elastic member, and is released by operation of the operation unit. That is, in the released state, an external force acts on the operation portion against the elastic force of the elastic member, and the first gear and the second gear are separated, whereas in the locked state, the first force is applied by the elastic force of the elastic member. The gear and the second gear are engaged. Accordingly, the unlocked state can be set only when the operation unit is operated in the locked state.
  • the operation part is provided in the arm part. Therefore, the practitioner can grasp the arm part with one hand and operate the operation part.
  • the arm portion is formed longer than the linear distance between the backrest side coupling portion and the headrest side coupling portion. That is, the arm portion has a shape that bypasses the linear distance between the backrest side coupling portion and the headrest side coupling portion, and is not linear.
  • the arm portion and the headrest are combined, a gap is created between the arm portion and the headrest by the amount of detour, so the practitioner matched the arm portion and the headrest while holding the arm portion. At that time, the practitioner's hand enters the gap. Therefore, it is possible to prevent the practitioner from putting his hand between the arm portion and the headrest.
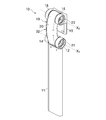
  • the appearance of the headrest device concerning a first embodiment of the present invention is shown, (a) is the back perspective view seen from back, and (b) is the right side view seen from one side.
  • the external appearance of the process of operating the headrest of the headrest device according to the first embodiment of the present invention is shown, (a) is a rear perspective view, and (b) is a right side view.
  • operates is shown, (a) is a rear perspective view, (b) is a right view. It is a back perspective view of the important section of the headrest device concerning a first embodiment of the present invention.
  • FIG. 3 is a BB rear cross-sectional view of the main part of the headrest device according to the first embodiment of the present invention in a locked state.
  • FIG. 5 is a BB rear cross-sectional view of the main part of the headrest device according to the first embodiment of the present invention in a released state.
  • the principal part of the headrest device concerning a second embodiment of the present invention is shown, (a) is a front perspective view in the state where the headrest was attached, and (b) is a front perspective view in the state where the headrest was removed. It is a disassembled perspective view of the principal part of the headrest apparatus concerning a second embodiment of the present invention.
  • the locked state in the principal part of the headrest device concerning a second embodiment of the present invention is shown, (a) is a left side view, and (b) is a CC front sectional view. It is a back perspective view of the important section of the headrest device concerning a third embodiment of the present invention. It is a disassembled perspective view of the principal part of the headrest apparatus concerning a third embodiment of the present invention.
  • the principal part of the headrest device concerning a third embodiment of the present invention is shown, (a) is a rear view, and (b) is a DD side sectional view.
  • FIG. 10 is a GG rear cross-sectional view of a main part of a headrest device according to a fourth embodiment of the present invention in a locked state.
  • FIG. 10 is a GG rear cross-sectional view of a main part of a headrest device according to a fourth embodiment of the present invention in a released state.
  • the front side of the chair 1 is the front side
  • the back side opposite to the front side is the rear side
  • the height of the chair 1 is the upper and lower sides
  • the side is the right side and the other side is the left side.
  • the front side of the chair 1 may be the rear side
  • the back side may be the front side
  • one side of the width of the chair 1 may be the left side
  • the other side may be the right side.
  • the chair 1 includes a base 2 installed on the installation surface and a seat on which the patient (not shown) sits on the base 2.
  • Part 3 a leg rest part 4 connected to the front end of the seat part 3 and directed downward, a backrest part 5 connected to the rear end of the seat part 3 and raised upward,
  • the headrest 6 is mounted above the backrest portion 5 and the arm portion 19 is connected to the backrest portion 5 and the headrest 6.
  • the headrest device 10 according to the first embodiment of the present invention operates the headrest 6 with respect to the backrest portion 5 via the arm portion 19.
  • a connecting portion is formed at each end of the arm portion 19, and the headrest 6 is operated via the connecting portion.
  • the headrest 6 is disposed at a low position above the backrest 5 by descending to the front side of the backrest 5.
  • FIG. 4 shows an appearance of the headrest device 10 according to the first embodiment of the present invention
  • FIG. 5 shows an exploded view of the headrest device 10
  • FIG. 6 shows an appearance and a cross section of the headrest device 10. ing.
  • the headrest device 10 includes the following parts. That is, the backrest side engagement support part 12 that is a part of the backrest part 5, the headrest side engagement support part 16 that is a part of the headrest 6, the backrest side engagement support part 12, and the headrest side engagement support part 16.
  • the headrest device 10 includes the operation unit 32 for selecting a state.
  • the backrest side axis X 1 is a rotation axis when the arm portion 19 rotates relative to the backrest portion 5
  • the headrest side axis X 2 is the rotation when the headrest 6 rotates relative to the arm portion 19. Is the axis.
  • the back side engagement support portion 12 is formed in an annular shape with the left-right direction as an axis, and a back side supporting internal gear 13 is formed on the inner periphery.
  • the diameter of the back support inner gear 13 is constant in the axial direction.
  • a protrusion 7 a that protrudes inward is formed on the upper side of the inner periphery of the back support inner gear 13.
  • Back-side annular supporting portion 14 facing the backrest side engaging supports 12 are spaced between aligned on the back side engaging supports 12 and the backrest side shaft X 1.
  • Each of the support portions 12 and 14 on the backrest side is formed at the upper end of the support main body portion 11 that is formed longitudinally in the vertical direction, and the backrest side engagement support portion 12 is arranged close to the right end, and the backrest side annular shape
  • the support part 14 is arranged close to the left end.
  • the support main body 11 is attached to the backrest 5, and the height of the support main body 11 is freely adjusted up and down with respect to the backrest 5.
  • the headrest side engagement support portion 16 is formed in an annular shape with the left-right direction as an axis, and a headrest side support internal gear 17 is formed on the inner periphery.
  • the diameter of the headrest side supporting internal gear 17 is constant in the axial direction.
  • the rear side is formed with a protrusion 7 b that protrudes inward.
  • the headrest-side annular support portion 18 facing the headrest-side engagement support portion 16 is arranged on the headrest-side engagement support portion 16 and the headrest-side axis X 2 with a space therebetween.
  • Each of the headrest side support portions 16 and 18 is formed on the upper side of the rear surface side of the support plate portion 15 formed in a substantially square plate shape, and the headrest side engagement support portion 16 is arranged close to the right end.
  • the headrest side annular support portion 18 is arranged close to the left side.
  • the support plate portion 15 is attached to the rear surface of the headrest 6.
  • the inner periphery of the backrest side engagement support part 12 and the headrest side engagement support part 16 is not limited to the internal gears 13 and 17 for support, for example, as a second gear to be described later, such as a single or a plurality of irregularities. Any shape that engages with the external gear 27 can be used.
  • the arm portion 19 is formed with a gripping portion 20 that is thick enough for a practitioner (not shown) to grip it with one hand, and a backrest side connecting portion 21 is formed at the lower end of the gripping portion 20 to hold the arm portion 19.
  • a headrest side connecting portion 23 is formed at the upper end of the portion 20.
  • the length of the arm portion 19 is longer than the linear distance Y between the backrest side connecting portion 21 and the headrest side connecting portion 23 (see FIG. 6C). That is, the arm portion 19 has a curved shape projecting in an arc shape toward the rear.
  • the arm portion 19 may have a “B” -shaped shape or a “U” -shaped rectangle. From the viewpoint of design, the arm portion 19 is preferably curved. Further, the arm portion 19 is formed with such a length that the headrest 6 is disposed at a sufficiently low position above the backrest portion 5 when the headrest 6 is operated.
  • the backrest side connecting portion 21 is composed of an internal gear 25a as a first gear and an external gear 27a as a second gear that mesh with each other on the backrest axis X1.
  • the internal gear 25 a is formed on the inner periphery of the backrest side hole 22 penetrating in the left-right direction at the lower end of the arm portion 19.
  • the internal gear 25a has different diameters on the left and right sides. That is, the internal gear 25a, rather than the right, which is one side of the backrest side axis X 1, reduced diameter is more left which is the other side, gradually inclined toward the back side shaft X 1 toward the left Taper shape (see FIGS. 7 and 8).
  • the interval of internal teeth portion 26a is a tooth of the internal gear 25a (pitch) is gradually narrower toward the left, toward the left is narrower than the right in the back side axis X on 1 ing.
  • the external gear 27a includes a support external tooth portion 28a formed on the right side and an engagement external tooth portion 29a connected to the left side of the support external tooth portion 28a.
  • a cylindrical shaft-shaped portion 30a is connected to the left of the portion 29a.
  • the diameter of the supporting outer teeth 28a is constant in the axial direction of the backrest side shaft X 1.
  • the interval of the external teeth portion 31a is a tooth of the external gear 27a (pitch) is gradually narrower toward the left, toward the left is narrower than the right side on the back side axis X 1 ing.
  • an upper side is formed with a groove 8a that is recessed inward.
  • the supporting external tooth portion 28a may be any shape as long as it has a shape that engages with the back side support internal gear 13 of the back side engagement support portion 12, such as a single or a plurality of irregularities. If the external tooth portion 31a has the same shape as the engaging external tooth portion 29a, the supporting external tooth portion 28a is preferable because it is easy to mold.
  • the headrest side connecting portion 23 is composed of an internal gear 25b and an external gear 27b that mesh with each other on the headrest side axis X2.
  • the internal gear 25 b is formed on the inner periphery of the headrest side hole 24 penetrating in the left-right direction at the upper end of the arm portion 19.
  • the internal gear 25b has different diameters on the left and right sides. That is, the internal gear 25b, rather than the right, which is one side of the head rest side shaft X 2, and reduced in diameter toward the left is the other side, gradually inclined toward the headrest side shaft X 2 toward the left Taper shape (see FIGS. 7 and 8).
  • the spacing of the teeth in a internal toothed portion 26b of the internal gear 25b (pitch) is gradually narrower toward the left, toward the left is narrower than the right side on the headrest side shaft X 2 ing.
  • the external gear 27b is composed of a support external tooth portion 28b formed on the right side and an engagement external tooth portion 29b connected to the left side of the support external tooth portion 28b.
  • a cylindrical shaft portion 30b is connected to the left of the portion 29b.
  • the diameter of the supporting outer teeth 28b is constant in the axial direction of the headrest side shaft X 2.
  • the interval of the external teeth portion 31b is a tooth of the external gear 27b (pitch) is gradually narrower toward the left, toward the left is narrower than the right side on the headrest side shaft X 2 ing.
  • a groove 8b that is recessed inward is formed on the rear side.
  • the supporting external tooth portion 28b is arbitrary as long as it has a shape that engages with the headrest-side support internal gear 17 of the headrest-side engagement support portion 16, such as a single or a plurality of irregularities. If the external tooth part 31b has the same shape as the engaging external tooth part 29b, the supporting external tooth part 28b is preferable because it is easy to mold.
  • the operation portion 32 is formed following the shape of the left side surface of the arm portion 19 and attached to the left side surface of the arm portion 19. That is, it is a curved shape projecting in an arc shape toward the rear.
  • the operation unit 32 may be a “B” -shaped shape or a “U” -shaped rectangle depending on the shape of the arm unit 19.
  • the operation portion 32 is formed with an operation pressing portion 33 at a position corresponding to the grip portion 20 of the arm portion 19, and the lower end of the operation pressing portion 33 shields the backrest side hole 22 on the right side.
  • a backrest side pressing portion 34 that fits in the backrest side annular support portion 14 is formed.
  • the upper end of the arm portion 19 is formed with a headrest side pressing portion 35 that shields the headrest side hole 24 on the right side and fits in the headrest side annular support portion 18 on the left side.
  • elastic members 36 a and 36 b are disposed between the operation unit 32 and the arm unit 19.
  • the elastic member 36a, b are disposed respectively on the backrest side shaft X 1 and on the headrest side shaft X 2, the backrest side connecting portion 21 of the backrest-side pressing portion 34 and the arm portion 19 of the operation portion 32 Similarly, it is arranged between the headrest side pressing part 35 of the operation part 32 and the headrest side connecting part 23 of the arm part 19.
  • the elastic members 36a and 36b are, for example, coil springs or the like, but may be a plate spring or an elastically deformable resin as long as it has a function of separating the operation unit 32 from the arm unit 19 on each of the axes X 1 and X 2. . From the viewpoint of simplicity of configuration, the elastic members 36a and 36b are preferably coil springs.
  • FIG. 7 shows a cross section of the headrest device 10 according to the first embodiment of the present invention.
  • the operation unit 32 is attached to the left side of the arm unit 19 via the elastic members 36 a and 36 b.
  • the elastic member 36a is locked to the left end of the internal gear 25a of the back side coupling portion 21 and is sandwiched between the internal gear 25a and the back side pressing portion 34 in a compressed state.
  • the elastic member 36b is locked to the left end of the internal gear 25b of the headrest side connecting portion 23 and is sandwiched between the internal gear 25b and the headrest side pressing portion 35 in a compressed state.
  • the lower end of the arm portion 19 is disposed between the backrest side engagement support portion 12 and the backrest side annular support portion 14, and the upper end of the arm portion 19 is the headrest side engagement support portion 16 and the headrest side annular shape. It arrange
  • FIG. To the gear 25a and the backrest side engaging supports 12 inner aligned on back side shaft X 1, is inserted the external gear 27a from the right side, the internal gear 25a and the backrest side support for the gear 13 and the external gear 27a Engage.
  • the connecting shaft member 37a penetrates from the right side of the external gear 27a and is fastened to the backrest side pressing portion 34.
  • the gear 25b and the headrest side engaging supports 16 inner aligned on headrest side shaft X 2 is inserted the external gear 27b from the right side, to the internal gear 25b and the headrest in a side support wheel 17
  • the external gear 27b is engaged.
  • the connecting shaft member 37 b penetrates from the right side of the external gear 27 b and is fastened to the headrest side pressing portion 35.
  • the operation pressing portion 33 of the operation portion 32 is arranged away from the backrest side axis X 1 and the headrest side axis X 2 .
  • the upper backrest side shaft X 1 is arranged backrest side pressing portion 34 of the operation unit 32, on the headrest side shaft X 2, since the headrest side pressing portion 35 of the operation portion 32 is disposed, An operation pressing portion 33 is disposed between the axes X 1 and X 2 .
  • the headrest device 10 As described above, the headrest device 10 according to the first embodiment is configured.
  • FIG. 7 illustrates a locked state in which the headrest 6 is stopped due to the engagement of the internal gears 25a and 25b and the external gears 27a and b among the changing states of the headrest device 10 according to the first embodiment of the present invention.
  • FIG. 8 is an enlarged view of the release state in which the headrest 6 is activated by the separation of the internal gears 25a and 25b and the external gears 27a and 27b.
  • the operation unit 32 is pushed leftward by the elastic force (restoring force) of the compressed elastic members 36 a and 36 b. Since the external gears 27a, b are connected to the backrest side pressing part 34 and the headrest side pressing part 35 via the connecting shaft members 37a, 37b, they are brought to the left together with the operation part 32. In this state, the external gears 27a and 27b are engaged with the external gears 29a and 29b for engagement with the internal gears 25a and 25b, and the external gears for support 28a and b are the back support internal gear 13 and the headrest. The side support internal gear 17 is engaged.
  • the arm portion 19 is structured to rotate with respect to the backrest side engagement support portion 12.
  • the arm portion 19 includes an internal gear 25 a of the arm portion 19 and a backrest side support internal gear 13 of the backrest side engagement support portion 12.
  • An external gear 27a is interposed between the external gear 27a and the external gear 27a is engaged with the internal gear 25a and the back support internal gear 13.
  • the headrest 6 headrest side engagement support portion 16
  • the headrest of the internal gear 25b of the arm portion 19 and the headrest side engagement support portion 16 is locked.
  • An external gear 27 b is interposed between the side support internal gear 17 and the external gear 27 b is engaged with the internal gear 25 b and the headrest side support internal gear 17. Therefore, the operation of the arm portion 19 and the headrest 6 is restricted.
  • the operation pressing portion 33 of the operation portion 32 is pushed rightward, and the operation portion 32 is pushed into the arm portion 19 to change to the release state. More specifically, as shown in FIG. 8, when the operating portion 32 is pushed against the restoring force of the elastic members 36a, 36b, the external gears 27a, 27b move to the right together with the operating portion 32. It is done. At that time, the external gears 27a and 27b are engaged with the external gears 27 and 17 and the external gears 28a and b are engaged with the internal gears 13 and 17, respectively. It moves rightward along each supporting internal gear 13 and 17 as it is.
  • the external gear 27a interposed between the internal gear 25a and the back support inner gear 13 in the locked state moves away from the internal gear 25a by moving to the back support internal gear 13 side, It is engaged only with the back support internal gear 13.
  • the external gear 27b interposed between the internal gear 25b and the headrest side support internal gear 17 in the locked state moves away from the internal gear 25b by moving to the headrest side support internal gear 17 side, and the headrest Only the side supporting internal gear 17 is engaged. Therefore, the arm portion 19 operates with respect to the backrest side engagement support portion 12, and the headrest 6 (headrest side engagement support portion 16) also operates with respect to the arm portion 19.
  • the operation unit 32 is released to change to the locked state again.
  • the operation unit 32 is pushed and moved to the left by the restoring force of the elastic members 36 a and b.
  • the external gears 27a and 27b move to the left along the supporting internal gears 13 and 17 while the supporting external gear portions 28a and 28b are engaged with the supporting internal gears 13 and 17,
  • the engaging external teeth 29a, b are engaged with the internal gears 25a, 25b.
  • the internal gears 25a and 25b are formed so that the interval (pitch) between the internal gear portions 26a and 26b is gradually narrowed toward the left, and the left side is more right than the right side on each of the axes X 1 and X 2.
  • the headrest device 10 As described above, the headrest device 10 according to the first embodiment operates.
  • the headrest 6 of the headrest device 10 As shown in FIG. 1, the headrest 6 is disposed at the highest position with respect to the backrest portion 5. In this state, the headrest 6 and the arm portion 19 face each other and are close to each other, but a gap is provided between the arm portion 19 and the support plate portion 15 (or the headrest 6) as much as the arm portion 19 is curved. Has occurred (see FIG. 6C).
  • the headrest 6 is disposed at a lower position than the backrest portion 5. Since the arm portion 19 is curved, the arm portion 19 is disposed at a lower position than when the arm portion 19 is formed on a straight line.
  • the backrest side connecting portion 21 and the headrest-side connecting portion 23 from each respective axes X 1, X internal gear 25a that meshes 2 over at, b and the external gear 27a, and b It is configured.
  • the internal gears 25a and 25b have a tapered shape in which the left side is smaller than the right side on the respective axes X 1 and X 2 and is gradually inclined toward the backrest side axis X 1 toward the left side.
  • the interval (pitch) between the internal teeth portions 26a and 26b, which are the teeth of the internal gears 25a and 25b, is gradually narrowed toward the left, and is smaller than that on the right on the respective axes X 1 and X 2.
  • each gear 25a, b, 27a, b is formed with a backlash on the right side and gradually reduced in the back side.
  • the tooth portions 29a and b are firmly engaged with the internal gears 25a and 25b. Therefore, backlash between the external gears 27a, b and the internal gears 25a, b in the locked state is minimized, and rattling between the external gears 27a, b and the internal gears 25a, b can be prevented.
  • the upper backrest side shaft X 1 is arranged backrest side pressing portion 34 of the operation unit 32, on the headrest side shaft X 2, since the headrest side pressing portion 35 of the operation unit 32 is arranged, the axes An operation pressing portion 33 is disposed between X 1 and X 2 .
  • the external gears 27a and 27b are interposed between the internal gears 25a and 25b of the arm portion 19 and the support internal gears 13 and 17 of the engagement support portions 12 and 16, respectively.
  • the external gears 27a and 27b are engaged with the internal gears 25a and 25b and the supporting internal gears 13 and 17, respectively. Therefore, the operation of the arm portion 19 and the headrest 6 is restricted.
  • the external gears 27a and 27b interposed between the internal gears 25a and 25b and the supporting internal gears 13 and 17 in the locked state move to the supporting internal gears 13 and 17, respectively. Thus, it is separated from the internal gears 25a, 25b and engages only with the supporting internal gears 13, 17.
  • the arm portion 19 operates with respect to the respective engagement support portions 12 and 16, and the headrest 6 (headrest engagement support portion 16) also operates with respect to the arm portion 19. Therefore, the arm portion 19 and the headrest 6 can be freely operated in the released state, while rattling of the arm portion 19 and the headrest 6 can be prevented in the locked state.
  • the elastic members 36a and 36b are arranged on the axes X 1 and X 2 , respectively, and the back side pressing portion 34 of the operation unit 32 and the back side connecting portion 21 of the arm unit 19 are connected. Similarly, it is arranged between the headrest side pressing part 35 of the operation part 32 and the headrest side connecting part 23 of the arm part 19.
  • the operation unit 32 is pushed and moved to the left by the restoring force of the elastic members 36a and 36b.
  • the external gears 27a and 27b move to the left along the supporting internal gears 13 and 17 while the supporting external gear portions 28a and 28b are engaged with the supporting internal gears 13 and 17,
  • the engaging external teeth 29a, b are engaged with the internal gears 25a, 25b. Therefore, the unlocked state can be set only when the operation unit 32 is operated in the locked state.
  • the arm portion 19 is formed with a grip portion 20 that is thick enough to be held by a practitioner with one hand, and the operation portion 32 has a shape on the left side surface of the arm portion 19. It is copied and attached to the left side surface of the arm portion 19. Accordingly, the practitioner can grasp the arm portion 19 with one hand and operate the operation portion 32.
  • the length of the arm portion 19 is longer than the linear distance Y between the backrest side coupling portion 21 and the headrest side coupling portion 23, and the arm portion 19 projects in an arc shape toward the rear. It is a curved shape.
  • the headrest device 10 As described above, the headrest device 10 according to the first embodiment is configured. Here, it is good also as the following structures as a modification of 1st embodiment.
  • the internal gear 25a of the backrest side connecting portion 21 is formed at the lower end of the arm portion 19, the backrest side engagement support portion 12 is formed on the backrest portion 5, while the headrest side
  • the internal gear 25b of the connecting portion 16 is formed at the upper end of the arm portion 19, and the headrest side engagement support portion 16 is formed on the headrest 6.
  • the inner gear of the backrest side connecting portion is formed in the backrest portion, and the backrest side engaging support portion is formed at the lower end of the arm portion, while the internal gear of the headrest side connecting portion is formed in the headrest, and the upper portion of the arm portion A headrest side engagement support portion is formed at the end.
  • external gears may be formed on the upper and lower ends of the arm portion, and internal gears may be formed on the engagement support portions 12 and 16.
  • FIG. 9 shows the appearance of the headrest device 210 according to the second embodiment of the present invention
  • FIG. 10 shows the headrest device 210 in an exploded state.
  • configurations different from those of the first embodiment are described, and descriptions of similar configurations are omitted as appropriate.
  • the backrest portion and the headrest are directly connected by a connecting portion without using an arm portion.
  • the backrest side engagement support portion 212 that is a part of the backrest portion, the headrest side engagement support portion 216 that is a part of the headrest 206, and the backrest side a connecting portion 221 for connecting the engagement supporting portion 212 and the headrest side engaging supports 216 on actuation shaft X 3, the locked state in which the headrest 206 is stopped, and for selecting the released state to operate the headrest 206
  • a headrest device 210 is configured from the operation unit 232.
  • actuation shaft X 3 is the rotational axis when the headrest 206 is rotated relative to the backrest.
  • the back-side engagement support portion 212 is formed in an annular shape with the left-right direction as an axis, and an internal gear 225 and a locking step portion 209 are formed on the inner periphery (see FIG. 11).
  • the diameter of the internal gear 225, a reduced diameter is left side than the right side of the operation shaft X 3, it is tapered to gradually inclined toward the operating shaft X 3 toward the left.
  • the locking step portion 209 protrudes from the inner periphery of the backrest side engagement support portion 212 toward the operation axis X 3 , so that the hole of the backrest side engagement support portion 212 is larger than the internal gear 225. It is narrowed.
  • the backrest side engagement support portion 212 is formed at the upper end of the support main body portion 211 that is formed in a longitudinal direction in the vertical direction, and is disposed substantially at the center.
  • the headrest side engagement support portion 216 is formed in an annular shape with the left-right direction as an axis, and a headrest side support internal gear 217 is formed on the inner periphery. The diameter of the headrest side supporting internal gear 217 is constant in the axial direction. Headrest side annular supporting portion 218 facing the headrest side engaging supports 216 are spaced between aligned on actuation shaft X 3 headrest side engaging supports 216. Each of the headrest side support portions 216 and 218 is formed at the lower end of the curved long neck portion 219, the headrest side engagement support portion 216 is arranged close to the right end, and the headrest side annular support portion 218 is on the left side. It is arranged close to.
  • positioned is opened.
  • a through hole (not shown) penetrating in the left-right direction is formed above the neck portion 219.
  • a support plate portion 215 formed in a flat plate shape is formed at the upper end of the neck portion 219, and is attached to the headrest 206 via the support plate portion 215. Note that the axis of the through hole and the through axis X 4.
  • the connecting portion 221 includes an internal gear 225 and an external gear 227 that mesh with each other on the operating axis X 3 . Since the external gear 227 has the same configuration as that of the first embodiment, description thereof is omitted.
  • the operation portion 232 is formed following the shape of the left side surface of the neck portion 219 and is attached to the left side surface of the neck portion 219.
  • the operation portion 232 has a backrest-side pressing shaft portion 234 formed at the lower end of the operation pressing portion 233 and a headrest-side pressing shaft portion 235 formed at the upper end. Each pressing shaft portion 233, 234 protrudes rightward.
  • the elastic member 236a is passed through a back-side pressing shaft portion 234 is disposed between the headrest-side annular supporting portion 218 on the actuating shaft X 3.
  • the elastic member 236b is passed through the headrest side pressing shaft portion 235 is disposed between the neck portion 219 on the through-shaft X 4.
  • FIG. 11 shows a side surface and a cross section of a headrest device 210 according to the second embodiment of the present invention.
  • the operation portion 232 is attached to the left side of the neck portion 219 via elastic members 236a and 236b. More specifically, the elastic members 236a and 236b are passed through the pressing shaft portions 233 and 235, respectively.
  • the bush member 203b is attached to the through hole of the neck portion 219 from the left side. In this state, on the operating shaft X 3 , the backrest side pressing shaft portion 234 is inserted into the headrest side annular support portion 218 on the left side, and the connecting ring member 204 is attached on the right side.
  • the backrest side engagement support portion 212 has the bush member 203a attached from the left side and the ring member 202 attached from the right side.
  • the backrest side engagement support member 212 is attached between the headrest side engagement support portion 216 and the headrest side annular support portion 218.
  • the headrest side engagement support member 216 is attached with an external gear 227 from the right side, and the connecting shaft member 237a is inserted into the external gear 227 from the right side.
  • the connecting shaft member 237a is connected to the backrest side pressing shaft portion 234.
  • the lid member 201a is attached to the headrest side engagement support member 216.
  • the connecting shaft member 237 b is inserted from the right side of the through hole and connected to the headrest side pressing shaft portion 235.
  • the lid member 201b is attached to the right side of the through hole. Since the operation is the same as that of the first embodiment, the description is omitted.
  • the headrest device 210 is configured.
  • the backrest portion and the headrest are directly connected by a connecting portion.
  • an internal gear is formed on the headrest, and the backrest side engagement support is provided on the backrest portion.
  • the structure in which the part was formed may be sufficient.
  • an internal gear may be formed in the operation unit, and an external gear may be formed in the headrest.
  • FIG. 12 shows the appearance of the headrest device 310 according to the third embodiment of the present invention
  • FIG. 13 and FIG. 14 show the headrest device 310 in an exploded state
  • FIG. 15 shows the appearance and cross section of the headrest device 310. It is shown.
  • configurations different from those of the first embodiment are described, and descriptions of similar configurations are omitted as appropriate.
  • the headrest device 310 is composed of the following parts. That is, the backrest side engagement support portion 312 which is a part of the backrest portion, the headrest side engagement support portion 316 which is a part of the headrest, the backrest side engagement support portion 312 and the headrest side engagement support portion 316.
  • headrest device 310 and 316 from the headrest side connecting portion 323 which connects on the headrest side shaft X 6 is not configured.
  • the external gear 327 b is formed on the right side in the headrest side pressing portion 335 that is the upper end of the arm portion 319.
  • the external gear 327b is constant in diameter on both sides of the left and right on the headrest side axis X 6, spacing of the external teeth portion 331b of the external gear 327b (pitch) is gradually narrower toward the left, Write left is narrower than the right side on the headrest side axis X 6.
  • the width of the outer tooth portion 331b is gradually wider toward the left, toward the left is wider than the right side on the headrest side axis X 6.
  • the internal gear 325 b is formed on the inner periphery of the headrest side engagement support portion 316.
  • Internal gear 325b is on both sides of the left and right in the headrest side axis X on 6 is a constant diameter, the width of the internal section 326b of the internal gear 325b is gradually narrower toward the left, the headrest-side axis X 6 The left side is narrower than the right side on 6 .
  • the interval of internal teeth 326b of the internal gear 325b (pitch) is gradually wider toward the left, toward the left is wider than the right side on the headrest side axis X 6.
  • the backrest side connecting portion 321 is composed of an external gear 327 a as a first gear and an internal gear 325 a as a second gear that mesh with each other on the headrest side axis X 5 . It is formed on the right side in the backrest side pressing portion 334 which is the lower end.
  • the configuration of the external gear 327a and the internal gear 325a is the same as that of the external gear 327b and the internal gear 325b.
  • the operation unit 332 is attached to the right side of the arm unit 319 via elastic members 336 a and 336 b.
  • the elastic member 336a, b are disposed respectively on the backrest side axis X 5 and on the headrest side shaft X 6 is disposed between the backrest side pressing portion 334 and the arm portion 319 of the operation unit 332, Similarly, it is disposed between the headrest side pressing portion 335 and the arm portion 319 of the operation portion 332.
  • the elastic members 336a and 336b are sandwiched between the arm portion 319 and the operation portion 332 in a compressed state.
  • the lower end of the arm portion 319 is disposed between the backrest side engagement support portion 312 and the backrest side annular support portion 314, and the upper end of the arm portion 319 is the headrest side engagement support portion 316 and the headrest side annular shape. It arrange
  • External gear 327a which is aligned on the back side shaft X 5 is engaged is inserted into the gear 325a from the left side.
  • the connecting shaft member 337 a penetrates the backrest side connecting portion 321 from the left side of the backrest side annular support portion 314 and is fastened to the backrest side engaging support portion 312.
  • External gears aligned on the headrest side axis X 6 327b and the internal gear 325b is similar.
  • FIG. 16 is an enlarged view of the locked state in which the headrest is stopped due to the engagement of the internal gears 325a and 327a and the external gears 327a and b among the changing states of the headrest device 310 according to the third embodiment of the present invention.
  • FIG. 17 is an enlarged view of the release state in which the headrest is activated by the separation of the internal gears 325a, b and the external gears 327a, b.
  • the pressing portions 334 and 335 of the operating portion 332 are pushed rightward by the elastic force (restoring force) of the compressed elastic members 336a and 336b, and the external gears 327a and 327b are It is engaged with gears 325a, b. Therefore, the operation of the arm portion 319 and the headrest is restricted.
  • the operation pressing portion 333 of the operation portion 332 is pushed leftward, and the operation portion 332 is pushed into the arm portion 319 to change to the release state. More specifically, as shown in FIG. 17, when the operating portion 332 is pushed against the restoring force of the elastic members 336a, b, the external gears 327a, b move to the left together with the pushing portions 334, 335. It is sent. At the same time, the outer gears 327a, b are separated from the inner gears 325a, b. Therefore, in the released state, the arm portion 319 operates with respect to the backrest side engagement support portion 312, and the headrest (headrest side engagement support portion 316) also operates with respect to the arm portion 319.
  • the operation unit 332 is released to change to the locked state again.
  • the operation unit 332 is pushed to the right by the restoring force of the elastic members 336a and 336b.
  • the internal gear 325a, b are internal teeth 326a, spacing b (pitch), gradually increases is formed toward the left, the left side than the right side in the axis X 5, X on 6 Widely formed.
  • the external gears 327a, b are easily engaged by backlash on the left side, and thereafter, the external gears 327a, b are firmly engaged with the internal gears 325a, b on the right side.
  • the external gear of the backrest side connecting portion is formed on the backrest portion
  • the internal gear is formed at the lower end of the arm portion
  • the external gear of the headrest side connecting portion is formed on the headrest.
  • An internal gear may be formed at the upper end of the arm portion.
  • FIG. 18 shows an appearance of a headrest device 410 according to the fourth embodiment of the present invention
  • FIG. 19 shows an exploded view of the headrest device 410
  • FIG. 20 shows an appearance and a cross section of the headrest device 410.
  • the headrest device 410 includes the following parts. That is, the backrest side engagement support part 412 which is a part of the backrest part, the headrest side engagement support part 416 which is a part of the headrest, the backrest side engagement support part 412 and the headrest side engagement support part 416.
  • headrest side connecting portion 423 which connects on the side axis X 8, the headrest apparatus 410 is configured.
  • the first crown gear 427 a is formed on the right side in the backrest side pressing portion 434 that is the lower end of the arm portion 419.
  • the first crown gear 427a, the first crown teeth spacing 431a of the first crown gear 427a (pitch), is gradually narrower toward the left, the left than the right side on the back side axis X 7 It is narrower. In other words, the width of the first crown teeth 431a is gradually wider toward the left, toward the left is wider than the right side on the back side axis X 7.
  • the second crown gear 425 a is formed on the inner periphery of the backrest side engagement support portion 412.
  • Second crown gear 425a the width of the second crown teeth 426a of the second crown gear 425a is gradually narrower toward the left, narrower left towards than the right on the back side axis X 7 Has been.
  • the interval of the second crown teeth 426a (pitch) is gradually wider toward the left, toward the left is wider than the right side on the back side axis X 7.
  • the configurations of the first crown gear 427b and the second crown gear 425b are the same as those of the first crown gear 427a and the second crown gear 425a.
  • the headrest device 410 As described above, the headrest device 410 according to the fourth embodiment is configured. In addition, about another structure, it is the same as 3rd embodiment.
  • FIG. 21 shows that the headrest is stopped because the first crown gears 427a and 427b and the second crown gears 425a and 425b are engaged in the changed state of the headrest device 410 according to the fourth embodiment of the present invention.
  • the locked state is shown in an enlarged manner
  • FIG. 22 shows the released state in which the headrest is operated due to the separation of the first crown gears 427a, b and the second crown gears 425a, b. .
  • the operating portion 432 is pushed rightward by the elastic force (restoring force) of the compressed elastic members 436a, b, and the first crown gears 427a, b are moved to the second crown gears 425a, 425a, is engaged with b. Therefore, the operation of the arm portion 419 and the headrest is restricted.
  • the operation unit 432 is released to change to the locked state again.
  • the operation unit 432 is pushed rightward by the restoring force of the elastic members 436a and 436b.
  • the left side is also widely formed.
  • the first crown gears 427a and 427b are easily engaged by backlash on the left side, and then the first crown gears 427a and 427 are firmly fixed to the second crown gears 425a and b on the right side. Engage.

Landscapes

  • Health & Medical Sciences (AREA)
  • General Health & Medical Sciences (AREA)
  • Oral & Maxillofacial Surgery (AREA)
  • Life Sciences & Earth Sciences (AREA)
  • Animal Behavior & Ethology (AREA)
  • Public Health (AREA)
  • Veterinary Medicine (AREA)
  • Dentistry (AREA)
  • Chair Legs, Seat Parts, And Backrests (AREA)
  • Chairs For Special Purposes, Such As Reclining Chairs (AREA)
  • Accommodation For Nursing Or Treatment Tables (AREA)
PCT/JP2017/020849 2016-06-28 2017-06-05 ヘッドレスト装置 Ceased WO2018003417A1 (ja)

Applications Claiming Priority (2)

Application Number Priority Date Filing Date Title
JP2016128207A JP6486869B2 (ja) 2016-06-28 2016-06-28 ヘッドレスト装置
JP2016-128207 2016-06-28

Publications (1)

Publication Number Publication Date
WO2018003417A1 true WO2018003417A1 (ja) 2018-01-04

Family

ID=60785194

Family Applications (1)

Application Number Title Priority Date Filing Date
PCT/JP2017/020849 Ceased WO2018003417A1 (ja) 2016-06-28 2017-06-05 ヘッドレスト装置

Country Status (3)

Country Link
JP (1) JP6486869B2 (enExample)
TW (1) TW201808173A (enExample)
WO (1) WO2018003417A1 (enExample)

Cited By (2)

* Cited by examiner, † Cited by third party
Publication number Priority date Publication date Assignee Title
CN114423392A (zh) * 2019-09-17 2022-04-29 奥齿泰种植体有限责任公司 诊疗椅
WO2025087660A1 (de) * 2023-10-24 2025-05-01 Scewo Ag Verstelleinrichtung

Families Citing this family (5)

* Cited by examiner, † Cited by third party
Publication number Priority date Publication date Assignee Title
KR102364722B1 (ko) * 2019-09-17 2022-02-18 오스템임플란트 주식회사 유니트 체어
KR102361807B1 (ko) * 2019-09-17 2022-02-11 오스템임플란트 주식회사 유니트 체어
KR102379526B1 (ko) * 2019-09-17 2022-03-28 오스템임플란트 주식회사 유니트 체어
FI128999B (en) * 2019-09-26 2021-04-30 Planmeca Oy CARE CHAIR HEAD RESTRAINT ADJUSTMENT MECHANISM
KR102778802B1 (ko) * 2023-01-26 2025-03-11 주식회사 메가젠임플란트 치과용 유니트 체어

Citations (5)

* Cited by examiner, † Cited by third party
Publication number Priority date Publication date Assignee Title
JPS56145848A (en) * 1980-04-14 1981-11-12 Morita Mfg Apparatus for adjusting inclination of head rest of treating table
JPS63130067A (ja) * 1986-11-20 1988-06-02 株式会社モリタ東京製作所 治療用椅子のヘツドレストの高さ及び角度調節装置
JPH0250240U (enExample) * 1988-09-30 1990-04-09
US20040227388A1 (en) * 2003-05-16 2004-11-18 Ching-Chang Wang Rotational armrest apparatus
JP2008113761A (ja) * 2006-11-01 2008-05-22 Takara Belmont Co Ltd 歯科治療椅子の枕装置

Patent Citations (5)

* Cited by examiner, † Cited by third party
Publication number Priority date Publication date Assignee Title
JPS56145848A (en) * 1980-04-14 1981-11-12 Morita Mfg Apparatus for adjusting inclination of head rest of treating table
JPS63130067A (ja) * 1986-11-20 1988-06-02 株式会社モリタ東京製作所 治療用椅子のヘツドレストの高さ及び角度調節装置
JPH0250240U (enExample) * 1988-09-30 1990-04-09
US20040227388A1 (en) * 2003-05-16 2004-11-18 Ching-Chang Wang Rotational armrest apparatus
JP2008113761A (ja) * 2006-11-01 2008-05-22 Takara Belmont Co Ltd 歯科治療椅子の枕装置

Cited By (3)

* Cited by examiner, † Cited by third party
Publication number Priority date Publication date Assignee Title
CN114423392A (zh) * 2019-09-17 2022-04-29 奥齿泰种植体有限责任公司 诊疗椅
CN114423392B (zh) * 2019-09-17 2025-01-24 奥齿泰种植体有限责任公司 诊疗椅
WO2025087660A1 (de) * 2023-10-24 2025-05-01 Scewo Ag Verstelleinrichtung

Also Published As

Publication number Publication date
JP6486869B2 (ja) 2019-03-20
JP2018000331A (ja) 2018-01-11
TW201808173A (zh) 2018-03-16

Similar Documents

Publication Publication Date Title
JP6486869B2 (ja) ヘッドレスト装置
CN101795892B (zh) 车辆头枕
EP1674332B1 (en) Vehicle seat reclining apparatus
CN100500056C (zh) 座椅斜靠装置
JP2019512292A (ja) 遠位の柔軟性が制御された操向ツール
US20120223199A1 (en) Adjustable holding apparatus for an endoscope
US8408644B2 (en) Head rest for a vehicle
US8696064B2 (en) Backrest inclination structure for lumbar support
JP6751507B2 (ja) ステアリング装置
JP2004249091A (ja) 車両用のラウンド型リクライナー
WO2014077389A1 (ja) 操作レバー、シート装置及び操作部構造
CN107428267B (zh) 座椅的倾斜机构
CN105377624A (zh) 座椅升降器以及齿轮机构
JPH06141949A (ja) アームレストの角度調整機構
CN108528305B (zh) 坐席装置
CN108136948B (zh) 车辆座椅的头枕及形成可集成在头枕中的对准装置的系统
KR102166950B1 (ko) 차량용 시트의 리클라이너
JPH092112A (ja) 車両用シート
US7566100B2 (en) Seat recliner for vehicles
JP4216664B2 (ja) シートクッション前後方向長可変シート
KR102902005B1 (ko) 시트용 암 레스트
JP7751506B2 (ja) 車両用シート
CN114454784B (zh) 座椅升降器装置
JP7779702B2 (ja) 椅子
CN109080509B (zh) 一种具有对中性的座椅角度调节装置

Legal Events

Date Code Title Description
121 Ep: the epo has been informed by wipo that ep was designated in this application

Ref document number: 17819782

Country of ref document: EP

Kind code of ref document: A1

NENP Non-entry into the national phase

Ref country code: DE

122 Ep: pct application non-entry in european phase

Ref document number: 17819782

Country of ref document: EP

Kind code of ref document: A1