WO2017159580A1 - 可動テーブル冷却装置及び可動テーブル冷却システム - Google Patents

可動テーブル冷却装置及び可動テーブル冷却システム Download PDF

Info

Publication number
WO2017159580A1
WO2017159580A1 PCT/JP2017/009840 JP2017009840W WO2017159580A1 WO 2017159580 A1 WO2017159580 A1 WO 2017159580A1 JP 2017009840 W JP2017009840 W JP 2017009840W WO 2017159580 A1 WO2017159580 A1 WO 2017159580A1
Authority
WO
WIPO (PCT)
Prior art keywords
movable table
gas
compressor
flow rate
cooling
Prior art date
Legal status (The legal status is an assumption and is not a legal conclusion. Google has not performed a legal analysis and makes no representation as to the accuracy of the status listed.)
Ceased
Application number
PCT/JP2017/009840
Other languages
English (en)
French (fr)
Japanese (ja)
Inventor
健 及川
Current Assignee (The listed assignees may be inaccurate. Google has not performed a legal analysis and makes no representation or warranty as to the accuracy of the list.)
Sumitomo Heavy Industries Ltd
Original Assignee
Sumitomo Heavy Industries Ltd
Priority date (The priority date is an assumption and is not a legal conclusion. Google has not performed a legal analysis and makes no representation as to the accuracy of the date listed.)
Filing date
Publication date
Application filed by Sumitomo Heavy Industries Ltd filed Critical Sumitomo Heavy Industries Ltd
Priority to KR1020187026720A priority Critical patent/KR102194671B1/ko
Priority to CN201780017119.1A priority patent/CN108885032B/zh
Publication of WO2017159580A1 publication Critical patent/WO2017159580A1/ja
Priority to US16/131,277 priority patent/US10921041B2/en
Anticipated expiration legal-status Critical
Ceased legal-status Critical Current

Links

Images

Classifications

    • FMECHANICAL ENGINEERING; LIGHTING; HEATING; WEAPONS; BLASTING
    • F25REFRIGERATION OR COOLING; COMBINED HEATING AND REFRIGERATION SYSTEMS; HEAT PUMP SYSTEMS; MANUFACTURE OR STORAGE OF ICE; LIQUEFACTION SOLIDIFICATION OF GASES
    • F25BREFRIGERATION MACHINES, PLANTS OR SYSTEMS; COMBINED HEATING AND REFRIGERATION SYSTEMS; HEAT PUMP SYSTEMS
    • F25B41/00Fluid-circulation arrangements
    • F25B41/20Disposition of valves, e.g. of on-off valves or flow control valves
    • FMECHANICAL ENGINEERING; LIGHTING; HEATING; WEAPONS; BLASTING
    • F25REFRIGERATION OR COOLING; COMBINED HEATING AND REFRIGERATION SYSTEMS; HEAT PUMP SYSTEMS; MANUFACTURE OR STORAGE OF ICE; LIQUEFACTION SOLIDIFICATION OF GASES
    • F25BREFRIGERATION MACHINES, PLANTS OR SYSTEMS; COMBINED HEATING AND REFRIGERATION SYSTEMS; HEAT PUMP SYSTEMS
    • F25B41/00Fluid-circulation arrangements
    • F25B41/20Disposition of valves, e.g. of on-off valves or flow control valves
    • F25B41/24Arrangement of shut-off valves for disconnecting a part of the refrigerant cycle, e.g. an outdoor part
    • FMECHANICAL ENGINEERING; LIGHTING; HEATING; WEAPONS; BLASTING
    • F25REFRIGERATION OR COOLING; COMBINED HEATING AND REFRIGERATION SYSTEMS; HEAT PUMP SYSTEMS; MANUFACTURE OR STORAGE OF ICE; LIQUEFACTION SOLIDIFICATION OF GASES
    • F25BREFRIGERATION MACHINES, PLANTS OR SYSTEMS; COMBINED HEATING AND REFRIGERATION SYSTEMS; HEAT PUMP SYSTEMS
    • F25B49/00Arrangement or mounting of control or safety devices
    • F25B49/02Arrangement or mounting of control or safety devices for compression type machines, plants or systems
    • FMECHANICAL ENGINEERING; LIGHTING; HEATING; WEAPONS; BLASTING
    • F25REFRIGERATION OR COOLING; COMBINED HEATING AND REFRIGERATION SYSTEMS; HEAT PUMP SYSTEMS; MANUFACTURE OR STORAGE OF ICE; LIQUEFACTION SOLIDIFICATION OF GASES
    • F25BREFRIGERATION MACHINES, PLANTS OR SYSTEMS; COMBINED HEATING AND REFRIGERATION SYSTEMS; HEAT PUMP SYSTEMS
    • F25B9/00Compression machines, plants or systems, in which the refrigerant is air or other gas of low boiling point
    • F25B9/14Compression machines, plants or systems, in which the refrigerant is air or other gas of low boiling point characterised by the cycle used, e.g. Stirling cycle
    • F25B9/145Compression machines, plants or systems, in which the refrigerant is air or other gas of low boiling point characterised by the cycle used, e.g. Stirling cycle pulse-tube cycle
    • FMECHANICAL ENGINEERING; LIGHTING; HEATING; WEAPONS; BLASTING
    • F25REFRIGERATION OR COOLING; COMBINED HEATING AND REFRIGERATION SYSTEMS; HEAT PUMP SYSTEMS; MANUFACTURE OR STORAGE OF ICE; LIQUEFACTION SOLIDIFICATION OF GASES
    • F25DREFRIGERATORS; COLD ROOMS; ICE-BOXES; COOLING OR FREEZING APPARATUS NOT OTHERWISE PROVIDED FOR
    • F25D13/00Stationary devices, e.g. cold-rooms
    • F25D13/06Stationary devices, e.g. cold-rooms with conveyors carrying articles to be cooled through the cooling space
    • F25D13/062Stationary devices, e.g. cold-rooms with conveyors carrying articles to be cooled through the cooling space with refrigerated conveyors
    • FMECHANICAL ENGINEERING; LIGHTING; HEATING; WEAPONS; BLASTING
    • F25REFRIGERATION OR COOLING; COMBINED HEATING AND REFRIGERATION SYSTEMS; HEAT PUMP SYSTEMS; MANUFACTURE OR STORAGE OF ICE; LIQUEFACTION SOLIDIFICATION OF GASES
    • F25DREFRIGERATORS; COLD ROOMS; ICE-BOXES; COOLING OR FREEZING APPARATUS NOT OTHERWISE PROVIDED FOR
    • F25D13/00Stationary devices, e.g. cold-rooms
    • F25D13/06Stationary devices, e.g. cold-rooms with conveyors carrying articles to be cooled through the cooling space
    • F25D13/067Stationary devices, e.g. cold-rooms with conveyors carrying articles to be cooled through the cooling space with circulation of gaseous cooling fluid
    • FMECHANICAL ENGINEERING; LIGHTING; HEATING; WEAPONS; BLASTING
    • F25REFRIGERATION OR COOLING; COMBINED HEATING AND REFRIGERATION SYSTEMS; HEAT PUMP SYSTEMS; MANUFACTURE OR STORAGE OF ICE; LIQUEFACTION SOLIDIFICATION OF GASES
    • F25DREFRIGERATORS; COLD ROOMS; ICE-BOXES; COOLING OR FREEZING APPARATUS NOT OTHERWISE PROVIDED FOR
    • F25D19/00Arrangement or mounting of refrigeration units with respect to devices or objects to be refrigerated, e.g. infrared detectors
    • F25D19/006Thermal coupling structure or interface
    • FMECHANICAL ENGINEERING; LIGHTING; HEATING; WEAPONS; BLASTING
    • F25REFRIGERATION OR COOLING; COMBINED HEATING AND REFRIGERATION SYSTEMS; HEAT PUMP SYSTEMS; MANUFACTURE OR STORAGE OF ICE; LIQUEFACTION SOLIDIFICATION OF GASES
    • F25DREFRIGERATORS; COLD ROOMS; ICE-BOXES; COOLING OR FREEZING APPARATUS NOT OTHERWISE PROVIDED FOR
    • F25D29/00Arrangement or mounting of control or safety devices
    • F25D29/001Arrangement or mounting of control or safety devices for cryogenic fluid systems
    • FMECHANICAL ENGINEERING; LIGHTING; HEATING; WEAPONS; BLASTING
    • F25REFRIGERATION OR COOLING; COMBINED HEATING AND REFRIGERATION SYSTEMS; HEAT PUMP SYSTEMS; MANUFACTURE OR STORAGE OF ICE; LIQUEFACTION SOLIDIFICATION OF GASES
    • F25DREFRIGERATORS; COLD ROOMS; ICE-BOXES; COOLING OR FREEZING APPARATUS NOT OTHERWISE PROVIDED FOR
    • F25D31/00Other cooling or freezing apparatus
    • F25D31/001Plate freezers
    • FMECHANICAL ENGINEERING; LIGHTING; HEATING; WEAPONS; BLASTING
    • F25REFRIGERATION OR COOLING; COMBINED HEATING AND REFRIGERATION SYSTEMS; HEAT PUMP SYSTEMS; MANUFACTURE OR STORAGE OF ICE; LIQUEFACTION SOLIDIFICATION OF GASES
    • F25BREFRIGERATION MACHINES, PLANTS OR SYSTEMS; COMBINED HEATING AND REFRIGERATION SYSTEMS; HEAT PUMP SYSTEMS
    • F25B2309/00Gas cycle refrigeration machines
    • F25B2309/14Compression machines, plants or systems characterised by the cycle used 
    • F25B2309/1427Control of a pulse tube
    • FMECHANICAL ENGINEERING; LIGHTING; HEATING; WEAPONS; BLASTING
    • F25REFRIGERATION OR COOLING; COMBINED HEATING AND REFRIGERATION SYSTEMS; HEAT PUMP SYSTEMS; MANUFACTURE OR STORAGE OF ICE; LIQUEFACTION SOLIDIFICATION OF GASES
    • F25BREFRIGERATION MACHINES, PLANTS OR SYSTEMS; COMBINED HEATING AND REFRIGERATION SYSTEMS; HEAT PUMP SYSTEMS
    • F25B25/00Machines, plants or systems, using a combination of modes of operation covered by two or more of the groups F25B1/00 - F25B23/00
    • F25B25/005Machines, plants or systems, using a combination of modes of operation covered by two or more of the groups F25B1/00 - F25B23/00 using primary and secondary systems
    • FMECHANICAL ENGINEERING; LIGHTING; HEATING; WEAPONS; BLASTING
    • F25REFRIGERATION OR COOLING; COMBINED HEATING AND REFRIGERATION SYSTEMS; HEAT PUMP SYSTEMS; MANUFACTURE OR STORAGE OF ICE; LIQUEFACTION SOLIDIFICATION OF GASES
    • F25BREFRIGERATION MACHINES, PLANTS OR SYSTEMS; COMBINED HEATING AND REFRIGERATION SYSTEMS; HEAT PUMP SYSTEMS
    • F25B2600/00Control issues
    • F25B2600/02Compressor control
    • F25B2600/025Compressor control by controlling speed
    • F25B2600/0253Compressor control by controlling speed with variable speed
    • FMECHANICAL ENGINEERING; LIGHTING; HEATING; WEAPONS; BLASTING
    • F25REFRIGERATION OR COOLING; COMBINED HEATING AND REFRIGERATION SYSTEMS; HEAT PUMP SYSTEMS; MANUFACTURE OR STORAGE OF ICE; LIQUEFACTION SOLIDIFICATION OF GASES
    • F25BREFRIGERATION MACHINES, PLANTS OR SYSTEMS; COMBINED HEATING AND REFRIGERATION SYSTEMS; HEAT PUMP SYSTEMS
    • F25B2600/00Control issues
    • F25B2600/02Compressor control
    • F25B2600/027Compressor control by controlling pressure
    • F25B2600/0271Compressor control by controlling pressure the discharge pressure
    • FMECHANICAL ENGINEERING; LIGHTING; HEATING; WEAPONS; BLASTING
    • F25REFRIGERATION OR COOLING; COMBINED HEATING AND REFRIGERATION SYSTEMS; HEAT PUMP SYSTEMS; MANUFACTURE OR STORAGE OF ICE; LIQUEFACTION SOLIDIFICATION OF GASES
    • F25BREFRIGERATION MACHINES, PLANTS OR SYSTEMS; COMBINED HEATING AND REFRIGERATION SYSTEMS; HEAT PUMP SYSTEMS
    • F25B2600/00Control issues
    • F25B2600/02Compressor control
    • F25B2600/027Compressor control by controlling pressure
    • F25B2600/0272Compressor control by controlling pressure the suction pressure
    • FMECHANICAL ENGINEERING; LIGHTING; HEATING; WEAPONS; BLASTING
    • F25REFRIGERATION OR COOLING; COMBINED HEATING AND REFRIGERATION SYSTEMS; HEAT PUMP SYSTEMS; MANUFACTURE OR STORAGE OF ICE; LIQUEFACTION SOLIDIFICATION OF GASES
    • F25BREFRIGERATION MACHINES, PLANTS OR SYSTEMS; COMBINED HEATING AND REFRIGERATION SYSTEMS; HEAT PUMP SYSTEMS
    • F25B2600/00Control issues
    • F25B2600/25Control of valves
    • F25B2600/2507Flow-diverting valves
    • FMECHANICAL ENGINEERING; LIGHTING; HEATING; WEAPONS; BLASTING
    • F25REFRIGERATION OR COOLING; COMBINED HEATING AND REFRIGERATION SYSTEMS; HEAT PUMP SYSTEMS; MANUFACTURE OR STORAGE OF ICE; LIQUEFACTION SOLIDIFICATION OF GASES
    • F25BREFRIGERATION MACHINES, PLANTS OR SYSTEMS; COMBINED HEATING AND REFRIGERATION SYSTEMS; HEAT PUMP SYSTEMS
    • F25B2600/00Control issues
    • F25B2600/25Control of valves
    • F25B2600/2515Flow valves
    • FMECHANICAL ENGINEERING; LIGHTING; HEATING; WEAPONS; BLASTING
    • F25REFRIGERATION OR COOLING; COMBINED HEATING AND REFRIGERATION SYSTEMS; HEAT PUMP SYSTEMS; MANUFACTURE OR STORAGE OF ICE; LIQUEFACTION SOLIDIFICATION OF GASES
    • F25DREFRIGERATORS; COLD ROOMS; ICE-BOXES; COOLING OR FREEZING APPARATUS NOT OTHERWISE PROVIDED FOR
    • F25D2325/00Charging, supporting or discharging the articles to be cooled, not provided for in other groups of this subclass
    • FMECHANICAL ENGINEERING; LIGHTING; HEATING; WEAPONS; BLASTING
    • F25REFRIGERATION OR COOLING; COMBINED HEATING AND REFRIGERATION SYSTEMS; HEAT PUMP SYSTEMS; MANUFACTURE OR STORAGE OF ICE; LIQUEFACTION SOLIDIFICATION OF GASES
    • F25DREFRIGERATORS; COLD ROOMS; ICE-BOXES; COOLING OR FREEZING APPARATUS NOT OTHERWISE PROVIDED FOR
    • F25D2400/00General features of, or devices for refrigerators, cold rooms, ice-boxes, or for cooling or freezing apparatus not covered by any other subclass
    • F25D2400/08Refrigerator tables
    • FMECHANICAL ENGINEERING; LIGHTING; HEATING; WEAPONS; BLASTING
    • F25REFRIGERATION OR COOLING; COMBINED HEATING AND REFRIGERATION SYSTEMS; HEAT PUMP SYSTEMS; MANUFACTURE OR STORAGE OF ICE; LIQUEFACTION SOLIDIFICATION OF GASES
    • F25DREFRIGERATORS; COLD ROOMS; ICE-BOXES; COOLING OR FREEZING APPARATUS NOT OTHERWISE PROVIDED FOR
    • F25D2700/00Means for sensing or measuring; Sensors therefor
    • F25D2700/12Sensors measuring the inside temperature
    • FMECHANICAL ENGINEERING; LIGHTING; HEATING; WEAPONS; BLASTING
    • F25REFRIGERATION OR COOLING; COMBINED HEATING AND REFRIGERATION SYSTEMS; HEAT PUMP SYSTEMS; MANUFACTURE OR STORAGE OF ICE; LIQUEFACTION SOLIDIFICATION OF GASES
    • F25DREFRIGERATORS; COLD ROOMS; ICE-BOXES; COOLING OR FREEZING APPARATUS NOT OTHERWISE PROVIDED FOR
    • F25D2700/00Means for sensing or measuring; Sensors therefor
    • F25D2700/12Sensors measuring the inside temperature
    • F25D2700/121Sensors measuring the inside temperature of particular compartments
    • YGENERAL TAGGING OF NEW TECHNOLOGICAL DEVELOPMENTS; GENERAL TAGGING OF CROSS-SECTIONAL TECHNOLOGIES SPANNING OVER SEVERAL SECTIONS OF THE IPC; TECHNICAL SUBJECTS COVERED BY FORMER USPC CROSS-REFERENCE ART COLLECTIONS [XRACs] AND DIGESTS
    • Y02TECHNOLOGIES OR APPLICATIONS FOR MITIGATION OR ADAPTATION AGAINST CLIMATE CHANGE
    • Y02BCLIMATE CHANGE MITIGATION TECHNOLOGIES RELATED TO BUILDINGS, e.g. HOUSING, HOUSE APPLIANCES OR RELATED END-USER APPLICATIONS
    • Y02B30/00Energy efficient heating, ventilation or air conditioning [HVAC]
    • Y02B30/70Efficient control or regulation technologies, e.g. for control of refrigerant flow, motor or heating

Definitions

  • the present invention relates to a movable table cooling device and a movable table cooling system.
  • Various circulation cooling systems are known and are used to cool objects to cryogenic temperatures. Such cooling systems are typically configured to cool equipment that is fixedly installed within the vacuum vessel.
  • One exemplary object of an aspect of the present invention is to provide a cooling device suitable for cooling a movable table that holds an object in a vacuum vessel.
  • a movable table cooling device that cools a movable table that holds an object in a vacuum vessel, comprising a compressor and a cold head fixed to the vacuum vessel, A cold head having a cooling unit disposed in the unit, a branching unit, a refrigerator gas supply line for supplying refrigerant gas from the compressor to the cold head, a merging unit, and the cold head to the compressor
  • a refrigerator gas exhaust line for exhausting the refrigerant gas
  • the branching section branches from the refrigerator gas supply line so that the refrigerant gas flows into the movable table from the compressor and is connected to the first movable table flow path.
  • a first gas inflow line comprising a heat exchange part thermally coupled to the cooling part, and a refrigerant gas from the movable table to the compressor.
  • the first gas outlet line connected to the first movable table flow path so as to flow out and merged with the refrigerator gas exhaust line at the junction, and the refrigerant gas flows into the movable table from the compressor
  • a second gas inflow line branched from the refrigerator gas supply line at the branching portion and connected to the second movable table flow path, the second gas inflow being disposed thermally uncoupled from the cooling unit
  • a second gas outflow line that is connected to the second movable table flow path so that refrigerant gas flows out of the movable table to the compressor and merges with the refrigerator gas exhaust line at the junction.
  • a movable table cooling device that cools a movable table that holds an object in a vacuum vessel, comprising a compressor and a cold head fixed to the vacuum vessel, A cold head having a cooling unit disposed in the unit, a branching unit, a refrigerator gas supply line for supplying refrigerant gas from the compressor to the cold head, a merging unit, and the cold head to the compressor
  • a refrigerator gas exhaust line for exhausting the refrigerant gas
  • the branching section branches from the refrigerator gas supply line so that the refrigerant gas flows into the movable table from the compressor and is connected to the first movable table flow path.
  • a first gas inflow line comprising a heat exchange part thermally coupled to the cooling part, and a refrigerant gas from the movable table to the compressor. Is connected to the first movable table flow path so as to flow out, and a first gas outflow line that joins the refrigerator gas exhaust line at the junction, and a refrigerator gas flow rate control that is arranged in the refrigerator gas supply line Based on the state of the valve, the first gas flow control valve disposed in the first gas inflow line, the movable table, the compressor, and / or the cold head. And a valve control unit that controls at least one of the first gas flow rate adjustment valves.
  • a compressor and a plurality of movable table cooling subsystems each of which is a cold head fixed to a vacuum vessel, comprising a cooling unit disposed in the vacuum vessel.
  • Refrigerator gas comprising a cold head, a branching section, a refrigeration gas supply line for supplying refrigerant gas from the compressor to the cold head, and a merging section, wherein the refrigerant gas is exhausted from the cold head to the compressor
  • the refrigerant gas is branched from the refrigerator gas supply line and connected to the first movable table flow path so that the refrigerant gas flows into the exhaust line and the movable table holding the object in the vacuum vessel from the compressor.
  • a first gas inflow line comprising a heat exchange part thermally coupled to the cooling part, and a refrigerant gas from the movable table to the compressor
  • a first gas outflow line that is connected to the first movable table flow path and is joined to the refrigerator gas exhaust line at the junction, and the branch so that refrigerant gas flows from the compressor into the movable table.
  • a second gas inflow line branched from the refrigerator gas supply line and connected to the second movable table flow path at the section, and is arranged thermally uncoupled from the cooling section
  • a second gas outflow line that is connected to the second movable table flow path so that refrigerant gas flows out of the movable table to the compressor and merges with the refrigerator gas exhaust line at the junction.
  • a movable table cooling subsystem The movable table cooling system is provided.
  • FIG. 1 schematically illustrates a movable table cooling system according to an embodiment.
  • the valve opening degree adjustment which concerns on a certain embodiment is illustrated.
  • FIG. 1 is a diagram schematically showing an overall configuration of a movable table cooling apparatus (hereinafter also referred to as “cooling apparatus” as appropriate) 10 according to an embodiment of the present invention.
  • the cooling device 10 is used together with a vacuum device 100 including a vacuum vessel 102.
  • the vacuum apparatus 100 is, for example, a wafer inspection apparatus or a semiconductor inspection apparatus.
  • the vacuum device 100 may be an ion implanter, a PVD device, or other vacuum process device.
  • the vacuum apparatus 100 includes a movable table 104 that holds an object (for example, a wafer) in a vacuum container 102.
  • the movable table 104 is configured to be movable in the vacuum vessel 102.
  • the movable table 104 has a first movable table channel 106 and a second movable table channel 108 for refrigerant gas.
  • the first movable table channel 106 and the second movable table channel 108 are isolated from each other, and no refrigerant gas flows between the first movable table channel 106 and the second movable table channel 108. .
  • the cooling device 10 is configured to cool the movable table 104 as described in detail below.
  • the cooling device 10 includes a cryogenic refrigerator 12 and a circulating cooling device 14.
  • the cryogenic refrigerator 12 includes a compressor 16, a cold head 18, and a refrigerator gas circulation line 20.
  • the circulation cooling device 14 includes a low temperature gas circulation line 22 and a room temperature gas circulation line 24.
  • the circulating cooling device 14 may include a chiller 26.
  • a refrigerant gas having a first high pressure is supplied from the compressor 16 to the cold head 18. Due to the adiabatic expansion in the cold head 18, the refrigerant gas is depressurized from the first high pressure to a lower second high pressure. The refrigerant gas having the second high pressure is recovered from the cold head 18 to the compressor 16. The compressor 16 compresses the recovered refrigerant gas having the second high pressure. Thus, the refrigerant gas is again boosted to the first high pressure.
  • both the first high pressure and the second high pressure are considerably higher than the atmospheric pressure.
  • the first high pressure and the second high pressure are also simply referred to as high pressure and low pressure, respectively.
  • the high pressure is, for example, 2 to 3 MPa
  • the low pressure is, for example, 0.5 to 1.5 MPa
  • the differential pressure between the high pressure and the low pressure is, for example, about 1.2 to 2 MPa.
  • the refrigerant gas is helium gas, for example.
  • the compressor 16 is installed in a room temperature environment outside the vacuum vessel 102.
  • the compressor 16 includes a discharge port 16 a for sending high-pressure refrigerant gas to the refrigerator gas circulation line 20 and an intake port 16 b for receiving low-pressure refrigerant gas from the refrigerator gas circulation line 20.
  • the circulating cooling device 14 shares the compressor 16 with the cryogenic refrigerator 12. Therefore, the compressor 16 is configured to pressurize the refrigerant gas flowing in from the circulation cooling device 14 through the suction port 16b and supply it again to the circulation cooling device 14 through the discharge port 16a.
  • the cryogenic refrigerator 12 and the circulating cooling device 14 are operated with a common refrigerant gas. Since the compressor 16 is shared, the circulating cooling device 14 does not require a dedicated refrigerant gas circulation pump.
  • the cooling device 10 can be configured compactly.
  • the cold head 18 is an expander of a regenerative cryogenic refrigerator such as a Gifford McMahon refrigerator (so-called GM refrigerator) or a pulse tube refrigerator.
  • the cold head 18 may be an expander of a single stage GM refrigerator.
  • the cold head 18 includes a high-pressure port 18 a for receiving high-pressure refrigerant gas from the refrigerator gas circulation line 20 and a low-pressure port 18 b for sending low-pressure refrigerant gas to the refrigerator gas circulation line 20.
  • the cold head 18 includes a flange portion 18c, a cooling portion 18d, a cylinder portion 18e, and a drive mechanism 18f.
  • the cold head 18 is fixed to the vacuum vessel 102 via the flange portion 18c.
  • the cooling unit 18 d is disposed in the vacuum container 102.
  • the cylinder part 18e structurally connects the cooling part 18d to the flange part 18c.
  • the drive mechanism 18f is on the flange portion 18c and is disposed outside the vacuum vessel 102.
  • the cold head 18 When the cold head 18 is, for example, a GM refrigerator, the cold head 18 includes a displacer 18g reciprocally moved in the axial direction by a drive mechanism 18f and a regenerator (not shown) incorporated therein.
  • the displacer 18g is accommodated in the cylinder portion 18e, and the reciprocating movement of the displacer 18g is guided by the cylinder portion 18e.
  • a variable volume formed between the two by the relative movement of the displacer 18g with respect to the cylinder portion 18e is used as the refrigerant gas expansion chamber 18h.
  • the expansion chamber 18h is formed in the cooling unit 18d.
  • the drive mechanism 18f is configured to alternately switch high-pressure refrigerant gas supply from the compressor 16 to the cold head 18 and low-pressure refrigerant gas recovery from the cold head 18 to the compressor 16.
  • the cold head 18 can generate cold in the cooling unit 18d.
  • the refrigerator gas circulation line 20 is disposed outside the vacuum vessel 102.
  • the refrigerator gas circulation line 20 includes a refrigerator gas supply line 20a that supplies refrigerant gas from the compressor 16 to the cold head 18, a refrigerator gas exhaust line 20b that exhausts refrigerant gas from the cold head 18 to the compressor 16, and Have
  • the refrigerator gas supply line 20a connects the discharge port 16a to the high-pressure port 18a.
  • the refrigerator gas exhaust line 20b connects the suction port 16b to the low pressure port 18b.
  • the refrigerator gas supply line 20a may be a rigid tube, a flexible tube, or a combination thereof.
  • the refrigerator gas exhaust line 20b may be a rigid tube, a flexible tube, or a combination thereof.
  • the refrigerator gas supply line 20a includes a branch portion 28 between the discharge port 16a and the high-pressure port 18a.
  • the branch part 28 has a first branch point 28a and a second branch point 28b.
  • the branch portion 28 can be realized by a known pipe branching device such as a joint or a manifold.
  • the refrigerator gas supply line 20a includes a refrigerator gas flow rate adjusting valve V0 disposed between the branch portion 28 and the high pressure port 18a.
  • the refrigerator gas flow rate adjustment valve V0 is configured to adjust the refrigerant gas flow rate of the refrigerator gas circulation line 20.
  • the refrigerating machine gas flow rate adjustment valve V0 can adjust the opening degree, thereby changing the refrigerant gas flow rate.
  • the refrigerator gas exhaust line 20b includes a junction 30 between the intake port 16b and the low pressure port 18b.
  • the merge part 30 has a first merge point 30a and a second merge point 30b.
  • the merging portion 30 can be realized by a known pipe merging device such as a joint or a manifold.
  • the low temperature gas circulation line 22 has a first gas inflow line 32 and a first gas outflow line 34.
  • the first gas inflow line 32 branches from the refrigerator gas supply line 20 a at the branching section 28 and is connected to the first movable table flow path 106 so that the refrigerant gas flows from the compressor 16 into the movable table 104.
  • the first gas outflow line 34 is connected to the first movable table flow path 106 so that the refrigerant gas flows out from the movable table 104 to the compressor 16, and joins the refrigerator gas exhaust line 20 b at the junction 30.
  • the room temperature gas circulation line 24 has a second gas inflow line 36 and a second gas outflow line 38.
  • the second gas inflow line 36 branches from the refrigerating machine gas supply line 20 a at the branching section 28 and is connected to the second movable table flow path 108 so that the refrigerant gas flows from the compressor 16 into the movable table 104.
  • the second gas outflow line 38 is connected to the second movable table flow path 108 so that the refrigerant gas flows out from the movable table 104 to the compressor 16, and joins the refrigerator gas exhaust line 20 b at the junction 30.
  • the first gas inflow line 32 includes a first gas inflow conduit 32a and a first gas inflow flexible tube 32b.
  • the first gas inflow conduit 32a branches from the refrigerator gas supply line 20a at the first branch point 28a, and is connected to one end of the first gas inflow flexible tube 32b.
  • the other end of the first gas inflow flexible tube 32 b is connected to the inlet of the first movable table channel 106 so that the movable table 104 can move in the vacuum vessel 102.
  • a part of the first gas inflow conduit 32 a is outside the vacuum vessel 102, and the remaining part is inside the vacuum vessel 102.
  • the first gas inflow conduit 32a may be a rigid tube, a flexible tube, or a combination thereof.
  • the first gas inflow line 32 includes a first gas flow rate adjustment valve V1 disposed downstream of the branch portion 28.
  • the first gas flow rate adjustment valve V ⁇ b> 1 is on the first gas inflow conduit 32 a and is disposed outside the vacuum vessel 102.
  • the first gas flow rate adjustment valve V1 is configured to adjust the refrigerant gas flow rate of the low temperature gas circulation line 22.
  • the first gas flow rate adjustment valve V1 can adjust the opening degree, thereby changing the refrigerant gas flow rate.
  • the first gas outflow line 34 includes a first gas outflow conduit 34a and a first gas outflow flexible tube 34b.
  • the first gas outflow conduit 34a is connected to one end of the first gas outflow flexible pipe 34b and joins the second gas outflow line 38 at the first confluence 30a.
  • the other end of the first gas outflow flexible pipe 34 b is connected to the outlet of the first movable table channel 106 so that the movable table 104 can move in the vacuum vessel 102.
  • the first gas outlet conduit 34a may be a rigid tube, a flexible tube, or a combination thereof.
  • the first junction 30 a is in the vacuum vessel 102, and the first gas outlet conduit 34 a is also in the vacuum vessel 102.
  • the first junction 30a may be outside the vacuum vessel 102.
  • a part of the first gas outflow conduit 34a may be outside the vacuum vessel 102 and the remaining part may be inside the vacuum vessel 102. Good.
  • the second gas inflow line 36 includes a second gas inflow conduit 36a and a second gas inflow flexible tube 36b.
  • the second gas inflow conduit 36a branches from the refrigerator gas supply line 20a at the second branch point 28b, and is connected to one end of the second gas inflow flexible tube 36b.
  • the other end of the second gas inflow flexible tube 36 b is connected to the inlet of the second movable table channel 108 so that the movable table 104 can move in the vacuum vessel 102.
  • a part of the second gas inflow conduit 36 a is outside the vacuum vessel 102, and the remaining part is inside the vacuum vessel 102.
  • the second gas inflow conduit 36a may be a rigid tube, a flexible tube, or a combination thereof.
  • the second gas inflow line 36 includes a second gas flow rate adjustment valve V2 disposed downstream of the branch portion 28.
  • the second gas flow rate adjustment valve V ⁇ b> 2 is on the second gas inflow conduit 36 a and is disposed outside the vacuum vessel 102.
  • the second gas flow rate adjustment valve V ⁇ b> 2 is configured to adjust the refrigerant gas flow rate in the room temperature gas circulation line 24.
  • the second gas flow rate adjusting valve V2 can adjust the opening degree, thereby changing the refrigerant gas flow rate.
  • the second gas outflow line 38 has a second gas outflow conduit 38a and a second gas outflow flexible tube 38b.
  • the second gas outflow conduit 38a has a first junction 30a in the middle.
  • the second gas outflow conduit 38a is connected to one end of the second gas outflow flexible pipe 38b and joins the refrigerator gas exhaust line 20b at the second junction 30b.
  • the other end of the second gas outflow flexible pipe 38 b is connected to the outlet of the second movable table flow path 108 so that the movable table 104 can move in the vacuum vessel 102.
  • a part of the second gas outflow conduit 38 a is outside the vacuum vessel 102, and the remaining part is inside the vacuum vessel 102.
  • the second gas outlet conduit 38a may be a rigid tube, a flexible tube, or a combination thereof.
  • a flexible tube is connected to the entrance / exit of the first movable table channel 106 and the entrance / exit of the second movable table channel 108 instead of a rigid tube. Therefore, the movable table 104 can move in the vacuum vessel 102 while being cooled by the circulation cooling device 14.
  • the movable direction of the movable table 104 is exemplarily shown by an arrow 110, the movable direction is not limited to this, and the movable table 104 can move in other directions. An object held on the table can be moved together with the movable table 104. Note that such flexible tube connection of the movable table 104 may allow the movable table 104 to move out of the vacuum vessel 102.
  • the first gas inflow flexible tube 32b, the first gas outflow flexible tube 34b, the second gas inflow flexible tube 36b, and the second gas outflow flexible tube 38b are all disposed in the vacuum vessel 102, but are not limited thereto. . Any flexible tube may extend outside the vacuum vessel 102.
  • the first gas inflow line 32 includes a main heat exchanging unit 40 and a sub heat exchanging unit 42 arranged in the vacuum vessel 102.
  • the main heat exchanging unit 40 is downstream of the sub heat exchanging unit 42, that is, between the sub heat exchanging unit 42 and the first movable table channel 106, and is configured to perform main cooling of the refrigerant gas.
  • the first gas inflow line 32 is thermally coupled to the cooling unit 18d.
  • the auxiliary heat exchange unit 42 is located between the first gas flow rate adjustment valve V1 and the main heat exchange unit 40, and is configured to precool the refrigerant gas.
  • the first gas inflow line 32 is thermally coupled to the first gas outflow line 34.
  • the first gas inflow line 32 is on the high temperature side of the auxiliary heat exchange unit 42, and the first gas outflow line 34 is on the low temperature side of the auxiliary heat exchange unit 42.
  • the low temperature side of the auxiliary heat exchanging unit 42 is between the first movable table channel 106 and the first junction 30a.
  • the first gas inflow line 32 is cooled by heat exchange with the first gas outflow line 34 (at the same time, the first gas outflow line 34 is heated by the first gas inflow line 32).
  • the first gas inflow line 32 is further cooled by the cooling unit 18d.
  • the refrigerant gas introduced from the compressor 16 to the low temperature gas circulation line 22 is cooled by the cold head 18 and supplied to the movable table 104.
  • the main heat exchanging unit 40 and the movable table 104 are accommodated in the same vacuum vessel 102, the main heat exchanging unit 40 can be disposed close to the movable table 104. Since the refrigerant gas path from the main heat exchanging unit 40 to the movable table 104 is short, heat loss during refrigerant transportation to the movable table 104 (that is, temperature rise of the refrigerant) is suppressed. This is useful for improving the energy saving performance of the cooling device 10.
  • a regenerator 41 may be provided in the main heat exchange unit 40. Thus, when the regenerator 41 is sufficiently cooled, the operation of the cold head 18 can be stopped or a low output operation (for example, an idle operation) can be performed. This also helps to improve the energy saving performance of the cooling device 10.
  • the second gas inflow line 36 is disposed thermally uncoupled from the cooling unit 18d. Since the second gas inflow line 36 does not pass through the cooling part 18d, the refrigerant gas in the second gas inflow line 36 is not cooled. Therefore, the refrigerant gas introduced from the compressor 16 to the room temperature gas circulation line 24 is supplied to the movable table 104 without being cooled.
  • the second gas outflow line 38 is thermally coupled to the chiller 26 between the first junction 30a and the second junction 30b. Thus, the second gas outflow line 38 is cooled by the chiller 26.
  • FIG. 2 illustrates the control configuration of the cooling device 10 shown in FIG. Such a control configuration is realized by hardware, software, or a combination thereof.
  • FIG. 2 schematically shows a partial configuration of the related cooling device 10.
  • the cooling device 10 includes a control device 44 including a valve control unit 46.
  • the valve control unit 46 is based on the state of the movable table 104, the compressor 16, and / or the cold head 18, and the refrigerator gas flow rate adjustment valve V0, the first gas flow rate adjustment valve V1 and the second gas flow rate adjustment valve V1. It is configured to control at least one of the gas flow rate adjustment valves V2.
  • the movable table 104 is provided with a movable table temperature sensor 48.
  • the movable table temperature sensor 48 is attached to the surface or inside of the movable table 104.
  • the movable table temperature sensor 48 is configured to measure the temperature of the movable table 104 and output the measured temperature of the movable table 104 to the valve control unit 46.
  • the compressor 16 includes a compressor motor 50 for driving the compressor 16, a first pressure sensor 52 for measuring the pressure of the high-pressure refrigerant gas, and a second pressure sensor 54 for measuring the low-pressure refrigerant gas.
  • the first pressure sensor 52 and the second pressure sensor 54 are configured to output the measured pressure to the valve control unit 46 and / or the compressor control unit 56 of the control device 44, respectively. These pressure sensors may be provided at appropriate locations in the refrigerator gas circulation line 20.
  • the first pressure sensor 52 may be installed in the refrigerator gas supply line 20a
  • the second pressure sensor 54 may be installed in the refrigerator gas exhaust line 20b.
  • the compressor control unit 56 includes a compressor inverter 57 for changing the operating frequency of the compressor 16 (that is, the rotation speed of the compressor motor 50).
  • the compressor control unit 56 is configured to control the operating frequency of the compressor 16 based on the measured pressure of the first pressure sensor 52 and / or the second pressure sensor 54.
  • the operation frequency is also called operation speed.
  • the compressor control unit 56 controls the differential pressure between the high pressure and the low pressure of the compressor 16 to a target pressure.
  • this may be referred to as constant differential pressure control.
  • the compressor control unit 56 controls the operating frequency of the compressor 16 for constant differential pressure control. If necessary, the target value of the differential pressure may be changed during execution of the differential pressure constant control.
  • the compressor control unit 56 obtains the differential pressure between the measured pressure of the first pressure sensor 52 and the measured pressure of the second pressure sensor 54.
  • the compressor control unit 56 determines the operating frequency of the compressor 16 by feedback control (for example, by PID control) so that the differential pressure follows the target value ⁇ P.
  • the compressor control unit 56 controls the compressor inverter 57 so as to realize the operating frequency.
  • the cold head 18 includes a cold head motor 58 for driving the cold head 18, a cold head temperature sensor 60 for measuring the temperature of the cooling unit 18d, and a cold head control unit 62 for controlling the cold head 18.
  • the cold head motor 58 is provided in the drive mechanism 18f, for example.
  • the cold head control unit 62 may be provided in the control device 44.
  • the cold head temperature sensor 60 is attached to the surface or inside of the cooling unit 18d.
  • the cold head temperature sensor 60 is configured to output the measured temperature to the valve control unit 46 and / or the cold head control unit 62 of the control device 44.
  • the cold head control unit 62 includes a cold head inverter 63 for changing the operating frequency of the cold head 18 (that is, the rotation speed of the cold head motor 58).
  • the cold head controller 62 is configured to control the operating frequency of the cold head 18 based on the temperature measured by the cold head temperature sensor 60.
  • the cold head control unit 62 controls the temperature of the cooling unit 18d to a target temperature, for example.
  • the cold head controller 62 determines the operating frequency of the cold head 18 by feedback control (for example, by PID control) so that the measured temperature follows the target temperature.
  • the cold head control unit 62 controls the cold head inverter 63 so as to realize the operating frequency.
  • the target temperature can be changed as needed.
  • control device 44 may include a first lookup table 64 and a second lookup table 66.
  • the valve control unit 46 is configured to determine at least one opening degree of the refrigerator gas flow rate adjustment valve V0, the first gas flow rate adjustment valve V1, and the second gas flow rate adjustment valve V2 with reference to any table. It may be.
  • the control device 44 may include a function or other information necessary for calculating the valve opening, instead of the lookup table.
  • the first look-up table 64 represents the relationship between the operating frequency of the compressor 16 and the opening of the first gas flow control valve V1. That is, the first look-up table 64 can receive the operating frequency of the compressor 16 and output the opening degree of the first gas flow rate adjustment valve V1 corresponding thereto.
  • the first look-up table 64 may represent the relationship between the operating frequency of the compressor 16 and the second gas flow rate adjustment valve V2.
  • the second look-up table 66 may represent the relationship between the temperature of the cooling unit 18d and the opening degree of the refrigerator gas flow rate adjustment valve V0.
  • FIG. 3 is a flowchart illustrating a method for controlling the cooling device 10 according to an embodiment of the invention. During the execution of the method, the compressor 16 and the cold head 18 continue to operate. Therefore, the cooling unit 18d is cooled to a desired cooling temperature.
  • the valve control unit 46 determines whether or not the measured temperature T of the movable table 104 is higher than the temperature threshold value T0 (S10).
  • the measured temperature T of the movable table 104 is acquired from the movable table temperature sensor 48 as described above.
  • the temperature threshold T0 is preset and stored in the valve control unit 46.
  • the temperature threshold value T0 may be set to room temperature (for example, about 300K).
  • the valve control unit 46 selects the room temperature cooling operation when the measured temperature T of the movable table 104 is higher than the temperature threshold value T0 (S12). In the room temperature cooling operation, the valve controller 46 closes the first gas flow rate adjustment valve V1 and opens the second gas flow rate adjustment valve V2. In order to continue the operation of the cold head 18, the valve controller 46 opens the refrigerator gas flow rate adjustment valve V0 to a predetermined opening. In this case, the cold head control unit 62 may stop the operation of the cold head 18 or perform a low output operation (for example, an idle operation).
  • the valve control unit 46 selects the low temperature cooling operation (S14). In the low temperature cooling operation, the valve control unit 46 opens the first gas flow rate adjustment valve V1 and closes the second gas flow rate adjustment valve V2. Further, in order to supply the refrigerant gas flow rate necessary for the low-temperature cooling operation, the valve control unit 46 opens the refrigerator gas flow rate adjustment valve V0 to an opening larger than the predetermined opening. That is, in the low temperature cooling operation, the refrigerator gas flow rate adjustment valve V0 increases the flow rate of the refrigerator gas circulation line 20 as compared with the room temperature cooling operation.
  • the valve control unit 46 performs valve opening adjustment (S16). Although details will be described later, the valve control unit 46 adjusts the opening of the refrigerator gas flow rate adjustment valve V0, the first gas flow rate adjustment valve V1, and / or the second gas flow rate adjustment valve V2. This process is optional and may be omitted.
  • the valve control unit 46 determines whether or not the measured temperature T of the movable table 104 satisfies the target temperature Tt (S18). When the measured temperature T of the movable table 104 is higher than the target temperature Tt (Y in S18), the valve control unit 46 ends this method. In this case, the control device 44 may stop the operation of the cooling device 10. Alternatively, the control device 44 may continue the operation of the cooling device 10 so that the measured temperature T of the movable table 104 is maintained at the target temperature Tt.
  • the valve control unit 46 repeats this method. That is, the valve control unit 46 again compares the measured temperature T of the movable table 104 with the temperature threshold value and selects the room temperature cooling operation or the low temperature cooling operation.
  • the operation of the cooling device 10 configured as above will be described. Although depending on the application of the vacuum apparatus 100, an object that is considerably hotter than the temperature of the cooling unit 18d is often carried into the movable table 104. For example, a wafer of about 450K is carried into the movable table 104. The cooling device 10 is required to cool the wafer to, for example, about 100K.
  • the cooling device 10 shuts off the low temperature gas circulation line 22 and opens the room temperature gas circulation line 24 to perform the room temperature cooling operation. Since the refrigerant gas in the room temperature gas circulation line 24 is relatively lower than the high temperature to be cooled, it can be cooled by the room temperature cooling operation. After the object is cooled to room temperature, the operation is switched to a low-temperature cooling operation, and the object is cooled to a desired cooling temperature.
  • the refrigerant gas discharge amount of the compressor 16 can be reduced.
  • the object can be cooled without operating the cold head 18 (or in the low power operation).
  • the refrigerant gas discharge amount of the compressor 16 can be reduced by shutting off the room temperature gas circulation line 24 during the low temperature cooling operation. Since the power consumption of the compressor 16 is suppressed, the energy saving property of the cooling device 10 is improved.
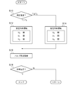
  • FIG. 4 illustrates the valve opening adjustment (S16) shown in FIG.
  • the valve control unit 46 acquires the operating frequency of the compressor 16 (S20).
  • the operating frequency of the compressor 16 is acquired from the compressor control unit 56.
  • the valve control unit 46 determines the opening degree of the first gas flow rate adjustment valve V1 and / or the second gas flow rate adjustment valve V2 according to the operating frequency of the compressor 16 (S22). In an embodiment, the valve controller 46 refers to the first look-up table 64 and opens the first gas flow rate adjustment valve V1 and / or the second gas flow rate adjustment valve V2 corresponding to the operating frequency of the compressor 16. Get the degree. The valve control unit 46 controls the first gas flow rate adjustment valve V1 and / or the second gas flow rate adjustment valve V2 according to the determined valve opening degree.
  • the first look-up table 64 is determined so that the opening degree of the first gas flow rate adjustment valve V1 and / or the second gas flow rate adjustment valve V2 is relatively small when the operating frequency of the compressor 16 is relatively high. Also good. In other words, the first look-up table 64 determines that the opening degree of the first gas flow rate adjustment valve V1 and / or the second gas flow rate adjustment valve V2 is relatively large when the operating frequency of the compressor 16 is relatively small. It may be done. In this way, the valve opening decreases as the load on the compressor 16 increases. Since the refrigerant gas flow rate of the circulating cooling device 14 is reduced, the load on the compressor 16 can be reduced. Therefore, the energy saving property of the cooling device 10 can be improved.
  • the first look-up table 64 is defined so that the first gas flow rate adjustment valve V1 and / or the second gas flow rate adjustment valve V2 is set to the maximum opening when the operating frequency of the compressor 16 is sufficiently low. Also good. Thus, when the compressor 16 has a surplus capacity, the opening may be changed to an opening larger than the above-described standard valve opening for energy saving. In this case, the object can be rapidly cooled.
  • FIG. 5 shows another example of the valve opening adjustment (S16) shown in FIG.
  • the valve control unit 46 acquires the temperature of the cooling unit 18d of the cold head 18 (S24).
  • the temperature of the cooling unit 18 d is acquired from the cold head temperature sensor 60.
  • the valve control unit 46 controls the refrigerator gas flow rate adjustment valve V0 according to the measured temperature of the cooling unit 18d (S26). In an embodiment, the valve control unit 46 refers to the second look-up table 66 and acquires the opening degree of the refrigerator gas flow rate adjustment valve V0 corresponding to the temperature of the cooling unit 18d. The valve control unit 46 controls the refrigerator gas flow rate adjustment valve V0 according to the valve opening.
  • the second look-up table 66 reduces the opening of the refrigerator gas flow rate adjusting valve V0 when the measured temperature of the cooling unit 18d is relatively low, and sets the refrigerator when the measured temperature of the cooling unit 18d is relatively high.
  • the opening degree of the gas flow rate adjusting valve V0 may be set to be relatively large. In this way, the gas flow rate of the refrigerator gas circulation line 20 can be adjusted according to the heat load on the cold head 18.
  • Such opening degree adjustment of the refrigerator gas flow rate adjusting valve V0 may be applied to the cold head 18 operated at a constant operating frequency.
  • the cold head 18 may not include the cold head inverter 63.
  • FIG. 6 schematically illustrates a movable table cooling system 70 according to an embodiment.
  • the movable table cooling system 70 may include the compressor 16 and a plurality of movable table cooling subsystems 72.
  • the compressor 16 is shared by a plurality of subsystems.
  • Each of the plurality of movable table cooling subsystems 72 includes a circulating cooling device 14 and a cold head 18, similar to the cooling device 10 shown in FIG. 1, and these are connected to the compressor 16.
  • Each subsystem includes a refrigerator gas flow rate adjustment valve V0, a first gas flow rate adjustment valve V1, and a second gas flow rate adjustment valve V2.
  • the valve control unit 46 of the control device 44 determines whether each movable table cooling subsystem 72 is in accordance with the operating frequency of the compressor 16.
  • the opening degree of the second gas flow rate adjusting valve V2 is determined in common and / or the first gas flow rate adjusting valve of each movable table cooling subsystem 72 according to the operating frequency of the compressor 16 and the first gas flow rate adjusting valve V1. May be determined in common. Even if it does in this way, the load to the compressor 16 can be eased and the energy saving property of the movable table cooling system 70 can be improved.
  • FIG. 7 illustrates valve opening adjustment (S16) according to an embodiment.
  • the valve control unit 46 selects one movable table cooling subsystem 72 from the plurality of movable table cooling subsystems 72 (S30). For example, the valve control unit 46 may select the movable table cooling subsystem 72 based on the operating rate of the movable table cooling subsystem 72. For example, the movable table cooling subsystem 72 having a high operating rate may be selected.
  • the valve control unit 46 controls at least one of the first gas flow rate adjustment valve V1 and / or the second gas flow rate adjustment valve V2 according to the operating frequency of the compressor 16 for the selected movable table cooling subsystem ( S32).
  • the valve control unit 46 acquires the operating frequency of the compressor 16 in the same manner as the valve opening adjustment shown in FIG. 4, and the first gas flow rate adjusting valve V1 and / or the second gas flow rate adjusting valve V2 according to the operating frequency.
  • the degree of opening may be determined. Even if it does in this way, the load to the compressor 16 can be eased and the energy saving property of the movable table cooling system 70 can be improved.
  • the valve control unit 46 may perform a low-temperature cooling operation regardless of the measured temperature of the movable table temperature sensor 48 in order to cool the object rapidly.
  • the valve control unit 46 may start the low temperature cooling operation without executing the room temperature cooling operation, or may select the low temperature cooling operation as necessary during the room temperature cooling operation.
  • V0 refrigerator gas flow control valve V1 first gas flow control valve, V2 second gas flow control valve, 10 cooling device, 16 compressor, 18 cold head, 18d cooling unit, 20a refrigerator gas supply line, 20b refrigerator Gas exhaust line, 28 branching section, 30 confluence section, 32 first gas inflow line, 32b first gas inflow flexible pipe, 34 first gas outflow line, 34b first gas outflow flexible pipe, 36 second gas inflow line, 36b Second gas inflow flexible pipe, 38 second gas outflow line, 38b second gas outflow flexible pipe, 46 valve control unit, 48 movable table temperature sensor, 50 compressor motor, 56 compressor control unit, 60 cold head temperature sensor, 70 movable table cooling system 72 movable table cooling subsystem, 102 vacuum chamber 104 movable table, 106 a first movable table passage, 108 the second movable table channel.
  • the present invention can be used in the field of a movable table cooling device and a movable table cooling system.

Landscapes

  • Engineering & Computer Science (AREA)
  • Physics & Mathematics (AREA)
  • Mechanical Engineering (AREA)
  • Thermal Sciences (AREA)
  • General Engineering & Computer Science (AREA)
  • Chemical & Material Sciences (AREA)
  • Combustion & Propulsion (AREA)
  • Devices That Are Associated With Refrigeration Equipment (AREA)
  • Compressors, Vaccum Pumps And Other Relevant Systems (AREA)
  • Container, Conveyance, Adherence, Positioning, Of Wafer (AREA)
PCT/JP2017/009840 2016-03-16 2017-03-10 可動テーブル冷却装置及び可動テーブル冷却システム Ceased WO2017159580A1 (ja)

Priority Applications (3)

Application Number Priority Date Filing Date Title
KR1020187026720A KR102194671B1 (ko) 2016-03-16 2017-03-10 가동테이블 냉각장치 및 가동테이블 냉각시스템
CN201780017119.1A CN108885032B (zh) 2016-03-16 2017-03-10 可动工作台冷却装置及可动工作台冷却系统
US16/131,277 US10921041B2 (en) 2016-03-16 2018-09-14 Movable platen cooling apparatus and movable platen cooling system

Applications Claiming Priority (2)

Application Number Priority Date Filing Date Title
JP2016-052227 2016-03-16
JP2016052227A JP6632917B2 (ja) 2016-03-16 2016-03-16 可動テーブル冷却装置及び可動テーブル冷却システム

Related Child Applications (1)

Application Number Title Priority Date Filing Date
US16/131,277 Continuation US10921041B2 (en) 2016-03-16 2018-09-14 Movable platen cooling apparatus and movable platen cooling system

Publications (1)

Publication Number Publication Date
WO2017159580A1 true WO2017159580A1 (ja) 2017-09-21

Family

ID=59851460

Family Applications (1)

Application Number Title Priority Date Filing Date
PCT/JP2017/009840 Ceased WO2017159580A1 (ja) 2016-03-16 2017-03-10 可動テーブル冷却装置及び可動テーブル冷却システム

Country Status (6)

Country Link
US (1) US10921041B2 (enExample)
JP (1) JP6632917B2 (enExample)
KR (1) KR102194671B1 (enExample)
CN (1) CN108885032B (enExample)
TW (1) TWI683079B (enExample)
WO (1) WO2017159580A1 (enExample)

Cited By (2)

* Cited by examiner, † Cited by third party
Publication number Priority date Publication date Assignee Title
EP3748256A4 (en) * 2018-01-29 2021-03-10 Sumitomo Heavy Industries, Ltd. LOW TEMPERATURE COOLING SYSTEM
EP3745048A4 (en) * 2018-01-23 2021-03-10 Sumitomo Heavy Industries, Ltd. CRYOGENIC COOLING SYSTEM

Families Citing this family (6)

* Cited by examiner, † Cited by third party
Publication number Priority date Publication date Assignee Title
DK4022233T3 (da) 2019-08-26 2025-06-10 Lambhusasund Ehf Indretning og fremgangsmåde til nedfrysning af fødevarer
JP7630946B2 (ja) * 2020-10-01 2025-02-18 住友重機械工業株式会社 極低温冷凍機および極低温冷凍機の制御方法
WO2023009595A1 (en) 2021-07-29 2023-02-02 Sumitomo (Shi) Cryogenics Of America, Inc. Serially arranged circulating cryocooler system
CN114273372B (zh) * 2021-11-19 2022-11-08 北京戴纳实验科技有限公司 一种智能通风柜的控制系统
JPWO2023189805A1 (enExample) * 2022-03-28 2023-10-05
JP7749000B2 (ja) * 2023-12-22 2025-10-03 エドワーズ株式会社 冷却システム

Citations (5)

* Cited by examiner, † Cited by third party
Publication number Priority date Publication date Assignee Title
JPH10311618A (ja) * 1997-05-09 1998-11-24 Sumitomo Heavy Ind Ltd 熱輻射シールド板冷却装置
JP2004301367A (ja) * 2003-03-28 2004-10-28 Aisin Seiki Co Ltd 極低温発生装置
US20060097146A1 (en) * 2004-11-09 2006-05-11 Bruker Biospin Gmbh NMR spectrometer with a common refrigerator for cooling an NMR probe head and cryostat
JP2006258313A (ja) * 2005-03-15 2006-09-28 Fuji Electric Holdings Co Ltd パルス管冷凍機およびパルス管冷凍機搭載装置
JP2006343075A (ja) * 2005-06-10 2006-12-21 National Institute Of Advanced Industrial & Technology 機械式冷凍機とジュール・トムソン膨張を用いた極低温冷凍機

Family Cites Families (16)

* Cited by examiner, † Cited by third party
Publication number Priority date Publication date Assignee Title
US3584471A (en) * 1969-08-15 1971-06-15 Pennwalt Corp Continuous freezing apparatus including cooling platen
JPH079000Y2 (ja) * 1988-02-23 1995-03-06 住友重機械工業株式会社 極低温冷凍装置
JP2617172B2 (ja) * 1989-04-14 1997-06-04 住友重機械工業株式会社 極低温冷却装置
JPH10132405A (ja) * 1996-11-01 1998-05-22 Toshiba Corp 蓄冷式冷凍機およびその運転方法
JP4132130B2 (ja) 1997-05-09 2008-08-13 住友重機械工業株式会社 高温超伝導磁気シールド体用冷却装置
JPH1163697A (ja) 1997-08-08 1999-03-05 Sumitomo Heavy Ind Ltd 分離型極低温冷却装置
JPH11248280A (ja) * 1998-03-05 1999-09-14 Sumitomo Heavy Ind Ltd クライオパネルの冷却装置
JPH11257773A (ja) * 1998-03-16 1999-09-24 Toshiba Corp 蓄冷式冷凍機の運転方法及び蓄冷式冷凍装置
DE102004053973B3 (de) * 2004-11-09 2006-07-20 Bruker Biospin Ag NMR-Spektrometer mit Refrigeratorkühlung
JP5380310B2 (ja) * 2010-01-06 2014-01-08 株式会社東芝 極低温冷凍機
EP2625474B1 (en) * 2010-10-08 2017-05-24 Sumitomo Cryogenics Of America Inc. Fast cool down cryogenic refrigerator
KR101242677B1 (ko) * 2012-11-01 2013-03-18 윤슬(주) 극저온 스테이지를 포함하는 고자기장 측정 시스템 및 그 제어 방법
JP6067423B2 (ja) * 2013-03-04 2017-01-25 住友重機械工業株式会社 極低温冷凍装置、クライオポンプ、核磁気共鳴画像装置、及び極低温冷凍装置の制御方法
JP5943865B2 (ja) * 2013-03-12 2016-07-05 住友重機械工業株式会社 クライオポンプシステム、クライオポンプシステムの運転方法、及び圧縮機ユニット
GB2535083B (en) * 2013-12-19 2020-05-13 Sumitomo Shi Cryogenics Of America Inc Hybrid Brayton-Gifford-McMahon expander
KR101478288B1 (ko) * 2014-10-31 2015-01-02 한국기초과학지원연구원 극저온유체의 재응축형 극저온 프로브스테이션

Patent Citations (5)

* Cited by examiner, † Cited by third party
Publication number Priority date Publication date Assignee Title
JPH10311618A (ja) * 1997-05-09 1998-11-24 Sumitomo Heavy Ind Ltd 熱輻射シールド板冷却装置
JP2004301367A (ja) * 2003-03-28 2004-10-28 Aisin Seiki Co Ltd 極低温発生装置
US20060097146A1 (en) * 2004-11-09 2006-05-11 Bruker Biospin Gmbh NMR spectrometer with a common refrigerator for cooling an NMR probe head and cryostat
JP2006258313A (ja) * 2005-03-15 2006-09-28 Fuji Electric Holdings Co Ltd パルス管冷凍機およびパルス管冷凍機搭載装置
JP2006343075A (ja) * 2005-06-10 2006-12-21 National Institute Of Advanced Industrial & Technology 機械式冷凍機とジュール・トムソン膨張を用いた極低温冷凍機

Cited By (4)

* Cited by examiner, † Cited by third party
Publication number Priority date Publication date Assignee Title
EP3745048A4 (en) * 2018-01-23 2021-03-10 Sumitomo Heavy Industries, Ltd. CRYOGENIC COOLING SYSTEM
US12031682B2 (en) 2018-01-23 2024-07-09 Sumitomo Heavy Industries, Ltd. Cryogenic cooling system
EP3748256A4 (en) * 2018-01-29 2021-03-10 Sumitomo Heavy Industries, Ltd. LOW TEMPERATURE COOLING SYSTEM
US11525607B2 (en) 2018-01-29 2022-12-13 Sumitomo Heavy Industries, Ltd. Cryogenic cooling system

Also Published As

Publication number Publication date
CN108885032A (zh) 2018-11-23
CN108885032B (zh) 2020-08-25
KR20180121918A (ko) 2018-11-09
TWI683079B (zh) 2020-01-21
JP2017166747A (ja) 2017-09-21
US10921041B2 (en) 2021-02-16
KR102194671B1 (ko) 2020-12-23
JP6632917B2 (ja) 2020-01-22
US20190011169A1 (en) 2019-01-10
TW201734390A (zh) 2017-10-01

Similar Documents

Publication Publication Date Title
JP6632917B2 (ja) 可動テーブル冷却装置及び可動テーブル冷却システム
JP6067423B2 (ja) 極低温冷凍装置、クライオポンプ、核磁気共鳴画像装置、及び極低温冷凍装置の制御方法
CN115461582B (zh) 超导磁铁装置、超低温制冷机及超导磁铁装置的冷却方法
KR20140112000A (ko) 크라이오펌프 시스템, 크라이오펌프 시스템의 운전방법, 및 압축기유닛
CN113825958B (zh) 多级式脉冲管制冷机及多级式脉冲管制冷机的冷头
KR102059088B1 (ko) 하이브리드 브레이튼-기퍼드-맥마흔 팽창기
US11215385B2 (en) Hybrid Gifford-McMahon-Brayton expander
JP2006194518A (ja) 冷凍装置
JP2021134954A (ja) 冷凍装置
US6351954B1 (en) Pulse tube refrigerator
US10690014B2 (en) Cooling module, supercritical fluid power generation system including the same, and supercritical fluid supply method using the same
WO2021048900A1 (ja) 室外ユニットおよび冷凍サイクル装置
JP2019128115A (ja) パルス管冷凍機
KR100374167B1 (ko) 측관이 마련된 냉동냉장시스템
JP5573302B2 (ja) 冷凍装置
JP2014001916A (ja) 冷凍サイクル装置
JP2017214936A (ja) クライオポンプシステム、及びクライオポンプシステムの運転方法
JP5412073B2 (ja) 熱源システムおよびその制御方法
JP2011214757A5 (enExample)
JP6501392B2 (ja) 制御装置、制御方法及びプログラム
JP2005241074A (ja) 空気調和機
CN117847815A (zh) 超低温制冷机的运行方法及超低温制冷机
JP2018066514A (ja) 冷凍装置
JP2016121829A (ja) 冷凍装置及びその制御方法
TW202331162A (zh) 冷卻系統、半導體製造系統、蝕刻方法及裝置的製造方法

Legal Events

Date Code Title Description
ENP Entry into the national phase

Ref document number: 20187026720

Country of ref document: KR

Kind code of ref document: A

NENP Non-entry into the national phase

Ref country code: DE

121 Ep: the epo has been informed by wipo that ep was designated in this application

Ref document number: 17766580

Country of ref document: EP

Kind code of ref document: A1

122 Ep: pct application non-entry in european phase

Ref document number: 17766580

Country of ref document: EP

Kind code of ref document: A1