WO2017110380A1 - 作業車両および作業車両の制御方法 - Google Patents

作業車両および作業車両の制御方法 Download PDF

Info

Publication number
WO2017110380A1
WO2017110380A1 PCT/JP2016/085345 JP2016085345W WO2017110380A1 WO 2017110380 A1 WO2017110380 A1 WO 2017110380A1 JP 2016085345 W JP2016085345 W JP 2016085345W WO 2017110380 A1 WO2017110380 A1 WO 2017110380A1
Authority
WO
WIPO (PCT)
Prior art keywords
bucket
work
display
support information
display device
Prior art date
Legal status (The legal status is an assumption and is not a legal conclusion. Google has not performed a legal analysis and makes no representation as to the accuracy of the status listed.)
Ceased
Application number
PCT/JP2016/085345
Other languages
English (en)
French (fr)
Japanese (ja)
Inventor
憲史 大岩
正男 山村
智裕 中川
Current Assignee (The listed assignees may be inaccurate. Google has not performed a legal analysis and makes no representation or warranty as to the accuracy of the list.)
Komatsu Ltd
Original Assignee
Komatsu Ltd
Priority date (The priority date is an assumption and is not a legal conclusion. Google has not performed a legal analysis and makes no representation as to the accuracy of the date listed.)
Filing date
Publication date
Application filed by Komatsu Ltd filed Critical Komatsu Ltd
Priority to US16/060,111 priority Critical patent/US10954655B2/en
Priority to CN201680069077.1A priority patent/CN108291388B/zh
Priority to DE112016005230.8T priority patent/DE112016005230T5/de
Priority to KR1020187014003A priority patent/KR102119709B1/ko
Publication of WO2017110380A1 publication Critical patent/WO2017110380A1/ja
Anticipated expiration legal-status Critical
Ceased legal-status Critical Current

Links

Images

Classifications

    • EFIXED CONSTRUCTIONS
    • E02HYDRAULIC ENGINEERING; FOUNDATIONS; SOIL SHIFTING
    • E02FDREDGING; SOIL-SHIFTING
    • E02F9/00Component parts of dredgers or soil-shifting machines, not restricted to one of the kinds covered by groups E02F3/00 - E02F7/00
    • E02F9/26Indicating devices
    • E02F9/264Sensors and their calibration for indicating the position of the work tool
    • EFIXED CONSTRUCTIONS
    • E02HYDRAULIC ENGINEERING; FOUNDATIONS; SOIL SHIFTING
    • E02FDREDGING; SOIL-SHIFTING
    • E02F9/00Component parts of dredgers or soil-shifting machines, not restricted to one of the kinds covered by groups E02F3/00 - E02F7/00
    • E02F9/26Indicating devices
    • BPERFORMING OPERATIONS; TRANSPORTING
    • B60VEHICLES IN GENERAL
    • B60KARRANGEMENT OR MOUNTING OF PROPULSION UNITS OR OF TRANSMISSIONS IN VEHICLES; ARRANGEMENT OR MOUNTING OF PLURAL DIVERSE PRIME-MOVERS IN VEHICLES; AUXILIARY DRIVES FOR VEHICLES; INSTRUMENTATION OR DASHBOARDS FOR VEHICLES; ARRANGEMENTS IN CONNECTION WITH COOLING, AIR INTAKE, GAS EXHAUST OR FUEL SUPPLY OF PROPULSION UNITS IN VEHICLES
    • B60K35/00Instruments specially adapted for vehicles; Arrangement of instruments in or on vehicles
    • B60K35/20Output arrangements, i.e. from vehicle to user, associated with vehicle functions or specially adapted therefor
    • B60K35/21Output arrangements, i.e. from vehicle to user, associated with vehicle functions or specially adapted therefor using visual output, e.g. blinking lights or matrix displays
    • B60K35/22Display screens
    • BPERFORMING OPERATIONS; TRANSPORTING
    • B60VEHICLES IN GENERAL
    • B60KARRANGEMENT OR MOUNTING OF PROPULSION UNITS OR OF TRANSMISSIONS IN VEHICLES; ARRANGEMENT OR MOUNTING OF PLURAL DIVERSE PRIME-MOVERS IN VEHICLES; AUXILIARY DRIVES FOR VEHICLES; INSTRUMENTATION OR DASHBOARDS FOR VEHICLES; ARRANGEMENTS IN CONNECTION WITH COOLING, AIR INTAKE, GAS EXHAUST OR FUEL SUPPLY OF PROPULSION UNITS IN VEHICLES
    • B60K35/00Instruments specially adapted for vehicles; Arrangement of instruments in or on vehicles
    • B60K35/20Output arrangements, i.e. from vehicle to user, associated with vehicle functions or specially adapted therefor
    • B60K35/28Output arrangements, i.e. from vehicle to user, associated with vehicle functions or specially adapted therefor characterised by the type of the output information, e.g. video entertainment or vehicle dynamics information; characterised by the purpose of the output information, e.g. for attracting the attention of the driver
    • BPERFORMING OPERATIONS; TRANSPORTING
    • B60VEHICLES IN GENERAL
    • B60KARRANGEMENT OR MOUNTING OF PROPULSION UNITS OR OF TRANSMISSIONS IN VEHICLES; ARRANGEMENT OR MOUNTING OF PLURAL DIVERSE PRIME-MOVERS IN VEHICLES; AUXILIARY DRIVES FOR VEHICLES; INSTRUMENTATION OR DASHBOARDS FOR VEHICLES; ARRANGEMENTS IN CONNECTION WITH COOLING, AIR INTAKE, GAS EXHAUST OR FUEL SUPPLY OF PROPULSION UNITS IN VEHICLES
    • B60K35/00Instruments specially adapted for vehicles; Arrangement of instruments in or on vehicles
    • B60K35/20Output arrangements, i.e. from vehicle to user, associated with vehicle functions or specially adapted therefor
    • B60K35/29Instruments characterised by the way in which information is handled, e.g. showing information on plural displays or prioritising information according to driving conditions
    • BPERFORMING OPERATIONS; TRANSPORTING
    • B60VEHICLES IN GENERAL
    • B60KARRANGEMENT OR MOUNTING OF PROPULSION UNITS OR OF TRANSMISSIONS IN VEHICLES; ARRANGEMENT OR MOUNTING OF PLURAL DIVERSE PRIME-MOVERS IN VEHICLES; AUXILIARY DRIVES FOR VEHICLES; INSTRUMENTATION OR DASHBOARDS FOR VEHICLES; ARRANGEMENTS IN CONNECTION WITH COOLING, AIR INTAKE, GAS EXHAUST OR FUEL SUPPLY OF PROPULSION UNITS IN VEHICLES
    • B60K35/00Instruments specially adapted for vehicles; Arrangement of instruments in or on vehicles
    • B60K35/80Arrangements for controlling instruments
    • B60K35/81Arrangements for controlling instruments for controlling displays
    • EFIXED CONSTRUCTIONS
    • E02HYDRAULIC ENGINEERING; FOUNDATIONS; SOIL SHIFTING
    • E02FDREDGING; SOIL-SHIFTING
    • E02F3/00Dredgers; Soil-shifting machines
    • E02F3/04Dredgers; Soil-shifting machines mechanically-driven
    • E02F3/28Dredgers; Soil-shifting machines mechanically-driven with digging tools mounted on a dipper- or bucket-arm, i.e. there is either one arm or a pair of arms, e.g. dippers, buckets
    • E02F3/36Component parts
    • E02F3/42Drives for dippers, buckets, dipper-arms or bucket-arms
    • E02F3/43Control of dipper or bucket position; Control of sequence of drive operations
    • E02F3/435Control of dipper or bucket position; Control of sequence of drive operations for dipper-arms, backhoes or the like
    • EFIXED CONSTRUCTIONS
    • E02HYDRAULIC ENGINEERING; FOUNDATIONS; SOIL SHIFTING
    • E02FDREDGING; SOIL-SHIFTING
    • E02F9/00Component parts of dredgers or soil-shifting machines, not restricted to one of the kinds covered by groups E02F3/00 - E02F7/00
    • E02F9/20Drives; Control devices
    • E02F9/2004Control mechanisms, e.g. control levers
    • EFIXED CONSTRUCTIONS
    • E02HYDRAULIC ENGINEERING; FOUNDATIONS; SOIL SHIFTING
    • E02FDREDGING; SOIL-SHIFTING
    • E02F9/00Component parts of dredgers or soil-shifting machines, not restricted to one of the kinds covered by groups E02F3/00 - E02F7/00
    • E02F9/26Indicating devices
    • E02F9/261Surveying the work-site to be treated
    • EFIXED CONSTRUCTIONS
    • E02HYDRAULIC ENGINEERING; FOUNDATIONS; SOIL SHIFTING
    • E02FDREDGING; SOIL-SHIFTING
    • E02F9/00Component parts of dredgers or soil-shifting machines, not restricted to one of the kinds covered by groups E02F3/00 - E02F7/00
    • E02F9/26Indicating devices
    • E02F9/261Surveying the work-site to be treated
    • E02F9/262Surveying the work-site to be treated with follow-up actions to control the work tool, e.g. controller
    • BPERFORMING OPERATIONS; TRANSPORTING
    • B60VEHICLES IN GENERAL
    • B60KARRANGEMENT OR MOUNTING OF PROPULSION UNITS OR OF TRANSMISSIONS IN VEHICLES; ARRANGEMENT OR MOUNTING OF PLURAL DIVERSE PRIME-MOVERS IN VEHICLES; AUXILIARY DRIVES FOR VEHICLES; INSTRUMENTATION OR DASHBOARDS FOR VEHICLES; ARRANGEMENTS IN CONNECTION WITH COOLING, AIR INTAKE, GAS EXHAUST OR FUEL SUPPLY OF PROPULSION UNITS IN VEHICLES
    • B60K35/00Instruments specially adapted for vehicles; Arrangement of instruments in or on vehicles
    • B60K35/10Input arrangements, i.e. from user to vehicle, associated with vehicle functions or specially adapted therefor
    • BPERFORMING OPERATIONS; TRANSPORTING
    • B60VEHICLES IN GENERAL
    • B60KARRANGEMENT OR MOUNTING OF PROPULSION UNITS OR OF TRANSMISSIONS IN VEHICLES; ARRANGEMENT OR MOUNTING OF PLURAL DIVERSE PRIME-MOVERS IN VEHICLES; AUXILIARY DRIVES FOR VEHICLES; INSTRUMENTATION OR DASHBOARDS FOR VEHICLES; ARRANGEMENTS IN CONNECTION WITH COOLING, AIR INTAKE, GAS EXHAUST OR FUEL SUPPLY OF PROPULSION UNITS IN VEHICLES
    • B60K35/00Instruments specially adapted for vehicles; Arrangement of instruments in or on vehicles
    • B60K35/50Instruments characterised by their means of attachment to or integration in the vehicle

Definitions

  • the present invention relates to a work vehicle and a work vehicle control method, and more particularly, to a work vehicle having a bucket and an image display control method in the work vehicle.
  • a work vehicle such as hydraulic excavators
  • Such a work vehicle has a main body part and a working machine connected to the main body part.
  • a working machine for a hydraulic excavator includes a boom, an arm, and a bucket in order from the main body side.
  • Patent Document 1 discloses a hydraulic excavator as a work vehicle.
  • the hydraulic excavator includes a cab, a work implement, a display device, and a display position control unit.
  • the work machine operates by an operation of an operator in the cab.
  • the display device is provided in the cab and displays a predetermined image.
  • the display device provided in the front of the cab is a transmissive display device, and is provided so that an operator in the cab can visually observe the working machine.
  • An object of the present invention is made in view of the above points, and is to provide a work vehicle and a work vehicle control method capable of further improving work efficiency.
  • a work vehicle includes a work implement, a main body, a bucket position detection unit, a display device, and a display control unit.
  • the work machine has a bucket.
  • the main body is attached with a work machine and has a cab.
  • the bucket position detection unit detects the position of the bucket.
  • the display device is provided in the driver's cab and displays work support information superimposed on the actual scene of the work site.
  • the display control unit changes the display of the work support information on the display device based on the distance between the bucket position detected by the bucket position detection unit and the designed terrain.
  • an operator working while visually observing the bucket can appropriately acquire work support information corresponding to the work situation based on the distance between the position of the bucket and the design landform, and further improve work efficiency. Can be achieved.
  • the display control unit changes the display of the work support information on the display device when the distance between the bucket position and the design landform is within a predetermined value.
  • an operator who is working while visually observing the bucket can recognize that the distance from the design terrain is close, and can prompt the operator to perform highly accurate excavation work, which further increases work efficiency. It is possible to improve.
  • the display control unit further includes a follow-up processing unit that displays work support information that moves following the movement of the bucket.
  • the display control unit increases the number of work support information displayed on the display device when the distance between the position of the bucket and the designed landform is within a predetermined value.
  • the work support information moves following the bucket visually observed by the operator, it is possible to further improve the work efficiency by reducing the visual movement of the operator. Furthermore, when the distance between the bucket position and the designed terrain is within a predetermined value, the amount of information to be acquired increases as the number of work support information displays increases, so that work efficiency can be further improved. is there.
  • the display control unit arranges the work support information in the display device at least one of a position on the left side or a right side of the bucket as viewed from an operator in the cab.
  • a work vehicle control method provided with a work machine having a work bucket according to a certain aspect and a display device provided in a cab and displaying work support information superimposed on a real scene of a work site, the position of the bucket And a step of changing the display of the work support information on the display device based on the distance between the detected position of the bucket and the designed landform.
  • an operator working while visually observing the bucket can appropriately acquire work support information corresponding to the work situation based on the distance between the position of the bucket and the design landform, and further improve work efficiency. Can be achieved.
  • the work efficiency can be further improved.
  • FIG. 1 It is a figure explaining the appearance of work vehicle 101 based on an embodiment. It is a block diagram showing the structure of the control system with which the working vehicle 101 based on embodiment is provided. It is a figure explaining the display content of the work assistance information of the display apparatus 44 based on embodiment. It is a figure explaining the system which calculates the blade edge
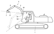
  • FIG. 1 is a diagram illustrating the appearance of a work vehicle 101 based on the embodiment.
  • a hydraulic excavator will be described as an example of the work vehicle 101 based on the embodiment.
  • the work vehicle 101 mainly includes the traveling body 1, the turning body 3, and the work implement 4.
  • the main body of the work vehicle 101 is composed of a traveling body 1 and a revolving body 3.
  • a work machine 4 is attached to the main body.
  • the traveling body 1 has a pair of left and right crawler belts.
  • the turning body 3 is mounted so as to be turnable via the turning mechanism of the traveling body 1.
  • the swivel body 3 has a cab 8 or the like.
  • the work machine 4 is pivotally supported in the revolving structure 3 so as to be operable in the vertical direction, and performs work such as excavation of earth and sand.
  • the work machine 4 includes a boom 5, an arm 6, and a bucket 7.
  • the work machine 4 is provided at a position visually recognized from the cab 8 to the right front.
  • the base of the boom 5 is movably connected to the revolving unit 3.
  • the arm 6 is movably connected to the tip of the boom 5.
  • the bucket 7 is movably connected to the tip of the arm 6.
  • the bucket 7 is movable in the vertical direction with respect to the cab 8. Further, the bucket 7 is also movable in the front-rear direction with respect to the cab 8.
  • the bucket 7 has a cutting edge 7A.
  • the cab 8 has a windshield 2.
  • the windshield 2 is fixed by a frame 9.
  • the windshield 2 includes a windshield 2A and a windshield 2B below the windshield 2A.
  • the windshield 2A is provided inside the opening frame 9A (inside the opening frame), and the windshield 2B is provided inside the lower opening frame 9B.
  • the windshields 2 ⁇ / b> A and 2 ⁇ / b> B are provided separately according to the bent shape of the frame 9 in front of the cab 8.
  • the display device 44 is attached in front of the driver's seat of the cab 8 of the work vehicle 101.
  • the display device 44 includes a member (such as a film) that transmits external light incident on the cab 8 and a projector (projector).
  • the image projected by the projector is displayed as a real image on a member (film or the like) that transmits external light.
  • the display area of the display device 44 is provided in the opening frame 9 ⁇ / b> A on the front surface of the cab 8 of the work vehicle 101. The operator of the cab 8 can see the actual scene of the work site including the work machine 4 through the display area of the display device 44.
  • the display device 44 displays information (work support information) for assisting the operation (work) of the work machine 4 by the operator, superimposed on the actual scene of the work site.
  • the display device 44 functions as a head-up display that directly displays an image in the visual field of the operator.
  • a member that transmits external light such as a film of the display device 44, is installed so as to be superimposed on the windshield 2A.
  • the display device 44 has a display area up to the edge of the windshield 2A. Note that the size of the windshield 2A may be the same as the display area of the display device 44 or may be different.
  • the display device 44 a configuration for displaying an image projected by a projector (projector) on a member (film or the like) that transmits external light incident on the cab 8 will be described.
  • FIG. 2 is a block diagram showing a configuration of a control system provided in work vehicle 101 based on the embodiment.
  • the work vehicle 101 includes an operation device 10, a work machine controller 20, a work machine drive device 30, and a display system 40.
  • the operation device 10 includes operation members 11L and 11R, an operation detection unit 12, a travel operation member 13, and a travel operation detection unit 14.
  • the operation members 11L and 11R are used by an operator to operate the work machine 4 and the swing body 3.
  • the operation member 11 ⁇ / b> R is used for an operator to operate the boom 5 and the bucket 7.
  • the operation member 11L is used for an operator to operate the swing body 3 and the arm 6.
  • the operation detection unit 12 detects an operator's operation on the operation member 11L.
  • the operation detection unit 12R detects an operator's operation on the operation member 11R.
  • the traveling operation member 13 is used for an operator to operate the traveling of the work vehicle 101.
  • the traveling operation detector 14 generates a pilot flow rate according to the operation content of the traveling operation member 13.
  • the work vehicle 101 moves at a speed according to the pilot flow rate.
  • the work machine controller 20 includes a storage unit 21 and a calculation unit 22.
  • the storage unit 21 includes a memory such as a RAM (Random Access Memory) and a ROM (Read Only Memory).
  • the calculation unit 22 is configured by a calculation processing device such as a CPU (Central Processing Unit).
  • the work machine controller 20 mainly controls the operation of the work machine 4 and the turning of the revolving structure 3.
  • the work machine controller 20 generates a control signal for operating the work machine 4 and the swing body 3 in accordance with the operation of the operation members 11L and 11R.
  • the work machine controller 20 outputs the generated control signal to the work machine drive device 30.
  • the work machine drive device 30 includes a proportional control valve 31.
  • the proportional control valve 31 operates based on a control signal from the work machine controller 20.
  • the proportional control valve 31 supplies hydraulic oil having a flow rate corresponding to the control signal to the hydraulic cylinder and the swing motor. Thereby, the working machine 4 operates and the revolving structure 3 turns.
  • the display device 44 of the display system 40 displays various images such as work support information.
  • the display system 40 includes a bucket position detection unit 41, a display control unit 43, and a display device 44.
  • a predetermined reference position is set in advance as the viewpoint position of the operator.
  • the bucket position detection unit 41 includes a bucket angle sensor 411, an arm angle sensor 412, and a boom angle sensor 413.
  • the bucket angle sensor 411 detects a relative angle of the bucket 7 from a predetermined reference position.
  • the arm angle sensor 412 detects a relative angle of the arm 6 from a predetermined reference position.
  • the boom angle sensor 413 detects a relative angle of the boom 5 from a predetermined reference position.
  • the bucket position detection unit 41 detects the position of the bucket 7 with respect to the work vehicle main body based on the detected information on the three relative angles. The position of the bucket 7 in the vehicle body coordinate system is detected. The bucket position detection unit 41 detects, for example, the position of the cutting edge 7 ⁇ / b> A of the bucket 7 as the position of the bucket 7.
  • the display control unit 43 includes a display content control unit 430, a follow-up processing unit 434, and an image generation unit 433.
  • the display control unit 43 causes the display device 44 to display work support information based on the detected position of the bucket 7.
  • the image generation unit 433 generates an image to be displayed on the display device 44.
  • the image generation unit 433 generates an image representing a vehicle speedometer, an engine tachometer, a fuel gauge, an oil temperature gauge, and the like. Furthermore, the image generation unit 433 generates an image representing the work support information.
  • the image generation unit 433 is connected to a controller (not shown) that controls the power system of the work vehicle 101.
  • the image generation unit 433 receives information detected by various sensors, information related to control contents by the controller, and the like.
  • the image generation unit 433 generates an image to be displayed on the display device 44 based on the received information.
  • the display content control unit 430 calculates the display position of the image on the display device 44, and displays the image at the calculated display position.
  • the display content control unit 430 calculates the display position of the work support information on the display device 44 and displays the work support information at the calculated position. Further, the display content control unit 430 changes the display of the work support information according to the work situation.
  • the follow-up processing unit 434 performs a process of moving and displaying at least one piece of work support information constituting the work support information displayed on the display device 44 following the movement of the bucket 7.
  • Each functional block of the display control unit 43 is realized by an arithmetic processing device such as a CPU or a storage device such as a RAM and a ROM.
  • FIG. 3 is a diagram for explaining the display contents of the work support information of the display device 44 based on the embodiment.
  • FIG. 3 (A) shows work support information during rough excavation.
  • the display content control unit 430 displays work support information in the display area of the display device 44. Specifically, two pieces of work support information 94 and 95 are displayed.
  • the work support information 94 represents the design terrain direction and the distance between the design terrain and the cutting edge 7A. In FIG. 3A, 2.0 m is shown as the distance between the design topography and the cutting edge 7A.
  • work support information 94 is displayed as information necessary for executing excavation work.
  • the work support information 95 is a bar indicating the progress of work in the entire work process, and can be configured not to be displayed.
  • Fig. 3 (B) shows work support information during finishing excavation.
  • the display content control unit 430 displays work support information in the display area of the display device 44. Specifically, five pieces of work support information 91 to 95 are displayed.
  • the display content control unit 430 determines whether the work status is during rough excavation or final excavation based on the distance between the cutting edge 7A of the bucket 7 and the design topography. Specifically, if it exceeds a predetermined value, it is determined that it is during rough excavation, and if it is less than the predetermined value, it is determined that it is during finish excavation.
  • the display content control unit 430 displays work support information corresponding to the work situation based on the determination result.
  • the distance between the cutting edge 7A of the bucket 7 and the design terrain is short, so various information is necessary to perform highly accurate excavation work, and more work support information is displayed than during rough excavation. To do.
  • the display content control unit 430 displays each of the work support information 91 to 94 around the bucket 7.
  • the display content control unit 430 may display the work support information 91 to 94 at a position above the blade edge 7A of the bucket 7.
  • the display content control unit 430 performs the work support in the display device 44 so that the work support information 91 and 92 is visually recognized at the position on the left side of the bucket 7 when viewed from the cab 8.
  • the display position of the information 91 and 92 is controlled.
  • the display content control unit 430 controls the display positions of the work support information 93 and 94 on the display device 44 so that the work support information 93 and 94 is visually recognized at a position on the right side of the bucket 7 when viewed from the cab 8. To do.
  • the work support information 91 represents a facing compass.
  • the facing compass indicates whether the work vehicle 101 is in a state of facing the design terrain data. Further, when the facing compass is not in the facing state, the amount of deviation is represented by the rotation angle of the arrow inside the circle.
  • the display control unit 43 displays the work support information 91 in a manner different from the manner shown in FIG. 3 such as changing the display color of the face-to-face compass. May be displayed.
  • the work support information 92 represents a cross section (cross section) between the design topography and the cutting edge.
  • the work support information 93 represents a light bar.
  • the light bar is displayed during finish excavation. Like a light bar, the distance between the design terrain and the cutting edge 7A can be displayed as a graphic to improve the operator's information recognizability.
  • the work support information 94 is indicated as 0.5 m as the design terrain direction and the distance between the design terrain and the cutting edge 7A.
  • the display content control unit 430 determines whether the work status is during rough excavation or finish excavation based on the distance between the cutting edge 7A of the bucket 7 and the design topography, and according to the work status based on the determination result. Display work support information.
  • the work support information 95 is a bar indicating the progress of work in the entire work process. As described with reference to FIG. 3A, during rough excavation, work support information (work support information 94) corresponding to the work situation is displayed around the bucket 7 so that a good view of the operator around the bucket 7 is secured. It becomes possible to do.
  • work support information (work support information 91 to 94) corresponding to the work status is displayed around the bucket 7 so that highly accurate excavation work is performed. It is possible to improve the work efficiency.
  • an operator working while visually observing the bucket can appropriately acquire work support information corresponding to the work situation based on the distance between the position of the bucket and the design landform, and further improve work efficiency. Can be achieved.
  • the work support information displayed on the display device 44 is not limited to these.
  • two work support information is displayed during rough excavation and five work support information is displayed during finish excavation.
  • the present invention is not limited to this, and nothing is displayed during rough excavation. Instead, at least one piece of work support information may be displayed during finish excavation.
  • the display content control unit 430 moves and displays the work support information 91 to 94 following the movement of the bucket 7 as shown in FIG.
  • FIG. 4 is a diagram for explaining a method for calculating the blade edge position of the bucket 7 on the display device 44.
  • FIG. 4 shows the viewpoint position (reference position) E of the operator. Further, the bucket position detector 41 detects the position P of the cutting edge 7A of the bucket 7 in the vehicle body coordinate system. The display content control unit 430 calculates the position where the detected position P of the cutting edge 7A of the bucket 7 and the viewpoint position E of the operator intersect as the cutting edge position Q of the bucket 7 on the display device 44.
  • FIG. 4 shows a case where the blade edge positions Q1, Q2 of the bucket 7 are calculated according to the state of the work machine 4.
  • the follow-up processing unit 434 executes display processing that follows the movement of the bucket 7 for the work support information 91 to 94. Specifically, when the bucket 7 moves, the tracking processing unit 434 changes the display positions of the work support information 91 to 94 on the display device 44 to the movement of the bucket 7 based on the blade edge positions of the bucket 7 that are sequentially calculated. Perform processing to follow.
  • the follow-up processing unit 434 causes the display positions of the work support information 91 to 94 to follow the movement of the bucket 7 so that the relative positional relationship with the bucket 7 is constant.
  • the work support information 91 to 94 is arranged following the bucket 7 viewed by the operator. Thereby, the work efficiency can be further improved by reducing the visual movement of the operator.
  • FIG. 5 is a flowchart for explaining the work support information display processing based on the embodiment.
  • the display control unit 43 acquires the position of the bucket 7 and the position of the cutting edge 7A on the vehicle body coordinate system (step S2). Specifically, the display content control unit 430 acquires the positions of the bucket 7 and the cutting edge 7A of the bucket 7 in the vehicle body coordinate system according to the detection result of the bucket position detection unit 41.
  • the display control unit 43 calculates the position of the bucket 7 and the position of the blade edge 7A on the global coordinate system (step S4). Specifically, the display content control unit 430 calculates the position of the bucket 7 and the position of the blade edge 7A on the global coordinate system based on information from various sensors.
  • the display control unit 43 calculates the distance between the design landform and the cutting edge 7A of the bucket 7 (step S6). Specifically, the display content control unit 430 calculates the distance based on the data relating to the designed terrain provided in advance and the calculated position of the cutting edge 7A of the bucket 7.
  • the display control unit 43 determines whether or not the distance between the design terrain and the cutting edge 7A of the bucket 7 is within a predetermined value (step S8). Specifically, the display content control unit 430 determines whether or not the distance between the predetermined design terrain data and the calculated blade edge 7A of the bucket 7 is within a predetermined value.
  • the predetermined value may be set in advance or may be changed by an operator. When it is within the predetermined value, the work status is set to an appropriate value so that it is determined as finishing excavation, and when it is out of the predetermined value, the work status is determined as rough excavation.
  • step S8 when the display control unit 43 determines that the distance between the design landform and the cutting edge 7A of the bucket 7 is not within the predetermined value (NO in step S8), the display control unit 43 displays the first work support information (step S8). S12). Specifically, when the display content control unit 430 determines that the distance between the design topography and the cutting edge 7A of the bucket 7 is not within a predetermined value, it determines that it is during rough excavation, and The work support information 94 and 95 described with reference to FIG.
  • step S8 when the display control unit 43 determines in step S8 that the distance between the design topography and the position of the cutting edge 7A of the bucket 7 is within a predetermined value (YES in step S8), the second work support Information is displayed (step S12). Specifically, when the display content control unit 430 determines that the distance between the design terrain and the cutting edge 7A of the bucket 7 is within a predetermined value, the display content control unit 430 determines that it is during finishing excavation, and The work support information 91 to 95 described with reference to FIG.
  • step S14 determines whether the work has been completed. If the display control unit 43 determines in step S14 that the work has been completed (YES in step S14), the display process ends (end). For example, when it is detected that the operator has performed an operation to stop the engine, it is determined that the work has been completed.
  • step S14 determines in step S14 that the work has not been completed (NO in step S14)
  • the process returns to step S2 and repeats the above processing.
  • step S8 the method for determining whether or not the distance between the design terrain and the cutting edge 7A of the bucket 7 is within a predetermined value in step S8 has been described.
  • this method is merely an example.
  • a method for determining whether or not the distance between the design terrain and the blade edge 7A of the bucket 7 is a predetermined value and whether the distance between the design terrain and the blade edge 7A of the bucket 7 is smaller than a predetermined value as separate processes. It is also possible to adopt.
  • the display control unit 43 can be changed to a method for determining whether or not the distance between the design landform and the cutting edge 7A of the bucket 7 is smaller than a predetermined value.
  • the work vehicle 101 may include a display device having a configuration different from that of the display device 44. Specifically, the work vehicle 101 may include a combiner as a display device.
  • FIG. 6 is a diagram illustrating another display device having a configuration different from the display device 44 of the embodiment.
  • the display device 70 is provided in the cab 8 and includes a projector 71, a lens engineering system 72, and a combiner 73.
  • Projector 71 is a projector.
  • the lens engineering system 72 is installed between the projector 71 and the combiner 73.
  • the lens engineering system 72 has a plurality of lenses. In the lens engineering system 72, some of the plurality of lenses are movable in the optical axis direction.
  • the combiner 73 is installed on the windshield 2A.
  • the combiner 73 may be installed on the windshield 2A and the windshield 2B.
  • the combiner 73 is composed of a half mirror that reflects part of the light and transmits the remaining light.
  • the combiner 73 reflects the image projected by the projector 71 to the operator side in the cab 8 and transmits light from outside the cab 8 into the cab 8.
  • the operator can grasp the image projected on the combiner 73 as a virtual image that is displayed superimposed on the real scene in front of the cab 8.
  • the display device 44 may display the inside of the opening frame 9B as a display area. That is, the cab 8 may be configured to include a transparent dual display. In this case, the display control unit 43 controls the display in the two display areas. Note that another display device may be provided for the display area of the opening frame 9B.
  • the work support information can also be displayed in the display area of the lower display device. Therefore, when the bucket 7 moves downward, the display control unit 43 can cause the bucket 7 to follow the work support information to the lower side than in the case illustrated in FIG. 3 and the like.
  • the configuration has been described in which the content of the work support information is changed based on whether or not the distance between the design terrain and the blade edge 7A of the bucket 7 is within a predetermined value. It is also possible to change the content of the work support information on the basis of it. Specifically, the content of the work support information may be changed according to work types such as flat ground work, dredging work, and slope shaping work. Judgment whether it is a flat work, a dredging work, or a slope shaping work may be made based on the design topography, or based on the construction plan data.
  • work types such as flat ground work, dredging work, and slope shaping work. Judgment whether it is a flat work, a dredging work, or a slope shaping work may be made based on the design topography, or based on the construction plan data.
  • the hydraulic excavator has been described as an example of the work vehicle, the present invention can also be applied to a backhoe loader and other work vehicles.

Landscapes

  • Engineering & Computer Science (AREA)
  • Mechanical Engineering (AREA)
  • Chemical & Material Sciences (AREA)
  • Combustion & Propulsion (AREA)
  • Transportation (AREA)
  • Mining & Mineral Resources (AREA)
  • Civil Engineering (AREA)
  • General Engineering & Computer Science (AREA)
  • Structural Engineering (AREA)
  • Component Parts Of Construction Machinery (AREA)
PCT/JP2016/085345 2015-12-25 2016-11-29 作業車両および作業車両の制御方法 Ceased WO2017110380A1 (ja)

Priority Applications (4)

Application Number Priority Date Filing Date Title
US16/060,111 US10954655B2 (en) 2015-12-25 2016-11-29 Work vehicle and method for controlling work vehicle
CN201680069077.1A CN108291388B (zh) 2015-12-25 2016-11-29 作业车辆以及作业车辆的控制方法
DE112016005230.8T DE112016005230T5 (de) 2015-12-25 2016-11-29 Arbeitsfahrzeug und Verfahren zum Steuern des Arbeitsfahrzeugs
KR1020187014003A KR102119709B1 (ko) 2015-12-25 2016-11-29 작업 차량 및 작업 차량의 제어 방법

Applications Claiming Priority (2)

Application Number Priority Date Filing Date Title
JP2015-253702 2015-12-25
JP2015253702A JP6666142B2 (ja) 2015-12-25 2015-12-25 作業車両および作業車両の制御方法

Publications (1)

Publication Number Publication Date
WO2017110380A1 true WO2017110380A1 (ja) 2017-06-29

Family

ID=59090078

Family Applications (1)

Application Number Title Priority Date Filing Date
PCT/JP2016/085345 Ceased WO2017110380A1 (ja) 2015-12-25 2016-11-29 作業車両および作業車両の制御方法

Country Status (6)

Country Link
US (1) US10954655B2 (enExample)
JP (1) JP6666142B2 (enExample)
KR (1) KR102119709B1 (enExample)
CN (1) CN108291388B (enExample)
DE (1) DE112016005230T5 (enExample)
WO (1) WO2017110380A1 (enExample)

Families Citing this family (5)

* Cited by examiner, † Cited by third party
Publication number Priority date Publication date Assignee Title
CN110520890B (zh) * 2017-07-14 2023-12-22 株式会社小松制作所 工作信息发送装置、施工管理系统、工作信息发送方法及计算机可读记录介质
JP7155516B2 (ja) * 2017-12-20 2022-10-19 コベルコ建機株式会社 建設機械
JP7236826B2 (ja) * 2018-07-31 2023-03-10 株式会社小松製作所 作業機械
US11421400B2 (en) * 2020-04-23 2022-08-23 Deere & Company Multiple mode operational system and method with object detection
US20240254731A1 (en) * 2023-01-26 2024-08-01 Deere & Company Terrain Measurement for Automation Control and Productivity Tracking of Work Machine

Citations (5)

* Cited by examiner, † Cited by third party
Publication number Priority date Publication date Assignee Title
JPH01312129A (ja) * 1988-06-13 1989-12-15 Komatsu Ltd 腕式作業機のモニタ装置
JP2004068433A (ja) * 2002-08-07 2004-03-04 Hitachi Constr Mach Co Ltd 掘削機械の表示システム及びそのプログラム
JP2013113044A (ja) * 2011-11-30 2013-06-10 Sumitomo (Shi) Construction Machinery Co Ltd 建設機械用モニタシステム
JP2014129676A (ja) * 2012-12-28 2014-07-10 Komatsu Ltd 建設機械の表示システムおよびその制御方法
JP2014205955A (ja) * 2013-04-10 2014-10-30 株式会社小松製作所 掘削機械の施工管理装置、油圧ショベルの施工管理装置、掘削機械及び施工管理システム

Family Cites Families (14)

* Cited by examiner, † Cited by third party
Publication number Priority date Publication date Assignee Title
JP2000291048A (ja) * 1999-04-01 2000-10-17 Tokai Rika Co Ltd パワーショベル
JP2001032331A (ja) * 1999-07-19 2001-02-06 Hitachi Constr Mach Co Ltd 建設機械の領域制限制御装置および領域制限制御方法
US7113105B2 (en) * 2003-08-28 2006-09-26 Caterpillar Inc. Work machine display system
JP3902168B2 (ja) 2003-09-04 2007-04-04 日立建機株式会社 建設機械の診断情報表示システム
JP4079113B2 (ja) 2004-04-19 2008-04-23 日立建機株式会社 建設機械の表示装置
US8817238B2 (en) * 2007-10-26 2014-08-26 Deere & Company Three dimensional feature location from an excavator
JP5113586B2 (ja) 2008-03-28 2013-01-09 株式会社小松製作所 作業車両
WO2011162561A2 (ko) 2010-06-23 2011-12-29 두산인프라코어 주식회사 건설기계의 작업궤적 제어 장치 및 그 방법
JP5586568B2 (ja) 2011-11-15 2014-09-10 株式会社小松製作所 建設機械の情報表示装置、建設機械の情報表示方法及び建設機械の情報表示用コンピュータプログラム
US20130255977A1 (en) * 2012-03-27 2013-10-03 Caterpillar, Inc. Control for Motor Grader Curb Operations
JP5480941B2 (ja) * 2012-08-02 2014-04-23 株式会社小松製作所 掘削機械の表示システム及びその制御方法。
JP5624101B2 (ja) * 2012-10-05 2014-11-12 株式会社小松製作所 掘削機械の表示システム、掘削機械及び掘削機械の表示用コンピュータプログラム
JP5476450B1 (ja) 2012-11-19 2014-04-23 株式会社小松製作所 掘削機械の表示システム及び掘削機械
JP5465345B1 (ja) 2013-01-18 2014-04-09 株式会社小松製作所 油圧ショベル

Patent Citations (5)

* Cited by examiner, † Cited by third party
Publication number Priority date Publication date Assignee Title
JPH01312129A (ja) * 1988-06-13 1989-12-15 Komatsu Ltd 腕式作業機のモニタ装置
JP2004068433A (ja) * 2002-08-07 2004-03-04 Hitachi Constr Mach Co Ltd 掘削機械の表示システム及びそのプログラム
JP2013113044A (ja) * 2011-11-30 2013-06-10 Sumitomo (Shi) Construction Machinery Co Ltd 建設機械用モニタシステム
JP2014129676A (ja) * 2012-12-28 2014-07-10 Komatsu Ltd 建設機械の表示システムおよびその制御方法
JP2014205955A (ja) * 2013-04-10 2014-10-30 株式会社小松製作所 掘削機械の施工管理装置、油圧ショベルの施工管理装置、掘削機械及び施工管理システム

Also Published As

Publication number Publication date
CN108291388B (zh) 2021-06-25
CN108291388A (zh) 2018-07-17
KR20180067673A (ko) 2018-06-20
KR102119709B1 (ko) 2020-06-05
JP2017115489A (ja) 2017-06-29
US20180355586A1 (en) 2018-12-13
JP6666142B2 (ja) 2020-03-13
DE112016005230T5 (de) 2018-07-26
US10954655B2 (en) 2021-03-23

Similar Documents

Publication Publication Date Title
US11105072B2 (en) Work vehicle and display control method
KR101815268B1 (ko) 건설 기계의 표시 시스템 및 그 제어 방법
JP6707344B2 (ja) 作業車両および作業車両の制御方法
WO2017110380A1 (ja) 作業車両および作業車両の制御方法
KR102123480B1 (ko) 작업 차량 및 표시 제어 방법
JP6454383B2 (ja) 建設機械の表示システムおよびその制御方法
CN108291389B (zh) 作业车辆以及作业车辆的控制方法
JP7550116B2 (ja) 掘削機械の稼働範囲設定システムおよびその制御方法
US20180363273A1 (en) Work vehicle
JP7168697B2 (ja) 建設機械の表示システムおよびその制御方法

Legal Events

Date Code Title Description
121 Ep: the epo has been informed by wipo that ep was designated in this application

Ref document number: 16878274

Country of ref document: EP

Kind code of ref document: A1

ENP Entry into the national phase

Ref document number: 20187014003

Country of ref document: KR

Kind code of ref document: A

WWE Wipo information: entry into national phase

Ref document number: 112016005230

Country of ref document: DE

122 Ep: pct application non-entry in european phase

Ref document number: 16878274

Country of ref document: EP

Kind code of ref document: A1