WO2017110316A1 - 湿式清掃用シート - Google Patents

湿式清掃用シート Download PDF

Info

Publication number
WO2017110316A1
WO2017110316A1 PCT/JP2016/083939 JP2016083939W WO2017110316A1 WO 2017110316 A1 WO2017110316 A1 WO 2017110316A1 JP 2016083939 W JP2016083939 W JP 2016083939W WO 2017110316 A1 WO2017110316 A1 WO 2017110316A1
Authority
WO
WIPO (PCT)
Prior art keywords
convex
wet cleaning
sheet
cleaning sheet
concave
Prior art date
Legal status (The legal status is an assumption and is not a legal conclusion. Google has not performed a legal analysis and makes no representation as to the accuracy of the status listed.)
Ceased
Application number
PCT/JP2016/083939
Other languages
English (en)
French (fr)
Japanese (ja)
Inventor
行人 成田
金田 学
笑子 松本
芽里 穂積
大崎 雅之
Current Assignee (The listed assignees may be inaccurate. Google has not performed a legal analysis and makes no representation or warranty as to the accuracy of the list.)
Kao Corp
Original Assignee
Kao Corp
Priority date (The priority date is an assumption and is not a legal conclusion. Google has not performed a legal analysis and makes no representation as to the accuracy of the date listed.)
Filing date
Publication date
Application filed by Kao Corp filed Critical Kao Corp
Priority to SG11201805105WA priority Critical patent/SG11201805105WA/en
Priority to CN201680074825.5A priority patent/CN108430293B/zh
Publication of WO2017110316A1 publication Critical patent/WO2017110316A1/ja
Anticipated expiration legal-status Critical
Ceased legal-status Critical Current

Links

Images

Classifications

    • AHUMAN NECESSITIES
    • A47FURNITURE; DOMESTIC ARTICLES OR APPLIANCES; COFFEE MILLS; SPICE MILLS; SUCTION CLEANERS IN GENERAL
    • A47LDOMESTIC WASHING OR CLEANING; SUCTION CLEANERS IN GENERAL
    • A47L13/00Implements for cleaning floors, carpets, furniture, walls, or wall coverings
    • A47L13/10Scrubbing; Scouring; Cleaning; Polishing
    • A47L13/16Cloths; Pads; Sponges
    • A47L13/17Cloths; Pads; Sponges containing cleaning agents
    • AHUMAN NECESSITIES
    • A47FURNITURE; DOMESTIC ARTICLES OR APPLIANCES; COFFEE MILLS; SPICE MILLS; SUCTION CLEANERS IN GENERAL
    • A47LDOMESTIC WASHING OR CLEANING; SUCTION CLEANERS IN GENERAL
    • A47L13/00Implements for cleaning floors, carpets, furniture, walls, or wall coverings
    • A47L13/10Scrubbing; Scouring; Cleaning; Polishing
    • A47L13/20Mops
    • BPERFORMING OPERATIONS; TRANSPORTING
    • B32LAYERED PRODUCTS
    • B32BLAYERED PRODUCTS, i.e. PRODUCTS BUILT-UP OF STRATA OF FLAT OR NON-FLAT, e.g. CELLULAR OR HONEYCOMB, FORM
    • B32B3/00Layered products comprising a layer with external or internal discontinuities or unevennesses, or a layer of non-planar shape; Layered products comprising a layer having particular features of form
    • B32B3/26Layered products comprising a layer with external or internal discontinuities or unevennesses, or a layer of non-planar shape; Layered products comprising a layer having particular features of form characterised by a particular shape of the outline of the cross-section of a continuous layer; characterised by a layer with cavities or internal voids ; characterised by an apertured layer
    • B32B3/30Layered products comprising a layer with external or internal discontinuities or unevennesses, or a layer of non-planar shape; Layered products comprising a layer having particular features of form characterised by a particular shape of the outline of the cross-section of a continuous layer; characterised by a layer with cavities or internal voids ; characterised by an apertured layer characterised by a layer formed with recesses or projections, e.g. hollows, grooves, protuberances, ribs
    • BPERFORMING OPERATIONS; TRANSPORTING
    • B32LAYERED PRODUCTS
    • B32BLAYERED PRODUCTS, i.e. PRODUCTS BUILT-UP OF STRATA OF FLAT OR NON-FLAT, e.g. CELLULAR OR HONEYCOMB, FORM
    • B32B5/00Layered products characterised by the non- homogeneity or physical structure, i.e. comprising a fibrous, filamentary, particulate or foam layer; Layered products characterised by having a layer differing constitutionally or physically in different parts
    • B32B5/22Layered products characterised by the non- homogeneity or physical structure, i.e. comprising a fibrous, filamentary, particulate or foam layer; Layered products characterised by having a layer differing constitutionally or physically in different parts characterised by the presence of two or more layers which are next to each other and are fibrous, filamentary, formed of particles or foamed
    • B32B5/24Layered products characterised by the non- homogeneity or physical structure, i.e. comprising a fibrous, filamentary, particulate or foam layer; Layered products characterised by having a layer differing constitutionally or physically in different parts characterised by the presence of two or more layers which are next to each other and are fibrous, filamentary, formed of particles or foamed one layer being a fibrous or filamentary layer
    • B32B5/26Layered products characterised by the non- homogeneity or physical structure, i.e. comprising a fibrous, filamentary, particulate or foam layer; Layered products characterised by having a layer differing constitutionally or physically in different parts characterised by the presence of two or more layers which are next to each other and are fibrous, filamentary, formed of particles or foamed one layer being a fibrous or filamentary layer another layer next to it also being fibrous or filamentary
    • DTEXTILES; PAPER
    • D04BRAIDING; LACE-MAKING; KNITTING; TRIMMINGS; NON-WOVEN FABRICS
    • D04HMAKING TEXTILE FABRICS, e.g. FROM FIBRES OR FILAMENTARY MATERIAL; FABRICS MADE BY SUCH PROCESSES OR APPARATUS, e.g. FELTS, NON-WOVEN FABRICS; COTTON-WOOL; WADDING ; NON-WOVEN FABRICS FROM STAPLE FIBRES, FILAMENTS OR YARNS, BONDED WITH AT LEAST ONE WEB-LIKE MATERIAL DURING THEIR CONSOLIDATION
    • D04H1/00Non-woven fabrics formed wholly or mainly of staple fibres or like relatively short fibres
    • D04H1/40Non-woven fabrics formed wholly or mainly of staple fibres or like relatively short fibres from fleeces or layers composed of fibres without existing or potential cohesive properties
    • D04H1/44Non-woven fabrics formed wholly or mainly of staple fibres or like relatively short fibres from fleeces or layers composed of fibres without existing or potential cohesive properties the fleeces or layers being consolidated by mechanical means, e.g. by rolling
    • D04H1/46Non-woven fabrics formed wholly or mainly of staple fibres or like relatively short fibres from fleeces or layers composed of fibres without existing or potential cohesive properties the fleeces or layers being consolidated by mechanical means, e.g. by rolling by needling or like operations to cause entanglement of fibres
    • D04H1/498Non-woven fabrics formed wholly or mainly of staple fibres or like relatively short fibres from fleeces or layers composed of fibres without existing or potential cohesive properties the fleeces or layers being consolidated by mechanical means, e.g. by rolling by needling or like operations to cause entanglement of fibres entanglement of layered webs

Definitions

  • the present invention relates to a wet cleaning sheet.
  • Patent Document 1 describes forming irregularities of a specific pattern on a nonwoven fabric using a pattern forming plate during hydroentanglement.
  • a wet cleaning sheet using a nonwoven fabric a nonwoven fabric-like fiber aggregate formed by entanglement of fibers of a fiber web on one side or both sides of a net-like sheet is between the constituent fibers.
  • the mesh sheet is integrated in an entangled state, and the fibers of the fiber assembly are arranged in a wave-like manner and a large number of irregularities are formed on the surface thereof.
  • a wet cleaning sheet is proposed in which a cleaning agent is carried on a cleaning sheet (see Patent Document 2).
  • the wet cleaning sheet it is possible to collect a wide range of dust from small dust to relatively large dust such as bread crumbs.
  • the wet cleaning sheet containing the cleaning liquid has lower hair capture performance than the dry type dry cleaning sheet, and the wet cleaning sheet described in Patent Document 1 can capture 100% of the hair. Instead, it is desired to improve the performance of capturing hair.
  • the present invention provides a base sheet in which a fiber assembly is integrated on one side or both sides of a net-like sheet in a state where constituent fibers are intertwined with each other and the constituent fibers are also intertwined with the net-like sheet, and the base sheet
  • the present invention provides a wet cleaning sheet having a cleaning liquid carried on the substrate.
  • the said base material sheet has the unevenness
  • the length of the concavo-convex boundary line per 1 cm 2 is 10 mm or more, and the area of each convex portion surrounded by the concave portions is 300 mm 2 or more.
  • the base sheet has a first direction which is a flow direction during production or a main orientation direction of the constituent fibers, and a second direction orthogonal to the first direction, and the length in the first direction is 280 mm,
  • a straight line extending in the second direction is assumed in a rectangular region having a direction length of 200 mm
  • the total length of the maximum straight line with the maximum total length of the portion overlapping the concave portion of the concave / convex pattern A value obtained by dividing the difference between the minimum length of the minimum straight line having the minimum total length of the portion overlapping the concave portion of the concave / convex pattern by the minimum distance in the first direction between the maximum straight line and the minimum straight line is 10 or more.
  • the present invention also provides a method for producing the wet cleaning sheet.
  • a belt-like laminate having a fiber assembly on one side or both sides of the net-like sheet is placed on a water-permeable support member on which a net for pattern formation including a belt-like portion having a curved shape in plan view is arranged.
  • a jet water stream is sprayed on the belt-like laminate that is introduced and moved together with the water-permeable support member, and the concave portion having a shape corresponding to the belt-like portion of the pattern-forming net and the opening of the pattern-forming net are applied to the belt-like laminate.
  • a hydroentanglement step of forming a convex portion having a corresponding shape to obtain the base sheet is provided.
  • FIG. 1 is a plan view showing the cleaning surface side of the wet cleaning sheet according to the first embodiment of the present invention.
  • FIG. 2 is an enlarged plan view showing a part of the uneven pattern of the base sheet of the wet cleaning sheet shown in FIG.
  • FIG. 3 is a plan view (corresponding to FIG. 1) showing the cleaning surface side of the wet cleaning sheet according to the second embodiment of the present invention.
  • FIG. 4A to FIG. 4C are explanatory diagrams of an evaluation method for the degree of variation in the degree of entanglement.
  • FIG. 5 is a plan view showing an example of a mesh sheet forming a part of the base sheet.
  • FIG. 6 is a perspective view showing an example of a cleaning tool with a handle.
  • FIG. 1 is a plan view showing the cleaning surface side of the wet cleaning sheet according to the first embodiment of the present invention.
  • FIG. 2 is an enlarged plan view showing a part of the uneven pattern of the base sheet of the wet cleaning sheet shown in FIG.
  • FIG. 3
  • FIG. 7 is an explanatory view showing an outline of a preferred method for producing the wet cleaning sheet of the present invention.
  • FIG. 8 is a schematic diagram showing a rotating drum provided in the water needling apparatus shown in FIG. 7 and the vicinity thereof.
  • FIG. 9 is a perspective view showing an example of a pattern forming net preferably used for manufacturing the wet cleaning sheet of the first embodiment.
  • FIG. 10 is a plan view (corresponding to FIG. 1) showing the cleaning surface side of the wet cleaning sheet of Comparative Example 1.
  • the present invention relates to a wet cleaning sheet with improved hair capture performance.
  • the wet cleaning sheet 1 includes a base sheet 2 and a cleaning liquid (not shown) carried on the base sheet 2.
  • FIG. 1 shows the cleaning surface side of the wet cleaning sheet 1, that is, the side directed to the object to be cleaned when cleaning is performed. And as shown in FIG. 1, it has the unevenness
  • the concave portion 4 and the convex portion 3 are formed on the cleaning surface side of the base sheet 2, and the boundary line between the convex portion 3 and the concave portion 4 has a curved portion when viewed macroscopically.
  • the curvilinear shape means a concavo-convex pattern excluding a curve constituting a micro-to-nanoscale fine hole and a curve constituting a drain hole having a diameter of about 1.5 to 2 mm. This means that part of the side of the figure to be curved is a curve.
  • the concavo-convex pattern of the base sheet 2 in the wet cleaning sheet 1 of the first embodiment will be described.
  • the concavo-convex pattern of the base sheet 2 includes a plurality of convex portions 3 separated by the concave portions 4 and the concave portions 4 in the planar direction. Each of the convex portions 3 is surrounded by the concave portion 4.
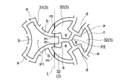
  • the plurality of convex portions 3 include a plurality of types of convex portions 31 and 32 having different shapes in plan view. More specifically, as shown in FIG. 2, three first arcs a located on a circle centered on the point P1 and three second arcs protruding in the opposite direction interposed between the first arcs a.
  • a substantially triangular first convex portion 31 surrounded by b, one arc c located on a circle centered on the point P2, two arcs d facing the arc c, and between the two arcs d And a second convex part 32 having a substantially pentagonal part e projecting in the direction of the point P2.
  • Three second convex portions 32 are arranged at equal intervals around the common one P2, and adjacent second convex portions 32 among the three second convex portions 32 arranged at equal intervals. , 32, the first arc a portion of the first convex portion 31 is inserted.
  • first convex portion 31 and the second convex portion 32 are based on the distance from the point P1 to the first arc a (the radius of a circle having three first arcs a centered on the point P1) and the point P2.
  • the distance to the arc c (the radius of the circle having the arc c centered on the point P2) is the same.
  • the point P1 is located outside the circle having the arc c centered on the point P2, and the point P2 is located outside the circle having three first arcs a centered on the point P1.
  • the uneven pattern shown in FIG. 1 of the first embodiment satisfies the following three conditions (1) to (3).
  • the base material sheet in this invention has the 1st direction X which is the flow direction at the time of manufacture, and the 2nd direction Y orthogonal to the 1st direction X.
  • the flow direction at the time of manufacture is synonymous with the machine direction MD at the time of manufacture (see FIG. 7).
  • the flow direction during production usually coincides with the main orientation direction of the constituent fibers. Therefore, the main orientation direction of the constituent fibers can be the first direction X in both cases where the flow direction during production is clear and where the flow direction during production is unknown.
  • the “main orientation direction of the constituent fibers” is the constituent fiber of the major axis direction along the long side of the rectangle and the minor axis direction along the short side of the rectangle.
  • the degree of orientation is higher.
  • the second direction Y is a direction orthogonal to the first direction X, and when the first direction X is the flow direction during manufacture of the base sheet (same as the machine direction MD during manufacture), the flow When the first direction X is the main orientation direction of the constituent fibers, it is a direction orthogonal to the first direction (CD).
  • the length of the uneven boundary line per 1 cm 2 is 10 mm or more.
  • the concavo-convex boundary line is a boundary line between the convex portion 3 and the concave portion 4, and is set to the rising base end portion of the convex portion 3 from the concave portion 4 in the thickness direction of the base sheet 2.
  • the length of the uneven boundary line per 1 cm 2 (hereinafter also referred to as “boundary circumference”) is measured by the following method.
  • the total length of the uneven boundary line in the rectangular region (hereinafter also referred to as a measurement target region) having a length in the first direction X of 280 mm and a length in the second direction Y of 200 mm is divided by the area of the region.
  • the value is the boundary circumference.
  • the measurement target region is determined so that the center points in the first direction and the second direction in the wet cleaning sheet to be measured coincide with the center points in the first direction and the second direction of the measurement target region.
  • the boundary circumferential length is relatively short when the planar view shape of the uneven boundary line is relatively simple, and is relatively long when there are many inflection points on the sides of the planar view shape of the uneven boundary line. Therefore, the value of the boundary circumference is an index indicating the complexity of the planar view shape of the uneven boundary line.
  • the boundary perimeter is 10 mm or more, the site
  • the boundary circumference is at least 10 mm or more, preferably 11 mm or more. Further, it is preferably 50 mm or less, more preferably 30 mm or less, and preferably 10 mm or more and 50 mm or less, more preferably 11 mm or more and 30 mm or less.
  • each convex portion 3 surrounded by the concave portion 4 is 300 mm 2 or more.
  • the area of each convex part 3 completely surrounded by the concave part 4 is the area of each convex part, and each is 300 mm 2 or more.
  • the area of all or most convex parts is 300 mm ⁇ 2 > or more.
  • the majority of the area being 300 mm 2 or more means that 80% or more of the convex portions 3 that are present in the measurement target region and are completely surrounded by the concave portions 4 on the basis of the number. Means an area of 300 mm 2 or more.
  • the area of all the convex parts is 300 mm ⁇ 2 > or more.
  • the maximum value of the area of the convex portion 3 surrounded by the concave portion 4 is preferably 3000 mm 2 or less, more preferably 2000 mm 2 or less.
  • each protrusion 3 is measured by the following method.
  • a small convex portion corresponding to the drain hole 45a may be formed.
  • the “convex portions” of the convex portions and concave portions forming the concave / convex pattern of the present invention do not include such small convex portions.
  • first straight lines L1 having the maximum total length of the portion m overlapping the concave portion of the concave / convex pattern in the first direction X, or the second length having the minimum total length of the portion m overlapping the concave portion of the concave / convex pattern.
  • first straight line L1 and the second straight line L2 that minimize the distance between the straight lines are selected, and the distance between the two straight lines is selected.
  • the shortest distance is the minimum distance L3 in the first direction X.
  • the unevenness change index is preferably 10 or more, more preferably 15 or more, and still more preferably 20 or more.
  • the unevenness change index is preferably 50 or less, more preferably 45 or less, preferably 10 or more and 50 or less, more preferably 15 or more and 45 or less, and further preferably 20 or more and 40 or less.
  • the reason why the hair capturing performance is enhanced when the unevenness change index is high is equivalent to the length of the water flow entanglement process at the time of manufacture in which the water flow is blocked by the pattern forming net (the length of the portion m overlapping the concave portion 4 of the uneven pattern) ) Changes abruptly, that is, the higher the change index of the unevenness, the more likely the variation in the degree of entanglement of the constituent fibers of the fiber assembly occurs.
  • a portion m of the straight line L extending in the second direction Y that overlaps the concave portion 4 of the concave-convex pattern is shown in FIG.
  • a thick line portion is a portion m that overlaps the concave portion 4 of the concave-convex pattern.
  • the total length of the portion m that overlaps the concave portion 4 of the concavo-convex pattern is the total value of the length of the portion m that overlaps the concave portion 4 in 200 mm that is the total length in the second direction Y in the measurement target region.
  • the uneven pattern formed on the cleaning surface side of the base sheet 2 satisfies the three conditions (1) to (3), thereby performing wet cleaning.
  • it In addition to removing small dust such as sand dust, it also has excellent hair capture performance.
  • FIG. 3 is a plan view showing an uneven pattern of unevenness formed on the cleaning surface side of the base sheet 2 of the wet cleaning sheet 1A of the second embodiment.
  • corrugated pattern of the base material sheet 2 of 2nd Embodiment also has a macroscopic curve part. Moreover, it has the some convex part 3 isolate
  • the plurality of convex portions 3 a plurality of types of convex portions 33 to 36 having different shapes in plan view are provided. More specifically, as shown in FIG.
  • the sixth convex portion 36 is formed so as to be surrounded by the four circular convex portion groups 30.
  • the sixth convex portion 36 has a deformed square shape in which the four sides of the square are replaced with a concave arc shape toward the outside.
  • the uneven pattern formed on the cleaning surface side of the base sheet 2 satisfies the three conditions (1) to (3), whereby the wet cleaning sheet 1A is wet.
  • the first straight line L ⁇ b> 1 having the maximum total length of the portion m overlapping the concave portion 4 of the concave / convex pattern and the portion m overlapping the concave portion 4 of the concave / convex pattern are illustrated.
  • the minimum distance L3 in the first direction X between the second straight line L2 having the minimum total length and the first straight line L1 and the second straight line L2 is shown.
  • the fiber entanglement degree in the sheet surface is non-uniform from the viewpoint of improving hair capture performance, and the variation of the entanglement degree is not uniform.
  • the 120 mm square area of the sheet surface (cleaning surface) is divided into 12 mm square block-shaped small areas, and tapes are applied to each small area.
  • the standard deviation of the amount of fibers coming out from each small region when the tripping method test is performed is preferably 0.6 mg or more, and more preferably 0.65 mg or more.
  • the standard deviation is preferably 0.8 mg or less, more preferably 0.7 mg or less, and preferably 0.6 mg or more and 0.8 mg or less, more preferably 0.65 mg or more and 0.7 mg or less.
  • the total amount of fibers that have fallen out of the 120 mm square region is preferably 100 mg to 200 mg, more preferably 120 mg to 170 mg.
  • the tape stripping method test was performed according to the following procedure using a base sheet before supporting the cleaning liquid. That is, a 12 mm wide Tepla (registered trademark) standard tape (manufactured by King Jim Co., Ltd.) was cut at 12 mm intervals to obtain a 12 mm square seal, which was placed in a 120 mm square area as shown in FIG. The tweezers were used to arrange them without gaps on the set 100 small regions. Then, a load of 10 g was placed on the 100 seals, and a load of 10 g was applied per 12 mm square. It was allowed to stand for 24 hours in an environment of 20 ° C., and after 24 hours, each seal was peeled off, and the amount of adhered fibers was measured for each seal.
  • Tepla registered trademark
  • the base sheet 2 of the wet cleaning sheets 1 and 1A according to the first and second embodiments has a fiber assembly on both surfaces of a net 11 as a mesh sheet, the constituent fibers are intertwined, and the constituent fibers are It has a configuration integrated with the mesh sheet in an intertwined state.
  • the net-like sheet constituting the base sheet 2 is a broad concept including a perforated film having a large number of holes.
  • a perforated film having many holes for example, in addition to the net 11 as shown in FIG. 5, the holes as shown in FIG. And a perforated film having many holes as shown in FIG. 8 of Patent Document 1.
  • the net 11 as the net-like sheet a net formed as a whole is used, but the shape of the holes formed in the net 11 can be variously modified.
  • the fiber assembly constituting both surfaces or one surface of the base sheet 2 is composed of entangled fibers.
  • constituent fibers of the fiber assembly include thermoplastic fibers such as polyesters, polyamides, and polyolefins, or composite fibers thereof, split fibers, or ultrafine fibers manufactured by the melt blown method, semi-synthetic materials such as acetate, etc. Any of fibers, recycled fibers such as cupra and rayon, and natural fibers such as cotton (cotton) may be used. It is preferable to use a heat-shrinkable net as the net-like sheet. When the heat-shrinkable net is used, the heat-shrinkable net is subjected to heat shrinkage due to heat treatment when the cleaning sheets 1 and 1A are manufactured.
  • heat-shrinkable nets include polyolefins such as polyethylene, polypropylene and polybutene, polyesters such as polyethylene terephthalate and polybutylene terephthalate, polyamides such as nylon 6 and nylon 66, acrylonitriles and vinyls.
  • a net that is uniaxially or biaxially shrunk, or a woven or knitted net using a filament that is thermally shrunk with the thermoplastic polymer as at least one of warp or weft, is preferable.
  • the wire diameter is preferably 20 ⁇ m to 500 ⁇ m, more preferably 100 ⁇ m to 200 ⁇ m, and the distance between the lines is preferably 2 mm to 30 mm, more preferably 4 mm to 20 mm.
  • the base material sheet 2 is one in which fiber aggregates are arranged on both sides of the mesh sheet, the fiber aggregates on both sides of the mesh sheet may be the same or different.
  • the base material sheet 2 may be one in which the fiber aggregate is arranged on only one side instead of the one having the fiber aggregate on both sides of the net-like sheet.
  • the wet cleaning sheet of the present invention is obtained by supporting a cleaning liquid on the fiber assembly of the base sheet 2.
  • the cleaning liquid is preferably an aqueous solution containing at least one of a surfactant, a solvent, and an alkali agent.
  • the surfactant examples include various active agents such as nonionic, cationic, anionic, and amphoteric.
  • anionic surfactant a normal sulfonate anionic surfactant or a sulfate anionic surfactant is used.
  • sulfonate anionic surfactants include linear or branched alkyl (C 8 to C 22 ) benzene sulfonate, long chain alkyl (C 8 to C 22 ) sulfonate, and long chain olefin (C 8 to C 22 ) sulfonate and the like.
  • sulfate anionic surfactants include long-chain monoalkyl (C 8 -C 22 ) sulfate esters, polyoxyethylene (1-6 mol) long-chain alkyl (C 8 -C 22 ) ether sulfates. Salt, polyoxyethylene (1 to 6 mol) alkyl (C 8 to C 18 ) phenyl ether sulfate salt, and the like.
  • Cations as counter ions of these anionic surfactants are alkali metal ions such as sodium and potassium, alkanolamine ions such as monoethanolamine, diethanolamine and triethanolamine. From the viewpoint of strong resistance to hydrolysis, the anionic surfactant is preferably a sulfonate surfactant.
  • a long chain or branched alkylbenzene sulfonate is preferred from the viewpoint of detergency.
  • amphoteric surfactant include carbobetaine, sulfobetaine and hydroxysulfobetaine having an alkyl group having 8 to 22 carbon atoms.
  • nonionic surfactant include polyoxyethylene (6-35 mol) long-chain alkyl or alkenyl (primary or secondary (C 8 -C 22 ) ether, polyoxyethylene (6-35).
  • Polyethylene glycol ether type such as alkyl (C 8 -C 18 ) phenyl ether, polyoxyethylene polyoxypropylene block copolymer, or polyhydric alcohol type such as glycerin fatty acid ester, sorbitan fatty acid ester, alkyl glycoside and the like.
  • the cationic surfactant include mono long-chain alkyltrimethylammonium salts having a C10-22 alkyl group or alkenyl group, long-chain alkyldimethylammonium salts, monolong-chain alkyldimethylbenzylammonium salts, and the like.
  • the solvent examples include alcohols such as ethanol and isopropanol, glycols such as ethylene glycol and propylene glycol, and glycol ethers such as ethylene glycol monoethyl ether and propylene glycol monomethyl ether.
  • the agent examples include alkanolamines such as monoethanolamine.
  • the cleaning liquid may contain components such as a bactericide, a deodorant, and a fragrance as necessary.
  • the amount of the cleaning liquid supported is preferably 300% or more, more preferably 400% or more, and preferably 800% or less, more preferably, based on the total mass of the fiber aggregate contained in the base sheet. It is 500% or less, preferably 300% or more and 800% or less, more preferably 400% or more and 500% or less.
  • the above-described wet cleaning sheets such as the wet cleaning sheets 1 and 1A can be used by being attached to a cleaning tool with a handle in addition to directly cleaning the sheet by operating the hand. It is preferable to use it attached to a cleaning tool with a handle from the viewpoint of easily performing a cleaning operation.
  • a cleaning tool with a handle for example, as shown in FIG. 6, a head portion 51 to which a wet cleaning sheet can be attached, and a rod-like handle 53 connected to the head portion 51 via a universal joint 52.
  • the cleaning tool 5 with the handle comprised from these is mentioned.
  • the sheet mounting surface of the head portion 51 can be rectangular, for example, in plan view, and in a normal use mode, the handle cleaning tool 5 moves the head portion 51 in the direction along the short side direction. (Especially reciprocating) to clean. That is, the direction along the short side direction of the head portion 51 is the main moving direction M when cleaning with the handle cleaning tool 5, and the wet cleaning sheet of the present invention is the flow direction during manufacture or the main orientation of the constituent fibers. It is preferable to use the second direction Y perpendicular to the first direction X, which is the direction, in accordance with the main movement direction M because the hair collection performance is further improved.
  • the wet cleaning sheet of the present invention is a wet cleaning sheet that is used by being mounted on the head portion of the cleaning tool with a handle, the cleaning surface of which has a rectangular head portion in plan view. It is used that the two directions Y coincide with the direction M along the short side of the head part 51 and the first direction X coincides with the direction along the long side of the head part 51. It is preferable from the viewpoint of exhibiting excellent collection performance.
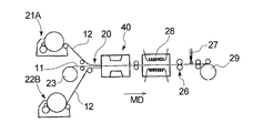
  • the fiber aggregate 12 is manufactured by the card machines 21 ⁇ / b> A and 21 ⁇ / b> B, and is joined to the top and bottom of the mesh sheet 11 fed out from the raw roll 23, and has a fiber aggregate 12 on both surfaces of the mesh sheet 11.
  • a laminated body 20 is formed and introduced into the water needling apparatus 40.
  • the fiber assembly 12 is preferably a fiber assembly formed from a fiber web. As shown in FIG.
  • the water needling device 40 includes a rotary drum 41 as a water permeable support member including a plurality of spring coils 41 b whose outer peripheral portion 41 a extends in the rotation axis direction, and an outer peripheral portion 41 a of the rotary drum 41.
  • a pattern forming net 42 disposed on the rotating drum 41 and a jet water jetting device 43 that jets a jet water flow from the outside to the inside of the rotary drum 41.
  • the pattern forming net 42 shown in FIG. 9 forms the concave / convex pattern shown in FIG. 1, and has openings similar to the first convex portion 31 and the second convex portion 32 in the concave / convex pattern shown in FIG.
  • the pattern forming net 42 is made of a water-resistant material such as metal or synthetic resin. As shown in FIG. 9, the pattern forming net 42 has a large number of drain holes 45 a having a diameter smaller than the width of the band-like part 45 in the band-like part 45, and water splashes due to the jet water stream hitting the band-like part 45. Can be prevented or reduced.
  • the openings 31 ′ and 32 ′ of the pattern forming net 42 may be formed by punching, but are preferably formed by laser processing because the pattern forming net 42 is less likely to be distorted.
  • the drain hole 45a is preferably formed by a punching process such as a punching process from the viewpoint of preventing burrs from occurring at the peripheral edge of the opening.
  • a punching process such as a punching process from the viewpoint of preventing burrs from occurring at the peripheral edge of the opening.
  • the constituent fibers of the fiber assembly 12 made of the fiber web on one side of the mesh sheet 11 and the fiber assembly 12 made of the fiber web on the other side are entangled.
  • the non-woven fiber assembly, the fibers of the fiber assembly 12 on one side and the fibers of the fiber assembly 12 on the other side, and the fibers of the fiber assembly 12 and the mesh sheet 11 are also entangled.
  • the base material sheet 2 in which the concavo-convex pattern shown in FIG. 1 is formed is obtained.
  • the base material sheet 2 is carried in the heating apparatus 28, and is heat-processed.
  • the base sheet 2 is dried, and when a heat-shrinkable net-like sheet is used as the net-like sheet 11, the net-like sheet is heat-shrinked and formed in a hydroentanglement process using a water needling device. Minute unevenness is formed on the surface of each protrusion.
  • the cleaning liquid is carried on the base sheet 2 after the heat treatment.
  • the method for supporting the cleaning liquid on the base sheet 2 is not particularly limited. For example, as shown in FIG. 7, the cleaning liquid is applied by a spray device 27 disposed between a nip roll 26 and a winder 29. .
  • the application of the cleaning liquid can be performed before the heat treatment instead of being performed after the heat treatment on the base sheet 2.
  • the wet cleaning sheet obtained by supporting the cleaning liquid may be wound into a roll, cut into a required length, and further folded and wrapped as necessary. Good. In this way, the wet cleaning sheet of the present invention can be obtained efficiently.
  • the length at which the water flow is blocked by the pattern forming net changes rapidly.
  • the base sheet and the wet cleaning sheet having a large variation in the degree of entanglement of the fibers of the fiber assembly in the planar direction of the sheet can be obtained.
  • the first direction X of the wet cleaning sheet coincides with the moving direction (machine direction MD) of the belt-like laminate 20 when the jet water flow is blown in the water entangling step.
  • the unevenness on the cleaning surface side of the wet cleaning sheet of the present invention is such that the height difference between the top of the projection 3 and the bottom of the recess 4 is preferably 0.5 mm or more, more preferably 1.2 mm or more. Is from 0.5 mm to 5 mm, more preferably from 1 mm to 2.5 mm. The height difference is obtained by observing the cut end surface under no load.
  • the basis weight of the fiber assembly part is preferably 50 g / m 2 or more, more preferably 65 g / m 2 or more, preferably 100 g / m 2 or less, more preferably.
  • the fiber aggregate is supported by the base sheet, in which the constituent fibers are intertwined with each other and the constituent fibers are intertwined with the net-like sheet.
  • the substrate sheet has a concavo-convex pattern with a macroscopic curved portion on the cleaning surface side, and the concavo-convex pattern has a concavo-convex boundary line length of 10 mm or more per 1 cm 2.
  • each convex part surrounded by the concave part is 300 mm 2 or more, and has a first direction which is a flow direction at the time of production or a main orientation direction of constituent fibers and a second direction orthogonal to the first direction.
  • the total length of the portions overlapping the concave portions of the concave-convex pattern Is the total length of the largest straight line
  • the value obtained by dividing the difference between the total length of the minimum straight lines having the minimum total length of the portions overlapping the concave portions of the concave / convex pattern by the minimum distance in the first direction between the maximum straight lines and the minimum straight lines is 10 or more.
  • the concavo-convex pattern has a plurality of the convex portions separated by the concave portions and the concave portions in a planar direction, and each of the convex portions is surrounded by the concave portions.
  • corrugated pattern is a sheet
  • the concavo-convex pattern includes, as the plurality of convex portions, three first circular arcs a that are located on a circle centered on the point P1 and three second circular arcs that are convex in opposite directions interposed between the first circular arcs a. a substantially triangular first convex portion surrounded by b, one arc c located on a circle centered on the point P2, two arcs d facing the arc c, and between the two arcs d.
  • the wet cleaning sheet according to any one of ⁇ 1> to ⁇ 3>, further including a second convex portion having a substantially pentagonal portion e projecting in the direction of the point P2.
  • the first convex portion and the second convex portion have the same length as the radius of the circle centered on the point P1 and the radius of the circle centered on the point P2. Wet cleaning sheet.
  • the point P1 is located outside the circle having the arc c centered on the point P2, and the point P2 is located outside the circle having three first arcs a centered on the point P1.
  • Three of the second convex portions are arranged at equal intervals in the circumferential direction around the point P2, and each of the adjacent second convex portions among the three second convex portions arranged at equal intervals is arranged.
  • the concavo-convex pattern includes, as a plurality of convex portions, a circular third convex portion centered on the point P3, four arc-shaped fourth convex portions arranged to surround the third convex portion, and further Four circular convex fifth convex portions arranged on the outside, and a circular convex group consisting of these convex portions are arranged so as to form a row in each of the first direction and the second direction.
  • ⁇ 9> The wet cleaning sheet according to ⁇ 8>, wherein a sixth convex portion is formed in a state surrounded by the four circular convex portion groups.
  • the sixth convex portion is the wet cleaning sheet according to ⁇ 9>, wherein the sixth convex portion has a deformed square shape in which four sides of the square are replaced with a concave arc shape toward the outside.
  • the boundary circumferential length between the convex part and the concave part is at least 10 mm or more, preferably 11 mm or more, preferably 50 mm or less, more preferably 30 mm or less, and preferably 10 mm or more and 50 mm or less, more preferably.
  • ⁇ 12> The wet cleaning sheet according to any one of ⁇ 1> to ⁇ 11>, wherein a small convex portion corresponding to a drain hole is formed in the concave portion.
  • ⁇ 14> The total length of the first straight line having the maximum total length of the portion overlapping the concave portion of the concave / convex pattern and the total length of the second straight line having the minimum total length of the portion overlapping the concave portion of the concave / convex pattern.
  • the value obtained by dividing the difference by the minimum distance in the first direction between the first straight line and the second straight line is preferably 50 or less, more preferably 45 or less, in the above ⁇ 1> to ⁇ 13>
  • the wet cleaning sheet according to any one of the above. ⁇ 15> The wet cleaning sheet according to ⁇ 13> or ⁇ 14>, wherein the value is preferably 10 or more and 50 or less, more preferably 15 or more and 45 or less, and still more preferably 20 or more and 40 or less.
  • ⁇ 16> The wet cleaning sheet according to any one of ⁇ 1> to ⁇ 15>, wherein the reticulated sheet includes a reticulated web composed of latent crimp-expressing fiber aggregates in which holes are formed.
  • the mesh sheet includes a perforated film having a large number of holes.
  • the base sheet has a non-uniform degree of fiber entanglement in the sheet surface, and the 120 mm square region of the sheet surface is divided into 12 mm square block-like small regions, and a tape stripping method is applied to each small region.
  • ⁇ 22> The wet cleaning sheet according to any one of ⁇ 1> to ⁇ 19>, wherein the wet cleaning sheet is used by being attached to a cleaning tool with a handle.
  • the cleaning surface is a wet cleaning sheet to be used by being mounted on the head portion of the cleaning tool with a handle having a rectangular head portion in plan view, and the second direction is the short side of the cleaning surface of the head portion.
  • ⁇ 26> The wet cleaning sheet according to any one of ⁇ 1> to ⁇ 25>, wherein the uneven pattern has an area of 300 mm 2 or more of all or most of the individual protrusions surrounded by the recesses.
  • a jet water stream is sprayed on the band-shaped laminate that is introduced into the water-permeable support member and moves together with the water-permeable support member, and a recess having a shape corresponding to the band-shaped portion of the pattern-forming net and an opening of the pattern-forming net are formed on the band-shaped laminate.
  • seat for wet cleaning which comprises the hydroentanglement process which forms the convex part of the shape corresponding to 1 and obtains the said base material sheet.
  • Example 1 Using the pattern forming net shown in FIG. 9, by the manufacturing method described above, the substrate sheet having the uneven pattern of the uneven pattern shown in FIG. 1 is manufactured on the cleaning surface side. The cleaning liquid was supported in an amount of 350% by mass with respect to the total mass of the fiber aggregate of each base sheet, and the wet cleaning sheet of Example 1 was obtained. The following reticulated sheet and fiber assembly were used for the production of the base sheet.
  • Reticulated sheet polypropylene net having the shape shown in FIG. 5 with a wire diameter (fiber diameter) of 200 ⁇ m and a distance between lines of 10 mm.
  • Fiber assembly PET (wire diameter 11.5 ⁇ m), acrylic (wire diameter 10.5 ⁇ m), rayon (wire) Card web having short fibers having a diameter of 12 ⁇ m as a constituent fiber
  • Cleaning liquid Cleaning liquid containing 0.1% or more of a cleaning base, 1% or more of alcohol, and 50% or more of purified water
  • Example 2 The wet cleaning of Example 2 is performed in the same manner as in Example 1 except that the pattern forming net used is changed and the uneven pattern formed on the cleaning surface side of the base sheet is changed to the pattern shown in FIG. A sheet was obtained.
  • Comparative Example 1 The wet cleaning of Comparative Example 1 was performed in the same manner as in Example 1 except that the pattern forming net used was changed and the uneven pattern formed on the cleaning surface side of the base sheet was changed to the pattern shown in FIG. A sheet was obtained.
  • Comparative Example 2 A wet cleaning sheet of Comparative Example 2 was obtained in the same manner as in Example 1 except that a rotating drum that did not use a pattern forming net was used as the rotating drum of the water needling apparatus.
  • the boundary perimeter described above the area of the smallest of the convex portions surrounded by the concave portion and the irregularity change index, It is shown in Table 1.
  • the area of the first protrusion 31 was 1192 mm 2
  • the area of the second protrusion 32 was 712 mm 2
  • the second protrusion 32 was the protrusion having the smallest area.
  • test dust JIS Z8901
  • test dust JIS Z8901
  • each wet cleaning sheet was attached to the head part 51 of the cleaning tool 5 with a handle shown in FIG. 6, and a portion in which 7 kinds of test dust were dispersed was reciprocated 10 times in the short side direction (M direction in the figure).
  • the total mass of dust adsorbed on the wet cleaning sheet was measured, and the ratio (%) to 1 g of the dispersed dust was shown in Table 1 as the collection rate (%) of small dust.
  • the wet cleaning sheets of Examples 1 and 2 are equivalent to the wet cleaning sheets of Comparative Examples 1 and 2 and exhibit good collection performance. It was. On the other hand, regarding the hair collection performance, the wet cleaning sheets of Examples 1 and 2 clearly improved the collection performance of the wet cleaning sheets of Comparative Examples 1 and 2.
  • the base sheet of the wet cleaning sheet of Examples 1 and 2 has a higher standard deviation indicating the variation in the degree of entanglement of the fibers than that of Comparative Example 1, and is compared with that of Comparative Example 1. Thus, the degree of variation in the degree of entanglement of the fibers was large.
  • the wet cleaning sheet of the present invention can remove small dust such as dust by wet cleaning, and is excellent in hair capturing performance. According to the method for manufacturing a wet cleaning sheet of the present invention, such a wet cleaning sheet can be efficiently manufactured.

Landscapes

  • Engineering & Computer Science (AREA)
  • Mechanical Engineering (AREA)
  • Textile Engineering (AREA)
  • Cleaning Implements For Floors, Carpets, Furniture, Walls, And The Like (AREA)
  • Nonwoven Fabrics (AREA)
  • Laminated Bodies (AREA)
PCT/JP2016/083939 2015-12-24 2016-11-16 湿式清掃用シート Ceased WO2017110316A1 (ja)

Priority Applications (2)

Application Number Priority Date Filing Date Title
SG11201805105WA SG11201805105WA (en) 2015-12-24 2016-11-16 Wet cleaning sheet
CN201680074825.5A CN108430293B (zh) 2015-12-24 2016-11-16 湿式清扫用片

Applications Claiming Priority (2)

Application Number Priority Date Filing Date Title
JP2015-251822 2015-12-24
JP2015251822A JP6280099B2 (ja) 2015-12-24 2015-12-24 湿式清掃用シート

Publications (1)

Publication Number Publication Date
WO2017110316A1 true WO2017110316A1 (ja) 2017-06-29

Family

ID=59090406

Family Applications (1)

Application Number Title Priority Date Filing Date
PCT/JP2016/083939 Ceased WO2017110316A1 (ja) 2015-12-24 2016-11-16 湿式清掃用シート

Country Status (4)

Country Link
JP (1) JP6280099B2 (enExample)
CN (1) CN108430293B (enExample)
SG (1) SG11201805105WA (enExample)
WO (1) WO2017110316A1 (enExample)

Cited By (1)

* Cited by examiner, † Cited by third party
Publication number Priority date Publication date Assignee Title
CN114554924A (zh) * 2019-10-08 2022-05-27 尼托母斯股份有限公司 清扫用片、清扫用片的层叠体、清扫工具和清扫用片的制造方法

Families Citing this family (5)

* Cited by examiner, † Cited by third party
Publication number Priority date Publication date Assignee Title
JP6306793B1 (ja) * 2017-11-17 2018-04-04 新和産業株式会社 透湿性防水シート
JP7055009B2 (ja) * 2017-12-06 2022-04-15 花王株式会社 ワイピングシート及び清掃具
JP7030542B2 (ja) * 2018-01-24 2022-03-07 花王株式会社 ワイピングシート
JP7055068B2 (ja) * 2018-06-12 2022-04-15 花王株式会社 ワイピングシート
SG11202102900RA (en) * 2018-10-02 2021-04-29 Kao Corp Wiping sheet

Citations (3)

* Cited by examiner, † Cited by third party
Publication number Priority date Publication date Assignee Title
JP2003515415A (ja) * 1999-12-10 2003-05-07 ザ、プロクター、エンド、ギャンブル、カンパニー ランダムでない巨視的三次元特徴を有する孔なしクリーニングシート
JP2006518223A (ja) * 2003-02-19 2006-08-10 ザ プロクター アンド ギャンブル カンパニー 洗浄シート
JP2007151821A (ja) * 2005-12-05 2007-06-21 Kao Corp 清掃用ウエットシート

Family Cites Families (7)

* Cited by examiner, † Cited by third party
Publication number Priority date Publication date Assignee Title
JPS5220586B2 (enExample) * 1973-10-27 1977-06-04
US6936333B2 (en) * 2000-03-24 2005-08-30 Kao Corporation Bulky sheet and process for producing the same
JP3628606B2 (ja) * 2000-10-13 2005-03-16 花王株式会社 清掃用シート
US20050076936A1 (en) * 2003-10-08 2005-04-14 Pung David John Cleaning pad and cleaning implement
JP4827509B2 (ja) * 2005-12-05 2011-11-30 花王株式会社 嵩高シート
RU2609190C2 (ru) * 2011-06-23 2017-01-30 Као Корпорейшн Композитный лист и способ его изготовления
JP6253238B2 (ja) * 2012-05-28 2017-12-27 花王株式会社 清掃用シート及びその製造方法

Patent Citations (3)

* Cited by examiner, † Cited by third party
Publication number Priority date Publication date Assignee Title
JP2003515415A (ja) * 1999-12-10 2003-05-07 ザ、プロクター、エンド、ギャンブル、カンパニー ランダムでない巨視的三次元特徴を有する孔なしクリーニングシート
JP2006518223A (ja) * 2003-02-19 2006-08-10 ザ プロクター アンド ギャンブル カンパニー 洗浄シート
JP2007151821A (ja) * 2005-12-05 2007-06-21 Kao Corp 清掃用ウエットシート

Cited By (5)

* Cited by examiner, † Cited by third party
Publication number Priority date Publication date Assignee Title
CN114554924A (zh) * 2019-10-08 2022-05-27 尼托母斯股份有限公司 清扫用片、清扫用片的层叠体、清扫工具和清扫用片的制造方法
CN114554924B (zh) * 2019-10-08 2024-03-08 尼托母斯股份有限公司 清扫用片、清扫用片的层叠体、清扫工具和清扫用片的制造方法
TWI855171B (zh) * 2019-10-08 2024-09-11 日商尼托母斯股份有限公司 清掃用片材、清掃用片材之積層體、清掃具以及清掃用片材之製造方法
TWI884867B (zh) * 2019-10-08 2025-05-21 日商尼托母斯股份有限公司 清掃用片材、清掃用片材之積層體、清掃具以及清掃用片材之製造方法
US12342977B2 (en) 2019-10-08 2025-07-01 Nitoms, Inc. Cleaner sheet, layered body of cleaner sheet, cleaning tool, and method for producing cleaner sheet

Also Published As

Publication number Publication date
JP2017113282A (ja) 2017-06-29
JP6280099B2 (ja) 2018-02-14
SG11201805105WA (en) 2018-08-30
CN108430293A (zh) 2018-08-21
CN108430293B (zh) 2020-10-16

Similar Documents

Publication Publication Date Title
JP6280099B2 (ja) 湿式清掃用シート
KR100758843B1 (ko) 저밀도 고로프트 부직포 기재
TWI539051B (zh) Cleaning sheet and manufacturing method thereof
EP2822438B1 (en) Cleaning article with apertured sheet and tow fibers
US12201253B2 (en) Cleaning article with differential sized tow tufts
JP7597851B2 (ja) 異なるピッチのトウ房を有する掃除用品
JPH0614859A (ja) 清掃用物品
JP5843494B2 (ja) 複合シート及びその製造方法
JP3313786B2 (ja) 湿式清掃用シート及びその製造方法
JP6329752B2 (ja) 清掃シート
JP2017113282A5 (enExample)
US10730081B2 (en) Method of making a cleaning article having cutouts
JP2003070707A (ja) 清掃用シート
JP5421765B2 (ja) 清掃シート
JP2002253459A (ja) 乾式清掃用シート及びその製造方法
US12082760B2 (en) Cleaning article with irregularly spaced tow tufts
WO2011125143A1 (ja) 清掃用シート
JP2019213686A (ja) ワイピングシート
CA3071720A1 (en) Method of making a cleaning article having cutouts

Legal Events

Date Code Title Description
121 Ep: the epo has been informed by wipo that ep was designated in this application

Ref document number: 16878212

Country of ref document: EP

Kind code of ref document: A1

NENP Non-entry into the national phase

Ref country code: DE

WWE Wipo information: entry into national phase

Ref document number: 11201805105W

Country of ref document: SG

122 Ep: pct application non-entry in european phase

Ref document number: 16878212

Country of ref document: EP

Kind code of ref document: A1