WO2017098811A1 - 光測定装置 - Google Patents

光測定装置 Download PDF

Info

Publication number
WO2017098811A1
WO2017098811A1 PCT/JP2016/080920 JP2016080920W WO2017098811A1 WO 2017098811 A1 WO2017098811 A1 WO 2017098811A1 JP 2016080920 W JP2016080920 W JP 2016080920W WO 2017098811 A1 WO2017098811 A1 WO 2017098811A1
Authority
WO
WIPO (PCT)
Prior art keywords
sample
tube
optical path
light
tube holder
Prior art date
Legal status (The legal status is an assumption and is not a legal conclusion. Google has not performed a legal analysis and makes no representation as to the accuracy of the status listed.)
Ceased
Application number
PCT/JP2016/080920
Other languages
English (en)
French (fr)
Japanese (ja)
Inventor
谷口 真司
直樹 後藤
Current Assignee (The listed assignees may be inaccurate. Google has not performed a legal analysis and makes no representation or warranty as to the accuracy of the list.)
Ushio Denki KK
Original Assignee
Ushio Denki KK
Priority date (The priority date is an assumption and is not a legal conclusion. Google has not performed a legal analysis and makes no representation as to the accuracy of the date listed.)
Filing date
Publication date
Application filed by Ushio Denki KK filed Critical Ushio Denki KK
Publication of WO2017098811A1 publication Critical patent/WO2017098811A1/ja
Anticipated expiration legal-status Critical
Ceased legal-status Critical Current

Links

Images

Classifications

    • GPHYSICS
    • G01MEASURING; TESTING
    • G01NINVESTIGATING OR ANALYSING MATERIALS BY DETERMINING THEIR CHEMICAL OR PHYSICAL PROPERTIES
    • G01N21/00Investigating or analysing materials by the use of optical means, i.e. using sub-millimetre waves, infrared, visible or ultraviolet light
    • G01N21/01Arrangements or apparatus for facilitating the optical investigation
    • GPHYSICS
    • G01MEASURING; TESTING
    • G01NINVESTIGATING OR ANALYSING MATERIALS BY DETERMINING THEIR CHEMICAL OR PHYSICAL PROPERTIES
    • G01N21/00Investigating or analysing materials by the use of optical means, i.e. using sub-millimetre waves, infrared, visible or ultraviolet light
    • G01N21/62Systems in which the material investigated is excited whereby it emits light or causes a change in wavelength of the incident light
    • G01N21/63Systems in which the material investigated is excited whereby it emits light or causes a change in wavelength of the incident light optically excited
    • G01N21/64Fluorescence; Phosphorescence

Definitions

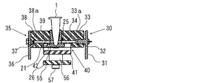
  • FIG. 6A is a plan view of the tube holder 21, and FIG. 6B is a side view of the tube holder 21.
  • the tube holder 21 is integrally formed on a long plate-like base portion 22 so that a rectangular parallelepiped holding portion 23 extending in the same direction as the base portion 22 protrudes from the base portion 22. Yes.
  • a plurality of tube receiving recesses 24 for receiving the sample tube 1 are formed on the upper surface of the holding portion 23 so as to be spaced apart from each other along the longitudinal direction of the holding portion 23.
  • Each of the tube receiving recesses 24 has a shape that fits the tube main body 2 of the sample tube 1, that is, a tapered shape having a small diameter from the opening at the upper end toward the bottom at the lower end.
  • the auxiliary heating mechanism 45 is for preventing condensation on the inner surface of the lid 3 in the sample tube 1 during measurement.
  • the auxiliary heating mechanism 45 of this example includes a support plate 46 made of a heat insulating material, a seat heater 47 supported on the support plate 46, for example, a polyimide film formed with a resistance wire made of stainless steel, and the seat heater.
  • the heat transfer plate 48 is made of, for example, aluminum and is provided on the surface of 47.
  • the auxiliary heating mechanism 45 is fixed to the ceiling surface in the lid body 15 by the support rod 49, and the heat transfer plate 48 is attached to the lid body 3 in the sample tube 1 by closing the lid body 15. It is in contact with the upper surface.
  • the cooling mechanism 50 may be controlled to stop the operation when a predetermined time, for example, 5 minutes has elapsed since the start of the operation, and the temperature of the tube holder 21 is set to a predetermined temperature, for example, 40 ° C. It may be controlled to stop the operation when reaching. Further, a safety mechanism may be provided that maintains the lid body 15 in a closed state so that the lid body 15 does not open until the operation of the cooling mechanism 50 stops.

Landscapes

  • Health & Medical Sciences (AREA)
  • General Health & Medical Sciences (AREA)
  • Life Sciences & Earth Sciences (AREA)
  • Chemical & Material Sciences (AREA)
  • Analytical Chemistry (AREA)
  • Biochemistry (AREA)
  • Physics & Mathematics (AREA)
  • General Physics & Mathematics (AREA)
  • Immunology (AREA)
  • Pathology (AREA)
  • Nuclear Medicine, Radiotherapy & Molecular Imaging (AREA)
  • Investigating, Analyzing Materials By Fluorescence Or Luminescence (AREA)
  • Investigating Or Analysing Materials By Optical Means (AREA)
PCT/JP2016/080920 2015-12-09 2016-10-19 光測定装置 Ceased WO2017098811A1 (ja)

Applications Claiming Priority (2)

Application Number Priority Date Filing Date Title
JP2015240148A JP2017106794A (ja) 2015-12-09 2015-12-09 光測定装置
JP2015-240148 2015-12-09

Publications (1)

Publication Number Publication Date
WO2017098811A1 true WO2017098811A1 (ja) 2017-06-15

Family

ID=59012999

Family Applications (1)

Application Number Title Priority Date Filing Date
PCT/JP2016/080920 Ceased WO2017098811A1 (ja) 2015-12-09 2016-10-19 光測定装置

Country Status (3)

Country Link
JP (1) JP2017106794A (enExample)
TW (1) TW201730544A (enExample)
WO (1) WO2017098811A1 (enExample)

Cited By (1)

* Cited by examiner, † Cited by third party
Publication number Priority date Publication date Assignee Title
US20220034925A1 (en) * 2020-08-03 2022-02-03 Electronics And Telecommunications Research Institute Gene analyzer and gene analyzing system and method using the same

Families Citing this family (1)

* Cited by examiner, † Cited by third party
Publication number Priority date Publication date Assignee Title
EP4305277A4 (en) * 2021-03-08 2025-01-29 Illumina, Inc. BOREHOLE ARRANGEMENTS FOR ALLOWING OPTICAL ACCESS THEREOF AND RELATED SYSTEMS AND METHODS

Citations (3)

* Cited by examiner, † Cited by third party
Publication number Priority date Publication date Assignee Title
JP2005201859A (ja) * 2004-01-19 2005-07-28 Taitec Corp Dna等試料の増幅の蛍光目視判定機能を持つ恒温槽
JP2012073109A (ja) * 2010-09-28 2012-04-12 Kyushu Institute Of Technology 蛍光測定方法及び蛍光測定装置
US20150233828A1 (en) * 2011-12-15 2015-08-20 Hain Lifescience Gmbh Device for optically measuring fluorescence of nucleic acids in test samples and use of the device

Family Cites Families (2)

* Cited by examiner, † Cited by third party
Publication number Priority date Publication date Assignee Title
JP3688068B2 (ja) * 1996-08-29 2005-08-24 シスメックス株式会社 液体試料測定装置
JP2006300741A (ja) * 2005-04-21 2006-11-02 Rohm Co Ltd 光学測定用マイクロ流路及びマイクロ流体チップ

Patent Citations (3)

* Cited by examiner, † Cited by third party
Publication number Priority date Publication date Assignee Title
JP2005201859A (ja) * 2004-01-19 2005-07-28 Taitec Corp Dna等試料の増幅の蛍光目視判定機能を持つ恒温槽
JP2012073109A (ja) * 2010-09-28 2012-04-12 Kyushu Institute Of Technology 蛍光測定方法及び蛍光測定装置
US20150233828A1 (en) * 2011-12-15 2015-08-20 Hain Lifescience Gmbh Device for optically measuring fluorescence of nucleic acids in test samples and use of the device

Cited By (1)

* Cited by examiner, † Cited by third party
Publication number Priority date Publication date Assignee Title
US20220034925A1 (en) * 2020-08-03 2022-02-03 Electronics And Telecommunications Research Institute Gene analyzer and gene analyzing system and method using the same

Also Published As

Publication number Publication date
JP2017106794A (ja) 2017-06-15
TW201730544A (zh) 2017-09-01

Similar Documents

Publication Publication Date Title
US10809185B2 (en) Optical measuring device
CN104136914B (zh) 用于光学测量试样中核酸的荧光的装置及该装置的使用
BRPI0715823A2 (pt) sistema de detecÇço àtica compacto
US8481944B2 (en) IR spectrometer with non-contact temperature measurement
WO2017098811A1 (ja) 光測定装置
CN114940943B (zh) Pcr仪
ES2700207T3 (es) Sistema de variación térmica cíclica que comprende un elemento de calentamiento transparente
US12239974B2 (en) Measuring arrangement for measuring the total nitrogen bound in a measuring liquid
CN113969238A (zh) 一种用于基因扩增荧光检测的便携式可视化成像系统
BR102016016072A2 (pt) Detector de fumaça aquecível
JP6662010B2 (ja) 光測定装置
CN102286357A (zh) 放大装置及检测装置
JP7062847B2 (ja) ポータブル等温増幅検出装置
JP6891391B2 (ja) 光学測定器
JP2009171921A (ja) 蛍光増幅核酸の検出装置及び検出方法
JP2017108710A (ja) 試料加熱装置
TW201339308A (zh) 核酸序列擴增檢測裝置
CN118119695A (zh) Pcr装置
JP6578188B2 (ja) 光学測定器
JP6137270B2 (ja) 光測定装置
JP5416574B2 (ja) 非分散型光分析装置
JP2007003409A (ja) マイクロチップ検査装置
TWI728885B (zh) 導光模組與應用此導光模組之生物檢測設備
JP2025023523A (ja) 液体クロマトグラフ用検出器
JP4635728B2 (ja) マイクロチップ検査装置

Legal Events

Date Code Title Description
121 Ep: the epo has been informed by wipo that ep was designated in this application

Ref document number: 16872711

Country of ref document: EP

Kind code of ref document: A1

NENP Non-entry into the national phase

Ref country code: DE

122 Ep: pct application non-entry in european phase

Ref document number: 16872711

Country of ref document: EP

Kind code of ref document: A1