WO2017094906A1 - 走行制御装置 - Google Patents

走行制御装置 Download PDF

Info

Publication number
WO2017094906A1
WO2017094906A1 PCT/JP2016/085969 JP2016085969W WO2017094906A1 WO 2017094906 A1 WO2017094906 A1 WO 2017094906A1 JP 2016085969 W JP2016085969 W JP 2016085969W WO 2017094906 A1 WO2017094906 A1 WO 2017094906A1
Authority
WO
WIPO (PCT)
Prior art keywords
vehicle
road
curved road
acceleration
control device
Prior art date
Legal status (The legal status is an assumption and is not a legal conclusion. Google has not performed a legal analysis and makes no representation as to the accuracy of the status listed.)
Ceased
Application number
PCT/JP2016/085969
Other languages
English (en)
French (fr)
Japanese (ja)
Inventor
寛 伊能
哲平 三宅
智之 堀
Current Assignee (The listed assignees may be inaccurate. Google has not performed a legal analysis and makes no representation or warranty as to the accuracy of the list.)
Denso Corp
Original Assignee
Denso Corp
Priority date (The priority date is an assumption and is not a legal conclusion. Google has not performed a legal analysis and makes no representation as to the accuracy of the date listed.)
Filing date
Publication date
Application filed by Denso Corp filed Critical Denso Corp
Priority to US15/780,340 priority Critical patent/US20180362001A1/en
Publication of WO2017094906A1 publication Critical patent/WO2017094906A1/ja
Anticipated expiration legal-status Critical
Ceased legal-status Critical Current

Links

Images

Classifications

    • BPERFORMING OPERATIONS; TRANSPORTING
    • B60VEHICLES IN GENERAL
    • B60TVEHICLE BRAKE CONTROL SYSTEMS OR PARTS THEREOF; BRAKE CONTROL SYSTEMS OR PARTS THEREOF, IN GENERAL; ARRANGEMENT OF BRAKING ELEMENTS ON VEHICLES IN GENERAL; PORTABLE DEVICES FOR PREVENTING UNWANTED MOVEMENT OF VEHICLES; VEHICLE MODIFICATIONS TO FACILITATE COOLING OF BRAKES
    • B60T7/00Brake-action initiating means
    • B60T7/12Brake-action initiating means for automatic initiation; for initiation not subject to will of driver or passenger
    • BPERFORMING OPERATIONS; TRANSPORTING
    • B60VEHICLES IN GENERAL
    • B60WCONJOINT CONTROL OF VEHICLE SUB-UNITS OF DIFFERENT TYPE OR DIFFERENT FUNCTION; CONTROL SYSTEMS SPECIALLY ADAPTED FOR HYBRID VEHICLES; ROAD VEHICLE DRIVE CONTROL SYSTEMS FOR PURPOSES NOT RELATED TO THE CONTROL OF A PARTICULAR SUB-UNIT
    • B60W10/00Conjoint control of vehicle sub-units of different type or different function
    • B60W10/04Conjoint control of vehicle sub-units of different type or different function including control of propulsion units
    • BPERFORMING OPERATIONS; TRANSPORTING
    • B60VEHICLES IN GENERAL
    • B60WCONJOINT CONTROL OF VEHICLE SUB-UNITS OF DIFFERENT TYPE OR DIFFERENT FUNCTION; CONTROL SYSTEMS SPECIALLY ADAPTED FOR HYBRID VEHICLES; ROAD VEHICLE DRIVE CONTROL SYSTEMS FOR PURPOSES NOT RELATED TO THE CONTROL OF A PARTICULAR SUB-UNIT
    • B60W10/00Conjoint control of vehicle sub-units of different type or different function
    • B60W10/04Conjoint control of vehicle sub-units of different type or different function including control of propulsion units
    • B60W10/06Conjoint control of vehicle sub-units of different type or different function including control of propulsion units including control of combustion engines
    • BPERFORMING OPERATIONS; TRANSPORTING
    • B60VEHICLES IN GENERAL
    • B60WCONJOINT CONTROL OF VEHICLE SUB-UNITS OF DIFFERENT TYPE OR DIFFERENT FUNCTION; CONTROL SYSTEMS SPECIALLY ADAPTED FOR HYBRID VEHICLES; ROAD VEHICLE DRIVE CONTROL SYSTEMS FOR PURPOSES NOT RELATED TO THE CONTROL OF A PARTICULAR SUB-UNIT
    • B60W10/00Conjoint control of vehicle sub-units of different type or different function
    • B60W10/18Conjoint control of vehicle sub-units of different type or different function including control of braking systems
    • BPERFORMING OPERATIONS; TRANSPORTING
    • B60VEHICLES IN GENERAL
    • B60WCONJOINT CONTROL OF VEHICLE SUB-UNITS OF DIFFERENT TYPE OR DIFFERENT FUNCTION; CONTROL SYSTEMS SPECIALLY ADAPTED FOR HYBRID VEHICLES; ROAD VEHICLE DRIVE CONTROL SYSTEMS FOR PURPOSES NOT RELATED TO THE CONTROL OF A PARTICULAR SUB-UNIT
    • B60W10/00Conjoint control of vehicle sub-units of different type or different function
    • B60W10/18Conjoint control of vehicle sub-units of different type or different function including control of braking systems
    • B60W10/184Conjoint control of vehicle sub-units of different type or different function including control of braking systems with wheel brakes
    • BPERFORMING OPERATIONS; TRANSPORTING
    • B60VEHICLES IN GENERAL
    • B60WCONJOINT CONTROL OF VEHICLE SUB-UNITS OF DIFFERENT TYPE OR DIFFERENT FUNCTION; CONTROL SYSTEMS SPECIALLY ADAPTED FOR HYBRID VEHICLES; ROAD VEHICLE DRIVE CONTROL SYSTEMS FOR PURPOSES NOT RELATED TO THE CONTROL OF A PARTICULAR SUB-UNIT
    • B60W30/00Purposes of road vehicle drive control systems not related to the control of a particular sub-unit, e.g. of systems using conjoint control of vehicle sub-units
    • B60W30/02Control of vehicle driving stability
    • B60W30/045Improving turning performance
    • BPERFORMING OPERATIONS; TRANSPORTING
    • B60VEHICLES IN GENERAL
    • B60WCONJOINT CONTROL OF VEHICLE SUB-UNITS OF DIFFERENT TYPE OR DIFFERENT FUNCTION; CONTROL SYSTEMS SPECIALLY ADAPTED FOR HYBRID VEHICLES; ROAD VEHICLE DRIVE CONTROL SYSTEMS FOR PURPOSES NOT RELATED TO THE CONTROL OF A PARTICULAR SUB-UNIT
    • B60W30/00Purposes of road vehicle drive control systems not related to the control of a particular sub-unit, e.g. of systems using conjoint control of vehicle sub-units
    • B60W30/14Adaptive cruise control
    • B60W30/143Speed control
    • BPERFORMING OPERATIONS; TRANSPORTING
    • B60VEHICLES IN GENERAL
    • B60WCONJOINT CONTROL OF VEHICLE SUB-UNITS OF DIFFERENT TYPE OR DIFFERENT FUNCTION; CONTROL SYSTEMS SPECIALLY ADAPTED FOR HYBRID VEHICLES; ROAD VEHICLE DRIVE CONTROL SYSTEMS FOR PURPOSES NOT RELATED TO THE CONTROL OF A PARTICULAR SUB-UNIT
    • B60W30/00Purposes of road vehicle drive control systems not related to the control of a particular sub-unit, e.g. of systems using conjoint control of vehicle sub-units
    • B60W30/18Propelling the vehicle
    • B60W30/18009Propelling the vehicle related to particular drive situations
    • B60W30/18145Cornering
    • BPERFORMING OPERATIONS; TRANSPORTING
    • B60VEHICLES IN GENERAL
    • B60WCONJOINT CONTROL OF VEHICLE SUB-UNITS OF DIFFERENT TYPE OR DIFFERENT FUNCTION; CONTROL SYSTEMS SPECIALLY ADAPTED FOR HYBRID VEHICLES; ROAD VEHICLE DRIVE CONTROL SYSTEMS FOR PURPOSES NOT RELATED TO THE CONTROL OF A PARTICULAR SUB-UNIT
    • B60W40/00Estimation or calculation of non-directly measurable driving parameters for road vehicle drive control systems not related to the control of a particular sub unit, e.g. by using mathematical models
    • B60W40/02Estimation or calculation of non-directly measurable driving parameters for road vehicle drive control systems not related to the control of a particular sub unit, e.g. by using mathematical models related to ambient conditions
    • B60W40/06Road conditions
    • B60W40/072Curvature of the road
    • BPERFORMING OPERATIONS; TRANSPORTING
    • B60VEHICLES IN GENERAL
    • B60WCONJOINT CONTROL OF VEHICLE SUB-UNITS OF DIFFERENT TYPE OR DIFFERENT FUNCTION; CONTROL SYSTEMS SPECIALLY ADAPTED FOR HYBRID VEHICLES; ROAD VEHICLE DRIVE CONTROL SYSTEMS FOR PURPOSES NOT RELATED TO THE CONTROL OF A PARTICULAR SUB-UNIT
    • B60W40/00Estimation or calculation of non-directly measurable driving parameters for road vehicle drive control systems not related to the control of a particular sub unit, e.g. by using mathematical models
    • B60W40/10Estimation or calculation of non-directly measurable driving parameters for road vehicle drive control systems not related to the control of a particular sub unit, e.g. by using mathematical models related to vehicle motion
    • B60W40/101Side slip angle of tyre
    • BPERFORMING OPERATIONS; TRANSPORTING
    • B60VEHICLES IN GENERAL
    • B60WCONJOINT CONTROL OF VEHICLE SUB-UNITS OF DIFFERENT TYPE OR DIFFERENT FUNCTION; CONTROL SYSTEMS SPECIALLY ADAPTED FOR HYBRID VEHICLES; ROAD VEHICLE DRIVE CONTROL SYSTEMS FOR PURPOSES NOT RELATED TO THE CONTROL OF A PARTICULAR SUB-UNIT
    • B60W2420/00Indexing codes relating to the type of sensors based on the principle of their operation
    • B60W2420/40Photo, light or radio wave sensitive means, e.g. infrared sensors
    • B60W2420/403Image sensing, e.g. optical camera
    • BPERFORMING OPERATIONS; TRANSPORTING
    • B60VEHICLES IN GENERAL
    • B60WCONJOINT CONTROL OF VEHICLE SUB-UNITS OF DIFFERENT TYPE OR DIFFERENT FUNCTION; CONTROL SYSTEMS SPECIALLY ADAPTED FOR HYBRID VEHICLES; ROAD VEHICLE DRIVE CONTROL SYSTEMS FOR PURPOSES NOT RELATED TO THE CONTROL OF A PARTICULAR SUB-UNIT
    • B60W2520/00Input parameters relating to overall vehicle dynamics
    • B60W2520/10Longitudinal speed
    • BPERFORMING OPERATIONS; TRANSPORTING
    • B60VEHICLES IN GENERAL
    • B60WCONJOINT CONTROL OF VEHICLE SUB-UNITS OF DIFFERENT TYPE OR DIFFERENT FUNCTION; CONTROL SYSTEMS SPECIALLY ADAPTED FOR HYBRID VEHICLES; ROAD VEHICLE DRIVE CONTROL SYSTEMS FOR PURPOSES NOT RELATED TO THE CONTROL OF A PARTICULAR SUB-UNIT
    • B60W2552/00Input parameters relating to infrastructure
    • B60W2552/20Road profile, i.e. the change in elevation or curvature of a plurality of continuous road segments
    • BPERFORMING OPERATIONS; TRANSPORTING
    • B60VEHICLES IN GENERAL
    • B60WCONJOINT CONTROL OF VEHICLE SUB-UNITS OF DIFFERENT TYPE OR DIFFERENT FUNCTION; CONTROL SYSTEMS SPECIALLY ADAPTED FOR HYBRID VEHICLES; ROAD VEHICLE DRIVE CONTROL SYSTEMS FOR PURPOSES NOT RELATED TO THE CONTROL OF A PARTICULAR SUB-UNIT
    • B60W2552/00Input parameters relating to infrastructure
    • B60W2552/30Road curve radius
    • BPERFORMING OPERATIONS; TRANSPORTING
    • B60VEHICLES IN GENERAL
    • B60WCONJOINT CONTROL OF VEHICLE SUB-UNITS OF DIFFERENT TYPE OR DIFFERENT FUNCTION; CONTROL SYSTEMS SPECIALLY ADAPTED FOR HYBRID VEHICLES; ROAD VEHICLE DRIVE CONTROL SYSTEMS FOR PURPOSES NOT RELATED TO THE CONTROL OF A PARTICULAR SUB-UNIT
    • B60W2556/00Input parameters relating to data
    • B60W2556/45External transmission of data to or from the vehicle
    • B60W2556/50External transmission of data to or from the vehicle of positioning data, e.g. GPS [Global Positioning System] data
    • BPERFORMING OPERATIONS; TRANSPORTING
    • B60VEHICLES IN GENERAL
    • B60WCONJOINT CONTROL OF VEHICLE SUB-UNITS OF DIFFERENT TYPE OR DIFFERENT FUNCTION; CONTROL SYSTEMS SPECIALLY ADAPTED FOR HYBRID VEHICLES; ROAD VEHICLE DRIVE CONTROL SYSTEMS FOR PURPOSES NOT RELATED TO THE CONTROL OF A PARTICULAR SUB-UNIT
    • B60W2720/00Output or target parameters relating to overall vehicle dynamics
    • B60W2720/10Longitudinal speed
    • BPERFORMING OPERATIONS; TRANSPORTING
    • B60VEHICLES IN GENERAL
    • B60WCONJOINT CONTROL OF VEHICLE SUB-UNITS OF DIFFERENT TYPE OR DIFFERENT FUNCTION; CONTROL SYSTEMS SPECIALLY ADAPTED FOR HYBRID VEHICLES; ROAD VEHICLE DRIVE CONTROL SYSTEMS FOR PURPOSES NOT RELATED TO THE CONTROL OF A PARTICULAR SUB-UNIT
    • B60W2720/00Output or target parameters relating to overall vehicle dynamics
    • B60W2720/12Lateral speed
    • B60W2720/125Lateral acceleration

Definitions

  • This disclosure relates to a technique for controlling the vehicle speed of the host vehicle.
  • Various technologies for controlling the driving of the vehicle such as a technology that assists the driving force, braking force, steering angle, etc. for the driving operation of the driver, and a technology that automatically performs all driving control on behalf of the driver.
  • the technology is known.
  • a curve start point on a curved road is detected as a deceleration point to be decelerated to a target speed.
  • the smaller one of the preset allowable lateral acceleration and road surface friction coefficient and the turning radius of the own vehicle are used.
  • the target speed at the start of the curve on the curved road is set.
  • a travel control device that is an aspect of the present disclosure includes a shape acquisition unit and a vehicle speed control unit.
  • the shape acquisition unit acquires the shape of the road on which the vehicle is traveling.
  • the vehicle speed control unit changes the speed of the vehicle so that it enters the curved road at a constant speed when it enters the curved road.
  • Set a deceleration start position to start deceleration and when the road shape acquired by the shape acquisition unit changes from a curved road to a straight road, acceleration that causes the vehicle to start accelerating from the time the vehicle exits the curved road Set the start position.
  • the block diagram which shows the traveling control system by this embodiment.
  • the schematic diagram which shows the own vehicle which drive
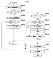
  • the flowchart which shows a traveling control process.
  • the characteristic view which shows the relationship between the curvature and the vehicle speed after exiting before driving
  • a travel control system 2 shown in FIG. 1 includes a travel control device 10, a camera 20, a navigation device 22, a vehicle speed sensor 24, a powertrain system 30, and a brake system 32.
  • the travel control device 10 is equipped with a computer including a CPU, RAM, ROM, flash memory, I / O interface, and the like, and includes a shape acquisition unit 12, a vehicle speed setting unit 14, and a vehicle speed control unit 16.
  • the traveling control apparatus 10 executes a program recorded in a non-transitional tangible recording medium such as a ROM or a flash memory, thereby executing a traveling control function corresponding to the program.
  • the shape acquisition unit 12 acquires the shape of the road 200 on which the host vehicle 100 travels from image data in front of the host vehicle 100 captured by the camera 20, map information of the map DB provided in the navigation device 22, or the like.
  • the vehicle speed setting unit 14 sets the target speed of the vehicle 100 based on the road shape ahead of the vehicle 100 acquired by the shape acquisition unit 12. As shown in FIG. 2, when the vehicle 100 travels on a straight road 202 before entering the curved road 204 and when traveling on the straight road 202 after exiting the curved road 204, the vehicle speed setting unit 14 is defined by a road sign, for example. Set the set speed limit to the target speed.
  • the vehicle speed setting unit 14 sets, for example, an upper limit speed at which the host vehicle 100 is prevented from slipping outside the curved road 204 as a target speed.
  • the vehicle speed control unit 16 controls the power train system 30 and the brake system 32 so that the vehicle speed of the host vehicle 100 becomes the target speed set by the vehicle speed setting unit 14.
  • the camera 20 is attached, for example, in the vicinity of the center of the mirror of the window shield in the passenger compartment of the host vehicle, and images the front of the host vehicle 100 and outputs image data.
  • the navigation device 22 guides the route to the destination based on the current position of the own vehicle 100 and the destination of the own vehicle 100 input from the touch panel or the like.
  • the navigation device 22 receives a positioning signal from a positioning satellite such as a GPS satellite, and maps the vehicle position based on the map information stored in the map DB.
  • the map information stored in the map DB stores a road type, a road speed limit, a road curvature radius, a road gradient, and the like.
  • the navigation device 22 uses the map information in the map DB and the own vehicle position detected by the navigation device 22 receiving a positioning signal from a positioning satellite such as a GPS satellite, and the speed limit of the road 200 on which the own vehicle 100 is traveling. If the road is a curve, the radius of curvature is obtained.
  • a positioning satellite such as a GPS satellite
  • the vehicle speed sensor 24 detects the vehicle speed of the host vehicle 100.
  • the powertrain system 30 controls the opening degree of the throttle device and the fuel injection amount when the internal combustion engine is mounted as a drive source according to the drive output commanded from the vehicle speed control unit 16, and uses the motor as the drive source. If it is installed, the power supplied to the motor is controlled.
  • the brake system 32 controls the actuator provided in the hydraulic circuit of the hydraulic brake according to the braking force commanded from the vehicle speed control unit 16.
  • the brake system 32 controls the power supplied to the motor according to the braking force commanded from the vehicle speed control unit 16 to generate the braking force by the regenerative braking. It may be generated.
  • the shape acquisition unit 12 determines whether or not it is based on at least one of image data in front of the vehicle 100 captured by the camera 20 and map information stored in a map DB included in the navigation device 22. The shape of the road 200 ahead where the car 100 travels is acquired.
  • the shape acquisition unit 12 based on the image data captured by the camera 20, sets the left and right white lines 210 and 212 that define the travel path on which the host vehicle 100 travels, for example, a white line and a road surface. It detects based on the brightness
  • the shape acquisition part 12 may acquire the shape of the road 200 ahead from the map information memorize
  • the vehicle speed control unit 16 determines whether or not the front road is a curved road 204 based on the shape of the front road 200 acquired by the shape acquisition unit 12.
  • the process proceeds to S410. If the determination in S402 is No and the road ahead is not a curved road 204 but a straight road 202, the process proceeds to S410. If the determination in S402 is Yes and the road 200 ahead is a curved road 204, in S404, the vehicle speed setting unit 14 skids to the outside of the curved road 204 when the vehicle 100 travels on the curved road 204. An upper limit speed that suppresses this is calculated. In order for the own vehicle 100 not to skid, the friction force Ft between the tire and the road surface received by the own vehicle 100 in a direction opposite to the centrifugal force Fv needs to be larger than the centrifugal force Fv received by the own vehicle 100.
  • the acceleration of gravity is g
  • the mass of the host vehicle 100 is M
  • the vehicle speed of the host vehicle 100 is v
  • the radius of curvature of the curved road 204 is r
  • the friction coefficient between the host vehicle 100 and the road surface on which the host vehicle 100 travels Assuming that ⁇ , the centrifugal force Fv is expressed by the following equation (1), and the frictional force Ft is expressed by the following equation (2).
  • the friction coefficient ⁇ is set on the assumption that the vehicle 100 is traveling on a wet road surface in order to suppress the side slip of the host vehicle 100 as much as possible.
  • the vehicle speed setting unit 14 calculates the deceleration amount that is appropriately set based on the detection error of the sensor and the like, the road surface condition, and the vehicle speed of the host vehicle 100 within the range that satisfies the expression (4).
  • the upper limit value subtracted from the speed v calculated as an equation is set as the upper limit speed of the vehicle 100.
  • the vehicle speed setting unit 14 sets the upper limit speed as a target speed when the vehicle 100 travels on the curved road 204.
  • the vehicle speed control unit 16 starts the vehicle 100 at a deceleration start position 220 at which the vehicle 100 starts to decelerate so that the vehicle 100 enters the curved road 204 at a constant speed when the vehicle 100 enters the curved road 204. It is determined whether or not.
  • Whether or not the host vehicle 100 is at the deceleration start position 220 is determined by whether or not the host vehicle 100 is at a position Li [m] as a distance shown in FIG. To do.
  • the vehicle speed control unit 16 may set a fixed value to the deceleration start position 220 represented by Li [m] and ti [sec], or a target when the current vehicle speed and the vehicle 100 travel on a curved road 204.
  • the deceleration start position 220 may be set according to the difference from the speed.
  • the determination in S406 is No, and Li [m] or ti [sec] to the entrance of the curved road 204 where the host vehicle 100 is the deceleration start position 220. ], It is considered that the host vehicle 100 is traveling on the curved road 204.
  • the vehicle speed control unit 16 determines that the process of decelerating the host vehicle 100 from the deceleration start position 220 to the entrance of the curved road 204 has been completed in the process of S408 described later, and the process proceeds to S422. .
  • the vehicle speed control unit 16 in S408, as shown in FIG.
  • the own vehicle 100 enters the curved road 204, the own vehicle 100 is decelerated to the entrance of the curved road 204 so that the target speed set in S404 is reached and becomes a constant speed.
  • the vehicle speed control unit 16 instructs the powertrain system 30 and the brake system 32 to control the amount of driving force and braking force to decelerate the vehicle speed of the host vehicle 100.
  • the vehicle speed control unit 16 determines whether or not the vehicle 100 has exited the curved road 204 in the state of the straight road 202 instead of the curved road 204 in front of the own vehicle 100. If the determination in S410 is No and the vehicle 100 has not exited the curved road 204, it is considered that the vehicle 100 is traveling on a straight portion of the road 200. In this case, the process proceeds to S420.
  • the vehicle speed control unit 16 causes the own vehicle 100 to start acceleration from the time when the own vehicle 100 exits the curved road 204. It is determined whether or not the vehicle is at the acceleration start position 230. If the determination in S412 is No, the process proceeds to S420.
  • the vehicle speed control unit 16 may set the exit of the curved road 204 as shown in FIG. 2 as a fixed value at the acceleration start position 230, or a predetermined time or a predetermined distance after the own vehicle 100 exits the curve 204. May be set. Further, the vehicle speed control unit 16 may set a value input by the driver from an input device such as a display as the acceleration start position 230.
  • the vehicle speed setting unit 14 sets a target speed when the vehicle 100 travels on the straight road 202 after ending acceleration after passing through the curved road 204.
  • the vehicle speed setting unit 14 sets a speed limit defined by a road sign as a target speed.
  • the vehicle speed control unit 16 accelerates the host vehicle 100 until the determination in S418 is Yes and the host vehicle 100 reaches the acceleration end position 232.
  • the vehicle speed control unit 16 instructs the powertrain system 30 and the brake system 32 to control the amount of driving force and braking force to accelerate the vehicle speed of the host vehicle 100.
  • the acceleration end position 232 is Lo [m] as the distance from the acceleration start position 230 until the vehicle speed reaches the target speed set in S414, or until the vehicle speed reaches the target speed from the acceleration start position 230. Is expressed in to [sec].
  • the vehicle speed control unit 16 may set a fixed value at the acceleration end position 232 represented by Lo [m] and to [sec], and the target speed and the own vehicle when the own vehicle 100 travels on the curved road 204.
  • the acceleration end position 232 may be set according to the difference from the target speed when the vehicle 100 travels on the straight road 202 through the curved road 204.
  • Lo [m] is set longer than Li [m] and to [sec] is set longer than ti [sec]. Also good.
  • the vehicle speed setting unit 14 sets a target speed when the host vehicle 100 travels on the straight road 202. As described above, the vehicle speed setting unit 14 sets, for example, a speed limit defined by a road sign as a target speed.
  • the vehicle speed control unit 16 determines that the actual vehicle speed is the target speed based on the difference between the target speed set in S404 or S420 and the actual vehicle speed detected by the vehicle speed sensor 24. 32, the control amount of the driving force and the braking force is commanded.
  • the host vehicle 100 is decelerated from the deceleration start position 220 so as to enter the curved road 204 at a constant speed when the host vehicle 100 enters the curved road 204. Further, the host vehicle 100 is accelerated from an acceleration start position 230 at which the host vehicle 100 starts to accelerate to an acceleration end position 232 when the host vehicle 100 exits the curved road 204. That is, the host vehicle 100 is not accelerated or decelerated while traveling on the curved road 204.
  • the rider does not experience the inertial force due to acceleration / deceleration while the vehicle 100 is traveling on the curved road 204. It is possible to suppress discomfort felt by the passenger due to both.
  • the friction coefficient used for calculating the frictional force acting in the direction opposite to the centrifugal force may be set to be appropriately variable according to the road surface condition.
  • the friction coefficient may be set based on weather information acquired by communication from the outside, or the driver may input the friction coefficient to the travel control device 10 based on the weather.
  • a friction coefficient for calculating a friction force acting on the opposite side to the centrifugal force may be set based on a slip ratio calculated from the vehicle speed and the tire rotation speed.
  • the function executed by the traveling control device 10 is realized by software by executing a program recorded in a non-transitional physical recording medium such as a ROM or a flash memory.
  • a part or all of the functions executed by the traveling control device 10 may be configured by hardware using one or a plurality of ICs.
  • the traveling control device 10 When some or all of the functions of the traveling control device 10 are configured by hardware electronic circuits, they can be provided by digital circuits including a large number of logic circuits or analog circuits.
  • a travel control system 2 including the travel control device 10 as a constituent element, a travel control program for causing the computer to function as the travel control device 10, and the travel control program are recorded.
  • the present disclosure can also be realized in various forms such as a recording medium and a travel control method.

Landscapes

  • Engineering & Computer Science (AREA)
  • Transportation (AREA)
  • Mechanical Engineering (AREA)
  • Chemical & Material Sciences (AREA)
  • Combustion & Propulsion (AREA)
  • Automation & Control Theory (AREA)
  • Physics & Mathematics (AREA)
  • Mathematical Physics (AREA)
  • Control Of Driving Devices And Active Controlling Of Vehicle (AREA)
  • Regulating Braking Force (AREA)
PCT/JP2016/085969 2015-12-04 2016-12-02 走行制御装置 Ceased WO2017094906A1 (ja)

Priority Applications (1)

Application Number Priority Date Filing Date Title
US15/780,340 US20180362001A1 (en) 2015-12-04 2016-12-02 Traveling control apparatus

Applications Claiming Priority (2)

Application Number Priority Date Filing Date Title
JP2015-237545 2015-12-04
JP2015237545A JP2017100655A (ja) 2015-12-04 2015-12-04 走行制御装置

Publications (1)

Publication Number Publication Date
WO2017094906A1 true WO2017094906A1 (ja) 2017-06-08

Family

ID=58797437

Family Applications (1)

Application Number Title Priority Date Filing Date
PCT/JP2016/085969 Ceased WO2017094906A1 (ja) 2015-12-04 2016-12-02 走行制御装置

Country Status (3)

Country Link
US (1) US20180362001A1 (OSRAM)
JP (1) JP2017100655A (OSRAM)
WO (1) WO2017094906A1 (OSRAM)

Families Citing this family (9)

* Cited by examiner, † Cited by third party
Publication number Priority date Publication date Assignee Title
JP6460349B2 (ja) * 2016-04-13 2019-01-30 トヨタ自動車株式会社 車両走行制御装置
JP2019036036A (ja) * 2017-08-10 2019-03-07 日産自動車株式会社 搬送システムの走行制御方法及び走行制御装置
JP2019196130A (ja) * 2018-05-11 2019-11-14 ジヤトコ株式会社 車両制御装置
FR3093305B1 (fr) * 2019-02-28 2021-01-29 Psa Automobiles Sa Régulation de la vitesse d’un véhicule lors d’un dépassement en virage
JP7230795B2 (ja) * 2019-12-25 2023-03-01 トヨタ自動車株式会社 車両制御装置
EP4201770B1 (en) * 2020-08-20 2025-03-05 Nissan Motor Co., Ltd. Driving support method and driving support device
US12110019B2 (en) * 2021-01-11 2024-10-08 Hyundai Mobis Co., Ltd. Vehicle driving control system and method
FR3141912B1 (fr) * 2022-11-14 2025-08-29 Psa Automobiles Sa Gestion de la vitesse d’un véhicule automobile dans un virage
JP2025017698A (ja) * 2023-07-25 2025-02-06 日立Astemo株式会社 車両運動制御装置、および、車両運動制御方法

Citations (3)

* Cited by examiner, † Cited by third party
Publication number Priority date Publication date Assignee Title
JP2005189044A (ja) * 2003-12-25 2005-07-14 Toyota Motor Corp 車両用評価装置、車両用評価機能を有する車両制御装置、車両用評価方法、およびプログラム
JP2006347528A (ja) * 2005-05-16 2006-12-28 Xanavi Informatics Corp 自動車の走行制御装置及び方法
WO2009101769A1 (ja) * 2008-02-15 2009-08-20 Aisin Aw Co., Ltd. 運転支援装置、運転支援方法および運転支援プログラム

Family Cites Families (3)

* Cited by examiner, † Cited by third party
Publication number Priority date Publication date Assignee Title
JP5056220B2 (ja) * 2006-09-29 2012-10-24 日産自動車株式会社 走行制御装置
JP5336052B2 (ja) * 2007-05-28 2013-11-06 株式会社デンソー クルーズ制御装置、プログラム、及び目標車速の設定方法
US9630623B2 (en) * 2012-08-16 2017-04-25 Jaguar Land Rover Limited Vehicle speed control system and method with external force compensation

Patent Citations (3)

* Cited by examiner, † Cited by third party
Publication number Priority date Publication date Assignee Title
JP2005189044A (ja) * 2003-12-25 2005-07-14 Toyota Motor Corp 車両用評価装置、車両用評価機能を有する車両制御装置、車両用評価方法、およびプログラム
JP2006347528A (ja) * 2005-05-16 2006-12-28 Xanavi Informatics Corp 自動車の走行制御装置及び方法
WO2009101769A1 (ja) * 2008-02-15 2009-08-20 Aisin Aw Co., Ltd. 運転支援装置、運転支援方法および運転支援プログラム

Also Published As

Publication number Publication date
US20180362001A1 (en) 2018-12-20
JP2017100655A (ja) 2017-06-08

Similar Documents

Publication Publication Date Title
WO2017094906A1 (ja) 走行制御装置
CN106515734B (zh) 用于机动车辆中自动适应加速的方法
JP3932806B2 (ja) 自動車の走行制御装置
KR101646369B1 (ko) 하이브리드 차량의 타력주행 유도 제어장치 및 방법
US9162677B2 (en) Adaptive cruise control apparatus
CN106166951B (zh) 车速限制装置以及车速控制装置
CN107107751B (zh) 目标车速生成装置及行驶控制装置
KR102192959B1 (ko) 운전 지원 차량의 주행 제어 방법 및 주행 제어 장치
JP4541973B2 (ja) 運転支援装置および運転支援方法
JP6319192B2 (ja) 車速制限装置
JP5990941B2 (ja) 車間距離制御装置及び車間距離制御方法
US9969394B2 (en) Distance regulating system, motor vehicle and computer program product
JP2001052298A (ja) カーブ進入制御装置
CN108016438A (zh) 车辆控制装置、车辆控制方法以及存储介质
JP2011000935A (ja) 車両用速度制御装置
JP7204437B2 (ja) 車両走行制御方法及び車両走行制御システム
US20160293010A1 (en) Collision-avoidance support device
CN104737216A (zh) 驾驶辅助装置
KR20190043416A (ko) 환경차의 크립 토크 제어 장치 및 방법
JP4277907B2 (ja) 自動車の走行制御装置
JP6659513B2 (ja) 車両制御装置、車両制御方法、および車両制御プログラム
CN112955356A (zh) 停车辅助装置及停车辅助方法
JP2019209701A (ja) 車両制御装置および車両制御方法
JP2017132406A (ja) 車両の制御装置及び車両の制御方法
JP6119526B2 (ja) 車両用走行制御装置

Legal Events

Date Code Title Description
121 Ep: the epo has been informed by wipo that ep was designated in this application

Ref document number: 16870841

Country of ref document: EP

Kind code of ref document: A1

NENP Non-entry into the national phase

Ref country code: DE

122 Ep: pct application non-entry in european phase

Ref document number: 16870841

Country of ref document: EP

Kind code of ref document: A1