WO2017077779A1 - 燃料噴射制御装置と燃料噴射システム - Google Patents

燃料噴射制御装置と燃料噴射システム Download PDF

Info

Publication number
WO2017077779A1
WO2017077779A1 PCT/JP2016/077772 JP2016077772W WO2017077779A1 WO 2017077779 A1 WO2017077779 A1 WO 2017077779A1 JP 2016077772 W JP2016077772 W JP 2016077772W WO 2017077779 A1 WO2017077779 A1 WO 2017077779A1
Authority
WO
WIPO (PCT)
Prior art keywords
valve opening
coil
control
injector
force
Prior art date
Legal status (The legal status is an assumption and is not a legal conclusion. Google has not performed a legal analysis and makes no representation as to the accuracy of the status listed.)
Ceased
Application number
PCT/JP2016/077772
Other languages
English (en)
French (fr)
Japanese (ja)
Inventor
信行 佐竹
Current Assignee (The listed assignees may be inaccurate. Google has not performed a legal analysis and makes no representation or warranty as to the accuracy of the list.)
Denso Corp
Original Assignee
Denso Corp
Priority date (The priority date is an assumption and is not a legal conclusion. Google has not performed a legal analysis and makes no representation as to the accuracy of the date listed.)
Filing date
Publication date
Application filed by Denso Corp filed Critical Denso Corp
Priority to DE112016005107.7T priority Critical patent/DE112016005107B4/de
Priority to US15/770,319 priority patent/US10648419B2/en
Publication of WO2017077779A1 publication Critical patent/WO2017077779A1/ja
Anticipated expiration legal-status Critical
Ceased legal-status Critical Current

Links

Images

Classifications

    • FMECHANICAL ENGINEERING; LIGHTING; HEATING; WEAPONS; BLASTING
    • F02COMBUSTION ENGINES; HOT-GAS OR COMBUSTION-PRODUCT ENGINE PLANTS
    • F02DCONTROLLING COMBUSTION ENGINES
    • F02D41/00Electrical control of supply of combustible mixture or its constituents
    • F02D41/20Output circuits, e.g. for controlling currents in command coils
    • FMECHANICAL ENGINEERING; LIGHTING; HEATING; WEAPONS; BLASTING
    • F02COMBUSTION ENGINES; HOT-GAS OR COMBUSTION-PRODUCT ENGINE PLANTS
    • F02DCONTROLLING COMBUSTION ENGINES
    • F02D41/00Electrical control of supply of combustible mixture or its constituents
    • F02D41/30Controlling fuel injection
    • F02D41/32Controlling fuel injection of the low pressure type
    • F02D41/34Controlling fuel injection of the low pressure type with means for controlling injection timing or duration
    • FMECHANICAL ENGINEERING; LIGHTING; HEATING; WEAPONS; BLASTING
    • F02COMBUSTION ENGINES; HOT-GAS OR COMBUSTION-PRODUCT ENGINE PLANTS
    • F02DCONTROLLING COMBUSTION ENGINES
    • F02D41/00Electrical control of supply of combustible mixture or its constituents
    • F02D41/30Controlling fuel injection
    • F02D41/38Controlling fuel injection of the high pressure type
    • F02D41/40Controlling fuel injection of the high pressure type with means for controlling injection timing or duration
    • FMECHANICAL ENGINEERING; LIGHTING; HEATING; WEAPONS; BLASTING
    • F02COMBUSTION ENGINES; HOT-GAS OR COMBUSTION-PRODUCT ENGINE PLANTS
    • F02DCONTROLLING COMBUSTION ENGINES
    • F02D41/00Electrical control of supply of combustible mixture or its constituents
    • F02D41/30Controlling fuel injection
    • F02D41/38Controlling fuel injection of the high pressure type
    • F02D41/40Controlling fuel injection of the high pressure type with means for controlling injection timing or duration
    • F02D41/402Multiple injections
    • FMECHANICAL ENGINEERING; LIGHTING; HEATING; WEAPONS; BLASTING
    • F02COMBUSTION ENGINES; HOT-GAS OR COMBUSTION-PRODUCT ENGINE PLANTS
    • F02MSUPPLYING COMBUSTION ENGINES IN GENERAL WITH COMBUSTIBLE MIXTURES OR CONSTITUENTS THEREOF
    • F02M45/00Fuel-injection apparatus characterised by having a cyclic delivery of specific time/pressure or time/quantity relationship
    • F02M45/02Fuel-injection apparatus characterised by having a cyclic delivery of specific time/pressure or time/quantity relationship with each cyclic delivery being separated into two or more parts
    • F02M45/04Fuel-injection apparatus characterised by having a cyclic delivery of specific time/pressure or time/quantity relationship with each cyclic delivery being separated into two or more parts with a small initial part, e.g. initial part for partial load and initial and main part for full load
    • F02M45/08Injectors peculiar thereto
    • F02M45/083Having two or more closing springs acting on injection-valve
    • FMECHANICAL ENGINEERING; LIGHTING; HEATING; WEAPONS; BLASTING
    • F02COMBUSTION ENGINES; HOT-GAS OR COMBUSTION-PRODUCT ENGINE PLANTS
    • F02MSUPPLYING COMBUSTION ENGINES IN GENERAL WITH COMBUSTIBLE MIXTURES OR CONSTITUENTS THEREOF
    • F02M51/00Fuel-injection apparatus characterised by being operated electrically
    • FMECHANICAL ENGINEERING; LIGHTING; HEATING; WEAPONS; BLASTING
    • F02COMBUSTION ENGINES; HOT-GAS OR COMBUSTION-PRODUCT ENGINE PLANTS
    • F02MSUPPLYING COMBUSTION ENGINES IN GENERAL WITH COMBUSTIBLE MIXTURES OR CONSTITUENTS THEREOF
    • F02M51/00Fuel-injection apparatus characterised by being operated electrically
    • F02M51/06Injectors peculiar thereto with means directly operating the valve needle
    • FMECHANICAL ENGINEERING; LIGHTING; HEATING; WEAPONS; BLASTING
    • F02COMBUSTION ENGINES; HOT-GAS OR COMBUSTION-PRODUCT ENGINE PLANTS
    • F02MSUPPLYING COMBUSTION ENGINES IN GENERAL WITH COMBUSTIBLE MIXTURES OR CONSTITUENTS THEREOF
    • F02M51/00Fuel-injection apparatus characterised by being operated electrically
    • F02M51/06Injectors peculiar thereto with means directly operating the valve needle
    • F02M51/061Injectors peculiar thereto with means directly operating the valve needle using electromagnetic operating means
    • F02M51/0625Injectors peculiar thereto with means directly operating the valve needle using electromagnetic operating means characterised by arrangement of mobile armatures
    • F02M51/0635Injectors peculiar thereto with means directly operating the valve needle using electromagnetic operating means characterised by arrangement of mobile armatures having a plate-shaped or undulated armature not entering the winding
    • F02M51/0642Injectors peculiar thereto with means directly operating the valve needle using electromagnetic operating means characterised by arrangement of mobile armatures having a plate-shaped or undulated armature not entering the winding the armature having a valve attached thereto
    • F02M51/0653Injectors peculiar thereto with means directly operating the valve needle using electromagnetic operating means characterised by arrangement of mobile armatures having a plate-shaped or undulated armature not entering the winding the armature having a valve attached thereto the valve being an elongated body, e.g. a needle valve
    • FMECHANICAL ENGINEERING; LIGHTING; HEATING; WEAPONS; BLASTING
    • F02COMBUSTION ENGINES; HOT-GAS OR COMBUSTION-PRODUCT ENGINE PLANTS
    • F02MSUPPLYING COMBUSTION ENGINES IN GENERAL WITH COMBUSTIBLE MIXTURES OR CONSTITUENTS THEREOF
    • F02M61/00Fuel-injectors not provided for in groups F02M39/00 - F02M57/00 or F02M67/00
    • F02M61/04Fuel-injectors not provided for in groups F02M39/00 - F02M57/00 or F02M67/00 having valves, e.g. having a plurality of valves in series
    • F02M61/10Other injectors with elongated valve bodies, i.e. of needle-valve type
    • FMECHANICAL ENGINEERING; LIGHTING; HEATING; WEAPONS; BLASTING
    • F02COMBUSTION ENGINES; HOT-GAS OR COMBUSTION-PRODUCT ENGINE PLANTS
    • F02MSUPPLYING COMBUSTION ENGINES IN GENERAL WITH COMBUSTIBLE MIXTURES OR CONSTITUENTS THEREOF
    • F02M61/00Fuel-injectors not provided for in groups F02M39/00 - F02M57/00 or F02M67/00
    • F02M61/16Details not provided for in, or of interest apart from, the apparatus of groups F02M61/02 - F02M61/14
    • F02M61/161Means for adjusting injection-valve lift
    • FMECHANICAL ENGINEERING; LIGHTING; HEATING; WEAPONS; BLASTING
    • F02COMBUSTION ENGINES; HOT-GAS OR COMBUSTION-PRODUCT ENGINE PLANTS
    • F02DCONTROLLING COMBUSTION ENGINES
    • F02D41/00Electrical control of supply of combustible mixture or its constituents
    • F02D41/20Output circuits, e.g. for controlling currents in command coils
    • F02D2041/2003Output circuits, e.g. for controlling currents in command coils using means for creating a boost voltage, i.e. generation or use of a voltage higher than the battery voltage, e.g. to speed up injector opening
    • F02D2041/2006Output circuits, e.g. for controlling currents in command coils using means for creating a boost voltage, i.e. generation or use of a voltage higher than the battery voltage, e.g. to speed up injector opening by using a boost capacitor
    • FMECHANICAL ENGINEERING; LIGHTING; HEATING; WEAPONS; BLASTING
    • F02COMBUSTION ENGINES; HOT-GAS OR COMBUSTION-PRODUCT ENGINE PLANTS
    • F02DCONTROLLING COMBUSTION ENGINES
    • F02D41/00Electrical control of supply of combustible mixture or its constituents
    • F02D41/20Output circuits, e.g. for controlling currents in command coils
    • F02D2041/2003Output circuits, e.g. for controlling currents in command coils using means for creating a boost voltage, i.e. generation or use of a voltage higher than the battery voltage, e.g. to speed up injector opening
    • F02D2041/2013Output circuits, e.g. for controlling currents in command coils using means for creating a boost voltage, i.e. generation or use of a voltage higher than the battery voltage, e.g. to speed up injector opening by using a boost voltage source
    • FMECHANICAL ENGINEERING; LIGHTING; HEATING; WEAPONS; BLASTING
    • F02COMBUSTION ENGINES; HOT-GAS OR COMBUSTION-PRODUCT ENGINE PLANTS
    • F02DCONTROLLING COMBUSTION ENGINES
    • F02D41/00Electrical control of supply of combustible mixture or its constituents
    • F02D41/20Output circuits, e.g. for controlling currents in command coils
    • F02D2041/202Output circuits, e.g. for controlling currents in command coils characterised by the control of the circuit
    • F02D2041/2051Output circuits, e.g. for controlling currents in command coils characterised by the control of the circuit using voltage control
    • FMECHANICAL ENGINEERING; LIGHTING; HEATING; WEAPONS; BLASTING
    • F02COMBUSTION ENGINES; HOT-GAS OR COMBUSTION-PRODUCT ENGINE PLANTS
    • F02DCONTROLLING COMBUSTION ENGINES
    • F02D41/00Electrical control of supply of combustible mixture or its constituents
    • F02D41/20Output circuits, e.g. for controlling currents in command coils
    • F02D2041/202Output circuits, e.g. for controlling currents in command coils characterised by the control of the circuit
    • F02D2041/2058Output circuits, e.g. for controlling currents in command coils characterised by the control of the circuit using information of the actual current value
    • FMECHANICAL ENGINEERING; LIGHTING; HEATING; WEAPONS; BLASTING
    • F02COMBUSTION ENGINES; HOT-GAS OR COMBUSTION-PRODUCT ENGINE PLANTS
    • F02DCONTROLLING COMBUSTION ENGINES
    • F02D2200/00Input parameters for engine control
    • F02D2200/50Input parameters for engine control said parameters being related to the vehicle or its components
    • F02D2200/503Battery correction, i.e. corrections as a function of the state of the battery, its output or its type
    • FMECHANICAL ENGINEERING; LIGHTING; HEATING; WEAPONS; BLASTING
    • F02COMBUSTION ENGINES; HOT-GAS OR COMBUSTION-PRODUCT ENGINE PLANTS
    • F02MSUPPLYING COMBUSTION ENGINES IN GENERAL WITH COMBUSTIBLE MIXTURES OR CONSTITUENTS THEREOF
    • F02M2200/00Details of fuel-injection apparatus, not otherwise provided for
    • F02M2200/21Fuel-injection apparatus with piezoelectric or magnetostrictive elements
    • FMECHANICAL ENGINEERING; LIGHTING; HEATING; WEAPONS; BLASTING
    • F02COMBUSTION ENGINES; HOT-GAS OR COMBUSTION-PRODUCT ENGINE PLANTS
    • F02MSUPPLYING COMBUSTION ENGINES IN GENERAL WITH COMBUSTIBLE MIXTURES OR CONSTITUENTS THEREOF
    • F02M2200/00Details of fuel-injection apparatus, not otherwise provided for
    • F02M2200/24Fuel-injection apparatus with sensors
    • F02M2200/247Pressure sensors
    • FMECHANICAL ENGINEERING; LIGHTING; HEATING; WEAPONS; BLASTING
    • F02COMBUSTION ENGINES; HOT-GAS OR COMBUSTION-PRODUCT ENGINE PLANTS
    • F02MSUPPLYING COMBUSTION ENGINES IN GENERAL WITH COMBUSTIBLE MIXTURES OR CONSTITUENTS THEREOF
    • F02M61/00Fuel-injectors not provided for in groups F02M39/00 - F02M57/00 or F02M67/00
    • F02M61/16Details not provided for in, or of interest apart from, the apparatus of groups F02M61/02 - F02M61/14
    • YGENERAL TAGGING OF NEW TECHNOLOGICAL DEVELOPMENTS; GENERAL TAGGING OF CROSS-SECTIONAL TECHNOLOGIES SPANNING OVER SEVERAL SECTIONS OF THE IPC; TECHNICAL SUBJECTS COVERED BY FORMER USPC CROSS-REFERENCE ART COLLECTIONS [XRACs] AND DIGESTS
    • Y02TECHNOLOGIES OR APPLICATIONS FOR MITIGATION OR ADAPTATION AGAINST CLIMATE CHANGE
    • Y02TCLIMATE CHANGE MITIGATION TECHNOLOGIES RELATED TO TRANSPORTATION
    • Y02T10/00Road transport of goods or passengers
    • Y02T10/10Internal combustion engine [ICE] based vehicles
    • Y02T10/40Engine management systems

Definitions

  • the present disclosure relates to a fuel injection control device that controls the amount of fuel injected into an internal combustion engine.
  • an injector such as Patent Document 1 includes a fixed core that generates a suction force when energized to a coil, and a movable core that is attracted to the fixed core and moves together with a valve body.
  • the electronic controller controls the energization of the coil to open the injector, and controls the time during which the injector is open to control the injection time of the fuel injected into the internal combustion engine. That is, the injection amount is controlled.
  • the energization of the coil switches between the battery voltage and the boosted voltage obtained by boosting the battery voltage by the booster circuit.
  • the valve opening of the injector occurs when the above suction force is larger than the valve opening force, which is the sum of the fuel pressure in the injector and the elastic force of an elastic member such as a spring in the injector. Therefore, the electronic controller performs control to increase the current flowing through the coil to a peak current value that is a predetermined current value by applying a boosted voltage to the coil. After that, the electronic controller performs duty control by alternately switching between energization and interruption of the coil by the voltage of the battery, and picks up the average value of the current flowing through the coil that is lower than the peak current value. Control to make value. By performing such control, a suction force exceeding the valve opening force is generated, and the injector is opened.
  • the electronic controller performs the above-described duty control to control the average value of the current flowing through the coil to a hold current value that is a predetermined current value.
  • the hold current value may be smaller than the above-described pickup current value, and is a magnitude that can generate a suction force sufficient to maintain the valve opening.
  • This disclosure is intended to provide a fuel injection control device that can control the fuel injection amount by opening the injector even when the voltage of the battery drops.
  • a fuel injection control device includes an electronic controller that controls opening and closing of an injector by energizing a coil in an injector that injects fuel into an internal combustion engine, and a voltage supplied from a battery.
  • a booster circuit that boosts a certain battery voltage to generate a boosted voltage, and the electronic controller applies the boosted voltage to the coil, and then applies the battery voltage to the coil to open the injector.
  • a valve opening control unit that performs valve opening control that generates a necessary valve opening force that is a suction force that is necessary to start, and a suction that maintains the injector valve opening by applying a battery voltage to the coil after the valve opening control
  • the valve opening maintenance control unit that performs valve opening maintenance control that generates a valve opening maintenance force that is smaller than the required valve opening force, and the maximum value of the current that flows when a boost voltage is applied to the coil during valve opening control.
  • the electronic controller when the battery voltage drops, applies a boosted voltage to the coil, and corrects the current value so as to increase the maximum value of the current flowing through the coil, thereby generating the suction generated in the coil. You can increase your power. Then, the suction force that has decreased due to the drop in the battery voltage can be compensated by the above correction, and the suction force required to open the valve can be increased. Therefore, even when the power supply voltage of the battery drops, the injector can be opened to control the fuel injection amount.
  • a fuel injection control device includes an electronic controller that controls opening and closing of an injector by energizing a coil in an injector that injects fuel into the internal combustion engine, and a voltage supplied from a battery.
  • a booster circuit that boosts a certain battery voltage to generate a boosted voltage, and the electronic controller applies the boosted voltage to the coil, and then applies the battery voltage to the coil to open the injector.
  • a valve opening control unit that performs valve opening control that generates a necessary valve opening force that is a suction force that is necessary to start, and a suction that maintains the injector valve opening by applying a battery voltage to the coil after the valve opening control
  • a valve opening maintenance control unit that performs valve opening maintenance control that generates a valve opening maintenance force that is smaller than the required valve opening force, and a current that flows when a boosted voltage is applied to the coil during the valve opening control.
  • a current continuation control unit that performs a current continuation control for determining that the average value of the current flowing through the coil is a maximum value for a predetermined period, and extending the predetermined period according to the amount of decrease in battery voltage.
  • a fuel injection control device that performs valve opening control that generates a necessary valve opening force that is a suction force that is necessary to start, and a suction that maintains the injector valve opening by applying a battery voltage to the coil after the valve opening control
  • a valve opening maintenance control unit that performs valve opening maintenance control that generate
  • the state where the average value of the current flowing through the coil is the maximum value only during the duration calculated according to the amount of decrease in the battery voltage is maintained, and the state in which the attractive force is rapidly increased is obtained. Can continue. Therefore, it is possible to generate a suction force necessary for opening the valve even when the battery voltage drops, and it is possible to control the fuel injection amount by opening the injector even when the battery voltage drops.
  • FIG. 1 is an overall view showing a fuel injection system 1 according to the first embodiment.
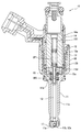
  • FIG. 2 is a cross-sectional view illustrating the overall structure of the injector 10 shown in FIG.
  • FIG. 3 is a diagram illustrating changes with time in the applied voltage to the coil 13, the current flowing through the coil 13, and the attractive force when the electronic controller 21 of the first embodiment performs the injection control.
  • FIG. 4 is a flowchart of control performed by the electronic controller 21 of the first embodiment.
  • FIG. 5 is a diagram showing a change in injection amount over time when fuel injection to the internal combustion engine is performed a plurality of times.
  • FIG. 6 is a flowchart of control performed by the electronic controller 21 of the second embodiment.
  • FIG. 7 is a diagram illustrating changes with time in the applied voltage to the coil 13, the current flowing through the coil 13, and the attractive force when the electronic controller 21 according to the third embodiment performs the injection control.
  • FIG. 8 is a flowchart of control performed by the electronic controller 21 of the third embodiment.
  • FIG. 9 is a diagram illustrating changes with time in the applied voltage to the coil 13, the current flowing through the coil 13, and the attractive force when the electronic controller 21 of the fourth embodiment performs the injection control.
  • FIG. 10 is a diagram showing changes with time in the applied voltage to the coil 13, the current flowing through the coil 13, and the attractive force when the electronic controller 21 performs injection control in the modification of the fourth embodiment.
  • FIG. 11 is a diagram illustrating changes with time in the voltage applied to the coil 13, the current flowing through the coil 13, and the attractive force when the conventional electronic controller 21 performs the injection control.
  • a fuel injection system 1 shown in FIG. 1 controls the opening and closing of an injector 10 by a fuel injection control device 20 to control fuel injection into a combustion chamber 2 of an internal combustion engine E.
  • the injector 10 is mounted on an ignition type internal combustion engine E (gasoline engine), and directly injects fuel into the combustion chamber 2 of the internal combustion engine E. Specifically, a mounting hole 4 for inserting the injector 10 is formed at a position that coincides with the cylinder axis C in the cylinder head 3 that forms the combustion chamber 2.
  • E ignition type internal combustion engine
  • the fuel supplied to the injector 10 is stored in a fuel tank (not shown).
  • the fuel in the fuel tank is pumped up by the low pressure pump, and the fuel pressure is increased by the high pressure pump 40 and sent to the delivery pipe 30.
  • the high pressure fuel in the delivery pipe 30 is distributed and supplied to the injectors 10 of each cylinder.
  • a spark plug 6 is attached to the cylinder head 3.
  • the spark plug 6 and the injector 10 are arranged side by side in a portion of the cylinder head 3 opposite to the piston with respect to the combustion chamber 2.
  • the injector 10 has a body 11, a valve body 12, a coil 13, a fixed core 14, a movable core 15, a housing 16, and the like.
  • the body 11 is made of a magnetic material so that a fuel passage 11a is formed inside.
  • the body 11 is formed with a seating surface 17b on which the valve body 12 is separated and seated and an injection hole 17a for injecting fuel.
  • valve body 12 When the valve body 12 is closed so that the seat portion 12a is seated on the seating surface 17b, fuel injection from the nozzle hole 17a stops. When the valve body 12 is opened so that the seat portion 12a is separated from the seating surface 17b, fuel is injected from the injection hole 17a.
  • the fixed core 14 is formed in a cylindrical shape with a magnetic material.
  • a fuel passage 14a is formed inside the cylinder.
  • a fixed core 14 is inserted into the inner peripheral surface of the body 11, and a bobbin 13 a is inserted into the outer peripheral surface of the body 11.
  • the movable core 15 is formed in a disk shape from a magnetic material, and is inserted and arranged on the inner peripheral surface of the body 11.
  • the movable core 15 is disposed on the side of the injection hole 17a with respect to the fixed core 14, and faces the fixed core 14 so as to have a predetermined gap with the fixed core 14 when the coil 13 is not energized. Has been placed.
  • the valve body 12 connected to the movable core 15 opens the valve by overcoming the force obtained by adding the elastic force of the main spring SP1 and the fuel pressure closing force.
  • the fuel pressure closing force is a force acting in the direction of pushing the valve body 12 toward the valve closing side by the fuel pressure in the fuel passage 11a.
  • the valve body 12 is closed together with the movable core 15 by the elastic force of the main spring SP1.
  • a through hole 15a is formed in the movable core 15, and the valve body 12 is inserted and arranged in the through hole 15a. Thereby, the valve body 12 is assembled
  • a locking portion 12d is formed at the end of the valve body 12 on the side opposite to the injection hole.
  • the locking portion 12d moves in a state of being locked to the movable core 15, so that the valve body 12 also moves simultaneously with the start of movement of the movable core 15 ( Valve opening operation).
  • the valve body 12 can be moved relative to the movable core 15 to open the valve.
  • the main spring SP1 is disposed on the side opposite to the injection hole of the valve body 12, and the sub spring SP2 is disposed on the injection hole side of the movable core 15.
  • the main spring SP1 and the sub spring SP2 are coiled and deformed in the direction of the axis C and elastically deformed.
  • the elastic force (main elastic force Fs1) of the main spring SP1 is applied to the valve body 12 in the valve closing direction as a reaction force from the adjustment pipe 101.
  • the elastic force (sub elastic force Fs2) of the sub spring SP2 is applied to the movable core 15 in the suction direction as a reaction force from the recess 11b of the body 11.
  • the valve body 12 is sandwiched between the main spring SP1 and the seating surface 17b, and the movable core 15 is sandwiched between the sub spring SP2 and the locking portion 12d. Then, the sub elastic force Fs2 is transmitted to the locking portion 12d via the movable core 15, and is given to the valve body 12 in the valve opening direction. Therefore, it can be said that the elastic force Fs obtained by subtracting the sub elastic force Fs2 from the main elastic force Fs1 is applied to the valve body 12 in the valve closing direction.
  • the fuel injection control device 20 includes an electronic controller 21 and a booster circuit 22.
  • the electronic controller 21 includes a microcomputer 210, an integrated circuit 211, switching elements SW2, SW3, SW4, and the like.
  • the fuel injection control device 20 is supplied with a voltage from a battery 23 which is a constant voltage source attached to the outside.
  • the microcomputer 210 includes a central processing unit, a nonvolatile memory (ROM), a volatile memory (RAM), and the like. Based on the load of the internal combustion engine E and the engine rotational speed, the required fuel injection quantity Qreq and the target The injection start time is calculated. Note that a characteristic line indicating the relationship between the energization time Ti and the injection amount Q is obtained in advance by testing, and the injection amount Q is controlled by controlling the energization time Ti to the coil 13 according to the characteristic line. .
  • a map (Ti-Q map) indicating the relationship between the energization time Ti and the injection amount Q is created based on the above characteristic line, and this Ti-Q map is stored in the memory. Then, the energization time Ti suitable for the required injection amount is determined with reference to the Ti-Q map. The higher the fuel pressure supplied to the injector 10, that is, the fuel pressure in the delivery pipe 30, the shorter the energization time Ti. Therefore, a Ti-Q map is created and stored for each supply fuel pressure, and the Ti-Q map to be visited is switched according to the supplied fuel pressure at the time of injection.
  • the integrated circuit 211 includes an injection drive circuit 211a that controls the operation of the switching elements SW2, SW3, and SW4, and a charging circuit 211b that controls the operation of the booster circuit 22.
  • the injection drive circuit 211a and the charging circuit 211b operate based on the injection command signal output from the microcomputer 210.
  • the injection command signal is a signal for instructing the energization state of the coil 13 of the injector 10, and is executed by the microcomputer 210 based on the above-described required injection amount Qreq and the target injection start timing and the coil current detection value I described later. It is determined.
  • the booster circuit 22 includes a choke coil 22a, a capacitor 22b, a diode 22c, and a switching element SW1.
  • the charging circuit 211b controls the switching element SW1 so that the switching element SW1 is repeatedly turned on and off. Then, the battery voltage Vbatt applied from the battery 23 terminal Batt is boosted (boosted) by the choke coil 22a and stored in the capacitor 22b. The voltage of the electric power boosted and stored in this way corresponds to the boosted voltage Vboost.
  • the injection drive circuit 211a turns on both the switching elements SW2 and SW4, the boosted voltage Vboost is applied to the coil 13 of the injector 10.
  • the switching element SW2 is turned off and the switching element SW3 is turned on, the battery voltage Vbatt is applied to the coil 13 of the injector 10. Note that when the voltage application to the coil 13 is stopped, the switching elements SW2, SW3, and SW4 are turned off.
  • the diode 212 is for preventing the boosted voltage Vboost from being applied to the switching element SW3 when the switching element SW2 is turned on.
  • the shunt resistor 213 is for detecting a current flowing through the switching element SW4, that is, a coil current that is a current flowing through the coil 13, and the microcomputer 210 described above based on the voltage drop amount generated in the shunt resistor 213.
  • the coil current detection value I is detected.
  • the suction force required for the valve body 12 to start the valve opening operation is referred to as a required valve opening force Fopen.
  • the valve opening start suction force that is the suction force necessary for the valve body 12 to start the valve opening operation becomes larger.
  • the valve opening start suction force increases according to various situations such as when the viscosity of the fuel is large. Therefore, the valve opening start suction force when the situation in which the valve opening start suction force is maximized is assumed is defined as the required valve opening force Fopen.
  • FIG. 11A shows a waveform of a voltage applied to the coil 13 when the fuel injection is performed once.
  • energization is started by applying the boosted voltage Vboost at the time ta when the voltage application commanded by the injection command signal is started, that is, at the start time of the energization time Ti.
  • the coil current increases to a peak current value Ipeak, which is a predetermined target current value (see FIG. 11B).
  • the energization is turned off at the time ta when the above-described coil current detection value I reaches the peak current value Ipeak.
  • the coil current is controlled to increase to the peak current value Ipeak by applying the boosted voltage Vboost by the first energization.
  • energization with the battery voltage Vbatt is controlled so that the coil current is maintained at the pickup current value Ipick determined to be lower than the peak current value Ipeak. Specifically, the energization on / off by the battery voltage Vbatt is repeated so that the difference between the coil current detection value I and the pickup current value Ipick is within a predetermined range so that the average value of the coil current is maintained at the pickup current value Ipick. Duty control.
  • the pickup current value Ipick is determined to be a value such that the static attractive force Fmax is equal to or greater than the required valve opening force Fopen. That is, by maintaining the current of the pickup current value Ipick, the suction force is increased more slowly than when the boosted voltage Vboost is applied, and the static suction force Fmax is made equal to or greater than the required valve opening force Fopen.
  • energization with the battery voltage Vbatt is controlled so that the coil current is maintained at the hold current value Ihold determined to be lower than the pickup current value Ipick. Specifically, by repeatedly turning on and off the battery voltage Vbatt so that the deviation between the coil current detection value I and the hold current value Ihold is within a predetermined range, the average value of the fluctuating coil current becomes the hold current value Ihold. The duty is controlled so as to be maintained.
  • the attractive force continues to increase during a period from the energization start time t0 to the pickup control end time t3.
  • the rate of increase of the attractive force is slower in the pickup control period (from tb to t3) than in the period from the start of energization to the time when the coil current detection value I reaches the peak current value Ipeak (from t0 to ta).
  • the peak current value Ipeak, the pickup current value Ipick, and the pickup control period are determined so that the suction force exceeds the required valve opening force Openen during the period in which the suction force increases (from t0 to t3).
  • the force obtained by adding the fuel pressure closing force which is the force due to the fuel pressure in the injector 10 described above, and the elastic force of an elastic member such as a spring in the injector 10 is the required valve opening force Fopen.
  • the elastic force of the elastic member is substantially constant, and the required valve opening force Fopen is determined by the fuel pressure valve closing force. That is, the peak current value Ipeak, the pickup current value Ipick, and the pickup control period are determined according to the fuel pressure supplied into the injector 10.
  • the suction force is maintained at a predetermined value.
  • the hold current value Ihold is determined so that the predetermined value is higher than the valve opening maintaining force Fhold necessary for maintaining the valve open state.
  • the valve opening maintenance force Fhold is smaller than the required valve opening force Fopen.
  • the injection signal included in the injection command signal is a pulse signal for instructing the energization time Ti, and the pulse-on timing is determined at t0, which is a timing earlier than the target injection start timing by a predetermined injection delay time.
  • the pulse-off timing is determined at the time t5 when the time corresponding to the energization time Ti has elapsed since the pulse was turned on, that is, at the end timing of the energization time Ti.
  • the switching element SW4 operates according to this injection signal.
  • the boost signal included in the injection command signal is a pulse signal that commands energization on / off with the boosted voltage Vboost, and is pulsed on at the same time as the injection signal is pulsed on. Thereafter, the boost signal is repeatedly turned on and off until the coil current detection value I reaches the peak current value Ipeak.
  • the switching element SW2 operates according to the on / off of the boost signal. As a result, the boosted voltage Vboost is applied during the period from t0 to ta in FIG.
  • the battery 23 signal included in the injection command signal is turned on at the pickup control start time tb. Thereafter, the battery 23 signal is repeatedly turned on and off so as to perform feedback control so that the coil current detection value I is maintained at the pickup current value Ipick until the elapsed time from the start of energization reaches a predetermined time. Thereafter, the battery 23 signal is repeatedly turned on and off so as to perform feedback control so that the coil current detection value I is maintained at the hold current value Ihold during a period until the pulse of the injection signal is turned off.
  • the switching element SW3 operates according to the battery 23 signal.
  • the fuel pressure supplied to the injector 10 is detected by a fuel pressure sensor 31 attached to the delivery pipe 30 as shown in FIG.
  • the electronic controller 21 determines whether or not to perform the above-described pickup control according to the supply fuel pressure detected by the fuel pressure sensor 31. For example, when the supply fuel pressure is greater than or equal to a predetermined value, the pickup control is permitted, but when it is less than the predetermined value, the pickup control is not performed, and the valve opening maintenance control is performed after applying the boost current Vboost.
  • the boosted voltage Vboost is applied to the coil 13 to start energization, and the coil current is increased to the peak current value Ipeak which is a predetermined target current value.
  • the boosting voltage Vboost is applied and the suction force becomes larger than the required valve opening force Fopen, the valve is opened.
  • the pickup control described above is performed.
  • the width of the duty when the battery voltage Vbatt drops by a predetermined voltage ( ⁇ V), in order to maintain the pickup current value Ipick when it does not drop, the width of the duty must be widened in the pickup control.
  • the drop amount ⁇ V of the battery voltage Vbatt is so large that the pickup current value Ipick when it does not drop cannot be maintained even when the duty width is widened, the pickup current value Ipick is compared with the case where the voltage drop does not occur. And get smaller.
  • the suction force cannot be increased beyond the required valve opening force Fopen, and eventually the static suction force Fmax does not exceed the required valve opening force Fopen during the period (t0 to t3) when the suction force increases. May not open.
  • the electronic controller 21 performs correction to increase the peak current value Ipeak when the battery voltage Vbatt drops by a predetermined voltage ( ⁇ V). By this correction, the coil 13 is caused to generate a suction force that is greater than the required valve opening force Fopen.
  • the microcomputer 210 of the electronic controller 21 of the first embodiment functions as a valve opening control unit, a valve opening maintenance control unit, and a current correction control unit.
  • the peak current value Ipeak shown in FIG. 3 is determined according to the fuel pressure of the fuel supplied into the injector 10 as described above.
  • a current correction amount I ⁇ that is an increase correction with respect to the peak current value Ipeak is calculated according to the decrease amount ⁇ V of the battery voltage Vbatt.
  • the amount of decrease ⁇ V is detected when the electronic controller 21 receives a change in the battery voltage Vbatt sent from the detector of the battery voltage Vbatt attached to the battery 23 (not shown).
  • the current correction amount I ⁇ is determined so as to compensate for the attraction force that is insufficient due to the drop in the battery voltage Vbatt.
  • the electronic controller 21 sets the current correction amount I ⁇ . Calculate and correct. Further, the correction may be made when the voltage becomes smaller than the predetermined voltage value, or the current correction amount I ⁇ is calculated and the peak current value Ipeak is corrected each time according to the drop amount ⁇ V of the battery voltage Vbatt. Also good.
  • the final peak current value Ipeak + I ⁇ is determined based on the calculated current correction amount I ⁇ .
  • the final peak current value Ipeak + I ⁇ is determined so that the attractive force is equal to or greater than the required valve opening force Fopen. Then, S20 and S21 of S2 of the current correction control unit are finished.
  • the microcomputer 210 sends a command to apply the boosted voltage Vboost to the integrated circuit 211.
  • the boosted voltage Vboost is applied to the coil 13 and the boosted voltage Vboost is continuously applied until the coil current detection value I becomes equal to or higher than the corrected peak current value Ipeak + I ⁇ .
  • the period during which the boosted voltage Vboost is applied is from t0 to t1 in FIG. 3, but in the first embodiment, it is from t0 to ta, and the boosted voltage Vboost is applied only during the period ta-t1.
  • the period during which is applied is extended.
  • the peak current value Ipeak is increased by the current correction amount I ⁇ by the amount extended by the period of ta-t1, and an attractive force equal to or greater than the required valve opening force Fopen is obtained.
  • the microcomputer 210 determines whether the coil current detection value I is equal to or higher than the corrected peak current value Ipeak + I ⁇ . When it is determined that the value of the current that actually flows through the coil 13 is equal to or greater than Ipeak + I ⁇ , the microcomputer 210 sends a command to the integrated circuit 211 and ends the application of the boosted voltage Vboost.
  • S5 for performing pickup control is performed.
  • the current of the pickup current value Ipick is maintained to raise the suction force more gently than when the boosted voltage Vboost is applied, so that the static suction force Fmax is greater than or equal to the required valve opening force Fopen. Yes.
  • S6 of the valve opening maintenance control unit in FIG. 4 is performed.
  • S6 in order to generate a suction force higher than the valve opening maintaining force Fhold necessary for maintaining the valve open state of the injector 10, a command to send a current equal to or higher than the hold current value Ihold is sent to the integrated circuit 211. Yes.
  • the valve opening maintenance force Fhold is smaller than the required valve opening force Fopen.
  • the current correction control unit corrects the peak current value Ipeak in accordance with the drop amount ⁇ V of the battery voltage Vbatt, and determines the final peak current value Ipeak + I ⁇ . Therefore, even when the battery voltage Vbatt drops, a suction force that is greater than the required valve opening force Fopen can be obtained.
  • the electronic controller 21 of the first embodiment calculates the current correction amount I ⁇ so that the peak current value Ipeak is increased and corrected according to the decrease amount ⁇ V of the battery voltage Vbatt.
  • the final peak current value becomes Ipeak + I ⁇ , and the period during which the boosted voltage Vboost is applied to the coil 13 becomes longer in S3 of the valve opening control unit.
  • the electronic controller when the battery voltage drops, applies the boosted voltage to the coil, and corrects the current value so as to increase the maximum value of the current flowing through the coil, thereby generating the suction generated in the coil. You can increase your power. Then, the suction force that has decreased due to the drop in the battery voltage can be compensated by the above correction, and the suction force required to open the valve can be increased. Therefore, even when the power supply voltage of the battery drops, the injector can be opened to control the fuel injection amount.
  • a starter motor is attached to the internal combustion engine E when power is applied to the internal combustion engine E from the outside. In order to drive this starter motor, electric power from the battery 23 is required. Further, the battery 23 functions as a power source other than the drive of the starter motor. That is, when driving the vehicle is started, the battery 23 is most frequently used. Thus, under the situation where the vehicle is started to drive, the battery voltage Vbatt is significantly reduced, which adversely affects the fuel injection control using the battery voltage Vbatt. Only at the start of driving the vehicle, the fuel injection control according to the first embodiment enables the fuel injection control to be accurately performed even when the battery voltage Vbatt drops.
  • control described in the first embodiment can also be applied to a case where a plurality of injections are performed in which a required injection amount is divided into a plurality of times during one combustion cycle, as shown in FIG. 5B.
  • the fuel injection may be performed by dividing the injection amount necessary for one combustion cycle into a plurality of times. This is because, when fuel is injected at a time as shown in FIG. 5A, an excessive amount of fuel adheres to the side surface of each cylinder of the internal combustion engine E, and unburned residue is generated when the fuel is burned.
  • optimal combustion may not be possible. Therefore, by dividing and injecting a certain amount of fuel injection into multiple times, even if it is not possible to burn completely by a single combustion, fuel injection can be reduced by dividing and injecting fuel, This is because the efficiency can be increased.
  • the fuel injection control according to the first embodiment is performed by selecting one injection among a plurality of injections in which the required injection amount is divided into a plurality of times during one combustion cycle. Then, the current correction amount I ⁇ determined at this time may be used for the remaining other injections to perform control for correcting the peak current value Ipeak. Compared to performing the fuel injection control of the first embodiment for all the multiple injections described above, the fuel injection control of the first embodiment is performed once, and the result is used for the remaining fuel injection control. The processing load on the electronic controller 21 can be reduced.
  • the fuel injection control of the first embodiment when diverting the result of the fuel injection control of the first embodiment, it may be diverted only to the injection at the adjacent timing.
  • the adjacent injections indicate the first fuel injection and the second fuel injection, or the second fuel injection and the third fuel injection. . That is, the fuel injection control of the first embodiment is performed by the first fuel injection, and the fuel injection control is performed by diverting the calculated current correction amount I ⁇ to the second fuel injection. In the third fuel injection, the fuel injection control of the first embodiment is performed again.
  • the fuel injection control of the first embodiment is performed by the first fuel injection
  • the fuel injection control of the first embodiment is performed again by the second fuel injection
  • the current correction amount I ⁇ calculated by the second fuel injection is changed to the first fuel injection control.
  • the fuel injection control may be performed using the three fuel injections.
  • the fuel injection control of the first embodiment is performed by arbitrarily selecting a plurality of injections in which a required injection amount is injected in a plurality of times during one combustion cycle, and for the remaining fuel injections that are not selected.
  • the result of the fuel injection control may be arbitrarily used.
  • the fuel injection control of the first embodiment be performed before multiple injections. That is, after performing the above-described fuel injection control, the actual injection is performed a plurality of times.
  • FIG. 6 shows a flowchart of the fuel injection control of the second embodiment.
  • the microcomputer 210 of the electronic controller 21 of the second embodiment functions as a valve opening control unit, a valve opening maintenance control unit, and a current correction control unit.
  • the current with respect to the peak current value Ipeak depends on the drop amount ⁇ V of the battery voltage Vbatt and the fuel pressure of the fuel supplied into the injector 10.
  • the correction amount I ⁇ is calculated.
  • the current correction amount I ⁇ for the peak current value Ipeak is calculated according to the amount of decrease ⁇ V in the battery voltage Vbatt and the value of the fuel pressure supplied into the injector 10. Therefore, it is possible to perform correction with higher accuracy than in the first embodiment.
  • the current correction amount I ⁇ of the peak current value is calculated according to the drop amount ⁇ V of the battery voltage Vbatt.
  • the required valve opening force Fopen is the sum of the elastic force of the elastic member and the force due to the fuel pressure as described above. Therefore, the required valve opening force Fopen becomes low.
  • the battery voltage Vbatt has decreased and the peak current is corrected to increase the attractive force, a large force is generated unnecessarily.
  • the current correction amount I ⁇ of the peak current value is calculated according to the drop amount ⁇ V of the battery voltage Vbatt and the pressure of the fuel supplied into the injector 10. Therefore, as described above, even when the battery voltage Vbatt drops, the current having the peak current value necessary for generating an attractive force greater than the required valve opening force when the fuel pressure is low and the required valve opening force Open is low.
  • the correction amount I ⁇ can be calculated accurately. Therefore, S20A of the current correction control unit of the second embodiment can suppress generation of abnormal noise, wear on the collision surface, and heat generation of the coil 13 due to increased power consumption, which are the above-described problems.
  • the second embodiment can also be applied to a case where a plurality of injections are performed in the internal combustion engine E, as in the first embodiment. And the effect at the time of applying in this way has the effect which combined the effect of 2nd Embodiment in addition to the above-mentioned effect.
  • the microcomputer 210 of the electronic controller 21 functions as a valve opening control unit, a valve opening maintenance control unit, and a current continuation control unit. From S70 to S74 in S7 of this current continuation control unit, the peak current value Ipeak is not corrected and the boosted voltage Vboost is duty controlled for a predetermined period. And the control which continues the state whose average value of the electric current which flows into the coil 13 is the peak electric current value Ipeak is performed.
  • the fuel is first supplied into the injector 10 as described above.
  • the peak current value Ipeak shown in FIG. 7 is determined according to the fuel pressure.
  • S70 of the current continuation control unit is performed as shown in FIG.
  • the boost voltage Vboost is duty-controlled to calculate a duration during which the average value of the current flowing through the coil 13 is the peak current value Ipeak for a predetermined period according to the drop amount ⁇ V of the battery voltage Vbatt.
  • This continuation period is a period from t1 to tb shown in FIG.
  • the duration is determined so as to compensate for the attraction force that is insufficient to make the valve opening force Fopen or higher due to the decrease in the battery voltage Vbatt by continuing the state of the peak current value Ipeak.
  • the electronic controller 21 calculates the duration period. . Thereafter, control is performed to extend the state of the peak current value Ipeak for a continuous period. At this time, the extension period is determined by the amount of decrease ⁇ V of the battery voltage Vbatt. Further, as described above, when the voltage becomes smaller than the predetermined voltage value, the control of S70 may be performed, or the duration is calculated each time according to the amount of decrease ⁇ V of the battery voltage Vbatt, and the control of S70 is performed. May be.
  • a command for applying the boosted voltage Vboost to the coil 13 until the coil current detection value I reaches the peak current value Ipeak is sent to the integrated circuit 211 in S71 of the current continuation control unit in FIG. At this time, although the coil current detection value I becomes the peak current value Ipeak, the attractive force generated in the coil 13 is not a value greater than the required valve opening force Fopen.
  • the boosted voltage Vboost is duty controlled in S73 of the current continuation control unit in FIG. And it controls only the above-mentioned duration so that the average value of the coil current detection value I becomes the peak current value Ipeak. Since the above-described duration is determined so as to compensate for the insufficient suction force due to the drop in the battery voltage Vbatt, if the state of the peak current value Ipeak continues for the duration, the suction force becomes equal to or greater than the required valve opening force Fopen. . In other words, if it is determined in S74 of FIG. 8 that the state of the peak current value Ipeak has continued for the duration or longer, S74 is terminated.
  • S5 of the valve opening control unit is performed in the same manner as in the first and second embodiments, and finally, S6 of the valve opening maintenance control unit is performed in the same manner as in the first and second embodiments.
  • the control performed by the microcomputer 210 of the electronic controller 21 ends.
  • the electronic controller 21 duty-controls the boosted voltage Vboost only for the duration calculated according to the drop amount ⁇ V of the battery voltage Vbatt, and calculates the average value of the coil current detection value I as the peak current.
  • the current continuation control to the value Ipeak is performed.
  • the period during which the boosted voltage Vboost is applied is from t0 to t1, but in the third embodiment, it extends from t0 to tb. Accordingly, the attractive force rapidly increases as the coil current rapidly increases due to the boost voltage Vboost.
  • the state in which the average value of the current flowing through the coil is the maximum value only for the duration calculated according to the amount of decrease in the battery voltage is continued, and the state in which the attractive force is rapidly increased. Can continue. Therefore, it is possible to generate a suction force necessary for opening the valve even when the battery voltage drops, and it is possible to control the fuel injection amount by opening the injector even when the battery voltage drops.
  • the microcomputer 210 of the electronic controller 21 has a current of a pre-current value Ipre in advance before correcting the peak current value Ipeak. Functions as a valve opening assist control unit that performs valve opening assist control.
  • the battery voltage Vbatt is duty-controlled before the valve opening control described above, and the average value of the coil current is determined as the pre-current value Ipre. That is, the battery voltage Vbatt is duty-controlled so that the boosted voltage Vboost becomes the pre-current value Ipre before t0 when the application starts. Then, since the coil current having the pre-current value Ipre is generated before t0 in FIG. 9, the attractive force generated in the coil 13 is gradually increased. In this way, an attractive force is generated in the coil 13 in advance by flowing a current having a pre-current value Ipre.
  • the pre-current value Ipre is determined to be smaller than the pickup current value Ipick and the hold current value Ihold.
  • the boosted voltage Vboost is applied, the suction force increases rapidly, and a suction force that is equal to or greater than the required valve opening force Fopen is generated.
  • control is performed to rapidly increase the coil current with the final peak current value Ipeak + I ⁇ determined by the function of the current correction control unit as a target.
  • the attractive force generated in the coil 13 also increases rapidly.
  • the movable core is suddenly drawn and collides with the fixed core vigorously.
  • abnormal noise may be generated due to the impact of the movable core and the fixed core colliding, or the movable core and the fixed core may be worn and cause a failure of the injector 10.
  • the coil current having the pre-current value Ipre is generated by duty-controlling the battery voltage Vbatt even before the valve opening control, and a suction force having a predetermined magnitude is generated.
  • a suction force having a predetermined magnitude is generated.
  • the coil current of the pre-current value Ipre is generated by duty-controlling the battery voltage Vbatt, even before control by the valve opening control unit, and a suction force having a predetermined magnitude is generated. ing. Therefore, thanks to the suction force generated by the amount of the pre-current value Ipre, a suction force greater than the required valve opening force Fopen can be generated earlier than in the other embodiments. That is, as shown in FIG. 7, in the third embodiment, the continuation period is a period from t1 to t2, but as shown in FIG. 10, in the modified example of the fourth embodiment, it is a period from t1 to tb. The duration is shortened by -tb. Therefore, since the period during which the coil current continues to flow at the peak current value Ipeak is shortened, the power consumed by the coil 13 can be reduced.
  • the current correction amount I ⁇ with respect to the peak current value Ipeak is calculated according to the amount of decrease ⁇ V in the battery voltage Vbatt and the value of the fuel pressure supplied into the injector 10.
  • the current correction amount I ⁇ may be calculated by appropriately combining not only the value of the fuel pressure supplied into the injector 10 but also fuel characteristics other than the fuel pressure such as the temperature and viscosity of the fuel.
  • the number of operations of the elastic member in the injector 10 may be stored, and the number of sliding times may be taken into account when calculating the current correction amount I ⁇ .
  • the valve opening and closing operations of the injector 10 are repeated, the elastic member is fatigued and its elastic force is reduced. Therefore, the required valve opening force Fopen of the injector 10 varies depending on the number of operations of the elastic member. Therefore, highly accurate correction can be performed by referring to the number of operations of the elastic member when calculating the current correction amount I ⁇ .
  • the temperature of the coil 13 can be corrected with high accuracy by participating in calculating the current correction amount I ⁇ .

Landscapes

  • Engineering & Computer Science (AREA)
  • Chemical & Material Sciences (AREA)
  • Combustion & Propulsion (AREA)
  • Mechanical Engineering (AREA)
  • General Engineering & Computer Science (AREA)
  • Physics & Mathematics (AREA)
  • Electromagnetism (AREA)
  • Fuel-Injection Apparatus (AREA)
  • Electrical Control Of Air Or Fuel Supplied To Internal-Combustion Engine (AREA)
  • Combined Controls Of Internal Combustion Engines (AREA)
PCT/JP2016/077772 2015-11-05 2016-09-21 燃料噴射制御装置と燃料噴射システム Ceased WO2017077779A1 (ja)

Priority Applications (2)

Application Number Priority Date Filing Date Title
DE112016005107.7T DE112016005107B4 (de) 2015-11-05 2016-09-21 Kraftstoffeinspritzsteuervorrichtung und Kraftstoffeinspritzsystem
US15/770,319 US10648419B2 (en) 2015-11-05 2016-09-21 Fuel injection control device and fuel injection system

Applications Claiming Priority (2)

Application Number Priority Date Filing Date Title
JP2015217817A JP6414022B2 (ja) 2015-11-05 2015-11-05 燃料噴射制御装置と燃料噴射システム
JP2015-217817 2015-11-05

Publications (1)

Publication Number Publication Date
WO2017077779A1 true WO2017077779A1 (ja) 2017-05-11

Family

ID=58663095

Family Applications (1)

Application Number Title Priority Date Filing Date
PCT/JP2016/077772 Ceased WO2017077779A1 (ja) 2015-11-05 2016-09-21 燃料噴射制御装置と燃料噴射システム

Country Status (4)

Country Link
US (1) US10648419B2 (enExample)
JP (1) JP6414022B2 (enExample)
DE (1) DE112016005107B4 (enExample)
WO (1) WO2017077779A1 (enExample)

Cited By (1)

* Cited by examiner, † Cited by third party
Publication number Priority date Publication date Assignee Title
EP3473481A1 (en) * 2017-10-20 2019-04-24 Toyota Jidosha Kabushiki Kaisha Fuel cell vehicle

Families Citing this family (6)

* Cited by examiner, † Cited by third party
Publication number Priority date Publication date Assignee Title
JP6633093B2 (ja) * 2015-10-20 2020-01-22 日立オートモティブシステムズ株式会社 車両用制御装置
JP6414022B2 (ja) 2015-11-05 2018-10-31 株式会社デンソー 燃料噴射制御装置と燃料噴射システム
US10443533B2 (en) * 2017-10-23 2019-10-15 GM Global Technology Operations LLC Mild hybrid powertrain with simplified fuel injector boost
FR3087493B1 (fr) * 2018-10-22 2022-01-21 Continental Automotive France Procede de controle d'un convertisseur de tension continu-continu pour le pilotage d'un injecteur de carburant
JP7268570B2 (ja) * 2019-10-11 2023-05-08 株式会社デンソー 燃料噴射制御装置
KR102619606B1 (ko) * 2021-09-30 2023-12-28 주식회사 현대케피코 연료분사밸브 및 그 구동방법

Citations (7)

* Cited by examiner, † Cited by third party
Publication number Priority date Publication date Assignee Title
JP2007324262A (ja) * 2006-05-31 2007-12-13 Denso Corp 燃料噴射弁の駆動装置
JP2011185365A (ja) * 2010-03-09 2011-09-22 Hitachi Automotive Systems Ltd 電磁弁駆動回路
JP2011185157A (ja) * 2010-03-09 2011-09-22 Hitachi Automotive Systems Ltd 内燃機関の燃料噴射装置及び燃料噴射制御方法
JP2012159049A (ja) * 2011-02-02 2012-08-23 Hitachi Automotive Systems Ltd インジェクタ駆動回路
WO2013191267A1 (ja) * 2012-06-21 2013-12-27 日立オートモティブシステムズ株式会社 内燃機関の制御装置
JP2014047655A (ja) * 2012-08-30 2014-03-17 Mitsubishi Electric Corp 車載エンジン制御装置
JP2014171312A (ja) * 2013-03-04 2014-09-18 Hitachi Automotive Systems Ltd 昇圧回路

Family Cites Families (10)

* Cited by examiner, † Cited by third party
Publication number Priority date Publication date Assignee Title
JP3932474B2 (ja) 1999-07-28 2007-06-20 株式会社日立製作所 電磁式燃料噴射装置及び内燃機関
DE10114050A1 (de) * 2001-03-15 2002-10-02 Volkswagen Ag Verfahren zum Warmlauf eines einer fremdgezündeten, direkteinspritzenden Verbrennungskraftmaschine nachgeschalteten Katalysators
JP2004092573A (ja) * 2002-09-03 2004-03-25 Hitachi Ltd 燃料噴射装置および制御方法
JP2005163625A (ja) 2003-12-02 2005-06-23 Keihin Corp 燃料噴射弁制御装置
US8214132B2 (en) * 2010-09-17 2012-07-03 Caterpillar Inc. Efficient wave form to control fuel system
JP5851354B2 (ja) 2012-06-21 2016-02-03 日立オートモティブシステムズ株式会社 内燃機関の制御装置
JP5849975B2 (ja) * 2013-02-25 2016-02-03 株式会社デンソー 燃料噴射制御装置および燃料噴射システム
JP6318575B2 (ja) * 2013-11-21 2018-05-09 株式会社デンソー 燃料噴射制御装置および燃料噴射システム
JP2015217817A (ja) 2014-05-19 2015-12-07 東洋ゴム工業株式会社 ブラケット
JP6414022B2 (ja) 2015-11-05 2018-10-31 株式会社デンソー 燃料噴射制御装置と燃料噴射システム

Patent Citations (7)

* Cited by examiner, † Cited by third party
Publication number Priority date Publication date Assignee Title
JP2007324262A (ja) * 2006-05-31 2007-12-13 Denso Corp 燃料噴射弁の駆動装置
JP2011185365A (ja) * 2010-03-09 2011-09-22 Hitachi Automotive Systems Ltd 電磁弁駆動回路
JP2011185157A (ja) * 2010-03-09 2011-09-22 Hitachi Automotive Systems Ltd 内燃機関の燃料噴射装置及び燃料噴射制御方法
JP2012159049A (ja) * 2011-02-02 2012-08-23 Hitachi Automotive Systems Ltd インジェクタ駆動回路
WO2013191267A1 (ja) * 2012-06-21 2013-12-27 日立オートモティブシステムズ株式会社 内燃機関の制御装置
JP2014047655A (ja) * 2012-08-30 2014-03-17 Mitsubishi Electric Corp 車載エンジン制御装置
JP2014171312A (ja) * 2013-03-04 2014-09-18 Hitachi Automotive Systems Ltd 昇圧回路

Cited By (4)

* Cited by examiner, † Cited by third party
Publication number Priority date Publication date Assignee Title
EP3473481A1 (en) * 2017-10-20 2019-04-24 Toyota Jidosha Kabushiki Kaisha Fuel cell vehicle
CN110015207A (zh) * 2017-10-20 2019-07-16 丰田自动车株式会社 燃料电池车
US11289724B2 (en) 2017-10-20 2022-03-29 Toyota Jidosha Kabushiki Kaisha Fuel cell vehicle
CN110015207B (zh) * 2017-10-20 2022-06-28 丰田自动车株式会社 燃料电池车

Also Published As

Publication number Publication date
JP6414022B2 (ja) 2018-10-31
US20180320620A1 (en) 2018-11-08
DE112016005107B4 (de) 2023-03-30
JP2017089437A (ja) 2017-05-25
DE112016005107T5 (de) 2018-08-02
US10648419B2 (en) 2020-05-12

Similar Documents

Publication Publication Date Title
JP6414022B2 (ja) 燃料噴射制御装置と燃料噴射システム
US10598114B2 (en) Fuel injection controller and fuel injection system
JP6677792B2 (ja) 燃料噴射装置の駆動装置
US9970376B2 (en) Fuel injection controller and fuel injection system
US6571773B1 (en) Fuel injector and internal combustion engine
WO2014181549A1 (ja) 燃料噴射制御装置および燃料噴射システム
US20160237935A1 (en) Fuel injection control unit
US20140124601A1 (en) Fuel injection controller and fuel-injection-control system
WO2018135219A1 (ja) 燃料噴射装置の駆動装置
JP2014092089A (ja) 燃料噴射制御装置および燃料噴射システム
JP2014517212A (ja) 内燃機関の燃料供給装置の動作方法および装置
JP2010275987A (ja) 直動式燃料噴射弁の制御装置
JP5958417B2 (ja) 燃料噴射制御装置および燃料噴射システム
JP4615967B2 (ja) ピエゾインジェクタの駆動装置
JP6561184B2 (ja) 燃料噴射装置の駆動装置
JP6186402B2 (ja) 電磁弁装置の駆動装置
JP5991419B2 (ja) 燃料噴射制御装置および燃料噴射システム
JP6386129B2 (ja) 燃料噴射装置の駆動装置
JP6304324B2 (ja) 燃料噴射制御装置および燃料噴射システム
JP2017210964A (ja) 燃料噴射制御装置および燃料噴射システム
US9249766B2 (en) Fuel injector and fuel injection device using the same
JP5870959B2 (ja) 燃料噴射制御装置および燃料噴射システム
JP6237819B2 (ja) 燃料噴射制御装置および燃料噴射システム
JP6750710B2 (ja) 燃料噴射制御装置および燃料噴射システム
JP4432624B2 (ja) アクチュエータ駆動回路

Legal Events

Date Code Title Description
121 Ep: the epo has been informed by wipo that ep was designated in this application

Ref document number: 16861848

Country of ref document: EP

Kind code of ref document: A1

WWE Wipo information: entry into national phase

Ref document number: 15770319

Country of ref document: US

WWE Wipo information: entry into national phase

Ref document number: 112016005107

Country of ref document: DE

122 Ep: pct application non-entry in european phase

Ref document number: 16861848

Country of ref document: EP

Kind code of ref document: A1