WO2016152940A1 - 二重湾曲x線集光素子、二重湾曲x線分光素子およびそれを備える装置ならびにその素子の製造方法 - Google Patents
二重湾曲x線集光素子、二重湾曲x線分光素子およびそれを備える装置ならびにその素子の製造方法 Download PDFInfo
- Publication number
- WO2016152940A1 WO2016152940A1 PCT/JP2016/059266 JP2016059266W WO2016152940A1 WO 2016152940 A1 WO2016152940 A1 WO 2016152940A1 JP 2016059266 W JP2016059266 W JP 2016059266W WO 2016152940 A1 WO2016152940 A1 WO 2016152940A1
- Authority
- WO
- WIPO (PCT)
- Prior art keywords
- double
- curved
- ray
- glass plate
- concave
- Prior art date
- Legal status (The legal status is an assumption and is not a legal conclusion. Google has not performed a legal analysis and makes no representation as to the accuracy of the status listed.)
- Ceased
Links
Images
Classifications
-
- G—PHYSICS
- G01—MEASURING; TESTING
- G01N—INVESTIGATING OR ANALYSING MATERIALS BY DETERMINING THEIR CHEMICAL OR PHYSICAL PROPERTIES
- G01N23/00—Investigating or analysing materials by the use of wave or particle radiation, e.g. X-rays or neutrons, not covered by groups G01N3/00 – G01N17/00, G01N21/00 or G01N22/00
- G01N23/20—Investigating or analysing materials by the use of wave or particle radiation, e.g. X-rays or neutrons, not covered by groups G01N3/00 – G01N17/00, G01N21/00 or G01N22/00 by using diffraction of the radiation by the materials, e.g. for investigating crystal structure; by using scattering of the radiation by the materials, e.g. for investigating non-crystalline materials; by using reflection of the radiation by the materials
- G01N23/207—Diffractometry using detectors, e.g. using a probe in a central position and one or more displaceable detectors in circumferential positions
-
- G—PHYSICS
- G01—MEASURING; TESTING
- G01N—INVESTIGATING OR ANALYSING MATERIALS BY DETERMINING THEIR CHEMICAL OR PHYSICAL PROPERTIES
- G01N23/00—Investigating or analysing materials by the use of wave or particle radiation, e.g. X-rays or neutrons, not covered by groups G01N3/00 – G01N17/00, G01N21/00 or G01N22/00
- G01N23/20—Investigating or analysing materials by the use of wave or particle radiation, e.g. X-rays or neutrons, not covered by groups G01N3/00 – G01N17/00, G01N21/00 or G01N22/00 by using diffraction of the radiation by the materials, e.g. for investigating crystal structure; by using scattering of the radiation by the materials, e.g. for investigating non-crystalline materials; by using reflection of the radiation by the materials
- G01N23/207—Diffractometry using detectors, e.g. using a probe in a central position and one or more displaceable detectors in circumferential positions
- G01N23/2076—Diffractometry using detectors, e.g. using a probe in a central position and one or more displaceable detectors in circumferential positions for spectrometry, i.e. using an analysing crystal, e.g. for measuring X-ray fluorescence spectrum of a sample with wavelength-dispersion, i.e. WDXFS
-
- G—PHYSICS
- G21—NUCLEAR PHYSICS; NUCLEAR ENGINEERING
- G21K—TECHNIQUES FOR HANDLING PARTICLES OR IONISING RADIATION NOT OTHERWISE PROVIDED FOR; IRRADIATION DEVICES; GAMMA RAY OR X-RAY MICROSCOPES
- G21K1/00—Arrangements for handling particles or ionising radiation, e.g. focusing or moderating
- G21K1/06—Arrangements for handling particles or ionising radiation, e.g. focusing or moderating using diffraction, refraction or reflection, e.g. monochromators
-
- G—PHYSICS
- G21—NUCLEAR PHYSICS; NUCLEAR ENGINEERING
- G21K—TECHNIQUES FOR HANDLING PARTICLES OR IONISING RADIATION NOT OTHERWISE PROVIDED FOR; IRRADIATION DEVICES; GAMMA RAY OR X-RAY MICROSCOPES
- G21K1/00—Arrangements for handling particles or ionising radiation, e.g. focusing or moderating
- G21K1/06—Arrangements for handling particles or ionising radiation, e.g. focusing or moderating using diffraction, refraction or reflection, e.g. monochromators
- G21K1/062—Devices having a multilayer structure
-
- G—PHYSICS
- G21—NUCLEAR PHYSICS; NUCLEAR ENGINEERING
- G21K—TECHNIQUES FOR HANDLING PARTICLES OR IONISING RADIATION NOT OTHERWISE PROVIDED FOR; IRRADIATION DEVICES; GAMMA RAY OR X-RAY MICROSCOPES
- G21K1/00—Arrangements for handling particles or ionising radiation, e.g. focusing or moderating
- G21K1/06—Arrangements for handling particles or ionising radiation, e.g. focusing or moderating using diffraction, refraction or reflection, e.g. monochromators
- G21K1/067—Arrangements for handling particles or ionising radiation, e.g. focusing or moderating using diffraction, refraction or reflection, e.g. monochromators using surface reflection, e.g. grazing incidence mirrors, gratings
-
- G—PHYSICS
- G01—MEASURING; TESTING
- G01N—INVESTIGATING OR ANALYSING MATERIALS BY DETERMINING THEIR CHEMICAL OR PHYSICAL PROPERTIES
- G01N2223/00—Investigating materials by wave or particle radiation
- G01N2223/30—Accessories, mechanical or electrical features
- G01N2223/315—Accessories, mechanical or electrical features monochromators
-
- G—PHYSICS
- G01—MEASURING; TESTING
- G01N—INVESTIGATING OR ANALYSING MATERIALS BY DETERMINING THEIR CHEMICAL OR PHYSICAL PROPERTIES
- G01N23/00—Investigating or analysing materials by the use of wave or particle radiation, e.g. X-rays or neutrons, not covered by groups G01N3/00 – G01N17/00, G01N21/00 or G01N22/00
- G01N23/22—Investigating or analysing materials by the use of wave or particle radiation, e.g. X-rays or neutrons, not covered by groups G01N3/00 – G01N17/00, G01N21/00 or G01N22/00 by measuring secondary emission from the material
- G01N23/223—Investigating or analysing materials by the use of wave or particle radiation, e.g. X-rays or neutrons, not covered by groups G01N3/00 – G01N17/00, G01N21/00 or G01N22/00 by measuring secondary emission from the material by irradiating the sample with X-rays or gamma-rays and by measuring X-ray fluorescence
-
- G—PHYSICS
- G21—NUCLEAR PHYSICS; NUCLEAR ENGINEERING
- G21K—TECHNIQUES FOR HANDLING PARTICLES OR IONISING RADIATION NOT OTHERWISE PROVIDED FOR; IRRADIATION DEVICES; GAMMA RAY OR X-RAY MICROSCOPES
- G21K2201/00—Arrangements for handling radiation or particles
- G21K2201/06—Arrangements for handling radiation or particles using diffractive, refractive or reflecting elements
-
- G—PHYSICS
- G21—NUCLEAR PHYSICS; NUCLEAR ENGINEERING
- G21K—TECHNIQUES FOR HANDLING PARTICLES OR IONISING RADIATION NOT OTHERWISE PROVIDED FOR; IRRADIATION DEVICES; GAMMA RAY OR X-RAY MICROSCOPES
- G21K2201/00—Arrangements for handling radiation or particles
- G21K2201/06—Arrangements for handling radiation or particles using diffractive, refractive or reflecting elements
- G21K2201/061—Arrangements for handling radiation or particles using diffractive, refractive or reflecting elements characterised by a multilayer structure
-
- G—PHYSICS
- G21—NUCLEAR PHYSICS; NUCLEAR ENGINEERING
- G21K—TECHNIQUES FOR HANDLING PARTICLES OR IONISING RADIATION NOT OTHERWISE PROVIDED FOR; IRRADIATION DEVICES; GAMMA RAY OR X-RAY MICROSCOPES
- G21K2201/00—Arrangements for handling radiation or particles
- G21K2201/06—Arrangements for handling radiation or particles using diffractive, refractive or reflecting elements
- G21K2201/062—Arrangements for handling radiation or particles using diffractive, refractive or reflecting elements the element being a crystal
-
- G—PHYSICS
- G21—NUCLEAR PHYSICS; NUCLEAR ENGINEERING
- G21K—TECHNIQUES FOR HANDLING PARTICLES OR IONISING RADIATION NOT OTHERWISE PROVIDED FOR; IRRADIATION DEVICES; GAMMA RAY OR X-RAY MICROSCOPES
- G21K2201/00—Arrangements for handling radiation or particles
- G21K2201/06—Arrangements for handling radiation or particles using diffractive, refractive or reflecting elements
- G21K2201/064—Arrangements for handling radiation or particles using diffractive, refractive or reflecting elements having a curved surface
-
- G—PHYSICS
- G21—NUCLEAR PHYSICS; NUCLEAR ENGINEERING
- G21K—TECHNIQUES FOR HANDLING PARTICLES OR IONISING RADIATION NOT OTHERWISE PROVIDED FOR; IRRADIATION DEVICES; GAMMA RAY OR X-RAY MICROSCOPES
- G21K2201/00—Arrangements for handling radiation or particles
- G21K2201/06—Arrangements for handling radiation or particles using diffractive, refractive or reflecting elements
- G21K2201/067—Construction details
Definitions
- the present invention relates to a double-curved X-ray condensing element, a double-curved X-ray spectroscopic element, an apparatus including the same, and a method for manufacturing the element.
- a curved X-ray spectroscopic element that condenses and / or separates X-rays and has a concave shape in one or two directions is known.
- the spectral multilayer film is generally formed on a substrate that has been machined into a predetermined double-curved shape in advance, but the surface roughness of the substrate is several squares (several nm ⁇ several nm ⁇ 10 ⁇ 1 ) is necessary, and polishing of such a double-curved shape requires a high technique and a great amount of labor, resulting in a very high cost and a limited use.
- an X-ray spectroscopic element Patent Documents 1 and 2 is known in which a silicon single crystal flat plate member is bonded to a predetermined curved substrate by anodic bonding. However, the flat plate member must be elastically deformed.
- Patent Document 3 a crystal lens manufactured by heating a crystal plate of Si, Ge or the like to a temperature close to its melting point, applying a load by a predetermined concave-convex mold, and performing thermoplastic deformation.
- the crystal lens manufacturing method described in Patent Document 3 requires special equipment for performing pressure deformation processing at high temperature, and further, in addition to the macro shape of the molding die, the X-ray reflection characteristics are also improved.
- the micro shape (the surface roughness of the mold) that has an influence is also transferred to the molded product, and the desired performance cannot be obtained even if an X-ray reflective film or an artificial cumulative film is formed thereon. there were.
- the present invention has been made in view of the above-described conventional problems, and even when heated and deformed by a forming jig, it is not affected by the surface roughness of the double-curved convex surface of the convex forming jig and before the heat deformation.
- the double-curved X-ray condensing element of the first configuration of the present invention includes a double-curved convex surface of a convex molding jig and a double-curved convex surface of a concave molding jig.
- a reflective film for reflecting X-rays is formed on the concave surface of the glass plate sandwiched between the matching double curved concave surfaces and heated to 400 ° C. to 600 ° C. and deformed into a shape having a double curved surface. .
- the glass plate is sandwiched between the double-curved convex surface and the double-curved concave surface that matches the double-curved convex surface and heated to 400 ° C. to 600 ° C.
- the glass plate has the same surface roughness as before the heat deformation without being affected by the surface roughness of the double curved convex surface of the convex molding jig, Since the reflecting film is formed on the concave surface of the glass plate, the light collecting performance is very good.
- the double curved X-ray condensing element structure of the second configuration of the present invention includes a double curved X-ray condensing element of the first configuration, a base to which the double curved X-ray condensing element is fixed, Have
- the double-curved X-ray condensing element of the first configuration has the same effect as the double-curved X-ray condensing element of the first configuration. Can be played.
- the double-curved X-ray spectroscopic element of the third configuration of the present invention is provided between a double-curved convex surface that a convex molding jig has and a double-curved concave surface that has a concave molding jig and that matches the double-curved convex surface.
- An artificial accumulation film that separates X-rays is formed on the concave surface of the glass plate that is sandwiched between and heated to 400 ° C. to 600 ° C. and deformed into a shape having a double curved surface.
- the glass plate is sandwiched between the double-curved convex surface and the double-curved concave surface that matches the double-curved convex surface and heated to 400 ° C. to 600 ° C.
- the glass plate has the same surface roughness as before the heat deformation without being affected by the surface roughness of the double curved convex surface of the convex forming jig, and the glass Since the artificial accumulation film is formed on the concave surface of the plate, the light collecting performance and spectral performance are extremely good.
- the fourth configuration of the double-curved X-ray spectroscopic element structure according to the present invention has a third configuration of the double-curved X-ray spectroscopic element and a base to which the double-curved X-ray spectroscopic element is fixed.
- the double-curved X-ray spectroscopic element of the third configuration has the same effects as the double-curved X-ray spectroscopic element of the third configuration. Can do.
- the X-ray analyzer of the fifth configuration of the present invention includes a double-curved X-ray condensing element of the first configuration, a double-curved X-ray condensing element assembly of the second configuration, and a double-curved X-ray of the third configuration. At least one of the spectroscopic element and the double-curved X-ray spectroscopic element structure of the fourth configuration is provided.
- the double-curved X-ray condensing element of the first configuration the double-curved X-ray condensing element assembly of the second configuration, and the double-curved of the third configuration of the present invention Since at least one of the X-ray spectroscopic element and the fourth configuration double-curved X-ray spectroscopic element structure is provided, the light collecting performance and / or the spectroscopic performance can be measured with good accuracy.
- the manufacturing method of the double-curved X-ray condensing element of the sixth configuration of the present invention includes a step of preparing a glass plate having a surface roughness of a mean square roughness of 0.5 nm or less, and a convex mold having a double-curved convex surface.
- a step of deforming the glass plate into a shape having a double curved surface by sandwiching the glass plate with a double curved concave surface and heating to 400 ° C. to 600 ° C., and X-rays on the concave surface of the deformed glass plate Forming a reflective film that reflects the light.
- the surface roughness is the same as that before the heat deformation without being affected by the surface roughness of the double curved convex surface of the convex forming jig. Since the reflective film is formed on the concave surface of the glass plate, a double-curved X-ray condensing element with extremely good condensing performance can be easily manufactured at low cost.
- the manufacturing method of the double curved X-ray condensing element structure of the 7th structure of this invention is the process of preparing the double curved X-ray condensing element manufactured by the manufacturing method of the 6th structure, Preparing a base for fixing the X-ray condensing element and fixing the double-curved X-ray condensing element to the base.
- the double-curved X-ray concentrating element manufactured by the manufacturing method of the sixth configuration is fixed to the base.
- the optical element structure can be manufactured inexpensively and easily.
- the manufacturing method of the double curved X-ray condensing element structure of the 8th structure of this invention has the process of preparing the glass plate whose surface roughness is 0.5 nm or less by a root mean square roughness, and a double curved convex surface
- a step of preparing a convex molding jig, a step of preparing a concave molding jig having a double curved concave surface aligned with the double curved convex surface, a double curved convex surface of the convex molding jig and the concave molding jig A step of deforming the glass plate into a shape having a double curved surface by sandwiching the glass plate with a double curved concave surface and heating to 400 ° C.
- the surface has the same surface roughness as before the heat deformation without being affected by the surface roughness of the double curved convex surface of the convex forming jig. Since the reflective film is formed on the concave surface of the glass plate, it is possible to easily and inexpensively manufacture a double-curved X-ray condensing element structure with extremely good light condensing performance.
- the method for producing a double-curved X-ray spectroscopic element of the ninth configuration of the present invention includes a step of preparing a glass plate having a surface roughness of a mean square roughness of 0.5 nm or less, and a convex molding having a double-curved convex surface.
- a step of deforming the glass plate into a shape having a double curved surface by sandwiching the glass plate with a curved concave surface and heating to 400 ° C. to 600 ° C., and X-rays on the concave surface of the deformed glass plate Forming an artificial cumulative film for spectroscopy.
- the surface has the same surface roughness as before the heat deformation without being affected by the surface roughness of the double curved convex surface of the convex forming jig. Since the artificial accumulation film is formed on the concave surface of the glass plate, a double-curved X-ray spectroscopic element with extremely good light collecting performance and spectral performance can be easily manufactured at low cost.
- the method for producing a double-curved X-ray spectroscopic component structure of the tenth configuration of the present invention includes a step of preparing a double-curved X-ray spectroscopic device manufactured by the manufacturing method of the ninth configuration; A step of preparing a base for fixing the spectroscopic element, and a step of fixing the double-curved X-ray spectroscopic element to the base.
- the double-curved X-ray spectroscopic element manufactured by the manufacturing method of the ninth configuration is fixed to the base, so that the double-curved X having extremely good light collecting performance and spectral performance
- the line spectroscopic element structure can be easily manufactured at low cost.
- the method for producing a double-curved X-ray spectroscopic element structure of the eleventh configuration of the present invention includes a step of preparing a glass plate having a surface roughness of 0.5 nm or less in terms of root mean square roughness, and a convex having a double-curved convex surface.
- a step of preparing a mold forming jig, a step of preparing a concave forming jig having a double curved concave surface aligned with the double curved convex surface, a double curved convex surface of the convex molding jig and the concave molding jig A step of deforming the glass plate into a shape having a double curved surface by sandwiching the glass plate with a double curved concave surface and heating to 400 ° C.
- the surface roughness is the same as that before the heat deformation without being affected by the surface roughness of the double curved convex surface of the convex forming jig. Since the artificial accumulation film is formed on the concave surface of the glass plate, a double-curved X-ray spectroscopic element structure having very good light collecting performance and spectral performance can be easily manufactured at low cost.
- FIG. 1 shows the process of the manufacturing method of the double curved X-ray condensing element of 6th Embodiment of this invention, or the manufacturing method of the double curved X-ray spectroscopic element of 9th Embodiment of this invention. is there.
- One process of the manufacturing method of the double curved X-ray condensing element of 6th Embodiment of this invention or 1 process of the manufacturing method of the double curved X-ray spectroscopic element of 9th Embodiment of this invention is shown.
- Another step of the method of manufacturing the double-curved X-ray condensing element of the sixth embodiment of the present invention, or another method of manufacturing the double-curved X-ray spectroscopic element of the ninth embodiment of the present invention It is a figure which shows one process. It is a figure which shows the process of the manufacturing method of the double curve X-ray condensing element structure of 7th Embodiment of this invention. The process of the manufacturing method of the double curved X-ray condensing element structure of 8th Embodiment of this invention or the process of the manufacturing method of the double curved X-ray spectroscopic element structure of 11th Embodiment of this invention FIG. It is a figure which shows the process of the manufacturing method of the double curve X-ray-spectral-element structure body of 10th Embodiment of this invention.
- a double-curved X-ray condensing element 1 which is 1st Embodiment of this invention is demonstrated.
- a double-curved X-ray condensing element 1 according to the first embodiment shown in FIG. 1 has a double-curved convex surface that a convex molding jig has and a double-curved surface that matches a double-curved convex surface that a concave molding jig has.
- the X-rays are reflected by, for example, vacuum deposition on the concave surface 3a of the glass plate 3 sandwiched between the concave surfaces and heated to 400 ° C. to 600 ° C., for example, 500 ° C. and deformed into a shape having a double curved surface.
- the double curved surface is a toroidal surface (annular side surface).
- the double curved surface is not limited to a toroidal surface, but a spheroidal surface, a rotational logarithmic spiral surface. It may be.
- the heating temperature for deforming the glass plate 3 is less than 400 ° C., the desired double curved surface may not be formed even if the time required for the heat deformation is increased.
- the heating temperature exceeds 600 ° C. the time required for the heat deformation is shortened, but the surface roughness of the convex surface of the convex molding jig may be transferred to the concave surface 3 a of the glass plate 3. Therefore, the heating temperature for deforming the glass plate 3 is preferably 400 ° C. to 600 ° C., more preferably 450 to 550 ° C.
- the glass plate 3 that is the raw material before being deformed has a surface roughness of 0.5 nm or less in terms of root mean square roughness.
- the material glass plate 3 is, for example, a cover glass for microscopic observation or a display of an electronic device, and is a rectangular plate made of borosilicate glass having a long side of 75 mm, a short side of 25 mm, and a thickness of 0.15 mm. The thickness is preferably 1 mm or less because the thinner the film, the faster the heat deformation and the easier it is to form.
- the material glass plate 3 may have other dimensions, shapes and materials as long as the surface roughness is 0.5 nm or less in terms of root mean square roughness.
- the glass plate 3 made of a material is sandwiched between a double-curved convex surface and a double-curved concave surface that matches the double-curved convex surface.
- the glass plate 3 is heated and deformed without being affected by the surface roughness of the double curved convex surface 21a (FIG. 7) of the convex molding jig 21. Since it has the same surface roughness as before and the reflective film 5 is formed on the concave surface 3a of the glass plate 3, the light condensing performance is very good.
- the deformed glass plate 3 is a self-supporting shape that can maintain its shape as it is, the double-curved X-ray condensing element 1 that can be handled as it is by simply forming the reflective film 5 on the concave surface 3a of the glass plate 3. Can be used as
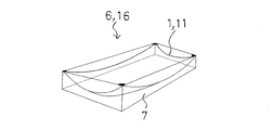
- the double-curved X-ray condensing element structure 6 of the second embodiment shown in FIG. 2 has the double-curved X-ray condensing element 1 of the first embodiment and the double-curved X-ray condensing element 1 fixed thereto.
- the base 7 is made of a concave stainless steel having the same double curved concave surface 7 a as the double curved concave surface of the concave molding jig, and the convex surface (convex surface of the glass plate 3) 9 of the double curved X-ray condensing element 1. Is fixed to the concave surface 7a of the base 7 with an adhesive.
- the base 7 may be a fixing material to which the double-curved X-ray condensing element 1 can be fixed, and the surface roughness of the concave surface 7a of the base 7 is The surface roughness of the glass plate 3 may be inferior.
- the base 7 may not be the concave base 7 as shown in FIG. 2, but may be a flat plate or box base 7 as shown in FIGS. That is, as in the modification shown in FIG. 3, the double-curved X-ray condensing element structure 6 has a center portion of the convex surface 9 of the double-curved X-ray condensing device 1 at the center portion of the flat base 7. It may be fixed with an elastic adhesive.
- the double-curved X-ray condensing element structure 6 has four corners of the convex surface 9 of the double-curved X-ray condensing element 1 at the four corners of the box-shaped base 7. It may be fixed with an elastic adhesive.
- the double-curved X-ray condensing element structure 6 is not limited to the base 7 having the shape shown in FIGS. 2 to 4, but is a peripheral fixing frame that fixes only the periphery of the double-curved X-ray condensing element 1. It may be fixed to a base 7 having a certain base 7, a square hole, a circular hole or the like.
- the shape of the base 7 can be easily processed, and even when there is a large temperature change, deformation due to the difference in thermal expansion coefficient between the base 7 and the glass plate 3 hardly occurs. There is an advantage that the degree of freedom is particularly high in the selection of the material of the base 7.
- the double-curved X-ray condensing element structure 6 of the second embodiment since it has the double-curved X-ray condensing element 1 of the first embodiment, the double-curved X-ray condensing element of the first embodiment. The same effect as the element 1 can be obtained.
- an artificial cumulative film 15 is formed instead of the reflective film 5 as compared with the double curved X-ray condensing element 1 of the first embodiment.
- the other configurations are the same. That is, an artificial cumulative film 15 that splits X-rays on the concave surface 3a of the glass plate 3 deformed into a shape having a double curved surface, for example, an artificial cumulative film for C-K ⁇ rays that efficiently splits C-K ⁇ rays. Is formed.
- the glass plate 3 is a double-curved X-ray condenser element 1 of the first embodiment. Since it has the same surface roughness as before the heat deformation without being affected by the surface roughness of the convex surface 21a (FIG. 7), and the artificial cumulative film 15 is formed on the concave surface 3a of the glass plate 3, the light is condensed.
- the performance and spectral performance are extremely good, and the deformed glass plate 3 is a self-supporting shape that can maintain its shape as it is, so that only the artificial accumulation film 15 is formed on the concave surface 3a (FIG. 1) of the glass plate 3.
- the double-curved X-ray spectroscopic element 11 can be used as it is.
- the double curved X-ray spectroscopic component 16 of the fourth embodiment shown in FIG. 2 includes the double curved X-ray spectroscopic element 11 of the third embodiment and a base on which the double curved X-ray spectroscopic element 11 is fixed. 7.
- the base 7 is the same as the base 7 of the double curved X-ray condensing element structure 6 of the second embodiment.
- the double curved X-ray spectroscopic element 11 of the third embodiment has the double curved X-ray spectroscopic element 11 of the third embodiment. Similar effects can be achieved.
- This X-ray analysis apparatus is a fluorescent X-ray analysis apparatus, and includes the double curved X-ray spectroscopic component assembly 16 of the fourth embodiment.
- the X-ray analyzer includes an X-ray source 51 that irradiates a sample 53 with primary X-rays 52, and a double-curved X-ray spectroscopic component that disperses fluorescent X-rays 54 generated from the sample 53.
- X-ray detector 57 that detects fluorescent X-rays 56 that are spectrally and condensed by the double-curved X-ray spectroscopic component assembly 16, and performs quantitative and / or qualitative analysis based on the detected X-ray intensity. It is an analysis device.
- the X-ray analyzer according to the fifth embodiment has been described as the fluorescent X-ray analyzer including the double-curved X-ray spectroscopic component assembly 16 according to the fourth embodiment, the double-curved X-ray collection according to the first embodiment.
- Optical element 1, double-curved X-ray condensing element structure 6 of the second embodiment, double-curved X-ray spectroscopic element 11 of the third embodiment, and double-curved X-ray spectroscopic element structure 16 of the fourth embodiment As long as at least one is provided, X-ray analyzers other than a fluorescent X-ray analyzer may be sufficient.
- the double-curved X-ray condensing element 1 of the first embodiment the double-curved X-ray condensing element structure 6 of the second embodiment, and the third embodiment. Since at least one of the double-curved X-ray spectroscopic element 11 and the double-curved X-ray spectroscopic element structure 16 of the fourth embodiment is provided, the light collecting performance and / or the spectral performance are good and the measurement is accurate. Can do.
- this manufacturing method includes a step S1 of preparing a glass plate 3 having a surface roughness of a mean square roughness of 0.5 nm or less, and a convex forming jig 21 having a double curved convex surface 21a.
- Step S5A for forming the reflective film 5 that reflects X-rays (the process on the left side of FIG. 6).
- this manufacturing method will be described in the order of steps.
- a glass plate 3 having a surface roughness with a root mean square roughness of 0.5 nm or less is prepared.
- the material glass plate 3 is, for example, a cover glass for microscopic observation or a display of an electronic device, and is a rectangular plate made of borosilicate glass having a long side of 75 mm, a short side of 25 mm, and a thickness of 0.15 mm. The thickness is preferably 1 mm or less because the thinner the film, the faster the heat deformation and the easier it is to form.
- the material glass plate 3 may have other dimensions, shapes and materials as long as the surface roughness is 0.5 nm or less in terms of root mean square roughness.
- a convex forming jig 21 having a desired double curved convex surface 21a is prepared.
- the double curved convex surface 21a of the convex molding jig 21 is a toroidal surface.
- the convex forming jig 21 is made of stainless steel, has a mass of 300 g, and the double curved convex surface 21a has a rectangular shape with a long side of 75 mm and a short side of 25 mm.
- a concave molding jig 22 having a double curved concave surface 22a aligned with the double curved convex surface 21a is prepared.
- the double curved concave surface 22a is a toroidal surface.
- the concave molding jig 22 is made of stainless steel, and the double curved concave surface 22a has a rectangular shape with a long side of 75 mm and a short side of 25 mm.
- the double curved concave surface 22a that matches the double curved convex surface 21a refers to a double curved concave surface 22a that is shifted from the double curved convex surface 21a by the thickness of the glass plate 3.
- the convex molding jig 21 and the concave molding jig 22 are machined jigs, and the double curved convex surface 21a and the double curved concave surface 22a are not subjected to special surface polishing and have a surface roughness. Is inferior to the glass plate 3 of the material.
- step S4 the glass plate 3 is sandwiched between the double curved convex surface 21a of the convex molding jig 21 and the double curved concave surface 22a of the concave molding jig 22, for example, at 90 ° C. at 90 ° C.
- the glass plate 3 is thermoplastically deformed into a shape having a double curved surface only by its own weight of the convex forming jig 21 (FIG. 8). If the deformation is insufficient with the weight of the convex forming jig 21 alone, a load may be applied from above the convex forming jig 21.
- the heating equipment does not require special equipment for performing pressure deformation treatment at a high temperature, and may be a simple and inexpensive electric furnace that can be heated to 400 ° C. to 600 ° C.
- step S5A of FIG. 6 after the deformed glass plate 3 is gradually cooled, an Au (gold) reflecting film 5 that reflects X-rays is formed on the concave surface 3a of the deformed glass plate 3 by, for example, vacuum deposition.
- the double curved X-ray condensing element 1 is manufactured by the above process. Since the deformed glass plate 3 is a self-supporting shape that can maintain its shape as it is, it is manufactured as a double-curved X-ray condensing element 1 that can be handled as it is by simply forming the reflective film 5 on the concave surface 3a of the glass plate 3. be able to.
- the double curved surface is a toroidal surface (annular side surface).
- the double curved surface is not limited to a toroidal surface, and may be a spheroidal surface, a rotational logarithmic spiral surface, or the like.
- the glass plate 3 is sandwiched between the double-curved convex surface 21a and the double-curved concave surface 22a aligned therewith and heated to 400 ° C. to 600 ° C. to double-curve.
- the surface roughness of the double curved convex surface 21 a of the convex molding jig 21 since the reflective film 5 is formed on the concave surface 3a of the glass plate 3 without being affected by the heat deformation, the double curved X-ray collection having extremely good light collecting performance
- the optical element 1 can be manufactured inexpensively and easily.
- the step S6A for preparing the double curved X-ray condensing element 1 manufactured by the manufacturing method of the sixth embodiment and the double curved X-ray condensing element 1 are fixed.
- Step S7A for preparing the base 7 to be performed, and Step S8A for fixing the double curved X-ray condensing element 1 to the base 7 are included.
- this manufacturing method will be described in the order of steps.
- step S6A the double curved X-ray condensing element 1 manufactured by the manufacturing method of the sixth embodiment is prepared.
- a base 7 for fixing the double curved X-ray condensing element 1 is prepared.
- the same base 7 as the double-curved X-ray condensing element structure 6 of the second embodiment, for example, a concave stainless steel having the same double-curved concave surface 7a as the double-curved concave surface 22a of the concave molding jig 22 A base 7 is prepared.
- step S8A first, an adhesive which is, for example, an epoxy resin is applied to the entire concave surface 7a of the base 7 (FIG. 2).
- an adhesive which is, for example, an epoxy resin is applied to the entire concave surface 7a of the base 7 (FIG. 2).
- the convex surface 9 (FIG. 2) of the double curved X-ray condensing element 1 is superimposed on the concave surface 7a of the base 7 to which the adhesive is applied.
- the convex surface 9 of the double curved X-ray condensing element 1 is adhered to the concave surface 7 a of the base 7 while lightly pressing the double curved X-ray condensing element 1 with the double curved convex surface 21 a of the convex molding jig 21. To do.
- the double-curved X-ray condensing element 1 Since the shape of the convex surface 9 of the self-standing double-curved X-ray condensing element 1 matches the shape of the concave surface 7a of the base 7, the double-curved X-ray condensing element 1 is fixed to the base 7 without deformation. Is done.
- the double-curved X-ray spectroscopic element structure 6 is manufactured through the above steps.
- the double-curved X-ray condensing element 1 manufactured by the manufacturing method of the sixth embodiment is fixed to the base 7, so that the dual light condensing performance is extremely good.
- the curved X-ray condensing element structure 6 can be manufactured inexpensively and easily.
- this manufacturing method includes a step S1 of preparing a glass plate 3 having a surface roughness of a mean square roughness of 0.5 nm or less, and a convex forming jig 21 having a double curved convex surface 21a.
- the glass plate 3 is sandwiched between the double curved concave surface 22a and heated to 400 ° C. to 600 ° C. to deform the glass plate 3 into a shape having a double curved surface, and the deformed glass plate 3 is fixed.
- Step S7C for forming step on the left side of FIG. 10) It has a.
- this manufacturing method will be described in the order of steps.
- Steps S1 to S4 of the manufacturing method of the eighth embodiment are the same as steps S1 to S4 of the manufacturing method of the sixth embodiment, and the glass plate 3 is heated and deformed in the same manner.
- a base 7 for fixing the deformed glass plate 3 is prepared.
- the same base 7 as the manufacturing method of the seventh embodiment for example, a concave stainless steel base 7 having the same double curved concave surface 7a as the double curved concave surface 22a of the concave molding jig 22 is prepared.
- step S6C first, the convex molding jig 21 and the deformed glass plate 3 are heated to the melting point of paraffin to be described later, and paraffin is applied to the convex surface 21a of the convex molding jig 21.
- the glass plate 3 is gradually cooled in a state where the concave surface 3a of the deformed glass plate 3 is overlapped, and the glass plate 3 is held on the convex surface 21a of the convex molding jig 21 by the adhesion force of paraffin.
- an adhesive for example, an epoxy resin is applied to the entire concave surface 7 a of the base 7, and the convex surface 9 of the glass plate 3 attached and held on the convex surface 21 a of the convex molding jig 21 is applied to the base 7.
- the concave surface 7a is superposed and bonded and fixed.
- the whole After fixing the deformed glass plate 3, the whole is heated to the melting point of paraffin while the convex molding jig 21, the glass plate 3 and the base 7 are overlapped, and the convex molding jig 21 is removed from the glass plate 3. Separation is performed, and paraffin remaining on the concave surface 3a of the glass plate 3 is removed.
- the paraffin used here preferably has a low temperature that does not cause deterioration of the adhesive, for example, a melting point of 50 to 60 ° C.
- step S7C an Au (gold) reflecting film 5 that reflects X-rays is formed on the concave surface 3a of the deformed glass plate 3 fixed to the base 7 by, for example, vacuum deposition.
- the double curved X-ray condensing element structure 6 is manufactured by the above process.
- the glass plate 3 is sandwiched between the double curved convex surface 21a and the double curved concave surface 22a aligned therewith, and 400 As a result of being heated to °C to 600 ° C. and deformed into a shape having a double curved surface, the glass plate 3 is heated and deformed without being affected by the surface roughness of the double curved convex surface 21a of the convex molding jig 21. Since the reflective film 5 is formed on the concave surface 3a of the glass plate 3 having the same surface roughness as before, the double-curved X-ray condensing element structure 6 having very good condensing performance is inexpensive. It can be manufactured easily.
- the manufacturing method is replaced with a step S ⁇ b> 5 ⁇ / b> A of forming the reflective film 5 that reflects X-rays on the concave surface 3 a of the deformed glass plate 3, as compared with the manufacturing method of the sixth embodiment.
- the only difference is that it has a step S5B (step on the right side of FIG. 6) for forming the artificial cumulative film 15 that splits X-rays on the concave surface 3a of the deformed glass plate 3, and the other steps are the same.
- an artificial cumulative film 15 that splits X-rays for example, an artificial cumulative film 15 for C—K ⁇ rays, is formed on the deformed concave surface 3 a of the glass plate 3 to manufacture the double curved X-ray spectroscopic element 11.
- the deformed glass plate 3 is a self-supporting shape that can maintain its shape as it is, it is manufactured as a double-curved X-ray spectroscopic element 11 that can be handled as it is by simply forming the artificial accumulation film 15 on the concave surface 3a of the glass plate 3. be able to.
- the double curved surface is a toroidal surface (annular side surface).
- the double curved surface is not limited to a toroidal surface, and may be a spheroidal surface, a rotational logarithmic spiral surface, or the like.
- the glass plate 3 is sandwiched between the double-curved convex surface 21 and the double-curved concave surface 22 aligned therewith and heated to 400 ° C. to 600 ° C. to double-curve.
- the glass plate 3 has the same surface roughness as before the heat deformation without being affected by the surface roughness of the double curved convex surface 21a of the convex molding jig 21, Since the artificial accumulation film 15 is formed on the concave surface 3a of the glass plate 3, the double-curved X-ray spectroscopic element 11 having extremely good light collecting performance and spectral performance can be easily manufactured at low cost.
- the manufacturing method includes a step S6B of preparing the double-curved X-ray spectroscopic element 11 manufactured by the manufacturing method (FIG. 6) of the ninth embodiment, and the double-curved X-ray spectroscopic element 11 Step S7B for preparing the base 7 for fixing the base plate 7 and Step S8B for fixing the double curved X-ray spectroscopic element 11 to the base base 7 are included.
- this manufacturing method will be described in the order of steps.
- step S6B the double curved X-ray spectroscopic element 11 manufactured by the manufacturing method of the ninth embodiment (FIG. 6) is prepared.
- a base 7 for fixing the double curved X-ray spectroscopic element 11 is prepared.
- step S8B first, an adhesive, for example, an epoxy resin is applied to the entire concave surface 7a (FIG. 2) of the base 7.
- an adhesive for example, an epoxy resin is applied to the entire concave surface 7a (FIG. 2) of the base 7.
- the convex surface 9 (FIG. 2) of the double curved X-ray spectroscopic element 11 is superimposed on the concave surface 7a of the base 7 to which the adhesive is applied.
- the convex surface 9 of the double curved X-ray spectroscopic element 11 is bonded to the concave surface 7 a of the base 7 while lightly pressing the double curved X-ray spectroscopic element 11 with the double curved convex surface 21 a of the convex molding jig 21.
- the double-curved X-ray spectroscopic element structure 16 is manufactured through the above steps.
- the double-curved X-ray spectroscopic element 11 manufactured by the manufacturing method of the ninth embodiment is fixed to the base 7, so that the light collecting performance and spectral performance are extremely good.
- the heavy curved X-ray spectroscopic element structure 16 can be easily manufactured at low cost.
- a method for manufacturing the double curved X-ray spectroscopic component assembly 16 according to the eleventh embodiment of the present invention will be described.
- this manufacturing method as shown in FIG. 10, as compared with the manufacturing method of the eighth embodiment, a step S ⁇ b> 7 ⁇ / b> C of forming a reflective film 5 that reflects X-rays on the concave surface 3 a of the glass plate 3 fixed to the base 7.
- the only difference is that it has a step S7D (step on the right side of FIG. 10) of forming an artificial cumulative film 15 that splits X-rays on the concave surface 3a of the glass plate fixed to the base 7.
- the process is the same as the manufacturing method of the eighth embodiment, and an artificial cumulative film 15 that separates X-rays, for example, an artificial cumulative film for C-K ⁇ rays, is formed on the concave surface 3a of the glass plate fixed to the base 7.
- an artificial cumulative film 15 that separates X-rays for example, an artificial cumulative film for C-K ⁇ rays
- the double curved X-ray spectroscopic element assembly 16 is manufactured.
- Steps S1 to S6C of the manufacturing method of the eleventh embodiment are the same as steps S1 to S6C of the manufacturing method of the eighth embodiment, and the glass plate 3 that has been heat-deformed is fixed to the base 7 in the same manner.
- step S7D an artificial cumulative film 15 that separates X-rays, for example, a C-K ⁇ ray artificial cumulative film 15 is formed on the concave surface 3a of the glass plate fixed to the base 7.
- the double-curved X-ray spectroscopic element structure 16 is manufactured through the above steps.
- the glass plate 3 is sandwiched between the double curved convex surface 21a and the double curved concave surface 22a aligned therewith, and 400 As a result of being heated to °C to 600 ° C. and deformed into a shape having a double curved surface, the glass plate 3 is heated and deformed without being affected by the surface roughness of the double curved convex surface 21a of the convex molding jig 21. Since the artificial accumulation film 15 is formed on the concave surface 3a of the glass plate 3 having the same surface roughness as before, the double-curved X-ray spectroscopic component 16 having extremely good light collecting performance and spectral performance. Can be manufactured inexpensively and easily.
- Double curved X-ray condensing element 3 Glass plate 3a Concave surface 5 of glass plate Reflective film 6 Double curved X-ray condensing element structure 7 Base 11 Double curved X-ray spectroscopic element 15 Artificial accumulation film 16 Double curved X-ray spectroscopic element component 21 Convex forming jig 21a Double curved convex surface 22 Concave molding jig 22a Double curved concave surface
Landscapes
- Physics & Mathematics (AREA)
- Chemical & Material Sciences (AREA)
- Spectroscopy & Molecular Physics (AREA)
- Engineering & Computer Science (AREA)
- General Engineering & Computer Science (AREA)
- High Energy & Nuclear Physics (AREA)
- Health & Medical Sciences (AREA)
- Life Sciences & Earth Sciences (AREA)
- Analytical Chemistry (AREA)
- Biochemistry (AREA)
- General Health & Medical Sciences (AREA)
- General Physics & Mathematics (AREA)
- Immunology (AREA)
- Pathology (AREA)
- Crystallography & Structural Chemistry (AREA)
- Dispersion Chemistry (AREA)
- Analysing Materials By The Use Of Radiation (AREA)
- Optical Elements Other Than Lenses (AREA)
Priority Applications (3)
| Application Number | Priority Date | Filing Date | Title |
|---|---|---|---|
| EP16768843.1A EP3276630B1 (en) | 2015-03-26 | 2016-03-23 | Method for manufacturing doubly bent x-ray focusing device or doubly bent x-ray spectroscopic device |
| CN201680018150.2A CN107408417B (zh) | 2015-03-26 | 2016-03-23 | 双重弯曲x射线聚光元件及其结构体、双重弯曲x射线分光元件及其结构体的制造方法 |
| US15/712,799 US10175185B2 (en) | 2015-03-26 | 2017-09-22 | Methods for manufacturing doubly bent X-ray focusing device, doubly bent X-ray focusing device assembly, doubly bent X-ray spectroscopic device and doubly bent X-ray spectroscopic device assembly |
Applications Claiming Priority (2)
| Application Number | Priority Date | Filing Date | Title |
|---|---|---|---|
| JP2015063764A JP6069609B2 (ja) | 2015-03-26 | 2015-03-26 | 二重湾曲x線集光素子およびその構成体、二重湾曲x線分光素子およびその構成体の製造方法 |
| JP2015-063764 | 2015-03-26 |
Related Child Applications (1)
| Application Number | Title | Priority Date | Filing Date |
|---|---|---|---|
| US15/712,799 Continuation US10175185B2 (en) | 2015-03-26 | 2017-09-22 | Methods for manufacturing doubly bent X-ray focusing device, doubly bent X-ray focusing device assembly, doubly bent X-ray spectroscopic device and doubly bent X-ray spectroscopic device assembly |
Publications (2)
| Publication Number | Publication Date |
|---|---|
| WO2016152940A1 true WO2016152940A1 (ja) | 2016-09-29 |
| WO2016152940A8 WO2016152940A8 (ja) | 2017-08-31 |
Family
ID=56977439
Family Applications (1)
| Application Number | Title | Priority Date | Filing Date |
|---|---|---|---|
| PCT/JP2016/059266 Ceased WO2016152940A1 (ja) | 2015-03-26 | 2016-03-23 | 二重湾曲x線集光素子、二重湾曲x線分光素子およびそれを備える装置ならびにその素子の製造方法 |
Country Status (5)
| Country | Link |
|---|---|
| US (1) | US10175185B2 (enExample) |
| EP (1) | EP3276630B1 (enExample) |
| JP (1) | JP6069609B2 (enExample) |
| CN (1) | CN107408417B (enExample) |
| WO (1) | WO2016152940A1 (enExample) |
Families Citing this family (5)
| Publication number | Priority date | Publication date | Assignee | Title |
|---|---|---|---|---|
| JP6069609B2 (ja) * | 2015-03-26 | 2017-02-01 | 株式会社リガク | 二重湾曲x線集光素子およびその構成体、二重湾曲x線分光素子およびその構成体の製造方法 |
| US10677744B1 (en) * | 2016-06-03 | 2020-06-09 | U.S. Department Of Energy | Multi-cone x-ray imaging Bragg crystal spectrometer |
| EP3603516A1 (de) * | 2018-08-02 | 2020-02-05 | Siemens Healthcare GmbH | Röntgenvorrichtung und verfahren zum betrieb der röntgenvorrichtung |
| US11605478B2 (en) * | 2019-11-22 | 2023-03-14 | Zygo Corporation | Method of reducing roughness and/or defects on an optical surface and mirror formed by same |
| US12062465B2 (en) * | 2022-08-19 | 2024-08-13 | Uchicago Argonne, Llc | System and method for bending crystal wafers for use in high resolution analyzers |
Citations (5)
| Publication number | Priority date | Publication date | Assignee | Title |
|---|---|---|---|---|
| JPS63236948A (ja) * | 1987-03-25 | 1988-10-03 | Shimadzu Corp | X線湾曲結晶 |
| JP2007285791A (ja) * | 2006-04-14 | 2007-11-01 | Rigaku Industrial Co | 湾曲x線分光素子の製造方法ならびその湾曲x線分光素子およびそれを用いるx線分析装置 |
| JP2008175755A (ja) * | 2007-01-22 | 2008-07-31 | Institute X-Ray Technologies Co Ltd | 分光結晶およびその製造方法 |
| WO2010008086A1 (ja) * | 2008-07-18 | 2010-01-21 | 独立行政法人宇宙航空研究開発機構 | X線反射鏡、それを用いたx線反射装置とx線反射体およびx線反射鏡作成方法 |
| JP2011117741A (ja) * | 2009-11-30 | 2011-06-16 | Canon Inc | X線モノクロメータ、その製造方法及びx線分光装置 |
Family Cites Families (84)
| Publication number | Priority date | Publication date | Assignee | Title |
|---|---|---|---|---|
| US4203034A (en) * | 1978-06-01 | 1980-05-13 | University Of Florida Board Of Regents | Diffraction camera for imaging penetrating radiation |
| US4807268A (en) * | 1983-11-04 | 1989-02-21 | University Of Southern California | Scanning monochrometer crystal and method of formation |
| US4599741A (en) * | 1983-11-04 | 1986-07-08 | USC--Dept. of Materials Science | System for local X-ray excitation by monochromatic X-rays |
| JPH0755841B2 (ja) * | 1987-02-03 | 1995-06-14 | 旭硝子株式会社 | 合せガラス用ガラス板の曲げ加工方法 |
| NL8801019A (nl) * | 1988-04-20 | 1989-11-16 | Philips Nv | Roentgen spectrometer met dubbel gebogen kristal. |
| JP2727745B2 (ja) * | 1989-08-24 | 1998-03-18 | 旭硝子株式会社 | 曲げ合せガラス及び合せガラス用素板ガラスの曲げ加工方法 |
| JPH03131539A (ja) * | 1989-10-17 | 1991-06-05 | Asahi Glass Co Ltd | 曲げ成型用プレス型とガラス板の曲げ成型方法及びその装置 |
| US5127028A (en) * | 1990-08-01 | 1992-06-30 | Wittry David B | Diffractord with doubly curved surface steps |
| US5164975A (en) * | 1991-06-13 | 1992-11-17 | The United States Of America As Represented By The United States Department Of Energy | Multiple wavelength X-ray monochromators |
| JPH08201593A (ja) | 1995-01-26 | 1996-08-09 | Nikon Corp | 非球面反射光学素子 |
| JPH08201589A (ja) | 1995-01-26 | 1996-08-09 | Nikon Corp | X線分光素子 |
| JPH10502741A (ja) * | 1995-04-26 | 1998-03-10 | フィリップス エレクトロニクス ネムローゼ フェンノートシャップ | X線分析装置用のx線光学素子の製造方法 |
| JP3705504B2 (ja) * | 1995-10-24 | 2005-10-12 | 株式会社アサヒオプティカル | 眼鏡用樹脂レンズの注型成形用モールド |
| DE69727370T2 (de) * | 1997-06-11 | 2004-12-09 | Istituto Nazionale Di Fisica Nucleare | Mehrstufiger Diffraktor hergestellt mit konstantem Stufenbreite Winkel (mehrstufiger Monochromator) |
| US5923720A (en) * | 1997-06-17 | 1999-07-13 | Molecular Metrology, Inc. | Angle dispersive x-ray spectrometer |
| US5892809A (en) * | 1997-09-10 | 1999-04-06 | Wittry; David B. | Simplified system for local excitation by monochromatic x-rays |
| DE19833524B4 (de) * | 1998-07-25 | 2004-09-23 | Bruker Axs Gmbh | Röntgen-Analysegerät mit Gradienten-Vielfachschicht-Spiegel |
| US6285506B1 (en) * | 1999-01-21 | 2001-09-04 | X-Ray Optical Systems, Inc. | Curved optical device and method of fabrication |
| US6498830B2 (en) * | 1999-02-12 | 2002-12-24 | David B. Wittry | Method and apparatus for fabricating curved crystal x-ray optics |
| US6236710B1 (en) * | 1999-02-12 | 2001-05-22 | David B. Wittry | Curved crystal x-ray optical device and method of fabrication |
| USRE41220E1 (en) * | 1999-07-22 | 2010-04-13 | Corning Incorporated | Extreme ultraviolet soft x-ray projection lithographic method system and lithographic elements |
| JP2001057328A (ja) * | 1999-08-18 | 2001-02-27 | Nikon Corp | 反射マスク、露光装置および集積回路の製造方法 |
| US6381303B1 (en) * | 1999-09-29 | 2002-04-30 | Jordan Valley Applied Radiation Ltd. | X-ray microanalyzer for thin films |
| US6317483B1 (en) * | 1999-11-29 | 2001-11-13 | X-Ray Optical Systems, Inc. | Doubly curved optical device with graded atomic planes |
| US6606371B2 (en) * | 1999-12-20 | 2003-08-12 | Agere Systems Inc. | X-ray system |
| US6697454B1 (en) * | 2000-06-29 | 2004-02-24 | X-Ray Optical Systems, Inc. | X-ray analytical techniques applied to combinatorial library screening |
| US6829327B1 (en) * | 2000-09-22 | 2004-12-07 | X-Ray Optical Systems, Inc. | Total-reflection x-ray fluorescence apparatus and method using a doubly-curved optic |
| ES2271277T3 (es) * | 2001-06-19 | 2007-04-16 | X-Ray Optical Systems, Inc. | Sistema xrf dispersivo de longitud de onda que usa optica de enfoque para la excitacion y un monocromador de enfoque para la recogida. |
| WO2003049510A2 (en) * | 2001-12-04 | 2003-06-12 | X-Ray Optical Systems, Inc. | X-ray source assembly having enhanced output stability, and fluid stream analysis applications thereof |
| US6680996B2 (en) * | 2002-02-19 | 2004-01-20 | Jordan Valley Applied Radiation Ltd. | Dual-wavelength X-ray reflectometry |
| US6816570B2 (en) * | 2002-03-07 | 2004-11-09 | Kla-Tencor Corporation | Multi-technique thin film analysis tool |
| JP2005530170A (ja) * | 2002-06-19 | 2005-10-06 | グズノク | 光学アセンブリ及びその製造方法 |
| US7104690B2 (en) * | 2002-07-26 | 2006-09-12 | X-Ray Optical Systems, Inc. | Diagnosing system for an x-ray source assembly |
| EP1527461B1 (en) * | 2002-08-02 | 2010-11-10 | X-Ray Optical Systems, Inc. | An optical device for focusing x-rays having a plurality of curved optical crystals |
| US7763820B1 (en) * | 2003-01-27 | 2010-07-27 | Spectramet, Llc | Sorting pieces of material based on photonic emissions resulting from multiple sources of stimuli |
| US20050011227A1 (en) * | 2003-03-26 | 2005-01-20 | Hoya Corporation | Method of preparation of lens |
| KR100556141B1 (ko) * | 2003-03-27 | 2006-03-03 | 호야 가부시키가이샤 | 마스크 블랭크용 유리 기판 제조 방법 및 마스크 블랭크제조 방법 |
| WO2004111624A2 (en) * | 2003-06-02 | 2004-12-23 | X-Ray Optical Systems, Inc. | Method and apparatus for implementing xanes analysis |
| WO2004113894A1 (en) * | 2003-06-17 | 2004-12-29 | X-Ray Optical Systems, Inc. | Moveable transparent barrier for x-ray analysis of a pressurized sample |
| JP2007501503A (ja) * | 2003-08-04 | 2007-01-25 | エックス−レイ オプティカル システムズ インコーポレーテッド | 管電力調節および遠隔較正を使用して出力安定性が向上したx線源アセンブリ |
| US7092843B2 (en) * | 2003-10-21 | 2006-08-15 | X-Ray Optical Systems, Inc. | Apparatus and method for suppressing insignificant variations in measured sample composition data, including data measured from dynamically changing samples using x-ray analysis techniques |
| US7298817B2 (en) * | 2003-12-01 | 2007-11-20 | X-Ray Optical Systems, Inc. | Portable and on-line arsenic analyzer for drinking water |
| WO2006022333A1 (ja) | 2004-08-27 | 2006-03-02 | Tohoku University | 曲率分布結晶レンズ、曲率分布結晶レンズを有するx線装置及び曲率分布結晶レンズの作製方法 |
| US7120228B2 (en) * | 2004-09-21 | 2006-10-10 | Jordan Valley Applied Radiation Ltd. | Combined X-ray reflectometer and diffractometer |
| US7076024B2 (en) * | 2004-12-01 | 2006-07-11 | Jordan Valley Applied Radiation, Ltd. | X-ray apparatus with dual monochromators |
| JP2006308487A (ja) * | 2005-04-28 | 2006-11-09 | Canon Inc | 多層膜反射鏡、該多層膜反射鏡の再利用方法、及びこれらの多層膜反射鏡による露光装置 |
| US7415096B2 (en) * | 2005-07-26 | 2008-08-19 | Jordan Valley Semiconductors Ltd. | Curved X-ray reflector |
| US7583789B1 (en) * | 2005-08-01 | 2009-09-01 | The Research Foundation Of State University Of New York | X-ray imaging systems employing point-focusing, curved monochromating optics |
| US7991116B2 (en) * | 2005-08-04 | 2011-08-02 | X-Ray Optical Systems, Inc. | Monochromatic x-ray micro beam for trace element mapping |
| US7317784B2 (en) * | 2006-01-19 | 2008-01-08 | Broker Axs, Inc. | Multiple wavelength X-ray source |
| JP4997815B2 (ja) * | 2006-04-12 | 2012-08-08 | 旭硝子株式会社 | 高平坦かつ高平滑なガラス基板の作製方法 |
| EP2097907B1 (en) * | 2006-11-16 | 2013-07-03 | X-ray Optical Systems, INC. | X-ray focusing optic having multiple layers with respective crystal orientations |
| US7440541B2 (en) * | 2006-12-27 | 2008-10-21 | Innov-X-Systems, Inc. | Dual source XRF system |
| EP2109134B1 (en) | 2007-01-25 | 2017-03-01 | Nikon Corporation | Optical element, exposure apparatus employing the optical element, and device manufacturing method |
| US7899154B2 (en) * | 2007-03-15 | 2011-03-01 | X-Ray Optical Systems, Inc. | Small spot and high energy resolution XRF system for valence state determination |
| ATE545858T1 (de) * | 2007-12-31 | 2012-03-15 | Xenocs S A | Röntgenstrahlvorrichtung |
| EP2260294A4 (en) * | 2008-02-25 | 2012-02-08 | X Ray Optical Sys Inc | SAMPLE MODULE WITH SAMPLE FLOWS WINDOW SPLIT, FOR X-RAY ANALYSIS SYSTEM |
| MX2010009713A (es) * | 2008-03-05 | 2011-03-29 | X Ray Optical Sys Inc | Sistema xrf teniendo bandas de energia de excitacion multiples en un paquete altamente alineado. |
| US7738630B2 (en) * | 2008-03-05 | 2010-06-15 | X-Ray Optical Systems, Inc. | Highly aligned x-ray optic and source assembly for precision x-ray analysis applications |
| US7590220B1 (en) * | 2008-03-10 | 2009-09-15 | General Electric Company | X-ray inspection and detection system and method |
| EP2263238B1 (en) * | 2008-04-11 | 2012-06-20 | Rigaku Innovative Technologies, Inc. | X-ray generator with polycapillary optic |
| US8058621B2 (en) * | 2009-10-26 | 2011-11-15 | General Electric Company | Elemental composition detection system and method |
| US9008271B2 (en) * | 2010-08-19 | 2015-04-14 | Convergent R.N.R. Ltd | System for X-ray irradiation of target volume |
| WO2012050620A1 (en) * | 2010-10-14 | 2012-04-19 | Caldera Pharmaceuticals, Inc. | Method for analysis using x-ray flourescence |
| BR112013024972A2 (pt) * | 2011-04-01 | 2017-03-21 | Asahi Glass Co Ltd | vidro laminado e seu processo de produção |
| US8557149B2 (en) * | 2011-04-08 | 2013-10-15 | Uchicago Argonne, Llc | System and method for implementing enhanced optics fabrication |
| WO2012177472A2 (en) * | 2011-06-20 | 2012-12-27 | X-Ray Optical Systems, Inc. | Online monitoring of contaminants in crude and heavy fuels, and refinery applications thereof |
| US8855809B2 (en) * | 2011-09-01 | 2014-10-07 | Spectramet, Llc | Material sorting technology |
| US9240254B2 (en) * | 2011-09-27 | 2016-01-19 | Revera, Incorporated | System and method for characterizing a film by X-ray photoelectron and low-energy X-ray fluorescence spectroscopy |
| US9335280B2 (en) * | 2011-10-06 | 2016-05-10 | X-Ray Optical Systems, Inc. | Mobile transport and shielding apparatus for removable x-ray analyzer |
| WO2013121418A1 (en) * | 2012-02-13 | 2013-08-22 | Convergent R.N.R Ltd | Imaging-guided delivery of x-ray radiation |
| CN107424889A (zh) * | 2012-02-28 | 2017-12-01 | X射线光学系统公司 | 具有使用多材料x射线管阳极和单色光学装置产生的多激励能带的x射线分析器 |
| KR101477469B1 (ko) * | 2012-03-30 | 2014-12-29 | 호야 가부시키가이샤 | 마스크 블랭크용 기판, 다층 반사막 부착 기판, 투과형 마스크 블랭크, 반사형 마스크 블랭크, 투과형 마스크, 반사형 마스크 및 반도체 장치의 제조 방법 |
| JP6206901B2 (ja) * | 2012-12-14 | 2017-10-04 | 大学共同利用機関法人 高エネルギー加速器研究機構 | 散乱強度分布の測定方法及び測定装置 |
| CN103057122A (zh) * | 2012-12-19 | 2013-04-24 | 青岛宙庆工业设计有限公司 | 一种制备双曲面亚克力玻璃的方法 |
| US9740091B2 (en) * | 2013-07-22 | 2017-08-22 | Hoya Corporation | Substrate with multilayer reflective film, reflective mask blank for EUV lithography, reflective mask for EUV lithography, and method of manufacturing the same, and method of manufacturing a semiconductor device |
| KR20170120212A (ko) * | 2013-09-18 | 2017-10-30 | 호야 가부시키가이샤 | 반사형 마스크 블랭크 및 그 제조방법, 반사형 마스크 그리고 반도체 장치의 제조방법 |
| SG10201805079YA (en) * | 2013-09-27 | 2018-07-30 | Hoya Corp | Conductive film coated substrate, multilayer reflectivefilm coated substrate, reflective mask blank, reflectivemask, and semiconductor device manufacturing method |
| US9551677B2 (en) * | 2014-01-21 | 2017-01-24 | Bruker Jv Israel Ltd. | Angle calibration for grazing-incidence X-ray fluorescence (GIXRF) |
| US9666322B2 (en) * | 2014-02-23 | 2017-05-30 | Bruker Jv Israel Ltd | X-ray source assembly |
| US9594036B2 (en) * | 2014-02-28 | 2017-03-14 | Sigray, Inc. | X-ray surface analysis and measurement apparatus |
| US9823203B2 (en) * | 2014-02-28 | 2017-11-21 | Sigray, Inc. | X-ray surface analysis and measurement apparatus |
| TWI650607B (zh) * | 2014-10-21 | 2019-02-11 | 日商Agc股份有限公司 | Euvl用附反射層之基板及其製造方法、以及euvl用反射型光罩基底及euvl用反射型光罩 |
| JP6069609B2 (ja) * | 2015-03-26 | 2017-02-01 | 株式会社リガク | 二重湾曲x線集光素子およびその構成体、二重湾曲x線分光素子およびその構成体の製造方法 |
-
2015
- 2015-03-26 JP JP2015063764A patent/JP6069609B2/ja active Active
-
2016
- 2016-03-23 WO PCT/JP2016/059266 patent/WO2016152940A1/ja not_active Ceased
- 2016-03-23 CN CN201680018150.2A patent/CN107408417B/zh active Active
- 2016-03-23 EP EP16768843.1A patent/EP3276630B1/en active Active
-
2017
- 2017-09-22 US US15/712,799 patent/US10175185B2/en active Active
Patent Citations (5)
| Publication number | Priority date | Publication date | Assignee | Title |
|---|---|---|---|---|
| JPS63236948A (ja) * | 1987-03-25 | 1988-10-03 | Shimadzu Corp | X線湾曲結晶 |
| JP2007285791A (ja) * | 2006-04-14 | 2007-11-01 | Rigaku Industrial Co | 湾曲x線分光素子の製造方法ならびその湾曲x線分光素子およびそれを用いるx線分析装置 |
| JP2008175755A (ja) * | 2007-01-22 | 2008-07-31 | Institute X-Ray Technologies Co Ltd | 分光結晶およびその製造方法 |
| WO2010008086A1 (ja) * | 2008-07-18 | 2010-01-21 | 独立行政法人宇宙航空研究開発機構 | X線反射鏡、それを用いたx線反射装置とx線反射体およびx線反射鏡作成方法 |
| JP2011117741A (ja) * | 2009-11-30 | 2011-06-16 | Canon Inc | X線モノクロメータ、その製造方法及びx線分光装置 |
Non-Patent Citations (1)
| Title |
|---|
| See also references of EP3276630A4 * |
Also Published As
| Publication number | Publication date |
|---|---|
| JP2016183888A (ja) | 2016-10-20 |
| EP3276630A1 (en) | 2018-01-31 |
| EP3276630A4 (en) | 2018-08-01 |
| CN107408417A (zh) | 2017-11-28 |
| EP3276630B1 (en) | 2019-06-26 |
| US20180011035A1 (en) | 2018-01-11 |
| JP6069609B2 (ja) | 2017-02-01 |
| CN107408417B (zh) | 2019-06-21 |
| US10175185B2 (en) | 2019-01-08 |
| WO2016152940A8 (ja) | 2017-08-31 |
Similar Documents
| Publication | Publication Date | Title |
|---|---|---|
| JP6069609B2 (ja) | 二重湾曲x線集光素子およびその構成体、二重湾曲x線分光素子およびその構成体の製造方法 | |
| EP2977795B1 (en) | Production method for manufacturing a curved grating | |
| CN106716639B (zh) | 使用张力的图像传感器弯曲 | |
| EP2860557B1 (en) | Curved face diffraction grating fabrication method, curved face diffraction grating cast, and curved face diffraction grating employing same | |
| JP3955438B2 (ja) | 湾曲した光学装置及びその作製方法 | |
| EP3615318B1 (en) | Method for manufacturing an optical article | |
| WO2016059928A1 (ja) | 曲面回折格子の型の製造方法、曲面回折格子の製造方法、曲面回折格子、および光学装置 | |
| KR20230028212A (ko) | 성형 공정에서의 편광 라미네이트들의 면내 기능 보존 | |
| Bavdaz et al. | The ATHENA optics development | |
| JP2013503324A (ja) | 積層鏡面プレートの組み立て方法 | |
| JP7301201B2 (ja) | 凹面回折格子の製造方法 | |
| JP2010085304A (ja) | X線反射装置及びその製造方法 | |
| JP2013524301A (ja) | スタック型ウエハアセンブリのための精密スペーシング | |
| JP5728139B2 (ja) | 多層構造体を基板に製造する方法 | |
| JP7096738B2 (ja) | 凹面回折格子及びその製造方法 | |
| CN115004065B (zh) | 凹面衍射光栅以及光学装置 | |
| Kalkowski et al. | Low temperature GRISM direct bonding | |
| CN112259262A (zh) | 一种x射线衍射成像双晶体谱仪 | |
| Kalkowski et al. | Grism manufacturing by low temperature mineral bonding | |
| US20230236345A1 (en) | Method for Manufacturing Concave Diffraction Grating, and Optical Device |
Legal Events
| Date | Code | Title | Description |
|---|---|---|---|
| 121 | Ep: the epo has been informed by wipo that ep was designated in this application |
Ref document number: 16768843 Country of ref document: EP Kind code of ref document: A1 |
|
| REEP | Request for entry into the european phase |
Ref document number: 2016768843 Country of ref document: EP |
|
| NENP | Non-entry into the national phase |
Ref country code: DE |