WO2016147685A1 - 水陸両用車 - Google Patents

水陸両用車 Download PDF

Info

Publication number
WO2016147685A1
WO2016147685A1 PCT/JP2016/050646 JP2016050646W WO2016147685A1 WO 2016147685 A1 WO2016147685 A1 WO 2016147685A1 JP 2016050646 W JP2016050646 W JP 2016050646W WO 2016147685 A1 WO2016147685 A1 WO 2016147685A1
Authority
WO
WIPO (PCT)
Prior art keywords
water
unit
cooling source
amphibious vehicle
opening
Prior art date
Legal status (The legal status is an assumption and is not a legal conclusion. Google has not performed a legal analysis and makes no representation as to the accuracy of the status listed.)
Ceased
Application number
PCT/JP2016/050646
Other languages
English (en)
French (fr)
Japanese (ja)
Inventor
進一 佐藤
光夫 尾上
高志 松永
Current Assignee (The listed assignees may be inaccurate. Google has not performed a legal analysis and makes no representation or warranty as to the accuracy of the list.)
Mitsubishi Heavy Industries Ltd
Original Assignee
Mitsubishi Heavy Industries Ltd
Priority date (The priority date is an assumption and is not a legal conclusion. Google has not performed a legal analysis and makes no representation as to the accuracy of the date listed.)
Filing date
Publication date
Application filed by Mitsubishi Heavy Industries Ltd filed Critical Mitsubishi Heavy Industries Ltd
Priority to US15/557,984 priority Critical patent/US10279639B2/en
Publication of WO2016147685A1 publication Critical patent/WO2016147685A1/ja
Anticipated expiration legal-status Critical
Ceased legal-status Critical Current

Links

Images

Classifications

    • BPERFORMING OPERATIONS; TRANSPORTING
    • B60VEHICLES IN GENERAL
    • B60FVEHICLES FOR USE BOTH ON RAIL AND ON ROAD; AMPHIBIOUS OR LIKE VEHICLES; CONVERTIBLE VEHICLES
    • B60F3/00Amphibious vehicles, i.e. vehicles capable of travelling both on land and on water; Land vehicles capable of travelling under water
    • BPERFORMING OPERATIONS; TRANSPORTING
    • B60VEHICLES IN GENERAL
    • B60FVEHICLES FOR USE BOTH ON RAIL AND ON ROAD; AMPHIBIOUS OR LIKE VEHICLES; CONVERTIBLE VEHICLES
    • B60F3/00Amphibious vehicles, i.e. vehicles capable of travelling both on land and on water; Land vehicles capable of travelling under water
    • B60F3/003Parts or details of the vehicle structure; vehicle arrangements not otherwise provided for
    • B60F3/0053Particular devices for gas circulation, e.g. air admission, cooling, water tightners
    • BPERFORMING OPERATIONS; TRANSPORTING
    • B63SHIPS OR OTHER WATERBORNE VESSELS; RELATED EQUIPMENT
    • B63HMARINE PROPULSION OR STEERING
    • B63H11/00Marine propulsion by water jets
    • B63H11/02Marine propulsion by water jets the propulsive medium being ambient water
    • B63H11/04Marine propulsion by water jets the propulsive medium being ambient water by means of pumps
    • B63H11/08Marine propulsion by water jets the propulsive medium being ambient water by means of pumps of rotary type
    • BPERFORMING OPERATIONS; TRANSPORTING
    • B60VEHICLES IN GENERAL
    • B60FVEHICLES FOR USE BOTH ON RAIL AND ON ROAD; AMPHIBIOUS OR LIKE VEHICLES; CONVERTIBLE VEHICLES
    • B60F3/00Amphibious vehicles, i.e. vehicles capable of travelling both on land and on water; Land vehicles capable of travelling under water
    • B60F3/0007Arrangement of propulsion or steering means on amphibious vehicles
    • B60F3/0015Arrangement of propulsion or steering means on amphibious vehicles comprising tracks specially adapted therefor
    • BPERFORMING OPERATIONS; TRANSPORTING
    • B63SHIPS OR OTHER WATERBORNE VESSELS; RELATED EQUIPMENT
    • B63HMARINE PROPULSION OR STEERING
    • B63H11/00Marine propulsion by water jets
    • B63H11/02Marine propulsion by water jets the propulsive medium being ambient water
    • B63H11/04Marine propulsion by water jets the propulsive medium being ambient water by means of pumps
    • B63H11/08Marine propulsion by water jets the propulsive medium being ambient water by means of pumps of rotary type
    • B63H2011/081Marine propulsion by water jets the propulsive medium being ambient water by means of pumps of rotary type with axial flow, i.e. the axis of rotation being parallel to the flow direction

Definitions

  • the present invention relates to an amphibious vehicle.
  • This application claims priority based on Japanese Patent Application No. 2015-056031 filed in Japan on March 19, 2015, the contents of which are incorporated herein by reference.
  • An amphibious vehicle includes, for example, a power source engine, power transmission means for transmitting driving force from the engine, land traveling means, and surface navigation means.
  • the power transmission means is a propeller shaft that transmits driving force from the engine.
  • the land traveling means is a wheel or a crawler track that is driven by a driving force transmitted from the engine via the power transmission means.
  • the water navigation means is a water jet mechanism or a screw that is switched from the land traveling means and is driven by the driving force from the engine.
  • An amphibious vehicle hull (vehicle main body) disclosed in Patent Document 1 has a double bottom structure including a first ship bottom and a second ship bottom.
  • a gear box such as a propeller shaft and a differential gear is installed in a space between the first ship bottom and the second ship bottom. The space is open at the front and rear of the hull.
  • the amphibious vehicle disclosed in Patent Document 2 includes a vehicle body, a water jet mechanism, and a water-cooled heat exchanger.
  • the water jet mechanism includes a water jet water passage and a propulsion device including an impeller and a shaft.
  • the water jet passage has an intake port formed on the bottom surface of the vehicle body and a discharge port formed on the rear surface of the vehicle body.
  • the impeller of the propulsion device is provided in the water jet water passage.
  • the shaft of the propeller transmits the driving force of the engine to the impeller.
  • the feather bear is driven by the power of the engine, takes in water from the intake during water navigation, and discharges water as a water jet from the outlet.
  • the amphibious vehicle of Patent Document 2 has a cooling water passage for sending water to a water-cooled heat exchanger.
  • the cooling water passage has a cooling intake opening that opens in the water jet water passage and on the outlet side of the impeller.
  • water from the cooling water passage, engine cooling water, hydraulic oil, and the like are cooled by a water-cooled heat exchanger.
  • Amphibious vehicles travel on land as well as sail on the water. Furthermore, amphibious vehicles may land on land from water. Thus, amphibious vehicles have various forms as movement forms. For this reason, it is desirable for amphibious vehicles to stably cool the power section in each movement mode.
  • an object of the present invention is to provide an amphibious vehicle in which the power section is stably cooled.
  • An amphibious vehicle as a first embodiment according to the invention for achieving the above object is A vehicle main body, a traveling unit for causing the vehicle main body to travel on land, a propulsion unit for generating a propulsive force in water and navigating the vehicle main body on water, and power for the traveling unit and the propulsion unit A power unit to be applied, and a cooling unit to cool at least the power unit, wherein the cooling unit takes in air as a cooling source from the outside, and takes in water as a cooling source from the outside.
  • a second cooling source introduction part, the second cooling source introduction part has an opening for taking in water, and the opening is on the rear side of the center of gravity of the entire vehicle body and the outer surface of the vehicle body Open in the flooded area.
  • the amphibious vehicle can take in water from the second cooling source introduction section of the cooling section during water navigation that requires high output, and can cool the power section and the like using this water as a cooling source.
  • the opening for taking in water from the second cooling source introduction portion is provided behind the center of gravity of the entire vehicle body and in the flooded portion of the outer surface of the vehicle body. For this reason, in the amphibious vehicle, when landing, even when the vehicle body is in an inclined posture in which the front portion of the vehicle body is arranged upward and the rear portion is arranged downward, the opening can be positioned in water, that is, long During (for example, until the end), the opening can be positioned in the water and water can be continuously taken in. Therefore, in the amphibious vehicle, even when the vehicle body is in an inclined posture as described above at the time of landing, the power unit and the like can be effectively cooled using the water taken from the second cooling source introduction unit as a cooling source. Can do.
  • the propulsion unit is a water jet mechanism that generates a water jet as a propulsive force
  • the water jet mechanism includes a water jet water channel through which water flows and the water jet water channel.
  • An impeller disposed inside and rotating with power from the power unit, and the water jet water passage has an introduction port for taking water from outside, and the introduction port of the water jet water passage and the The opening of the second cooling source introduction part is disposed at a different position on the outer surface of the vehicle body, and the second cooling source introduction part is a passage independent of the water jet water passage.
  • the second cooling source introduction part is an independent passage with respect to the water jet passage, the cleaning liquid is introduced into the second cooling source introduction part without being disturbed by the impeller in the water jet passage. Can be easily supplied. For example, a jet of cleaning liquid can be sent to the back of the second cooling source introduction part. Therefore, in the amphibious vehicle, the inside of the second cooling source introduction part can be easily cleaned with the cleaning liquid.
  • an amphibious vehicle as a third embodiment according to the invention for achieving the above object is
  • the opening of the second cooling source introduction part may be disposed so as to be exposed in a side view or a rear view of the vehicle body.
  • the cleaning liquid can be supplied more easily into the second cooling source introduction portion than when the opening of the second cooling source introduction portion is disposed on the bottom surface of the vehicle body.
  • An amphibious vehicle as a fourth embodiment according to the invention for achieving the above-mentioned object is In the amphibious vehicle according to any one of the first to third aspects, the opening of the second cooling source introduction part is provided in a range of a rear quarter of the full length direction of the vehicle body. Also good.
  • An amphibious vehicle as a fifth embodiment according to the invention for achieving the above object is In the amphibious vehicle according to any one of the first to fourth aspects, the traveling part has a plurality of wheels, and the opening of the second cooling source introduction part is behind the rearmost wheel. May be arranged.
  • An amphibious vehicle as a sixth embodiment according to the invention for achieving the above object is
  • the traveling unit supports a plurality of wheels including drive wheels and driven wheels, a crawler belt wound around the plurality of wheels, and at least some of the plurality of wheels so as to be movable in the vertical direction.
  • a movable support arm wherein the movable support arm has a first state in which the at least some wheels are supported at a first position in a vertical direction, and the at least some wheels are mounted on the vehicle body.
  • To the second state of supporting the second position above the first position relative to the first position, and the opening of the second cooling source introduction part is configured so that the movable support arm is the first state.
  • the movable support arm may be disposed at a position that is blocked by the movable support arm when in one state, and is not blocked by the movable support arm when the movable support arm is in the second state.
  • the opening and closing of the opening of the second cooling source introduction part by the movable support arm may not strictly close the opening of the movable support arm. That is, when the opening of the second cooling source introduction part is closed by the movable support arm in the amphibious vehicle as the sixth form, the movable support arm becomes an obstacle and foreign matter such as earth and sand does not enter the opening. This includes not only the state but also the state that is difficult to enter. For this reason, there may be a gap between the movable support arm and the opening.
  • the power section can be cooled stably.
  • FIG. 6 is a side view of the amphibious vehicle shown in FIG. It is explanatory drawing which shows the change of the engine torque at the time of the water navigation of the amphibious vehicle, the time of landing, and the time of land driving
  • the amphibious vehicle of the present embodiment can travel on the water by driving a propeller by an engine, and can travel on land by rotating drive wheels by the engine.
  • the amphibious vehicle A of the present embodiment includes a vehicle main body 7 and a power transmission drive system mounted on the vehicle main body 7 as shown in FIGS. 1 and 2.
  • the power transmission drive system includes, for example, an engine 1 such as a diesel engine that is a power unit, a transmission 2, a power distribution mechanism 3, a differential device 4, a traveling unit 5 for traveling on land, and underwater. And a propulsion unit 6 for generating a propulsive force and navigating on the water.
  • the vehicle body 7 is configured with a desired watertight performance so as not to be submerged during water navigation.
  • the transmission 2 is a manual transmission or an automatic transmission.
  • the transmission 2 has an input shaft connected to the output shaft of the engine 1 so as to be integrally rotatable, and an output shaft that transmits power to the power distribution mechanism 3.
  • the transmission 2 shifts the power input to the input shaft at a desired gear ratio and transmits it to the output shaft.
  • the power distribution mechanism 3 is composed of, for example, a planetary gear mechanism, and distributes the input rotational power to the differential device 4 and / or the propulsion unit 6.
  • the differential device 4 is connected to the power distribution mechanism 3 and transmits the power transmitted from the power distribution mechanism 3 to the drive wheels 8 of the traveling unit 5 via the axle.
  • the differential device 4 causes a difference in rotation between the driving wheel 8 on the inner side of the turning and the driving wheel 8 on the outer side of the turning when the amphibious vehicle A that runs on land is turned, thereby enabling smooth turning.
  • the traveling unit 5 of the present embodiment includes an axle to which power is transmitted from the power distribution mechanism 3 and drive wheels (tires) 8 connected to the axle.
  • the amphibious vehicle A of the present embodiment can be self-propelled when the driving wheels 8 are in contact with the ground when traveling on land.
  • the traveling unit 5 is a wheel type provided with tires for driving wheels, but may be a crawler type (tracking type).
  • crawler type traveling unit 5 is applied in this way, the differential device 4 is not necessary.
  • the propulsion unit 6 is provided on the rear side of the vehicle body 7 (the portion on the rear side in the full length direction (length direction) from the center of gravity of the amphibious vehicle A, the stern).
  • the propulsion unit 6 of this embodiment is a water jet mechanism, and includes a water jet water passage 6a, an impeller 6b provided in the water jet water passage 6a, and a propulsion shaft 6c connected to the impeller 6b. ing.
  • the propulsion shaft 6 c is connected to the power distribution mechanism 3.
  • the impeller 6b is rotated by the power transmitted from the power distribution mechanism 3 via the propulsion shaft.
  • the water jet water passage 6a has an inlet 6d for taking in water and an outlet 6e for ejecting the taken-in water.
  • the introduction port 6d is formed in a flooded portion that is submerged in the vehicle main body 7 during water navigation.
  • the jet outlet 6 e is formed on the lower side of the rear surface of the vehicle body 7.
  • the impeller 6b turns.
  • water is taken into the water jet water passage 6a from the introduction port 6d, and this water is pressurized by the impeller 6b and circulates in the water jet water passage 6a. It is jetted as a water jet toward the back of the.
  • the amphibious vehicle A can travel on the water using the water jet generated in this way as a driving force.
  • the amphibious vehicle A can also travel at high speed by using a water jet as a driving force.
  • a water jet mechanism is used as the propulsion unit 6 for water navigation.
  • a screw propeller may be used as the propulsion unit, and the water flow generated by the rotation of the screw propeller may be used as the propulsion force.
  • the propulsion unit may be anything as long as it generates hydraulic power for water navigation.
  • the amphibious vehicle A of the present embodiment further includes a cooling unit 10 for cooling the engine 1 at least.
  • the cooling unit 10 of the present embodiment includes an air-cooled cooler 11, a water-cooled cooler 12, a first cooling source introduction unit 13 that takes in air from the outside and supplies the air to the air-cooled cooler 11, and water from the outside. And a second cooling source introduction unit 14 that takes in and supplies the cooling unit 12 with the water cooling type cooler 12.
  • the air-cooled cooler 11 cools objects to be cooled such as engine coolant, engine intake air, and hydraulic oil using air as a refrigerant.
  • the water-cooled cooler 12 cools the aforementioned cooling object using water (cooling water) as a refrigerant.
  • the air-cooled cooler 11 cools the cooling target including the engine 1 by using this air as a refrigerant.
  • the engine torque when navigating at high speed on the water is larger than the engine torque when traveling on land. Further, when landing from the surface to the land, the position of the center of gravity of the amphibious vehicle A gradually increases. Moreover, it is necessary to drive the propulsion unit 6 together with the traveling unit 5 when landing. For this reason, even if the amphibious vehicle A does not move at high speed in the horizontal direction, the engine torque at the time of landing is larger than the engine torque at the time of land travel.
  • the amphibious vehicle A of the present embodiment it is necessary to increase the output of the engine 1 when navigating at high speed or landing.
  • water is introduced into the interior from the second cooling source introduction unit 14 at the time of landing as well as during water navigation, and this water is sent to the water-cooled cooler 12.
  • the water-cooled cooler 12 cools a cooling target including the engine 1 by using water having a large specific heat as a refrigerant.
  • the output of the engine 1 can be lower than when traveling on the water or landing, so that the object to be cooled can be sufficiently cooled only by the air-cooled heat exchanger that uses air as a refrigerant.
  • the opening (take-in port) 15 for taking in water of the second cooling source introduction portion 14 is the entire vehicle body 7 (the entire amphibious vehicle A). ) At the rear side of the center of gravity G, and at the flooded portion of the outer surface of the vehicle body 7.
  • the inundation section here means that the amphibious vehicle A is lightest, that is, submerged in the vehicle body 7 when sailing on the water in a state where there is no object mounted on the amphibious vehicle A. It is a part to do.
  • the opening 15 of the second cooling source introduction portion 14 is disposed in the water for a long time. .
  • the engine 1 and the like can be continuously cooled with water having a large specific heat by taking water from the opening 15 and continuously feeding the water to the water-cooled cooler 12. .
  • the opening 15 of the second cooling source introduction portion 14 is disposed in the rear quarter of the vehicle body 7 in the full length L direction.
  • the rear quarter range in the total length L direction is a range from the rear end of the vehicle main body to the front side to a position at a distance of 1/4 of the total length L of the vehicle main body.
  • the opening 15 of the second cooling source introduction part 14 is disposed behind the rearmost wheel 8.
  • the opening 15 of the second cooling source introduction portion 14 is more reliably placed underwater for a long time. Can continue to take up water. Thereby, it becomes possible to continue cooling the engine 1 and the like with the water-cooled cooler 12 until the amphibious vehicle A is fully landed.
  • the opening 15 for taking in water of the second cooling source introduction portion 14 is separated from the introduction port 6d for taking in water for water jet so that each can take in water from the water. Has been placed. That is, the inlet 6d of the water jet water passage 6a and the opening 15 of the second cooling source introduction part 14 are arranged at different positions on the outer surface of the vehicle body 7, and the second cooling source introduction part 14 is This is an independent passage for the water jet water passage 6a.
  • the second cooling source introduction portion 14 is an independent passage with respect to the water jet water passage 6a, the impeller 6b in the water jet water passage 6a is not disturbed by the first
  • the cleaning liquid can be easily supplied into the second cooling source introduction unit 14.
  • a jet of cleaning liquid can be sent to the back of the second cooling source introduction unit 14. Therefore, in the amphibious vehicle A of the present embodiment, the inside of the second cooling source introduction part can be easily cleaned with the cleaning liquid.
  • the opening 15 of the second cooling source introduction portion 14 is disposed so as to be exposed in a side view or a rear view of the vehicle body 7.
  • the opening 15 of the second cooling source introduction part 14 is formed in the side surface or the rear surface of the flooded part of the vehicle body 7.
  • the opening 15 of the second cooling source introduction part 14 can be suitably provided on the rear surface of the vehicle body 7.
  • the opening 15 of the second cooling source introduction portion 14 is formed on the side surface or the rear surface of the flooded portion of the vehicle body 7, thereby opening the It becomes easy to add cleaning water from the part 15, and the flow path of the second cooling source introduction part 14 can be easily cleaned.
  • the opening 15 of the second cooling source introduction part 14 is formed at the bottom of the vehicle body 7, it becomes difficult to supply the cleaning water to the flow path, and a great amount of labor is required for the cleaning operation.
  • the cleaning operation can be facilitated by forming the opening portion 15 of the second cooling source introduction portion 14 in the side surface or the rear surface of the flooded portion of the vehicle body 7.
  • the present invention is not limited to the above embodiment, and can be appropriately changed without departing from the spirit of the present invention.
  • the traveling unit 5 of the amphibious vehicle A has been described as a wheel type equipped with tires of the drive wheels 8, but as described above, the traveling unit of the amphibious vehicle A according to the present invention.
  • 5 may be a crawler type (tracking type).
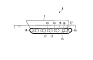
  • the traveling unit 5 includes an idler pulley (drive wheel) 16 (or sprocket), a lower roller (driven wheel) 17 (or an upper wheel), and an idler pulley. 16 and an endless crawler belt 18 wound around the lower roller 17 may be provided.
  • a plurality of lower rolling wheels 17 are respectively provided on movable support arms 19 that can rotate and / or extend and contract. It may be supported.
  • the position (shape) of the crawler belt suitable for water navigation, land travel, and landing can be changed by rotating and / or expanding and contracting these movable support arms 19.
  • the amphibious vehicle A can be tilted by selectively rotating and / or expanding and contracting the plurality of movable support arms 19, and the attitude of the amphibious vehicle A can be freely operated.
  • the opening 15 of the second cooling source introduction unit 14 is opened and closed by the movable support arm 19 whose position changes during water navigation, landing, and land traveling. It may be configured.
  • the movable support arm 19 is movable, so that the opening 15 of the second cooling source introduction unit 14 is fully opened at the time of water navigation, while the second cooling source introduction unit 14 is at the time of landing.
  • You may comprise so that the opening part 15 of the 2nd cooling source introduction part 14 may close at the time of land driving
  • the movable support arm 19 supports the lower wheel 17 of the plurality of wheels at the first position in the vertical direction and supports the lower wheel 17 at the second position in the vertical direction.
  • the second state is displaceable.
  • the lower wheel 17 at the second position is above the lower wheel 17 at the first position relative to the vehicle body 7.
  • the first state in which the movable support arm 19 supports the lower wheel 17 at the first position is executed, for example, during land travel shown in FIG.
  • the second state in which the movable support arm supports the lower wheel 17 at the second position is executed, for example, at the time of water navigation shown in FIG. As shown in FIG.
  • the opening 15 of the second cooling source introduction unit 14 is a position that is blocked by the movable support arm 19 when the movable support arm 19 is in the first state, as shown in FIG.
  • the movable support arm 19 is disposed at a position not blocked by the movable support arm 19 when the movable support arm 19 is in the second state.
  • the movable support arm 19 closes the opening 15 of the second cooling source introduction portion 14, so that the opening 15 of the second cooling source introduction portion 14 can be connected to the side surface or the rear surface of the vehicle body 7. Even when the opening is formed in the opening, it is possible to prevent foreign matters such as earth and sand from entering the inside through the opening 15. Further, since the movable support arm 19 opens the opening 15 of the second cooling source introduction part 14 at the time of water navigation and landing, it is preferable to take in water from the opening 15 of the second cooling source introduction part 14. The engine 1 and the like can be cooled.
  • the state in which the opening 15 of the second cooling source introduction unit 14 is closed by the movable support arm 19 in the present embodiment is not only the state in which foreign matter such as earth and sand does not enter the opening 15 by the movable support arm 19.
  • the state where it is difficult to enter is also included, and for example, there may be a gap between the movable support arm 19 and the opening 15.
  • the power section can be cooled stably.
  • Cooling unit 11 Air-cooled cooler 12 Water-cooled cooler 13 First cooling source introduction unit 14 Second cooling source introduction unit 15 Opening (take-in port) of second cooling source introduction unit 16 idler pulley (drive wheel) 17 Downwheel (driven wheel) 18 Track 19 Mobile support arm A Amphibious vehicle

Landscapes

  • Engineering & Computer Science (AREA)
  • Chemical & Material Sciences (AREA)
  • Combustion & Propulsion (AREA)
  • Mechanical Engineering (AREA)
  • Transportation (AREA)
  • Ocean & Marine Engineering (AREA)
  • Cooling, Air Intake And Gas Exhaust, And Fuel Tank Arrangements In Propulsion Units (AREA)
  • General Details Of Gearings (AREA)
PCT/JP2016/050646 2015-03-19 2016-01-12 水陸両用車 Ceased WO2016147685A1 (ja)

Priority Applications (1)

Application Number Priority Date Filing Date Title
US15/557,984 US10279639B2 (en) 2015-03-19 2016-01-12 Amphibious vehicle

Applications Claiming Priority (2)

Application Number Priority Date Filing Date Title
JP2015056031A JP6512694B2 (ja) 2015-03-19 2015-03-19 水陸両用車
JP2015-056031 2015-03-19

Publications (1)

Publication Number Publication Date
WO2016147685A1 true WO2016147685A1 (ja) 2016-09-22

Family

ID=56920308

Family Applications (1)

Application Number Title Priority Date Filing Date
PCT/JP2016/050646 Ceased WO2016147685A1 (ja) 2015-03-19 2016-01-12 水陸両用車

Country Status (3)

Country Link
US (1) US10279639B2 (enExample)
JP (1) JP6512694B2 (enExample)
WO (1) WO2016147685A1 (enExample)

Families Citing this family (6)

* Cited by examiner, † Cited by third party
Publication number Priority date Publication date Assignee Title
US11247522B2 (en) * 2016-10-27 2022-02-15 Robotic Research Opco, Llc Vehicle capable of multiple varieties of locomotion
KR20190090214A (ko) * 2018-01-24 2019-08-01 한화디펜스 주식회사 수륙양용차량의 냉각 장치
CA3142485A1 (en) * 2019-06-12 2020-12-17 Oceana Energy Company Systems and methods for deploying hydroelectric energy systems
US11340618B2 (en) 2019-08-08 2022-05-24 Robotic Research Opco, Llc Drone based inspection system at railroad crossings
US11247089B2 (en) 2019-08-22 2022-02-15 Robotic Research Opco, Llc Chemical and biological warfare agent decontamination drone
CN118622455B (zh) * 2024-06-27 2025-12-02 中国北方车辆研究所 一种用于两栖装甲车辆的冷却系统

Citations (2)

* Cited by examiner, † Cited by third party
Publication number Priority date Publication date Assignee Title
JPS474175Y1 (enExample) * 1967-12-05 1972-02-14
JP2006509138A (ja) * 2002-05-03 2006-03-16 ギブス テクノロジーズ リミティッド 水陸両用ビークルの冷却システム

Family Cites Families (8)

* Cited by examiner, † Cited by third party
Publication number Priority date Publication date Assignee Title
AT383999B (de) * 1985-10-28 1987-09-10 Steyr Daimler Puch Ag Kuehleinrichtung fuer tauch- bzw. schwimmfaehige kraftfahrzeuge mit fluessigkeitsgekuehltem motor
EP0492655A1 (en) * 1990-12-17 1992-07-01 Isuzu Motors Limited Amphibian motor vehicle
JPH0584598U (ja) * 1992-04-23 1993-11-16 日立造船株式会社 ウォータージェット船の排水管構造
US5690046A (en) * 1995-11-21 1997-11-25 Grzech, Jr.; Albert S. Amphibious vehicles
GB2420592B (en) * 2004-11-29 2007-04-25 Gibbs Tech Ltd An exhaust cooling system of an amphibious vehicle
GB2420593B (en) 2004-11-29 2007-04-25 Gibbs Tech Ltd An exhaust cooling system of an amphibious vehicle
JP2013132995A (ja) 2011-12-26 2013-07-08 Mitsubishi Heavy Ind Ltd 水陸両用車
JP5797111B2 (ja) 2011-12-28 2015-10-21 三菱重工業株式会社 水陸両用車両の冷却構造

Patent Citations (2)

* Cited by examiner, † Cited by third party
Publication number Priority date Publication date Assignee Title
JPS474175Y1 (enExample) * 1967-12-05 1972-02-14
JP2006509138A (ja) * 2002-05-03 2006-03-16 ギブス テクノロジーズ リミティッド 水陸両用ビークルの冷却システム

Also Published As

Publication number Publication date
JP6512694B2 (ja) 2019-05-15
JP2016175483A (ja) 2016-10-06
US20180079268A1 (en) 2018-03-22
US10279639B2 (en) 2019-05-07

Similar Documents

Publication Publication Date Title
WO2016147685A1 (ja) 水陸両用車
US8939104B2 (en) Lateral thruster for a vessel
US7833071B2 (en) Amphibious all-terrain vehicle
US3057320A (en) Boat transom propulsion unit
WO2009033153A3 (en) High water-speed tracked amphibian
US6808430B1 (en) Amphibious vehicle
US12296934B2 (en) Dual strut power transmission housing structure of a marine propulsion system
US20240262481A1 (en) Modular, replaceable outboard fairings for application specific optimization
US1344518A (en) Propulsion and steering of ships
CA2921477A1 (en) Amphibious pumping vehicle
JP2013132995A (ja) 水陸両用車
KR101701749B1 (ko) 선박 추진장치
GB2254831A (en) Amphibious motor cycle
JP6061925B2 (ja) 水陸両用車
JP3537547B2 (ja) 船舶推進機の冷却水通路構造
US20240278892A1 (en) Modular belt tensioning mechanism and powerhead structure of a marine propulsion system
US20240174335A1 (en) Vessel propelling system and assembly
US7001229B2 (en) Water vehicle propeller
KR20170079802A (ko) 추진기 겸용 스러스터를 갖는 선박
US9738363B1 (en) Continuous track outboard motor for watercraft propulsion
US20070028824A1 (en) Boat control system
JP2013252774A (ja) 船舶
RU225951U1 (ru) Устройство компенсации сноса плавающей машины течением воды
US10081417B2 (en) Marine propulsion system
JP2016097774A (ja) 水陸両用車

Legal Events

Date Code Title Description
121 Ep: the epo has been informed by wipo that ep was designated in this application

Ref document number: 16764516

Country of ref document: EP

Kind code of ref document: A1

DPE1 Request for preliminary examination filed after expiration of 19th month from priority date (pct application filed from 20040101)
WWE Wipo information: entry into national phase

Ref document number: 15557984

Country of ref document: US

NENP Non-entry into the national phase

Ref country code: DE

122 Ep: pct application non-entry in european phase

Ref document number: 16764516

Country of ref document: EP

Kind code of ref document: A1